//
ТехЛит.ру
- крупнейшая бесплатная электронная интернет библиотека для "технически умных" людей.
WWW.TEHLIT.RU - ТЕХНИЧЕСКАЯ ЛИТЕРАТУРА

:: Алготрейдинг::


АЛГОТРЕЙДИНГ
шаг за шагом
с нуля по урокам!

Торговые роботы на PYTHON, BackTrader,
Pandas, Pine Script для TradingView. Связка с брокерами, телеграм и легкими приложениями.


ГОСУДАРСТВЕННЫЙ СТАНДАРТ СОЮЗА ССР

ПЛАСТМАССЫ

МЕТОД ОПРЕДЕЛЕНИЯ ПОВЕДЕНИЯ ПЛАСТМАСС ПРИ КОНТАКТЕ С РАСКАЛЕННЫМ СТЕРЖНЕМ

ГОСТ 10456-80
(СТ СЭВ 894-78)

ГОСУДАРСТВЕННЫЙ КОМИТЕТ СССР ПО СТАНДАРТАМ

Москва

ГОСУДАРСТВЕННЫЙ СТАНДАРТ СОЮЗА ССР

ПЛАСТМАССЫ

Метод определения поведения пластмасс при контакте
с раскаленным стержнем

Plastics. Method for the determination of plastics

behavior in contact with incandescent bar

ГОСТ
10456-80

(СТ СЭВ 894-78)

Взамен
ГОСТ 10456-69

Постановлением Государственного комитета СССР по стандартам от 25 февраля 4980 г. № 876 срок действия установлен

с 01.07 1980 г.
до 01.12 1987 г.

Несоблюдение стандарта преследуется по закону

Настоящий стандарт распространяется на пластмассы и устанавливает метод определения поведения пластмасс при контакте с раскаленным стержнем.

Стандарт не распространяется на ячеистые пластмассы. Сущность метода заключается в определении длины поврежденной (обуглившейся) части образца и времени его горения в результате соприкосновения образца с поверхностью стержня из кремниевого карборунда, нагретого до 1228±5К (955±5°С). Метод не применим для оценки пожароопасности пластмасс. Стандарт полностью соответствует СТ СЭВ 894-78.

1. ОТБОР ОБРАЗЦОВ

1.1. Способ и режим изготовления образцов должны соответствовать требованиям нормативно-технической документации на пластмассу.

1.2. В качестве образцов используют бруски длиной от 120 до 130, шириной 10±0,2 и толщиной 4±0,2 мм.

Допускается применение образцов длиной 80, шириной 10±0,2 и толщиной 4±0,2 мм.

1.3. Для испытания отбирают пять образцов. На каждом образце перпендикулярно продольной оси образца на расстоянии 95 мм от того конца, который будет поджигаться, наносят линии-метки по всей ширине поверхностей. При применении образцов длиной 80 мм линию-метку наносят на расстоянии 70 мм.

2. АППАРАТУРА

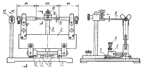
Прибор со стержнем каления (см. черт. 1-2) состоит из основных узлов, указанных ниже:

горизонтально расположенный стержень каления из кремниевого карборунда диаметром 8±1 мм и длиной рабочего (раскаленного) участка 100±5 мм с металлизированными концами, через которые подается переменный или постоянный ток, с применением регулировочного трансформатора и амперметра или ваттметра для контроля мощности накала, которая равняется примерно 350 Вт;

1 - опорная плита; 2 - подшипники вращения; 3 - изоляционная пластина держателя стержня каления; 4 - стержень каления; 5 - противовес; 6 - ограничительный винт; 7 - рычаг; 8 - образец; 9 - стойка держателя образца; 10 - держатель образца (зажим); 11 - салазки; 12 - установочный металлический стержень.

Черт. 1

держатель стержня каления, установленный на подшипниках вращения, способный поворачиваться вокруг горизонтальной оси. Держатель состоит из пластины из изоляционного материала (асбест, керамика) с двумя зажимами, в которые вставляются металлизированные концы стержня каления;

держатель образца, укрепленный на стойке, перемещаемый на опорной плите при помощи салазок с целью обеспечения испытания образцов различной длины; установочный стержень диаметром 8 мм, предназначенный для предварительной настройки положения торцовой поверхности образца по отношению к стержню каления;

1 - опорная плита; 2 - подшипники вращения; 3 - изоляционная пластина держателя стержня каления; 4 - стержень каления; 5 - противовес; 6 - ограничительный винт; 7 - рычаг; 8 - образец; 9 - стойка держателя образца; 10 - держатель образца (зажим); 11 - салазки; 12 - установочный металлический стержень.

Черт. 2

противовес, осуществляющий прижим стержня каления к образцу с усилием, равным 0,3 Н;

ограничительный винт, ограничивающий понижение противовеса и путь стержня каления в процессе сгорания образца до 5 мм.

Секундомер по ГОСТ 5072-79.

Прибор для измерения длины с ценой деления 0,1 мм с погрешностью не более 0,05 мм.

Средства для контроля температуры стержня каления:

термометр термоэлектрический по ГОСТ 6616-74;

пирометр оптический по ГОСТ 5.278-73, фольга серебряная (99,8%), толщиной около 0,06 мм по ГОСТ 8400-57.

Шкаф вытяжной.

3. ПРОВЕДЕНИЕ ИСПЫТАНИЯ

3.1. Испытание проводят в вытяжном шкафу при температуре 296±2К (23±2°С). Дым, образующийся во время испытания, отсасывают только после окончания испытания.

Узел держателя стержня каления устанавливают в нерабочем положении, а на его место подводят установочный стержень, затем закрепляют образец таким образом, чтобы между зажимом и меткой на образце оставалось не менее 10 мм, а торцовая часть образца по всей ширине прилегала к установочному стержню, после чего установочный стержень отводят в первоначальное положение.

Стержень каления, находящийся в нерабочем положении, нагревают до температуры 1228±5К (955±5°С) и поддерживают эту температуру постоянной. Контроль температуры проводят с помощью термопары, либо оптического пирометра, либо по плавлению серебряной фольги, наложенной на стержень каления.

После того, как стержень каления будет иметь температуру 1228±5К (955±5°С), его переводят в рабочее положение, поворачивая до соприкосновения с торцовой поверхностью образца, включают секундомер. Через 180 с держатель стержня каления переводят в нерабочее положение и с этого момента измеряют время горения образца. Как только передний край пламени достигнет метки на образце, испытание прекращают и пламя гасят. Если образец гаснет раньше, чем передний край пламени достигнет метки на образце, то испытание прекращают не ранее чем через 30 с после удаления стержня каления. Если образец не горит (нет видимого пламени), то испытание прекращают через 30 с после удаления стержня каления.

После испытания измеряют расстояние между контрольной меткой и границей сгоревшей (обуглившейся) поверхности образца на обеих поверхностях по ширине образца. В расчет принимают наименьшее из этих двух измерений.

4. ОБРАБОТКА РЕЗУЛЬТАТОВ

4.1. Среднее время горения определяют как среднее арифметическое времени горения пяти образцов.

4.2. Длину поврежденной (обуглившейся) части каждого образца (L) в миллиметрах вычисляют по формуле

L = 95 - l,

где l - наименьшее расстояние между контрольной меткой и границей сгоревшей (обуглившейся) части образца, мм.

При применении образцов длиной 80 мм длину поврежденной части (L) каждого образца в миллиметрах вычисляют по формуле

L = 70 – l.

4.3. Среднюю длину поврежденной (обуглившейся) части определяют как среднее арифметическое длин поврежденной (обуглившейся) части пяти образцов.

4.4. Протокол испытания должен содержать следующие данные:

вид и наименование материала;

способ и режим изготовления;

размеры образцов;

среднее время горения в секундах;

среднюю поврежденную (обуглившуюся) длину в миллиметрах;

особые наблюдения в ходе испытания (трудная загораемость, образование дыма, изменение цвета, плавление без горения, капание горящих частиц, коробление, усадка и т. п.);

дату испытания;

обозначение настоящего стандарта.

СОДЕРЖАНИЕ

 




Яндекс цитирования



   Copyright © 2007-2026,  www.tehlit.ru.

[ ѓосты, стандарты, нормативы, инструкции, правила, строительные нормы ]