|
| |
ШТУЦЕРА
ИЗ ДВУХСЛОЙНЫХ СТАЛЕЙ С ПЛОСКИМИ ФЛАНЦАМИ С ВПАДИНОЙ.
НА Ру 1,6 и 2,5 МПа
Конструкция и
размеры.
ОСТ 26-02-2042
ОТРАСЛЕВОЙ СТАНДАРТ
|
ШТУЦЕРА ИЗ ДВУХСЛОЙНЫХ СТАЛЕЙ С
ПЛОСКИМИ ФЛАНЦАМИ С ВПАДИНОЙ
НА Ру 1,6 и 2,5 МПа
Конструкция
и размеры.
|
ОСТ
26-02-2042
|
Приказом
МИНХИММАШ,а
от 197
г. № срок
действия
с 01.01 1981 г.
до 01.01.1993г.
(Измененная
редакция, Изм. № 2).
Несоблюдение стандарта преследуется по
закону
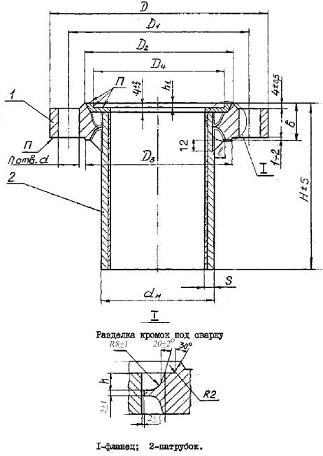
1. Настоящий стандарт распространяется на
штуцера из двухслойных сталей с плоскими приварными фланцами с наплавленной
уплотнительной поверхностью с впадиной на условный проход Ду от 150 до 600 мм,
условное давление Ру 16 и 2,5 МПа (16 и 25 кгс/см2) и температуру от
минус 60 до 475°С.
(Измененная редакция, Изм. № 1).
2. Конструкция и размеры штуцеров должны
соответствовать указанным на чертеже и в табл. 1-2.
3. Материал, технические требования и маркировка штуцеров по
ОСТ 26-02-2053.

(Измененная редакция, Изм. № 1).
Таблица 1
Ру 1,6 МПа (16 кгс/см2)
Размеры в мм
|
Dу
|
D
|
D1
|
D2
|
D3
|
D4
|
DH
|
S
|
d
|
n
|
b
|
l,
не более
|
H
|
h
|
h1
|
Масса, кг
|
|
наплавленного металла
|
общая
|
|
углеродистого
|
аустенитного
|
|
150
|
280
|
240
|
212
|
200
|
204
|
159
|
12
|
22
|
8
|
36
|
18+4
|
187
|
13
|
3
|
1,2
|
0,8
|
18,5
|
|
247
|
21,0
|
|
200
|
335
|
295
|
268
|
255
|
260
|
219
|
12
|
38
|
187
|
14
|
1,9
|
1,1
|
25,0
|
|
247
|
28,6
|
|
250
|
405
|
355
|
320
|
305
|
313
|
273
|
26
|
40
|
187
|
15
|
2,3
|
1,3
|
35,3
|
|
247
|
40,0
|
|
300
|
460
|
410
|
370
|
360
|
364
|
325
|
208
|
4
|
2,7
|
1,7
|
44,0
|
|
268
|
49,6
|
|
350
|
520
|
470
|
430
|
420
|
422
|
377
|
16
|
42
|
208
|
16
|
3,2
|
2,3
|
54,0
|
|
268
|
60,4
|
|
400
|
580
|
525
|
482
|
470
|
474
|
426
|
30
|
48
|
238
|
19
|
4
|
4,0
|
2,6
|
72,2
|
|
298
|
|
79,6
|
|
450
|
640
|
585
|
532
|
530
|
524
|
480
|
16
|
20
|
50
|
258
|
20
|
5,2
|
3,4
|
98,5
|
|
318
|
109,7
|
|
500
|
710
|
650
|
585
|
590
|
576
|
530
|
33
|
56
|
22+4
|
258
|
23
|
6,6
|
4,4
|
124,0
|
|
318
|
136,0
|
|
600
|
840
|
770
|
685
|
700
|
678
|
630
|
39
|
58
|
260
|
5
|
8,5
|
6,2
|
156,0
|
|
330
|
173,0
|
Примечание. К табл. 1-2.
Ду 450 мм применять только для люка.
(Измененная редакция, Изм. № 1).
Таблица 2
Ру 2,5
МПа (25 кгс/см2)
Размеры в
мм
|
Dу
|
D
|
D1
|
D2
|
D3
|
D4
|
DH
|
S
|
d
|
n
|
b
|
l,
не более
|
H
|
h
|
h1
|
Масса, кг
|
|
наплавленного металла
|
общая
|
|
углеродистого
|
аустенитного
|
|
150
|
300
|
250
|
212
|
200
|
204
|
159
|
12
|
26
|
8
|
38
|
18+4
|
187
|
14
|
3
|
1,5
|
1,0
|
21,4
|
|
247
|
24,0
|
|
200
|
360
|
310
|
278
|
260
|
260
|
219
|
12
|
40
|
187
|
15
|
2,0
|
3,0
|
29,2
|
|
247
|
32,8
|
|
250
|
425
|
370
|
335
|
315
|
313
|
273
|
30
|
42
|
187
|
16
|
2,5
|
1,7
|
38,6
|
|
247
|
43,3
|
|
300
|
485
|
430
|
390
|
375
|
364
|
325
|
16
|
45
|
208
|
17
|
4
|
2,8
|
2,2
|
50,4
|
|
268
|
56,0
|
|
350
|
550
|
490
|
450
|
430
|
422
|
377
|
33
|
50
|
238
|
20
|
3,8
|
2,7
|
70,0
|
|
298
|
76,3
|
|
400
|
610
|
550
|
505
|
490
|
474
|
426
|
53
|
22+4
|
258
|
21
|
4,5
|
3,2
|
88,3
|
|
318
|
95,6
|
|
450
|
660
|
600
|
555
|
540
|
524
|
480
|
16
|
20
|
60
|
278
|
25
|
6,0
|
3,7
|
118,6
|
|
338
|
129,5
|
|
500
|
730
|
660
|
615
|
590
|
576
|
530
|
39
|
|
63
|
278
|
26
|
6,8
|
4,6
|
146,0
|
|
338
|
158,3
|
(Измененная редакция, Изм. № 1).
Пример условного обозначения
штуцера Ду 150 мм на Ру 2,5 МПа, Н=187 мм, патрубок из стали ВСтЗсп +
12Х18Н10Т, фланец из стали 20К:
Штуцер 150-2,5-187-1б-2 ОСТ 26-02-2042
ИНФОРМАЦИОННЫЕ ДАННЫЕ
1. УТВЕРЖДЕН И ВВЕДЕН В ДЕЙСТВИЕ Министерством
химического и нефтяного машиностроения СССР от 16.07.1979 г.
2.
РАЗРАБОТЧИКИ: А.Ю. Пролесковский, М.И. Байбакова
3.
ЗАРЕГИСТРИРОВАН ВНИИКИ ГР № 8138505 от 11.09.1979
4. ССЫЛОЧНЫЕ НОРМАТИВНО-ТЕХНИЧЕСКИЕ
ДОКУМЕНТЫ
|
Обозначение НТД, на
которые дана ссылка
|
Номер пункта,
подпункта, перечисления, приложения
|
|
ОСТ 26-02-2053-79
|
3
|
(Измененная
редакция, Изм. № 2).
| |
|