|
| |

ГОСУДАРСТВЕННЫЕ СТАНДАРТЫ СОЮЗА ССР
ВИНТЫ САМОНАРЕЗАЮЩИЕ
С ПОТАЙНОЙ ГОЛОВКОЙ
ДЛЯ МЕТАЛЛА И ПЛАСТМАССЫ
ГОСТ 10619-80*
Государственный
комитет СССР по стандартам
МОСКВА - 1986
ГОСУДАРСТВЕННЫЙ СТАНДАРТ СОЮЗА ССР
|
ВИНТЫ САМОНАРЕЗАЮЩИЕ С ПОТАЙНОЙ
ГОЛОВКОЙ ДЛЯ МЕТАЛЛА И ПЛАСТМАССЫ
Конструкция и размеры
Self-tapping countersunk screws
for metals and plastics.
Construction and dimensions
|
ГОСТ
10619-80*
Взамен
ГОСТ 10619-63,
ГОСТ 11652-65,
в
части винтов
с притупленным концом
|
Постановлением Государственного комитета СССР по стандартам от 30
декабря 1980 г. № 6109 срок введения установлен
с 01.01.82
Несоблюдение стандарта преследуется по закону
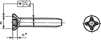
1. Настоящий стандарт
распространяется на самонарезающие винты с потайной головкой для металла и
пластмассы класса точности В с номинальным диаметром резьбы от 2,5 до 8 мм.
2. Конструкция и
размеры винтов должны соответствовать указанным на чертеже и в табл. 1, 2.
Исполнение 1

Исполнение
2

____________
* Размер для справок.
Таблица 1
Размеры в мм
|
Номинальный диаметр резьбы d
|
2,5
|
3
|
4
|
5
|
6
|
8
|
|
Шаг резьбы Р
|
крупный
|
1,25
|
1,75
|
2,00
|
2,5
|
3,5
|
|
мелкий
|
1,0
|
1,5
|
1,75
|
2,0
|
|
Диаметр головки D
|
Номин.
|
4,7
|
5,6
|
7,4
|
9,2
|
11,0
|
14,5
|
|
Пред. откл. по h 14
|
-0,30
|
-0,36
|
-0,43
|
|
Высота головки k,
не более
|
1,50
|
1,65
|
2,20
|
2,50
|
3,00
|
4,00
|
|
Ширина шлица п
|
Номин.
|
0,6
|
0,8
|
1,0
|
1,2
|
1,6
|
2,0
|
|
Не менее
|
0,66
|
0,86
|
1,06
|
1,26
|
1,66
|
2,06
|
|
Не более
|
0,80
|
1,00
|
1,20
|
1,51
|
1,91
|
2,31
|
|
Глубина шлица t
|
Не менее
|
0,5
|
0,6
|
0,8
|
1,0
|
1,2
|
1,6
|
|
Не более
|
0,73
|
0,85
|
1,10
|
1,35
|
1,60
|
2,10
|
|
Допуск биения в заданном направлении (2IT14)
|
0,60
|
0,72
|
0,86
|
|
Допуск симметричности шлица относительно стержня в
диаметральном выражении (2IT14)
|
0,50
|
0,60
|
0,72
|
|
Номер крестообразного шлица
|
1
|
2
|
3
|
|
Диаметр крестообразного шлица m, не более
|
2,6
|
2,8
|
4,0
|
4,5
|
6,5
|
7,4
|
|
Глубина крестообразного шлица, h
|
1,05
|
1,25
|
1,55
|
2,05
|
2,45
|
3,40
|
|
Глубина вхождения калибра в крестообразный шлиц
|
Не более
|
1,2
|
1,4
|
1,8
|
2,3
|
3,0
|
3,9
|
|
Не менее
|
0,9
|
1,1
|
1,3
|
1,8
|
2,5
|
3,4
|
|
Недовод резьбы, не более
|
0,8
|
1,0
|
|
|
|
|
|
|
|
|
|
Примечание. Крестообразный шлиц - по ГОСТ 10753-80.
Таблица 2
мм
|
Длина винта l
|
Номинальный диаметр резьбы d
|
|
Номин.
|
Пред. откл. по js 17
|
2,5
|
3
|
4
|
5
|
6
|
8
|
|
6
|
± 0,75
|
|
|
-
|
-
|
-
|
-
|
|
8
|
|
|
|
-
|
-
|
-
|
|
10
|
|
|
|
|
-
|
-
|
|
12
|
± 0,90
|
|
|
|
|
|
-
|
|
14
|
|
|
|
|
|
-
|
|
16
|
|
|
|
|
|
|
|
(18)
|
|
|
Стандартные длины
|
|
|
20
|
± 1,05
|
-
|
|
|
|
|
|
|
(22)
|
-
|
-
|
|
|
|
|
|
25
|
-
|
-
|
|
|
|
|
|
30
|
-
|
-
|
|
|
|
|
|
35
|
± 1,25
|
-
|
-
|
|
|
|
|
|
40
|
-
|
-
|
-
|
|
|
|
|
45
|
-
|
-
|
-
|
|
|
|
|
50
|
-
|
-
|
-
|
-
|
|
|
Примечание. Длины l, заключенные в
скобки, применять не рекомендуется.
Пример условного обозначения:
винта в исполнении
1, диаметром 5 мм, длиной 30 мм, из материала группы 01, без покрытия, с
крупным шагом резьбы
Винт 5´30.01 ГОСТ 10619-80
То же, в
исполнении 2, диаметром 5 мм, с мелким шагом резьбы, длиной 30 мм, из материала
группы 01, с цинковым покрытием толщиной 6 мкм, хроматированным
Винт 2-5´1.5´30.01.016 ГОСТ 10619-80
(Измененная редакция, Изм. № 1).
3. Технические
требования, резьба, методы контроля, правила приемки, упаковка и маркировка -
по ГОСТ
10618-80.
4. Теоретическая
масса винтов указана в справочном приложении
1.
5. (Исключен, Изм. № 1).
Справочное
|
Длина винта l, мм
|
Номинальный диаметр резьбы d,
мм
|
|
2,5
|
3
|
4
|
5
|
6
|
8
|
|
Масса 1000 шт. стальных винтов с крупным шагом резьбы, кг »
|
|
6
|
0,20
|
0,30
|
-
|
-
|
-
|
-
|
|
8
|
0,26
|
0,38
|
0,72
|
-
|
-
|
-
|
|
10
|
0,32
|
0,46
|
0,86
|
1,34
|
-
|
-
|
|
12
|
0,37
|
0,54
|
1,00
|
1,56
|
2,48
|
-
|
|
14
|
0,43
|
0,62
|
1,14
|
1,78
|
2,81
|
-
|
|
16
|
0,49
|
0,70
|
1,28
|
2,00
|
3,14
|
4,21
|
|
18
|
0,54
|
0,78
|
1,42
|
2,22
|
3,47
|
4,78
|
|
20
|
-
|
0,86
|
1,56
|
2,44
|
3,80
|
5,35
|
|
22
|
-
|
-
|
1,70
|
2,66
|
4,13
|
5,92
|
|
25
|
-
|
-
|
1,91
|
2,99
|
4,62
|
6,77
|
|
30
|
-
|
-
|
2,19
|
3,54
|
5,43
|
8,19
|
|
35
|
-
|
-
|
2,47
|
4,09
|
6,24
|
9,61
|
|
40
|
-
|
-
|
-
|
4,64
|
7,05
|
11,03
|
|
45
|
-
|
-
|
-
|
5,19
|
7,86
|
12,45
|
|
50
|
-
|
-
|
-
|
-
|
8,67
|
13,87
|
ПРИЛОЖЕНИЕ 2. (Исключено, Изм. № 1).
| |
|