//
ТехЛит.ру
- крупнейшая бесплатная электронная интернет библиотека для "технически умных" людей.
WWW.TEHLIT.RU - ТЕХНИЧЕСКАЯ ЛИТЕРАТУРА

:: Алготрейдинг::


АЛГОТРЕЙДИНГ
шаг за шагом
с нуля по урокам!

Торговые роботы на PYTHON, BackTrader,
Pandas, Pine Script для TradingView. Связка с брокерами, телеграм и легкими приложениями.


СССР

УТВЕРЖДЕНО

Министерство химического и

нефтяного машиностроения СССР

Заместитель министра

Г. Ф. Шеин

«30» октября 1981г.

ОТРАСЛЕВЫЕ СТАНДАРТЫ

ИЗДЕЛИЯ КРЕПЕЖНЫЕ ДЛЯ СОСУДОВ И АППАРАТОВ
НА ДАВЛЕНИЕ СВЫШЕ 9,81 ДО 98,1 МПа (СВЫШЕ
100 ДО 1000 кгс/см2). ТИПЫ, КОНСТРУКЦИИ И
РАЗМЕРЫ. ОБЩИЕ ТЕХНИЧЕСКИЕ ТРЕБОВАНИЯ

ГАЙКИ ДЛЯ РЕЗЬБОВЫХ СОЕДИНЕНИЙ СОСУДОВ И АППАРАТОВ НА ДАВЛЕНИЕ СВЫШЕ 9,81 ДО 98,1 МПа (СВЫШЕ 100 ДО 1000 КГС/СМ2).

Типы. Конструкция и размеры.

ОСТ 26-01-140-81

ТЕХНИЧЕСКОЕ УПРАВЛЕНИЕ

/Начальник                                                                                                  А. М. Васильев

ВПО «СОЮЗХИММАШ»

/Начальник                                                                                                  В. А. Чернов

СОГЛАСОВАНО

НИИХИММАШ

Директор                                                                                                     Н. М. Самсонов

Заместитель директора                                                                             П. Ф. Серб

Начальник БНИОС                                                                                     В. В. Дюкин

ПО УРАЛХИММАШ

Главный инженер                                                                                      Н. К. Глобин

СОГЛАСОВАНО

МИНИСТЕРСТВО ПО ПРОИЗВОДСТВУ МИНЕРАЛЬНЫХ УДОБРЕНИЙ СССР

УПРАВЛЕНИЕ ОБОРУДОВАНИЯ

Заместитель начальника ГИАП                                                               В. Н. Назаров

Главный механик                                                                                       С. А. Тверецкий

УТВЕРЖДЕН И ВВЕДЕН В ДЕЙСТВИЕ приказом ВПО Союзхиммаш от 30.10.81 г. № 173.

ИСПОЛНИТЕЛИ

В. П. Вирюкин (руководитель темы); В. И. Лившиц, канд. техн. наук; В. К. Погодин, канд. техн. наук; В. М. Черемных; Г. Г. Ожегов; Г. Г. Золотенин; Е. Д. Кудрикова; А. В. Тасевич; Л. А. Корчагина; В. Д. Продан.

ОТРАСЛЕВОЙ СТАНДАРТ

ГАЙКИ ДЛЯ РЕЗЬБОВЫХ СОЕДИНЕНИЙ СОСУДОВ И АППАРАТОВ НА ДАВЛЕНИЕ СВЫШЕ 9,81 ДО 98,1 МПа (СВЫШЕ 100 ДО 1000 КГС/СМ2).

Типы. Конструкция и размеры.

ОСТ 26-01-140-81

Взамен

ОСТ 26-1360-75

Приказом Всесоюзного производственного объединения Союзхиммаш № 173 от 30 октября 1981 г. срок действия

с 01.07.1982 г.

до 01.01.1997 г.

Настоящий стандарт распространяется на гайки для резьбовых соединений сосудов и аппаратов, применяемых в химической, нефтехимической и смежных отраслях промышленности на давление свыше 9,81 до 98,1 МПа (свыше 100 до 1000 кгс/см2) и при расчетной температуре стенки сосуда от минус 40 до плюс 420 °С.

Примечание. В технически обоснованных случаях на сварные аппараты газовой промышленности на давление не свыше 15,7 МПа (не свыше 160 кгс/см2) допускается распространение отраслевого стандарта ОСТ 26-2041-77 (,  - предел текучести материала корпуса аппарата, соответственно, при расчетной температуре и 20 °С).

(Измененная редакция, Изм. № 1, 2).

1. ТИПЫ ГАЕК

Стандарт устанавливает следующие типы гаек:

Тип А - гайка для затяжки фланцевого соединения гаечным ключом;

Тип Б - гайка для затяжки фланцевого соединения гидродомкратом.

2. КОНСТРУКЦИЯ И РАЗМЕРЫ

2.1. Конструкция и размеры гаек должны соответствовать указанным на черт.1, 2 и в таблице.

Длина резьбы гаек установлена из условия, что отношение временного сопротивления материала шпильки () к временному сопротивлению материала гайки () (при расчетной температуре) должно быть:

для гаек с номинальным диаметром резьбы до 120 мм менее или равно 1,3, т. е.:

для гаек с номинальным диаметром резьбы свыше 120 мм менее или равно 1,25 , т.е.

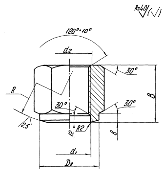
ТИП А

Черт. 1.

ТИП Б

Черт. 2.

РАЗМЕРЫ ГАЕК

мм

Номинальный диаметр резьбы D

Шаг резьбы Р

Размер S «под ключ

Диаметр описанной окружности D1 (не менее)

Высота гайки В

Диаметр наружных проточек D2

Диаметр внутренней проточки d1

Номинальный

Пред. откл.

56

5,5

85

- 1,40

95

80

83

58

60

90

100

85

88

62

64

6

95

105

90

93

66

68

100

110

95

98

79

72

105

115

100

103

74

76

110

122

105

108

78

80

115

128

110

113

82

85

125

- 1,60

140

115

123

87

90

130

145

120

128

92

95

140

155

125

138

97

100

145

162

130

143

102

105

150

170

135

148

107

110

155

175

140

153

112

115

170

192

145

168

117

120

175

- 1,90

195

150

173

122

125

180

202

155

178

127

130

185

210

160

183

132

140

200

225

180

198

142

150

210

236

190

208

152

160

225

255

200

223

162

170

240

270

210

238

172

180

255

290

220

253

182

190

270

305

230

268

192

200

290

330

240

288

202

Продолжение

мм

Номинальный диаметр резьбы D

Радиус сферы R

Диаметр отверстия d3 для типа Б

Ширина проточки b

Ширина проточки b1 для типа Б

Расстояние до оси отверстия b2 для типа Б

Глубина сверления b3 для типа Б

56

150

12

10

20

12

10

60

64

190

15

68

72

25

15

12

76

80

240

85

15

15

90

95

100

300

105

20

110

115

30

20

20

120

125

380

130

140

22

150

160

480

20

25

170

180

30

190

200

Примечания:

1. Неуказанные предельные отклонения размеров отверстий Н14, валов h14, остальных .

2. Допускается поверхности граней гаек механически не обрабатывать при условии их изготовления из шестигранного проката или точных штамповок шестигранного сечения.

Примеры условных обозначений

Гайка типа А, с диаметром резьбы 64 мм, с крупным шагом резьбы 6 мм из стали марки 30ХМА:

Гайка АМ64 - 30ХМА ОСТ 26-01-140-81

Гайка типа Б, с диаметром резьбы 100 мм, с мелким шагом резьбы 6 мм из стали марки 40Х:

Гайка БМ100×6 - 40Х ОСТ 26-01-140-81

2.2. Резьба метрическая - по ГОСТ 24705-81 (СТ СЭВ 182-75), ГОСТ 8724-81 (СТ СЭВ 181-75).

Профиль резьбы - по ГОСТ 9150-81 (СТ СЭВ 180-75).

Предельные отклонения размера отверстия под резьбу - по ГОСТ 19257-73.

Предельные отклонения резьб и длины свинчивания - по ГОСТ 16093-81 (СТ СЭВ 640-77). Поля допусков - 6Н.

(Измененная редакция, Изм. № 1).

2.3. Остальные технические требования - по ОСТ 26-01-144-81

2.4. Теоретическая масса гаек приведена в справочном приложении.

ПРИЛОЖЕНИЕ

Справочное

ТЕОРЕТИЧЕСКАЯ МАССА ГАЕК

Номинальный диаметр резьбы, мм

Теоретическая масса гаек, кг, типов

А

Б

56

2,44

2,24

60

2,84

2,65

64

3,30

3,09

68

3,88

3,66

72

4,42

4,10

76

5,04

4,69

80

5,72

5,35

85

7,20

6,71

90

7,91

7,40

95

9,78

9,22

100

10,71

10,12

105

11,65

11,03

110

12,61

11,97

115

16,74

15,67

120

17,92

16,82

125

19,38

18,24

130

20,75

19,57

140

28,58

26,94

150

30,91

29,49

160

37,41

35,79

170

44,91

43,15

180

53,30

51,29

190

62,66

60,48

200

77,41

75,01

Примечание.

Масса подсчитана из условия плотности материала - 7,85 г/см3.

ОТРАСЛЕВОЙ СТАНДАРТ

«Гайки для резьбовых соединений сосудов и аппаратов на давление свыше 9,81 до 98,1 МПа (свыше 100 до 1000 кгс/см2). Типы. Конструкция и размеры».

ИркутскНИИхиммаш

И. О. директора                                                                                         Е. Р. Хисматулин

Заведующий отделом стандартизации                                                   В. И. Королев

Заведующий отделом 5                                                                             В. И. Лившиц

Заведующий отделом 10                                                                           Л. В. Перегудов

Руководитель темы,

старший научный сотрудник                                                                   В. П. Вирюкин

Заведующий лабораторией отдела 5                                                       В. К. Погодин

Главный конструктор отдела 10                                                             В. М. Черемных

Ведущий конструктор                                                                              Г. Г. Ожегов

Младший научный сотрудник                                                                 А. В. Тасевич

МИХМ

Доцент                                                                                                       В. Д. Продан

ПЕРЕЧЕНЬ ССЫЛОЧНЫХ ДОКУМЕНТОВ

ГОСТ 16093-81 (СТ СЭВ 640-77) Резьба метрическая для диаметров от 1 до 600 мм. Допуски.

ГОСТ 19257-73 Отверстия под нарезание метрической резьбы. Диаметры.

ГОСТ 9150-81 (СТ СЭВ 180-75) Основные нормы взаимозаменяемости. Резьба метрическая. Профиль.

ГОСТ 8724-81 (СТ СЭВ 181-75) Основные нормы взаимозаменяемости. Резьба метрическая. Диаметры и шаги.

ГОСТ 24705-81 (СТ СЭВ 182-75) Основные нормы взаимозаменяемости. Резьба метрическая. Основные размеры.

(Измененная редакция, Изм. № 1).

ИНФОРМАЦИОННЫЕ ДАННЫЕ

1. УТВЕРЖДЕН Министерством химического и нефтяного машиностроения СССР И ВВЕДЕН В ДЕЙСТВИЕ ПРИКАЗОМ Всесоюзного производственного объединения «Союзхиммаш» № 173 от 30 октября 1981 г.

2. ИСПОЛНИТЕЛИ

В. И. Лившиц, канд. техн. наук; В. П. Вирюкин (руководитель темы); В. К. Погодин, канд. техн. наук; Г. Г. Золотенин.

3. Срок первой проверки - 1985 год, периодичность проверки - 5 лет

4. ССЫЛОЧНЫЕ НОРМАТИВНО-ТЕХНИЧЕСКИЕ ДОКУМЕНТЫ

Обозначение НТД, на который дана ссылка

Номер пункта, подпункта, перечисления, приложения

ГОСТ 8724-81

П. 2.2

ГОСТ 9150-81

П. 2.2

ГОСТ 16093-81

П. 2.2

ГОСТ 19257-73

П. 2.2

ГОСТ 24705-81

П. 2.2

ГОСТ 25347-82

П. 2.1, примечание 1

ОСТ 26-01-144-81

П. 2.3

ОСТ 26-2041-77

Вводная часть

(Введен дополнительно, Изм. № 2).

ПЕРЕЧЕНЬ ОТРАСЛЕВЫХ СТАНДАРТОВ, С КОТОРЫХ СНИМАЕТСЯ ОГРАНИЧЕНИЕ СРОКА ДЕЙСТВИЯ

Обозначение. Наименование документа

Наименование организации-разработчика

Наименование организации, за которой закрепляется документ в России (до его пересмотра)

Примечания (срок действия)

ОСТ 26-01-139-81.

Шпильки для резьбовых соединений сосудов и аппаратов на давление свыше 9,81 до 98,1 МПа (свыше 100 до 1000 кгс/см2). Типы. Конструкция и размеры

АО «ИркутскНИИхиммаш»

-

до 01.01.97

ОСТ 26-01-140-81.

Гайки для резьбовых соединений сосудов и аппаратов на давление свыше 9,81 до 98,1 МПа (свыше 100 до 1000 кгс/см2). Типы. Конструкция и размеры

АО «ИркутскНИИхиммаш»

-

до 01.01.97

ОСТ 26-01-141-81.

Шайбы для резьбовых соединений сосудов и аппаратов на давление свыше 9,81 до 98,1 МПа (свыше 100 до 1000 кгс/см2). Конструкция и размеры

АО «ИркутскНИИхиммаш»

-

до 01.01.97

ОСТ 26-01-142-81.

Гнезда для резьбовых соединений сосудов и аппаратов на давление свыше 9,81 до 98,1 МПа (свыше 100 до 1000 кгс/см2). Конструкция и размеры

АО «ИркутскНИИхиммаш»

-

до 01.01.97

ОСТ 26-01-143-81.

Колпачки защитные для резьбовых соединений сосудов и аппаратов на давление свыше 9,81 до 98,1 МПа (свыше 100 до 1000 кгс/см2). Конструкция и размеры

АО «ИркутскНИИхиммаш»

-

до 01.01.97

ОСТ 26-01-144-81.

Шпильки, гайки, шайбы, резьбовые гнезда, колпачки защитные для сосудов и аппаратов на давление свыше 9,81 до 98,1 МПа (свыше 100 до 1000 кгс/см2). Общие технические требования. Правила приемки. Методы испытаний. Маркировка

АО «ИркутскНИИхиммаш»

-

до 01.01.97

Директор по научно-техническому

направлению АО «НИИхиммаш»                                                              В. А. Заваров

Начальник отдела стандартизации                                                           И. И. Орехова

СОДЕРЖАНИЕ

 




Яндекс цитирования



   Copyright © 2007-2026,  www.tehlit.ru.

[ ѓосты, стандарты, нормативы, инструкции, правила, строительные нормы ]