//
ТехЛит.ру
- крупнейшая бесплатная электронная интернет библиотека для "технически умных" людей.
WWW.TEHLIT.RU - ТЕХНИЧЕСКАЯ ЛИТЕРАТУРА

:: Алготрейдинг::


АЛГОТРЕЙДИНГ
шаг за шагом
с нуля по урокам!

Торговые роботы на PYTHON, BackTrader,
Pandas, Pine Script для TradingView. Связка с брокерами, телеграм и легкими приложениями.


ПРАВИТЕЛЬСТВО МОСКВЫ
МОСКОМАРХИТЕКТУРА

РУКОВОДСТВО
по применению тепловых насосов
с использованием вторичных
энергетических ресурсов
нетрадиционных возобновляемых
Источников энергии

2001

 

РАЗРАБОТАНО ОАО «ИНСОЛАР-ИНВЕСТ»

(Васильев ГЛ., к.т.н., Председатель Совета директоров, руководитель темы; Хрустачёв Л. В., зам. генерального директора; Розин А. Г., ведущий специалист; Абуев И. М., ст. научный сотрудник; Горнов В.Ф., инженер; Орлов В.О., д.т.н, ст. научный сотрудник; Воробьёв Н.В., к. ф-м. н, научный сотрудник)

ПОДГОТОВЛЕНО к утверждению и изданию Управлением перспективного проектирования и нормативов Москомархитектуры (инж. Ионин В. А., Щипанов Ю. Б.)

УТВЕРЖДЕНО И ВВЕДЕНО В ДЕЙСТВИЕ указанием Москомархитектуры от 31.01.2001 г. № 8.

СОДЕРЖАНИЕ

Введение. 2

1. Общие положения. 3

2. Краткая характеристика возможных источников тепловой энергии низкого потенциала и технологий их использования в теплонасосных системах теплоснабжения. 5

2.1. Теплота окружающего воздуха. 5

2.2. Теплота грунтовых и подземных вод. 5

2.3. Теплота водоёмов и природных водных потоков. 6

2.4. Солнечная энергия. 6

2.5. Теплота грунта поверхностных слоёв Земли. 7

2.6. Теплота воздуха, выбрасываемого вентиляционными системами. 8

2.7. Комбинированное использование низкопотенциального тепла вытяжного воздуха, условно-чистых стоков и грунта. 9

3. Системы сбора низкопотенциальной тепловой энергии грунта поверхностных слоев земли. 9

3.1. Устройство горизонтальных грунтовых теплообменников. 10

3.2. Устройство вертикальных грунтовых теплообменников. 10

4. Проектирование объектов с теплонасосными системами теплоснабжения. 11

Приложение 1. Общие указания по проектированию системы сбора низкопотенциального тепла грунта (ССНТГ) 14

Приложение 2. Пример расчета коэффициента теплоотдачи от теплоносителя ССНТГ к грунту. 15

Приложение 3. Методика оценки подъема поверхности грунта при образовании в грунтовом массиве областей мерзлого грунта. 18

Приложение 4. Определение необходимого объема заполнения водой герметичных труб термоскважин при их опускании в скважину, заполненную буровым раствором.. 20

Приложение 5. О теплофизических свойствах грунтов. 20

Приложение 6. Перспективы внедрения тепловых насосов в систему теплоснабжения Москвы.. 22

Приложение 7. Примеры выбора принципиальных схем теплонасосных систем теплоснабжения. 24

ВВЕДЕНИЕ

Рациональное использование топливно-энергетических ресурсов представляет собой одну из актуальных проблем. Одним из перспективных путей решения этой проблемы является применение новых энергосберегающих технологий и оборудования, использующих нетрадиционные источники энергии.

В качестве приоритетного направления более широкого использования нетрадиционных источников энергии наибольший интерес представляет область тепло-хладоснабжения, являющаяся сегодня одним из наиболее емких мировых потребителей топливно-энергетических ресурсов. Преимущества технологий тепло-хладоснабжения, использующих нетрадиционные источники энергии, в сравнении с их традиционными аналогами связаны не только со значительными сокращениями затрат энергии в системах жизнеобеспечения зданий и сооружений, но и с их экологической чистотой, а также новыми возможностями в области повышения степени автономности систем теплоснабжения. Представляется, что именно эти качества будут иметь определяющее значение в формировании конкурентной ситуации на рынке тепло-хладогенерирующего оборудования как в нашей стране, так и за рубежом.

Тепло-хладоснабжение с помощью тепловых насосов относится к области энергосберегающих экологически чистых технологий и получает всё большее распространение в мире. Эта технология по заключению целого ряда авторитетных международных организаций, наряду с другими энергосберегающими технологиями (использование солнечной, ветровой энергии, энергии Океана и т.п.), относится к технологиям XXI века.

В общем случае тепловой насос - это устройство, используемое для обогрева и охлаждения. Он работает по принципу передачи тепловой энергии от холодной среды к более теплой, в то время как естественным путём тепло перетекает из теплой области в холодную (см. Рис. 1).

Таким образом, тепловой насос заставляет двигаться тепло в обратном направлении. Например, при обогреве дома тепло забирается из более холодного внешнего источника, и передается в дом. Для охлаждения (кондиционирования) дома тепло забирается из более теплого воздуха в доме и передается наружу. Тепловой насос в чём-то подобен обычному гидравлическому насосу, который перекачивает жидкость с нижнего уровня на верхний, тогда как в естественных условиях жидкость перетекает с верхнего уровня на нижний.

В основу принципа действия наиболее распространенных парокомпрессионных тепловых насосов положены два физических явления:

· поглощение и выделение тепла веществом при изменении агрегатного состояния - испарении и конденсации соответственно;

· изменение температуры испарения (и конденсации) при изменении давления.

Соответственно, основные элементы парокомпрессионного контура - теплообменник-испаритель, теплообменник-конденсатор, компрессор и дроссель. В испарителе рабочее тело, обычно хладон, находится под низким давлением и кипит при низкой температуре, поглощая теплоту низкопотенциального источника. Затем рабочее тело сжимается в компрессоре, приводимом в действие электрическим или иным двигателем, и поступает в конденсатор, где при высоком давлении конденсируется при более высокой температуре, отдавая теплоту испарения приёмнику тепла, например, теплоносителю системы отопления. Из конденсатора рабочее тело через дроссель вновь поступает в испаритель, где его давление снижается и снова начинается процесс кипения.

Тепловой насос может забирать тепло из нескольких источников, например, воздуха, воды или земли. И таким же образом он может сбрасывать тепло в воздух, воду или землю. Более теплая среда, воспринимающая тепло, называется теплоприёмником. В зависимости от типа источника и приёмника тепла испаритель и конденсатор могут выполняться как теплообменники типа «воздух-жидкость», так и «жидкость-жидкость».

Рис. 1. Принципиальная схема работы компрессионного теплового насоса

Регулирование работы систем теплоснабжения с применением теплового насоса в большинстве случаев производится его включением и выключением по сигналам датчика температуры, установленного в приёмнике (при нагреве) или источнике (при охлаждении) тепла. Настройка теплового насоса обычно производится изменением сечения дросселя (терморегулирующего вентиля - ТРВ).

В зависимости от сочетания вида источника низкопотенциальной теплоты и нагреваемой среды тепловые насосы делятся на следующие типы:

· воздух - воздух;

· воздух - вода;

· грунт - воздух;

· грунт - вода;

· вода - воздух;

· вода - вода.

Эти типы тепловых насосов отличаются конструктивным исполнением теплообменной части (испарителя и конденсатора) и температурными режимами реализуемых термодинамических циклов.

Настоящее Руководство разработано ОАО «ИНСОЛАР-ИНВЕСТ» в развитие СНиП 2.04.05-91* «Отопление, вентиляция и кондиционирование» и МГСН 2.01-99 «Энергосбережение в зданиях» и освещает вопросы применения теплонасосных систем теплохладоснабжения (ТСТ), использующих вторичные энергетические ресурсы (ВЭР) и нетрадиционные возобновляемые источники энергии (НВИЭ).

Руководство имеет своей целью оказание помощи заказчикам и проектировщикам в выборе рациональных энергосберегающих технических решений систем тепло-хладоснабжения, предусматривающих применение тепловых насосов, и предназначено для использования при проектировании новых и реконструкции существующих объектов.

При разработке Руководства использован опыт применения тепловых насосов в зарубежной и отечественной практике, в частности опыт работы предприятий группы «ИНСОЛАР» по внедрению в России теплонасосных систем тепло-хладоснабжения в различных областях гражданского и промышленного строительства, включая результаты научно-исследовательских работ, выполненных ОАО «ИНСОЛАР-ИНВЕСТ» в рамках Государственной научно-технической программы России «Экологически чистая энергетика».

1. ОБЩИЕ ПОЛОЖЕНИЯ

1.1. При проектировании систем тепло-хладоснабжения (отопления, вентиляции, кондиционирования воздуха, горячего водоснабжения) зданий и сооружений с использованием тепловых насосов и тепловых узлов к ним следует руководствоваться следующими нормативными документами:

- СНиП 2.04.05-91 * «Отопление, вентиляция и кондиционирование воздуха»;

- СНиП 2.04.01-85* «Водоснабжение и канализация»;

- СНиП 2.04.07-86* «Тепловые сети»;

- МГСН 2.01-99 «Энергосбережение в зданиях. Нормативы по теплозащите и тепловодоэлектроснабжению»;

- СП 41-101-95 Свод правил «Проектирование тепловых пунктов»,

а также другими нормативными документами федерального и регионального (московского) уровня, касающимися энергосбережения при проектировании объектов индивидуального и общественного жилищного строительства, объектов коммунального и промышленного строительства.

1.2. Термодинамически тепловой насос представляет собой обращённую холодильную машину и, по аналогии, содержит испаритель, конденсатор и контур, осуществляющий термодинамический цикл. Основные типы термодинамических циклов - абсорбционный и, наиболее распространённый, парокомпрессионный. Если в холодильной машине основной целью является производство холода путём отбора теплоты из какого-либо объёма испарителем, а конденсатор осуществляет сброс теплоты в окружающую среду, то в тепловом насосе картина обратная. Конденсатор является теплообменным аппаратом, выделяющим теплоту для потребителя, а испаритель - теплообменным аппаратом, утилизирующим низкопотенциальную теплоту: вторичные энергетические ресурсы и (или) нетрадиционные возобновляемые источники энергии. Термодинамический цикл теплового насоса в T-S диаграмме представлен на рисунке 2.

1-2 сжатие в компрессоре

2-3 отвод тепла к потребителю

3-4 расширение через дроссель

4-1 подвод тепла от низкопотенциального источника

Рис. 2. Термодинамический цикл теплового насоса в T-S диаграмме

1.3. Как и холодильная машина, тепловой насос потребляет энергию на реализацию термодинамического цикла (привод компрессора). Коэффициент преобразования теплового насоса - отношение теплопроизводительности к электропотреблению -зависит от уровня температур в испарителе и конденсаторе и колеблется в различных системах в диапазоне от 2,5 до 5, т.е. на 1 кВт затраченной электрической энергии тепловой насос производит от 2,5 до 5 кВт тепловой энергии. Температурный уровень теплоснабжения от тепловых насосов 35-55 °С. Экономия энергетических ресурсов достигает 70 %.

Промышленность технически развитых стран выпускает широкий ассортимент парокомпрессионных тепловых насосов тепловой мощностью от 5 до 1000 кВт.

На рисунке 3 представлены зависимости идеального и действительного (реального) коэффициента преобразования ТН от температур испарения и конденсации хладагента.

1.4. Энергетический баланс ТН записывается следующим образом:

Qконд = Qисп + Lкомп, где

Qконд - теплота, отводимая от конденсатора;

Qисп - теплота, подводимая к испарителю;

Lкомп - работа компрессора.

1.5. Коэффициент преобразования ТН определяется по формуле:

φ = Qконд/Lкомп = α × Тконд/(Тконд - Тисп), где

Тконд - температура конденсации рабочего тела;

Тисп - температура испарения рабочего тела;

α - суммарный коэффициент потерь ТН (потери цикла, потери в компрессоре, потери от необратимости при теплопередаче и т.п.).

Идеальный коэффициент преобразования ТН:

φ = Тконд/(Тконд - Тисп)

1.6. Системы теплоснабжения с использованием тепловых насосов - теплонасосные системы теплоснабжения - могут быть применены для отопления, подогрева вентиляционного воздуха, нагрева воды для горячего водоснабжения и т. п.

В качестве низкопотенциальных (низкотемпературных) источников теплоты могут использоваться:

а) вторичные энергетические ресурсы:

теплота вентиляционных выбросов;

теплота серых канализационных стоков;

сбросная теплота технологических процессов и т.п.

б) нетрадиционные возобновляемые источники энергии:

теплота окружающего воздуха;

теплота грунтовых и геотермальных вод;

теплота водоёмов и природных водных потоков;

теплота солнечной энергии и т. п.

теплота поверхностных и более глубоких слоев грунта.

Рис. 3. Зависимость идеального и действительного (реального) коэффициента преобразования ТН от температур испарения и конденсации хладагента

Следует учесть, что использование тепловых насосов для тепло-хладоснабжения с использованием ВЭР и НВИЭ представляет собой новую современную технологию и требует современных архитектурно-планировочных, конструктивных и инженерно-технологических решений по всему объекту в целом. ТСТ должна быть органично вписана в объект и рационально сопряжена с остальными инженерными системами объекта.

2. КРАТКАЯ ХАРАКТЕРИСТИКА ВОЗМОЖНЫХ ИСТОЧНИКОВ ТЕПЛОВОЙ ЭНЕРГИИ НИЗКОГО ПОТЕНЦИАЛА И ТЕХНОЛОГИЙ ИХ ИСПОЛЬЗОВАНИЯ В ТЕПЛОНАСОСНЫХ СИСТЕМАХ ТЕПЛОСНАБЖЕНИЯ

2.1. Теплота окружающего воздуха

Теплота окружающего воздуха, как источника низкопотенциальной теплоты, характеризуется, как правило, сезонными и краткосрочными колебаниями температуры в зависимости от погодных условий, что влечёт за собой колебания режимов работы теплового насоса, снижающие его эффективность. Кроме того, средний уровень температуры окружающего воздуха влияет на коэффициент трансформации: чем ниже температура, тем ниже коэффициент трансформации.

В этой связи теплоту окружающего воздуха целесообразно использовать в климатических зонах с достаточно высокой (не ниже +5 °С) температурой и со стабильными погодными условиями.

Для климатической зоны г. Москвы с колебаниями температуры воздуха в отопительный период от 0 °С до -30 °С, что определяется высокой циклонической деятельностью в этот период, применение этого низкопотенциального источника не целесообразно.

2.2. Теплота грунтовых и подземных вод

Грунтовые и подземные воды обладают достаточно высокой теплоотдачей и имеют постоянную температуру, что обеспечивает эффективность и стабильность режимов работы тепловых насосов. Для утилизации теплоты создаётся циркуляционный контур: вода из грунта подаётся в теплообменник, связанный с испарителем теплового насоса, охлаждается и закачивается обратно в грунт (см. Рис. 4). Однако использование этих источников связано с более интенсивным вмешательством в гидрологический режим недр и требует согласования с соответствующими службами.

Следует также учесть, что использование грунтовых и подземных вод в качестве аккумулятора теплоты невозможно.

Рис. 4. Теплонасосная система теплоснабжения, использующая тепло подземных вод

1 - водонагреватель; 2 - тепловой насос; 3 - колодец; 4 - насос; 5 - дренаж

Подземные воды, так же как и поверхностные слои земли, могут быть использованы в качестве источника тепла для индивидуальных домов, многоквартирных зданий и районных котельных. Температура подземных вод обычно является постоянной на глубине 15-20 м, и для Москвы и Московской области составляет 6-8 °С.

Для извлечения тепла подземных вод используются обычные методы бурения скважин диаметром 10-20 см, глубиной 50-150 м.

Как и при использовании озерной воды, применяются два различных принципа сбора тепла. В одном случае замкнутая трубопроводная система опускается в скважину. В таком коллекторе циркулирует теплоноситель, который извлекает тепло из подземной воды и переносит его в испаритель теплового насоса.

Для небольшого теплового насоса мощностью около 10 кВт, который может использоваться для индивидуальных домов, требуется расход подземного потока около 1-2 м3 (в зависимости от температуры).

В другом варианте подземная вода закачивается непосредственно в испаритель, и после охлаждения сбрасывается в специальную скважину, достаточно далеко от места забора, чтобы исключить охлаждение источника подземной воды.

При использовании грунтовых и подземных вод в качестве источника низкопотенциального тепла для ТСТ необходимо учитывать риск нарушения их гидрологического и экологического баланса.

Возможности использования тепловых насосов на грунтовых и подземных водах ограничены территориями, где температура этих вод меньше +4,5 °С.

В условиях достаточно плотной застройки в Москве применение таких методов проблематично, поскольку требует наличия подземного водного потока под площадкой или вблизи площадки застройки. Однако при изучении геологической подосновы следует иметь в виду такую возможность.

2.3. Теплота водоёмов и природных водных потоков

Температура воды в водоёмах и водных потоках на поверхности земли подвержена сезонным изменениям в соответствии со средней температурой окружающего воздуха, причём наиболее низкая температура приходится на конец периода максимальной тепловой нагрузки. Утилизация низкопотенциальной теплоты производится теплообменниками, погруженными в воду. Использование этих естественных источников в качестве аккумуляторов теплоты невозможно. Однако специально созданные искусственные водоёмы (например, противопожарные резервуары) можно использовать как тепловые аккумуляторы, предусмотрев при этом мероприятия от размножения водной флоры и фауны, чему могут способствовать периоды повышенной температуры воды.

Для условий Москвы представляет интерес использование теплоты многочисленных малых рек, заключенных в коллекторы. Этот вопрос следует рассматривать при проектировании конкретных объектов с учётом их территориального расположения. При этом следует оценить энергетический потенциал таких малых рек - величину стока воды и её температуру в отопительный период.

2.4. Солнечная энергия

Целесообразность использования солнечной энергии зависит от климатических условий района применения. Потенциал этого источника довольно велик, однако плотность потока солнечной радиации сравнительно невелика - около 0,6 кВт на 1 м2, что требует значительных площадей поглощающей поверхности солнечных коллекторов. Кроме того, этот источник обладает ещё одним существенным недостатком - приход солнечной радиации неравномерен. Это требует применения теплоаккумулирующих устройств как для суточного, так и для сезонного аккумулирования.

Климатические условия Москвы характеризуются достаточно высокой циклонической деятельностью под влиянием Исландского минимума, что влечёт за собой неравномерное поступление солнечной радиации и относительно малое - 1758 - количество дней солнечного сияния. Отношение наблюдаемого количества дней солнечного сияния к возможному согласно климатическому справочнику составляет 39 %. По этим причинам использование солнечной энергии в качестве единственного источника низкопотенциальной теплоты малоэффективно.

Возможным решением может быть комбинация этого источника с другими, например с грунтом, который может быть использован как в качестве аккумулятора, так и источника теплоты (см. Рис.6).

2.5. Теплота грунта поверхностных слоёв Земли.

2.5.1. Грунт поверхностных слоев Земли фактически представляет собой тепловой аккумулятор неограниченной емкости, тепловой режим которого формируется под воздействием солнечной радиации и потока радиогенного тепла, поступающего из земных недр. Падающая на земную поверхность солнечная радиация и сезонные изменения ее интенсивности оказывают влияние на температурный режим слоев грунта, залегающих на глубинах 10-20 метров.

Температурный режим слоев грунта, расположенных ниже глубин проникновения тепла солнечной радиации, формируется только под воздействием тепловой энергии, поступающей из недр Земли, и практически не зависит от сезонных, а тем более суточных изменений параметров наружного климата.

Таким образом, на сравнительно небольшой глубине от поверхности имеются слои грунта, температурный потенциал которых в холодное время года значительно выше, чем у наружного воздуха, а в жаркое время года - значительно ниже.

2.5.2. При устройстве в грунте вертикальных или горизонтальных регистров труб (систем сбора низкопотенциального тепла грунта) с циркулирующим по ним теплоносителем, имеющим пониженную (повышенную) относительно окружающего грунтового массива температуру, происходит отбор (сброс) тепловой энергии (холода) от грунта и их отвод потребителю.

2.5.3. Поскольку грунт является довольно сложной и многообразной структурой при проектировании систем сбора низкопотенциального тепла грунта следует учитывать факторы и использовать методики, изложенные в ПРИЛОЖЕНИЯХ 2 и 5.

2.5.4. При расположении системы сбора низкопотенциального тепла под фундаментами зданий и сооружений следует оценить эффект подъёма поверхности грунта при замораживании грунтовой влаги. Пример такого расчёта приведен в ПРИЛОЖЕНИИ 3.

2.5.5. Грунт поверхностных слоев Земли, в связи с его повсеместной доступностью и достаточно высоким температурным потенциалом, является наиболее перспективным источником тепловой энергии низкого потенциала для испарителей ТН.

На рисунках 5 и 6 представлены примеры горизонтальной и вертикальной систем сбора низкопотенциального тепла грунта.

Рис. 5. Горизонтальная система сбора низкопотенциального тепла грунта

1 - воздушный отопительный аппарат; 2 - тепловой насос; 3 - пластиковый трубопровод

Рис. 6. Вертикальная система сбора низкопотенциального тепла грунта

1 - тепловой насос; 2 - солнечный коллектор; 3 - бойлер для горячего водоснабжения; 4 - нагревательные приборы системы отопления; 5 - циркуляционные насосы; 6 - вертикальные термоскважины системы сбора низкопотенциального тепла грунта

2.6. Теплота воздуха, выбрасываемого вентиляционными системами

2.6.1. Тепловые насосы, использующие тепло выбрасываемого вентиляционными системами воздуха (здания с механической системой вентиляции), температура которого составляет около +20 °С и мало изменяется в течение года, могут быть установлены в многоквартирных и индивидуальных зданиях. Это позволяет получить более высокий коэффициент преобразования тепла по сравнению с другими источниками низкопотенциального тепла. С другой стороны, вентиляционный воздух является сравнительно ограниченным источником тепла и экономически невыгодно увеличивать воздушный вентиляционный поток, так как в результате это приведет к увеличению потребности в теплоснабжении. В данном случае, как и для тепловых насосов, использующих наружный воздух, стоимость источника тепла ниже, чем для большинства других типов тепловых насосов.

2.6.2. Конфигурация системы зависит от места расположения теплового насоса в здании. Извлеченное тепло транспортируется в накопитель тепла, который может быть размещен, например, в подвале здания. Тепловой насос, с целью сокращения длин трубопроводов, может быть установлен либо в чердачном помещении, рядом с каналом выброса вентиляционного воздуха, либо рядом с водяным накопителем тепла в подвале (Рис.7 и 8).

2.6.3. Среднегодовой коэффициент преобразования тепла в таких системах составляет от 3 до 4, что подтверждает целесообразность их применения как для горячего водоснабжения, так и для отопления.

Рис. 7. Теплонасосная система, использующая тепло вентвыбросов

1 - новая часть стены; 2 - дополнительная изоляция из минеральной ваты; 3 - старая часть стены; 4 - набивка минеральной ватой; 5 - третье стекло; 6 - рекуперация тепла вентилируемого выбросного воздуха с помощью теплового насоса; 7 - тепловой насос на выбросном воздухе; 8 - бак аккумулятор горячей воды; 9 - теплообменник

Рис. 8. Теплонасосная система, использующая тепло вентвыбросов приточно-вытяжной системы вентиляции

1 - теплообменник; 2 - вентилятор; 3 - бойлер; 4 - бак аккумулятор; 5 - тепловой насос

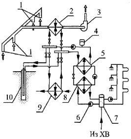
2.7. Комбинированное использование низкопотенциального тепла вытяжного воздуха, условно-чистых стоков и грунта

2.7.1. Принципиальная схема системы, использующей комбинацию теплоты вытяжного воздуха, условно-чистых стоков и грунта, представлена на Рис. 9.

Система предназначена для полного замещения нагрузки горячего водоснабжения всего жилого дома с температурой горячей воды 55 °С и рассчитана на средний часовой расход (в соответствии со СНиП 2.04.01-85*) за счёт установки баков - аккумуляторов горячей воды.

2.7.2. Основным источником низкопотенциального тепла является вытяжной воздух, охлаждаемый в воздухо-жидкостном теплоутилизаторе до 10-12 °С.

2.7.3. Дополнительными источниками низкопотенциального тепла служат система утилизации сбросного тепла условно-чистых сточных вод и система сбора тепла грунта.

Сточные воды, подобно внешнему воздуху, являются низкотемпературным источником тепла, который особенно удобен для использования тепловыми насосами. Сточные воды при температуре около +20 °С летом и редко менее +8 °С зимой имеются, как правило, во всех городских застройках. В очищенном либо необработанном виде они могут использоваться как источник тепла. Неочищенные сточные воды обычно имеют большую температуру, их источник расположен, как правило, вблизи расположения теплого насоса, но их применение часто приводит к засорению трубопроводов и блокированию теплообменных поверхностей.

Тепловые насосы, предназначенные для извлечения тепла сточных вод, целесообразно размещать либо вблизи городских очистных сооружений, либо в больших зданиях, где имеется большое количество относительно чистых сточных вод. Сезонный коэффициент преобразования тепла таких установок весьма высок (2,5-3,5), и, соответственно, экономические показатели достаточно хорошие. Пока трудно оценить общие возможности таких установок, но их создание возможно почти на всех станциях по обработке сточных вод. Теоретически количество утилизированного тепла может быть сопоставлено с полным энергопотреблением на производство горячей воды.

Рис. 9. Система, использующая комбинацию теплоты вытяжного воздуха, условно-чистых стоков и грунта

1 - вытяжные шахты; 2 - теплоутилизатор; 3 - вентилятор; 4 - расширительный бак; 5 - испаритель; 6 - компрессор; 7 - бак аккумулятор; 8 - конденсатор; 9 - теплообменник на сточных водах; 10 - система сбора тепла грунта

3. СИСТЕМЫ СБОРА НИЗКОПОТЕНЦИАЛЬНОЙ ТЕПЛОВОЙ ЭНЕРГИИ ГРУНТА ПОВЕРХНОСТНЫХ СЛОЕВ ЗЕМЛИ

Грунтовые теплообменники систем сбора низкопотенциальной тепловой энергии грунта, или систем теплосбора, могут укладываться в земле горизонтально, в траншеи, и вертикально, в буровые скважины. Поскольку их функциональные характеристики одинаковы, то различаются они только по стоимости монтажа и занимаемой площади.

При горизонтальной системе трубы грунтового теплообменника укладывают в земляные траншеи глубиной 1,5-2 м, соединяя ветви последовательно или параллельно.

Существуют множество конфигураций вертикальной укладки теплообменника, но здесь большая доля затрат приходится на буровые работы. При параллельной укладке труб можно использовать трубы меньшего диаметра (а, соответственно, и скважины). А чем меньше диаметр скважины, тем выше скорость проходки. Таким образом, параллельная укладка труб требует наименьших затрат на монтаж при вертикальной конфигурации.

Движение влаги является основным фактором, влияющим на теплообмен между землей и теплообменником. Когда тепло извлекают из земли, то влага в порах грунта движется к теплообменнику, улучшая тем самым теплообмен между трубопроводом и окружающим грунтом. При работе в режиме охлаждения сброс тепла в грунт вызывает отток поровой влаги, замедляя при этом перенос тепла.

Другим важным фактором является замораживание воды, заключенной в порах грунта. Использование теплоты фазового перехода позволяет извлекать энергию практически при постоянной температуре. Средняя температура теплоносителя повышается, что увеличивает эффективность работы теплового насоса. Подробнее вопрос теплофизических свойств грунта при различных условиях рассмотрен в ПРИЛОЖЕНИИ 5.

Размеры грунтового теплообменника определяются исходя из расчетных тепловых и холодильных нагрузок на ТСТ. Все тепловые насосы рассчитаны на максимальную и минимальную температуру жидкости, являющейся источником энергии.

Длина теплообменника зависит от его конструкции (вертикальная, горизонтальная и т.д.) и производительности теплового насоса. Наилучшей считается конструкция с наименьшими затратами на монтаж.

Теплообменники в земле могут работать при температурах от - 10 до + 45 °С. При отрицательных температурах необходимо использовать незамерзающий теплоноситель.

В качестве незамерзающего теплоносителя могут быть использованы водные растворы хлористого кальция, метанола и этиленгликоля. Каждая из этих жидкостей не вступает в реакцию с пластмассой.

Самый дешевый - хлористый кальций. Он также имеет наилучшие теплообменные характеристики, однако с ним могут возникнуть проблемы, если из системы не полностью откачан кислород. В этом случае может возникнуть коррозия металлических частей в петлях теплообменника, если они выполнены из неподходящих металлов, например, из желтой латуни.

Метанол проявляет себя очень хорошо при минимальных температурах, но подвержен возгоранию, если не разбавлен водой.

Этиленгликоль обладает хорошими теплообменными свойствами и не вызывает коррозии, но он токсичен.

3.1. Устройство горизонтальных грунтовых теплообменников

Монтаж горизонтальных грунтовых теплообменников производят в предварительно прорытые траншеи. Выбор механизмов при этом зависит от почвенных условий.

Сначала делается разметка трассы теплообменника и намечается место ввода в дом. По мере рытья траншеи грунт вынимается, и на дно траншеи укладывают трубопровод. Через каждые несколько метров трубопровод присыпается землей. Затем трубопровод вставляется в специально сделанное отверстие в фундаменте и заделывается.

После полной укладки проводится испытание трубопровода под давлением и засыпка траншеи. Причем первые 15 см засыпаются вручную. Дальнейшая работа по обратной засыпке выполняется бульдозером или другими механизмами.

3.2. Устройство вертикальных грунтовых теплообменников

На практике применяются следующие две конструктивные схемы вертикальных грунтовых теплообменников:

- «труба в трубе» - внутри обсадной трубы коаксиально располагается подающая теплоноситель труба, а поток теплоносителя, возвращающийся по межтрубному зазору, отбирает тепло грунта через стенку обсадной трубы;

- U-образная труба - по одной ветви теплоноситель подаётся вниз, а по другой возвращается обратно, при этом теплообмен с грунтом происходит по всей длине трубы, однако из-за меньших диаметров труб (при том же диаметре скважины) поверхность теплообмена получается существенно меньше, чем в предыдущем варианте.

Для большей гарантии все стыки труб, укладываемых в землю, должны соединяться термической сваркой, а не соединяться чисто механическими способами. Существуют два вида сварки - встык и с соединительными муфтами. При сварке в стык ровные концы труб нагревают, затем прикладывают друг к другу и сплавляют. При сварке с соединительными муфтами концы труб и поверхность муфты нагревают, а затем конец трубы вставляется в муфту и приваривается там. Полиэтиленовые трубы можно соединять обоими способами.

Вертикальные грунтовые теплообменники опускаются в предварительно пробуренные скважины. Чаще всего применяется мокрое вращательное или шнековое бурение.

При мокром вращательном бурении необходимо предусмотреть меры (использование стальных обсадных труб, глинизация), чтобы скважины оставались открытыми довольно значительное время до того, как в них будут вставлены трубы.

Герметичный грунтовый теплообменник (U-образный, или типа труба в трубе), предварительно испытанный под давлением, погружается в скважину. Перед погружением в заполненную буровым раствором скважину U-образный теплообменник заполняется водой, чтобы предотвратить его всплытие (см. ПРИЛОЖЕНИЕ 4). Для глубоких скважин к нижнему концу теплообменника подвешивается дополнительный груз.

Отверстия в выступающих над землей частях труб закрываются, чтобы в трубу не попал грунт.

Для обратной засыпки скважин можно использовать промытый песок или песчано-гравийную смесь. При опасности заражения водоносного горизонта грунтовыми водами, перетекающими вдоль стенки грунтового теплообменника, применяются герметики или цементные растворы.

Заключительный этап работ включает соединение выпусков вертикальных теплообменников в коллекторы и их ввод в здание через отверстия в фундаменте.

В ПРИЛОЖЕНИИ 1 приведен пример общих указаний по выполнению вертикальных систем сбора низкопотенциального тепла грунта (ССНТГ).

4. ПРОЕКТИРОВАНИЕ ОБЪЕКТОВ С ТЕПЛОНАСОСНЫМИ СИСТЕМАМИ ТЕПЛОСНАБЖЕНИЯ

4.1. При проектировании зданий и сооружений с применением энергосберегающих технологий, в том числе с применением тепловых насосов, использующих теплоту вторичных энергетических ресурсов и нетрадиционных источников энергии, необходимо рассматривать объект как единое целое. На ранних стадиях проектирования необходимо добиваться согласованности технических решений по архитектуре, конструкции и инженерным системам с целью выбора оптимальных схем внедрения энергосберегающих технологий, обеспечивающих минимальные сроки окупаемости дополнительных капитальных затрат.

4.2. Теплонасосные системы теплоснабжения проектируются для каждого конкретного объекта в зависимости от энергетических нагрузок, почвенно-климатических условий района строительства и стоимости энергоносителей.

Как указывалось выше (см. раздел 2), использование теплоты окружающего воздуха и солнечной энергии в качестве единственных источников низкопотенциальной теплоты малоэффективно, но в сочетании с другими, более стабильными, источниками (например, теплотой грунта) вполне возможно.

Грунт в районе Москвы характеризуется расположением на глубинах 50-60 м известняков, что ограничивает глубину бурения термоскважин. На глубинах утилизации теплоты (от 5 до 50 м), как правило, расположены пески, суглинки, глины. Водонасыщенность нормальная. Эти грунты позволяют утилизировать теплоту грунта. Однако при проектировании конкретных объектов необходимо проанализировать более подробные геологические данные по участку застройки и, при необходимости (как правило, для крупных объектов), произвести разведочное бурение.

4.3. Решение об использовании энергосберегающих теплонасосных систем целесообразно принимать на стадии разработки и утверждения задания на проектирование.

Предпосылками для применения таких систем могут служить следующие обстоятельства:

- удалённость от систем централизованного теплоснабжения;

- ограничение в использовании электроэнергии для прямого нагрева при теплоснабжении;

- наличие вторичных энергетических ресурсов (вентиляционных выбросов, сбросной теплоты технологических процессов, серых канализационных стоков и т. п.);

- наличие холодильной нагрузки;

- относительно низкий температурный потенциал тепловых нагрузок (напольное отопление, вентиляция, подогрев воды в бассейнах и т.п.)

- большой объём требований технических условий на подключение к внешним источникам теплоснабжения.

Этапы проектирования обязательно должны содержать стадию ТЭО.

На этой стадии наряду с архитектурой должны быть достаточно глубоко проработаны инженерные разделы, согласованы различные инженерные системы между собой и с теплонасосной системой теплоснабжения в части использования вторичных энергетических ресурсов и покрытия различных тепловых нагрузок с учётом графиков их изменения во времени.

4.4. ТСТ, как правило, состоят из системы сбора низкопотенциального тепла, собственно тепловых насосов и традиционных источников тепловой энергии для покрытия пиковых нагрузок. В некоторых случаях применяются аккумуляторы тепловой энергии. Такие схемы, как правило, применяются для систем горячего водоснабжения с целью выравнивания суточной неравномерности потребления горячей воды.

4.5. Системы сбора низкопотенциального тепла представляют собой различные теплообменные аппараты, утилизирующие ВЭР и НВИЭ и включённые в единый с испарителями тепловых насосов контур, по которому циркулирует теплоноситель. Если по режимным параметрам температура в этом контуре может быть ниже 0 °С, то в качестве теплоносителя используются антифризы, например, на основе водных растворов этиленгликоля. Система должна постоянно обеспечивать испарители тепловых насосов низкопотенциальной тепловой энергией. В связи с этим в системе целесообразно комбинировать различные виды низкопотенциальных источников теплоты.

4.6. Тепловые насосы, как наиболее дорогое оборудование, подбираются по мощности на величину базовых нагрузок по графику их изменения. Это обеспечивает максимальное использование тепловых насосов и более стабильный режим их работы.

Для обеспечения надёжности работы системы в схеме предусматривается несколько агрегатов, за исключением случаев, когда надёжность агрегатов обеспечивается их внутренним устройством.

4.7. В качестве дополнительных традиционных источников тепловой энергии, предназначенных для покрытия пиковых нагрузок, целесообразно применять нагреватели, легко поддающиеся автоматизации работы, например, электрические или газовые. Нагреватели могут устанавливаться по отношению к тепловым насосам как параллельно (со смешиванием потоков теплоносителя), так и последовательно (догревание теплоносителя).

4.8. На стадии ТЭО необходимо рассмотреть комплекс традиционных мероприятий по энергосбережению:

· рациональные архитектурно-планировочные решения по конфигурации зданий и сооружений и расположению их на местности;

· применение энергосберегающих ограждающих конструкций;

· использование энергосберегающей системы вентиляции, в том числе с возможностью рекуперативного подогрева приточного воздуха вытяжным;

· создание рациональной системы отопления с применением автоматизированных узлов управления и учёта тепловой энергии;

· установка экономичных устройств водоразбора в системе горячего водоснабжения с применением регуляторов давления;

· применение энергоэкономичных светильников и других электроприборов, устройств для частотного регулирования электрических машин и т.п.

Целесообразно рассмотреть 2-3 варианта схем ТСТ для выбора наиболее оптимального решения. Принципиальные схемы ТСТ выбираются на основе тепловых и технико-экономических расчётов.

4.9. Одной из основных проблем, решаемых при проектировании теплонасосных систем теплоснабжения, является проблема выбора установленной тепловой мощности системы.

4.9.1 Выбор установленной мощности должен производиться на основе технико-экономического расчета, рассматривающего наряду с энергосберегающей теплонасосной системой теплоснабжения всё здание или сооружение со всеми инженерными системами.

4.9.2. Специфика эксплуатационных особенностей теплонасосных систем теплоснабжения, использующих низкопотенциальное тепло грунта, существенно влияет на эффективность дальнейшей эксплуатации рассматриваемых систем. Отбор (или сброс) тепловой энергии из грунтового массива в процессе эксплуатации системы теплосбора может вызывать значительные изменения температуры грунта в годовом цикле относительно его естественной. Это в значительной степени осложняет задачу прогнозирования теплового поведения системы теплосбора в годовом цикле и вынуждает использовать при проектировании систем теплосбора сложные пространственные математические модели, учитывающие процессы распространения тепла по трем координатным осям.

4.10. В результате проведенных на компьютерных моделях исследований по оценке эксплуатационных воздействий систем теплосбора на естественный температурный режим грунта было установлено, что эксплуатация характеризуется тремя основными периодами.

Первый период, с начала отопительного сезона продолжительностью до 200 часов (8 суток), характеризуется ярко выраженной нестационарностью теплового режима грунтового массива и, вследствие этого, значительными изменениями температур грунта вблизи труб грунтового теплообменника. Для этого периода весьма характерным является тот факт, что грунтовый теплообменник оказывает весьма существенное тепловое влияние на слои грунта, находящиеся в непосредственной близости от него. Поэтому путем искусственного повышения теплопроводности и объемной теплоемкости (замена грунта, его увлажнение и т.д.) незначительного объема грунта вблизи труб грунтового теплообменника можно существенно улучшить эксплуатационные параметры системы теплосбора, эксплуатируемой в малотеплопроводных и не теплоемких грунтах.

Второй период - от 200 до 500 часов (с 8-х до 21-х суток) - характеризуется более плавным изменением интенсивности удельного теплосъема с единицы длины грунтового теплообменника во времени, которое имеет менее крутой, но все же экспоненциальный характер. Причём, наиболее интенсивно изменение удельного теплосъема во времени происходит, как и во время первого периода, в грунтах с малой теплопроводностью. Изменение интенсивности удельного теплосъема в течение периода - в пределах 15 % от начального значения.

Третий период начинается с 500 часов (или с 22-х суток) и продолжается до конца отопительного сезона. Для этого периода характерно линейное изменение интенсивности удельного теплосъема во времени. Однако, несмотря на значительно более пологий характер зависимости удельного теплосъема от времени, на протяжении этого периода она все же имеет ярко выраженный нестационарный характер.

4.11. Значительное влияние на эффективность эксплуатации систем теплосбора оказывают теплопроводность и теплоемкость грунтового массива. Чем выше теплопроводность и объемная теплоемкость грунта, тем выше интенсивность удельного теплосъема с единицы длины грунтового теплообменника и, соответственно, выше эффективность системы теплоснабжения.

Наиболее существенное влияние на эффективность эксплуатации системы теплоснабжения оказывает изменение теплопроводности грунта в пределах от 0,4 - 2 Вт/(м* °С) и его объемной теплоемкости от 400 - 1000 кДж /(куб.м.* °С). Дальнейшее их увеличение сказывается на эффективности системы менее заметно. Следовательно, при эксплуатации систем теплосбора в малотеплопроводных и не теплоемких грунтах имеется реальная возможность за счет незначительного повышения влажности грунта (путем создания дренажа, задержки дождевой влаги на участке теплосбора и т.д.) значительно повысить эффективность эксплуатации системы теплосбора и, соответственно, системы теплоснабжения в целом.

4.12. Согласно действующим нормативным документам (например, СНиП 2.04.05-91* «Отопление, вентиляция и кондиционирование воздуха», п.п. 6.13 и 8.2, МГСН 2.01-99 «Энергосбережение в зданиях, нормативы по теплозащите и тепловодоэлектроснабжению», п. 4.2.4) применение новых технологий теплоснабжения, в том числе с применением тепловых насосов, связанных, как правило, со значительными капитальными вложениями, требует предварительного технико-экономического обоснования.

4.13. На стадии разработки ТЭО для объектов с теплонасосными системами теплоснабжения должны быть проработаны следующие вопросы:

· определены основные архитектурно-планировочные решения;

· определены расчетные тепловые, холодильные и электрические нагрузки объекта с учётом всех внутренних бытовых и технологических тепловыделений;

· рассмотрены возможные мероприятия по снижению энергетических нагрузок традиционными способами;

· определена структура потребления энергии (тепловой и электрической);

· определены суточные и годовые графики потребления тепловой и электрической энергии;

· проработана схема традиционного (централизованного или автономного) теплоснабжения и определены затраты на её создание (с учётом выполнения требований выставленных технических условий);

· определен энергетический потенциал вторичных энергетических ресурсов объекта (мощность и график их поступления);

· определён энергетический потенциал доступных нетрадиционных возобновляемых источников энергии и потребная мощность для покрытия тепловых нагрузок здания;

· выбрана принципиальная схема системы энергоснабжения с помощью тепловых насосов и выполнена предварительная проектная проработка;

· рассчитаны капитальные затраты, связанные с созданием ТСТ, с учётом технических условий на подключение к внешним энергетическим источникам;

· рассчитаны годовые эксплуатационные затраты по традиционному варианту теплоснабжения и варианту с тепловыми насосами;

· рассчитан срок окупаемости ТСТ.

В случае если срок окупаемости приемлем и к реализации принят вариант ТСТ, следующие этапы проектирования выполняются в соответствии с существующими нормами с обязательным расчётным обоснованием выбора структуры и технических характеристик применяемого оборудования.

4.14. Применение теплонасосных систем теплоснабжения в городском хозяйстве Москвы может рассматриваться в двух аспектах: как один из путей решения стратегической задачи энергосбережения и как энергосберегающая технология решения локальных задач энергоснабжения отдельных зданий и сооружений.

В ПРИЛОЖЕНИИ 6 рассмотрены перспективы внедрения тепловых насосов в систему теплоснабжения Москвы. В ПРИЛОЖЕНИИ 7 приведены примеры принципиальных технических решений по теплонасосным системам теплоснабжения отдельных конкретных объектов.

ПРИЛОЖЕНИЕ 1.

ОБЩИЕ УКАЗАНИЯ ПО ПРОЕКТИРОВАНИЮ СИСТЕМЫ СБОРА НИЗКОПОТЕНЦИАЛЬНОГО ТЕПЛА ГРУНТА (ССНТГ)

1.1. ССНТГ должна быть оборудована циркуляционными насосами и механическими проточными фильтрами, рассчитанными на максимальный суммарный расход теплоносителя. Подающий и обратный трубопроводы ССНТГ снабжаются задвижками.

1.2. Для компенсации температурного расширения теплоносителя, а также для подпитки системы в процессе эксплуатации ССНТГ должна быть оснащена расширительной емкостью, снабженной, в зависимости от ее расположения, подпиточным насосом соответствующей мощности.

1.3. В автоматической системе управления (АСУ) и контроля ТСТ должны быть предусмотрены подсистемы для измерения и контроля температур, расходов и давления теплоносителя ССНТГ, а также возможность защиты от аварийных ситуаций, например, внештатного понижения температуры теплоносителя или его утечки.

1.4. Термоскважины и трубопроводы ССНТГ должны быть защищены от коррозии методом катодной защиты или иным методом в соответствии со СНиП 2.04.07-86* «Тепловые сети». Станции катодной защиты разрабатываются в составе общего Проекта катодной защиты инженерных сетей объекта теплоснабжения. В местах разрыва электропроводящих участков трубопроводов (муфты, фланцы и т.п.) должны быть установлены шунтирующие кабели для системы катодной защиты.

1.5. Производство работ по устройству термоскважин (бурение, установка обсадных колонн, корпусов термоскважин и пр.) должны выполняться только в соответствии с конструкторской и проектной документацией.

ПРИЛОЖЕНИЕ 2.

ПРИМЕР РАСЧЕТА КОЭФФИЦИЕНТА ТЕПЛООТДАЧИ ОТ ТЕПЛОНОСИТЕЛЯ ССНТГ К ГРУНТУ

В качестве теплоносителя системы сбора низкопотенциального тепла грунта, исходя из имеющегося опыта и представленных на рынке веществ и растворов, учитывая их эксплуатационные свойства и стоимость, принят 35 % водный раствор этиленгликоля со следующими теплофизическими характеристиками [1]:

Плотность                                                          ρ = 1045 (кг/м3);

Температура замерзания                                 tз = 21 °С;

Удельная теплоемкость

при температуре -10 °С                                   Ср = 3,57 (кДж/кг×К);

при температуре 0 °С                                       Ср = 3,57 (кДж/кг×К);

при температуре + 20 °С                                  Ср = 3,65 (кДж/кг×К);

Коэффициент динамической вязкости

при температуре -10 °С                                   v = 7,35 10-62/с);

при температуре 0 °С                                       v = 4,70 10-62/с);

при температуре + 20 °С                                  v = 2,35 10-62/с);

Коэффициент теплопроводности

при температуре -10 °С                                   λ = 0,454 (Вт/м×К);

при температуре 0 °С                                       λ = 0,465 (Вт/м×К);

при температуре + 20 °С                                  λ = 0,465 (Вт/м×К);

Критерий Прандтля

при температуре -10 °С                                   Рг = 60;

при температуре 0 °С                                       Рг = 37,7;

при температуре + 20 °С                                  Рг = 19,2.

Грунтовый теплообменник (далее по тексту - термоскважина) представляет собой конструкцию «труба в трубе» коаксиального типа со стальной наружной и полиэтиленовой внутренней трубами. Теплоноситель, отдав тепло и охладившись в испарителе теплонасосной установки (ТНУ), поступает во внутреннюю (полиэтиленовую) трубу грунтового теплообменника, опускается в нижнюю часть скважины, переходит в межтрубную полость, где поднимается вверх и, нагреваясь, отбирает тепло грунта и вновь отдает его в испарителе ТНУ.

Ниже приведены геометрические характеристики термоскважины:

Наружная труба Ø 219 ´ 7,7 мм (сталь)

Внутренняя труба Ø 180 ´ 16,2 мм (полиэтилен)

Эквивалентный диаметр кольцевого канала:

dэ = 4.F/P = [4.π / 4×(D2 - d2)] / π×(D + d) = D - d = 0,2036 - 0,18 = 0,0236 (м)

Площадь кольцевого канала межтрубной полости:

fk = π / 4.(D2 - d2) = 3,14 / 4×[(0,2035)2 - (0,18)2] = 0,007 (м2)

Режим кондиционирования

Суммарную холодопроизводительность ССНТГ принимаем равной нагрузке кондиционирования Q0 = 1740 (кВт). Общее количество термоскважин ССНТГ n = 89

Холодопроизводительность одной термоскважины:

Q1 = Q0 / n = 1740 / 89 = 19,6 (кВт)

Объемный расход теплоносителя через термоскважину:

Gv = Q1 / (ρ×Ср×Δt) = 19,6 / {1045×3,57×[(15) - (9)]} = 0,00087 (м3/c),

где ρ - плотность теплоносителя (кг/м3);

Ср - удельная теплоемкость теплоносителя (кДж/кг.К);

Δt - разность температур теплоносителя (°С).

Принимаем температуру входа теплоносителя в термоскважину и выхода из нее соответственно: t1 = 15 °С, t2 = 9 °С.

Скорость теплоносителя в кольцевом канале V = Gv/fk = 0,00087/0,007 = 0,124  м/с).

Критерий Рейнольдса

Re = V.dэ/v = 0,124×0,0236/(6,29×10-6) = 465 << 2000, что характеризует режим течения теплоносителя в кольцевом канале как ламинарный.

Для определения более подробных характеристик теплового взаимодействия и выбора расчетных зависимостей числа Нуссельта, определим критерии Пекле и Грасгофа.

Критерий Пекле (характеризует соотношение конвективных и кондуктивных потоков тепла при конвективном теплообмене):

Ре =V×dэ / а = Re×Pr = 465×51 = 23715

Критерий Грасгофа (характеризует соотношение подъемных сил и сил вязкости):

Gr = [g×β×Δt×(dэ)3] / v2 = [9,81×(1,9×10-4)×8×(2,36×10-2)3] / (7,35×10-6)2 = 26666

где g - ускорение свободного падения (м/с2);

b - температурный коэффициент объемного расширения жидкости (1/К) = (ρж ρст) / [ρж×(tж - tст)] = 1,9×10-4 (1 / К),

где ρж - плотность жидкости при температуре потока (кг/м3);

ρст - плотность жидкости при температуре стенки (кг/м3);

tст - расчетная температура стенки (°С);

tж - расчетная температура потока (°С).

В связи с тем, что Re << 2000, для определения степени влияния гравитационных сил определяем параметр:

Gr×Pr = 26666×51 = 1 359 966

т.к. (7+8)×105 < 1 359 966 < 4.108,

в рассматриваемом случае имеет место вязкостно-гравитационный режим течения теплоносителя в термоскважине. Такой режим течения жидкости характеризуется наложением на вынужденное течение свободного течения, обусловленного зависимостью плотности жидкости от температуры.

В соответствии с [2] и вследствие того, что (1 / Ре)×(L / dэ) = (1 / 26666)×(50 / 0,0236) = 0,079 > 0,004 критерий Нуссельта (безразмерный коэффициент теплоотдачи) в условиях течения жидкости в кольцевом канале при теплообмене только через наружную стенку трубы в условиях ламинарного течения при вязкостно-гравитационном режиме будет равен:

Nu = {3,66 + [0,0668×(Ре(dэ/L)] / [1 + 0,04 (dэ/ L))2/3]}ε1ψ1 = {3,66 + [0,0668×(26666(0,0236 / 50))] / [1 + 0,04 (26666×(0,0236 / 50))2/3]×1,04 = 4,53.

где ε1 - поправочный коэффициент на гидродинамический начальный участок; вследствие того, что (1/Re)×(L/dэ) = 4,56 >> 0,1 имеет место наличие успокоительного участка, т.е. ε1 = 1

ψ1 - коэффициент, учитывающий изменение физических свойств потока.

ψ1 = (μстж)-0,14 = (4810×10-6 / 6514×10-6)-0,14 = 1,04

где μст - коэффициент динамической вязкости при температуре стенки [Па×с];

μж - коэффициент динамической вязкости при температуре потока [Па×с];

В связи с тем, что отношение длины канала к его гидравлическому диаметру L/dэ = 50 / 0,0236 = 2119 >> 120, можно принять модель бесконечно длинной трубы.

В соответствии с таблицей 2-27 [2] для dвн / dн = 180 / 203,6 = 0,884×Nu = 4,8 для граничных условий первого рода (температура на стенке трубы постоянна), что весьма близко к полученному расчетному значению.

Для ламинарного течения жидкости в трубах [4] предлагает следующее выражение для числа Нуссельта:

Nu = 1,86×Re1/3Pr1/3(L / dэ)-1/3 ( μст/ μж)0,14 = 1,86.4650,33×510,33×(50 / 0,0236)-0,33×(4810.10-6 / 6514×10-6)0,14 = 4,0

т. е. Nu > 3,66 при Re×Pr = 23715 >> 100

В соответствии с таблицей 3 - 8 [4] для граничных условий 1-го рода Nu = 4,86.

Таким образом, расчеты подтверждают приближение расчетных значений Nu к значениям Nu для граничных условий первого рода.

По результатам определения числа Нуссельта для вязкостно-гравитационного режима ламинарного течения жидкости в кольцевом канале вертикального грунтового теплообменника по двум источникам можно сделать вывод о том, что полученные данные имеют различие в ~ 11 % и примерно соответствуют условиям теплообмена бесконечной трубы при граничных условиях первого рода (температура стенки теплообменника является постоянной). Принимаем для дальнейших расчетов на режиме кондиционирования Nu = 4,3.

Коэффициент теплоотдачи со стороны теплоносителя:

α = Nu.λ / dэ = 4,3.0,461 / 0,0236 = 84 (Вт / м2.°С)

Режим теплоснабжения

При работе на режиме теплоснабжения тепловая мощность ССНТГ Q0 = 1000 (кВт).

Тепловая мощность одной термоскважины:

Q1 = Q0 / n = 1000 / 89 = 11,2 (кВт)

Объемный расход теплоносителя:

Gv = Q1 / (ρ.Ср.Δt) = 11,2 / {1045.3,57.[(-3) - (-6)]} = 0,001 (м3/c),

где    ρ - плотность теплоносителя ( кг/м3);

Ср - удельная теплоемкость теплоносителя ( кДж/кг.К);

Δt - разность температур теплоносителя (°С).

Температуры входа и выхода теплоносителя в термоскважине на режиме теплоснабжения, соответственно t1 = -3 °С и t2 = -6 °С.

Скорость теплоносителя в кольцевом канале V = Gv / fk = 0,001 / 0,007 = 0,14 (м/с)

Критерий Рейнольдса Re = V.dэ / v = 0,14×0,0236 / (6,29 10-6) = 525 << 2000, что позволяет сделать вывод о том, что режим течения теплоносителя в кольцевом канале ламинарный.

Критерий Пекле Ре = V.dэ / а = Re.Pr = 525.51 = 26775

В соответствии с [2] критерий Нуссельта (безразмерный коэффициент теплоотдачи) в условиях течения жидкости в кольцевом канале при теплообмене только через наружную стенку трубы в условиях ламинарного течения при вязкостно-гравитационном режиме будет равен:

Nu = {3,66 + [0,0668.(Ре( dэ / L))] / [1 + 0,04.(Ре.(dэ / L))2/3]} ε1.ψ1 = {3,66 + [0,0668 (26775.(0,0236 / 50))] / [1+ 0,04.(26775.(0,0236 / 50))2/3]}.1.1,04 = 4,5

В соответствии с [4] для ламинарного течения жидкости в трубах предлагается следующее выражение для числа Нуссельта:

Nu = 1,86 Re1/3 Pr1/3.(L / dэ)-1/3.ст / μж)0,14 = 1,86.5250,33.510,33(50 / 0,0236)-0,33.(4810.10-6 / 6514.10-6)0,14 = 4,1

Имея в виду то, что различные формулы расчёта дают разницу около 8 %, ориентируясь на предельные значения для данного случая при граничных условиях первого рода, принимаем Nu = 4,3.

Тогда коэффициент теплоотдачи со стороны теплоносителя:

α = Nu.λ / dэ = 4,3.0,461 / 0,0236 = 84 (Вт / м2.°С)

Основываясь на результатах расчетов, можно сделать вывод о том, что коэффициент теплоотдачи со стороны теплоносителя для обоих режимов работы ССНТГ (теплоснабжение и кондиционирование) имеет одинаковые значения:

αср = 84 (Bт/м2.°C)

Литература:

1. С.Н. Богданов и др. Холодильная техника. Свойства веществ. Справочник. М., «Агропромиздат», 1985 г., стр. 170

2. Теплотехнический справочник под ред. В. Н. Юренева и П.Д. Лебедева, Том 2, М., «Энергия», 1976 г., стр. 164

3. П.Д. Лебедев. Теплообменные, сушильные и холодильные установки. М., «Энергия», 1972 г., стр. 32

4. Тепломассобмен. Справочник. Под ред. А. В. Лыкова, М. Энергия, 1978 г., стр. 221

ПРИЛОЖЕНИЕ 3.

МЕТОДИКА ОЦЕНКИ ПОДЪЕМА ПОВЕРХНОСТИ ГРУНТА ПРИ ОБРАЗОВАНИИ В ГРУНТОВОМ МАССИВЕ ОБЛАСТЕЙ МЕРЗЛОГО ГРУНТА

Важной особенностью систем сбора низкопотенциального тепла грунта является формирование в окрестности регистра труб грунтового теплообменника зон с отрицательной температурой. При этом в грунтах, содержащих жидкую фазу, происходит изменение агрегатного состояния влаги, сопровождающееся изменением напряженного состояния замерзшего грунта и вызывающее увеличение его объема. При определенных условиях в зависимости от размеров зоны мерзлого грунта и глубины ее залегания может иметь место деформирование дневной поверхности над этой зоной. Ниже приводится методика оценки величины деформирования дневной поверхности применительно к теплонасосной системе теплоснабжения здания спортивно-оздоровительного комплекса Аквадром, расположенного по адресу: Москва, Аминьевское шоссе, вл. 15.

Конструкция ССНТГ предполагает образование зоны мерзлого грунта, окружающей регистр труб грунтового теплообменника, расположенных на участке размером 30 ´ 30 м с шагом 4 м. Нижняя граница зоны залегает на глубине 60 м, верхняя - на глубине 30-40 м. Изменения во времени размеров этой зоны зависят только от эксплуатационных нагрузок на систему теплосбора, поскольку сезонные изменения параметров наружного климата на глубинах более 10 м не влияют на среднегодовую температуру грунта. (При открытой Дневной поверхности амплитуда сезонных колебаний температуры грунта на глубине 7 м составляет менее 5 % от ее значений на поверхности и отстает по фазе на полгода).

Всюду в дальнейшем предполагается, что размеры зоны мерзлого грунта не зависят от времени и соответствуют постоянному среднегодовому потоку отбора тепла от грунтового массива. При заданном значении теплового потока и известных коэффициентах теплопроводности талого и мерзлого грунта на основании балансов тепловых потоков в предположении, что температура теплоносителя равна –10 °С (с двукратным запасом), а естественная температура грунта равна +10 °C. Зону мерзлого грунта приближенно можно аппроксимировать в форме шара радиусом Ro = 15 м, центр которого расположен на глубине Н = 45 м, что примерно соответствует образованию вокруг термоскважин цилиндрических линз замороженного грунта радиусом 1,0 м.

Для оценки величины деформирования дневной поверхности используется аналитическое решение следующей задачи.

Внутри линейно-деформируемого полупространства на расстоянии Н от границы расположена сферическая полость радиуса Ro, к которой приложено давление Ро. Ищутся перемещения плоской поверхности от действия приложенного давления. Точное решение этой задачи имеет чрезвычайно сложный вид, однако в главном члене оно имеет вид:

u = [PoRo(1 + v)cos3 θ] / EH,

где    u - вертикальное перемещение свободной горизонтальной поверхности в системе координат, центр которой совпадает с центром сферы, задаваемой уравнением,

Е, v - деформационные параметры массива,

θ - полярный угол, отсчитываемый от вертикали. Горизонтальная координата точек свободной поверхности

y =H.tgθ

Входящее в правую часть формулы давление Ро находится из следующих условий: если массив грунта, ограниченный сферой радиуса Ro, переходит из талого состояния в мерзлое при условии возможности его свободного расширения, то относительное увеличение объема будет ΔV. (Эта величина зависит от физико-механических свойств грунта). Относительное приращение радиуса сферы будет ΔRо = Δv / 3. Однако свободному расширению этой зоны препятствует противодавление, создаваемое окружающим грунтовым массивом. Поэтому величину Ро находим из условия, что под действием давления Ро сферическая полость с начальным радиусом Ro достигнет размера R*, равного радиусу шара с деформационными характеристиками мерзлого грунта, подвергнутого сжимающему давлению Ро и имевшему первоначальный радиус Ro(1 + Δv / 3).

Для бесконечной области со сферической полостью:

R* = Ro {1 + [Po(1 + v)] / 2Е}

Для шаровой области мерзлого грунта:

R* = Ro{1 - [Ро(1 - 2vm)] / Em}.(1 + Δv / 3)

Отсюда получаем выражение для Ро:

Ро = Δv /{3.[(1 + v) / 2Е + (1 - 2vm) / Em]}

Поскольку Em в сотни раз превосходит величину Е, то в результате получаем упрощенное выражение:

Po = [2E / (1 + v)].[(Δv / 3)]

где    Е, v - деформационные параметры грунта, залегающего выше зоны мерзлого грунта. По результатам инженерно-геологических изысканий на площадке застройки принимаем Е = 200 кг/см2, v = 0,35.

Для оценки величины относительного объемного расширения Грунта при замерзании Δv разработано много методик, однако все они рассматривают сезонное промерзание верхних слоев грунта, находящегося в неводонасыщенном состоянии и лежащих выше уровня грунтовых вод. Величина морозного пучения описывается эмпирическими формулами в зависимости от начальной степени водонасыщения, количества выпавших осадков в осенний период, близости залегания подземных вод и скорости охлаждения грунта. Для полностью водонасыщенных грунтов имеются результаты лабораторного определения величины Δv, однако они в разных публикациях не вполне согласуются между собой.

Зона образования мерзлых грунтов на площадке застройки расположена ниже уровня грунтовых вод, поэтому замораживаемые грунты являются полностью водонасыщенными. Для таких грунтов величина Δv с запасом может быть оценена исходя из предположения, что вода, полностью заполняющая поры грунта, при замерзании увеличивает свой объем на 10 %. Тогда:

Δv = 0,1e / (1 + e)

где е - коэффициент пористости грунта.

По результатам инженерно-геологических изысканий максимальная величина е в зоне промерзания равна 0,7, тогда Δv = 0,041.

При сделанных выше предположениях о размерах зоны замороженного грунта (Ro = 15 м, Н = 45 м) подъем дневной поверхности будет описываться зависимостью:

U = 0,045 cos3θ м,

где: θ = arctg(Y / 45).

Деформированная дневная поверхность имеет форму симметричного холма плавного очертания, максимальная величина подъема Umax = 0,045 м (при Y = θ = 0),

при Y= 20 м   U = 0,034 м

при Y= 45 м   U = 0,016 м

Максимальный уклон деформированной поверхности du / dy достигается при Y = 25 м и равен dumax / dymax = 0,0003. Эта величина намного меньше предельно допустимого уклона для каркасных зданий гражданского назначения равного 0,002.

Если область мерзлого грунта по форме отличается от рассмотренной выше, то ее можно разбить на несколько элементарных шаровых областей, вычислить деформирование дневной поверхности для каждой из них и результаты алгебраически сложить.

Наличие поверхностной нагрузки практически не сказывается на величине подъема дневной поверхности, поскольку на глубинах 40-60 м результирующее давление почти не отличается от природного. При давлении ~ 10 кг/см2 температура замерзания воды понижается на ~ 0,1 °С, в остальном схема расчета остается прежней.

ПРИЛОЖЕНИЕ 4.

ОПРЕДЕЛЕНИЕ НЕОБХОДИМОГО ОБЪЕМА ЗАПОЛНЕНИЯ ВОДОЙ ГЕРМЕТИЧНЫХ ТРУБ ТЕРМОСКВАЖИН ПРИ ИХ ОПУСКАНИИ В СКВАЖИНУ, ЗАПОЛНЕННУЮ БУРОВЫМ РАСТВОРОМ

Исходные данные:

· труба стальная                                                         - Ø 219 ´ 7,7

· вес 1 п/м трубы, м1, кг                                             - 40,2

· плотность раствора скважины , ρр, кг/м3              - 1300

· плотность воды, ρв, кг/м3                                        - 1000

· глубина скважины, l, м                                           - 60

Объем корпуса термоскважины:

V = (π.d2 / 4).I = (3,14.0,2192 / 4).60 = 2,26 (м3)

Сила тяжести корпуса трубы термоскважины:

М = м1.l.g = 40,2.60.9,81 = 23662 (Н)

Выталкивающая сила:

F = V.ρр.g = 2,26.1300.9,81 = 28822 (Н)

Из приведенного выше видно, что выталкивающая сила (в случае, если пренебречь трением о грунт поверхности трубы) превышает силу тяжести, т.е. при погружении труба «всплывет».

ΔF = F - М = 28822 - 23662 = 5160 (Н)

Для того, чтобы избежать «всплытия» трубы, необходимо:

- либо откачать буровой раствор из скважины в объеме

ΔV1 > ΔF / ρр g 0 / 1300.9,81 > 0,4 (м3)

- либо запить в трубу воду объемом

ΔV2 > ΔF / ρв.g = 5160 / 1000.9,81 > 0,53 (м3)

Один погонный метр трубы по сертификационным данным весит 43,56 кг.

В связи с этим итоговые данные изменятся следующим образом:

ΔV1 > 0,25 (м3), ΔV2 > 0,32 (м3)

Необходимый столб воды в корпусе термоскважины для обеспечения ее устойчивости при погружении:

h = ΔV2/f = ΔV2/(π.dвн2 / 4) = 0,53/(3,14.0,2032 / 4) = 16,4 (м)

ПРИЛОЖЕНИЕ 5.

О ТЕПЛОФИЗИЧЕСКИХ СВОЙСТВАХ ГРУНТОВ

При эксплуатации систем тепло-хладоснабжения, использующих теплоаккумуляционные свойства грунта поверхностных слоев Земли, необходимо учитывать, что грунтовый массив, находящийся в пределах зоны теплового влияния системы теплосбора, вследствие сезонного изменения параметров наружного климата, а также под воздействием эксплуатационных нагрузок, как правило, подвергается многократному замораживанию и оттаиванию. При этом происходит изменение агрегатного состояния влаги, заключенной в порах грунта, которая, в общем случае, может находиться в жидкой, твердой и газообразной фазах одновременно. Грунтовый массив системы теплосбора, включая влагу, независимо от состояния, в котором он находится (в мерзлом или талом), представляет собой сложную трехфазную полидисперсную гетерогенную структуру, скелет которой образован огромным количеством твердых частиц разнообразной формы и величины и может быть как жестким, так и подвижным.

Моделирование процессов тепломассопереноса, участвующих в формировании теплового режима многокомпонентной системы, требует учета и математического описания разнообразных механизмов их осуществления: теплопроводности в отдельной частице, теплопередачи от одной частицы к другой при их контакте, молекулярной теплопроводности в среде, заполняющей промежутки между частицами, конвекции пара и влаги, содержащихся в поровом пространстве и многих других. При моделировании теплового режима систем необходимо также учитывать химико-минералогическую природу грунтового скелета, его механическую структуру, количественные соотношения между фазами среды, заполняющей промежутки между твердыми частицами скелета, и их взаимное расположение в поровом пространстве, а также многие другие физико-химические параметры грунтового массива.

Разработанный ОАО «ИНСОЛАР - ИНВЕСТ» метод математического моделирования основан на сопоставлении двух задач: о нестационарном тепловом режиме системы теплосбора при ее эксплуатации и о естественном тепловом режиме грунтового массива систему теплосбора.

Использование данного метода при построении математических моделей теплового режима систем сбора низкопотенциального тепла грунта позволяет не только обойти трудности, связанные с аппроксимацией внешних воздействий на систему, но и использовать в качестве решения базовой задачи достоверные, экспериментально полученные данные о естественном тепловом режиме грунта. Это является преимуществом данного метода в сравнении с традиционным подходом к моделированию тепловых процессов, поскольку позволяет частично учесть в модели весь комплекс факторов (таких как наличие грунтовых вод, их скоростной и тепловой режимы, структуру и расположение слоев грунта, "тепловой фон" Земли, атмосферные осадки, фазовые превращения влаги в поровом пространстве и многих других), влияющих на формирование теплового режима системы теплосбора.

На основе описанного метода разработан комплекс компьютерных программ, моделирующих пространственный нестационарный тепловой режим систем сбора низкопотенциального тепла грунта в процессе многолетней эксплуатации.

Проведенные с помощью этого комплекса численные эксперименты показали, что потребление тепловой энергии из грунтового массива к концу отопительного сезона вызывает в близи регистра труб системы теплосбора понижение температуры грунта, которое в почвенно-климатических условиях большей части территории России не успевает компенсироваться в летний период года, и к началу следующего отопительного сезона грунт выходит с пониженным температурным потенциалом. В течение следующего отопительного сезона происходит дальнейшее снижение температуры грунта, так далее...

Однако, начиная с пятого года эксплуатации, многолетнее потребление тепловой энергии из грунтового массива системы теплосбора сопровождается периодическими изменениями его температуры.

В связи с этим, при проектировании систем теплохладоснабжения, использующих тепло грунта, представляется необходимым учет падения температур грунтового массива, вызванного многолетней эксплуатацией системы теплосбора, и использование в качестве расчетных параметров, температур грунтового массива, ожидаемых на 5-ый год эксплуатации.

Правильность геокриологического прогноза и оценки количественной интенсивности теплового и механического взаимодействия массивов пород с различного рода сооружениями во многом определяются качеством вводимой информации о теплофизических свойствах пород, о фазовом составе влаги в них, величине температуры замерзания (оттаивания).

Коэффициент теплопроводности λ (Вт/(м °К) ) характеризует способность материала (породы) проводить тепло, а объемная Ср (Дж/(м °К)) или удельная (весовая) теплоемкость С (Дж/кг °К)) и коэффициент температуропроводности а2/с) - тепловую инерцию и инерцию изменения температурного поля соответственно.

В термодинамическом плане мерзлые породы есть многофазные и многокомпонентные системы. К основным компонентам пород относятся: органоминеральный скелет, поровый раствор и поровый газ. Вода может находиться в жидкой, твердой и газообразной фазах. Поскольку теплоемкость есть величина аддитивная, то теплоемкость породы складывается из теплоемкостей ее составляющих. Таким образом, теплоемкость грунта есть сумма теплоемкостей минералов, из которых сложен скелет грунта, органической составляющей, воды (для влажных грунтов) или водного раствора солей (для засоленных грунтов), льда (для мерзлых грунтов) и газовых включений грунта.

Теплопроводность грунтов, определяется соотношением твердой, жидкой и газообразной составляющих, их химико-минеральным составом, структурными и текстурными особенностями (дисперсностью, пористостью, слоистостью и др.), влажностью, агрегатным состоянием воды и температурой.

Многочисленные экспериментальные исследования, выполненные на дисперсных грунтах нарушенного и естественного сложения, показали уменьшение теплопроводности пород с увеличением их дисперсности в следующей последовательности: крупнообломочные; песчаные; супесчаные; лессовые; суглинистые; глинистые. Возрастание дисперсности сопровождается ростом гидрофильное и ультрапористости, определяющих фазовый состав мерзлых пород, причем процентное содержание незамерзшей воды увеличивается в последовательности, аналогичной приведенному ряду по дисперсности.

Минеральный состав дисперсных пород в целом оказывает влияние на их теплопроводность, хотя и проявляется это лишь через факторы строения породы.

Существенное влияние на теплопроводные свойства горных пород оказывает их плотность, а также любое нарушение сплошности. Коэффициент теплопроводности выше у более плотных, менее пористых пород, так как уплотнение породы сопровождается увеличением доли более теплопроводного скелета, а также улучшением качества контактов между частицами. Эта закономерность подтверждена экспериментальными данными для дисперсных пород различного состава, причем она справедлива в широком диапазоне температур, включая и область интенсивных фазовых переходов.

Теплопроводность резко возрастает по мере увеличения влажности грунта, поскольку теплопроводность воды значительно выше теплопроводности вытесняемого водой воздуха.

Большей части осадочных и метаморфических пород присуща анизотропия по теплопроводности.

Величина теплопроводности зависит от температуры. Особенно сильно зависит от температуры теплопроводность мерзлых грунтов. Для влажных дисперсных пород влияние температуры определяется не только температурными зависимостями теплопроводности отдельных компонентов, но их количественным соотношением, связанным с изменением фазового состава влаги в породах, а также условиями передачи тепла на контактах компонентов породы. Образование льдо-цементационных связей при фазовых переходах в значительной степени увеличивает величину коэффициента теплопроводности пород. Как правило, теплопроводность мерзлых пород выше, чем талых.

Для предварительного анализа возможно использование расчетных значений теплофизических характеристик, рекомендуемых СНиП 2.02.04-88.

В случаях, когда затруднительно найти аналоги используя имеющиеся в литературе данные по теплофизическим свойствам талых и мерзлых грунтов, следует проводить опытное определение свойств.

Для более точных расчетов необходимо проведение инженерно-геологических исследований, и на их основе определение физико-механических и теплофизических свойств грунта.

ПРИЛОЖЕНИЕ 6.

ПЕРСПЕКТИВЫ ВНЕДРЕНИЯ ТЕПЛОВЫХ НАСОСОВ В СИСТЕМУ ТЕПЛОСНАБЖЕНИЯ МОСКВЫ

На рисунках 1 и 2 представлены существующие и перспективные электрические и тепловые нагрузки Москвы, соответствующие Генеральному плану развития города.

Рис. 1. Электрическая нагрузка Москвы (млн. кВт)

Рис. 2. Тепловая нагрузка Москвы (Гкал/час)

Основными направлениями теплосберегающей политики (как в области градостроительства, так и в системе теплоснабжения), позволяющей на 5-6 % снизить необходимый прирост мощности теплотехнических объектов города и обеспечивающей экономию топлива в размере не менее 20-25 %, учтённой при планировании развития системы теплоснабжения города в соответствии с существующим Генпланом, являются:

· строительство новых жилых и общественных зданий из конструкций с более высокими теплозащитными характеристиками;

· сокращение тепловых потерь при транспортировке тепла к потребителям путем использования более эффективных теплоизолирующих материалов и более высокого качества строительства;

· внедрение теплосберегающих технологий;

· повышения теплозащитных показателей существующих здании и сооружений при капитальном ремонте;

· сокращение подачи тепла от ТЭЦ Мосэнерго в города ближайшего Подмосковья;

· отказ от строительства новых ТЭЦ;

· использование современных децентрализованных тепловых установок для уникальных объектов, центральных районов города и районов, удаленных от существующих тепловых сетей с затрудненной прокладкой новых коммуникаций;

· улучшение теплоснабжения северных и восточных районов города путём прекращения подачи тепла от ТЭЦ № 21 в г. Химки, компенсируемого строительством самостоятельного крупного источника тепла ГТУ-ТЭЦ, и сохранения подачи тепла в район Люберцы от ТЭЦ № 22 на существующем уровне.

В целях ресурсосбережения, повышения надежности и эффективности функционирования, снижения воздействия на окружающую среду и обеспечения растущей электрической нагрузки в объёме 9,5-9,7 млн. кВт Генеральным планом предусмотрены следующие основные направления в области электроснабжения города:

· внедрение электросберегающих мероприятий во всех сферах потребления с введением дифференцированных тарифов за пользование электроэнергией;

· строительство новых и реконструкция существующих питающих центров на напряжение 110, 220 кВ;

· применение в системе электроснабжения Москвы ГТУ-ТЭЦ малой мощности, тепловых насосов и других источников нового поколения, обеспечивающих децентрализацию общей системы, в т.ч. строительство источников малой мощности для обеспечения делового центра «Москва-Сити», свободной экономической зоны в Ново-Подрезково, жилых районов Кожухово, Щербинка, крупных административных центров;

· высвобождение территорий, занятых воздушными ЛЭП;

· развитие существующих Московских теплоэлектроцентралей путем замены турбогенераторов, выработавших свой ресурс, новыми, той же мощности;

· размещение основного объема необходимого строительства источников нового поколения экологически чистых электростанций небольшой мощности на базе парогазовых, газотурбинных и газодизельных установок в городах и крупных поселках городского типа, расположенных в центральной части Московской области, что позволит высвободить электрическую мощность на Московских ТЭЦ для использования потребителями г. Москвы.

На рисунке 3 представлена возможная схема интеграции тепловых насосов в систему энергоснабжения объектов городского хозяйства. Как видно из рисунка, предлагаемая схема обеспечивает экономию 60 % первичного топлива.

Рис. 3.

В таблице 1 приведены существующие и планируемые Генеральным планом на период до 2020 г. электрические и тепловые нагрузки г. Москвы. Представленный в таблице вариант теплоснабжения Москвы с использованием теплонасосных систем теплоснабжения (ТСТ) предполагает использование для привода тепловых насосов 5000 МВт установленных мощностей ТЭЦ по выработке электроэнергии.

Таблица 1.

НАИМЕНОВАНИЕ ТЕХНИКО-ЭКОНОМИЧЕСКИХ ПОКАЗАТЕЛЕЙ

1999г.

2020г.

 

Вариант Генплана

Вариант с ТСТ

Электрическая нагрузка, МВт

6700

9500

14500

Тепловая нагрузка, МВт

44900

57200

57200 из них ТЭЦ - 39700

Доля электрической нагрузки, %

13

14

27

В таблице 2 представлены результаты укрупненного технико-экономического сравнения традиционного и "теплонасосного" вариантов теплоснабжения Москвы в 2020 г.

Технико-экономическое сопоставление вариантов проводилось при следующих основных допущениях:

1. Стоимость 1 тонны условного топлива (т у.т.) принята равной 100 $ США.

2. Капитальные вложения в 1 кВт установленной мощности традиционного теплогенерирующего оборудования (РТС, индивидуальные газовые котельные и пр.) приняты равными 100 $ США без учета капвложений в тепловые сети;

3. Капитальные вложения в 1 кВт установленной тепловой мощности ТСТ приняты равными 250 $ США, включая 50 $ США в систему сбора низкопотенциального тепла. При этом капвложения в ТСТ обеспечиваются без издержек для городского бюджета только за счет инвесторов строящихся и реконструируемых объектов.

4. Среднегодовой коэффициент преобразования ТСТ принят равным 3,5.

5. При проведении расчетов рассматривался только зимний режим с продолжительностью отопительного периода 5000 часов, при этом средняя тепловая нагрузка, как на традиционное теплогенерирующее оборудование, так и на ТСТ принималась равной 0,5 от нагрузок, приведенных в таблице 1.

Таблица 2.

НАИМЕНОВАНИЕ ТЕХНИКО-ЭКОНОМИЧЕСКИХ ПОКАЗАТЕЛЕЙ

ВАРИАНТ ГЕНПЛАНА

ВАРИАНТ

С ТСТ

1

2

3

1. Мощность установленного оборудования, мВт

66 700

66 700

- электрооборудование, в том числе:

9 500

14 500

- тепловые насосы;

-

5 000

- тепловое оборудование, в том числе:

57 200

57 200

- тепловые насосы.

-

17 500

2. Экономия энергоресурсов:

 

 

- в млн. мВт*часов в год;

-

32,25

- в млн. тонн условного топлива в год.

-

3,84

3. Капитальные вложения в систему теплоснабжения, млн. $ США:

-

-

- из городских источников (РТС, котельные и пр.);

1 230

-

- из внебюджетных источников в теплонасосное оборудование (средства заказчиков объектов).

-

4 375

4. Экономия эксплуатационных затрат в городском хозяйстве на приобретение первичного топлива, млн. $ США в год.

-

384

Таким образом, внедрение технологий, использующих тепловые насосы, в городское хозяйство Москвы может позволить обеспечить необходимый до 2020 г. прирост теплогенерирующих мощностей за счет внебюджетных средств, не увеличивая при этом потребления первичного топлива (природного газа и мазута).

ПРИЛОЖЕНИЕ 7.

ПРИМЕРЫ ВЫБОРА ПРИНЦИПИАЛЬНЫХ СХЕМ ТЕПЛОНАСОСНЫХ СИСТЕМ ТЕПЛОСНАБЖЕНИЯ

Теплонасосная система теплоснабжения здания канализационно-насосной станции № 3 в Куркино

Здание канализационно-насосной станции размером в плане 15 ´ 12 м состоит из двух этажей для персонала и подземного технологического помещения, содержащего ёмкость с установленными в ней погружными фекальными насосами.

Тепловой нагрузкой надземной части является система отопления, а поземной - система вентиляции. Централизованное теплоснабжение отсутствует, в проекте рассмотрен вариант традиционного теплоснабжения от электрических бойлеров. Принципиальная схема ТСТ здания КНС-3 в Куркино представлена на рисунке 4. В качестве альтернативы рассматривается энергосберегающая теплонасосная система теплоснабжения (ТСТ) с использованием вторичных энергетических ресурсов и нетрадиционных возобновляемых источников энергии.

Нагрузки теплоснабжения по проекту:

Вид нагрузки

Величина нагрузки, кВт

Температура в помещении °С

Отопление

37,2

+18

Вентиляция

101,6

+5

После рассмотрения проекта рекомендовано для снижения нагрузок применить утеплённые ограждения надземной части, а в системе вентиляции установить теплообменник-рекуператор для подогрева приточного воздуха вытяжным, что позволяет повысить минимальную температуру приточного воздуха перед калорифером с -26 до -9 °С и снизить нагрузку вентиляции до 45,9 кВт (на 54 %).

Нагрузки теплоснабжения после введения энергосберегающих мероприятий:

Вид нагрузки

Величина нагрузки, кВт

Температура в помещении °С

Отопление

17,8

+20

Вентиляция с рекуперацией

45,9

+5

С учётом этих нагрузок разработана схема ТСТ, использующей низкопотенциальную теплоту грунта, и на основании теплового расчёта выбрано основное оборудование.

Состав энергогенерирующего оборудования и распределение нагрузки:

Вид нагрузки

Тип оборудования

Тепловая мощность, кВт

Электрическая мощность, кВт

Температура теплоносителя, °С

Отопление

Тепловые насосы

11,4

4,4

50-55

Электрокотёл

8,5*

9,0

35-85

Вентиляция с рекуперац.

Тепловые насосы

45,3

11,7

30

Электрокотёл

11,4*

12,0

35

Технико-экономическим расчётом определены сроки окупаемости капитальных затрат при прогнозируемых тарифах на электроэнергию: на конец 2000 г. - 6,2 года, на конец 2001 г. (с учётом прогнозируемого роста тарифов на энергоносители) - 2,9 года.

Рис. 4.

Теплонасосная система горячего водоснабжения секции типового жилого дома серии П44

Тепловой узел горячего водоснабжения запроектирован на каждую секцию жилого дома, содержащую 64 квартиры и рассчитанную на 224 жителя. Число этажей -17.

Тепловой узел горячего водоснабжения предназначен для подогрева водопроводной воды до температуры, предусмотренной СНиП 2.04.01-85*, с использованием теплоты грунта и утилизируемых вентиляционных выбросов.

Нагрузка горячего водоснабжения:

Максимальный часовой расход горячей воды, м3/час - 4,47,

соответствующая тепловая нагрузка, кВт - 282.

Средний за сутки часовой расход горячей воды, м3/час -1,07,

соответствующая тепловая нагрузка, кВт - 79,2.

Как видно по суточному графику разбора воды, максимальная нагрузка почти вчетверо превышает среднюю.

Из соображения снижения капитальных затрат на наиболее дорогое оборудование (тепловые насосы) принимается схема с суточным аккумулированием.

Расчётный срок окупаемости за счёт экономии эксплуатационных затрат 4 года.

Принципиальная схема теплонасосной системы горячего водоснабжения секции жилого дома типовой серии П44 показана на рисунке 5.

Рис. 5.




Яндекс цитирования



   Copyright © 2007-2026,  www.tehlit.ru.

[ ѓосты, стандарты, нормативы, инструкции, правила, строительные нормы ]