//
ТехЛит.ру
- крупнейшая бесплатная электронная интернет библиотека для "технически умных" людей.
WWW.TEHLIT.RU - ТЕХНИЧЕСКАЯ ЛИТЕРАТУРА

:: Алготрейдинг::


АЛГОТРЕЙДИНГ
шаг за шагом
с нуля по урокам!

Торговые роботы на PYTHON, BackTrader,
Pandas, Pine Script для TradingView. Связка с брокерами, телеграм и легкими приложениями.


ДЕПАРТАМЕНТ СТРОИТЕЛЬСТВА

НАУЧНО-ТЕХНИЧЕСКОЕ УПРАВЛЕНИЕ

МОССТРОЙЛИЦЕНЗИЯ

ВЕДОМСТВЕННЫЕ СТРОИТЕЛЬНЫЕ НОРМЫ

УКАЗАНИЯ
НА СТРОИТЕЛЬСТВО ТЕПЛОВЫХ СЕТЕЙ
ИЗ ТРУБ С БИТУМОПЕРЛИТОВОЙ ИЗОЛЯЦИЕЙ

ВСН 22-95

Москва-1995

Указания на строительство тепловых сетей из труб с битумоперлитовой изоляцией (ВСН-22-95) разработаны НИИМосстроем Департамента строительства (зав. сектором изоляции, к.т.н. А.Г. Нейман) с участием Мосстройлицензии (Ю.Я. Столяров и к.т.н. В.Д. Фельдман), согласованы с АООТ «Люберецкий комбинат строительных материалов и конструкций», АО «Теплоизолит» (Хотьково) и МПХК Моспромстройматериалы, внесены НИИМосстроем Департамента строительства (директор, д.т.н., проф. Белоусов Е.Д., зам. директора по научной работе, к.т.н. Белавин Ф.С.), утверждены Научно-техническим управлением Департамента строительства (зам. руководителя Департамента строительства, начальник управления Н.Н. Никонов).

Департамент строительства
Научно-техническое управление

Ведомственные строительные нормы

ВСН 22-95

Указания
на строительство тепловых
сетей из труб с битумоперлитовой изоляцией

ДС

1. ОБЩИЕ ПОЛОЖЕНИЯ

1.1. Настоящие указания регламентируют правило проведения строительно-монтажных и изолировочных работ при строительстве и ремонте тепловых сетей с индустриальной битумоперлитовой изоляцией.

1.2. Трубы с битумоперлитовой изоляцией применяют для строительства сетей отопления и горячего водоснабжения диаметром до 300 мм с рабочим давлением до 1,6 МПа (16 кгс/см2) и температурой теплоносителя до 150 °С, согласно требованиям СНиП 2.04.07-86 «Тепловые сети»:

- бесканальным способом непосредственно в грунте и в непроходных каналах;

- в технических подпольях, технических коридорах жилых и гражданских зданий, в проходных коллекторах, проходных каналах.

1.3. Трубопроводы горячего водоснабжения с битумоперлитовой изоляцией (подающего и циркуляционного) готовятся только из оцинкованных труб по ГОСТ 3262-75.

Внесены
НИИМосстроем

Утверждены
Научно-техническим управлением
Департамента строительства
4 сентября 1995 г.

Срок
введения
в действие
1 января 1996 г.

1.4. При совмещенной прокладке тепловых сетей, горячего и холодного водопровода бесканальным способом трубопровод холодного водоснабжения следует прокладывать в битумоперлитовой изоляции с толщиной, равной толщине подающего теплопровода. Глубина прокладки трубопроводов до верха изоляции не менее 0,8 м.

1.5. Типоразмеры и показатели битумоперлитовой изоляции труб должны соответствовать требованиям действующих ТУ 400-2-131-89 «Трубы и изделия для тепловых сетей, изолированные битумоперлитом» и ТУ 5767-011-04001232-95.

1.6. Перед изоляцией стальные трубы необходимо высушить, очистить от грязи, масел, окалины и продуктов коррозии с применением дробеструйной, пескоструйной или иглощеточной обработки или использованием преобразователей ржавчины. Если толщина слоя продуктов коррозии (ржавчины) не превышает 50 мкм, целесообразно использовать целлолигниновый преобразователь ржавчины, вводимый в количестве 4-8 % в состав холодной теплостойкой мастики (без наполнителя). Допускается сочетать способы механической, например, дробеструйной обработки поверхности с последующим нанесением преобразователей ржавчины. Рекомендуется при механической обработке доводить степень очистки поверхности до величины шероховатости 5-10 мкм.

1.7. В качестве антикоррозионного покрытия рекомендуется стеклобитумопропиленовое покрытие по ТУ 400-2-401-93, состоящее из двух слоев мастики, армированной стеклохолстом. В построечных условиях рекомендуется проводить изоляцию теплостойкой битумчо-каучуковой мастикой по ТУ 400-2-490-90 с устройством покрытия по ТУ 400-2-491-91. Допускается в опытном порядке использование этилсиликатного покрытия толщиной 150-200 мкм, разработанного НИИМосстроем. При технической возможности рекомендуется применение алюминирования или оцинковки труб с применением газотермического или электродугового напыления, в ответственных случаях в комбинации с лакокрасочным, например, этилсиликатным покрытием. Допускается покрытие битумно-цементо-бензиновым праймером состава 1:1, 2:1,7 по массе.

1.8. Строительство теплосетей с индустриальной изоляцией осуществляется с использованием линейных элементов заводского изготовления с битумоперлитовой изоляцией, скорлуп равной толщины, неподвижных опор, П-образных или осевых компенсаторов. Минимальный слой теплоизоляции на всех фасонных деталях должен быть не меньше, чем на линейных участках, внутренний диаметр скорлуп должен быть равен диаметру изолируемой трубы с защитным покрытием.

1.9. Сооружение тепловых сетей с битумоперлитовой изоляцией осуществляется по согласованному проекту с применением типовых решений основных узлов трассы. Рекомендуются к использованию: альбом Мосинжпроекта «Бесканальная прокладка двухтрубных теплосетей с битумоперлитовой изоляцией при диаметре трубопроводов Дu = 50-300 мм (шифр СК 3103-72)», альбом Моспроекта-1 «Бесканальная пятитрубная прокладка с битумоперлитовой изоляцией при диаметрt трубопроводов Дy = 50-250 мм (шифр 30.72-3788)».

1.10. Для повышения теплостойкости и надежности битумоперлитовой изоляции целесообразно использовать введение в его состав щелочной цементной добавки (до 10 % от массы битума), повышающей щелочность среды, следить, чтобы расход битума был не менее 120 кг/м3, использовать добавки полимерных смол (около 5-10 %) эпоксидной, фенольной, бакелитовой. Для улучшения теплозащиты при необходимости на битумоперлитовую изоляцию дополнительно наносится вспененная пенополиэтиленовая оболочка. Скорлупы могут изготавливаться либо из битумоперлита, либо из пенополиуретана и других водостойких материалов, не допускается использовать минватные и другие проницаемые материала в комбинации с битумоперлитом.

2. КОНСТРУКЦИИ ТЕПЛОВЫХ СЕТЕЙ С БИТУМОПЕРЛИТОВОЙ ИЗОЛЯЦИЕЙ

2.1. В ходе строительства теплосетей с битумоперлитовой изоляцией используются следующие трубные элементы:

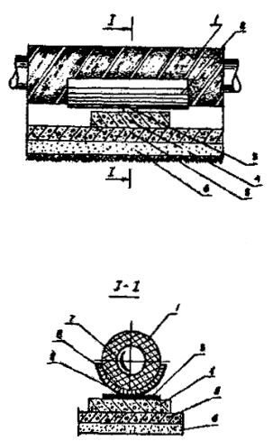
- трубы стальные с битумоперлитовой изоляцией линейные с покровным слоем из экструзионного полиэтилена и стеклоткани, пропитанной битумной или битумно-полимерной мастикой (рис. 1а);

- щитовые неподвижные опоры (рис. 1б) или изолированные вкладыши с опорными фланцами (рис. 1в);

- скорлупы битумоперлитовые прямые для изоляции сварных стыков (рис. 1д);

- скорлупы изогнутые для углов поворотов и компенсаторов (рис. 1г).

2.2. Линейный изолированный трубный элемент представляет собой стальную трубу со стеклопропиленовым или битумно-каучуковым покрытием, напрессованным слоем битумоперлита и гидроизолирующим (поддерживающим) слоем. Для бесканальной прокладки наружная оболочка приготавливается из стеклоткани, пропитанной битумной мастикой, или слоя экструзионного монолитного полиэтилена.

Для канальной прокладки наружная оболочка готовится из стеклоткани, пропитанной битумно-полимерной мастикой, желательно слоя фольги или фольгоизола, закрепленной бандажами и винтами. Концы трубных элементов длиной 200 мм не изолируются.

2.3. Щитовая неподвижная опора представляет собой железобетонный щит с заделанными в него изолированными или неизолированными трубными элементами. Если трубы не изолированы, их изолируют прямыми битумоперлитовыми скорлупами, нанося на поверхность и концы труб защитное покрытие (битумно-каучуковое, битумно-пропиленовое или иное с требуемой теплостойкостью). Изолированный вкладыш неподвижной опоры представляет собой отрезок трубы с битумоперлитовой изоляцией длиной 1000 мм с приваренном посередине металлическим фланцем, покрытым с поверхности стеклотканью с битумно-пропиленовой или битумно-каучуковой мастикой (бесканальная прокладка) либо фольгой и пропитанной стеклотканью при прокладке. Опорный фланец должен выступать над теплоизоляцией, чтобы была возможность провести заделку элемента в опоре.

Рис. 1. Трубы и комплектующие изделия для тепловых сетей, изолированных битумоперлитом:

1 - стальная праймированная труба; 2 - битумоперлитовая изоляция; 3 - покровный слой из стеклоткани на битумно-пропиленовой мастике; 4 - покровный слой из стеклоткани на битумно-каучуковой мастике; 5 - железобетонная стенка; 6 - стальной упорный фланец; а - изолированная туба; б - щитовая неподвижная опора; в - изолированный элемент неподвижной опоры; г - битумоперлитовая скорлупа изогнутая; д - битумоперлитовая скорлупа прямая

2.4. Прямая битумоперлитовая скорлупа представляет собой полый полуцилиндр длиной 400 мм. На очищенную трубу с нанесенной защитной мастикой устанавливают скорлупы, которые затем оклеивают двумя слоями ПЭ пленки или стеклоткани на битумно-пропиленовой или битумно-каучуковой мастике, либо изолируют термоусаживающимися муфтами или лентами с нахлестом на прилегающие участки трубы в 50-100 мм. Целесообразно сначала изолировать скорлупу с поверхности ПЭ клейкой лентой или стеклотканью, а затем установить термоусаживающуюся ленту и провести прогрев, термоусадку и герметизацию стыка. Для напольной прокладки устраивают слой фольгоизола с закреплением бандажами.

2.5. Изогнутая битумоперлитовая скорлупа представляет собой изогнутый под углом 90° полый полуцилиндр, закрепление которого проводится аналогично описанному ранее (п. 2.4).

2.6. При отсутствии изогнутых или прямых битумоперлитовых скорлуп допускается использование близких по размеру скорлуп из пенополиуретана или рипора, установку которых следует проводить на слой нанесенной битумно-каучуковой мастики. Допускается превышение высоты скорлупы над изоляцией примыкающих участков труб. Изоляцию стыков можно проводить рассыпной нагретой битумоперлитовой массой, подпрессованной на месте в специальной прессовой переносной установке. В ней с помощью винтов одна половина формы вдвигается в другую, уплотняя массу и образуя сплошной битумоперлитовый цилиндр на трубе, без зазоров с прилегающей теплоизоляцией соседних линейных труб. Снаружи место стыка может быть упрочнено асбоцементным раствором, обеспечивающим также защиту теплоизоляции.

2.7. Для бесканальной прокладки (и в непроходных каналах) рекомендуется типовая конструкция трубопровода с антикоррозионным слоем СБП покрытия или битумно-каучукового покрытия и покрытием битумно-цементо-бензиновым праймером, битумоперлитовой изоляцией и монолитной экструзионной полиэтиленовой оболочкой или оболочкой из проклеенной битумной мастикой стеклоткани. Допускается применение пленки ПИЛ в качестве наружной защитной оболочки, а для стыков использование термоусаживающихся муфт и лент, либо пленки ПИЛ по стеклоткани.

2.8. Для канальной прокладки тепловых сетей в технических подпольях и проходных коллекторах рекомендуется конструкция труб с антикоррозионным СБП или битумно-каучуковым покрытием, битумоперлитовой изоляцией и покровным слоем из проклеенной битумом стеклоткани, фольгоизола или алюминиевой фольги толщиной не менее 0,2 мм, закрепленной бандажами или алюминиевой проволокой Æ 1,5-2,5 мм с шагом крепления до 300 мм.

2.9. Основные типоразмеры битумоперлитовой изоляции должны соответствовать требованиям ТУ 400-2-131-89 и ТУ заводских, они представлены в таблице 1, а также требованиям ТУ 5767-011-04001232-95.

Таблица 1

Условный проход, Ду, мм

Основные размеры труб, мм

Толщина битумоперлитовой изоляции труб и изделий, мм

Наружный диаметр битумоперлитовой изоляции труб и изделий, мм

Размеры изолированных элементов для неподвижных опор, мм

наружный диаметр

минимальная толщина стенки

размеры упорного фланца

длина изолированной части

50

57

3,5

56

169

270´270

600

70

76

3,5

56

188

285´270

600

80

89

3,5

64

217

320´320

600

100

108

4,0

74

257

360´360

600

125

133

4,0

83

300

400´400

600

150

159

4,5

70

300

400´400

600

200

219

6,0

80

379

480´480

600

250

273

7,0

80

433

580´580

600

300

325

8,0

80

500

600´600

600

3. БЕСКАНАЛЬНАЯ ПРОКЛАДКА ТЕПЛОВЫХ СЕТЕЙ

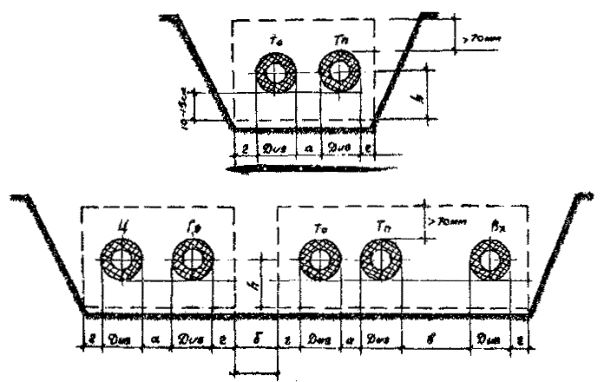
3.1. Минимальные расстояния между трубами при бесканальной прокладке (рис. 2), а также между трубами и стенкой непроходного канала в свету должны соответствовать таблице 2.

Расстояние от поверхности изоляции до перекрытия канала должно быть не менее 70 мм, а до дна канала - не менее 100 мм.

Рис. 2. Варианты расположения трубопроводов при двухтрубной и пятитрубных прокладках:

Ц - циркуляционный трубопровод; Гв - трубопровод горячего водоснабжения; То - трубопровод обратной теплосети; Тп - трубопровод подающей теплосети; Вх - трубопровод холодного водоснабжения

Таблица 2

Условный проход, Ду, мм

Наружный диаметр изолированных труб, Ди, мм

Минимальные расстояния между трубами, мм

а

б

в

г

h

50

169

80

430

200

80

185

70

188

80

430

200

80

193

80

217

100

430

200

80

209

100

257

100

450

200

100

209

125

300

100

450

200

100

229

150

300

120

490

200

120

247

200

379

120

510

200

130

289

250

433

150

550

200

150

319

300

500

150

610

200

160

349

Примечание. Обозначения параметров см. в рис. 2.

3.2. Для обеспечения свободных температурных перемещений на углах поворотов трассы и в местах устройства гибких компенсаторов трубопроводы следует прокладывать в непроходных каналах. Допускается на углах поворотов трассы и при устройстве компенсаторов прокладка в непроходных каналах, образованных пенополистирольными плитами, установленными между трубами и сбоку от них с прикрытием сверху от попадания грунта аналогичной плитой, подрезанной по требуемому размеру.

3.3. Этапы бесканальной прокладки тепловых сетей с битумоперлитовой изоляцией следующие (рис. 3):

1) рытье траншей;

2) устройство сопутствующего дренажа и песчаной постели толщиной 100-150 мм (рис. 3а);

3) раскладка и монтаж труб, сварка стыков;

4) нанесение защитного покрытия, установка скорлуп, гидроизоляция стыков с термоусадкой муфт или намоткой стеклоткани, пленки ПИЛ (рис. 3б);

5) устройство неподвижных и скользящих опор;

6) устройство песчаной обсыпки теплопроводов (рис. 3в);

7) засыпка траншеи (рис. 3г);

6) устройство пористого слоя и дренажа - при пятитрубной прокладке с дренажом (рис. 3д).

3.4. Тепловые сети с битумоперлитовой изоляцией в песчаных и глинистых грунтах можно прокладывать бесканальным способом, если постоянный уровень грунтовых вод ниже уровня прохождения теплотрассы.

3.5. При бесканальной прокладке теплопроводов в сухих песчаных грунтах (естественная влажность не более 5 %) с коэффициентом фильтрации Кф £ 5 м/сут никаких дополнительных устройств по защите битумоперлитовой изоляции от увлажнения не требуется.

3.6. В случае бесканальной прокладки теплопроводов во влажных глинистых и песчаных грунтах рекомендуется создать пористый песчаный слой с коэффициентом фильтрацию Кф £ 5 м/сут и попутный дренаж. Дренаж устраивают с использованием перфорированных труб диаметром не менее 150 мм с двухслойном песчано-гравийным фильтром или трубофильтром.

3.7. Рытье траншей выполняется согласно проекту, без нарушения естественной структуры грунта. Подсыпку и выравнивание дна траншей производят песком.

Рис. 3. Последовательность работ по бесканальной прокладке тепловых сетей (см. раздел 3.3). Условные обозначения трубопроводов - как на рисунке 2

3.8. Создание пористого песчаного слоя в глинистых и водонасыщенных грунтах начинают с устройства песчаной постели толщиной 150 мм.

После укладки труб и изоляции стыков производят дополнительную подсыпку песка. Сначала песок подсыпают на высоту изолированной трубы с тщательной подбивкой пазух, затем - до высоты 150 мм над верхом изоляции.

3.9. В насыпных, рыхлых, торфянистых и других слабых грунтах с несущей способностью меньше 50 кПа (0,5 кгс/см) песчаную постель укладывают на слой трамбованной щебенки, гравия или тощего бетона толщиной не менее 100 мм.

Проектом устанавливается тип основания под песчаную постель, затем после разрытия траншей тип основания уточняют в зависимости от вида грунта.

3.10. До укладки труб в траншею следует устранить все повреждения битумоперлитовой изоляции. Наружные трещины шириной до 5 мм заливают горячим битумом. Отколы и другие повреждения изоляции необходимо расчистить до металлической трубы, затем это место изолируют с помощью битумоперлитовых скорлуп, устанавливаемых на горячей битумной мастике (битумно-пропиленовой или битумно-каучуковой).

3.11. Отремонтированные участки изоляции (включая трещины) следует склеивать двумя слоями стеклоткани (изола) на горячей битумной мастике либо изолировать пленкой ПИЛ с напуском на неповрежденные участки изоляции около 100 мм. При возможности следует изолировать поврежденный участок термоусаживающимися лентами или разрезанными муфтами, полотнища которых устанавливают с нахлестом 50-100 мм друг от друга, прогревают и склеивают место нахлеста, а затем после его упрочнения проводят прогрев и термоусадку остальной части ленты. Допускается установка нескольких муфт или лент, располагаемых с нахлестом друг на друга (50-100 мм).

3.12. Укладку труб начинают лишь после проверки соответствия отметок дна траншеи проекту. Перед укладкой труб необходимо подготовить песчаную подушку и песок для подбивки труб.

3.13. Спуск изолированных труб в траншею производят автокраном с помощью «полотенец» или других захватных приспособлений, которые обеспечивают сохранность изоляционного покрытия. Строповка труб тросом за изолированные участки запрещена.

3.14. От захватных приспособлений трубы освобождают только после закрепления их подбивкой песком.

Укладка трубопроводов «змейкой» в вертикальной или горизонтальной плоскости недопустима. Отклонение трубопровода от проектного положения не должно превышать 10 мм.

3.15. При установке в камерах сальниковых компенсаторов корпус компенсатора следует монтировать на специальной опоре с металлическими съемными подкладками. Это позволит опускать компенсаторы в случае осадки трубопровода.

3.16. Заглубление верха изолированной трубы должно быть не менее 0,7 м до спланированной поверхности земли и не менее 0,8 м до верха проезжей части. В местах недостаточного заглубления теплопроводы с битумоперлитовой изоляцией необходимо прокладывать в каналах.

3.17. Сварку труб начинают после опускания их в траншею и закрепления подбивкой песком в проектном положении.

3.18. Для проведения сварочных и изоляционных работ в месте стыка устраивают приямок длиной 1 м и глубиной 0,5 м на всю ширину траншеи.

3.19. Сварка труб в плети разрешается на бровке или в траншее с использованием поворотных роликовых опор.

3.20. Изоляцию сварных стыков начинают после проверки качества сварки в соответствии с действующими нормами (контроль 5 % стыков физическими методами и опрессовка теплопровода).

3.21. Изоляция сварных стыков проводится после зачистки до блеска сварного шва или нанесения мастики - преобразователя ржавчины. Затем на поверхность металла трубы наносится праймер, по которому наносится горячая битумно-пропиленовая мастика, разогретая на месте и армируемая стеклохолстом, либо наносится не менее чем в два слоя битумно-каучуковая мастика, делающая покрытие толщиной не менее 0,5 мм.

Битумоперлитовые скорлупы примеривают и подрезают, подгоняя так, чтобы зазор не превышал 1-2 мм. Скорлупы надевают на стык и прикручивают двумя скрутками из отожженной вязальной или алюминиевой проволоки. Затем наносят 2 слоя стеклоткани на горячем битуме или битумной мастике либо пленку ПИЛ. При наличии термоусадочных муфт их сдвигают и устанавливают либо обматывают место стыка термоусадочной лентой, закрепляют ее с должным нахлестом проволокой. Затем изолируемое место от середины к краям и сверху вниз прогревают пламенем газовой горелки, добиваясь получения ровного, плотно прилегающего к изоляции покровного слоя (при этом обмотка стеклотканью не является обязательной). Следует избегать выступающих концов вязальной проволоки, пригибая ее к поверхности скорлуп.

Примечание. В качестве покровного слоя возможно использовать изол на горячей изольной или битумной мастике.

3.22 Заделку сварных стыков можно также производить заливкой битумно-пропиленовой мастики (горячей резино-битумной смеси) в асбоцементные или металлические трубные футляры, которые надевают на сваренный стык (рис. 4). Футляр должен находить на заводскую битумоперлитовую изоляцию на 100-150 мм. Зазор между футляром и изоляцией предварительно законопачивают смоляной прядью.

Допускается заделка стыков уплотняемой битумоперлитовой массой согласно п. 2.6.

3.23. Вход теплопроводов с битумоперлитовой изоляцией в канал или камеру выполняют как указано в п. 4.13. Температурное перемещение теплопроводов обеспечивается за счет обжатия асбопухшнура или установки резинового кольца.

3.24. Неподвижные опоры теплопроводов при бесканальной прокладке следует монтировать из щитовых опор полной заводской готовности либо бетонированием изолированных элементов опор. Допускается при необходимости элементы опор изолировать на месте с использованием скорлуп и указанных защитных и гидроизоляционных материалов.

4. КАНАЛЬНАЯ ПРОКЛАДКА ТЕПЛОВЫХ СЕТЕЙ В ТЕХНИЧЕСКИХ ПОДПОЛЬЯХ ЗДАНИЙ И КОЛЛЕКТОРАХ

4.1. Работа по канальной прокладке теплопроводов сводится к следующим операциям:

1) подготовка канала, трассы;

Рис. 4. Заделка сварного стыка трубопровода битумом в футляре:

1 - битумоперлитовая изоляция; 2 - стальная труба, 3 - смоляная прядь; 4 - асбоцементный футляр; 5 - отверстие для заливки мастики (горячего битума); 6 - мастика, битум БН 90/10; 7 - контрольное отверстие; 8 - песчаная постель; 9 - приямок

2) раскладка и монтаж труб;

3) сварка и изоляция стыков;

4) устройство опор (скользящих и неподвижных);

5) монтаж запорной и регулирующей арматуры.

4.2. В технических подпольях зданий раскладку и монтаж изолированных труб следует выполнять с помощью кранов нулевого цикла до устройства перекрытия подвала.

Если перекрытие подвала выполнено заранее, затаскивание и раскладку изолированных труб производят через монтажные окна с помощью роликового устройства.

4.3. В проходном коллекторе, если позволяет его конструкция, изолированные трубы рекомендуется раскладывать до устройства перекрытия.

В других случаях раскладывать и монтировать изолированные трубы следует после завершения строительных работ, в частности после устройства опор и кронштейнов для трубопроводов и гидроизоляции коллекторов.

4.4. Трубы в коллектор затаскивают через монтажные люки или камеры с помощью автокранов и монтажных тележек; можно затаскивать трубы также через технические подполья зданий до устройства разделительных стенок. Длина труб с битумоперлитовой изоляцией, затаскиваемых в коллектор через монтажные люки, не должна превышать 5 м.

4.5. Расстояние от поверхности изоляции труб до стенки перекрытия коллектора или технического подполья, а также между поверхностями изоляции двух соседних труб по вертикали должно быть не менее 100 мм, расстояние от поверхности изоляции до пола коллектора - не менее 150 мм.

4.6. Скользящие опоры теплопроводов с битумоперлитовой изоляцией рекомендуется выполнять в виде стальных опорных полуцилиндров длиной 400-500 мм. Их устанавливают под изолированную трубу на слой предварительно уложенного цементно-песчаного раствора марки 100. Стальные полуцилиндры опираются на металлическую скобу, заделанную в бетонную подушку или металлический кронштейн (рис. 5) согласно альбому Мосинжпроект СК 3103-72.

Рис. 5. Устройство скользящей опоры:

1 - битумоперлитовая изоляция; 2 - стальной опорный полуцилиндр; 3 - металлическая скоба; 4 - бетонный опорный камень; 5 - днище канала; 6 - песчаная постель; 7 - стальная труба; 8 - цементно-песчаный раствор М-100

4.7. Сварку изолированных труб начинают после раскладки их по техническому подполью или коллектору и устройства скользящих опор.

4.8. Перед изоляцией сварных стыков необходимо проверить качество сварки. Это выполняется опрессовкой трубопровода и применением неразрушающих методов контроля сварных стыков по нормам СНиП 3.05.03-85.

4.9. Сварные стыки изолируют битумоперлитовыми скорлупами в следующей последовательности (рис. 6). После опрессовки и контроля качества стык прокрашивается мастикой - преобразователем ржавчины или холодной каучуковой. Затем (см. п. 3.21) на стыкуемые поверхности труб устанавливают скорлупы на горячей битумно-пропиленовой мастике. Скорлупы закрепляют проволокой, загибая концы к трубе, изолированный стык обертывают стеклотканью с проклейкой битумной мастикой в два слоя. Стык рекомендуется обертывать снаружи фольгоизолом (алюминиевой фольгой) с проклейкой изнутри горячей битумной или холодной мастикой и закреплением бандажами.

Допускается изоляция термоусаживающимися материалами (п. 3.21) с покрытием снаружи фольгой иди фольгоизолом и закрепленными бандажами или проволокой через каждые 30 см.

4.10. При устройстве неподвижных опор теплопроводов следует использовать готовые изолированные элементы с опорными фланцами (рис. 7) либо выполнять их в соответствии с проектными решениями.

4.11. Если неподвижная опора расположена в коллекторе, опорный фланец следует зажать между стальными упорными балками через паронитовые прокладки. Затем этот узел необходимо покрыть антикоррозионной изоляцией, например, битумно-пропиленовой или битумно-каучуковой согласно проекту.

4.12. Если неподвижная опора расположена в стене здания, опорный фланец следует забетонировать в цокольной панели или выполнить в соответствии с техническим решением проекта.

Рис. 6. Изоляция сварного стыка битумоперлитовыми скорлупами:

1 - битумоперлитовая изоляция; 2 - стальная труба; 3 - сварной стык, 4 - промазка трубы горячим битумом БН-IV; 5 - обмотка стеклотканью; 6 - битумоперлитовая скорлупа; 7, 8 - скрутки; 9- песчаная постель толщиной 10-15 см; 10 - приямок

Рис. 7. Неподвижные опоры теплопроводов при прокладке:

а - канальной в технических подпольях и коллекторах; б - бесканальной в грунте; 1 - стальная труба; 2 - битумоперлитовая изоляция; 3 - опорный фланец; 4 - упорные балки; 5 - паронитовые прокладки; 6 - арматура; 7 - бетонная стенка

Рис. 8. Проход теплопровода через стенку:

а - технического подполья; б - камеры; в - канала; 1 - стена технического подполья; 2 - заделка отверстия бетоном №-100; 3 - гернит или асбопухшнур толщиной 30-40 мм; 4 - битумоперлитовая изоляция; 5 - стальная труба; 6 - два-три слоя бризола на битумной мастике; 7 - песчаная засыпка; 8 - засыпка местным грунтом; 9 - стенка камеры; 10 - канал

4.13. На рис. 8 показан теплопровод в битумоперлитовой изоляции, проходящий через стенку технического подполья, канала или камеры. В места прохода через стенку участок изолированного теплопровода длиной 400-500 мм плотно обматывают гернитом или асбопухшнуром толщиной 40-50 мм и пропитывают горячим битумом; затем оклеивают двумя-тремя слоями стеклоткани или изола или битумной мастики. Рекомендуется также использование термоусаживающихся муфт и лент, а взамен намотки использование резиновых колец. После этого устанавливают опалубку и окно заделывают бетоном. Пропитку нижней половины обмотки гернита или асбопухшнура выполняют с помощью «полотенца».

4.14. Сварной стык трубопровода запрещается располагать в месте прохода через стенку канала, камеры или технического подполья. Заводская изоляция труб должна быть сохранена на длине не менее 2 м от стенки в сторону грунта и не менее 0,2 м в сторону канала, камеры или технического подполья.

4.15. Повороты трассы и гибких компенсаторов следует выполнять с помощью изолированных скорлуп заводского изготовления либо напрессованной изоляцией (п. 2.6). При этом используют те же покровные материалы, что и для линейных участков, или термоусаживающиеся материалы с наружным покрытием из фольги (фольгоизола). Углы поворотов теплопроводов допускается изолировать изолом или стеклотканью на горячей битумной мастике с последующим оштукатуриванием или обертыванием фольгоизолом (алюминиевой фольгой, асбоцементным раствором и металлосеткой).

5. ТРАНСПОРТИРОВКА, ПРИЕМКА И ХРАНЕНИЕ ТРУБ

5.1. Изолированные трубы и изделия с битумоперлитовой изоляцией завод может отпускать не ранее чем через сутки после их изготовления.

5.2. Для предупреждения повреждений изоляции при перевозке изолированных труб и изделий доставлять их на трассу следует на машинах с прицепами седельного типа со сплошным застилом или в специальных контейнерах.

5.3. Выгрузку изолированных труб на трассе производят с помощью «полотенец», устанавливаемых на расстоянии 1500-2000 мм от концов труб или с помощью других монтажных приспособлений, исключающих строповку троса за изолированные участки труб. Сбрасывание изолированных труб на землю запрещается.

5.4. Складирование изолированных труб на объекте, раскладку их по трассе во избежание деформации и повреждения заводской изоляции следует производить на выровненных площадках. Складские площадки должны иметь водоотвод.

5.5. После раскладки по трассе изолированные трубы необходимо осмотреть и устранить имеющиеся повреждения.

6. ПРИЕМКА И СДАЧА РАБОТ, КОНТРОЛЬ ЗА ИХ КАЧЕСТВОМ

6.1. Прием и сдачу работ по строительству теплопроводов с битумоперлитовой изоляцией производят в соответствии с указаниями СНиП 3.05.03-85 «Тепловые сети».

6.2. При приеме в эксплуатацию тепловых сетей особое внимание следует обращать на качество выполнения основания, заделку мест стыковых соединений, входов трубопроводов в камеры и мертвых опор.

6.3. В промежуточных актах на скрытые работы, а также в исполнительных чертежах следует указать:

1) конструкцию и диаметр сопутствующего дренажа;

2) высоту песчаной постели, пористого слоя, результаты проверки плотности подбивки труб песком;

3) результаты осмотра состояния тепловой изоляции теплопроводов перед засыпкой.

6.4. В состав документации, предъявляемой строительно-монтажной организацией, включают заводские паспорта на тепловую изоляцию из битумоперлита.

7. ТЕХНИКА БЕЗОПАСНОСТИ

7.1. Строительство тепловых сетей с битумоперлитовой изоляцией следует осуществлять в соответствии со СНиП III-4-80 «Техника безопасности в строительстве», а также «Правилами устройства и безопасной эксплуатации трубопроводов пара и горячей воды» и «Правилами устройства и безопасной эксплуатации грузоподъемных кранов» Госгортехнадзора СССР.

7.2. К работе по изоляции стыков и варке битума запрещено допускать рабочих, не прошедших производственного инструктажа по правилам работ с горячими битумными материалами.

7.3. Рабочие-изолировщики должны иметь спецодежду - брезентовые брюки, куртку, фартук, рукавицы, предохранительные очки и респиратор.

7.4. Готовить битумные мастики и разогревать битум и транспортировать его к месту работ необходимо в специальных котлах и бачках, защищенных от попадания влаги. Место проведения работ необходимо обеспечить средствами пожаротушения.

7.5. При работе с битумом и другими горючими и легковоспламеняющимися материалами следует руководствоваться «Инструкцией о мерах пожарной безопасности при производстве строительных работ» ГУПО МВД РФ.

7.6. Хранение нефраса, битумной мастики и битума в пределах противопожарных разрывов и вблизи бытовых помещений запрещается.

7.7. Горючие и легковоспламеняющиеся жидкости (керосин, нефрас и другие) следует хранить в закрытой таре, заглубленной в землю, или проветриваемых помещениях с несгораемыми конструкциями, обеспеченные средствами пожаротушения.

7.8. В набор инструментов и приспособлений комплексной бригады по прокладке тепловых сетей с битумоперлитовой изоляцией должны быть включены:

1) лейки для мастики и бочки с крышками для горячего битума;

2) полотенца для погрузочно-разгрузочных работ по подаче изолированных труб;

3) битумный бачок, имеющий форму усеченного конуса, обращенного широкой частью вниз, с плотно закрывающимися крышками и запорными устройствами.

7.9. В соответствии с инструкцией на производство работ приготовлять битумную мастику и праймер можно лишь на специально отведенной для этой цели площадке. Ее устройство согласовывают с местными органами пожарной безопасности. Площадка должна быть удалена от огнеопасных строений и складов не менее чем на 50 м и не менее чем на 15 м - от бровок траншей и котлованов.

7.10. Для подогрева битумных составов в помещениях запрещается пользоваться открытым огнем.

7.11. Котлы для варки и разогрева изоляционных и битумных мастик должны иметь плотно закрывающиеся несгораемые крышки. Заполнять котлы можно не более чем на 3/4 их вместимости. При установке битумного котла на открытом воздухе над ним обязательно устраивают несгораемый навес, оборудованный средствами пожаротушения.

7.12. Закрытые помещения на строительных площадках и предприятиях, в которых приготовляют изоляционные материалы с применением битума и вредных для здоровья людей веществ, следует оборудовать в соответствии с проектом приточно-вытяжной вентиляцией и обеспечить противопожарным оборудованием.

7.13. При проведении антикоррозионных работ внутри подвальных помещений, каналов и технических подполий должны обеспечиваться приточно-вытяжная вентиляция и местное освещение напряжением не свыше 12 В с арматурой во взрывобезопасном исполнении. Не разрешается доступ людей в закрытые аппараты и помещения, где производилась грунтовка или окраска битумными материалами. Проводить работы в этих помещениях можно только под наблюдением и с разрешения прораба или мастера.

7.14. Запрещается пользоваться открытым огнем в радиусе менее 50 м от места смешивания битума с органическим растворителем.

Разогретый битум вливается в бензин (а не бензин в битум). Состав перемешивают только деревянными мешалками. Температура битума в момент приготовления праймера не должна превышать 70 °С. Не разрешается приготовлять праймер на этилированном бензине или бензоле.

7.15. Следует плотно закрывать тару, в которой приготавливают, транспортируют и хранят праймер или растворитель. Запрещается вывинчивать пробки из бочек и бидонов с праймером и растворителем при помощи стальных зубила и молотка. Вывинчивать пробки нужно специальным ключом. При погрузке и разгрузке бочки и бидоны не следует сбрасывать.

7.16. Бензин (нефрас), праймер, битумные мастики и клеи на растворителях хранить в помещениях следует в герметически закрытых, запертых на замок бидонах, устанавливаемых в металлические или обитые оцинкованной жестью деревянные ящики (лари). Кромки стенок ящика должны быть изолированы резиной. Запрещается хранить в производственном помещении праймер, клей, бензин (нефрас) в количествах, превышающих дневную норму их расхода. Переливание клея производят алюминиевым, пластмассовым или оцинкованным ковшом с рукояткой.

7.17. При монтаже трубопроводов все секции и узлы должны быть надежно закреплены постоянными средствами крепления. Временное крепление трубопроводов запрещено.

Поворачивать трубы при сборке и сварке следует с помощью предназначенных для этого цепных либо ленточных ключей или других поворотных устройств.

СОДЕРЖАНИЕ

 




Яндекс цитирования



   Copyright © 2007-2026,  www.tehlit.ru.

[ ѓосты, стандарты, нормативы, инструкции, правила, строительные нормы ]