|
| |
КОМПЛЕКС
АРХИТЕКТУРЫ, СТРОИТЕЛЬСТВА, РАЗВИТИЯ И РЕКОНСТРУКЦИИ ГОРОДА
ТЕХНИЧЕСКИЙ
РЕГЛАМЕНТ
операционного контроля качества строительно-монтажных
и специальных работ при возведении зданий и сооружений
13. КОНТРОЛЬ КАЧЕСТВА
МОНТАЖА ИНЖЕНЕРНЫХ СИСТЕМ
ТР
94.13-01
Москва
- 2001
Настоящий технический
регламент является дополнением к ранее изданному в 2000 году ТР 94-99 по 12
видам строительно-монтажных и специальных работ и состоит из двух видов работ,
каждый из которых издан отдельным томом:
13. Контроль качества монтажа
инженерных систем (ТР 94.13-01);
14. контроль качества
строительства дорог из асфальтобетона (ТР
94.14-01).
Технический регламент разработан ГУП «НИИМосстрой»:
- Белоусов Е.Д., д.т.н.,
проф., директор; тел. (095) 143-58-36;
- Белавин Ф.С., к.т.н., зам.
директора по научной работе; тел. (095) 147-40-03.
Том 13 - «Монтаж инженерных систем» (ТР 94.13-01) разработан
лабораторией инженерного оборудования ГУП «НИИМосстрой»
- Сладков А.В., к.т.н., зав.
лабораторией; тел. (095) 143-58-53;
- Отставнов А.А., к.т.н.,
ведущий научный сотрудник; тел. (095) 147-43-50;
- Шехтер Р.Б., научный
сотрудник; тел. (095) 147-43-50;
- Санкова Н.В., научный
сотрудник; тел. (095) 147-43-50
СОДЕРЖАНИЕ
|
Правительство Москвы
Комплекс архитектуры, строительства, развития и реконструкции города
|
ТЕХНИЧЕСКИЙ РЕГЛАМЕНТ
ОПЕРАЦИОННОГО КОНТРОЛЯ КАЧЕСТВА
СТРОИТЕЛЬНО-МОНТАЖНЫХ И СПЕЦИАЛЬНЫХ РАБОТ ПРИ ВОЗВЕДЕНИИ ЗДАНИЙ И СООРУЖЕНИЙ
13. Контроль качества монтажа инженерных систем
|
ТР 94.13-01
|
1. Технический регламент
распространяется на контроль качества монтажа наружных сетей водоснабжения из
напорных труб из высокопрочного чугуна (ТУ 14-3-1848-92), производства
Синарского трубного завода, и чугунных соединительных частей (ГОСТ
5525).
2. В техническом регламенте
не учитываются особенности, связанные с устройством искусственных оснований под
трубопроводы при наличии слабых грунтов, проведением дополнительных мероприятий
в насыпанных и просадочных грунтах, на подрабатываемых территориях по трассе
водопроводов.
3. Технический регламент
включает основные параметры, подлежащие контролю, режим и структуру, методы и
средства, состав и содержание контроля наружных сетей холодного водоснабжения,
монтируемых с использованием чугунных водопроводных раструбных труб,
соединительных деталей, а также различного вида арматуры, резиновых
уплотнителей и др. в соответствии с действующими нормативами общероссийского
либо московского значения.
4. Технический регламент
предполагает применение для устройства наружных сетей холодного водоснабжения
сертифицированной продукции - труб, соединительных деталей, арматуры и
материалов, изделий и т.п.
5. Своевременное проведение
технического контроля параметров, указанных в регламенте, призвано обеспечить
их нахождение в допускаемых пределах, которые создадут надлежащие условия для
надежного функционирования наружных сетей холодного водоснабжения при
эксплуатации с обеспечением безаварийности, подачи расчетных расходов воды
потребителям при необходимых напорах на длительный срок, при оптимальных
затратах материальных и трудовых ресурсов московскими строительно-монтажными
организациями строительного комплекса Москвы.
6. Регламент составлен на
основе требований СНиПов
3.05.04-85* «Наружные сети и сооружения водоснабжения и канализации» (М.,
1999 г.), 2.04.02-84* «Водоснабжение, наружные сети и сооружения» (М., 1996
г.), опыта эксплуатирующих организаций (районы Аварийного Управления
Мосводопровода МВК), проектных институтов (Мосинжпроект, Моспроект-1),
строительных организаций (ГМС, ГМПС и ГМНС), анализа отечественных и
зарубежных, литературных и нормативных источников.
7. Допускаются отклонения от требований технического регламента при
условии специальных обоснований в проекте.
|
РАЗРАБОТАН:
НИИМосстроем
|
УТВЕРЖДЕН:
Начальник Управления экономической, научно-технической и промышленной
политики в строительной отрасли
А. И. ВОРОНИН
|
Дата введения в действие:
«30» мая 2001 г.
|
|
№ № пп
|
Параметры
|
Величина
предельных отклонений
|
Методы
и объем контроля
|
Средства
измерения
|
|
1
|
2
|
3
|
4
|
5
|
|
1.
|
Состав водопроводной сети
|
Каждого элемента на
соответствие проекту
|
Осмотр 100 %
|
Визуально
|
|
2.
|
Состояние чугунных напорных труб
|
|
|
|
|
а) угол между торцом и продольной осью
|
90 ± 0,5°
|
Измерение
|
Угольник
|
|
б) кривизна ствола для диаметров, мм
|
|
|
|
|
до 200
|
3,5 мм/м
|
Измерения
|
Линейка, струна,
штангенциркуль
|
|
до 300
|
2,5 мм/м
|
|
свыше 300
|
1,25 мм/м
|
|
в) строительная длина
|
±20 мм
|
Измерения
|
Рулетка
|
|
3.
|
Размеры чугунных труб по ТУ 14-3-1247-83
|
Рис. 1а, 1б, 2, 3-5
Табл. 1-5
|
|
|
Размеры труб
Таблица 1
|
№№ пп
|
Условный проход, мм
|
Наружный диаметр, мм
|
Овальность, %
|
Толщина стенки, мм, для класса труб
|
|
номинал
|
предельное отклонение
|
ОТ
|
Т
|
ЛА
|
А
|
|
номинал
|
предельное отклонение
(-)
|
номинал
|
предельное отклонение
(-)
|
номинал
|
предельное отклонение
(-)
|
номинал
|
предельное отклонение
(-)
|
|
1
|
100
|
118
|
±4,7
|
±4,0
|
6,1
|
1,4
|
7,0
|
1,4
|
7,5
|
1,4
|
8,3
|
1,5
|
|
2
|
150
|
170
|
±4,7
|
±2,8
|
6,3
|
1,4
|
7,8
|
1,4
|
8,3
|
1,5
|
9,2
|
1,5
|
|
3
|
200
|
222
|
±4,8
|
±2,2
|
6,4
|
1,4
|
8,4
|
1,5
|
9,2
|
1,5
|
10,1
|
1,6
|
|
4
|
250
|
274
|
±4,9
|
±1,8
|
6,8
|
1,4
|
9,0
|
1,5
|
10
|
1,5
|
11,0
|
1,6
|
|
5
|
300
|
326
|
±5,0
|
±1,5
|
7,2
|
1,4
|
9,6
|
1,5
|
10,8
|
1,6
|
11,9
|
1,6
|
|
6
|
400
|
429
|
-4,6
-5,6
|
±1,2
|
8,1
|
1,5
|
10,8
|
1,6
|
12,5
|
1,6
|
13,8
|
1,7
|
|
7
|
500
|
532
|
-4,8
-5,8
|
±1,0
|
9,0
|
1,5
|
12,0
|
1,6
|
14,2
|
1,8
|
15,6
|
1,8
|
|
8
|
600
|
635
|
-4,9
-5,9
|
±0,9
|
9,9
|
1,5
|
13,2
|
1,7
|
15,8
|
1,8
|
17,4
|
1,9
|
|
9
|
700
|
738
|
-5,1
-6,1
|
±0,8
|
10,8
|
1,6
|
14,4
|
1,8
|
17,5
|
1,9
|
19,3
|
2,0
|
|
10
|
900
|
945
|
-5,4
-6,4
|
±0,7
|
12,6
|
1,7
|
16,8
|
1,9
|
20,6
|
2,1
|
22,3
|
2,2
|
|
11
|
1000
|
1048
|
-5,5
-6,5
|
±0,5
|
13,5
|
1,7
|
18,0
|
1,9
|
22,5
|
2,2
|
24,8
|
2,3
|

Рис. 1а. Схема раструба под манжеты «ласточкин хвост» и укороченную (см.
рис. 3
а и б)

Рис. 1б. Схема раструба
диаметром 400 мм под манжету с «ласточкиным хвостом» и укороченную
Размеры раструбов (см. рис. 1)
под укороченную и с «ласточкиным хвостом» манжеты, мм
Таблица 2а
|
№№ пп
|
Dy
|
в1
|
в3
|
D1
|
D4
|
D3
|
lp
|
ln
|
e
|
|
номинал
|
предельное
отклонение
(±)
|
номинал
|
предельное
отклонение
(±)
|
номинал
|
предельное
отклонение
(±)
|
номинал
|
предельное
отклонение
(±)
|
номинал
|
предельное
отклонение
(±)
|
номинал
|
предельное
отклонение
(±)
|
|
1
|
100
|
6
|
6
|
129
|
1,6
|
148
|
1,6
|
136
|
1,1
|
75
|
5
|
29
|
2
|
9
|
2
|
|
2
|
150
|
6
|
7
|
181
|
1,6
|
204
|
1,6
|
191
|
1,1
|
80
|
5
|
32
|
2
|
9
|
2
|
|
3
|
200
|
6
|
8
|
232
|
1,7
|
260
|
1,6
|
246
|
1,2
|
80
|
5
|
35
|
2
|
12
|
2
|
|
4
|
250
|
6
|
8
|
286
|
1,7
|
313
|
1,8
|
299
|
1,2
|
85
|
5
|
39
|
2
|
12
|
2
|
|
5
|
300
|
6
|
8
|
336
|
1,8
|
366
|
1,8
|
352
|
1,3
|
90
|
5
|
38
|
2
|
12
|
2
|
|
6
|
400
|
8
|
8
|
442
|
1,9
|
472
|
1,9
|
457
|
1,4
|
110
|
5
|
38
|
2
|
13
|
2
|
Размеры, мм (см. рис. 1б)
раструба Dy = 400 мм под укороченную
манжету
Таблица 2б
|
№№ пп
|
Параметр
|
Номинал
|
Предельное
отклонение (±)
|
|
1
|
D1
|
441
|
1,9
|
|
2
|
D3
|
457
|
1,4
|
|
3
|
D4
|
472
|
1,9
|
|
4
|
D6
|
467
|
+3,3
-2,3
|
|
5
|
К
|
8
|
1
|
|
6
|
Ln3
|
17
|
2
|
|
7
|
Lnk
|
35
|
2
|
|
8
|
Lp
|
135
|
5
|
|
9
|
S1
|
41
|
0,5
|

Рис. 2. Схема раструба под
удлиненную манжету (см. рис. 3в)
Размеры раструбов (см. рис. 2)
под удлиненную манжету, мм
Таблица 3
|
№№ пп
|
Dy
|
в1
|
в3
|
D1
|
D4
|
D3
|
lp
|
ln
|
e
|
|
номинал
|
предельное отклонение
(±)
|
номинал
|
предельное отклонение
(±)
|
номинал
|
предельное отклонение
(±)
|
номинал
|
предельное отклонение
(±)
|
номинал
|
предельное отклонение
(±)
|
номинал
|
предельное отклонение
(±)
|
|
1
|
100
|
8
|
15
|
129
|
1,6
|
148
|
1,6
|
136
|
1,1
|
75
|
5
|
21
|
2
|
9
|
2
|
|
2
|
150
|
6
|
6
|
181
|
1,6
|
204
|
1,6
|
191
|
1,1
|
90
|
5
|
30
|
2
|
9
|
2
|
|
3
|
200
|
8
|
18
|
232
|
1,7
|
260
|
1,7
|
246
|
1,2
|
80
|
5
|
25
|
2
|
12
|
2
|
|
4
|
250
|
6
|
7
|
286
|
1,7
|
313
|
1,7
|
299
|
1,2
|
95
|
5
|
33
|
2
|
12
|
2
|
|
5
|
300
|
8
|
18
|
337
|
1,8
|
366
|
1,8
|
352
|
1,3
|
90
|
5
|
25
|
2
|
13
|
2
|
|
6
|
400
|
8
|
18
|
442
|
1,9
|
472
|
1,9
|
457
|
1,4
|
100
|
5
|
25
|
2
|
13
|
2
|


Рис. 3. Схемы резиновых
уплотнительных манжет
а - «ласточкин хвост»; б -
укороченная; в - удлиненная
Размеры резиновых манжет (см.
рис. 3),
мм
Таблица 4
|
№№ пп
|
Dy
|
d*1
|
d*2
|
d*3
|
h*
|
в*п
|
в**
|
Dy**
|
|
номинал
|
предельное отклонение
(±)
|
номинал
|
предельное отклонение
(±)
|
номинал
|
предельное отклонение
(±)
|
номинал
|
предельное отклонение
(±)
|
номинал
|
предельное отклонение
(±)
|
номинал
|
предельное отклонение
(±)
|
номинал
|
предельное отклонение
(±)
|
|
1
|
100
|
136
|
1,3
|
109
|
1,3
|
148
|
1,3
|
13,5
|
0,4
|
20, 20, 21
|
0,5
|
40, 30, 35
|
0,8
|
122, 122, 128
|
1,3
|
|
2
|
150
|
191
|
1,7
|
159
|
1,4
|
204
|
1,8
|
16
|
0,5
|
23, 23, 22
|
0,5
|
45, 35, 38
|
0,8
|
178, 178, 178
|
1,7
|
|
3
|
200
|
246
|
2,0
|
210
|
1,6
|
260
|
2,1
|
18,0
|
0,5
|
24, 24, 25
|
0,6
|
46, 36, 40
|
0,8
|
230, 230, 236
|
1,9
|
|
4
|
250
|
299
|
2,4
|
261
|
2,0
|
313
|
2,5
|
19
|
0,5
|
24, 24, 25
|
0,6
|
47, 37, 40
|
0,8
|
283, 283, 283
|
2,3
|
|
5
|
300
|
352
|
2,8
|
313
|
2,4
|
366
|
3,0
|
19,5
|
0,5
|
24, 24, 25
|
0,6
|
47, 37, 42
|
0,8
|
334, 334, 341
|
2,7
|
|
6
|
400
|
458
|
3,7
|
418
|
3,3
|
473
|
3,8
|
20,0
|
0,5
|
25, 25, 25
|
0,6
|
48, 38, 44
|
0,8
|
441, 441, 447
|
3,6
|
_________
* - для манжет всех видов
** - для манжет с
«ласточкиным хвостом», укороченной и удлиненной соответственно

Рис. 4. Схема раструба труб
под зачеканку
Размеры раструбов (см. рис. 4)
труб под зачеканку, мм
Таблица 5
|
№№ пп
|
Dy
|
D1
|
D4
|
К
|
ln
|
lp
|
|
номинал
|
предельное
отклонение
(±)
|
номинал
|
предельное
отклонение
(±)
|
номинал
|
предельное
отклонение
(±)
|
номинал
|
предельное
отклонение
(±)
|
номинал
|
предельное
отклонение
(±)
|
|
1
|
400
|
449
|
3,3
2,3
|
460,4
|
3,3
2,3
|
11,4
|
1
|
28,5
|
2
|
100
|
5,0
|
|
2
|
500
|
553
|
3,5
2,5
|
565,0
|
3,5
2,5
|
12,0
|
1
|
30,0
|
2
|
105
|
5,0
|
|
3
|
600
|
657
|
3,7
2,7
|
669,3
|
3,7
2,7
|
12,3
|
1
|
30,8
|
2
|
115
|
5,0
|
|
4
|
700
|
760
|
3,9
2,9
|
772,6
|
3,9
2,9
|
12,6
|
1
|
31,5
|
2
|
120
|
5,0
|
|
5
|
900
|
968
|
4,3
3,3
|
981,1
|
4,3
3,3
|
13,1
|
1
|
32,8
|
2
|
135
|
5,0
|
|
6
|
1000
|
1072
|
4,5
3,5
|
1085,7
|
4,5
3,5
|
13,7
|
1
|
34,3
|
2
|
140
|
5,0
|

Рис. 5. Схема раструбного соединения соединительных частей под зачеканку
|
№ № пп
|
Параметры
|
Величина предельных
отклонений
|
Методы и объем контроля
|
Средства измерения
|
|
1
|
2
|
3
|
4
|
5
|
|
4.
|
Размеры чугунных фасонных частей:
|
|
|
|
|
а) длина для условных проходов с раструбами, мм
|
|
|
|
|
-до 450
|
±20 мм
|
Измерения
|
Рулетка, специальный
штангенциркуль
|
|
- свыше 450
|
+20 и - 30 мм
|
|
б) то же с фланцами
|
±10 мм
|
|
в) по раструбу
|
Рис. 5, табл. 6
|
|
г) по фланцу, в, мм
|
Рис. 6, табл. 7
|
|
д) толщина стенок, S, мм
|
Таблица 8
|
|
е) надвижной муфты
|
Рис. 7, табл. 9
|
|
ж) двойного раструба
|
Рис. 8, табл. 10
|
|
з) патрубка фланец-раструб
|
Рис. 9, табл. 11
|
|
5.
|
Расположение отверстий на фланцах фасонных частей
|
Вне вертикальной и
горизонтальной осей фланца
|
Осмотр 100 %
|
Визуально
|
|
6.
|
Покрытие из нефтяного битума
|
Должно быть сплошное без
пропусков и пузырей, прочным, гладким, без трещин, не липким, не растворяться
в воде и не придавать ей запаха, не размягчаться при температуре до 60 °С
|
Осмотр 100 %
|
Визуально
|
|
7.
|
В стенках труб и фасонных частей не допускаются
|
Трещины, раковины, свищи,
сколы
|
- « -
|
- « -
|
|
8.
|
Резиновые уплотнители
|
|
|
|
|
а: форма, размеры и марка резины
|
Должны соответствовать
техническим условиям и размерам соединяемых труб и фасонных частей (см. рис. 3.
табл. 4)
|
Осмотр 100 %
|
Визуально
|
Размеры раструбов (см. рис. 5) у
соединительных частей, мм
Таблица 6
|
№№
|
Dy
|
D1
|
Dp
|
D4
|
К
|
Ln
|
Lp
|
|
номинал
|
предельное
отклонение
(±)
|
номинал
|
предельное
отклонение
(±)
|
номинал
|
предельное
отклонение
(±)
|
номинал
|
предельное
отклонение
(±)
|
номинал
|
предельное
отклонение
(±)
|
номинал
|
предельное
отклонение
(±)
|
|
1
|
100
|
137
|
5
|
131
|
5
|
144,7
|
5
|
7,7
|
1
|
19,3
|
2
|
80,0
|
5
|
|
2
|
150
|
189
|
5
|
183
|
5
|
197,6
|
5
|
8,6
|
1
|
21,5
|
2
|
85,0
|
5
|
|
3
|
200
|
241
|
5
|
235
|
5
|
250,1
|
5
|
9,1
|
1
|
22,9
|
2
|
85,0
|
5
|
|
4
|
250
|
294
|
5
|
287
|
5
|
303,7
|
5
|
9,7
|
1
|
24,3
|
2
|
90,0
|
5
|
|
5
|
300
|
346
|
5
|
339
|
5
|
356,3
|
5
|
10,3
|
1
|
25,7
|
2
|
95,0
|
5
|
|
6
|
400
|
449
|
5
|
442
|
5
|
460,4
|
5
|
11,4
|
1
|
28,6
|
2
|
100,0
|
5
|
|
7
|
500
|
553
|
5
|
546
|
5
|
565,0
|
5
|
12,0
|
1
|
30,0
|
2
|
105,0
|
5
|
|
8
|
600
|
657
|
5
|
650
|
5
|
669,3
|
5
|
12,3
|
1
|
30,7
|
2
|
115,0
|
5
|
|
9
|
700
|
760
|
+2,2
-0,8
|
753
|
+2,2
-0,8
|
772,6
|
+2,2
-0,8
|
12,6
|
1
|
31,4
|
2
|
120,0
|
5
|
|
10
|
900
|
968
|
+2,4
-0,6
|
960
|
+2,4
-0,6
|
981,1
|
+2,4
-0,6
|
13,1
|
1
|
32,9
|
2
|
135,0
|
5
|
|
11
|
1000
|
1072
|
-2,5
-0,5
|
1064
|
+2,5
-0,5
|
1085,7
|
+2,5
-0,5
|
13,7
|
1
|
34,3
|
2
|
145,0
|
5
|

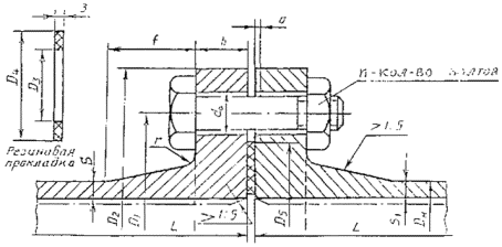
Рис. 6. Схема фланцевого
соединения соединительных частей
Размеры, мм, (см. рис. 6)
фланцев соединительных частей и резиновых прокладок к ним
Таблица 7
|
№№
|
Dy
|
в
|
D2
|
D1
|
D3
|
D4
|
do
|
n
|
|
номинал
|
предельное отклонение
(+)
|
номинал
|
предельное отклонение
(+)
|
|
1
|
100
|
22
|
1,1
|
220
|
180
|
1
|
105
|
158
|
19
|
4
|
|
2
|
150
|
24
|
1,2
|
285
|
240
|
1
|
156
|
212
|
23
|
8
|
|
3
|
200
|
26
|
1,3
|
340
|
295
|
1
|
206
|
268
|
23
|
8
|
|
4
|
250
|
28
|
1,4
|
395
|
350
|
1
|
256
|
320
|
23
|
12
|
|
5
|
300
|
28
|
1,4
|
445
|
400
|
1
|
306
|
370
|
23
|
12
|
|
6
|
400
|
32
|
1,6
|
565
|
515
|
1
|
406
|
482
|
26
|
16
|
|
7
|
500
|
34
|
1,7
|
670
|
620
|
1
|
506
|
585
|
26
|
20
|
|
8
|
600
|
36
|
1,8
|
780
|
725
|
1
|
606
|
685
|
31
|
24
|
|
9
|
700
|
40
|
2,0
|
895
|
840
|
1
|
710
|
800
|
31
|
24
|
|
10
|
900
|
46
|
2,3
|
1115
|
1050
|
1
|
910
|
1005
|
34
|
28
|
|
11
|
1000
|
50
|
2,5
|
1230
|
1160
|
1
|
1010
|
1115
|
37
|
28
|
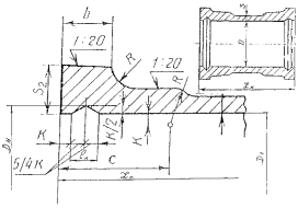
Толщины стенок, мм,
соединительных частей по стволу S и отростку S1
Таблица 8
|
№№
|
Dy
|
S
|
S*1
для Dу
|
|
номинал
|
предельное отклонение (-)
|
100
|
150
|
200
|
250
|
300
|
400
|
500
|
600
|
700
|
900
|
1000
|
|
1
|
100
|
10
|
0,5
|
10
|
-
|
-
|
-
|
-
|
-
|
-
|
-
|
-
|
-
|
|
|
2
|
150
|
11
|
0,6
|
10
|
11
|
-
|
-
|
-
|
-
|
-
|
-
|
-
|
-
|
|
|
3
|
200
|
13
|
0,7
|
10
|
11
|
13
|
-
|
-
|
-
|
-
|
-
|
-
|
-
|
|
|
4
|
250
|
14
|
0,8
|
10
|
11
|
13
|
14
|
-
|
-
|
-
|
-
|
-
|
-
|
|
|
5
|
300
|
15
|
0,8
|
10
|
11
|
13
|
14
|
15
|
-
|
-
|
-
|
-
|
-
|
|
|
6
|
400
|
17
|
0,9
|
10
|
11
|
13
|
14
|
15
|
17
|
-
|
-
|
-
|
-
|
|
|
7
|
500
|
19
|
1,0
|
12
|
12
|
13
|
14
|
15
|
17
|
19
|
-
|
-
|
-
|
|
|
8
|
600
|
21
|
1,1
|
-
|
14
|
14
|
14
|
15
|
17
|
19
|
21
|
-
|
-
|
|
|
9
|
700
|
24
|
1,2
|
-
|
16
|
16
|
16
|
16
|
17
|
19
|
21
|
24
|
-
|
|
|
10
|
900
|
28
|
1,4
|
-
|
-
|
20
|
20
|
20
|
20
|
20
|
21
|
24
|
28
|
|
|
11
|
1000
|
30
|
1,5
|
-
|
-
|
-
|
21
|
21
|
21
|
21
|
21
|
24
|
28
|
30
|
* Допуски на S1 одинаковые с допусками на S при S1 = S.

Рис. 7. Схема надвижной муфты
Размеры надвижной муфты, мм
(см. рис. 7)
Таблица 9
|
№№
|
Dy
|
D1
|
D4
|
К
|
ln
|
Lm
|
|
номинал
|
предельное отклонение
(±)
|
номинал
|
предельное отклонение
(±)
|
номинал
|
предельное отклонение
(±)
|
номинал
|
предельное отклонение
(±)
|
номинал
|
предельное отклонение
(±)
|
|
1
|
100
|
137
|
5
|
144,7
|
5
|
7,7
|
1
|
19,3
|
2
|
265
|
20
|
|
2
|
150
|
189
|
5
|
197,6
|
5
|
8,6
|
1
|
21,5
|
2
|
280
|
20
|
|
3
|
200
|
241
|
5
|
250,1
|
5
|
9,1
|
1
|
22,9
|
2
|
285
|
20
|
|
4
|
250
|
294
|
5
|
303,7
|
5
|
9,7
|
1
|
24,3
|
2
|
300
|
20
|
|
5
|
300
|
346
|
5
|
356,3
|
5
|
10,3
|
1
|
25,7
|
2
|
305
|
20
|
|
6
|
400
|
449
|
5
|
460,4
|
5
|
11,4
|
1
|
28,6
|
2
|
325
|
20
|
|
7
|
500
|
553
|
5
|
565,0
|
5
|
12,0
|
1
|
30,0
|
2
|
350
|
20
30
|
|
8
|
600
|
657
|
5
|
669,3
|
5
|
12,3
|
1
|
30,7
|
2
|
370
|
20
30
|
|
9
|
700
|
760
|
2,2
0,8
|
772,6
|
2,2
0,8
|
12,6
|
1
|
31,4
|
2
|
390
|
20
30
|
|
10
|
900
|
968
|
2,4
0,6
|
981,1
|
2,4
0,6
|
13,1
|
1
|
32,9
|
2
|
430
|
20
30
|
|
11
|
1000
|
1072
|
2,5
0,3
|
1085,7
|
2,5
0,3
|
13,7
|
1
|
34,3
|
2
|
450
|
20
30
|

Рис. 8. Схема двойного
раструба (ДРК) с резиновым уплотнением
Размеры (см. рис. 8),
мм двойного раструба (ДРК) с резиновым уплотнением
Таблица 10
|
№.№ пп
|
Dy
|
D1
|
Dн1*
|
Dн2**
|
Z1
|
do
|
М
|
n шт.
|
|
номинал
|
предельное отклонение
(±)
|
номинал
|
предельное отклонение
(±)
|
номинал
|
предельное отклонение
(±)
|
номинал
|
предельное отклонение
(±)
|
|
1
|
100
|
180
|
1
|
118
|
4,7
|
108
|
0,9
|
255
|
1
|
18
|
16
|
4
|
|
2
|
150
|
240
|
1
|
170
|
4,7
|
159
|
0,9
|
320
|
1,5
|
23
|
20
|
4
|
|
3
|
200
|
295
|
1
|
222
|
4,8
|
219
|
0,9
|
320
|
1,5
|
23
|
20
|
4
|
|
4
|
250
|
350
|
1
|
274
|
4?9
|
273
|
2,7
|
340
|
1,7
|
23
|
20
|
6
|
|
5
|
300
|
400
|
1
|
326
|
5,0
|
325
|
3,3
|
3,60
|
1,8
|
23
|
20
|
6
|
|
6
|
400
|
515
|
1
|
429
|
4,6
5,6
|
426
|
4,3
|
400
|
2,0
|
27
|
24
|
6
|
*
чугунные трубы
** стальные трубы (ГОСТ 10704)

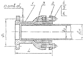
Рис. 9. Схема патрубка
фланец-раструб (1) с резиновым уплотнением (3):
2 - свободный фланец, 4 -
шайба, 5 - шпилька, 6 - гайка
Размеры, мм, (см. рис. 9)
патрубка фланец-раструб с резиновым уплотнением
Таблица 11
|
№.№ пп
|
Dy
|
Dн
|
D1
|
Z
|
do
|
М
|
n
|
|
номинал
|
отклонение
(±)
|
номинал
|
отклонение
(+)
|
номинал
|
отклонение
(+)
|
|
1
|
100
|
118
|
4,7
|
180
|
1
|
200
|
2
|
18
|
16
|
8
|
|
2
|
150
|
170
|
4,7
|
240
|
1
|
225
|
2,3
|
23
|
20
|
8
|
|
3
|
200
|
222
|
4,8
|
295
|
1
|
225
|
2,3
|
23
|
20
|
8
|
|
4
|
250
|
274
|
4,9
|
350
|
1
|
250
|
2,5
|
23
|
20
|
12
|
|
5
|
300
|
326
|
5,0
|
400
|
1
|
250
|
2,5
|
23
|
20
|
12
|
|
6
|
400
|
429
|
+4,6
-5,6
|
515
|
1
|
310
|
3,1
|
27
|
24
|
12
|
|
№ № пп
|
Параметры
|
Величина
предельных отклонений
|
Методы
и объем контроля
|
Средства
измерения
|
|
1
|
2
|
3
|
4
|
5
|
|
|
б: поверхность
|
Должна быть гладкой, без
трещин, пузырей, инородных включений и др. дефектов, влияющих на
эксплуатационные качества колец (манжет)
|
Осмотр 100 %
|
Визуально
|
|
в: выступы (углубления)
|
|
Измерение
|
Штангенциркуль
|
|
высота (глубина)
|
до 1 мм
|
|
диаметр
|
до 3 мм
|
|
количество
|
до 3 шт.
|
|
9.
|
Пеньковая прядь
|
|
|
|
|
а) пропитка в составе из:
|
|
|
|
|
битума
|
5 %
|
Взвешивание
|
Весы
|
|
мастик
|
95 %
|
|
|
б) содержание стали
|
< 33 %
|
|
|
|
|
в) качество
|
Сухая, без костры и
загрязнений маслом и землей и т.п.
|
Осмотр 100 %
|
Визуально
|
|
10.
|
Асбестоцементная смесь
|
|
|
|
|
а) состав:
|
|
|
асбестовое волокно
|
29-30 %
|
|
цемент (М 400)
|
58-60 %
|
|
вода
|
10-12 %
|
|
11.
|
Ширина, мм, раструбной щели для условных проходов
|
|
|
|
|
от 100 до 200
|
9,5 ± 3
|
Измерения
|
Штангенциркуль
|
|
от 250 до 400
|
10 ± 3
|
|
500
|
10,5 ± 3,5
|
|
от 600 до 700
|
11 ± 4
|
|
900
|
11,5 ± 4
|
|
1000
|
12 + 4 и-3
|
|
12.
|
Глубина заделки раструба, мм, прядью (в числителе)
и асбестоцементной смесью (в знаменателе) для условных проходов, мм:
|
|
|
|
|
от 100 до 150
|
45/25
|
|
от 150 до 200
|
48/30
|
|
от 250 до 500
|
55/35
|
|
500
|
60/35
|
|
600
|
68/35
|
|
700
|
73/42
|
|
900
|
78/42
|
|
1000
|
83/45
|
|
13.
|
Масса, кг, на заделку раструбов пряди (в числителе)
и асбестоцементной смеси (в знаменателе) для условных проходов, мм
|
|
|
|
|
150
|
0,24/0,550
|
|
200
|
0,33/0,670
|
|
250
|
0,45/0,905
|
|
300
|
0,50/1,020
|
|
400
|
0,68/1,790
|
|
500
|
0,93/2,295
|
|
600
|
1,45/2,965
|
|
700
|
1,76/3,440
|
|
900
|
2,50/6,050
|
|
1000
|
3,33/7,660
|
|
14.
|
Зазор, мм, между упорной поверхностью раструба и
торцом цилиндрической части состыкованных труб для условных проходов, мм
|
|
|
|
|
до 300
|
5,5 ± 0,5
|
Измерения
|
Проволочный щуп с
мерительной линейкой
|
|
свыше 300
|
8,5 ± 0,5
|
|
15.
|
Минимальный уклон трубопроводов водоснабжения
|
0,0005
|
|
|
|
16.
|
Тип основания под трубы по всей длине:
|
|
|
|
|
в общих случаях
|
Естественный грунт
ненарушенной структуры
|
Осмотр 100 %
|
Визуально
|
|
при скальных грунтах
|
Слой песка 10 см
|
|
при мокрых связных грунтах
|
Песчаная подготовка по
проекту
|
|
при илах, заторфованных, насыпных и др. слабых
грунтах
|
Искусственные основания по
проекту
|
|
17.
|
Минимальное заложение труб, мм:
|
|
|
|
|
а) низа труб относительно глубины промерзания
грунта
|
0,5
|
Измерения
|
Рулетка
|
|
б) верха труб относительно поверхности
|
0,5
|
|
18.
|
Расстояние, м, между поверхностями труб при
параллельной прокладке водопроводных линий для условных проходов, мм
|
|
|
|
|
до 400
|
3
|
Измерения
|
Рулетка
|
|
свыше 400
|
4
|
|
19.
|
Минимальный угол поворота трубопровода для
обязательной установки упоров, град.
|
10 ± 0,5
|
Измерения
|
Теодолит
|
|
20.
|
Расстояние между элементами водопровода и
колодцами, и поверхностями колодца, м:
|
|
|
|
|
а) от стенок труб для условных проходов, мм
|
|
|
|
|
до 400
|
0,3
|
Измерения
|
Рулетка
|
|
от 500 до 600
|
0,5
|
|
свыше 600
|
0,7
|
|
б) от края раструба, обращенного к стене для
условных проходов, мм
|
|
|
до 300
|
0,4
|
|
свыше 300
|
0,5
|
|
в) от низа трубы до дна для условных проходов, мм
|
|
|
до 400
|
0,25
|
|
от 500 до 600
|
0,30
|
|
свыше 600
|
0,35
|
|
21.
|
Максимальные отклонения от проектного положения, мм
трубопроводов, мм
|
|
|
|
|
а) осей в плане
|
±10
|
Измерения
|
Рулетка
|
|
б) отметок верха
|
±5
|
Нивелир
|
|
22.
|
Угол поворота в раструбном стыке с резиновым
уплотнителем, град., для условных проходов, мм
|
|
|
|
|
до 600
|
2
|
|
свыше 600
|
1
|
|
23.
|
Угол между фланцем и осью трубы, град., для
условных проходов, мм,
|
|
|
|
|
до 200
|
90 ± 2
|
Измерение
|
Угольник
|
|
от 300 до 400
|
90 ± 1
|
|
свыше 500
|
90 ± 0,5
|
|
24.
|
Опирание упора на грунт
|
Ненарушенной структуры
|
Осмотр
|
Визуально
|
|
25.
|
Зазор между трубопроводом и упором
|
0
|
|
|
|
26.
|
Степень уплотнения грунта засыпки по высоте от дна
траншеи, %
|
|
|
|
|
а) 0,5Ду
|
92 ± 2
|
|
б) Ду
|
87 ± 2
|
|
в) Ду + 0,3 м
|
82 ± 2
|
|
27.
|
Толщина прокладок, мм, для фланцевых соединений из
|
|
|
|
|
а) резины
|
4 ± 1
|
|
б) фибры
|
2,5 ± 0,5
|
|
в) паронита
|
3,5 ± 0,5
|
|
28.
|
Интенсивность заполнения трубопровода водой, м3
при гидравлических
испытаниях для условных проходов, мм
|
|
|
|
|
до 400
|
4,5 ± 0,5
|
Измерения
|
Расходомер
|
|
от 400 до 600
|
8,0 ± 2,0
|
|
от 700 до 1000
|
12,5 ± 2,5
|
|
свыше 1000
|
17,5 ± 2,5
|
|
29.
|
Время нахождения трубопровода с водой перед
приемочными испытаниями, ч
|
24
|
Измерения
|
Часы
|
|
30.
|
Максимальное значение испытательного
гидравлического давления в водопроводе, Рив, от заводского испытательного
труб Риз
|
Табл. 12
|
Измерения
|
Манометр
|
|
31.
|
Максимальный расход подкачиваемой воды на 100 м,
л/мин, позволяющий считать водопровод* выдержавшим гидравлические испытания,
для условных проходов, мм:
|
* в числителе для стыковых
соединений на резиновых уплотнителях
|
|
|
|
100
|
0,050
|
Измерения
|
Секундомер, расходомер
|
|
150
|
0,070
|
|
200
|
0,090
|
|
250
|
0,110
|
|
300
|
0,1200
|
|
400
|
135
|
|
500
|
0,220
|
|
600
|
0,240
|
|
700
|
0,255
|
|
900
|
0,290
|
|
1000
|
0,300
|
|
32.
|
Качество воды, получаемой из промытого водопровода
|
По ГОСТ
2874
|
Измерительный 100 %
|
Лабораторные приборы для
химического анализа воды
|
Максимально допускаемое
течение гидравлического давления, МПа, для испытания труб в заводских (в
числителе) и трубопроводов в построечных (в знаменателе) условиях
Таблица 12
|
№№ пп
|
Условный проход, мм
|
Значения давлений для классов труб
|
|
ОТ
|
Т
|
ЛА
|
А
|
|
1
|
до 300 вкл.
|
2,5/1,5
|
3,0/1,8
|
3,5/2,1
|
4,0/2,4
|
|
2
|
от 400 до 600 вкл.
|
2,0/1,2
|
2,5/1,5
|
3,0/1,8 (1,5)*
|
3,5/2,1 (1,5)
|
|
3
|
от 700 и выше
|
2,0/1,2
|
2,0/1,2
|
2,5/1,5
|
3,0/1,8 (1,5)
|
* в
скобках для трубопроводов со стыковыми соединениями под зачеканку
|
Вид
контроля (стадия)
|
Входной
|
Операционный
|
Приемочный
|
|
Трубы
|
Фасонные
соединительные детали
|
Арматура
|
Уплотнительные
материалы
|
Подготовка
траншеи
|
Элементы
колодцев
|
Подготовка
основания
|
Укладка
труб
|
Сборка
соединений
|
Засыпка
трубопровода
|
Монтаж
фасонных соединительных деталей
|
Соответствие
проекту по трассе и составу
|
Отклонения
от уклонов и заложения
|
Размещение
элементов колодцах
|
Превышение
допустимых расходов подкачиваемой воды при испытаниях
|
Качество
промывки водопроводной сети
|
|
Объем контроля
|
Сплошной
|
Сплошной, выборочный
|
Сплошной, выборочный
|
|
Метод контроля
|
Визуальный и
инструментальный
|
Инструментальный
|
Визуальный,
инструментальный
|
|
Освидетельствование скрытых работ
|
|
Акты на скрытые работы
|
|
Акты на скрытые работы
|
|
|
Привлечение специалиста
|
|
Геодезист
|
|
Геодезист
|
|
Геодезист
|
Геодезист
|
|
|
Операции, контролируемые лабораторией
|
|
+
|
|
+
|
|
|
|
|
|
|
|
|
|
|
|
|
|
|
|
|
|
1. К началу производства
работ должна быть разбита трасса сетей водоснабжения:
- вдоль трассы должны быть
установлены временные реперы, связывающие нивелирными ходами с постоянными
реперами;
- разбивочные оси и вершины
углов поворота трассы должны быть закреплены и привязаны к постоянным объектам
на местности (зданиям, сооружениям и др.);
- пересечения трассы
водопровода с существующими подземными коммуникациями должны быть отмечены на
поверхности земли особыми знаками;
- места расположения колодцев
следует отметить столбиками, устанавливаемыми в стороне от трассы (на столбе
должен иметься номер колодца и расстояние от него до оси).
2. Для безопасного,
производительного и качественного труда рабочих-трубоукладчиков котлованы и
траншеи в населенных пунктах должны быть своевременно ограждены. В местах
движения людей через траншеи устроены мостики и переходы шириной не менее 0,6 м
с перилами высотой 1 м. Для спуска работающих в котлованы (траншеи) устроены
лестницы шириной не менее 0,8 м с перилами высотой 1 м. Устроено низковольтное
освещение при необходимости.
3. До начала монтажных работ
должны быть произведены:
- комплектация трубами,
фасонными соединительными частями, уплотнительными материалами и т.п. в
соответствии со спецификацией проекта водоснабжения;
- подготовка площадок,
складов и бытовок для хранения трубных изделий и инструментов, а также размещения
работников;
- изучение линейными ИТР и
бригадирами (звеньевыми) рабочей и нормативной документации, а также требований
по охране труда и механике безопасности;
- подготовка рабочих к
производству работ, проведение инструктажей по безопасным методам устройства
водопроводной сети в данном конкретном случае.
4. Возможные отступления от
проекта, а также способы устранения дефектов, выявленных на стадии
предварительных либо приемочных испытаний, должны быть согласованы с проектной
организацией с обязательными пометками в проектной документации.
1. Технический регламент
распространяется на контроль качества монтажа наружных систем бытовой
канализации из асбестоцементных напорных труб, изготовляемых по ГОСТ
539-80*, классов ВТ6 и ВТ9, а также колодцев из железобетонных колец.
2. В техническом регламенте
не учитываются особенности, связанные с устройством искусственных оснований под
трубопровод при наличие слабых грунтов, проведением дополнительных мероприятий
в насыпных, суффозионных, карстовых и плывунных грунтах на подрабатываемых
территориях по трассе канализации, то есть требования ТР в основном касаются
трубопроводов, укладываемых траншеях, проходящих в грунтах с прочностью не ниже
1 кгс/см2.
3. Технический регламент
включает основные параметры, подлежащие контролю, режим и структуру, методы и
средства, состав и содержание контроля наружных систем бытовой канализации,
монтируемых из напорных асбестоцементных труб с резиновыми уплотнителями и
железобетонных колодезных колец и др. в соответствии с действующими нормативами
общероссийского или московского значения.
4. Технический регламент
предполагает применение для устройства наружных систем бытовой канализации
сертифицированной органами МСС продукции - труб, материалов, изделий и т.п.
5. Своевременное проведение
технического контроля параметров, указанных в регламенте, призвано обеспечить
их нахождение в допустимых пределах, которые должны создать надлежащие условия
для надежного функционирования наружных систем бытовой канализации при
эксплуатации с обеспечением безаварийности, пропуска расчетных расходов стоков
от потребителей воды на длительный срок, при оптимальных затратах материальных
и трудовых ресурсов московскими строительно-монтажными эксплуатационными
организациями строительного комплекса и городского хозяйства Москвы.
6. Регламент составлен на
основе требований СНиПов 40-03-99 «Канализация, наружные сети и сооружения» (М.
2000 г.), 3-0.5.04-85* «Наружные сети и сооружения водоснабжения и канализации»
(М. 1999 г.), опыта эксплуатирующих организаций (районов ПАУКАС и Аварийного
Управления Мосводопровода МУПМВК), проектных институтов (Мосинжпроект, Моспроект-1
и др.), строительных организаций (ГМС, ГМПС и ГМИС), анализа отечественных и
зарубежных литературных и нормативных источников.
7. Допускаются отклонения от
требований данного технического регламента при условии специального обоснования
в проекте на тот или иной элемент наружной системы бытовой канализации.
|
№№ пп
|
Параметры
|
Величина
предельных отклонений
|
Методы
и объем контроля
|
Средства
измерения
|
|
1
|
2
|
3
|
4
|
5
|
|
1.
|
Правильность трассировки сети
|
± 0,5 м
|
Измерение выборочно
|
Рулетка
|
|
2.
|
Расстояние между колодцами, м, для диаметров, мм
|
|
Измерения 100 %
|
Рулетка
|
|
150
|
< 35
|
|
от 200 до 400
|
< 50
|
|
от 500 до 600
|
< 75
|
|
от 700 до 900
|
< 100
|
|
1000
|
< 150
|
|
3.
|
Состав сети
|
Каждого элемента на
соответствие проекту
|
Осмотр 100 %
|
Визуально
|
|
4.
|
Характеристики трубопровода между соседними
колодцами:
|
|
|
|
|
диаметр
|
const
|
Осмотр 100 %
|
Визуально
|
|
уклон
|
const
|
|
прямолинейность
|
без изгиба и кривизны
|
|
5.
|
Форма лотка в колодце
|
|
|
|
|
низ
|
полуокружность
|
Осмотр 100 %
|
Визуально
|
|
боковые стенки
|
вертикально, до шелыги
трубы наибольшего диаметра
|
|
уклон площадок в сторону
лотка
|
2-3 %о
|
|
6.
|
Состояние асбестоцементных труб (ГОСТ
539-80*)
|
|
|
|
|
а) размеры, мм для Ду, мм:
200
|
|
|
|
|
наружный диаметр (длина обточенных концов)
|
224 + 2 (> 200)
|
Измерения выборочно, осмотр
100 %
|
Рулетка, штангенциркуль,
нутромер с визуальным контролем
|
|
длина (внутренний диаметр)
|
|
|
тип 1 (ВТ 6)
|
3950-50 (196 ± 2)
|
|
тип 3 (ВТ 9)
|
5950-50 (198 ± 2)
|
|
250
|
|
|
наружный диаметр (длина обточенных концов)
|
274 + 2 (< 200)
|
|
длина (внутренний диаметр)
|
|
|
тип 1 (ВТ 6)
|
3950-50 (244 ± 2)
|
|
тип 2 (ВТ 9)
|
5000-50 (242 ± 2)
|
|
300
|
|
|
наружный диаметр (длина обточенных концов)
|
324-2,5 (< 200)
|
|
длина (внутренний диаметр)
|
|
|
тип 1 (ВТ 6)
|
3950-50 (289±2,5)
|
|
тип 2 (ВТ 9)
|
5000-50 (286±2,5)
|
|
тип 3 (ВТ 9)
|
5950-50 (279±2,5)
|
|
350
|
|
|
наружный диаметр (длина обточенных концов)
|
373-2,5 (> 200)
|
|
длина (внутренний диаметр)
|
|
|
тип 1 (ВТ 6)
|
3950-50 (334 ± 2,5)
|
|
тип 2 (ВТ 9)
|
5000-50 (329 ± 2,5)
|
|
400
|
|
|
наружный диаметр (длина обточенных концов)
|
427-3 (> 200)
|
|
длина (внутренний диаметр)
|
|
|
тип 1 (ВТ 6)
|
3950-50 (381 ± 3,5)
|
|
тип 2 (ВТ 9)
|
5000-50 (377 ± 3,5)
|
|
500
|
|
|
наружный диаметр (длина обточенных концов)
|
528-3 (> 200)
|
|
длина (внутренний диаметр)
|
|
|
тип 1 (ВТ 6)
|
3950-50 (473 ± 3,5)
|
|
тип 2 (ВТ 9)
|
5000-50 (466 ± 3,5)
|
|
б) качество отклонения, мм, от прямолинейности при
длине, мм
|
|
|
3950
|
12
|
|
5000
|
18
|
|
5950
|
24
|
|
форма сечения
|
окружность
|
|
стенки
|
без трещин, обломов и
|
|
торцы
|
расслоений
|
|
обточенные поверхности наружная поверхность тела
|
чисто обрезаны
перпендикулярно оси и обработаны снаружи на конус под углом 20-25°, на длине
12-18 мм, изнутри закруглены либо имеют фаску шириной <5 мм без сдиров и
вмятин
отпечатки от технического
сукна, сдиры и вмятины < 1 мм
|
|
7.
|
Состояние асбестоцементных муфт
|
|
|
|
|
а) размеры, мм для Ду, мм
|
|
|
200
|
|
|
внутренний диаметр
|
229 (+0,5, -1)
|
|
диаметр канавок
|
252 (+0,5, -1)
|
|
ширина канавок
|
20 ± 1
|
|
ширина буртиков
|
27 ± 2
|
|
ширина конусной расточки
|
6 + 3
|
|
длина
|
150 + 5
|
|
250
|
|
|
внутренний диаметр
|
279 (+0,5, -1)
|
|
диаметр канавок
|
302 (+0,5, -1)
|
|
ширина канавок
|
20 ± 1
|
|
ширина буртиков
|
27 ± 2
|
|
ширина конусной расточки
|
6 + 3
|
|
длина
|
150 + 5
|
|
300
|
|
|
внутренний диаметр
|
329 (+0,5, -1)
|
|
диаметр канавок
|
352 (+0,5, -1)
|
|
ширина канавок
|
20 ± 1
|
|
ширина буртиков
|
27 + 2
|
|
ширина конусной расточки
|
6 + 3
|
|
длина
|
150 + 5
|
|
350
|
|
|
внутренний диаметр
|
379 (+0,5, -1)
|
|
диаметр канавок
|
402 (+0,5, -1)
|
|
ширина канавок
|
20 ± 1
|
|
ширина буртиков
|
27 + 2
|
|
ширина конусной расточки
|
6 + 3
|
|
длина
|
160 + 5
|
|
400
|
|
|
внутренний диаметр
|
433 (+0,5, -1)
|
|
диаметр канавок
|
450 (+0,5, -1)
|
|
ширина канавок
|
20 ± 1
|
|
ширина буртиков
|
27 + 2
|
|
ширина конусной расточки
|
6 + 3
|
|
длина
|
160 + 5
|
|
500
|
|
|
внутренний диаметр
|
534 (+0,5, -1)
|
|
диаметр канавок
|
557 (+0,5, -1)
|
|
ширина канавок
|
20 ± 1
|
|
ширина буртиков
|
27 ± 2
|
|
ширина конусов расточки
|
6 + 3
|
|
длина
|
160 + 5
|
|
б) качество
|
|
|
отклонение от прямолинейности
|
не допускаются
|
|
форма
|
цилиндрическая
|
|
стенки
|
без трещин, обломов и
|
|
внутренние поверхности
|
расслоений
|
|
наружная поверхность
|
допускаются сдиры и
вмятины, допускаются следы обточки глубиной до 0,2 мм
допускаются отпечатки от
технического сукна, сдиры и вмятины глубиной < 1 мм
|
|
8.
|
Состояние фигурных резиновых колец САМ (ГОСТ
5228-76*)
|
|
|
|
|
а) размеры, мм для Ду, мм
|
|
|
200-500
|
|
|
ширина
|
18 (+0,2, -1)
|
|
толщина
|
18 (+0,5, -0,1)
|
|
диаметр гнезда
|
7,5
|
|
внутренний диаметр, мм
|
|
|
число гнезд, шт.
|
|
|
для Ду
|
|
|
200
|
222 (+2, -2,5)/72
|
|
250
|
272 (+2, -2,5)/88
|
|
300
|
322(+2, -2,5)/104
|
|
350
|
371 (+2, -2,5)/120
|
|
400
|
425 (+2, -2,5)/136
|
|
500
|
526 (+2, -2,5)/168
|
|
б) качество поверхностей
|
|
|
рабочая поверхность
|
гладкая, без трещин,
пузырей и посторонних включений
|
|
выступы и углубления < 1 мм по высоте и < 3
мм по диаметру
|
не более 3 шт.
|
|
отклонение от геометрической формы
|
не более 1 мм
|
|
нерабочая поверхность
|
|
|
посторонние включения, глубина
|
менее 1 мм
|
|
следы от обрезки кромок по высоте
|
менее 2 мм
|
|
пузыри, раковины высотой до 3 мм
|
не более 6 шт.
|
|
9.
|
Тип основания под трубы по всей длине:
|
|
|
|
|
а)
в общих случаях при естественном грунте не нарушенной структуры с углом
выкружки, град.
|
|
|
для труб ВТ 6 при глубине, м
|
|
|
2
|
30 ± 3
|
|
4
|
60 ± 5
|
|
6
|
90 ± 10
|
|
ВТ 9 при глубине, м
|
|
|
2
|
2 + 3
|
|
4
|
30 ± 3
|
|
6
|
60 ± 5
|
|
8
|
90 ± 10
|
|
б) при жестких грунтах насыпка песка, толщина слоя,
мм
|
100-150
|
|
в) при мокрых связных грунтах, насыпной слой песка
|
по проекту
|
|
г) при илах, заторфованных, насыпных и др. слабых
грунтах - искусственное
|
по проекту
|
|
10.
|
Минимальное заложение труб, м
|
|
|
|
|
а) верха относительно поверхности для труб
|
|
|
ВТ 6
|
0,7 ± 0,05
|
|
ВТ 9
|
0,5 ± 0,05
|
|
б) низа относительно глубины промерзания
|
0,5 Дн
|
|
11.
|
Ширина траншеи с вертикальными стенками по дну (без
учета креплений), м
|
(Дн + 0,8) ± 0,05
|
|
|
|
12.
|
Размеры приямков, м, для
муфт (сборки соединений)
|
|
|
|
|
длина
|
0,7 ± 0,05
|
|
глубина
|
0,2 ± 0,02
|
|
ширина для Ду, мм
|
|
|
до 300 вкл.
|
(Дн + 0,2) ± 0,05
|
|
350-500
|
(Дн + 0,5) ± 0,05
|
|
13.
|
Зазор между трубами, мм в соединении для Ду, мм
|
|
Измерения, 100 %
|
Проволочный щуп с
мерительной линейкой
|
|
до 300 вкл. *
|
5 ± 0,5
|
|
350-500
|
9 ± 1,0
|
|
14.
|
Степень уплотнения грунта засыпки в пазухах от дна
траншеи (приямков) до высоты
|
|
|
|
|
а) 0,5 Дн под трубой (муфтой)
|
0,93-0,94
|
Выборочные измерения
|
Приборами на месте
|
|
б) Дн
|
0,88-0,90
|
25-30 %
|
В лаборатории
|
|
в) Дн + 0,3 м
|
0,85-0,86
|
5-10 %
|
|
|
г) до поверхности
|
по проекту
|
|
|
|
15.
|
Допустимое отклонение от формы круга при контроле
трубопровода «на свет» в каждую сторону, мм
|
|
|
|
|
по горизонтали
|
50
|
|
по вертикали
|
не допускается
|
|
16.
|
Отклонение лотков от проектного положения, мм
|
± 5
|
|
|
|
17.
|
Допустимая утечка, л, при приемочных испытаниях из
трубопровода длиной 100 м за 0,5 час для Ду, мм
|
|
|
|
|
200
|
£ 14
|
|
250
|
£ 16
|
|
300
|
£ 18
|
|
350
|
£ 20
|
|
400
|
£ 22
|
|
500
|
£ 26
|
|
Вид
контроля (стадия)
|
Входной
|
Операционный
|
Приемочный
|
|
Трубы
|
Муфты
|
Резиновые
уплотнители
|
Подготовка
траншеи
|
Ж/б
кольца, чугунные люки для колодцев
|
Подготовка
основания
|
Укладка
труб
|
Сборка
соединений
|
Засыпка
трубопровода
|
Монтаж
колодцев
|
Соответствие
трассы и состава сети проекту
|
Отклонения
трубопроводов от заложения, прямолинейности и уклонов
|
Отметки
и форма лотков в колодцах
|
Утечка
воды при испытаниях
|
|
Объем контроля
|
Сплошной
|
Сплошной, выборочный
|
Сплошной, выборочный
|
|
Метод контроля
|
Визуальный и
инструментальный
|
Инструментальный
|
Визуальный,
инструментальный
|
|
Освидетельствование скрытых работ
|
|
Акты на скрытые работы
|
|
Акты на скрытые работы
|
|
|
Привлечение специалиста
|
|
Геодезист
|
|
Геодезист
|
|
Геодезист
|
|
|
Операции, контролируемые лабораторией
|
|
+
|
|
+
|
|
|
|
|
|
|
|
|
|
|
|
|
|
|
|
|
|
|
1. К началу производства
работ должна быть разбита трасса канализационных сетей:
- вдоль трассы должны быть
установлены временные реперы, связанные нивелирными ходами с постоянными
реперами;
- разбивочные оси и вершины
углов поворота трассы должны быть закреплены и привязаны к постоянным объектам
местности (зданиям, сооружениями и др.);
- пересечения канализации с
существующими подземными коммуникациями (водопровод, газ, телефон и т.п.)
должны быть отмечены на поверхности земли особыми знаками;
- места расположения колодцев
(смотровых, узловых, поворотных и др.) следует отметить столбиками,
устанавливаемыми в стороне от трассы (на столбиках указывается номер колодца и
расстояние от него до оси).
2. Для безопасного,
производительного и качественного труда рабочих-трубоукладчиков котлованы и
траншеи в населенных пунктах должны быть своевременно ограждены. В местах
движения людей через траншеи устроены мостики и переходы шириной менее 0,6 м с
перилами высотой 1 м. Для спуска работающих в котлованы (траншеи) устроены
лестницы шириной не менее 0,81 м с перилами высотой 1 м. Устроено низковольтное
освещение при необходимости.
3. До начала монтажных работ
должны быть произведены:
- комплектация трубами,
уплотнительными материалами, инструментом, средствами механизации и т.п. в
соответствии со спецификацией проекта канализационной системы;
- подготовка площадок,
складов и бытовок для хранения трубных изделий и инструментов, а также
размещения механизмов и работников;
- изучение линейными ИТР и
бригадирами (звеньевыми) рабочей и нормативной документации, а также требований
по охране труда и технике безопасности, как общей, так и специфической для
прокладки канализации;
- подготовка рабочих к
производству работ, проведение инструктажей по безопасным методам устройства
канализационной сети (трубопроводов, колодцев и др.) в данном конкретном
случае.
4. Возможные отступления от
проекта, а также способы устранения дефектов, выявленных на стадии
предварительных либо приемочных испытаний, должны быть согласованы с проектной
организацией с обязательными пометками в проектной документации, а также в
некоторых случаях с районами ПАУКС МВК.
1. Настоящий регламент
распространяется на контроль качества строительства и монтажа систем наружного
теплоснабжения, выполненных из индустриальных трубных элементов и фасонных
деталей с пенополиуретановой изоляцией и наружной гидроизолирующей оболочкой
при бесканальной или канальной прокладке сетей тепловодоснабжения в ходе
строительства, реконструкции или ремонта объектов жилищного и общественного
назначения.
2. Регламент содержит
основные установленные технические требования и параметры, контролируемые в
ходе монтажа и строительства, средства контроля, организационно-технические
правила, соблюдение которых обеспечивает должное качество монтажа наружных
систем теплоснабжения.
3. Регламент составлен на
основе требований СНиП 2.04.07-86*
«Тепловые сети» и СНиП 2.04.14-88*
«Тепловая изоляция оборудования и трубопроводов», СНиП 3.05.03-85 «Тепловые сети», СНиП 3.01.01-85*
«Организация строительного производства», СНиП III-4-80* «Техника
безопасности в строительстве».
Правила монтажа наружных
сетей теплоснабжения установлены в ВСН
11-94 по бесканальной прокладке внутриквартальных тепловых сетей из труб с
теплоизоляцией ППУ в ПЭ оболочке, ВСН
29-95 по бесканальной прокладке двухтрубных теплосетей с теплоизоляцией из ППУ в ПЭ оболочке и ВСН
55-97 по монтажу теплосетей из труб с индустриальной теплоизоляцией из ППУ в
спиральновитой оболочке из оцинкованной стали (для прокладки в каналах и
коллекторах, наземной и надземной прокладки) и в «Правилах устройства и
безопасной эксплуатации трубопроводов пара и горячей воды» федерального горного
Госгортехнадзора России. Земляные работы при строительстве трубопроводов должны
соответствовать требованиям СНиП 3.02.01-87
«Земляные сооружения. Основания и фундаменты» и «Правилам производства земляных
работ в г. Москве».
|
№№ пп
|
Параметры
|
Величина
предельных отклонений
|
Методы
и объем контроля
|
Средства
измерения
|
|
1
|
2
|
3
|
4
|
5
|
|
Устройство трассы
|
|
1.
|
Расстояние до фундаментов зданий от поверхности
теплопровода
|
Согласно проекту, но не
менее
|
Измеряется выборочно, в том
числе на углах зданий
|
Рулетка
|
|
Æ £ 400 мм
|
³ 5 м
|
|
Æ £ 500 мм
|
³ 7 мм
|
|
2.
|
Расстояние от верхней поверхности теплопровода до
поверхности земли или дорожного покрытия
|
Согласно проекту, но
|
Измеряется выборочно, в том
числе в местах углублений
|
Отвес, рулетка, складной
метр
|
|
не менее
|
не более
|
|
Æ 57-160 мм
|
³ 0,6 м
|
£ 3,1 м
|
|
Æ 160-250 мм
|
«
|
£ 3,7 м
|
|
Æ 530-710 мм
|
«
|
£ 3,6 м
|
|
Æ 1020-1200 мм
|
«
|
£ 2,4 м
|
|
3.
|
Марки электросварных труб по ГОСТ 10704,
10705, ГОСТ
20295, ТУ 14-3-1138 с
|
Согласно проекту с
показателями
|
По паспортам изготовителя и
выборочном периодическом лабораторном контроле
|
Испытательный пресс, диск
или станок для резки металла
|
|
прочностью на растяжение
|
³ 350 Н/мм2
|
|
пределом текучести
|
³ 235 Н/мм2
|
|
4.
|
Пенополиуретан согласно ЕN 253 и ТУ
4936-001-33680607-98 с
|
Согласно паспорту с
показателями
|
По паспортам изготовителя и
данным лабораторного контроля
|
Испытательный пресс, пила,
складной метр
|
|
плотностью
|
³ 60 кг/м3
|
|
прочностью на сжатие
|
³ 0,3 Н/мм2
|
|
рабочей температурой до
|
130 °С
|
|
5.
|
Полиэтиленовая оболочка из ПНД марки 273-79 с
пределом текучести
|
21 МПа
|
По паспортам изготовителя,
лабораторный контроль
|
Пресс, пресс-форма
|
|
6.
|
Проверка разбивки трассы на местности (соответствие
разметок проекту), не более
|
|
Измеряется выборочно и на
углах поворотов
|
Рулетка, отвес, уровень
|
|
10 мм
|
|
отклонение уклонов дна траншеи
|
± 0,0005
|
|
7.
|
Толщина песчаной подушки
|
|
Измерительный, выборочно
|
Метр, линейка
|
|
- на дне траншеи, не менее
|
10 см
|
|
- сверху траншеи
|
15 см
|
|
ЗАСЫПКА С ПОСЛОЙНЫМ
ТРАМБОВАНИЕМ 15 СМ
|
|
8.
|
Длина участка теплопровода от неподвижной опоры до
компенсатора при глубине заложения 1,5 м, не менее для стальных труб
|
|
Согласно расчету и проекту
в соответствии с ВСН
11-94 и ВСН
29-95 измерительный, выборочно
|
Рулетка, метр
|
|
Æ 57´140 мм
|
25 м
|
|
Æ 76´160
|
27 м
|
|
Æ 89´180
|
29 м
|
|
Æ 108´200
|
40 м
|
|
Æ 133´225
|
45 м
|
|
Æ152´250
|
50 м
|
|
Æ 219´360
|
70 м
|
|
9.
|
Размеры траншей, расстояние от
|
Отклонения
|
По альбому АО «Моспроект»
ПП 27-2,2-93
|
Рулетка, линейка, метр
|
|
стенок до труб
|
± 50 мм
|
|
между трубами
|
10 мм
|
|
Ширина траншеи для труб принимается для
|
|
|
Æ до 250 мм - 2d + а +
0,6 м
|
|
|
Æ до 500 мм - 2d + а +
0,8 м
|
|
|
Æ до 1000 мм - 2d + а +
1,0 м
|
|
|
где d - диаметр наружной
оболочки трубы; а - межтрубное расстояние
|
|
|
10.
|
Размеры приямков под сварку и изоляцию стыков
принимать
|
Отклонения
|
Измеряется выборочно
|
Рулетка, метр
|
|
длина - 1,0 м
|
± 50 мм
|
|
ширина 2d + а + 1,2 м (обозначения те же)
|
± 50 мм
|
|
глубина Æ £ 219 мм - 0,4 м
|
± 50 мм
|
|
Æ £ 273 мм - 0,7 м
|
|
|
11.
|
Ширина траншеи (при канальной прокладке), не менее
|
1,0 м
|
Выборочное измерение
|
Метр
|
|
12.
|
Высота штабеля изолированных труб при хранении, не
более
|
2 м
|
- « -
|
- « -
|
|
13.
|
Температура при выполнении монтажных работ на
трассе, не менее
|
-15 °С
|
Измерительное периодическое
|
Термометр
|
|
14.
|
Раскладка труб и фасонных элементов на бровке вдоль
трассы
|
Проверка элементов согласно
проекту
|
Осмотр, проверка
комплектности
|
Визуально
|
|
15.
|
Осмотр, ремонт труб и фасонных деталей
|
Контроль оболочек и
теплоизоляции, выявление трещин, проколов
|
Ремонт (или замена)
дефектных элементов с применением термоусаживающихся листов, оцинкованной
стали, ППУ
|
Визуально
|
|
16.
|
Сборка труб в плеть, центрирование (на лежнях) с
помощью монтажных центровочных приспособлений
|
|
Измеряется выборочно
|
Рулетка, метр, отвес,
уровень
|
|
Отклонение от проектного положения, мм
|
± 0,5 мм
|
|
17.
|
Устройство для компенсации температурных напряжений
|
Устройство прокладок
1 прокладка
10 £ DL £ 35 мм
2 прокладка
35 £ DL £ 70 мм
3 прокладка
70 £ DL £ 105 мм
|
Согласно расчету и проекту
с устройством амортизирующих прокладок с расчетом температурных деформаций DL = a×DТ×L, где DL - удлинение; a - коэффициент линейного расширения, %; DТ -изменение температуры; L -
длина участка трубопровода
1 прокладка - 20¸40 мм
|
Метр, штангенциркуль
|
|
18.
|
Смещение швов соседних металлических труб, не менее
|
100 мм
|
В пределах верхней половины
окружности труб, измеряется выборочно
|
Рулетка, метр
|
|
19.
|
Прихватка труб
|
± 0,5 мм
|
Согласно проекту,
измеряется выборочно
|
Линейка, метр,
штангенциркуль
|
|
для Æ £ 100 количество, не менее,
шт.
|
1-2
|
|
Æ £ 110-426, не менее
|
3-4
|
|
Æ ³ 426, не менее чем через
|
300 мм по окружности
|
|
Длина прихватки для труб
|
|
|
Æ £ 100
|
³ 10 мм
|
|
Æ 100-426 мм
|
³ 20 мм
|
|
Æ ³ 426
|
³ 30 мм
|
|
Высота прихватки, не менее
|
|
|
Æ £ 500 мм
|
3 мм
|
|
Æ ³ 500 мм
|
5¸8 мм
|
|
20.
|
Смещение кромок внутри трубы при сварке согласно Правил
Госгортехнадзора, не свыше (без подкладного кольца)
|
- 20 % толщины стенки труб,
не более 3 мм
|
100 %, визуально и
выборочно инструментально
|
Штангенциркуль, толщиномер
|
|
При использовании подкладного кольца зазор между
кольцом и внутренней трубой, не свыше
|
1 мм
|
измерительный выборочно
|
|
21.
|
Электродуговая сварка металлических труб
сила тока
напряжение
|
Согласно инструкции по
производству работ
|
Измерительный
|
Амперметр, вольтметр
|
|
22.
|
Контроль качества сварки: А. Внешний осмотр
Б. Неразрушающими методами
рентгено-графически или - лучами или ультразвуковой
дефектоскопией
|
Дефекты до 0,8-1,2 мм
Углубления до 1,5-2 мм
Не менее 10 % стыков
|
100 % стыков визуально
инструментальный
согласно Правилам Госгортехнадзора, ГОСТ
7512-82, ГОСТ 14782-76 на отсутствие трещин, свищей, непроваров, прожога
|
Визуально
Штангенциркуль
Рентгеновские
ультразвуковые и подобные приборы
|
|
23.
|
Предварительные испытания на герметичность
гидравлическим способом
|
|
100 % трубопроводов,
измерительный на отсутствие течи, снижения давления с составлением актов по
форме приложения к СНиП 3.05.03-85
|
Пружинный манометр, насос,
пресс
|
|
- для теплосетей давлением
|
1,25 рабочего, но не менее
1,6 МПа
|
|
- для паропроводов, конденсатопроводов, сетей
горячего водоснабжения
|
1,25 рабочего давления
|
|
24.
|
Контрольная проверка целостности проводов систем
ОДК, измерение сопротивления изоляции
Соединение проводов ОДК
|
Согласно нормам (отсутствие
влаги) 0,012-0,015 ом/м
Сопротивление проводника
изоляции трубы ³10 мом
|
100 % трубопроводов,
измерение сопротивления проводников и изоляции трубы
|
Детектор, тестер, терминал
|
|
25.
|
Очистка торцов теплоизоляции труб
|
На глубину до 2 см
|
Выборочно инструментально
|
Штангенциркуль
|
|
Очистка стальной трубы от следов сварки, коррозии
временных консервационных покрытий
|
До стального блеска
|
Выборочно
|
визуально
|
|
26.
|
Установка и центрирование металлического кожуха с
нахлестом на оболочку трубы
|
Не менее 40 мм
|
Выборочно, инструментально
|
Метр, рулетка, маркер
|
|
27.
|
Закрепление кожуха бандажными лентами и
винтами-саморезами
|
Не менее 4-х через не менее
100 мм
|
Выборочно
|
Визуально
|
|
28.
|
Смешение компонентов ЦПУ
|
|
Согласно ВСН и инструкции
по изоляции стыков
|
Весы, секундомер, термометр
|
|
«А» и «Б» в заданном соотношении с
|
1:1 по массе
|
|
заданным временем перемешивания
|
45 сек - 1 мин
|
|
при заданной температуре
|
25-35 °С
|
|
29.
|
Заливка смеси в заданном количестве в стык под
кожух, проверка заполнения
|
Время заливки - 5-10 сек. -
выход избытка пены
|
Согласно инструкции 100 %
стыков
|
Секундомер, визуально
|
|
30.
|
Съем зажимов и бандажей, закрытие заливочного
отверстия после затвердевания ППУ
|
Закрепить пластину
винтами-саморезами
|
Согласно инструкции
|
Визуально
|
|
31.
|
Удаление остатков ППУ
Обезжиривание и нагревание поверхности
|
Через 30 мин после заливки
на расстояние до 15 см от стыка - до 60 °С
|
Согласно инструкции
|
Выборочно
|
|
32.
|
Отрезка и подготовка ленты термоусаживающегося
материала
|
Длина по периметру +50¸100 мм
Нахлест ³ 50 мм
|
Согласно инструкции,
инструментально
|
Выборочно термометр,
рулетка
|
|
33.
|
Проведение термоусадки пропановой горелкой
|
|
Согласно ВСН
29-95, ВСН
53-96, инструкции «МосФлоулайн», выборочно, инструментально, визуально -
100 %
|
.Манометр, линейка,
термометр
|
|
Давление пропана после редуктора
|
-0,2 МПа
|
|
Расстояние насадки горелки до поверхности ленты
|
-10¸15 см
|
|
Порядок термоусадки
|
от середины снизу по окружности
|
|
Температура термоусадки
|
120¸150 °С
|
|
Ликвидация складок
|
разравнивание роликом
|
|
Контроль адгезии по появлению адгезива
|
- слой 0,5¸1 мм по краям
|
|
Условия работы
|
до -15 °С
|
|
34.
|
Проведение термоусадки с использованием
неразрезанной муфты из термоусаживающегося материала, 2-х термоусаживающихся
манжет и термоусаживающейся пленки работы аналогично п.
27-29, затем снять металлический кожух, прогреть горелкой ППУ
|
|
Согласно инструкции и ВСН
выборочно, инструментально
|
Манометр, линейки,
термометр, весы
|
|
- установить и прогреть ТУ пленку
|
- от центра к краям
|
|
- установить неразрезную муфту, прогреть и провести
термоусадку
|
- по центру стыка при 120¸150 °С
|
|
- установить на краях муфты термоусаживающиеся
манжеты, выполнить термоусадку
|
- при 120-150 °С до выхода следов адгезива
|
|
35.
|
Заделка стыков с применением разъемной муфты с
электроплавкими манжетами
|
|
Согласно инструкции
выборочно, инструментально
|
Линейка, термометр, весы,
амперметр дрель
|
|
Очистить стык по п. 27-29
|
|
|
- установить манжету, закрепить бандажами
|
- по центру стыка
|
|
- присоединить провода от сварного аппарата, дать
ток, сварить продольный и поперечный швы
|
- герметизировать манжету
|
|
- просверлить 2 отверстия, залить компоненты ППУ,
вставить пробки
|
- Æ 24,5 мм до выхода воздуха
и пены
|
|
- вынуть пробки, установить термоплавкие пластины,
заварить заливочные отверстия
|
- через 30 мин после
заливки
- до полной герметичности
|
|
36.
|
Изоляция стыка в стальной оболочке
|
|
Согласно ВСН и инструкции
«МосФлоулайн»
|
Весы, линейка. штангенциркуль,
термометр
|
|
- очистить стык, обезжирить прилегающую оболочку,
установить металлический кожух
|
до металлического блеска
трубы
по центру стыка ±5 мм
|
|
- нанести герметик по образующей кожуха и в месте
нахлеста
|
|
|
- обернуть стык металлическим кожухом, закрепив его
бандажами и самонарезающимися винтами
|
- по центру с полной
герметизацией и твердением не менее 24 часов
|
|
- заливка ППУ под кожух, удаление избытка ППУ,
герметизация отверстия герметиком
|
- до полной герметичности,
с выдержкой 24 часа
|
|
37.
|
Монтаж и проверка системы ОДК. Длина участка на 1
детектор, не свыше
|
|
Согласно ВСН и инструкции
«Мосфлоулайн» инструментально для 100 % труб
|
Вольтметр, амперметр,
рулетка, омметр, мегометр, влагометр
|
|
Питание
|
- 10 км
|
|
Длина участка 1 локатор, не свыше
|
- 24V или
220V
|
|
Точность определения места повреждений
|
- 400 м
|
|
Отбор показаний через разъемы
|
- 1 % (4 м)
- терминалы должны быть
герметичны
|
|
Потребляемая мощность
|
4 ватта
|
|
Сопротивление проводов
|
0,012¸0,015 ом/м
|
|
Сопротивление изоляции, не менее
|
- 10 мом/на трубу
|
|
Сопротивление при напряжении 500V на
100 м трубопровода, не менее
|
- 1 мом
|
|
Фиксация проводов системы ОДК
|
- ПЭ стойки
|
|
38.
|
Подготовка стартового компенсатора
|
|
Согласно ВСП и инструкции
«Мосфлоулайн» инструментально
|
Термометр, штангенциркуль,
линейка
|
|
Предварительный прогрев компенсатора со скоростью
не выше
|
|
|
До достижения температуры предварительного прогрева
|
- 10 °С/час
|
|
0,5 (td - ti), где td - рабочая температура; ti - температура до прогрева
|
± 5 %
|
|
Величина перемещения компенсатора
|
расчетная величина DL
|
|
Закрепление компенсатора
|
сваркой с последующей
тепло-гидроизоляцией
|
|
39.
|
Обратная засыпка приямков теплотрасс
|
|
Согласно «Правилам
производства работ по прокладке и переустройству подземных сооружений в г.
Москве»
|
Рулетка, линейка
|
|
Песок с крупностью, не более
|
1 мм
|
|
Засыпка слоями с трамбовкой
|
|
|
механическая, слой не более
|
300 мм
|
|
ручная, слой не более
|
150 мм
|
|
40.
|
Испытание и приемка теплопроводов
|
|
Согласно СНиП 3.05.05-85
«Тепловые сети», ВСН 29-95 100 % труб, т.е. всю систему
|
Манометр, секундомер
|
|
Промывка водой со скоростью
|
2 м/сек
|
|
Гидравлические испытания
|
|
|
Температура воды
|
+40¸+5 °С
|
|
Давлением 1,5×Рр, где Рр
- рабочее давление, не менее
|
1,6 МПа
|
|
Выдержка
|
15-30 мин
|
|
Допустимое отклонение давления
|
± 5 %
|
|
41.
|
Испытание на плотность оболочки ПЭ пневматическим
давлением
|
0,2 атм
|
Согласно СНиП 3.05.05-88
инструкции и нормам
|
Манометр
|
|
Выдержка
|
15-30 мин
|
|
Допустимое отклонение
|
± 10 %
|
|
42.
|
Промывка и приемка системы ОДК
|
Соответствие нормам
|
Согласно инструкции
|
Омметр, амперметр
|
|
43.
|
Приемка теплотрассы
|
Соответствие проекту и
требованиям ВСН
|
Согласно СНиП 3.05.05-85
«Тепловые сети», «Правилам устройства и безопасной эксплуатации трубопроводов
пара и горячей воды» 1994 г. СНиП III-3-81 визуально и инструментально
|
Перечень переделок со
сроками доводки. Подписи членов приемочной комиссии
|
|
Проверка наличия документации актов приемки
приемочной комиссией с предоставлением:
|
|
- утвержденной документации на строительство
|
|
- списка строительно-монтажных организаций
|
|
- геодезической съемки фактической прокладки сети
|
|
- исполнительных чертежей на построенные сети
|
|
- акты приемки-сдачи скрытых работ
|
|
- наличия паспортов заводов-изготовителей
|
|
- акт настройки компенсаторов
|
|
- акт испытаний на прочность и герметичность
|
|
- акт промывки (продувки)
|
|
|
|
|
|
|
|
|
|
Вид
контроля (стадия)
|
Входной
|
Операционный
|
Приемочный
|
|
Соответствие
стальных труб, ППУ, ПЭ, песка, траншеи ТУ, ГОСТ, СНиП, проекту
|
Соответствие
изолированных труб, фасонных деталей, комплектующих приборов ОДК, сварочных
материалов, изолирующих материалов проекту и нормативным документам
|
Подготовка
трассы, трубных и фасонных элементов к монтажу бесканального трубопровода
|
Проведение
земляных работ, подготовка песчаной подушки, траншеи, приямков
|
Раскладка
труб и фасонных элементов вдоль трассы
|
Осмотр
и ремонт труб и фасонных деталей
|
Сборка
труб, центрирование с помощью монтажных приспособлений
|
Устройство
компенсаторов, установка прокладок
|
Смещение швов соседних труб
|
Прихватка
труб и элементов сваркой
|
Смещение
кромок труб
|
Электродуговая
сварка металлических труб
|
Контроль
качества сварки неразрушающими методами
|
Предварительные
испытания на герметичность гидравлическими способами
|
Проверка
работы системы ОДК, измерение сопротивления изоляции
|
Соединение
проводов системы ОДК
|
Очистка
торцов теплоизоляции и стыка трубы
|
Установка
на стык металлического кожуха и его закрепление
|
Смещение
компонентов ППУ, заливка смеси под кожух, проверка заполнения
|
Съем
зажимов кожуха, закрытие заливочного отверстия, удаление избытка ППУ
|
Подготовка
термоусаживающегося материала и места стыка или муфт с электрозакладными
деталями
|
Проведение
термоусадки пропановой горелкой или заделки стыка с применением электроплавких
манжет
|
Изоляция
стыка в стальной спиральновитой оболочке с заливкой ППУ под кожух
|
Монтаж
и проверка системы ОДК
|
Подготовка
стартового компенсатора, прогрев, закрепление в заданном положении
|
Обратная
засыпка приямков
|
Испытание
теплопровода, промывка
|
Гидравлические
испытания трубопровода
|
Испытание
герметичности наружной оболочки пневматическим способом
|
Испытание
и проверка системы ОДК, приемка
|
Приемка
теплотрассы, проверка наличия требуемой технической документации,
соответствия проекту
|
|
Объем контроля
|
Выборочный и сплошной
|
Сплошной
|
Сплошной
|
|
Метод контроля
|
Визуальный
и документальный
|
Визуальный
и инструментальный
|
Инструментальный
|
Визуальный
|
Инструментальный
|
Визуальный
и
|
Инструментальный
|
Визуальный
|
Инструментальный
|
Визуальный
|
Инструментальный
|
Визуальный
|
Инструментальный
|
Визуальный
|
|
Освидетельствование скрытых работ
|
|
|
|
|
Привлечение специалиста
|
Геодезист
|
Приборист ОДК
|
Геодезист
|
|
Приборист ОДК
|
|
|
Приборист ОДК
|
|
|
|
|
|
|
|
|
|
|
|
|
|
|
|
|
|
|
|
|
|
|
|
|
|
|
|
|
|
|
|
|
|
|
|
|
|
|
|
|
|
|
1. До начала монтажа наружных
сетей тепловодоснабжения должен быть разработан проект прокладки строящейся
тепловой сети, в том числе проект производства работ, обеспечивающий
качественную и долговечную прокладку, компенсацию температурных деформаций и
напряжений.
2. До выполнения земляных
работ следует проверить наличие на трассе прокладки кабелей, систем
водоснабжения, каналов и других сооружений и получить разрешение на указанные
работы.
3. Все используемые материалы
должны соответствовать требованиям нормативных документов и сертификатов и
иметь технические паспорта с показателями, соответствующими предъявляемым
требованиям.
4. Используемые для
строительства наружных сетей материалы должны поставляться комплектно по видам
и маркам и храниться согласно требованиям технических условий и нормативных
документов.
5. Трубы и фасонные детали с
теплогидроизоляцией должны быть изолированы пенополиуретаном, выдерживающим
температуру длительной эксплуатации до 130 °С и кратковременно до 150 °С при
требуемой долговечности не менее 25 лет. Показатели свойств изоляции должны
быть не ниже указанных в таблице 2 ВСН
29-95.
6. При получении трубных
элементов и деталей следует проводить их визуальный осмотр и отмечать наличие
трещин, сколов, повреждение торцов теплоизоляции, сохранность проводников
системы ОДК, проверять изделия по типоразмерам, диаметрам и длине, наличие
накладной, паспортов и сертификатов.
Продукция с небольшими
дефектами должна быть отремонтирована с применением термоусаживающихся муфт или
лент, с большими повреждениями - возвращена изготовителю для повторной изоляции.
7. При пересечении трассы
теплопровода с местными и городскими проездами, трамвайными путями трубопроводы
бесканальной прокладки должны проходить в стальных футлярах или в проходных
каналах или полупроходных каналах высотой не менее 1,4 м. В слабых грунтах с
расчетным сопротивлением менее 0,1 МПа и в грунтах с неравномерной осадкой
применение бесканальной прокладки не допускается. Устройство дренажей при
бесканальной прокладке не требуется.
8. Все прокладки
трубопроводов с пенополиуретановой изоляцией и полиэтиленовой оболочкой
независимо от диаметров должны иметь систему ОДК для контроля влажности и
дефектов. Установку фиксирующих приборов следует проводить в ЦТП, диспетчерских
пунктах.
9. Сопряжение канальных и
бесканальных участков теплопроводов рекомендуется выполнять с устройством
торцевой стенки с сальниковым уплотнением и песчаной обсыпкой.
10. Проход теплопроводов
сквозь стенки зданий и камер следует осуществлять с установкой резиновых гильз
с последующим обетонированием.
11. Транспортировку изолированных
труб и их раскладку следует проводить автотранспортом с удлиненным прицепом или
специальными трубовозами. Разгрузку и погрузку труб рекомендуется выполнять с
применением мягких гибких полотенец, располагаемых на 1/3 длины от концов труб
или строп с захватами за неизолированные концы труб, запрещается разгрузка
сбрасыванием.
12. Складирование труб должно
выполняться в штабелях на выровненной площадке, нижний слой - на песчаной
полушке, высота штабеля - не более 2 м, отдельно по диаметрам по отсекам с
устройством упоров, трубы и изделия должны быть защищены от воздействия прямых
солнечных лучей, т.е. располагаться под навесом или прикрытием.
13. Термоусаживающиеся
материалы, муфты и манжеты, компоненты ППУ должны храниться в закрытых
помещениях при положительной температуре.
14. Монтаж теплопроводов
следует проводить при температуре наружного воздуха до -15 °С.
15. При резке и сварке стыков
труб следует торцы теплоизоляции закрывать увлажненной тканью или жестяными
экранами во избежание повреждений или загорания. Перед сваркой труб на
полиэтиленовую оболочку теплоизоляции следует надевать термоусаживающуюся муфту
и манжеты.
После сварки торцы труб
следует очищать от следов коррозии, шлаков с помощью металлических щеток,
наждака, шлифмашинки.
16. Теплогидроизоляцию стыков
производят после гидравлического испытания участков на плотность давлением не
менее 1,25 от рабочего.
17. По окончании изоляции
стыков проводится контроль целостности аварийно-сигнальных проводов системы ОДК
с помощью омметра с составлением акта проверки участка.
18. Авторский надзор за
строительством должен осуществляться в соответствии с положением об авторском
надзоре СНиП
1.06.05-85.
19. Окончательные испытания
теплопроводов проводятся строительно-монтажной организацией в присутствии
представителей заказчика и эксплуатирующей и проектирующей организации с
составлением приемочного акта и приложением актов испытаний.
20. Строительно-монтажные
работы по устройству наружных теплосетей должны выполнять лица, достигшие 18-ти
лет, прошедшие специальное обучение и медицинскую проверку, вводный инструктаж
и инструктаж по технике безопасности.
21. Запрещается проводить
огневые работы ближе 2 м от места складирования изолированных труб и
компонентов, хранить рядом горючие и легковоспламеняющиеся жидкости. При
загорании следует использовать все средства пожаротушения, в закрытом помещении
рекомендуется пользоваться противогазом. При выполнении термоусадки следует
следить за расположением шлангов, избегая выполнения близ них огневых работ или
нахождения нагреваемых объектов. При термоусадке следует перемещать пламя
горелок, избегая пережогов или загорания.
22. Все работы с ППУ должны
выполняться в спецодежде с применением средств защиты (костюм х/б, перчатки
резиновые, спецобувь). На месте заливки ППУ должны находиться средства
дегазации и аптечка.
23. Промывка труб водой
должна выполняться с ее повторным использованием, отходы теплоизоляции
пенополиуретана и полиэтилена должны быть собраны для последующего вывоза и
захоронения. Территория после окончания работ должна быть очищена и
восстановлена, засыпка теплопровода должна выполняться с послойным
трамбованием.
24. Возможные отступления от
проекта, а также способы устранения дефектов должны быть согласованы с
проектной организацией и заказчиком.
1. Технический регламент
распространяется на контроль качества монтажа наружных систем телефонной
канализации (каналов связи) из различных труб: асбестоцементных по ГОСТ
1839-80* и по ГОСТ
539-80*; полиэтиленовых (ПВД и ПНД) по ГОСТ 18599-83*, ГОСТ
22689.2-89 и ТУ 6-19-224-83; поливинилхлоридных (ПВХ) по ТУ 6-19-23-87 и ТУ
6-19-307-86; полипропиленовых (ПП) по ТУ 38.102.100-89 и ТУ
4926-005-11989945-97, а также колодцев из железобетона.
2. В техническом регламенте
не учитываются особенности, связанные с устройством искусственных оснований под
каналы связи при наличие слабых грунтов, проведением дополнительных мероприятий
в насыпных, суффозионных, карстовых и плывунных грунтах, на подрабатываемых
территориях по трассе, то есть требования ТР в основном касаются траншейных
прокладок в грунтах с прочностью не ниже 0,1 МПа (1 кгс/см2).
3. Технический регламент
включает основные параметры, подлежащие контролю, режиму и структуру, методы и
средства, состав и содержание контроля наружных телефонной канализации (каналов
связи), монтируемой из труб с различными соединениями (в резиновых уплотнителях
и т.п.) и железобетонных колодцев в соответствии с действующими нормативами
общероссийского и московского значения.
4. Технический регламент
предполагает применение для устройства наружных каналов связи сертифицированной
органами МСС продукции - труб. материалов, изделий и т.п.
5. Своевременное проведение
технического контроля параметров, указанных в регламенте, призвано обеспечить
их нахождение в допустимых пределах, которые должны создать надлежащие условия
для надежного функционирования наружных кабельных сетей при эксплуатации с
обеспечением безаварийности, пропуска расчетных сигналов на длительный срок,
при оптимальных затратах материальных и трудовых ресурсов московскими
строительно-монтажными и эксплуатационными организациями строительного
комплекса городского хозяйства Москвы.
6. Регламент составлен на
основе требований СНиПов по строительству подземных трубопроводных сетей, Общей
инструкции по строительству линейных сооружений городских телефонных сетей,
Технических рекомендаций по проектированию и монтажу подземных каналов связи из
пластмассовых труб ТР
75-98, опыта эксплуатирующих организаций МГТС, проектных институтов
(Моспроект-1 и др.), строительных организаций (ГМС и др.), анализа
отечественных и зарубежных литературных и нормативных материалов.
7. Отклонения от требований
данного технического регламента на тот или иной элемент наружной системы
телефонной канализации допускаются только в случае специального обоснования в
проекте на конкретную систему каналов связи.
|
№№ пп
|
Параметры
|
Величина
предельных отклонений
|
Методы
и объем контроля
|
Средства
измерения
|
|
1
|
2
|
3
|
4
|
5
|
|
1.
|
Правильность трассировки сети
|
± 0,5 м
|
Измерение выборочно
|
Рулетка
|
|
а) Состав сети
|
Каждою элемента на соответствие
проекту
|
Осмотр 100 %
|
Визуально
|
|
б) Расстояние между колодцами, м
|
35±0,05; 50±0,10; 75±0,15; 100±0,20; 150±0,25
|
Измерения 100 %
|
Рулетка
|
|
в) Расстояние между каналами связи и др. подземными
коммуникациями и сооружениями, м, в плоскостях горизонтальной (вертикальной)
|
|
|
Водопровод диаметром < 300 мм
|
0,5 (0,15)
|
|
Водопровод диаметром > 300 мм
|
1,0 (0,15)
|
|
Канализация
|
0,5 (0,15)
|
|
Дренажи и водостоки
|
0,5 (0,15)
|
|
Кабели силовые (при пересечении прокладываются ниже
каналов связи)
|
0,5 (0,25 - 0,15)
|
|
Теплопровод
|
1,0 (0,15)
|
|
Газопровод низкого давления 4,9 кПа
|
1,0 (0,15)
|
|
Газопровод среднего давления 4,9-294,3 кПа
|
1,5 (0,15)
|
|
Газопровод высокого давления 294,3-558,6 кПа
|
2,0 (0,15)
|
|
Газопровод высокого давления 558,6-1177,2 кПа
|
3,0 (0,15)
|
|
Трамвайные пути, ось ближнего рельса
|
2,0 (1,0)
|
|
Мачты и опоры сети наружного освещения, контактные
сети и сети связи
|
0,5 (-)
|
|
Стены и опоры тоннелей и путепроводов (на уровне
или ниже основания)
|
0,5 (-)
|
|
Общие подземные коллекторы
|
0,5 (-)
|
|
Подошвы насыпей или наружных бровок канала
|
1,0 (-)
|
|
Стволы деревьев
|
1,5 (-)
|
|
Бортовые камни
|
1,5 (-)
|
|
Фундаменты зданий
|
0,6 (-)
|
|
2.
|
Состояние трубных изделий:
|
|
Осмотр 100 %, измерения
выборочно
|
Визуальный контроль
Рулетка, штангенциркуль,
нутромер
|
|
а) асбестоцементных труб
|
|
|
1) ГОСТ
1839-80* (безнапорные)
|
|
|
диаметр, мм
|
|
|
наружный
|
118 ± 2,5
|
|
внутренний
|
100 ± 2
|
|
толщина стенки, мм
|
9 ± 1,5
|
|
длина, см
|
395 ± 5
|
|
муфты - внутренний диаметр, мм
|

|
|
толщина стенки, мм
|
10 ± 1,5
|
|
асбестоцементные муфты
|
|
|
диаметр, мм
|
|
|
внутренний (наружный)
|
(160)
|
|
толщина стенки, мм
|
10 ± 1,5
|
|
длина, мм
|
150 + 3
|
|
2) ГОСТ
539-80* (напорных)
|
|
|
диаметр, мм
|
|
|
условный
|
100
|
|
внутренний
|
104
|
|
наружный обточенных концов
|
122 - 1,5
|
|
толщина стенки обточенных концов, мм
|

|
|
длина, мм
|
|
|
труб
|
2950
|
|
обточенных концов
|
200
|
|
асбестоцементные муфты
|
|
|
диаметр, мм
|
|
|
внутренний
|
127
|
|
наружный
|
173
|
|
длина, мм
|
140
|
|
3) полиэтиленовые муфты
|
|
|
внутренний диаметр, мм
|
116 ± 0,3
|
|
длина, мм
|
80 + 5
|
|
б) гладкостенных пластмассовых:
|
|
|
1) полиэтиленовых (ГОСТ 18599-83)
труб из:
|
|
|
ПВД -
|
|
|
диаметр, мм
|
|
|
наружный
|
110 + 1,0
|
|
средний
|
|
|
внутренний для типа
|
|
|
Л
|
99,4
|
|
СЛ
|
93,8
|
|
толщина стенки, мм, для типа
|
|
|
Л
|
5,3 + 0,8
|
|
СЛ
|
8,1 + 1,1
|
|
ПНД -
|
|
|
диаметр, мм
|
|
|
наружный
|
110 + 1,0
|
|
средний
|
|
|
внутренний для типа
|
|
|
Л
|
104,6
|
|
СЛ
|
101,4
|
|
ГОСТ
22689.2-89:
|
|
|
ПВД -
|
|
|
диаметр, мм
|
|
|
наружный
|
110 + 1,0
|
|
средний внутренний
|
99,6
|
|
толщина стенки, мм
|
5,2 + 1,0
|
|
ПНД -
|
|
|
диаметр, мм
|
|
|
наружный
|
110 + 1,0
|
|
средний внутренний
|
103
|
|
толщина стенки, мм
|
3,5 ± 0,6
|
|
2) поливинилхлоридных труб (ТУ 6-19-231-87)
|
|
|
диаметр, мм
|
|
|
наружный
|
110 + 0,3
|
|
средний внутренний для типов
|
|
|
СЛ
|
105,6
|
|
С
|
103,6
|
|
толщина стенки, мм, для типов
|
|
|
СЛ
|
2,2 + 0,5
|
|
С
|
3,2 + 0,6
|
|
(ТУ 6-19-307-86)
|
|
|
диаметр, мм
|
|
|
наружный
|
110 ± 0,3
|
|
средний внутренний
|
103,6
|
|
толщина стенки, мм
|
3,2 + 0,5
|
|
3) полипропиленовых
|
|
|
(ТУ 4426-005-41989945-97)
|
|
|
диаметр, мм
|
|
|
наружный
|
110 + 0,4
|
|
средний внутренний
|
104,6
|
|
толщина стенки, мм
|
2,7 + 0,5
|
|
(ТУ 38.102.100-89)
|
|
|
диаметр, мм
|
|
|
наружный
|
110 + 2,2
|
|
средний внутренний
|
97,6
|
|
толщина стенки, мм
|
6,2 + 0,8
|
|
в) гофрированных из ПНД без щелей для дренажа
|
|
|
(ТУ 6-19-224-83)
|
|
|
1) диаметр, мм
|
|
|
наружный
|

|
|
внутренний
|
54
|
|
толщина стенки, мм
|
0,9
|
|
2) диаметр, мм
|
|
|
наружный
|

|
|
внутренний для типа
|
|
|
I
|
93
|
|
II
|
92
|
|
толщина стенки, мм, для типа
|
|
|
I
|
0,9
|
|
II
|
1,5
|
|
3) диаметр, мм
|
|
|
наружный
|

|
|
внутренний для типа
|
|
|
I
|
106
|
|
II
|
103
|
|
толщина стенки, мм, для типа
|
|
|
I
|
1,0
|
|
II
|
1,9
|
|
г) качество трубных изделий
|
|
|
форма сечения
|
окружность
|
|
состояние стенок
|
без трещин, обломов,
расслоений и свищей
|
|
торцы
|
чисто обрезаны
перпендикулярно оси
|
|
3.
|
Минимальное заглубление канала связи, м,
|
|
|
под пешеходной частью улиц
|
0,4
|
|
под проезжей частью
|
0,6
|
|
4.
|
Глубина, м, траншей в наивысшей точке пролета -
числитель и на вводах в колодцы - знаменатель при количестве рядов по высоте
|
Под пешеходной частью -
проезжей частью - трамвайными и железнодорожными путями
|
|
1
|

|
|
2
|

|
|
3
|

|
|
4
|

|
|
5
|

|
|
6
|

|
|
5.
|
Глубина котлована под колодцы, м,
|
Нк - высота
колодца снаружи, считая плиту перекрытия
|
|
|
|
на проезжей части
|
Нк + 0,3
|
|
на пешеходной
|
Нк + 0,2
|
|
6.
|
Ввод телефонной канализации в здание
|
|
|
|
|
глубина
|
400-500
|
|
уклон
|
в сторону колодца
|
|
7.
|
Ширина траншей по дну (без учета креплений), м
|
[Dн + 0,03)n +0,5]
± 0,1, где Dн - наружный диаметр труб, n -количество труб в нижнем
ряду блока
|
|
|
|
8.
|
Тип основания под трубы по всей длине:
|
|
|
|
|
а) в общих случаях при естественном грунте не
нарушенной структуры насыпка песка слоем толщиной, мм
|
50 ± 10
|
|
б) при жестких грунтах насыпка песка, толщина слоя,
мм
|
100 ± 15
|
|
в) при мокрых связных грунтах, насыпной слой песка
|
По проекту
|
|
г) при илах, заторфованных, насыпных и др. слабых
грунтах - искусственное
|
По проекту
|
|
9.
|
Качество соединений
|
|
Визуальный осмотр
Измерения
|
Щуп
|
|
а) на полиэтиленовой муфте
|
Плотная посадка
|
|
б) на заделке
|
Равномерный зазор между
трубой и асбестоцементной муфтой
|
|
в) на резиновых кольцах
|
Положение кольца перпендикулярно
оси трубы и параллельно торцу муфты (раструба)
|
|
г) на сварке встык
|
Равномерный грат по
окружности трубы высотой 1-1,5 мм
|
|
д) на клею
|
Равномерность нанесения
клея на поверхности раструба (муфты) и гладкого конца
|
|
е) на стальной манжете
|
е 1) цементно-песчаная обмазка не должна иметь
трещин
е 2) хорошо оплавленная смоляная лента
|
|
10.
|
Толщина грунтовой прослойки, мм, между трубами
|
|
Измерения 100 %
|
Мерительная линейка
|
|
в ряду
|
20¸35
|
|
между рядами по высоте
|
50¸60
|
|
11.
|
Смещение соединений в смежных по высоте рядах, мм
|
200 - 250
|
|
|
|
12.
|
Засыпка каналов грунтом
|
|
|
|
|
крупность
|
0,1 Дт, (Дт
- диаметр трубы)
|
|
уплотнение, %
|
85 - 90
|
|
13.
|
Положение каналов между соседними колодцами
|
|
Осмотр 100 %
|
Визуально
|
|
ПРЯМОЛИНЕЙНОСТЬ
|
Без изгиба и кривизны
|
|
уклон каналов, %
|
3-4
|
|
между колодцами либо от середины пролета
|
в обе стороны к колодцам
|
|
диаметр
|
const
|
|
14.
|
Отклонение сечения канала от формы круга при
контроле трубопровода диаметром 100 мм на свободный проход пробного цилиндра
диаметром, мм
|
|
|
|
|
для всех труб
|
92
|
|
для гофрированных
|
82
|
|
15.
|
Отклонение дна колодца от проектного положения, мм
|
± 10
|
|
|
|
Вид
контроля (стадия)
|
Входной
|
Операционный
|
Приемочный
|
|
Трубные
изделия (трубы, бухты и т.п.)
|
Муфты
|
Уплотнительные
материалы
|
Подготовка
траншеи
|
Ж/б
кольца, чугунные люки для колодцев
|
Подготовка
основания, грунта засыпки
|
Укладка
каналов
|
Сборка
соединений
|
Засыпка
каналов порядно
|
Монтаж
колодцев
|
Соответствие
каналов связи по трассе и составу по проекту
|
Отклонение
каналов от заложения, прямолинейности уклонов
|
Отметки
вводов каналов в колодцы и в здания, дна в колодцах
|
Прохождение
по каналам пробных цилиндров
|
|
Объем контроля
|
Сплошной
|
Сплошной, выборочный
|
Сплошной
|
|
Метод контроля
|
Визуальный и
инструментальный
|
Инструментальный
|
Визуальный,
инструментальный
|
|
Освидетельствование скрытых работ
|
|
Акты на скрытые работы
|
Акты на скрытые работы
|
|
|
Привлечение специалиста
|
|
Геодезист
|
|
Геодезист
|
|
Геодезист
|
|
|
Операции контролируемые лабораторией
|
|
+
|
|
+
|
|
|
|
|
|
|
|
|
|
|
|
|
|
|
|
|
|
|
1. К началу производства
работ должна быть разбита трасса каналов связи (сетей):
- вдоль трассы должны быть
установлены временные реперы, связанные нивелирными ходами с постоянными
реперами;
- разбивочные оси и вершины
углов поворота трассы должны быть закреплены и привязаны к постоянным объектам
на местности (зданиям, сооружениями и др.);
- пересечения телефонной
канализации с существующими подземными коммуникациями (водопровод, газ,
электрокабель и т.п.) должны быть отмечены на поверхности земли особыми
знаками;
- места расположения смотровых
колодцев (угловых, проходных, разветвительных, станционных и др.) следует
отметить столбиками, устанавливаемыми в стороне от трассы (на столбиках
указывается номер колодца и расстояние от него до оси).
2. Для безопасного,
производительного и качественного труда рабочих-трубоукладчиков (связистов)
котлованы и траншеи в населенных пунктах должны быть своевременно ограждены. В
местах движения людей через траншеи устроены мостики и переходы шириной не
менее 0,6 м с перилами высотой 1 м. Для спуска работающих в котлованы (траншеи)
при необходимости устроены лестницы шириной не менее 0,8 м с перилами высотой 1
м. Устроено низковольтное освещение при необходимости.
3. До начала монтажных работ
должны быть произведены:
- комплектация трубами,
элементами колодцев, уплотнительными материалами, инструментом, средствами
механизации и т.п. в соответствии со спецификацией проекта телефонной
канализации;
- подготовка площадок,
складов и бытовок для хранения трубных изделий, элементов колодцев,
инструментов, а также размещения механизмов и работников;
- изучение линейными ИТР и
бригадирами (звеньевыми) рабочей и нормативной документации, а также требований
по охране труда и технике безопасности, как общими, так и специфической для
прокладки телефонной канализации;
- подготовка рабочих к
производству работ, проведение инструктажей по безопасным методам устройства
канализационной сети (трубопроводов, колодцев и др.) в данном конкретном
случае.
4. Возможные отступления от
проекта, а также способы устранения дефектов, выявленных на стадии контроля и
испытаний, должны быть согласованы с проектной организацией с обязательными
пометками в проектной документации, а также в некоторых случаях с работниками
МГТС.
| |
|