//
ТехЛит.ру
- крупнейшая бесплатная электронная интернет библиотека для "технически умных" людей.
WWW.TEHLIT.RU - ТЕХНИЧЕСКАЯ ЛИТЕРАТУРА

:: Алготрейдинг::


АЛГОТРЕЙДИНГ
шаг за шагом
с нуля по урокам!

Торговые роботы на PYTHON, BackTrader,
Pandas, Pine Script для TradingView. Связка с брокерами, телеграм и легкими приложениями.


АППАРАТЫ ТЕПЛООБМЕННЫЕ ПЛАСТИНЧАТЫЕ

Метод расчета на прочность и герметичность

РД 26-01-86-88

УкрНИИхиммаш

г. Харьков

1988

УТВЕРЖДАЮ

директор УкрНИИхиммаша

П.П. Прядкин

14.06.1988 г.

ЛИСТ УТВЕРЖДЕНИЯ

Аппараты, теплообменные пластинчатые.
Метод расчета на прочность и герметичность

РД 26-01-86-88

Зам. директора УкрНИИхиммаша по научной работе

Л.П. Перцев

Зав. отделом стандартизации

В.В. Проголаев

Зав. отделом прочности

В.Н. Стогний

Руководитель темы, зав. лабораторией методов исследований

В.М. Долинский

Исполнители:

 

мл. науч. сотр.

О.В. Смыслина

мл. науч. сотр.

В.И. Черемская

РУКОВОДЯЩИЙ ДОКУМЕНТ

АППАРАТЫ ТЕПЛООБМЕННЫЕ ПЛАСТИНЧАТЫЕ.

Метод расчета на прочность

и герметичность

РД 26-01-86-88

Дата введения 01.01.90

Настоящий руководящий документ распространяется на методы расчетов на прочность и герметичность пластинчатых теплообменных аппаратов разборных и неразборных, применяемых в химической и других смежных отраслях промышленности, при условии, что отклонения от геометрической формы и неточности изготовления рассчитываемых элементов аппаратов не превышают допусков, установленных нормативно-технической документацией.

Руководящий документ распространяется на аппараты, работающие в условиях статической и малоцикловой прочности.

1. ОБЩАЯ ЧАСТЬ

1.1. Основные расчетные параметры: расчетная температура, рабочее, расчетное и пробное давление, допускаемые напряжения для статических нагрузок, коэффициенты запаса прочности и устойчивости, модули упругости материалов, коэффициенты прочности сварных швов, прибавки к расчетным толщинам конструктивных элементов - принимаются в соответствии с ГОСТ 14249-80.

1.2. Допускаемые напряжения для расчета аппаратов при статических нагрузках принимаются в соответствии с ОСТ 26-11-04-84.

1.3. Допускаемые напряжения для расчета аппаратов, работающих в условиях малоцикловой прочности, принимаются в соответствии с ГОСТ 25859-83.

1.4. Расчет укрепления отверстий в цилиндрических панелях производится по ГОСТ 24755-81.

1.5. Толщина плит крышек неразборных теплообменных аппаратов определяется по ГОСТ 14249-80.

1.6. Расчет коллекторов и днищ крышек неразборных теплообменных аппаратов, работающих под действием наружного давления, производится по ГОСТ 14249-80, ГОСТ 25221-82.

1.7. Допускаемые напряжения для стяжных болтов принимаются по ОСТ 26-373-78.

2. НАЖИМНЫЕ ПЛИТЫ

2.1. Расчетные схемы и расчетные нагрузки

2.1.1. Расчетные схемы приведены на черт. 1 - 6, 13, 15.

2.1.2. Расчетные формулы применимы при условии , .

2.1.3. При d1<0,1 используются расчетные схемы черт. 6, 7, 13, 15; расчетные нагрузки определяют по п. 2.1.4. При d1³0,1 расчетные нагрузки определяют по п. 2.1.5 (черт. 1 - 4).

Расчетная схема для центральной панели

а) затяжка;

б) при подаче давления

Черт. 1

Расчетная схема для промежуточной панели

а) затяжка, ,

б) при подаче давления, , ;

в) промежуточная панель

Черт. 2

Расчетная схема №1 для крайней панели

а) затяжка, ; , ;

б) при подаче давления, ; ,

Черт. 3

Расчетная схема №2 для крайней панели

а) затяжка, , ;

б) при подаче давления, ,

Черт. 4

2.1.4. Расчетные равномерные нагрузки:

 - для крайних и промежуточных панелей;

 - для средних панелей.

2.1.5. Расчетные неравномерные нагрузки

2.1.5.1. Промежуточные панели

В режиме затяжки  и  - корни уравнений

где  ;

 

 

I1, I2 - моменты инерции сечения (х=0) нажимной и неподвижной плит.

В рабочем режиме , , Qр - корни системы

где

Коэффициенты j12, j13, j14, j22, j23, j24 определяются по п. 2.1.5.1.

2.1.5.2 Крайние панели

Для стяжек, сдвинутых к центру плиты (см. черт. 3)

В режиме затяжки , ,  - корни системы

где

В рабочем режиме , , , Qp - корни системы

где

Для стяжек, не сдвинутых к центру плиты (см. черт. 5), в режиме затяжки,  и  - корни системы уравнений

Неоребренная плита

Черт. 5

В рабочем режиме , , Qp - корни системы

Коэффициенты j11, j13, j14, j23, j24 определяются по формулам п. 2.1.5.1.

2.1.5.3. Центральные панели

В рабочем режиме Рор является корнем уравнения

где .

Коэффициенты j11, j12 определяются по формулам п. 2.1.5.1.

2.2. Неоребренные плиты

2.2.1. Равномерные нагрузки

2.2.1.1. Толщина панели

Крайней

Схема панели

Черт. 6

где np=1,0 - в рабочем режиме;

np=1,4 - в режиме гидроиспытаний.

Промежуточной и центральной

 при a<an,

 при an£a£1,5,

 при a>1,5,

коэффициенты , , ,  - принимаются по табл. 1, an - черт. 8.

2.2.1.2. Толщина плиты в зоне опорной площадки промежуточной панели

При a£1,5,

при a>1,5

где n0=1,5 - в рабочем режиме;

n0=2,0 - в режиме гидроиспытаний;

коэффициенты ,  принимаются по табл. 1.

2.2.1.3. Толщина опорной шайбы под стяжной болт (см. черт. 7)

Шайба

Черт. 7

Граничный параметр

Черт. 8

 Qр определяется по п. 6.7.

2.2.2. Неравномерная нагрузка

2.2.2.1. Толщина панели

Для промежуточной и центральной панелей

,

Для крайних панелей

.

Изгибающие моменты в центре панели Mm определяют по формулам п. 2.3.6.3.

2.2.2.2. Толщина плиты в зоне опорной площадки определяется по п. 2.2.1.2.

2.2.2.3. Толщина опорной шайбы под стяжной болт определяется по п. 2.2.1.3.

2.3. Оребренные плиты

2.3.1. Расчетные схемы приведены на черт. 9 - 15.

2.3.2. Расчетные формулы применимы при условиях: , .

2.3.3. Расположение стяжек

2.3.3.1. Целесообразно выдерживать соотношение . При этом предпочтительны значения, близкие к 2.

2.3.3.2. Верхние (нижние) стяжки можно располагать на расстоянии (определяемом условиями прочности), меньшем L4, так как они находятся в зоне плиты, ослабленной вырезами.

Оребренная плита

Черт. 9

Панель с отверстием

Черт. 10


Таблица 1

Х=0,5t, Y=0

X=0, Y=0,5b

X=0,5f, Y=0,5b

0,3

0,2590

0,200

0,940

0,3990

-1,090

-0,4630

0,4

0,2060

0,178

0,574

0,2440

-0,660

-0,2800

0,5

0,1670

0,161

0,403

0,1710

-0,467

-0,1980

0,6

0,1400

0,150

0,311

0,1320

-0,362

-0,1540

0,7

0,1210

0,142

0,254

0,1080

-0,298

-0,1270

0,8

0,1080

0,136

0,217

0,0922

-0,255

-0,1080

0,9

0,0985

0,132

0,190

0,0807

-0,223

-0,0948

1,0

0,0920

0,129

0,169

0,0718

-0,200

-0,0850

1,1

0,0873

0,127

0,153

0,0650

-0,181

-0,0769

1,2

0,0839

0,126

0,140

0,0595

-0,165

-0,0701

1,3

0,0815

0,125

0,129

0,0548

-0,152

-0,0646

1,4

0,0797

0,124

0,119

0,0506

-0,141

-0,0599

1,5

0,0784

0,124

0,111

0,0472

-0,132

-0,0561


2.3.4. Формы оребрения

2.3.4.1. Предпочтительно применять ребра с прямолинейной осью.

2.3.4.2. Для ребер целесообразно использовать профильный прокат. Предпочтителен неравнобокий угольник.

2.3.4.3. При изготовлении ребер из листа или из полосы целесообразно, чтобы Sp£S. Предпочтительнее неравенство Sp<S. При этом значение толщины ребра контролируется условием прочности и технологическими ограничениями на высоту ребра.

2.3.4.4. При использовании продольного оребрения (черт. 9) целесообразно выполнять следующие соотношения  , где n2 - число продольных ребер.

2.3.5. Толщина листа

2.3.5.1. Расчетом определяется толщина каждой панели. Толщина листа может быть выбрана равной максимальной толщине панели.

2.3.5.2. Расчетная нагрузка на панель

2.3.5.3. Панель, ограниченная ребрами с двух сторон и с двух сторон свободная

 

2.3.5.4. Панель, ограниченная ребрами с четырех сторон (см. черт. 9)

где

   .

2.3.5.5. Панель, ограниченная ребрами с трех сторон, четвертая сторона свободная (см. черт. 9)

где

n2 - число продольных ребер;

 i=0, 1, 2, 3

i

0

1

2

3

104Bi

292

973

210

0,19

2.3.5.6. Панель, содержащая круглые отверстия (черт. 10)

где

К2 - определяется по графику (см. черт. 11);

.

2.3.6. Выбор ребер

2.3.6.1. Условие прочности

 или

где ;

 - угол установки ребра, (см. черт. 14).

2.3.6.2. Изгибающий момент при равномерной нагрузке (см. черт. 13)

Зависимость

Черт. 11

Контурные элементы

а) с одним ребром

б) с двумя ребрами

Черт. 12

Панель без отверстия

Черт. 13

Криволинейные ребра

Черт. 14

Расчетная схема возможного варианта крайней панели

Черт. 15

2.3.6.2.1. Изгибающий момент в промежуточных и средней панелях:

в произвольном сечении

где ;

в центре плиты

2.3.8.2.2. Изгибающий момент в крайних панелях:

в произвольном сечении для несдвинутых к центру плиты стяжек (см. черт. 13)

где ;

в центре плиты

Для сдвинутых к центру плиты стяжек (см. черт. 15):

в интервале (b, b+b0) в произвольном сечении

в центре плиты

В интервале (0, b6)

2.3.6.3. Изгибающий момент при неравномерной нагрузке

2.3.6.3.1. Изгибающий момент в центральной панели

В произвольном сечении

где .

В центре плиты

2.3.6.3.2. Изгибающий момент в промежуточных панелях

В произвольном сечении в интервале

В интервале

где

В центре плиты

2.3.6.3.3. Изгибающий момент в крайних панелях

Для сдвинутых к центру плиты стяжек (см. черт. 3)

в интервале  в произвольном сечении

в центре плиты

в интервале  в произвольном сечении

Для стяжек, не сдвинутых к центру плиты (черт. 4):

в интервале  в произвольном сечении

в центре плиты

В интервале  в произвольном сечении

Коэффициенты g13, g14 определяются по формулам п. 2.3.6.3.2.

2.3.6.4. Эффективная ширина плиты

T=D1+L1+L2,

2.3.6.4.1. Для промежуточных и средней панелей

где

D1=Sp - для одного ребра (см. черт. 12а);

D1=2Sp+В - для спаренных ребер (см. черт. 12б).

2.3.6.4.2. Для концевых панелей (см. черт. 9)

 где i=1, 2;

 - чертежный размер (см. черт. 9);

D1=Sp;

=0,1815b.

2.3.6.5. Высота ребра из листа (см. черт. 16)

Высота ребра выбирается по п. 2.3.6.1. При этом

 где

Sc=Sp (см. черт. 12а) или Sc=2Sp (см. черт. 12б).

2.3.7. Накладка (черт. 17)

2.3.7.1. Эффективная ширина накладки

где

.

2.3.7.2. Нагрузка

где Qр - наибольшее усилие в болте по п. 6.7

,  - площади смятия при различных положениях гайки (черт. 18)

Номограмма определения толщины нажимной оребренной плиты

Черт. 16

Участок плиты с накладками

Черт. 17

Расчетные схемы накладок при разном положении гайки

Черт. 18

2.3.7.3. Толщина накладки

здесь sТ,  - пределы текучести материала накладки и ребра плиты.

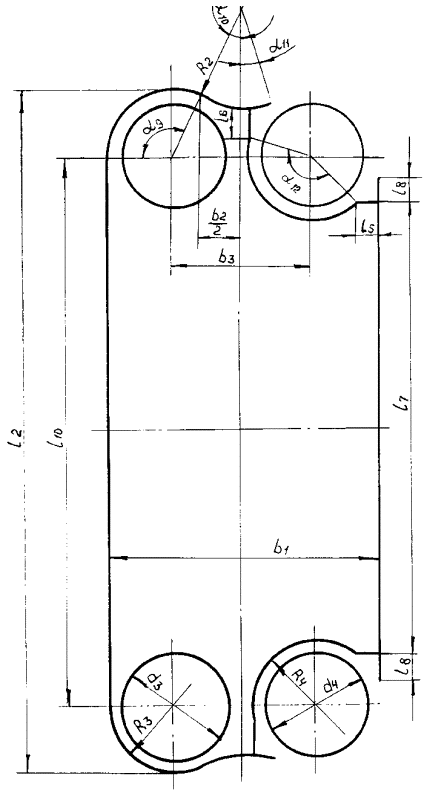
3. РАСЧЕТ КОНСОЛЬНОГО ТЕПЛООБМЕННОГО АППАРАТА НА ОПРОКИДЫВАНИЕ В СОСТОЯНИИ СБОРКИ (черт. 19)

3.1. Условие отсутствия опрокидывания относительно т. А:

где Мопр, Мв - опрокидывающий и восстанавливающий моменты.

=1,5 - коэффициент запаса;

 - вес пластин, сдвинутых влево относительно т. А.

3.2. Если условие 3.1 не выполняется, то производится расчет фундаментных болтов.

3.2.1. Усилие в i-том болте

Рi=Рix+Рiy,   i=1, 2, 3, 4

   

Мy=0,7Мопр,

3.2.2. Напряжения в i-том болте

Схема консольного теплообменного аппарата в состоянии сборки

Черт. 19

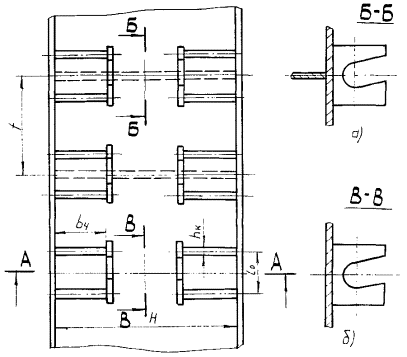
4. ПРОМЕЖУТОЧНЫЕ ПЛИТЫ

4.1. Расчетные схемы приведены на черт. 20 - 23.

4.2. Расчетные формулы применимы при условиях: , .

4.3. Толщина боковой стенки Sб определяется по п. 2.3.5.4.

4.4. Толщина ребра

где

  в МПа.

 при

 при

 при

 при

Для среднего продольного ребра крайней панели

При наличии анкерных связей коэффициент t определяется расчетным или экспериментальным путем. При отсутствии данных расчетов и экспериментов принимается t=1.

Промежуточная плита

1 - боковая стенка

2 - торцевая стенка (боковое продольное ребро);

3 - верхний лист;

4 - поперечное ребро

5 - продольное промежуточное ребро

6 - среднее продольное ребро крайней панели

7 - опорный угол

Черт. 20

Схема возможного расположения прокладок

Черт. 21

Для продольного промежуточного ребра

Для бокового продольного ребра

 или

в зависимости от положения сечения 2 (см. черт. 21,б).

Для поперечного ребра

 D - ширина прокладки.

4.5. Толщина торцевой стенки hm

4.5.1. Если кронштейны связаны планками (черт. 20), то расчет ведется по п. 4.4.

4.5.2. Если кронштейны не связаны планками и ребра не приварены к торцевой стенке в зоне расположения кронштейна (см. черт. 22б).

где

где  

Qр - усилие в стяжке по п. 6.7

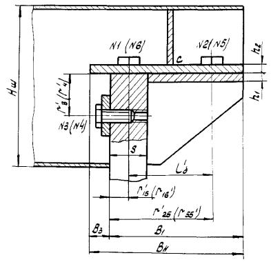
Торцевая стенка в зоне опорного узла (1 вариант)

Черт. 22

4.5.3. Если кронштейны не связаны планками и ребра приварены к торцевой стенке под кронштейнами (черт. 22а),

4.6. Толщина планки (черт. 20, 22)

4.7. Толщина косынки кронштейна (черт. 22)

  

4.8. Условие прочности сварных швов, крепящих кронштейны к торцевой стенке (черт. 22, 23)

Qo - усилие начальной затяжки в стяжке.

Сечение сварного шва

Черт. 23

Торцевая стенка в зоне опорного узла (II вариант)

а) сечений в зоне опорного узла

б) расчетная схема опорного узла

Черт. 24

4.9. Толщина верхнего листа плиты (черт. 20)

4.10. Напряжения смятия в зоне опорного узла

 - усилие в стяжке по п. 6.7;

 - площадь смятия;

 

5. ВЕРХНИЕ ШТАНГИ

5.1. Расчетные схемы представлены на черт. 25 - 28.

5.2. Расчетные схемы применимы при условии

,

5.3. Консольная штанга (черт. 25)

5.3.1. Выбор сечения консольной штанги производится по условию

где

5.3.2. Ось поворота (т. О) верхней консольной штанги расположена на пересечении нижней плоскости штанги с плоскостью, проходящей через крайнюю точку отверстия в накладке (черт. 27)

где dk - диаметр отверстия под крепежный болт

5.3.3. Усилие в i-том болте

здесь

f1=0,45

5.3.4. Проверка выполнения условия

Если условие не выполняется, усилия в болтах пересчитывают при То=0 по п. 5.3.3.

5.3.5. Напряжения в наиболее нагруженном болте

5.3.6. Касательные усилия в ослабленной части штанги

5.3.7. Напряжения среза в ослабленном сечении

5.3.8. Напряжения изгиба в ослабленном сечении

 i=1, 2, 5,6.

5.3.9. Минимальный момент сопротивления ослабленного сечения (черт. 28):

- сечение (черт. 28а)

- сечение (черт. 28б)

Тн - эффективная ширина полки;

 Вн по черт. 26.

5.4. Двухопорная штанга

5.4.1. Выбор сечения двухопорной штанги (черт. 29) производится по условию

где

где

Консольная штанга

Черт. 25

Узел крепления верхней штанги в неподвижную плиту

Черт. 26

Расчетная схема консольной штанги

Черт. 27

Сечения ослабленного участка верхней штанги

Черт. 28

5.4.11. Опора С (черт. 26) расположена посередине между болтами 1, 2.

5.4.2. Изгибающий момент в месте соединения штанги с неподвижной плитой (черт. 39)

где

5.4.3. Напряжения изгиба в ослабленном сечении

где Wmin по п. 5.3.9

5.4.4. Изгибающий момент в месте соединения штанги с неподвижной плитой (черт. 30)

где

где К*=0,8 - коэффициент неполноты заделки

Двухопорная штанга

Черт. 29

Двухопорная штанга (для расчета группы болтов)

Черт. 30

5.4.5. Усилие в i-том болте (черт. 26)

5.4.6. Напряжения в наиболее нагруженном болте по п. 5.3.5.

5.4.6.1. Запас прочности по пределу текучести для материала болта

5.5. Кронштейн (черт. 31)

5.5.1. Толщина нижней накладки (черт. 32)

     где

  

коэффициент  для n=0,3 определяется по табл. 2.

Таблица 2

0

0,25

0,50

1,00

1,50

2,00

0,25

0,332

0,172

0,073

0,022

0,009

0,003

0,50

0,370

0,302

0,196

0,076

0,029

0,010

0,75

0,428

0,387

0,284

0,141

0,051

0,023

1,00

0,509

0,474

0,390

0,205

0,091

0,037

Кронштейн

Черт. 31

Расчетная схема нижней накладки

Черт. 32

Верхняя накладка

Черт. 33.

5.5.2. Напряжения в месте соединения нижней накладки с плитой (черт. 31)

где - для коксольного варианта

- для двухопорного варианта

,

W1-1 - момент сопротивления волокон 1-1.

5.6. Верхняя накладка (черт. 33)

5.6.1. При усилении ослабленного сечения верхней штанги верхней накладкой длина прорези выбирается по условию

где  - ширина прорези.

5.6.2. Толщина верхней накладки по п. 5.5.1 При этом

 - для сил Р1, Р6;

 - для сил Р2, Р5.

6. СТЯЖКИ

6.1. Расчетные схемы представлены на черт. 34 - 36.

6.2. Расчетные формулы применимы при условиях  и

6.3. Внутренний диаметр стяжки

 

6.4. Усилие начальной затяжки

6.4.1. Разборные теплообменные аппараты

где

 (черт. 38)

6.4.2. Полуразборные теплообменные аппараты

 (черт. 39)

6.4.3. Неразборные теплообменные аппараты

 где

 - коэффициент запаса плотности

6.5. Нагрузка среды

 (черт. 38)

 (черт. 39)

 (черт. 40)

6.6. Температурная нагрузка

1 - концевая прокладка,

2 - промежуточная прокладка;

3 - гофрированная пластина;

4 - стяжка

5 - нажимная плита.

Черт. 34

Стяжка

Черт. 35

Схема расположения стяжек

б)- для четных Z/2;

а)- для нечетных Z/2.

Черт. 36

Концевая прокладка

Черт. 37

6.7. Рабочая нагрузка

6.7.1. Разборные и полуразборные теплообменные аппараты

здесь Ко и Кн по табл. 3.

6.7.2. Неразборные теплообменные аппараты

6.8. Коэффициент И.И. Бобарыкова

Х=Х12,

где

6.9. Разность температурных удлинений

 j=1, 2

6.10. Податливости системы

6.10.1. Податливости промежуточных и концевых камер

6.10.1.1. Разборного и полуразборного аппарата

 j=1, 2

6.10.1.2. Неразборного аппарата

где  - количество точек контакта

площадь половины гофрированного поля между стяжками

площадь участка пластины, приходящаяся на одну точку контакта

здесь , tГ, b - ширина гофрированного поля пластины, шаг и угол пересечения гофр;

жесткость пакета, состоящего из двух пластин, имеющего одну точку контакта.

Сэ=0,691×104 Н/мм;

6.10.2. Стяжка

6.10.3. Концевые прокладки

 j=1, 2

6.10.4. Плиты при действии контурных сил (черт. 9)

где

Е1, Е2, I1, I2 - модули упругости и моменты инерции (п. 2.3.6.4) нажимных плит.

6.10.5. Плиты при действии гидравлического давления (см. черт. 13)

6.11. Коэффициенты распределения нагрузки

где

Параметры е, f6, С6 приведены в табл. 3.

Коэффициент  определяется экспериментально.

При отсутствии экспериментальных данных принимается .

6.12. Относительные нагрузки

 

 

q1, q2, q(1), q(2) - давления первого, второго теплоносителей и давление в концевых камерах, примыкающих к плитам;

n1, n2 - число камер с первым и вторым теплоносителем.

Часть контура средней линии концевой прокладки разборного теплообменного аппарата

Черт. 38

Контур средней линии прокладки пластины полуразборного теплообменного аппарата

Черт. 39

Пластина неразборного теплообменного аппарата

Черт. 40

Таблица 3

 

Кн

Ко

 

при Z

при Z

 

Схема нагружения

6

8

10

12

14

6

8

10

12

14

e

0,56

0,53

0,49

0,47

0,46

0,83

0,96

0,97

1,01

1,02

1

L1³L2

f6

-1,95

-3,02

-4,18

-5,22

-6,18

-2,79

-4,45

-7,02

-7,90

-12,15

C6

1,44

2,30

7,28

12,05

17,79

1,90

3,27

10,57

7,94

30,09

e

1,88

1,47

1,43

1,36

1,32

1,43

1,13

1,56

1,72

1,99

2

f6

3,90

3,02

3,21

3,01

2,83

5,36

4,19

8,03

8,78

9,17

C6

-2,85

-2,3

-16,87

-24,42

-34,55

3,79

-3,06

-29,75

-45,83

-79,02

e

-

-

1,16

1,17

1,12

-

-

0,47

0,58

0,86

3

f6

-

-

1,94

2,20

2,25

-

-

-0,23

1,48

5,13

C6

-

-

19,24

12,40

15,40

-

-

31,95

23,49

53,57

e

-

-

-

-

1,19

-

-

-

-

0,79

4

f6

-

-

-

-

2,27

-

-

-

-

2,25

C6

-

-

-

-

1,92

-

-

-

-

-15,80

e

0,56

0,53

0,49

0,47

0,46

0,83

0,96

0,97

1,010

1,02

1

f6

1,94

3,00

4,20

5,28

6,31

2,80

4,41

6,90

9,470

12,29

C6

0,26

0,62

2,50

5,27

9,72

0,19

0,54

1,91

4,340

9,48

e

1,88

1,47

1,43

1,36

1,32

1,43

1,13

1,56

1,720

1,99

2

L1<L2

f6

-3,88

-3,00

-3,26

-3,18

-2,72

-5,61

-4,11

-6,29

-6,600

-9,11

C6

-0,51

-0,62

-6,11

-10,89

-21,17

-0,36

-0,69

-7,19

-14,870

-31,17

e

-

-

1,16

1,17

1,12

-

-

0,47

0,580

0,86

3

f6

-

-

-1,85

-2,10

-2,02

-

-

1,54

0,016

0,64

C6

-

-

7,05

5,63

9,54

-

-

5,34

4,770

12,06

e

-

-

-

-

1,19

-

-

-

-

0,79

4

f6

-

-

-

-

-2,97

-

-

-

-

-2,26

C6

-

-

-

-

1,61

-

-

-

-

-3,63

7. КОЛЛЕКТОРЫ

7.1. Коллекторы под действием внутреннего давления

7.1.1. Расчетные схемы представлены на черт. 41, 42.

7.1.2. Расчетные формулы применимы при условии r/S17³5.

7.1.3. Цилиндрическая панель с боковыми стенками

7.1.3.1. Расчетная нагрузка от давления среды, приходящаяся на панель и боковые стенки

 где i=1, 2, 3;

Ki7 - коэффициент редукции (табл. 4), зависящий от отношения .

L7 - длина коллектора,

Таблица 4

K17,27

K37

1,0

0,312

0,000

1,0000

1,1

0,373

0,333

0,7520

1,2

0,433

0,500

0,4660

1,3

0,490

0,666

0,2680

1,4

0,541

1,000

0,0904

1,5

0,593

1,500

0,0223

1,6

0,637

2,000

0,0075

1,7

0,678

3,000

0,0015

1,8

0,715

¥

0,0000

1,9

0,748

-

-

2,0

0,778

-

-

3,0

0,939

-

-

4,0

0,985

-

-

5,0

0,996

-

-

¥

1,000

-

-

Цилиндрическая панель и боковые стенки

а) схема;

б) внутренние усилия

Черт. 41

Днище и цилиндрическая панель

Черт. 42

7.1.3.2. Вспомогательные величины

   где i=2, 3;

 

  

 

7.1.3.2.1. Расчетная длина боковой стенки

 для коллектора без боковых стенок.

В остальных случаях  i=2, 3.

7.1.3.3. Изгибающий момент и мембранное окружное усилие в среднем сечении панели

где  

Графики теоретических зависимостей  и  при L3=0, b2=1,0 представлены на черт. 43.

7.1.3.4. Изгибающий момент и мембранное окружное усилие в сечении jT=a7 цилиндрической панели

7.1.3.5. Изгибающий момент и мембранное усилие в сечении Х2=L27 боковой стенки

где

7.1.3.6. Изгибающий момент и мембранное усилие в сечении Х2=L37 боковой стенки

где

N3=N2.

Теоретические зависимости

Черт. 43

7.1.3.7. Критерий несущей способности

nT=1,5 в рабочих условиях;

nT=1,1 в режиме гидроиспытаний.

7.1.3.8. Критерий циклической прочности при j=a7, X2=L27, X3=L37.

 где i=1, 2, 3.

7.1.4. Днище коллектора

Расчетная толщина днища коллектора

 если S17>Sд

 если S17<Sд

nр=1,0 в рабочих условиях;

nр=1,4 в режиме гидроиспытаний.

7.1.5. Сопряжение днища с обечайкой

Критерий циклической прочности

где  - при одинаковых давлениях с обеих сторон днища,

 - при разных давлениях с обеих сторон днища.

7.2. Коллекторы под действием наружного давления

Расчет выполняется по ГОСТ 14249-80 для цилиндрических обечаек

8. КРЫШКИ

8.1. Расчетные схемы даны на черт. 44 - 45.

8.2. Расчетные схемы применимы при условиях

  

8.3. Толщина стенки сферической крышки, находящейся под действием внутреннего давления

8.4. Толщина стенки сферической крышки, находящейся под действием наружного давления, - по п. 1.6.

8.5. Толщина перегородки

 

8.6.1. Плита

8.6.1. Толщина плиты - по п. 1.6.

8.6.2. Напряжения среза в перемычке

8.7. Сопряжение крышки с кольцом

Критерий пологости оболочки

Критерий циклической прочности:

- для непологих оболочек

КРЫШКА

1 - плита; 2 - днище, 3 - перегородка, 4 - патрубок

Черт. 44

ПЛИТА

Черт. 45

 где

- для пологих оболочек

 где

где Т1, Т2, ,  - функции параметра  и их производные.

9. ПРОКЛАДКИ

9.1. Расчетная схема представлена на черт. 46.

9.2. Расчетные формулы применимы при условии

9.3. Расчет прокладок позволяет определить усилие на прокладке при затяжке стяжных болтов.

9.4. Усилие на прокладке определяется по характеристике прокладки (черт. 48) в зависимости от заданной осадки, величина которой определяется конструкцией герметизирующего узла (черт. 46).

9.5. Характеристика прокладки определяется экспериментально. Экспериментальные данные приведены в табл. 5. При отсутствии экспериментальных данных характеристика прокладки строится приближенно расчетным путем.

Черт. 46

Черт. 47

Характеристика прокладки ТПР-0,6 из резины марки 4326

Черт. 48

Таблица 5

Экспериментальные характеристики прокладок

Марка резины

Число прокладок

hnp, мм

V, мм

qo, Н/мм2

Lnp, мм

Резина 4326

56

5,60

2,20

126,0

6360

Резина 51-1481

5

6,00

2,10

62,7

760

Резина 4326 (клеевое крепление)

3

5,75

1,61

90,0

1000

Резина 4326 (концевая прокладка)

1

5,32

1,81

100,0

1000

Резина 4326

3

5,42

1,89

101,0

1000

Резина 51-1481

5

5,00

2,06

86,9

4420

Резина 51-1481 (крепление клеевое)

5

5,00

1,32

112,0

4420

9.6. Расчетная характеристика прокладки

Геометрические размеры прокладки

 

 

Линейные приращения размеров прокладки при изменении нагрузки на величину  и осадки на  определяются по формулам:

Интенсивность напряжений

Механические характеристики Eo, sпр, sо, Во, m определяются по деформационной кривой (черт. 47) для соответствующей марки резины.

Программа расчета характеристики прокладки дана в приложении 1

Порядок ввода исходных данных в программу следующий:

      а*, tgao, DV, snp, m, Bo, [V].

Выходные данные: q~qo,

9.7. Номинальное усилие на прокладке определяется по графику (черт. 49)

9.8. Номинальная осадка прокладки (черт. 48, 50, 51, 52)

Если характеристика герметичности (черт. 49) отсутствует, то V1=1,5 мм.

9.9. Дополнительная осадка , определяемая точностью изготовления, приведена на черт. 53.

9.10. Минимально допустимая осадка прокладки

9.11. Минимальное допустимое давление на прокладке (черт. 48, 50, 51, 52)

9.12. Вероятность разгерметизации аппарата

 

[y] - зона затухания корреляционной функции;

z - число некоррелируемых точек.

10. НЕСУЩАЯ СПОСОБНОСТЬ ГОФРИРОВАННЫХ ПЛАСТИН

10.1. Номинальная нагрузка

10.2. Расчетная нагрузка

10.3. Коэффициент неравномерности

10.4. Приведенная толщина гофрированной пластины (черт. 54)

10.5. Вероятный зазор между пластинами

10.6. Параметр значимости

10.7. Предельная распределенная нагрузка

10.8. Предельная нагрузка по условиям устойчивости боковой стенки

10.9. Деформации в точечном контакте определяются из уравнения

 либо по черт. 57.

Размер площадки нагружения Сг определяют из черт. 56 при заданных отношениях  и  где  сосредоточенная нагрузка на вершины гофр

Характеристика герметичности ТПР-06

1 - прокладка с пазом, крепление клеевое, резина 4326;

2 - прокладка без паза; крепление клеевое, резина 4326

Черт. 49

Разгрузочная характеристика прокладки без паза ТПР-0,6

Черт. 50

Разгрузочная характеристика прокладки с пазом ТПР-0,6

Черт. 51

Разгрузочная характеристика прокладки ТПР-1,3

Черт. 52

Вероятность дополнительной осадки

Черт. 53

10.10. Предельная нагрузка в точечном контакте (черт. 55)

10.11. Предельная нагрузка при линейном контакте

10.11.1. Ширину полосы контакта определяют из уравнения

10.11.2. Предельная нагрузка

11. СВАРНЫЕ СОЕДИНЕНИЯ ПЛАСТИН

11.1. Статические нагрузки (черт. 58)

11.1.1. Критические деформации

11.1.2. Критические напряжения

11.1.3. Критические нагрузки

 j=0,4,

для прямоугольных пластин f=2.

11.2. Циклическое нагружение (черт. 59)

11.2.1. Геометрические параметры

  

 i>2,

  i³2.

Треугольный профиль гофра

Черт. 54

Расчетная схема нагружения гофра (профиль треугольник-трапеция)

Черт. 55

Диаграмма предельной нагрузки

Черт. 56

Площадка нагружения и величина осадки гофра

Черт. 57

11.2.2. Напряжения на различных стадиях нагружения

 i=0, 1, 2,…, к

11.2.3. Условные напряжения

  

11.2.4. Амплитудные значения пульсирующих напряжений

 Кs=30.

Деформированное сварное соединение

Черт. 58

Схема пластины с ограничителем

Черт. 59

ПРИЛОЖЕНИЕ 1

Рекомендуемое

ПРОГРАММА РАСЧЕТА ПРОКЛАДКИ НА "НАИРИ-2"

i=3, а, н, р, м, о, у

1 Введем а1, а2, с, н12, е, в, ш, z, уо, у1, у2, у3

2 Вычислим о1= а1, о2= а2, u=c, р11, р22, s=е, g=0, r=0.

3 Допустим n=0

4 Вычислим d=8zc1s/(3(p1+p2)), м2=2dр2(8so1), м1=3dр1(8so1)

5 Вычислим o0=a0o2/o1, м=((o1+u)p1+(o2+u)p2-(o1+a0+u)(p11)-(c2+c0+u)(p22))/(p1+p212)

6 Вычислим o=o1+a0, o2=o2+o0, u=uTн0, р111, р222, m=в+р

7 Вычислим r=r+z, q=q+d,

8 если Lс£0 идти к 11

9 Вычислим t=LnL, s=exp(y1(Ln5+6Ln10)+(1-y1)t-Ln(y1y2)

10 идти к 12

11 допустим s=e

12 Вставим n=n+1

13 если n-10<0 идти к 17

14 печатаем с 4 Знаками г

15 печатаем c 4 Знаками q

16 идти к 18

17 если u-m<0 идти к 4

18 если u-m< 0 идти к 3

19 Вычислим t=o2

20 если t³0 идти к 25

21 если n-10<0 идти к 23

22 допустим n=0

23 Вычислим н0=0, d=8zo1s/(3(p1+p2)), a0=3d/(8s), м1=3dр1(8so1), м2=3dр2(8so1), o0=((o1+m)p1+(o2+m)m2-(o1+a0+m)(p1-м1))/(p2-м2)

24 идти к 6

25 допустим o=0

26 Вычислим н0=0, o0=0, d=8zo1s/(3(p1), м1=3dр1(8so1), м2=0, а0=(o1+m1/(p11)

27 Вычислим o1=o1+a0, p1=p1-м1, q=q+d,

28 Вычислим r=r+z

29 Вставим n=n+1

30 если Lo£0 идти к 33

31 Вычислим t=LnL, s=exp(y1(Ln5+6Ln10)+(1-y1)t-Ln(y1y2)

32 идти к 34

33 допустим s=e

34 Вычислим t=y3+10z

35 если n-1-<0 идти к 38

36 печатаем с 4 Знаками q r

37 идти к 39

38 если r-t£0 идти к 26.

39 если r-t£0 идти к 25

40 идти к 1

исполним 1

ПРИЛОЖЕНИЕ 2

Справочное

ТЕРМИНЫ И ИХ ОБОЗНАЧЕНИЯ

Термин и размерность

Обозначение

Расчетная нагрузка, МПа

P

Рабочая нагрузка, МПа

q

Длина прокладки, приходящаяся на рассматриваемую панель, мм

Ln

Площадь пластины, приходящаяся на рассматриваемую панель, мм

Fn

Погонная реакция на прокладку, Н/мм

qc

Расстояние между осями прокладок, мм

b1

Шаг установки стяжек, мм

t

Толщина крайней, промежуточной и средней панелей, мм

S1, S2, S3

Ширина крайней панели, мм

a4

Коэффициенты нагрузки

np, no

Высота, длина и толщина ребра промежуточной плиты, мм

H, L, h4

Толщины боковой, торцевой стенок и верхнего листа промежуточной плиты, мм

Sd, hm, Sв

Максимальная погонная нагрузка, действующая на ребро промежуточной плиты, Н/мм

Допускаемые напряжения при сжатии, МПа

[s]y

Коэффициент неоднородности материала

h

Длины участков нагружения и углы установки прокладок, мм, град

ao, a1, a2, a3, a6, a1, a2, a3

Коэффициент передачи нагрузки

f

Ширина прокладки, мм

D

Эксцентриситет нагрузки, мм

Сс

Длина косынки, мм

b4

Расстояние между косынками, мм

Lo

Коэффициент прочности сварного шва

j

Длина и толщина штанги, мм

L, Hш

Погонные весовые нагрузки, Н/мм

q1, q2

Вес нажимной и неподвижной плит, Н

Pн, Pн¢

Вес верхней штанги, Н

Pш

Реактивные силы и моменты, Н, Н×мм

RA, RB, MB, Mo, M

Длины участков приложения нагрузки, мм

L15 - L65

Положение болтов кропления штанги, мм

r15¢ - r65¢

Нагрузки в болтах крепления штанги, Н

P1 - P6

Допускаемые напряжения для материалов штанги и болта, МПа

[s]ш, [s]d

Пределы текучести материалов штанги, болта, накладок, МПа

sTш, sTd, sTн

Площадь сечения болта узла крепления штанги, мм2

Fd

Площадь, момент инерции сечения и статический момент получения штанги, мм2, мм4, мм3

Fш, Ix, Sx

Касательные усилия в сечении штанги, Н

T1 - T6

Толщины верхней и нижней накладок, мм

h1, h2

Толщина и высота ребра нижней накладки, мм

hp, Hp

Начальные толщины элементов коллектора, мм

So17, So27, So37, Sдо

Расчетные толщины элементов коллектора в конце срока службы, мм

S17, S27, S37, Sд

Угол и радиус цилиндрической панели, ряд, мм

a7, r

Угол установки боковых стенок, ряд

g

Момент сопротивления сварного шва, мм

Wc

Длина коллектора, мм

L7

Ширины элементов коллектора, мм

L17, L27, L37

Текущие значения координат элементов коллектора, мм

jT, X2, X

Коэффициенты редукции нагрузки

K17, K27, K37

Расчетное давление в коллекторе, МПа

q17, q27, q37

Перерезывающие силы и мембранные силы, Н/мм

Q1, Q2, Q3, N1, N2, N3

Высота днища, мм

a7

Эффективный коэффициент концентрации напряжений

Ks

Радиус, высота и угол крышки, мм, ряд

R, Z8, a8

Основные размеры плиты крышки, мм

D8, a8, b8, Ro, tn

Высота перегородки, мм

H8

Толщина сферической панели, плиты и перегородки, мм

S18, S28, SL

Бесселевы функции и их производные

T1, T2, T1¢, T2¢

Шаг гофрировки, толщина, радиус и осадка гофра, мм

tG, SG, RG, DG

Угол пересечения осей гофр и угол наклона боковой стенки гофра, ряд

b, aG

Предельная нагрузка, Н

Qn

Радиус круглой пластины, мм

Rn

Средний радиус сопряжения пластины, мм

rn

Высота шва, мм

Sш

Логарифмические и критические логарифмические деформации

e0,2, ekp

Условный предел текучести, МПа

s0,2

Расстояние между центрами стяжек крайних панелей, мм

bc

Погонная реакция на прокладку при затяжке, Н/мм

Poo, Po*, Po**, Po

Погонная реакция на прокладку в рабочем режиме, Н/мм

Popo, Pop*, Pop**, Pop

Среднеквадратическое отклонение толщины прокладки

si

Максимальное значение толщины прокладки, мм

hmax

Минимальное значение толщины прокладки, мм

hmin

Дополнительная осадка, мм

Вероятность дополнительной осадки

u

Жесткость плит, H-1мм-2

D

Податливости плит от действия погонной реакции прокладки, мм2/H

j13, j14, j24, j23, , , , , ,

Податливости плит от действия сосредоточенной реакции прокладки, мм/H

j12, j22

Податливости плит от давления среды, мм2/H

j13, j21, ,

Минимально допустимая осадка прокладки, мм

[V]

Минимально допустимое давление на прокладке, Н/мм

[qo]

Длина консольного участка плиты, мм

b6, b2

Относительная жесткость

d1

Относительная длина прокладки, приходящаяся на панель

K1

Номинальное усилие на прокладке, мм/H

qo¢

Номинальная осадка прокладки, мм

V1

Среднее значение толщины прокладки, мм

hicp

Длина коллекторных участков прокладки, приходящихся на промежуточную панель, мм

Ln¢

Моменты инерции сечений нажимной и неподвижной плит

L1, L2

Предел текучести, МПа

sT

Допускаемые напряжения при статическом и малоцикловом нагружении, МПа

[s],[sм]

Толщина плиты под опорной площадкой, мм

So

Внутренний и наружный радиусы шайбы, мм

r1, r2

Толщина шайбы, мм

d

Коэффициенты изгиба

m1, m2, m3, m4

Коэффициент Пуассона

n

Модуль Юнга, МПа

E

Нагрузки на болт от затяжки, внешней среды, температурного воздействия и суммарная, Н

Qo, Qн, Qt, Qp

Координаты точки, мм

X, У

Изгибающий момент, Н×мм

M

Момент сопротивления, мм3

W

Момент инерции, мм4

I

Толщины нажимных оребренных плит, мм

h1, h(1), h(2)

Толщина ребра и листа нажимной плиты, мм

Sp, S

Запасы прочности и устойчивости по пределу текучести

nT, ny

Параметр нагрузки

r

Габаритные размеры панели оребренной плиты, мм

a, b3, L1, Lk, L2

Приведенный габарит панели, мм

Lnp

Радиус окружности в плите, мм

r3

Радиус окружности, касающейся ребра, мм

r4

Коэффициент кривизны ребра

q

Угол установки ребра, град

Расстояние между ребрами, мм

B

Эффективная ширина плиты, мм

T

Межцентровое расстояние, мм

L4

Расчетное межцентровое расстояние, мм

b

Ширина листа плиты, мм

b2

Длина концевой прокладки, мм

Lnp

Площадь сечения сварного шва, мм2

Fc

Толщина и высота косынки, мм

hk, Cp

Катеты сварных швов, мм

hн, hc

Габаритные размеры кронштейнов, мм

ac, bc, dc

Вес промежуточной плиты, Н

Q

Габаритные размеры верхнего листа и стропового устройства, мм

ab, bb

Половина толщины планки, мм

Sb

Сумма прибавок и расчетным толщинам стенок, мм

C

Число болтов

Z

Внутренний диаметр стяжного болта, мм

d1

Коэффициенты распределения нагрузки

Ko, Kн,

Коэффициент И.И. Бобарыкова

X

Максимальное давление среды, МПа

qmax

Площадь пластины, мм2

Fпл

Податливости прокладок, стяжек и плиты, мм/Н

lnp, lk, lст, lQ, lq

Число прокладок

n

Запас плотности

m6

Температурные удлинения плит, прокладок, пластин и стяжек, мм

Dhпл(1), Dhпл(2), Dhпp, Dhk(1), Dhk(2), Dhп, DLст

Температуры и коэффициенты линейного удлинения плит, прокладок, пластин и стяжек, град, град-1

tпл(1), tпл(2), tпр, tk(1), tk(2), tn, tст, aпл(1), aпл(2), anp, an, aст

Температура монтажа аппарата, град

tс

Относительные нагрузки в основных и концевых камерах

Pj, P(1), P(11)

Давление в j-й и в концевых камерах, МПа

qj, q(1), q(11)

Площади концевых камер, мм2

Fk(1), Fk(11)

Диаметр стяжки, наружный диаметр резьбы, мм

d2, d

Толщины прокладок и пластин, мм

hnp, hn

Длины нарезанной, ненарезанной частей и суммарная длина стяжки, мм

L16, L26, Lст

Параметры характеристики прокладки, Н/мм

A, K

Эталонное значение осадки прокладки, мм

Vo

Параметры коэффициентов неравномерности распределения нагрузки

e, f6, C6

Статический момент сечения, мм3

Sn

Ширина сечения плиты в месте сварки, мм

bp

Размеры прокладки, мм

ав, ан, с(9), hн, hв

Параметры гнезда для прокладки

a*, ao

Интенсивности напряжений и деформаций, МПа

si, ei

Предел пропорциональности, МПа

snp

Параметры кривой деформирования, МПа

Bo, m, so

Коэффициент неравномерности контактного давления

y05

ИНФОРМАЦИОННЫЕ ДАННЫЕ

1. РАЗРАБОТАН И ВНЕСЕН УкрНИИхиммашем

ИСПОЛНИТЕЛИ

В.М. Долинский (руководитель темы), О.В. Смыслина, В.И. Черемская

2. УТВЕРЖДЕН УкрНИИхиммашем

ВДЕДЕН В ДЕЙСТВИЕ Письмом УкрНИИхиммаша

3. СРОК ДЕЙСТВИЯ НЕОГРАНИЧЕН

4. ВЗАМЕН РТМ 26-01-86-83

5. ССЫЛОЧНЫЕ НОРМАТИВНО-ТЕХНИЧЕСКИЕ ДОКУМЕНТЫ

Обозначение НТД, на который дана ссылка

Номер пункта, подпункта, перечисления, приложения

ГОСТ 14249-80

п. 1.1

ОСТ 26-11-04-84

п. 1.2

ГОСТ 25859-83

п. 1.3

ГОСТ 24755-81

п. 1.4.

ГОСТ 25221-82

п. 1.6

ГОСТ 14249-80

п.п. 1.6, 1.5

ОСТ 26-373-78

п. 1.7

СОДЕРЖАНИЕ

 




Яндекс цитирования



   Copyright © 2007-2026,  www.tehlit.ru.

[ ѓосты, стандарты, нормативы, инструкции, правила, строительные нормы ]