//
ТехЛит.ру
- крупнейшая бесплатная электронная интернет библиотека для "технически умных" людей.
WWW.TEHLIT.RU - ТЕХНИЧЕСКАЯ ЛИТЕРАТУРА

:: Алготрейдинг::


АЛГОТРЕЙДИНГ
шаг за шагом
с нуля по урокам!

Торговые роботы на PYTHON, BackTrader,
Pandas, Pine Script для TradingView. Связка с брокерами, телеграм и легкими приложениями.


СССР

РУКОВОДЯЩИЙ ДОКУМЕНТ

СОСУДЫ И АППАРАТЫ.

Метод расчета напряжений в месте пересечения патрубков с обечайками и днищами

РД 26-16-88

УТВЕРЖДАЮ

Начальник научно-технического

управления

О.В. Захаров

08.12.1988 г.

Дата введения 01.07.89

ЛИСТ УТВЕРЖДЕНИЯ

Сосуды и аппараты. Метод расчета напряжений в месте пересечения патрубков с обечайками и днищами

РД 26-16-88

Зам. директора ЛенНИИхиммаша                                                         И.И. Новиков

Зав. отделом стандартизации                                                                 Н.И. Бабенко

Зав. отделом прочности                                                                          Ю.Б. Яковлев

Руководитель темы и исполнитель, старший научный сотрудник     Г.И. Феденко

СОГЛАСОВАНО

Зам. директора НИИхиммаша                                                                В.В. Грязнов

СОГЛАСОВАНО

и.о. Зам. директора ВНИИнефтемаша                                                   В.П. Мишин

СОГЛАСОВАНО

Зам. директора УкрНИИхиммаша                                                         Л.П. Перцев

СОГЛАСОВАНО

Начальник отдела стандартизации                                                        Ю.О. Мухин

РУКОВОДЯЩИЙ ДОКУМЕНТ

СОСУДЫ И АППАРАТЫ

Метод расчета напряжений в месте пересечения патрубков с обечайками и днищами

РД 26-16-88

Дата введения 01.07.89

Настоящий руководящий документ устанавливает метод расчета напряжений в месте пересечения патрубков с обечайками, коническими переходами и днищами (коническими, эллипсоидными, сферическими) сосудов и аппаратов, применяемых в химической, нефтеперерабатывающей и смежных отраслях промышленности, работающих при постоянном и переменном статическом внутреннем давлении и отвечающих требованиям ГОСТ 14249-80 и ОСТ 26-291-87.

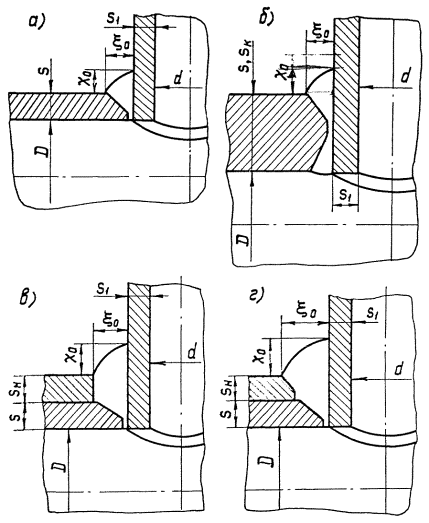
Сварные соединения патрубков с обечайками и днищами схематично показаны на черт. 1 - 6, а размеры сварных швов - на черт. 7.

Условные обозначения:

D - внутренний диаметр обечайки (днища), мм;

S - исполнительная толщина стенки обечайки (днища), мм;

с - сумма прибавок к расчетной толщине стенки обечайки, перехода, днища и патрубка, мм;

Sp - расчетная толщина стенки обечайки (днища), мм;

R - средний радиус обечайки (сферического днища), мм;

d - внутренний диаметр патрубка, мм;

S1 - исполнительная толщина стенки патрубка, мм;

Sp' - расчетная толщина стенки патрубка, мм;

r - средний радиус патрубка, мм;

d - отношение расчетной толщины стенки патрубка к расчетной толщине стенки обечайки (днища);

D1 - внутренний диаметр малой обечайки (центрального патрубка на коническом днище), мм;

Dk - внутренний диаметр конического перехода (конического днища) по центру отверстия, мм;

a - половина угла при вершине конического перехода (конического днища), угловой градус;

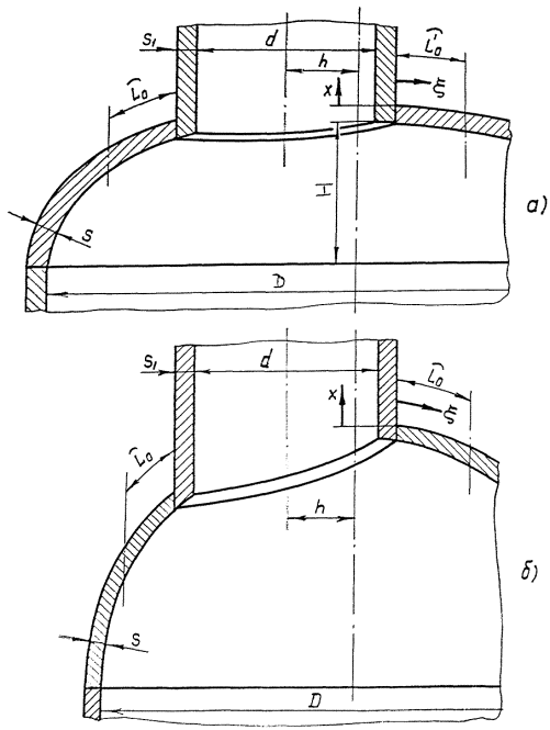
L1 - расстояние на коническом переходе (коническом днище) между патрубком и большой обечайкой, мм;

L2 - расстояние на коническом переходе (коническом днище) между патрубком и малой обечайкой, мм;

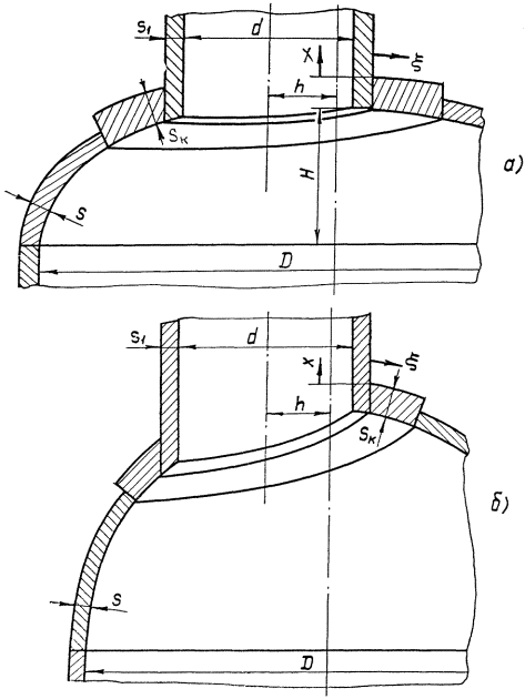
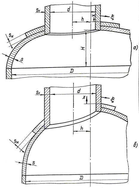
Н - внутренняя высота эллипсоидного днища, мм;

h - расстояние между осями эллипсоидного (сферического) днища и патрубка, мм;

Sн - исполнительная толщина накладного кольца, мм;

Sнp - расчетная толщина накладного кольца, мм;

Sk - исполнительная толщина вварного кольца, мм;

Skр - расчетная толщина вварного кольца, мм;

р - расчетное давление в сосуде или аппарате, МПа;

xо - размер сварного шва по обечайке (днищу) и накладному (вварному) кольцу, мм;

x - текущие координаты точек обечайки (перехода, днища) и накладного (вварного) кольца, мм;

s1 - осевое (меридиальные) напряжения обечайки (днища) или накладного (вварного) кольца, МПа;

s2 - окружные напряжения обечайки (днища) или накладного вварного кольца, МПа;

хо - размер сварного шва по патрубку, мм;

х - текущие координаты точек патрубка, мм;

s1' - осевые напряжения патрубка, МПа;

s2' - окружные напряжения патрубка, МПа;

N - ресурс (допускаемое число циклов) работы обечайки (днища);

Nk - ресурс работы накладного (сварного) кольца;

N1 - ресурс, работы патрубка.

Величину "с" определяет по ГОСТ 14249-60.

В расчетных формулах верхние знаки относятся к наружной, а нижние - к внутренней поверхностям элементов.

Соединение патрубка с обечайкой и комическим переходом (коническим днищем)

Черт. 1

Соединение патрубка с эллипсоидным и сферическим днищами

Черт. 2.

Соединение патрубка с вварным кольцом на обечайке и коническом переходе (коническом днище).

Черт. 3.

Соединение патрубка с вварным кольцом на эллипсоидном и сферическом днищах

Черт. 4.

Соединение патрубка с накладным кольцом на обечайке и коническом переходе (коническом днище)

Черт. 5.

Соединение патрубка с накладным кольцом на эллипсоидном и сферическом днищах

Черт. 6

Размеры сварных швов

Черт. 7.

1. НАПРЯЖЕНИЯ В МЕСТЕ ПЕРЕСЕЧЕНИЯ ПАТРУБКА С ОБЕЧАЙКОЙ

1.1. Область применения расчетных формул (черт.1а)

  

Расстояние Lo меду патрубком и другими концентраторами напряжений должно удовлетворять условию:

1.2. Вспомогательные величины:

Sp=S-C,   

   

  

1.3. Напряжения обечайки около патрубка (x=0)

1.4. Напряжения обечайки около сварного шва (x=xо)

1.5. Расчетные напряжения обечайки

.

1.6. Напряжения обечайки за сварным швом (x>xо)

.

1.7. Напряжения патрубка около обечайки (х=0)

.

1.8. Напряжения патрубка около сварного шва (х=хо)

.

1.9. Расчетные напряжения патрубка

.

1.10. Напряжения патрубка за сварным швом (х>хо)

2. НАПРЯЖЕНИЯ В МЕСТЕ ПЕРЕСЕЧЕНИЯ ПАТРУБКА С ВВАРНЫМ КОЛЬЦОМ НА ОБЕЧАЙКЕ

2.1. Область применения расчетных формул (черт. 3а)

 

 .

2.2. Вспомогательные величины

Skp=Sk-c,   

   

  

2.3. Напряжения кольца около патрубка (x=0)

.

2.4. Напряжения кольца около сварного шва (x=xо)

.

2.5. Расчетные напряжения кольца

.

2.6. Напряжения кольца за сварным швам (x>xо)

.

2.7. Напряжения патрубка около кольца (х=0)

.

2.8. Напряжения патрубка около сварного шва (х=хо)

.

2.9. Расчетные напряжения патрубка

.

2.10. Напряжения патрубка за сварным швом (х>хо)

3. НАПРЯЖЕНИЯ В МЕСТЕ ПЕРЕСЕЧЕНИЯ ПАТРУБКА С НАКЛАДНЫМ КОЛЬЦОМ НА ОБЕЧАЙКЕ

3.1. Область применения расчетных формул (черт. 5а)

 

 .

3.2. Вспомогательные величины

Sp=S-c, Sнр=Sн-с,  

 

 

  

3.3. Напряжения кольца около патрубка (x=0)

.

3.4. Напряжения кольца около сварного шва (x=xо)

.

3.5. Расчетные напряжения кольца

.

3.6. Напряжения обечайки около патрубка (x=0)

.

3.7. Напряжения обечайки около сварного шва (x=xо)

.

3.8. Расчетные напряжения обечайки

.

3.9. Напряжения кольца и обечайки за сварным швом (x>xо)

где для наружной поверхности кольца

В1=2no, В2=0,

для внутренней поверхности кольца

В1=2no, В2=0,

для наружной поверхности обечайки

В1=1-2no, В2=1,0,

для внутренней поверхности обечайки

В1=1-2no, В2=1,0, .

3.10. Напряжения патрубка около кольца (x=0)

.

3.11. Напряжения патрубка около сварного шва (х=хо)

.

3.12. Расчетные напряжения патрубка

.

3.13. Напряжения патрубка за сварным швом (х>хо)

4. НАПРЯЖЕНИЯ В МЕСТЕ ПЕРЕСЕЧЕНИЯ ПАТРУБКА С КОНИЧЕСКИМ ПЕРЕХОДОМ (КОНИЧЕСКИМ ДНИЩЕМ)

4.1. Область применения расчетных формул (черт. 1б)

 

 a£30°.

Положение патрубка относительно границ перехода (днища) определяется условиями

 .

Расстояния между патрубком и соседними концентраторами напряжений должны удовлетворять условиям

 

.

4.2. Вспомогательные величины

Sp=S-c,  

 

  

  

4.3. Напряжения перехода (днища) около патрубка (x=0)

.

4.4. Напряжения перехода (днища) около сварного шва (x=xо)

.

4.5. Расчетные напряжения перехода (днища)

.

4.6. Напряжения перехода (днища) за сварным швом (x>xо)

.

4.7. Напряжения патрубка около перехода (днища), (x=0)

.

4.8. Напряжения патрубка около сварного шва (х=хо)

.

4.9. Расчетные напряжения патрубка

.

4.10. Напряжения патрубка за сварным швом (х>хо)

5. НАПРЯЖЕНИЯ В МЕСТЕ ПЕРЕСЕЧЕНИЯ ПАТРУБКА С ВВАРНЫМ КОЛЬЦОМ НА КОНИЧЕСКОМ ПЕРЕХОДЕ (КОНИЧЕСКОМ ДНИЩЕ)

5.1. Область применения расчетных формул (черт. 3б)

 

 a£30°.

5.2. Вспомогательные величины

Sкр=Sк-c,  

 

  

  

5.3. Напряжения кольца около патрубка (x=0)

.

5.4. Напряжения кольца около сварного шва (x=xо)

.

5.5. Расчетные напряжения кольца

.

5.6. Напряжения кольца за сварным швом (x>xо)

.

5.7. Напряжения патрубка около кольца (х=0)

.

5.8. Напряжения патрубка около сварного шва (х=хо)

.

5.9. Расчетные напряжения патрубка

.

5.10. Напряжения патрубка за сварным швом (х>хо)

6. НАПРЯЖЕНИЯ В МЕСТЕ ПЕРЕСЕЧЕНИЯ ПАТРУБКА С НАКЛАДНЫМ КОЛЬЦОМ НА КОНИЧЕСКОМ ПЕРЕХОДЕ (КОНИЧЕСКОМ ДНИЩЕ)

6.1. Область применения расчетных формул (черт. 5б)

 a£30°;

.

6.2. Вспомогательные величины

Sр=S-c, Sнр=Sн-c,

 

 

  

 

6.3. Напряжения кольца около патрубка (x=0)

.

6.4. Напряжения кольца около сварного шва (x=xо)

.

6.5. Расчетные напряжения кольца

.

6.6. Напряжения перехода (днища) около патрубка (x=0)

.

6.7. Напряжения перехода (днища) около сварного шва (x=xо)

.

6.8. Расчетные напряжения перехода (днища)

.

6.9. Напряжения кольца и перехода днища за сварным швом (x>xо)

где для наружной поверхности кольца

 В2=0,

для внутренней поверхности кольца

 В2=0,

для наружной поверхности перехода (днища)

  

для внутренней поверхности перехода (днища)

  .

6.10. Напряжения патрубка около кольца (x=0)

.

6.11. Напряжения патрубка около сварного шва (х=хо)

.

6.12. Расчетные напряжения патрубка

.

6.13. Напряжения патрубка за сварным швом (х>хо)

7. НАПРЯЖЕНИЯ В МЕСТЕ ПЕРЕСЕЧЕНИЯ ПАТРУБКА С ЭЛЛИПСОИДНЫМ ДНИЩЕМ

7.1. Область применения расчетных формул (черт. 2а)

 

 H=0,25D.

Расстояния между патрубками и соседними концентраторами должны удовлетворять условиям

.

7.2. Вспомогательные величины

Sр=S-c,  

 

   

 

  

 

 

  

 

7.3. Напряжения днища около патрубка (x=0)

.

7.4. Напряжения днища около сварного шва (x=xо)

.

7.5. Расчетные напряжения днища

.

7.6. Напряжения днища за сварным швом (x>xо)

.

7.7. Напряжения патрубка около днища (х=0)

.

7.8. Напряжения патрубка около сварного шва (х=хо)

.

7.9. Расчетные напряжения патрубка

.

7.10. Напряжения патрубка за сварным швом (х>хо)

8. НАПРЯЖЕНИЯ В МЕСТЕ ПЕРЕСЕЧЕНИЯ ПАТРУБКА С ВВАРНЫМ КОЛЬЦОМ НА ЭЛЛИПСОИДНОМ ДНИЩЕ

8.1. Область применения расчетных формул (черт. 4а)

H=0,25D.

8.2. Вспомогательные величины

Sкр=Sк-c,  

 

   

 

  

  

 

   

8.3. Напряжения кольца около патрубка (x=0)

.

8.4. Напряжения кольца около сварного шва (x=xо)

.

8.5. Расчетные напряжения кольца

.

8.6. Напряжения кольца за сварным швом (x>xо)

.

8.7. Напряжения патрубка около кольца (х=0)

.

8.8. Напряжения патрубка около сварного шва (х=хо)

.

8.9. Расчетные напряжения патрубка

.

8.10. Напряжения патрубка за сварным швом (х>хо)

9. НАПРЯЖЕНИЯ В МЕСТЕ ПЕРЕСЕЧЕНИЯ ПАТРУБКА С НАКЛАДНЫМ КОЛЬЦОМ НА ЭЛЛИПСОИДНОМ ДНИЩЕ

9.1. Область применения расчетных формул (черт. 6а)

 

H=0,25D,  

9.2. Вспомогательные величины

Sр=S-c, Sнр=Sн-c,  ;

 

  ,

 ;

 ;  

 ;

 

;  

 

9.3. Напряжения кольца около патрубка (x=0)

.

9.4. Напряжения кольца около сварного шва (x=xо)

.

9.5. Расчетные напряжения кольца

.

9.6. Напряжения днища около патрубка (x=0)

.

9.7. Напряжения днища около сварного шва (x=xо)

.

9.8. Расчетные напряжения днища

.

9.9. Напряжения кольца и днища за сварным швом (x>xо)

.

где для наружной поверхности кольца

 В2=0,

для внутренней поверхности кольца

 В2=0,

для наружной поверхности днища

  

для внутренней поверхности днища

  .

9.10. Напряжения патрубка около кольца (х=0)

.

9.11. Напряжения патрубка около сварного шва (х=хо)

.

9.12. Расчетные напряжения патрубка

.

9.13. Напряжения патрубка за сварным швом (х>хо)

10. НАПРЯЖЕНИЯ В МЕСТЕ ПЕРЕСЕЧЕНИЯ ПАТРУБКА СО СФЕРИЧЕСКИМ ДНИЩЕМ

10.1. Область применения расчетных формул (черт. 2б)

  .

Расстояние между патрубком и соседними концентраторами напряжений должно удовлетворять условию

10.2. Вспомогательные величины

Sр=S-c,    

  

  

  

 

 

10.3. Напряжения днища около патрубка (x=0)

.

10.4. Напряжения днища около сварного шва (x=xо)

.

10.5. Расчетные напряжения днища

.

10.6. Напряжения днища за сварным швом (x>xо)

.

10.7. Напряжения патрубка около днища (х=0)

.

10.8. Напряжения патрубка около сварного шва (х=хо)

.

10.9. Расчетные напряжения патрубка

.

10.10. Напряжения патрубка за сварным швом (х>хо)

11. НАПРЯЖЕНИЯ В МЕСТЕ ПЕРЕСЕЧЕНИЯ ПАТРУБКА С ВВАРНЫМ КОЛЬЦОМ НА СФЕРИЧЕСКОМ ДНИЩЕ

11.1. Область применения расчетных формул (черт. 4б)

 

11.2. Вспомогательные величины

Sкр=Sк-c,    

  

  

  

 

 

11.3. Напряжения кольца около патрубка (x=0)

.

11.4. Напряжения кольца около сварного шва (x=xо)

.

11.5. Расчетные напряжения кольца

.

11.6. Напряжения кольца за сварным швом (x>xо)

.

11.7. Напряжения патрубка около кольца (х=0)

.

11.8. Напряжения патрубка около сварного шва (х=хо)

.

11.9. Расчетные напряжения патрубка

.

11.10. Напряжения патрубка за сверным швом (х>хо)

12. НАПРЯЖЕНИЯ В МЕСТЕ ПЕРЕСЕЧЕНИЕ ПАТРУБКА С НАКЛАДНЫМ КОЛЬЦОМ НА СФЕРИЧЕСКОМ ДНИЩЕ

12.1. Область применения расчетных формул (черт. 6б)

 

 

12.2. Вспомогательные величины

Sр=S-c, Sнр=Sн-c,  

  

 

 ;  

  

 

 

  

12.3. Напряжения кольца около патрубка (x=0)

.

12.4. Напряжения кольца около сварного шва (x=xо)

.

12.5. Расчетные напряжения кольца

.

12.6. Напряжения днища около патрубка (x=0)

.

12.7. Напряжения днища около сварного шва (x=xо)

.

12.8. Расчетные напряжения днища

.

12.9. Напряжения кольца и днища за сварным швом (x>xо)

где для наружной поверхности кольца

В1=2no, В2=0,

для внутренней поверхности кольца

В1=2no, В2=0,

для наружной поверхности днища

В1=1-2no, В2=1/2,

для внутренней поверхности днища

В1=1-2no, В2=1/2, .

12.10. Напряжения патрубка около кольца (х=0)

.

12.11. Напряжения патрубка около сварного шва (х=хо)

.

12.12. Расчетные напряжения патрубка

.

12.13. Напряжения патрубка за сварным швом (х>хо)

13. ОЦЕНКА РЕСУРСА РАБОТЫ КОНСТРУКЦИИ

13.1. Ресурсы (допустимые числа циклов) работы обечайки, перехода, днища (N), накладного или вварного кольца (Nk) и патрубка (N1) определяют по ГОСТ 25859-83 в зависимости от величин расчетных напряжений конструкции.

13.2. Из определенных чисел N, Nk, N1 наименьшее принимают за расчетный ресурс работы конструкции.

14. ИСПОЛЬЗОВАНИЕ МАШИННЫХ ПРОГРАММ

Для расчета напряжений узлов соединения патрубков с обечайками и днищами допускается использовать программы на ЭВМ, реализующие решение соответствующей задачи теории оболочек и принятые в государственный фонд алгоритмов и программ (ГФАП). При этом в пояснительной записке к расчету должны быть указаны наименование программы, авторы, организация-разработчик, организация-исполнитель и идентификатор программы в ГФАП.

15. ИСПОЛЬЗОВАНИЕ ОПЫТНЫХ ДАННЫХ

Для определения напряжений узлов соединения патрубков с обечайками и днищами допускается использовать экспериментальные методы и, в частности, метод фотоупругости.

ИНФОРМАЦИОННЫЕ ДАННЫЕ

РАЗРАБОТАН и ВНЕСЕН Министерством химического и нефтяного машиностроения СССР

ИСПОЛНИТЕЛИ               Г.И. Феденко, канд. техн. наук, ст. науч. сотр.; З.С. Кауфман, д-р. техн. наук; Ю.Б. Яковлев, канд. техн. наук

УТВЕРЖДЕН и ВВЕДЕН В ДЕЙСТВИЕ листом утверждения от 07.12.88

Сведения о сроках и периодичности проверки документа:

срок первой проверки 1994 г.,

периодичной проверки 1994 г.

ВЗАМЕН ОСТ 26-2096-83

ССЫЛОЧНЫЕ НОРМАТИВНО-ТЕХНИЧЕСКИЕ ДОКУМЕНТЫ

Обозначение НТД, на который дана ссылка

Номер пункта, подпункта, примечания, приложения

ГОСТ 14249-80

Введение

ОСТ 26-291-87

Введение

ГОСТ 25859-83

Пункт 13.1

УТВЕРЖДАЮ

Зам. директора ЛенНИИхиммаша

по научной работе

И.И. Новиков

23 марта 1988 г.

ПЛАН

организационно-технических мероприятий по внедрению РД "Сосуды и аппараты. Метод расчета напряжений в месте пересечения патрубков с обечайками и днищами"

Наименование мероприятия

Срок исполнения

Исполнитель

1. Размножение утвержденного РД

февраль 1989 г.

ЛенНИИхиммаш

2. Рассылка РД заинтересованным организациям (предприятиям)

март 1989 г.

ЛенНИИхиммаш

3. Применение требований РД в проектировании

с 01.07.89

Организации и предприятия отрасли

Зав. отделом прочности                                                                    Ю.Б. Яковлев

Зав. отделом стандартизации                                                           Н.И. Бабенко

Руководитель темы, старший научный сотрудник                         Г.И. Феденко

ПОЯСНИТЕЛЬНАЯ ЗАПИСКА

к проекту руководящего документа "Сосуды и аппараты. Метод расчета напряжений в месте пересечения патрубков с обечайками и днищами" (окончательная редакция, представляемая на утверждение)

1. Основание для разработки РД - письмо Главного технического управления №11-10-3/1017 от 11.11.86 "О мерах по доведению фонда стандартов и технических условий до мирового уровня" и письмо УкрНИИхиммаша №14-02-12121 от 23.12.86.

Проект РД соответствует техническому заданию, утвержденному Главным техническим управлением Минхиммаша 29.02.88.

2. Цель и задачи разработки

Целью разработки РД является создание нормативно-технического документа по расчету на прочность места соединения патрубков с обечайками и днищами с доведением его до мирового уровня.

Задачей разработки РД - уточнение формул для наибольших (расчетных) напряжений, приведение расчетных формул к более удобным и компактным выражениям без снижения их точности, расширение области применения расчетных формул, приведенных в действующем ОСТ 26-2096-83.

3. Характеристика объекта стандартизации

В настоящее время действует ОСТ 26-2096-83.

В окончательной редакции уточнены значения наибольших (расчетных) напряжений конструкции, упрощены формулы, приведенные в ОСТ 26-2096-83, без снижения точности и достоверности расчета по отношению к эксперименту.

Подробные примеры были приведены в пояснительной записке к первой редакции проекта РД.

4. Научно-технический уровень РД

Проект РД соответствует мировому уровню. Заключение о научно-техническом уровне РД прилагается.

5. Технико-экономическая эффективность от внедрения РД

Внедрение РД расширяет границы применимости расчетных формул и уточняет расчетные формулы, на основе чего снижается металлоемкость укрепления отверстий в сосудах и аппаратах на 15-20%, а использование упрощенных формул позволяет существенно снизить время выполнения расчета.

6. Внедрение, введение РД в действие (срок действия) и проверка РД

Предполагаемая дата введения РД в действие с учетом времени на выполнение плана основных мероприятий - 01.07.89.

Предполагаемый срок введения РД считаем обоснованным, так как он не требует какой-либо подготовки к освоению его требований в проектировании. РД предполагается ввести без ограничения срока действия как документ методического характера. Срок проверки РД целесообразно установить один раз в 5 лет и вносить в РД изменения по результатам вновь вводимых НТД, затрагивающих метод расчета или по результатам НИР, выполненных за указанный период.

7. Взаимосвязь с другими нормативно-техническими документами

РД взаимосвязан с ГОСТ 14249-80, ГОСТ 25859-83, ОСТ 26-291-87.

8. Сведения о рассылке на отзыв

Первая редакция проекта РД была разослана на отзыв в 14 организаций. Отзывы прислали 7 организаций. Из них замечаний по проекту РД не имеют 4 организации. Основное предложение остальных организаций - развитие п. 14 и введение п. 15 о возможности использования опытных данных при определении напряжений конструкции.

9. Сведения о согласовании

Проект РД подлежит согласованию с НИИхиммашем, УкрНИИхиммашем, ВНИИнефтемашем. Совещания с заинтересованными организациями не проводились, так как основные замечания и предложения разработчиком приняты и включены в окончательную редакцию проекта РД.

10. Источники информации

При разработке РД были использованы:

ОСТ 26-2096-83 "Сосуды и аппараты. Метод расчета напряжений в месте пересечения патрубков с обечайками и днищами".

Государственная система стандартизации, 1985.

Феденко Г.И. К расчету на прочность укрепления отверстий в цилиндрических обечайках сосудов и аппаратов// Химическое и нефтяное машиностроение.-1970.- №11.

Феденко Г.И. Концентрация напряжений и расчет укрепления отверстий в обечайках и днищах работающих под внутренним давлением// Проблемы прочности.-1971.-№5.

11. Исполнительные сведения

Дополнительных сведений не имеется.

Заместитель директора ЛенНИИхиммаша И.И.Новиков

Заведующий отделом стандартизации Н.И. Бабенко

Руководитель темы и исполнитель Г.И. Феденко

УТВЕРЖДАЮ

Директор НИИхиммаша

Н.М. Самсонов

17.02.88 г.

ЗАКЛЮЧЕНИЕ О НАУЧНО-ТЕХНИЧЕСКОМ УРОВНЕ РД

"Сосуды и аппараты. Метод расчета напряжений в месте пересечения патрубков с обечайками и днищами"

Оценка научно-технического уровня РД осуществляется на основе применения таблицы сравнения РД по РД 50-217-84 с базовым образцом ОСТ 26-2096-83.

Поскольку все относительные значения показателей больше 1, НТУ оцениваемого РД принимается выше базового. Кроме того, внедрение пересмотренного стандарта позволит снизить металлоемкость укрепления отверстий в сосудах и аппаратах на 15-20%, что в соответствии с постановлением ЦК КПСС и СМ СССР №773 от 07.08.85 так же повышает НТУ РД.

На основе вышеизложенного можно заключить, что пересмотренный РД будет соответствовать мировому уровню.

Зам. директора по научной работе ЛенНИИхиммаша И.И. Новиков


СВОДКА ОТЗЫВОВ

на первую редакцию проекта руководящего документа "Сосуды и аппараты. Метод расчета напряжений в мосте пересечений патрубков с обечайками и днищами"

Номер п/п

Номер раздела, подраздела, пункта, подпункта, приложения

Наименование министерства (ведомства), организации (предприятия), номер письма и дата

Замечание и (или) предложение

Заключение ведущей организации-разработчика

1

2

3

4

5

1

По проекту РД в целом

Северодонецкий филиал УкрНИИхиммаша, № 1206-22-2528 от 25.05.88.

Замечаний нет

Принято к сведению

2

 

Таллиннский машзавод, № 65-2955 от 24.05.88.

Замечаний нет

Принято к сведению

 

 

Уралхиммш, № 62-219 от 01.06.88.

Замечаний нет

Принято к сведению

 

 

Пензхиммаш, № 7989 от 01.07.88.

Замечаний нет.

Принято к сведению

Учесть дополнительные напряжения конструкции от разнородности сталей

Принято к сведению при очередном пересмотре РД

5

 

УкрНИИхиммаш, № 14-04-11428 от 25.05.88.

Уточнить область применения

Принято к сведению. Предложение касается разработки РД на укрепление отверстий в сосудах и аппаратах.

Замечания по оформлению

Принято.

6

 

МИСИ, № 306-56-794/7 от 27.05.88.

Ввести п. 15 о возможности использования опытных данных для определения напряжений конструкции.

Принято.

Рисунки расположены не в порядке их упоминания.

Отклонено. Проект РД оформлен в соответствии с гос. системой стандартизации.

7

Пункт 1.5.

 

Исключить п. 1.5, так как всегда s(0)>s(x).

Отклонено. В зависимости от размера сварного шва возможно как s(0)³>s(x) так и s(0) £s(x).

8

Пункт 7.2.

Уралхиммаш, № 62-219 от 01.06.88.

В формуле для t2 пропущен квадратный корень в знаменателе.

Принято.

9

Раздел 14.

ИркутскНИИхиммаш. № 12-2592 от 29.0.88

Следует продолжить фразой "... задачи теории оболочек, теории упругости или теории пластичности".

Принято к сведению. Это предложение учитывается словами "...соответствующей задачи теории оболочек ...", поскольку теория оболочек может быть основана либо на теории упругости, либо на теории пластичности - в зависимости от рода решаемой задачи.

Ввести согласование расчетов, выполненных по программам головной организации.

Принято к сведению. Расчетные формулы РД столь просты, что не требуют использования ЭВМ или каких-либо программ.

10

По пояснительной записке

МИСИ, № 306-56-794/7 от 27.05.88.

На рис. 7 - 18 следует перевести дюймы и фунты в систему СИ.

Отклонено. Текст зарубежного источника, используемого в качестве аргумента-подлиника, не должен искажаться, в том числе и переводом размерностей.

Вывод об уровне проекта РД следует сделать после научно-информационного поиска.

Принято к сведению. Научно-технический уровень проекта РД никак не уступает зарубежным нормативным материалам, так как разработан на основе современной теории оболочек и тщательно проверен многочисленными экспериментами (в том числе и зарубежными).

Заведующий отделом № 15 ЛенНИИхиммаша                                           Ю.Б. Яковлев

Руководитель темы и ответственный исполнитель                                   Г.И. Феденко




Яндекс цитирования



   Copyright © 2007-2026,  www.tehlit.ru.

[ ѓосты, стандарты, нормативы, инструкции, правила, строительные нормы ]