//
ТехЛит.ру
- крупнейшая бесплатная электронная интернет библиотека для "технически умных" людей.
WWW.TEHLIT.RU - ТЕХНИЧЕСКАЯ ЛИТЕРАТУРА

:: Алготрейдинг::


АЛГОТРЕЙДИНГ
шаг за шагом
с нуля по урокам!

Торговые роботы на PYTHON, BackTrader,
Pandas, Pine Script для TradingView. Связка с брокерами, телеграм и легкими приложениями.


КОМПЛЕКС АРХИТЕКТУРЫ, СТРОИТЕЛЬСТВА, РАЗВИТИЯ И РЕКОНСТРУКЦИИ ГОРОДА

ТЕХНОЛОГИЧЕСКИЙ РЕГЛАМЕНТ
производства строительно-монтажных работ
при возведении зданий и сооружений

06. ТЕПЛОИЗОЛЯЦИЯ СТЫКОВ НАРУЖНЫХ СТЕНОВЫХ ПАНЕЛЕЙ

ТР 95.06-99

МОСКВА-2000

Технологический регламент разработан по 11 видам производства строительно-монтажных работ, каждый из которых издан отдельным томом:

1. Строительство дорог из сборных железобетонных конструкций и монолитного бетона (ТР 95.01-99);

2. Монтаж наружных тепловых сетей с индустриальной теплоизоляцией (ТР 95.02-99);

3. Возведение свайных фундаментов (ТР 95.03-99);

4. Устройство дренажей (ТР 95.04-99);

5. Устройство рулонных и черепичных кровель (ТР 95.05-99);

6. Теплоизоляция стыков наружных стеновых панелей (ТР 95.06-99);

7. Герметизация стыков наружных ограждающих конструкций (ТР 95.07-99);

8. Монтаж внутренних сетей холодного и горячего водоснабжения (ТР 95.08-99);

9. Устройство полов (ТР 95.09-99);

10. Облицовка стен плитками (ТР 95.10-99);

11. Производство малярных фасадных работ (ТР 95.11-99).

Технологический регламент разработан ГУП "НИИМосстрой":

- Белоусов Е. Д., д.т.н., профессор, директор, тел. (095) 147-40-02

- Белавин Ф. С., к.т.н., зам. директора по научной работе

- с участием ГУ "Мосстройлицензия",

Емельянов Ю. П., руководитель ГУ

и ПКТИ "Промстрой" Едличка С.Ю., генеральный директор

Технологический регламент согласован с АО ХК "Главмосстрой", ОАО "Мосинжстрой", ГУ "Мосстройлицензия" ГУП "Мосстройсертификация" и утвержден Управлением экономической, научно-технической и промышленной политики в строительной отрасли.

Том 06 "Теплоизоляция стыков наружных стеновых панелей" ТР 95.06-99 разработан лабораториями герметизации и теплозвукоизоляции ГУП "НИИМосстрой":

- Файфман Е. Ф., зав. лабораторией; тел. (095) 147-44-84;

- Румянцева И. А., к.т.н. зав. лабораторией; тел. (095) 147-43-09;

- Коротаев А. Н., старший научный сотрудник.

СОДЕРЖАНИЕ

 

Правительство Москвы Комплекс архитектуры, строительства, развития и реконструкции города

Технологический регламент производства строительно-монтажных работ при возведении зданий и сооружений
06. Теплоизоляция стыков наружных стеновых панелей

ТР 95.06-99

I. ОБЩИЕ ПОЛОЖЕНИЯ

1. Настоящий регламент распространяется на производство работ по заделке стыков стеновых панелей, оконных и дверных блоков методом напыления однокомпонентных пенополиуретановых композиций типа: "Вилан-405" (ТУ 2254-204-21081385-96), "Полимерфлекс" (ТУ 5768-001-13148788-97), "Макрофоам" (ТУ 2384-001-40135336-98), "Макрофлекс" и др. и утеплению вертикальных и горизонтальных стыков термовкладышами.

2. Регламент содержит описание технологического процесса, его основные параметры, используемые материалы, инструменты, приспособления, средства механизации, а также основные правила техники безопасности.

3. Регламент составлен на основании требований СНиП 3.03.01-87 "Несущие и ограждающие конструкции", ВСН 19-95 "Инструкция по технологии заделки стыковых соединений панелей наружных стен жилых домов и зданий соцкультбыта", ВСН 68-97 "Инструкция по теплоизоляции стыков по контуру оконных и дверных блоков наружных стеновых панелей жилых и общественных зданий методом напыления однокомпонентной пенополиуретановой системы "Вилан-405", ВСН 54-96 "Инструкция по технологии герметизации и теплоизоляции стыков панелей, оконных и дверных блоков с применением "Макрофлекса" в жилых домах при ремонте".

4. Регламент содержит контролируемые параметры, объем контроля, методы и средства контроля, состав и содержание производственного контроля, а также обязательные организационно-технологические правила, соблюдение которых при заделке стыков обеспечивает требуемое их качество.

Разработан: НИИМосстроем

Утвержден:

Начальник Управления экономической, научно-технической и промышленной политики в строительной отрасли

А. И. Воронин

Дата введения в действие:

"30" июня 2000 г.

II. ТЕХНОЛОГИЧЕСКИЙ РЕГЛАМЕНТ

№№ п.п.

Наименование технологического процесса

Состав процесса

Основные параметры процесса

Используемые материалы

Инструменты, приспособления, средства механизации

Подготовительные работы

1.

Грунтовка поверхностей панелей, образующих стык

Грунтовка наносится в заводских условиях сплошной непрерывной пленкой кистью на поверхности, образующие стык.

Температура нанесения грунтовочного состава не ниже +15°С

Грунтовочные составы: 51-Г-18 (ТУ 5772-028-04001232-96)

Кисть-ручник КР-35

2.

Подготовка поверхностей

Очистить грани панелей от пыли, раствора и других загрязнений, а в зимнее время от снега и наледи. После дождя поверхности стыка следует вытереть сухими чистыми обтирочными концами и просушить путем продувки сжатым воздухом

Температура не ниже -20°С при отсутствии атмосферных осадков

Концы обтирочные

Кисти, щетки, волосяные, шпатели универсальные

Вспомогательные работы

3.

Изготовление однокомпонентных пенополиуретановых систем и заполнение ими баллонов

Изготовление однокомпонентных систем производится в соответствии с "Технологическим регламентом" на конкретный тип пенополиуретановой системы и ВСН 66-87 "Инструкция по теплоизоляции стыков по контуру оконных и дверных блоков наружных стеновых панелей жилых и общественных зданий методом напыления однокомпонентной пенополиуретановой системы "Вилан-405".

 

 

 

4.

Изготовление утепляющего вкладыша

Изготовление утепляющего вкладыша в соответствии с "Технологическим регламентом на изготовление герметизирующего и утепляющего вкладыша и ТУ 400-2-440-88 "Герметизирующий и утепляющий вкладыш (УП-1, УП-2)"

 

 

 

Основные работы

5.

Теплоизоляция стыков панелей наружных стен

Одним из вариантов теплоизоляции является заделка стыков панелей наружных стен. Производится однокомпонентными пенополиуретановыми системами. Перед непосредственным заполнением стыка проверяют первые порции вспенивающейся композиции. Заполнение стыков производят путем напыления в них пенополиуретановой системы с предварительным тщательным взбалтыванием ее установкой шланга на баллон в положении "дном вверх". В металлическом 5-литровом баллоне открывают шаровой вентиль на баллоне. Шаровой вентиль на конце шланга должен быть в этот момент закрыт. Сопло вставляют в стык, после чего открывают шаровой вентиль в аэрозольных стандартных баллонах или на конце шланга в 5-ти литровом баллоне и ведут с равномерной скоростью. Скорость движения и диаметр сопла подбирает оператор. Происходит вспенивание и отверждение вспенивающейся композиции в стыке. Не рекомендуется выход пенопласта за наружную полость стыка и обрезка его. Необходимо обеспечить сохранность поверхностного защитного слоя

с наружной стороны стыка. С наружной стороны на напыленный ПНУ для защиты от атмосферных воздействий наносятся при температуре не ниже +2°С силиконовые герметики, при более низких температурах используются акриловые герметики.

Отверждение пенополиуретановых систем происходит под воздействием влаги воздуха или воды в течение 20-30 мин., окончательное отверждение завершается не более, чем за 12 часов при Т отверждения до - 5°С

Пенополиуретановые системы типа "Вилан-405" (ТУ 2254-204-21081385-96), Полимерфлекс (ТУ 5768-001-13148788-97),

Макрофоам (ТУ 2384-001-40135336-98), монтажные пены типа "Макрофлекс"

Металлические 5-ти литровые газовые баллоны, рассчитанные на давление 1,6 МПа (ГОСТ 15860). Аэрозольные стандартные баллоны емкостью от 0,75 л.

6.

Заделка стыков оконных и дверных блоков

Утепление стыков можно производить в заводских (стационарных) и построечных условиях. При утеплении стыков в заводских условиях целесообразно использовать "Вилан-405", который поставляется в газовых баллонах, отличающихся от аэрозольных большей емкостью. Поставка "Вилан-405" производится в основном в пятилитровых баллонах по ГОСТ 15860, рассчитанных на давление 1,6 МПа (16 кгс/см2).

При заделке стыков в построечных условиях используют однокомпонентные пенополиуретановые системы типа "Полимерфлекс", "Макрофоам", "Экостандарт", "Гулливер", "Хикон" в аэрозольных баллонах емкостью 0,5; 0,75; 1,0 л. Подача пены производится через сопло (трубку-адаптер) либо через монтажный пистолет.

Заполнение стыков пенополиуретановой системой производят с внутренней стороны стыка после установки в панель оконного (дверного) блока и закрепления его с внутренней стороны панели.

До проведения работ по напылению пенополиуретановых композиций стык с наружной стороны заделывается нетвердеющей мастикой типа Бутэпрол, толщиной не более 5 мм либо компрессионной саморасширяющейся лентой ПСУЛ с заведением ее на глубину не менее 5 мм. Допускается при температуре не ниже +2°С вместо установки Бутэпрола и саморасширяющихся лент герметизировать стыки с наружной стороны водными либо многофункциональными силиконовыми герметиками толщиной не более 3 мм. При температуре ниже +2°С наносится слой тиоколового герметика толщиной не более 3 мм. Нанесение этих герметиков производится после выполнения операций по напылению. Заполнение стыка однокомпонентными ППУ производят не менее, чем на 1/3 его объема в летний период и чуть более 1/2 - в зимний период (в заводских условиях). При длительном хранении баллонов и снижении кратности вспенивания композиции возможно заполнение стыка на 2/3 его объема. С внутренней стороны (со стороны помещения) стыки для обеспечения высокого сопротивления паропроницанию загерметизировать полиэтиленовым уплотнительным шнуром из

Вилатерма и силиконовым герметиком, либо установить пароизоляционную уплотнительную ленту (ПУЛ). Допустимы и другие варианты обеспечения требуемого сопротивления паропроницаемости, в том числе с применением наличника из ПВХ с плотным его примыканием к поверхности откоса и профиля коробки. После заполнения полости с внутренней стороны стыка прибивается наличник.

 

 

 

7.

Утепление горизонтальных стыков

Утепление горизонтальных стыков производится с помощью теплоизоляционных вкладышей из минваты, оклеенных с 4-х сторон бутеролом, полиэтиленовой пленкой или стеклотканью с применением клея типа КН-2 и/или из пенополистирола. Теплоизоляционный вкладыш помещают между торцами панелей перекрытия и наружными стенами. Наращивание вкладышей из минваты по длине осуществляют, вставляя каждый последующий вкладыш в соединительный напуск защитной оболочки предыдущего вкладыша.

Температура не ниже -20°С при отсутствии атмосферных осадков

Герметизирующий утепляющий вкладыш (УП-1 УП-2) ТУ 400-2-440-88

 

8.

Утепление вертикальных стыков

Утепление вертикальных стыков производится с помощью теплоизоляционных вкладышей из минваты, обернутых стеклотканью. Вкладыш помещают в колодец и плотно прижимают к бетонным поверхностям и воздухозащитной ленте на клее типа КН-2, который наносится на воздухозащитную ленту и боковые стенки колодца. Установленные вкладыши должны плотно прилегать к поверхностям колодца по всей высоте стыка. В местах стыкования теплоизоляционных пакетов между ними не должно быть зазоров.

 

 

 

III. СДАТОЧНО-ПРИЕМОЧНЫЕ ИСПЫТАНИЯ

1. Напыленные композиции должны обеспечить равномерное заполнение стыка на всю длину и глубину. В оконных, дверных блоках допускается с внутренней стороны стыка оставить незаполненный зазор, если его глубина со стороны наличника не превышает 10 мм. С наружной стороны стыки должны быть заделаны нетвердеющими мастиками и зачеканены полимерцементным раствором, если величина зазора (с наружной стороны) между стеновой панелью и оконным (дверным) блоком превышает 20 мм.

2. Геометрические размеры теплоизоляционных вкладышей должны соответствовать размерам утепляемых стыков и плотно без зазоров прилегать к их поверхностям. В местах соединения теплоизоляционных вкладышей не должно быть зазоров.

IV. ОСНОВНЫЕ ПРАВИЛА БЕЗОПАСНОСТИ

1. При производстве работ по теплоизоляции стыков должны соблюдаться требования СНиП III 4-80* "Техника безопасности в строительстве", "Правила пожарной безопасности при производстве строительно-монтажных работ" (утвержденных ГУПО МВД СССР 26.02.86г.).

2. Перед началом работ по теплоизоляции стыков на строительной площадке должны быть вывешены плакаты и предупредительные надписи, разъясняющие безопасные приемы выполнения работ.

3. Теплоизолировщики должны:

а) быть обучены безопасным и прогрессивным приемам выполнения соответствующих операций технологического цикла;

б) иметь наряд-допуск на производство теплоизоляционных работ.

4. Исходные компоненты однокомпонентных систем "Вилан-405", Полимерфлекс, Макрофоам и монтажных пен типа "Макрофлекс" представляют собой вязкую токсичную жидкость. Под влиянием влаги воздуха происходит реакция полимеризации с образованием малотоксичного полимера - пенополиуретана.

5. Для предотвращения искрообразования запрещается вскрывать металлическую тару с клеями, растворителями или ЛВЖ, ударяя по ней стальными предметами. Открывать тару следует не искрящим бронзовым инструментом или деревянной конопаткой.

6. Пустую тару из под клея и растворителей запрещается оставлять на перекрытии или в будке герметчиков ввиду ее взрыво- и пожароопасности.

7. Запрещается использовать баллоны, а также держать пустые баллоны при открытом огне и температуре выше +50°С.

8. При подготовке исходных компонентов, заполнении баллонов и напылении должны быть предусмотрены меры, обеспечивающие безопасные условия труда, т. к. эти процессы могут сопровождаться загрязнением воздуха за счет испарения токсичных веществ.

9. Работы по заполнению баллонов "Вилан-405" должны производиться в отдельном помещении, оборудованном эффективной приточно-вытяжной вентиляцией, обеспечивающей содержание вредных веществ, выделяющихся в воздушную среду в ходе технологического процесса, в пределах ПДК.

10. При заделке стыков оконных и дверных блоков в заводских условиях работы по напылению пенополиуретановых композиций производят на отделочных конвейерах, снабженных местной вытяжной вентиляцией.

11. При перерывах в работе с герметиком более, чем на 15-30 мин. сопло и вентиль необходимо очистить от остатков герметика.

12. К работам по заполнению баллонов исходными компонентами и нанесению пенополиуретановой композиции допускают лиц, достигших 18-летнего возраста, прошедших инструктаж по технике безопасности и ознакомленных с санитарными требованиями и с основными свойствами пенопласта, а также с мерами пожарной безопасности.

13. Все работающие должны быть обеспечены хлопчатобумажной спецодеждой, защитными очками и резиновыми перчатками (тип 1 по ГОСТ 20010-74).

14. При попадании пенополиуретана в глаза они должны быть немедленно промыты водой или 1-3 % раствором поваренной соли.

15. Свежие пятна "Макрофлекса" легко удаляются растворителем типа ацетона, а отверждающая пена - механическим путем.

16. Запрещается прием пищи и курение в производственных помещениях и на участках хранения компонентов.

17. Перед курением и приемом пищи необходимо тщательно мыть руки теплой водой с мылом.

18. Производственные помещения должны быть обеспечены противопожарным оборудованием и средствам пожаротушения. При горении системы выделяются токсичные вещества, поэтому при возникновении пожара пламя необходимо тушить водой, обязательно применяя при этом противогазы фильтрующие марки "БКФ" или изолирующие, т. к. при горении и разложении пенополиуретана выделяются хлор- и фосфорсодержащие соединения, окись углерода, пары изоциантов, цианистый водород и другие токсичные пары и газы.

19. Электрооборудование будки герметчиков должно быть заземлено. Включать и выключать его разрешается только дежурному электрику.

Рис. 1 Заделка горизонтального "открытого" стыка

1 - панели наружных стен;

2 - покрытие грунтовочным составом;

3 - герметизирующий и утепляющий вкладыш;

4 - утепляющий вкладыш.

Рис. 2 Заделка вертикального "открытого" стыка

1 - панель внутренней стены;

2 - цементный раствор;

3 - слив из алюминия в местах пересечения вертикальных и горизонтальных стыков;

4 - панели наружной стены;

5 - утепляющий вкладыш;

6 - воздухозащитная лента на клее;

7 - водоотбойная лента;

8 - покрытие грунтовочным составом.

Рис. 3 Заделка горизонтального закрытого стыка:

1 - поверхности панелей наружных стен, покрытые грунтовочным составом;

2 - уплотняющая прокладка "Вилатерм";

3 - вулканизующийся герметик.

Рис. 4 Заделка вертикального закрытого стыка:

1 - вулканизующийся герметик;

2 - "Вилатерм", установленный "насухо";

3 - панели наружной стены;

4 - поверхности, покрытые грунтовочным составом;

5 - "Вилатерм", установленный на клее;

6 - воздухозащитная лента на клее;

7 - утепляющий вкладыш.

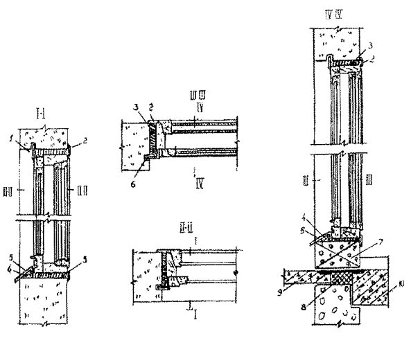
Рис. 5 Пример теплоизоляции оконных и балконных блоков с использованием пенополиуретановых пен

1 - деревянный штапик; 2 - наличник; 3 - монтажная пена; 4 - деревянный клин; 5 - фартук из кровельного железа; 6 - профрезерованная щель; 7 - ячеистобетонные блоки мелкой резки; 8 - утеплитель; 9 - балконная плита; 10 - плита перекрытия.




Яндекс цитирования



   Copyright © 2007-2026,  www.tehlit.ru.

[ ѓосты, стандарты, нормативы, инструкции, правила, строительные нормы ]