ПРАВИЛА ВНЕСЕНИЯ ИЗМЕНЕНИЙ
В РАБОЧУЮ ДОКУМЕНТАЦИЮ
ПРИ ПРОЕКТИРОВАНИИ АС
РД
210.002-89
УТВЕРЖДАЮ
Директор института
"Атомэнергопроект"
В.И. Курочкин
РУКОВОДЯЩИЙ ДОКУМЕНТ
|
ПРАВИЛА
ВНЕСЕНИЯ ИЗМЕНЕНИЙ
В РАБОЧУЮ ДОКУМЕНТАЦИЮ ПРИ
ПРОЕКТИРОВАНИИ АС
|
РД 210.002-89
Введен
впервые
|
Дата
введения с 01.02. 1990 г.
Настоящий
руководящий документ устанавливает требования к внесению изменений в рабочую
документацию в процессе проектирования и строительства отечественных и зарубежных
АС (включая авторский надзор) и не распространяется на порядок изменения
документации АС, находящихся в эксплуатации.
Руководящий
документ разработан на основании и в дополнение ГОСТ 21.201-78 "Правила
внесения изменений в рабочую документацию" и ГОСТ
21.901-80 "Требования к оформлению проектной документации для
строительства за границей".
1.1.
Разрешение на внесение изменений оформляют:
для
внесения изменений в подлинник документа - в проектной организации - держателе
подлинников документа (обязательное приложение 1);
для
внесения изменений в копии документа на площадке строительства АС (с
последующим утверждением и внесением этих изменений в подлинник) - в группе
авторского надзора (ГАН) (обязательное приложение 2).
1.2.
Разрешение выполняют:
для
внесения изменений в подлинник документа - в двух экземплярах;
для
внесения изменений в копии документа на площадке строительства - в трех
экземплярах.
1.3. Разрешение
оформляют необходимыми подписями. Один экземпляр используют для получения
подлинников документов из технического архива. Другие экземпляры используют при
внесении изменений и нормоконтроле внесенных изменений.
1.4.
При обозначении разрешения на внесение изменений в группе авторского надзора
используют аббревиатуру "ГАН", которую добавляют к порядковому номеру
разрешения по книге регистрации разрешений ГАН, например: 15 ГАН-89.
1.5.
Два экземпляра разрешения ГАН в течение двух недель со дня подписания
руководителем ГАН направляют в проектную организацию - держатель подлинников
документа для утверждения разрешения и внесения изменений в подлинники.
1.6.
Разрешение на внесение изменений ГАН регистрируют в книге регистрации
разрешений проектной организации под тем же обозначением, которое ему присвоено
в ГАН.
2.1.
Внесение изменений осуществляют в соответствии с технологической схемой
внесения изменений, приведенной в справочном приложении 3.
2.2.
Для внесения изменений используют:
при
внесении изменений в документ, выполненный на бумаге - тушь или пасту черного
цвета;
при
внесении изменений в документ, выполненный на кальке - тушь черного цвета.
2.3.
Изменения и участки обозначают арабскими цифрами.
2.4.
Если новое изображение невозможно поместить рядом с измененным участком и его
помещают в другой части листа, отделенной от изменяемого участка изображением
или текстом, новому изображению присваивают очередной порядковый номер участка
по данному листу; при этом под обозначением нового изображения или рядом с ним
помещают надпись: "Взамен перечеркнутого - см. участок ...", а под
обозначением перечеркнутого участка или рядом с ним пишут: "См. участок
...".
2.5. Если
новое изображение помещают на другом листе документа, его нумеруют как
очередной участок этого листа по данному изменению; при этом под обозначением
нового изображения или рядом с ним пишут: "Взамен перечеркнутого на листе
... - см. участок ...", а под обозначением изменяемого участка или рядом с
ним делают запись:
"См.
лист .... участок ...".
2.6.
При внесении изменений в таблицы, содержащие большое количество строк и граф,
изменяемые величины, знаки, формулы, размещаемые в строках и графах таблицы, допускается
не обводить сплошной тонкой линией, а отмечать изменяемые величины точками,
которые соединяют с обозначением изменяемого участка, находящегося за пределами
таблицы, прямой тонкой линией (чертеж).

Чертеж
2.7.
При внесении изменений в текст документа в начале или в конце каждой строки, в
которой есть изменения, в параллелограмме указывают номер участка изменения;
линии от параллелограмма к изменяемому участку допускается не проводить.
2.8.
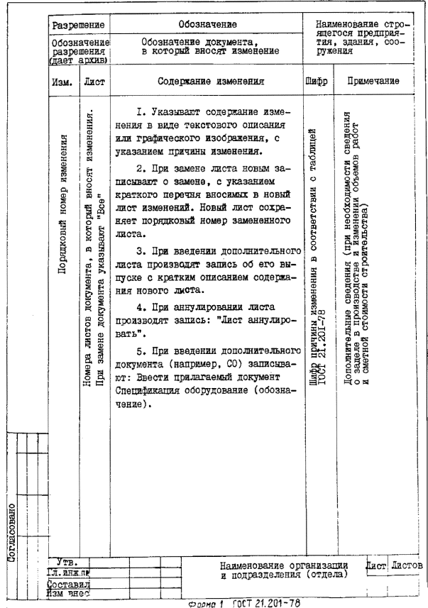
Для отечественных объектов изменения, внесенные в документ, регистрируют в
таблицах изменения по формам 1 и 2 обязательного приложения 4: на титульных
листах, на первых листах общих данных, на других первых листах документов - по форме
1; на остальных листах - по форме 2.
Примечание. Порядок расположения подписей "Нач. отд", "Гл.
специалист" определяется проектной организацией.
2.9.
Для зарубежных объектов изменения, внесенные в документ, регистрируют в
таблицах изменений по формам 1, 2 и 3 обязательного приложения 4: на отрезной
части титульных листов, первых листов общих данных, других первых листов
документов - по форме 1; на отрезной части других изменяемых листов - по форме
2; на поле изменяемого чертежа или листа текстового документа, а также первого
листа общих данных - по форме 3.
2.10.
Таблицу изменений на первых листах документов выполняют при любом изменении
документа, независимо от того, касается ли это изменение самого первого листа
или какого-либо другого листа этого документа.
2.11.
В графах таблицы изменений указывают:
в
графах "Изм.", "Лист" и № док." - сведения в
соответствии с ГОСТ 21.201-78;
в
графе "№ уч." - общее количество участков изменения на данном листе
под соответствующим номером изменения;
в
остальных графах - подписи лиц, выполняющих соответствующие функции.
2.12.
Допускается использование иного способа внесения изменений по сравнению с указанным
в разрешении (например, замена вместо исправления и т.д.), если в процессе
внесения изменений выявляется целесообразность использования другого способа.
3.1.
При замене всех листов основного комплекта на вновь выпущенном листе общих
данных в ведомости рабочих чертежей основного комплекта, в графе
"Примечание" никаких указаний не делают.
3.2.
При внесении изменений (изменения, замена, дополнение и т.д.) в отдельные листы
основного комплекта в виде текстового документа (кабельные журналы, перечни
монтажных единиц и т.п.), где в ведомости рабочих чертежей записывают не каждый
лист самостоятельно, а группы листов, объединенные каким-либо признаком
(например, 2.1 ... 2.15 - 1 система безопасности; 3.1 ... 3.24 - 2 система
безопасности и т.д.), в графе "Примечание" ведомости рабочих чертежей
делают ссылку на номер пункта общих указаний, в котором содержится информация
об изменениях в данной группе листов, например, "См. общие указания
п.3".
В соответствующем
пункте общих указаний приводят сведения о листах, в которые внесены изменения.
Этот пункт оформляют как участок изменения.
3.3.
При аннулировании или выпуске дополнительных листов в графе 8 основной надписи
по ГОСТ 21.103-78 "Основные надписи" исправляют общее количество
листов без обозначения изменения.
3.4. При выпуске дополнительных (отсутствовавших ранее)
прилагаемых документов (например, спецификация оборудования) их вписывают в
продолжение ведомости ссылочных и прилагаемых документов, в раздел
"Прилагаемые документы", где в графе "Примечание" указывают
номер изменения с пометкой "Нов", например, "Изм.1 (нов)".
При
недостатке места для продолжения ведомости ссылочных и прилагаемых документов
выпускают новый лист - продолжение листа общих данных, на котором размещают
продолжение ведомости. При этом делают запись о продолжении ведомости ссылочных
и прилагаемых документов по аналогии с записями по ГОСТ 21.201-78, п. 3.11.
3.5.
Изменения в ведомости ссылочных и прилагаемых документов, указанное в п. 3.4 в
таблице изменений на листе общих данных не учитывают и не обозначают.
3.6.
На дополнительных прилагаемых документах (см. п. 3.4) таблицу изменений не
заполняют.
3.7.
При внесении значительных изменений в спецификации для заказа оборудования и
материалов по зарубежным объектам их перепечатывают.
На
титульном листе новой спецификации выполняют таблицу изменений по форме 3, где
в графе "Лист" указывают "Все". На отрезной части
титульного листа выполняют таблицу изменений по форме 1.
На
титульном листе старой спецификации архив ставит штамп "Аннулирован"
по ГОСТ
21.203-78.
Если
подлинники спецификации хранят россыпью, то на последующих листах новой
спецификации размещают таблицу изменений по форме 3, где в графе
"Лист" пишут "Зам"; на отрезной части последующих листов
выполняют таблицу изменений по форме 2, где в графе "Лист" пишут
"Зам"; на последующих листах старой спецификации в архиве ставят
штамп "Аннулирован" по ГОСТ
21.203-78.
Внесение
единичных (не более одного на лист) изменений в архивный экземпляр спецификации
выполняют её разработчики.
Для
внесения единичных изменений в экземпляры заказчика разработчик выполняет
извещение об изменении (обязательное приложение 5), являющееся
документом, заменяющим разрешение при изменении заказных спецификаций; для
регистрации этих изменений служат листы регистрации изменений, являющиеся
последним листом заказной спецификации (обязательное приложение 6).
На
первом листе архивного экземпляра заказной спецификации в этом случае выполняют
таблицу изменений по форме 3, где в графе "Лист" делают прочерк; на
отрезной части первого листа выполняют таблицу изменений по форме I с прочерком в графе "Лист".
На
других изменяемых листах архивного экземпляра спецификации выполняют таблицу
изменений по форме 3 (на поле чертежа) и по форме 2 (на отрезной части), где в
графе "Лист" при этом делают прочерк при внесении изменений и
"Нов." при включении в спецификацию новых листов.
3.8. В
графах "Извещения" и "Листа регистрации изменений" пишут:
в
графе "Извещение" - обозначение извещения по книге регистрации
разрешений на внесение изменений;
в
графе "Наименование и обозначение" - наименование и обозначение
заказной спецификации;
в
графе "Изм" - порядковый номер изменения.
Графы
"Лист", "Содержание изменения", "Шифр",
"Примечание", а также графы основной надписи заполняют в соответствии
с требованиями ГОСТ 21.201-78 и ГОСТ 21.103-78.
Извещение
оформляют в трех экземплярах: для архива, для заказчика и для разработчиков
документации.
В
графе "№ документа" листа регистрации изменений записывают
обозначение извещения, по которому вносят изменение.
3.9.
Для подтверждения внесения изменений в экземпляры заказной спецификации
заказчика используют уведомление о внесении изменений (обязательное приложение 7),
которое направляют в двух экземплярах вместе с извещением об изменении. Один
экземпляр уведомления, вернувшийся от Заказчика хранят в деле отправки
документации по объекту.
3.10.
В отдельных случаях, для оперативной корректировки заказа допускается по
согласованию с Заказчиком вносить изменения в экземпляры спецификаций Заказчика
их разработчиком, с последующим оформлением разрешения и внесением этих
изменений в подлинник заказной спецификации.
3.11.
При внесении в сметы значительных изменений их перепечатывают.
На первом
листе новой сметы, хранящейся в сброшюрованном виде, размещают таблицу
изменений по форме 1, где в графе "№ участка" делают прочерк, а в
графе "Лист" пишут "Все".
На
архивном экземпляре старой сметы, хранящейся в архиве в сброшюрованном виде, на
первом листе ставят штамп "Аннулирован" в соответствии с ГОСТ
21.203-78 "Правила учета и хранения подлинников проектной документации".
Если
подлинники смет хранят россыпью, то на последующих листах новой сметы размещают
таблицу изменений по форме 2, где в графе "Лист" пишут
"Зам", а на последующих листах старой сметы ставят штамп
"Аннулирован" по ГОСТ
21.203-78.
3.12.
При внесении в сметы незначительных изменений перепечатывают изменяемые листы
или выпускают дополнительную смету.
На
новых листах сметы в таблице изменений, в графе "Лист" указывают
"Зам". Номера листов (страниц) сметы не меняют. На старых листах
сметы ставят штамп "Аннулирован" по ГОСТ
21.203-78. Новые листы вклеивают перед листами, на которых стоит штамп
"Аннулирован"
Если
подлинники смет хранят россыпью, то аннулированные листы заменяют новыми
листами.
На
первом листе измененной сметы выполняют таблицу изменений по форме I, где в
графе "Лист" делают прочерк.
3.13.
Внесение изменений в расчеты допускается при условии соблюдения общих
требований, предъявляемых к порядку внесения изменений в рабочую документацию,
и специальных требований, оговариваемых в РД по оформлению инженерных расчетов.
3.14.
При внесении изменений в чертежи строительных изделий отметки об изменениях
выполняют в ведомости рабочих чертежей изделий (ВЧ), входящие в альбом. Отметки
об изменениях выполняют аналогично отметкам об изменениях листов основного
комплекта в ведомости рабочих чертежей.
Зам.
главного инженера А.Г.
Корниенко
Начальник
ПТОСиНК Н.Н.
Белов
Главный
специалист А.С.
Шендерович
Ведущий
инженер Ю.А.
Синицын
ПРИЛОЖЕНИЕ
1
Обязательное

ПРИЛОЖЕНИЕ
2
Обязательное

Форма 1 ГОСТ 21.201-78