//
ТехЛит.ру
- крупнейшая бесплатная электронная интернет библиотека для "технически умных" людей.
WWW.TEHLIT.RU - ТЕХНИЧЕСКАЯ ЛИТЕРАТУРА

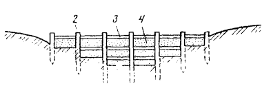
:: Алготрейдинг::


АЛГОТРЕЙДИНГ
шаг за шагом
с нуля по урокам!

Торговые роботы на PYTHON, BackTrader,
Pandas, Pine Script для TradingView. Связка с брокерами, телеграм и легкими приложениями.


МИНИСТЕРСТВО АВТОМОБИЛЬНЫХ ДОРОГ РСФСР

Утверждаю:

Зам. министра

автомобильных дорог РСФСР

А. А. Надежко

3 июня 1988 г.

РУКОВОДСТВО
ПО ПРОЕКТИРОВАНИЮ,
СТРОИТЕЛЬСТВУ И ЭКСПЛУАТАЦИИ
ИСКУССТВЕННЫХ СООРУЖЕНИЙ АВТОМОБИЛЬНЫХ ДОРОГ
НА ВОДОТОКАХ С НАЛЕДЯМИ

МОСКВА "ТРАНСПОРТ" 1989

Руководство по проектированию, строительству и эксплуатации искусственных сооружений автомобильных дорог на водотоках с наледями / Минавтодор РСФСР. М.: Транспорт, 1989.

Изложены причины образования наледей, их классификация и вредные воздействия на искусственные сооружения, основные требования к выбору мест переходов через водотоки с наледями и их инженерно-геологическому обследованию. Подробно изложена методика прогнозирования параметров наледей с применением ЭВМ. Указаны принципы проектирования, рекомендуемые типы сооружений, особенности строительства и требования по эксплуатации. В приложениях даны примеры прогнозирования наледей и проектирования противоналедных устройств.

Руководство разработано в отраслевой научно-исследовательской дорожной лаборатории Воронежского инженерно-строительного института на основе исследований наледей у искусственных сооружений, выполненных в течение ряда лет на дорогах Магаданской обл., ЯАССР и БАМе, а также опыта борьбы с наледями Ушосдора Северовостокзолото, Якутдортранса, БАМа и Тувавтодора Минавтодора РСФСР. При составлении Руководства использованы материалы исследований Омского филиала Союздорнии, Ленгипротранса и ВНИИ транспортного строительства.

Руководство разработал канд. техн. наук В. А. Дементьев.

Программы для ЭВМ составлены м. н. с. Л. А. Черниговской. В работе принимали участие ст. инж. С. Е. Щербинина и инж. М. Г. Дорожкина.

Ил. 27, табл. 11.

1. ОБЩИЕ ПОЛОЖЕНИЯ

Руководство содержит требования к изысканиям, проектированию, строительству и эксплуатации искусственных сооружений автомобильных дорог на водотоках с наледями. Оно распространяется на искусственные сооружения автомобильных дорог I-V категорий в районах образования наледей.

1.2. Наледью называют ледяное тело, образовавшееся в результате вытекания на твердую поверхность речных, подземных, снеговых, ледниковых или морских вод, их растекания и послойного замерзания.

1.3. Наледи речных и подземных вод образуются поздней осенью и зимой при промерзании потока речных или грунтовых вод или разгрузке подземных вод. Когда в основании водотока залегает неглубоко водоупор в виде вечной мерзлоты или водонепроницаемых пород и живое сечение при промерзании сужается, поток становится напорным, вода через трещины изливается на поверхность и образует наледь.

Наледи снеговых и ледниковых вод образуются при смене оттепелей морозами, а наледи морей - при нагонах и замерзании морской воды.

1.4. На образование наледей, кроме природных факторов, большое влияние оказывает строительство дорожных сооружений, которое нарушает естественный режим протекания речных и грунтовых вод, что часто приводит к возникновению наледного процесса.

1.5. Наледи распространены на территории азиатской части СССР в районах с суровым климатом, неглубоким залеганием водоупоров в руслах рек и фильтрационных потоков грунтовых вод, в местах разгрузки подземных вод.

Наиболее широко наледи распространены в Магаданской обл., Якутской, Бурятской АССР, в областях Читинской, Амурской и Иркутской, северных районах Красноярского края. Тувинской АССР, Алтайском крае. Встречаются наледи в Западной Сибири и на Урале.

Классификация наледей

1.6. Наледи классифицируют по типу наледеобразующих вод, происхождению, месту отложения, размерам, степени опасности, длительности существования.

По типу наледеобразующих вод различают наледи: 1) поверхностных вод (речных); 2) подземных вод (грунтовых вод рыхлой толщи, подземных вод глубоких горизонтов); 3) смешанных вод.

По происхождению наледи разделяются на природные, которые возникают и развиваются в природных условиях, и техногенные, возникающие от нарушения водно-теплового режима водотоков и грунтов при дорожном строительстве.

По месту отложения наледи разделяются на русловые, логовые, косогорные, откосные, террасовые, конусов выноса.

По размерам наледи классифицируются на малые объемом до 1 тыс. м3; средние от 1 до 10 тыс. м3; большие от 10 до 100 тыс. м3; очень большие от 100 тыс. м3 до 1 млн. м3 и гигантские - более 1 млн. м3.

Таблица 1. Генетическая классификация наледей (для дорожно-строительных целей)

Индексы, типы и подтипы

Характерные схемы образования наледей

Морфологические признаки

Ледотермический режим

1. Наледи поверхностных вод

I.1. Речные наледи

Образуются на малых и средних водотоках. Приурочиваются к русловой части водотока, изливаясь потоком на поверхности речного льда и пойм. В плане повторяют очертания русла и дна долин. Поверхность льда ровная или бугристая с перепадами и буграми пучения льда. Лед наледи тонкослойный, чистый, белый или голубой с прослойками снега и воздуха

Возникают обычно сразу же после ледостава на расчищаемых от снега участках при скальном ложе реки (схема I-а), на перекатах (схема I-б), на отмелях, распластанных галечниковых руслах, при закупорке русел грунтом, донным льдом (схема I-в), при увеличении расходов воды в реке (схема I-г). Действуют до полного промерзания водотока. У временных водотоков рост наледи прекращается к концу первой половины зимы. Наледи постоянных водотоков, особенно образующихся по схеме I-б, достигают больших размеров

I.1.1 постоянных водотоков

I.1.2 временных водотоков

I.2. Наледи талых вод

I.2.1 снеговых

I.2.2 ледниковых

Образуются по склонам, долинам, у сооружений, заполняя отверстия мостов и труб, кюветов и водоотводные канавы, создавая накопление талых вод у дороги

Возникают от замерзания талых вод снега и ледников в конце зимы и начале весны при чередовании дневных оттепелей и ночных морозов

I.3. Наледи морей

Формируются на подветренной стороне береговой зоны, локализуются на мелководных и приустьевых участках рек. Поверхность волнообразная, натечная

Образуются при ветровых нагонах в течение всей зимы вследствие выхода морских вод на припай

II. Наледи подземных вод

II.4. Наледи грунтовых вод рыхлой толщи

Образуются в выемках, канавах, на перегибах склонов. Приурочиваются к расчищенным от снега временным дорогам и участкам русел с нарушенным мохо-растительным покровом (схема II-а), участкам русел и логов с резко суженным подрусловым таликом (схема II-б), участкам русел и логов при стеснении подруслового потока фундаментом трубы (схема II-в) или моста (схема II-г).

Имеют различные размеры в зависимости от глубины залегания водоупора НВ, формы и размеров переката m, глубины промерзания d и состава грунта талика, уклона местности, конструкции фундамента искусственного сооружения. Лед наледи зернистый с включением оледенелого снега, слабо окрашен в цвет грунтов, вмещающих водный поток.

Преобладают удлиненные формы, вытянутые по уклону рельефа, вдоль логов и русел.

Отличаются большими размерами по площади и мощности льда, особенно, если развиваются за счет напорных вод.

Характерно наличие незамерзающих участков (полыней), эрозированных наледных полян, крупных наледных бугров.

Лед чистый, зеленовато-голубой, слоистый. Летом на наледной поляне наблюдается отложение солей.

Из всех типов наледей наиболее опасны.

Возникают от излияния и замерзания грунтовой воды при вскрытии или местном перемерзании верхних водоносных слоев. Наледи этого типа появляются: при схемах II-а и II-в после промерзания грунта до зеркала грунтовых вод; при схеме II-г после промерзания поверхностного водотока; при схеме II-б с наступлением устойчивых отрицательных температур воздуха.

При HВ-dw<dМ прекращают свою деятельность в первую половину зимы; при HВ-dw>dМ действуют всю зиму и достигают значительных размеров.

В сравнении с подтипом II.4.1 наледи подтипа II.4.2 отличаются более коротким периодом формирования и меньшими размерами. Возникают при излиянии и замерзании воды источников подземных вод. Характеризуются относительно постоянным режимом и развиваются всю зиму, образуя большие скопления льда.

Период их интенсивного формирования начинается, когда промерзают поверхностные водоносные пути, что совпадает с наступлением низких температур.

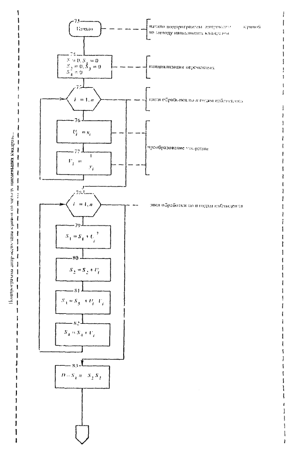
В сравнении с подтипом II.5.1 наледи напорных вод отличаются более устойчивым режимом и продолжительным развитием; имеют большие и гигантские размеры, особенно наледи, питающиеся источниками, выходящими по тектоническим разломам.

Наледи этого типа иногда бывают многолетние.

II.4.1 с водоупором из немерзлых пород

II.4.2 с водоупором из многолетних немерзлых грунтов

II.5. Наледи подземных вод глубоких горизонтов

II.5.1 ненапорных вод

II.5.2 напорных вод

 

III. Наледи, смешанных вод

III.6. Наледи смешанных поверхностных и подземных вод

 

Образуются от излияния и замерзания на одном участке различных типов вод. Обладают сочетанием форм и признаков, характерных для наледей различных типов. Характеризуются большими размерами, представляют наибольшую опасность.

Особенности режима определяются типами вод, доминирующими в динамике развития.

Примечание. Q - расход поверхностных или грунтовых вод выше стесненного участка; Q1 - расход ниже стесненного участка; Q2 - наледный расход; НВ - глубина водотока до водоупора выше стесненного участка; Н - глубина воды на стесненном участке; d - глубина промерзания за пределами стесненного участка; dM - глубина промерзания на стесненном участке; hП - глубина потока на стесненном участке; dw - глубина уровня грунтовых вод; m - высота переката.

По степени опасности наледи разделяют на следующие виды: неопасные, не оказывающие вредного воздействия на инженерные сооружения; опасные, которые вызывают нарушение нормальной работы сооружений; очень опасные, представляющие непосредственную угрозу движению транспорта и устойчивости сооружений.

По длительности существования наледи бывают: сезонные, стаивающие летом полностью, и многолетние, часть которых не успевает растаять летом и переходит на следующий зимний сезон.

1.7. Сложные природные условия, в которых развиваются наледи, в сочетании с дополнительным влиянием на их развитие дорожных сооружений, обусловливают многообразие наблюдаемых в полосе дороги наледей. Генетические типы наледей, их морфологические характеристики и ледотермический режим приведены в табл. 1.

Вредные воздействия наледей на искусственные сооружения

1.8. Наледи оказывают значительные вредные воздействия на искусственные сооружения и часто создают затруднения при их эксплуатации. Наледи могут:

1) закупоривать льдом отверстия малых искусственных сооружений и затруднять пропуск весенних вод;

2) затоплять проезжую часть подходов к искусственным сооружениям и затруднять движение транспорта;

3) деформировать искусственные сооружения при образовании около них наледных бугров;

4) создавать условия для размыва конусов и земляного полотна подходов, а также изменения конфигурации русла водотока при стоке весенних вод по наледному льду.

2. ИЗЫСКАНИЯ И ИНЖЕНЕРНО-ГЕОЛОГИЧЕСКИЕ ОБСЛЕДОВАНИЯ ПЕРЕХОДОВ ЧЕРЕЗ ВОДОТОКИ С НАЛЕДЯМИ

Особенности изысканий

2.1. Места переходов через малые и средние водотоки, где наледи оказывают наибольшие воздействия, определяются рациональным положением трассы, которая должна иметь высокие транспортно-экономические показатели. Однако при изысканиях автомобильных дорог необходимо стремиться выбирать такое направление трассы, которое без существенного ее ухудшения в плане и продольном профиле позволяет обходить участки с большим количеством наледей. Технико-экономическое сравнение вариантов трассы должно учитывать затраты на постройку противоналедных сооружений, удорожание строительства на наледных участках искусственных сооружений с увеличенными отверстиями и более высокими подходами, а также затраты на борьбу с наледями при эксплуатации.

2.2. Наледеопасными участками являются: склоны северной экспозиции с неглубоким залеганием вечномерзлых грунтов, имеющие надмерзлотные воды; групповые выходы родников подземных вод; сильно заболоченные склоны; устья водотоков, особенно места слияния нескольких водотоков; водотоки с распластанными руслами, малыми глубинами и выступающими из воды грядами галечника; перекаты со скальными выступами и валунами; порожистые участки.

2.3. Не опасны в отношении наледеобразования и благоприятны для прокладки трассы водораздельные участки, склоны антиклинальных долин, борта моноклинальных долин с падением пластов в глубь склона, сухие склоны и террасы южной экспозиции, водотоки с глубокими узкими руслами, заросшими растительностью.

2.4. На водотоках с наледями, кроме работ по изысканиям в обычных условиях, необходимо производить специальные мерзлотно-гидрологические обследования и съемки наледных полян, необходимые для прогнозирования наледных процессов и проектирования искусственных сооружений и противоналедных мероприятий. В связи с этим изыскания переходов через водотоки с наледями проводят в три этапа: 1) подготовительный период; 2) полевые летне-осенние работы на стадии составления рабочего проекта; 3) ледомерные съемки.

2.5. В подготовительный период перед основными полевыми работами по литературным данным и фондовым материалам изучают геологические, геокриологические, гидрогеологические, гидрологические, климатические и другие особенности будущей трассы и пересекаемых ею водотоков. Собирают сведения о наледях, температуре воздуха, осадках, толщине снежного покрова и др. Если наледей на трассе много, производят аэровизуальное обследование и аэрофотосъемку водотоков с вертолета или самолета в апреле - начале мая после схода снежного покрова, когда наледи хорошо видны. На основе собранных сведений в подготовительный период составляют программу и график работ по обследованию наледных участков при полевых работах.

Полевые летне-осенние работы при изысканиях

2.6. При полевых летне-осенних работах по изысканиям на стадии составления рабочего проекта дороги, кроме установленного нормативными документами перечня работ для обычных условий, на водотоках с наледями. выполняют следующие работы.

1. Производят топографическую и инженерно-геологическую съемку логов водотоков. Съемкой охватывают всю площадь наледной поляны и места выхода источников подземных вод, питающих наледь, с прилегающими участками местности: вниз от оси перехода 100 м, вверх от начала наледной поляны 300 м и по сторонам 50 м от границ наледной поляны. Масштаб выбирают в зависимости от размеров наледи от 1:500 до 1:2000.

При съемке разбиваются поперечники: у сооружения в сечении с наибольшей толщиной наледи и в характерных местах. По поперечникам производят нивелирование ложа наледной поляны, определяют осенние уровни воды в реке и зеркало грунтовых вод на поймах или в реке, если нет поверхностного зимнего стока.

По следам, оставленным наледью па деревьях и земной поверхности, определяют уровень верха наледи. С помощью старожил устанавливают год ее образования и особенности развития.

2. Составляют план лога в горизонталях, поперечные и продольные грунтово-геологические разрезы в границах съемки, указанных в п. 1. На поперечных и продольном разрезе показывают границу водоупора (вечной мерзлоты, скальных пород и др.).

3. Определяют местонахождение и тип подземных источников, характер излива, режим источников (их дебит, температуру, химический анализ воды.)

4. Производят тщательное обследование и описание морфологии русла, характерных его участков (перекатов, плесов и др.), берегов, пойм, террас, склонов долины, растительности, налетов солей на деревьях и камнях, микрорельефа, заболоченности.

5. Наряду с традиционными буровыми работами и выработками при мерзлотно-гидрологических исследованиях наледных участков рекомендуется применять электрометрические методы: вертикальное электрозондирование (ВЭЗ) и электропрофилирование (ЭП), которые позволяют определять глубину и границы залегания вечной мерзлоты, тектонические нарушения, толщину рыхлых отложений и др.

Ледомерные съемки и определение размеров наледей

2.7. Ледомерные съемки следует производить в марте-апреле, когда наледи достигают максимального развития. Их производят с целью определения размеров наледей и прогнозирования их расчетных параметров при проектировании искусственных сооружений.

Размеры наледей можно определять топографической съемкой, посредством ледомерных вех с измерением расстояний между ними или путем бурения наледного льда.

2.8. При съемке площадь наледей может быть определена замкнутым или висячим теодолитным ходом, а толщина посредством нивелирования поверхности льда по поперечникам. При этом при летне-осенних полевых работах должно быть произведено нивелирование ложа наледной поляны по тем же поперечникам.

2.9. Измерение толщины наледей может производиться посредством ледомерных вех, которые осенью устанавливают на наледной поляне, или бурением наледного льда мотобуром или гидротермобуром.

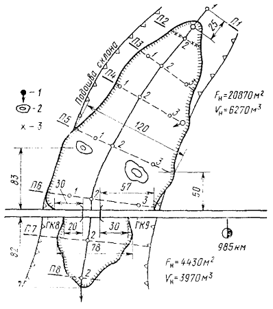
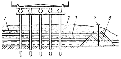
В зависимости от конфигурации наледи и ее размеров ледомерные вехи или буровые скважины могут располагаться по разным схемам (рис. 1). Для вытянутых в длину и нешироких наледей вежи или скважины экономичнее располагать по линиям характерных поперечных профилей (рис. 1, а), размещая их по возможности на равных расстояниях. Выбор прямоугольной сетки (рис. 1, б) целесообразен на относительно широких наледях.

Количество поперечников назначают в зависимости от длины наледи, но не менее пяти, а расстояние между вехами или скважинами на поперечнике - не более 1/4 их длины. Если наледь большая и ровная, то расстояния между поперечниками можно назначать 100-200 м. Необходимо стремиться, чтобы поперечники проходили через сужения и расширения наледи и боковые ее ответвления.

Расположение поперечников с измеренными расстояниями по их створам и между ними наносят на план наледи, по которому определяют ее площадь АП и длину lП.

2.10. Среднюю толщину наледи на поперечнике определяют по формуле

                                              (1)

где Z1 и Zm - толщина у крайних вех или скважин на поперечнике; b0 и b'0 - расстояние от краев наледи до крайних вех или скважин; Zi - толщина наледи у i-й вехи или скважины; bi - расстояние между вехами или скважинами на поперечнике; m-количество вех или скважин на поперечнике.

Средняя толщина наледи на наледной поляне

Рис. 1. Схемы расположения ледомерных вех или буровых скважин на наледях:

а - по линиям характерных поперечных профилей; б - в углах прямоугольной сетки

                                        (2)

где Z1СР и ZПСР - средняя толщина наледи на крайних поперечниках; а0 и a'0 - расстояния от крайних поперечников до краев льда у начала и конца наледи; ZiСР - средняя толщина наледи на i-м поперечнике; ai - расстояние между поперечниками; n - число поперечников.

Объем наледи в год изысканий

VНИ=ZНСРАН,                                                            (3)

где АН - площадь наледи.

Объем наледи можно вычислить также путем суммирования отдельных блоков между поперечниками по формуле

                                        (4)

где f1 и fn - площадь крайних поперечников; fi - площадь i-го поперечника.

Максимальную толщину наледи Zmax определяют по наибольшему показанию ледомерных вех, скважин или нивелированием.

2.11. При ледомерных съемках для каждой наледи необходимо определять коэффициент ее форм Y, который определяется по формуле:

                                                           (5)

где ZMAX И и ZСР И - толщина наледи на наледной поляне соответственно максимальная и средняя.

Коэффициент формы характеризует формы ложа, поверхность наледи и особенности ее развития. Он необходим для прогнозирования расчетных параметров наледи.

2.12. В период ледомерных съемок изучают особенности развития каждой наледи, определяют тип подземных вод, питающих наледь: грунтовые, надмерзлотные, подмерзлотные, межмерзлотные, тектонических разломов. Уточняют местонахождение подземных источников, характер излива, измеряют дебит, температуру воды и производят ее химический анализ; определяют расположение и размеры наледных бугров, толщину льда, уровень ледостава на реке.

3. ПРОГНОЗИРОВАНИЕ РАСЧЕТНЫХ ПАРАМЕТРОВ НАЛЕДЕЙ

3.1. Расчет мостов, труб и пойменных насыпей на воздействие наледей следует производить по их расчетным параметрам, которые должны определяться как и для водного потока с вероятностью превышения, указанной в п. 1.25 СНиП 2.05.03-84. Мосты и трубы.

3.2. Основными параметрами наледей, которые используются при проектировании искусственных сооружении и противоналедных устройств, являются: объем наледи, ее толщина (средняя и максимальная), ширина и длина.

3.3. Развитие наледного процесса зависит от многих природных и техногенных факторов. Все природные факторы наледеобразования можно разделить на две группы: 1) гидрогеологические и геоморфологические; 2) гидрометеорологические.

Для конкретного водотока гидрогеологические и геоморфологические условия ежегодно остаются неизменными, а гидрометеорологические факторы изменяются в годовом и многолетнем циклах. В зависимости от сочетания величин гидрометеорологических факторов в разные годы наледи образуются больших или меньших размеров.

Методика прогнозирования

3.4. Ежегодный объем наледи на рассматриваемом водотоке зависит от суммы жидких осадков в летне-осенний период предыдущего года и глубины промерзания.

Прогнозирование параметров наледей поверхностных и подземных вод производится вероятностным методом переходных коэффициентов, разработанным В.А. Дементьевым. Он может применяться при прогнозировании природных наледей, которые зафиксированы на водотоке при изысканиях трассы дороги и инженерно-геологическом обследовании.

При этом методе прогнозируемый объем наледи Vнp с заданной вероятностью превышения определяют по формуле:

Vнр=gnVниkxkfkc,                                                          (6)

где gn -коэффициент надежности, принимаемый равным 1,20; Vни - объем наледи в год изысканий (определяемый в апреле-марте) при наибольшем ее развитии; kx, kf, kc - коэффициенты, учитывающие соответственно жидкие осадки в летне-осеннее время предыдущего года, сезонное промерзание и стеснение потока поверхностных и грунтовых вод строительством сооружения.

Коэффициент, учитывающий осадки,

                                                              (7)

где Sxp - сумма жидких осадков с расчетной вероятностью превышения, определяется по кривой обеспеченности; SxИ - сумма жидких осадков в летне-осенний период в год, предшествующий году определения объема природной наледи при изысканиях. Осадки вычисляются, начиная с июля месяца.

Коэффициент, учитывающий сезонное промерзание,

                                                                (8)

где dfp - глубина сезонного промерзания с расчетной вероятностью превышения, определяют по кривой обеспеченности; dfИ - глубина сезонного промерзания в год изысканий (обследования наледи), определяют расчетом.

Коэффициент, учитывающий стеснение потока строительством сооружения,

                                                           (9)

где wф - площадь фильтрационной зоны по оси перехода до постройки сооружения; wс - площадь стеснения фильтрационной зоны постройкой сооружения.

Коэффициент kc применяют только при проектировании вновь строящихся искусственных сооружений. Если прогнозирование производят на водотоках у существующих сооружений, то этот коэффициент не учитывают. Не учитывают его при ключевых наледях, когда излив наледеобразующей воды происходит непосредственно на поверхность земли.

3.5. В многолетнем цикле изменчивость сумм жидких осадков и глубин сезонного промерзания носит случайный характер, поэтому их расчетные значения определяют на основе вероятностного прогноза по кривым обеспеченности. Для этого по данным ближайшей метеостанции за любые 20-25 последовательных лет составляют таблицы сумм жидких осадков в летне-осенний период, среднемесячных температур воздуха и толщины снежного покрова, начиная с месяца наступления устойчивой отрицательной температуры воздуха и кончая месяцем со средней температурой не выше минус 12 °С. Осадки вычисляют для ряда лет, предшествующих годам промерзания.

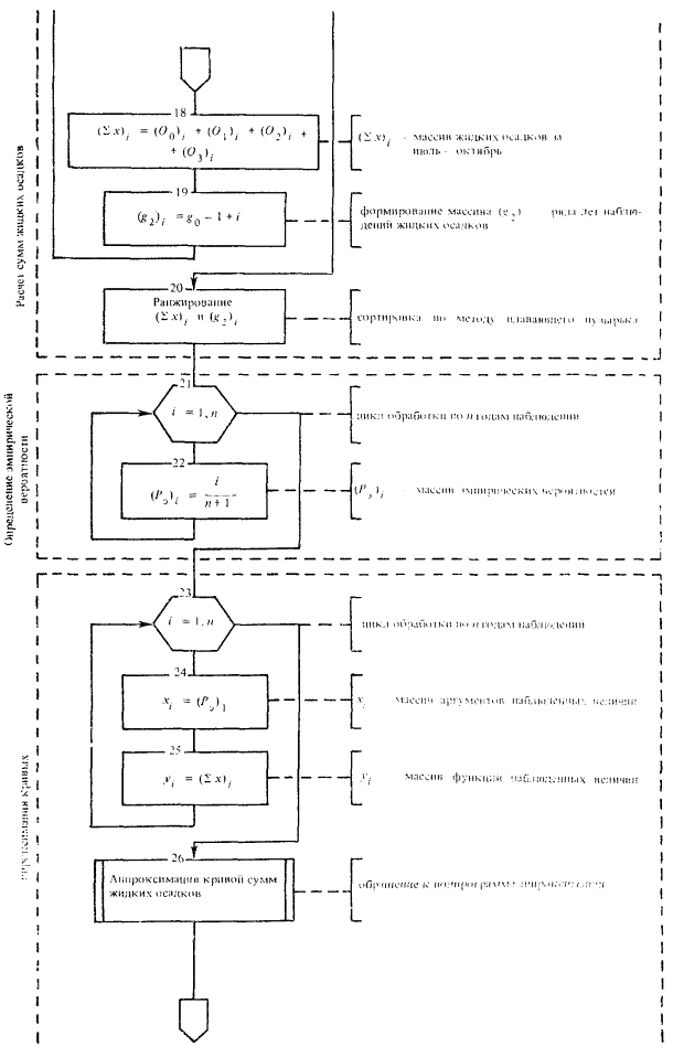
Вычисленные суммы жидких осадков и глубины промерзания записывают в таблице ранжированными рядами в убывающем порядке с указанием года наблюдений (табл. 2). Для каждого порядкового номера ряда определяют эмпирическую вероятность превышения, согласно СНиП 2.01.14-83, по формуле

                                                            (10)

где i - порядковый номер ряда; n - общее число членов ряда (количество лет наблюдений).

По данным таблицы, на специальной клетчатке вероятностей строят эмпирические кривые обеспеченности сумм жидких осадков и глубин промерзания, по которым экстраполяцией производят прогноз расчетных значений суммы жидких осадков и глубины промерзания с заданной вероятностью превышения.

Таблица 2. Ординаты аппроксимирующих кривых обеспеченности сумм жидких осадков и глубины промерзания на реке А

Порядковый номер ряда

Эмпирическая вероятность

Сумма жидких осадков за VII-X месяцы, мм

Глубина промерзания, м

Sx, мм

Год наблюдений

df

Год наблюдений

1

0,0385

356,996

1982

2,31866

1966

2

0,0769

329,181

1972

2,26028

1964

3

0,1158

305,387

1977

2,20477

1979

4

0,1538

284,8

1973

2,15192

1962

5

0,1923

266,814

1966

2,10154

1977

6

0,2308

250,965

1985

2,05347

1981

7

02692

236,893

1983

2,00754

1079

8

0,3077

224,316

1978

1,96363

1984

9

0,3462

213,007

1975

1,9216

1975

10

0,3846

202,783

1974

1,88133

1982

11

0,4231

193,496

1984

1,84271

1968

12

0,4615

185,022

1961

1,80564

1970

13

0,5000

177,259

1969

1,77004

1983

14

0,5385

170,121

1979

1,73581

1973

15

0,5769

163,536

1962

1,70289

1978

16

0,6154

157,442

1967

1,67119

1963

17

0,6538

151,786

1968

1,64064

1976

18

0,6923

146,522

1970

1,6112

1074

19

0,7308

141,611

1976

1,58279

1985

20

0,7692

137,018

1980

1,55536

1969

21

0,8077

132,714

1981

1,52887

1971

22

0,8462

128,672

1963

1,50327

1965

23

0,8846

124,869

1965

1,47851

1986

24

0,9231

121,284

1971

1,45456

1980

25

0,9616

117,9

1964

1,73136

1967

При построении кривых обеспеченности по данным наблюдений за осадками и вычисленным глубинам промерзания получают ломаные линии, не отвечающие функциям

Sх=f1Э) и df=f2Э),                                                  (11)

Поэтому кривые аппроксимируют по методу наименьших квадратов. Определяют аналитическую функцию с лучшим приближением, например, дробно-рационального вида

                                                          (12)

которую принимают в качестве аппроксимирующей.

3.6. При прогнозировании объема наледи с заданной вероятностью превышения следует найти такие расчетные вероятности суммы; жидких осадков и глубины промерзания, произведение которых равно заданной обеспеченности объема наледи:

P(Vнр)=P(Sxp)P(dfp),                                                  (13)

где P(Vнр) - заданная (нормативная) вероятность превышения объема наледи (см. п. 1.25 СНиП 2.05.03-84); Р(Sxp) - расчетная вероятность превышения суммы жидких осадков; P(dfp) - расчетная вероятность превышения глубины сезонного промерзания.

Неизвестные Р(Sxp) и P(dfp) в уравнении (13) определяют из условия, когда соотношение между ними соответствует году изысканий:

                                                         (14)

тогда                                                                                                           (15)

                                                       (16)

где x - отношение вероятности суммы жидких осадков к вероятности глубины промерзания в год изысканий.

Определив расчетные вероятности суммы жидких осадков и глубины промерзания, их значения откладывают на горизонтальной оси графика обеспеченности (рис. 2), проводят вертикали до пересечения с кривыми обеспеченности; от точек пересечения проводят горизонтальные линии до шкал Sx и df, на которых отсчитывают значения расчетных сумм жидких осадков и глубины промерзания. При этом шкала сумм жидких осадков размещается на левой стороне графика, а глубин промерзания - на правой.

Затем по формулам (7), (8) и (9) вычисляют переходные коэффициенты kx, kf, kс.

3.7. Для определения по формуле (9) коэффициента kc, учитывающего стеснение потока постройки сооружения, площадь фильтрационной зоны вычисляют согласно рис. 3 по формуле

                                               (17)

где hфi и hф(i+1) - ординаты толщины фильтрационной зоны в точках перелома профиля подземного контура фильтрации (расстояния от уровня сезонного промерзания в бытовых условиях до водоупора); аi - расстояния между точками перелома профиля фильтрационной зоны.


Рис 2. Кривые обеспеченности сумм жидких осадков и глубин промерзания на водотоке А (смешанное питание)


При определении площади стеснения постройкой мостов учитывают стеснение опорами с намерзающим вокруг них грунтом и слоем дополнительного промерзания под пролетами моста, так как под мостами обычно снежного покрова не бывает. При принятых на рис. 3 обозначениях площадь стеснения

wс=nоп(b+2b1)(d-df)+(d'f-df)(l-2b1)nпр,                                   (18)

где nоп и nпр - соответственно количество опор и пролетов моста; b и b1 - соответственно ширина опоры и толщина намерзшего вокруг опоры слоя грунта (табл. 3); df и d'f - глубина сезонного промерзания соответственно на водотоке и под мостом; d - глубина заложения опор; l - длина пролетов моста в свету между опорами.

При стеснении фильтрационного потока опорами моста или фундаментом трубы часть потока отжимается в соседние зоны фильтрации на поймах. Ширину фильтрационной зоны можно принимать равной расстоянию между точками смыкания границы сезонного промерзания с водоупором, но не более: для мостов 10L при L до 20 м и 5L при L более 20 м; для труб 10D, где L и D - длина отверстий соответственно моста и трубы.

Определив переходные коэффициенты kx, kf и kc по формуле (6), определяют объем наледи с заданной вероятностью превышения.

3.8. При проектировании искусственных сооружений наибольшее значение имеет толщина наледи, так как от нее зависит необходимая высота отверстия и пойменных насыпей. Зная объем наледи с заданной вероятностью превышения, объем и среднюю толщину наледи в год изысканий, можно определить среднюю расчетную толщину наледи по наледной поляне

                                                             (19)

где Zcpp и Zcpи - средняя толщина наледи по наледной поляне соответственно расчетная и в год изысканий; Vнр и VНИ - объем наледи соответственно расчетный с нормативной (заданной) вероятностью превышения и в год изысканий.

После постройки искусственного сооружения с небольшим отверстием место с максимальной толщиной наледи часто располагается у сооружения, поэтому отверстия искусственных сооружений необходимо проектировать по максимальной расчетной толщине наледи, которую определяют по формуле

Zmax p=YZcp p,                                                                (20)

где Y - коэффициент формы наледи, определяемый при ледомерной съемке по формуле (5); Zcp р - средняя толщина по наледной поляне.

Рис. 3. Схема стеснения фильтрационного потока постройкой моста:

1 - поверхность земли; 2 - осенний уровень грунтовых вод; 3 - граница сезонного промерзания в бытовых условиях; 4 - то же, под пролетами моста; 5 - граница намерзания грунта вокруг опор; 6 - водоупор (ВФЗ - ширина фильтрационной зоны)

Таблица 3. Толщина намерзания грунта вокруг опор b1 в зависимости от продолжительности морозного периода, средней температуры воздуха, ширины опоры b и глубины от поверхности х

Ширина опоры b, м

Толщина намерзания b1, м при х, м, равном

2

3

4

5

6

 

tВОЗ= -15°С;   t=4000 ч

0,5

0,213

0,204

0,190

0,176

0,168

1,0

0,300

0,288

0,270

0,252

0,228

1,5

0,365

0,357

0,331

0,305

0,275

 

tВОЗ= -20°С;   t=4000 ч

0,5

0,248

0,237

0,217

0,203

0,184

1,0

0,348

0,330

0,308

0,288

0,264

1,5

0,435

0,373

0,387

0,352

0,320

 

tВОЗ= -20°С;   t=5000 ч

0,5

0,260

0,255

0,235

0,231

0,227

1,0

0,372

0,360

0,334

0,328

0,322

1,5

0,455

0,440

0,407

0,400

0,394

 

tВОЗ= -25°С;   t=5000 ч

0,5

0,293

0,286

0,264

0,280

0,258

1,0

0,416

0,400

0,375

0,391

0,360

1,5

0,509

0,490

0,456

0,478

0,442

Примечание. Глубина от поверхности

3.9. Определение объема и средней толщины наледи связано с необходимостью ледомерных съемок по предварительно установленным ледомерным вехам или буровым скважинам. Для распластанных речных долин с плоским, относительно ровным дном прогнозирование расчетной (максимальной) толщины наледи с заданной вероятностью превышения в отдельных случаях можно приближению производить по максимальной толщине наледи, определенной в год изысканий, по формуле

Zmax p=gnZmax иkxkfkc,                                                      (21)

где gn - коэффициент надежности, принимаемый равным 1,20; Zmax и - максимальная толщина наледи в год изысканий.

3.10. Расчетная ширина наледи Внр может быть определена по ее расчетной толщине графическим путем. Для этого вычерчивают в масштабе поперечное сечение речной долины или лога по оси перехода, наносят линию уровня расчетной толщины наледи и по горизонтальному расстоянию между точками пересечения линии уровня наледи с поверхностью земли определяют ширину наледи у сооружения.

Расчетная длина наледи lнр в небольших логах может быть определена простейшим геометрическим построением. Принимая продольный уклон поверхности наледи с заданной вероятностью превышения равным уклону наледи в год изысканий, из подобия треугольников получим длину прогнозируемой наледи:

                                                     (22)

где lНИ - длина наледи в год изысканий.

На реках наледи иногда имеют длину несколько километров. В таких случаях длину прогнозируемой наледи определяют непосредственными измерениями размеров наледной поляны.

Прогнозирование параметров наледей смешанного питания

3.11. Большинство наледей на небольших реках имеет смешанное питание. В начале своего развития наледь питается речными водами. Когда водоток промерзает до дна, питание происходит грунтовыми подрусловыми водами и во многих случаях подземными источниками, разгружающимися в речной аллювий.

3.12. Прогнозирование расчетных параметров наледей этого типа производится изложенным выше вероятностным методом переходных коэффициентов.

По данным ближайшей метеостанции, для 20-25 последовательных лет составляют таблицы среднемесячных температур воздуха, толщины снежного покрова и сумм жидких осадков. Продолжительность периодов промерзания и жидких осадков принимают с учетом климатических условий согласно п. 3.5.

Сначала для каждого года ряда лет определяют время, необходимое для промерзания поверхностного потока воды глубиной hВ. Глубину воды принимают средней по ширине живого сечения. Ее определяют от уровня ледостава при ледомерной съемке, когда река бывает промерзшей до дна, и измеряют толщину образовавшегося льда hЛ.

Время, необходимое для нарастания льда толщиной hЛ,

                                          (23)

где Ln - скрытая объемная теплота льдообразования, Дж/м3; hЛ и hC - соответственно толщина льда и снега, м; lЛ и lС - соответственно коэффициент теплопроводности льда и снега, Вт/(м×°С); tn - среднемесячная температура воздуха, °С; a - коэффициент теплоотдачи, Дж/(м2×с×°С).

Вычисленное по формуле (23) количество дней, необходимых для промерзания поверхностного потока, вычитают из общего количества дней периода промерзания. В оставшееся время происходит промерзание грунтового подруслового потока. Глубину его промерзания для каждого года ряда лет определяют по формуле В.С. Лукьянова

                                   (24)

где 0,8 - понижающий коэффициент, вводится по согласованию с ВНИИ транспортного строительства в связи с тем, что формула (24) не учитывает фильтрацию и тепловой поток к фронту промерзания от нижележащего грунта; lМ - коэффициент теплопроводности мерзлого грунта; tВ - средняя температура воздуха за период промерзания, °С; tЗ - температура замерзания грунта, °С; t - длительность периода промерзания, с; q - расход тепла на замерзание 1 м3 грунта, Дж/м3; СМ - объемная теплоемкость мерзлого грунта, Дж/(м3×°С); S - средняя за зиму толщина эквивалентного слоя, характеризующая условия теплоизоляции грунта, м.

Средняя за период промерзания грунта толщина эквивалентного слоя теплоизоляции снежного и ледяного покрова

                                                    (25)

где hЛ - толщина льда при промерзании поверхностного потока, м; a - коэффициент теплоотдачи, Дж/(м2×с×°С); Ri - средневзвешенное термическое сопротивление снежного покрова, вычисляемое по формуле:

                                                (26)

где hij - среднемесячная толщина снежного покрова i-го года и j-го месяца, м; lj - коэффициент теплопроводности снежного покрова j-го месяца; tij - среднемесячная температура воздуха i-го года и j-го месяца, °С.

3.13. Вычисленные глубины промерзания грунта суммируют с толщиной льда промерзания поверхностного потока. Суммарные глубины промерзания и суммы жидких осадков записывают в таблице ранжированными рядами с указанием эмпирической вероятности превышения. По дачным таблицы па специальной клетчатке строят кривые обеспеченности (см. рис. 2).

Затем по формулам (13)-(16) определяют расчетные вероятности сумм жидких осадков и глубин промерзания, которые откладывают на горизонтальной оси графика (см. рис. 2) и по кривым обеспеченности наводят расчетные сумму жидких осадков и глубину промерзания. После этого по формулам (7)-(9) вычисляют переходные коэффициенты, а затем по формулам (6), (19) и (20) прогнозируемые объем наледи, ее среднюю и максимальную толщину.

3.14. Для расчетов времени промерзания поверхностного потока, глубины промерзания грунта, определения сумм жидких осадков и построения аппроксимирующих кривых обеспеченности разработана комплексная программа I СЕ I (Лед-I) для ЭВМ типа «Электроника-60». Для программирования выбран алгоритмический язык БЕЙСИК как наиболее доступный и легко модифицируемый.

Программа I СЕ I (Лед-I) приведена в прил. 1.

Пример прогнозирования расчетных параметров наледи смешанного питания приведен в прил. 2.

Прогнозирование параметров наледей подземных вод

3.15. К этой группе относятся все наледи, которые питаются водами, фильтрующими по рыхлым отложениям, как верхнего водоносного горизонта, так и глубинных источников, разгружающихся в указанные отложения. Сюда относятся небольшие водотоки, на которых поздней осенью поверхностной воды в русле не бывает. Сток зимой происходит фильтрацией в речном аллювии.

3.16. Прогнозирование расчетных параметров наледей подземных вод производят так же, как и наледей смешанного питания, вероятностным методом переходных коэффициентов.

Так как поверхностного зимнего стока нет, глубину промерзания определяют только для грунтового потока. Для ряда 20-25 лет составляют таблицы среднемесячных температур воздуха, сумм жидких осадков и толщины снежного покрова. По формуле (24) вычисляют глубины промерзания грунта. Суммы жидких осадков и глубины промерзания записывают в таблице ранжированными рядами и строят кривые обеспеченности. По формулам (13)-(16) определяют расчетные вероятности Sхр и dfp и по кривым обеспеченности находят расчетные сумму жидких осадков и глубину промерзания.

По формулам (7)-(9) вычисляют переходные коэффициенты, а затем по формулам (6), (19) и (20) прогнозируемые объем наледи, ее среднюю и максимальную толщину.

Для расчетов глубин промерзания грунта, сумм жидких осадков и построения аппроксимирующих кривых обеспеченности используют ту же комплексную программу для ЭВМ Лед-I, но толщину льда принимают равной нулю, так как зимой поверхностного стока не бывает.

Пример прогнозирования расчетных параметров наледи подземных вод приведен в прил. 3.

Прогнозирование параметров наледей поверхностных вод

3.17. К этому тину относятся наледи, которые питаются только поверхностными водами. Они развиваются на реках со значительной глубиной воды. Зимой такие реки до дна не промерзают. Поэтому при прогнозировании учитывают стеснение потока только нарастанием речного льда.

3.18. Как при наледях смешанного питания, при прогнозировании наледей поверхностных вод для ряда 20-25 лет составляют таблицы среднемесячных температур воздуха согласно указаниям п. 3.5, толщины снежного покрова и сумм жидких осадков.

Толщину нарастания льда при промерзании поверхностного потока определяют по формуле

                                      (27)

где hЭ - эквивалентная толщина льда, определяемая по формуле,

                                                     (28)

где hЛО - начальная толщина льда, м; t - период промерзания, с.

Вычисленные толщины льда и суммы жидких осадков записывают в таблице ранжированными рядами с указанием эмпирической вероятности превышения. По данным таблицы строят кривые обеспеченности Sх и hЛ.

По формулам (13)-(16) определяют расчетные вероятности сумм жидких осадков и толщины нарастания льда, по кривым обеспеченности находят расчетные сумму жидких осадков и толщину нарастания льда.

По формулам (7)-(9) вычисляют переходные коэффициенты, а затем по формулам (6), (19) и (20) - прогнозируемые объем наледи, ее среднюю и максимальную толщину. При этом во все формулы вместо глубины промерзания df подставляют толщину льда hЛ.

3.19. Для расчетов толщины нарастания льда, определения сумм жидких осадков и построения аппроксимирующих кривых обеспеченности разработана программа I СЕ 2 (Лед-II) для ЭВМ типа «Электроника-60».

Программа I СЕ 2 (Лед-II) приведена в прил. 4.

Пример прогнозирования расчетных параметров наледи поверхностных вод приведен в прил. 5.

Прогнозирование параметров ключевых наледей

3.20. Ключевые наледи формируются подземными водами глубинных источников, выходящих непосредственно на дневную поверхность в виде ключей (на склонах речных долин, из разломов обнаженных коренных пород). Объем ключевой наледи зависит от дебита источника и продолжительности морозного периода. Дебит подземных источников изменяется в зависимости от количества предшествующих жидких осадков.

3.21. Прогнозирование расчетных параметров ключевых наледей производят также вероятностным методом переходных коэффициентов. Прогнозируемый объем ключевой наледи VКНР с заданной вероятностью превышения определяют по формуле:

VКНР=gnVКНИkxkt,                                                       (29)

где gn - коэффициент надежности, принимаемый равным 1,20; VКНИ - объем ключевой наледи в год изысканий (определяемый весной в конце морозного периода; kx и kt - коэффициенты, учитывающие соответственно жидкие осадки и продолжительность морозного периода.

Коэффициент, учитывающий осадки,

kx=Sxp/SxИ,                                                           (30)

где Sxp - сумма жидких осадков с расчетной вероятностью превышения, определяемая по кривой обеспеченности; SxИ - сумма жидких осадков в летне-осенний период в год, предшествующий году определения объема природной наледи. Осадки вычисляют, начиная с июня.

Коэффициент, учитывающий продолжительность морозного периода,

kt=tр/tИ,                                                               (31)

где tр - продолжительность морозного периода с расчетной вероятностью превышения, определяется по кривой обеспеченности, сут; tИ - продолжительность морозного периода в год изысканий (определения объема наледи), сут.

3.22. По данным метеостанции для ряда 20-25 лет составляют таблицы сумм жидких осадков и продолжительности морозного периода, которые располагаются ранжированными рядами с указанием эмпирической вероятности превышения. По данным таблицы, на клетчатке вероятностей строят кривые обеспеченности сумм жидких осадков и продолжительности морозного периода.

Определяют расчетные вероятности превышения суммы жидких осадков и продолжительности морозного периода по формулам:

                                                    (32)

                                                        (33)

где P(Vнp) - заданная (нормативная) вероятность превышения объема наледи.

Определив расчетные вероятности суммы жидких осадков и продолжительности морозного периода, по кривым обеспеченности находят расчетную сумму жидких осадков и продолжительность морозного периода. После этого по формулам (30) и (31) вычисляют переходные коэффициенты, затем по формулам (29), (19) и (20) - прогнозируемые объем наледи, ее среднюю и максимальную мощность.

3.23. Для расчетов сумм жидких осадков, продолжительности морозного периода и построения аппроксимирующих кривых обеспеченности разработана программа I СЕ 3 (Лед-III) для ЭВМ типа «Электроника-60».

Программа I СЕ 3 (Лед-III) приведена в прил. 6.

Пример прогнозирования расчетных параметров ключевой наледи приведен в прил. 7.

Прогнозирование параметров наледей на потенциально наледных водотоках

3.24. К этой группе относятся водотоки, на которых в период изысканий природные наледи не обнаружены, но по данным гидрогеологического и мерзлотно-геологического обследования в суровые зимы и после дождливой осени они могут развиваться. Строительство дорожных сооружений нарушает естественный водно-тепловой режим водотока. Во многих случаях это приводит к активизации наледного процесса. Наледи могут появиться там, где раньше их не было.

3.25. Определение расчетных параметров наледей на указанных водотоках может быть сделано одним из следующих способов. Необходимо тщательно обследовать берега и попытаться найти косвенные признаки образования наледи в предыдущие годы. Опросы старожилов и обследование растительности могут дать сведения о размерах наледи и давности ее образования. Определив уровень наледи, по рельефу местности можно приближенно определить ее размеры. Затем вероятностным методом переходных коэффициентов сделать прогноз ее параметров с необходимой вероятностью превышения.

Если при обследовании водотока косвенные признаки границ наледи не обнаружены, а гидрогеологическое и мерзлотно-геологическое обследование водотока и намечаемые нарушения природных условий постройки сооружения показывают возможность образования наледи, то ее параметры могут быть приближенно определены методом гидравлических сопротивлений.

3.26. Расчетные толщины наледей поверхностных вод средняя и максимальная Zрн ср и Zрн max, вызванных нарушением естественных водно-тепловых условий водотока при строительстве и образующихся по схеме 1-а (рис. 4), могут быть определены по формулам:

Zрн ср=g(DI+1,09rhc);                                                   (34)

Zрн max=Y Zрн ср,                                                        (35)

где g - коэффициент надежности, принимаемый равным 1,20; D - параметр, значения которого определяют по графикам (рис. 5) в зависимости от отношения величин hП/(НВ-df); HВ - глубина потока в начале ледостава; df - глубина промерзания выше стесненного участка; hП - глубина потока в зоне стеснения; I - уклон водотока; hс - толщина снега, м; r - плотность снега; Y - коэффициент формы наледи.

3.27. Расчетная толщина наледей грунтовых вод, вызванных нарушением естественных условий при строительстве и образующихся по схеме II-а (см. рис. 4), может быть определена по формуле

ZГн ср=g(Z1+Z2+1,09rhc),                                                  (36)

где                                                 Z1=0,88d'                                                       (37)

Z2=                                                     (38)

                                                   (39)

d=1 при                                                                                   (40)

                                                 (41)

где Sx - коэффициент сопротивления грунтовой перемычки; d - коэффициент, значения которого определяют из условий (40-41); dfм - максимальная глубина промерзания под искусственным сооружением или на естественном участке, м; dw - глубина залегания зеркала грунтовых вод, м; d' - коэффициент, определяемый в зависимости от отношения глубины залегания зеркала грунтовых вод к глубине залегания водоупора:

dw/HВ          0,03      0,05       0,10         0,15         0,20         0,25         0,30

d'................ 0,26      0,35       0,47         0,60         0,67         0,73         0,80

Максимальная толщина грунтовой наледи

Zн max=YZн ср.                                                          (42)

Рис. 4. Схемы образования наледей, вызванных нарушением естественных водно-тепловых условий:

I-а - на поверхностных водотоках; II-а - при грунтовом потоке:

1 - речной лед; 2 - снег; 3 - аллювиальные отложения; 4 - водоупор; 5 - мерзлый грунт; Q2 - излив наледеобразующей воды

Рис. 5. Графики для определения параметра D при  
а - при малых значениях D; б - при больших значениях D

Если перед ледоставом на водотоке наблюдается поверхностный сток, параметры наледи смешанных вод могут быть определены по формулам:

Zсн ср= Zрн ср+ZГн ср;                                                     (43)

Zсн max=YZсн ср.                                                        (44)

4. ПРОЕКТИРОВАНИЕ ИСКУССТВЕННЫХ СООРУЖЕНИЙ НА ВОДОТОКАХ С НАЛЕДЯМИ

Принципы проектирования и типы сооружений

4.1. На водотоках с наледями искусственные сооружения должны быть запроектированы так, чтобы наледи не оказывали на них вредных воздействий и не создавали затруднений при эксплуатации в течение всего срока службы. Это достигается применением рациональных типов и размеров сооружений, максимальным сохранением на переходе природных условий, организацией зимнего стока, строительством противоналедных сооружений и проведением мероприятий по борьбе с наледями в период эксплуатации.

Искусственные сооружения на водотоках с наледями проектируют на основе данных инженерно-геологического обследования водотоков и прогнозирования наледных процессов. При прогнозировании определяют расчетные параметры наледей, по которым с учетом пропуска паводковых вод назначают размеры отверстий искусственных сооружений.

4.2. На водотоках с наледями можно проектировать следующие тины искусственных сооружений: 1) мосты на свайных и столбчатых опорах; 2) прямоугольные и круглые трубы; 3) трубы с постоянными противоналедными устройствами; 4) трубы с фильтрующими насыпями.

Выбор типа искусственного сооружения зависит от водности водотока, мерзлотно-грунтовых и гидрогеологических условий, размеров наледи, характера ее действия и принятого принципа проектирования.

4.3. Применяемые на водотоках с наледями тины искусственных сооружений не должны вносить больших нарушений в естественный водно-тепловой режим водотока. Чтобы не вызвать активизацию наледного процесса, стеснение подруслового потока фундаментами сооружений должно быть минимальным и на месте перехода необходимо максимально сохранять естественные природные условия.

Совершенно недопустимо на водотоках с наледями применять опоры мостов и водопропускные трубы с массивными фундаментами, которые значительно стесняют площадь фильтрации подрусловых вод, нарушают режим грунтового потока и приводят к активизации наледного процесса.

4.4. Рациональными типами опор мостов на водотоках с наледями являются свайные и из свай-столбов (рис. 6). Такие опоры мало стесняют фильтрационный порусловый поток и не вносят больших нарушений в его режим.

Рис. 6. Конструкция свайно-эстакадных мостов на водотоках с наледями:

а - фасад моста; б - опора с вертикальными сваями; в - опора на двух вертикальных сваях-столбах; г - то же, на двух наклонных сваях-столбах; д - одностолбчатая опора; 1 - уровень ледостава; 2 - отметка заложения опор

Опоры могут быть из ряда вертикальных свай (рис. 6, б) или из двух свай-столбов вертикальных (рис. 6, в) или наклонных (рис. 6, г). Наклонные сваи-столбы целесообразно применять при опасности деформаций от воздействия наледных бугров или морозного пучения грунтов. При таких условиях рациональны также одностолбчатые опоры (рис. 6, д), у которых большая постоянная нагрузка на столб, что увеличивает их устойчивость при пучении.

4.5. Водопропускные трубы можно проектировать на водотоках с небольшими наледями, когда их прогнозируемая толщина с расчетной обеспеченностью не превышает 2/3 высоты отверстия трубы. В необходимых случаях трубы следует проектировать в комплексе с противоналедными устройствами.

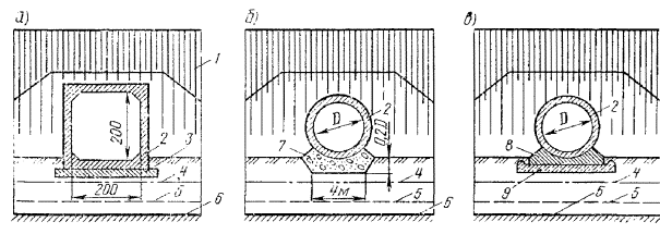
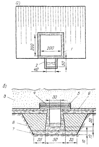
4.6. При благоприятных грунтовых условиях (гравий, галька, пески) на водотоках с наледями можно применять прямоугольные или круглые трубы на гравийно-песчаных подушках или фундаментах из сборных плит без противофильтрационных экранов (рис. 7, а, б). Чтобы глубина промерзания под трубой не превышала глубину промерзания в бытовых условиях, в основании трубы в ряде случаев могут быть сделаны теплоизоляционные подушки (рис. 7, а).

4.7. Толщина теплоизоляционной подушки НТП под трубой при применении естественных теплоизоляционных материалов:

                                                  (45)

где                                                        (46)

где dfИ и df - глубина промерзания соответственно под фундаментом трубы при отсутствии теплоизоляционной подушки и с верховой стороны трубы в естественных условиях (определяются по формуле (24); hф - толщина плиты фундамента, м; lГР и lТП - коэффициенты теплопроводности соответственно мерзлого грунта и материала теплоизоляционной подушки, Вт/(м×°С); LГР и LТП - количество скрытой теплоты льдообразования соответственно в единице объема грунта и материала теплоизоляции, Дж/м3.

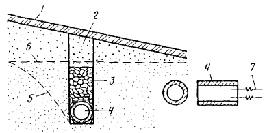
Рис. 7. Конструкция труб на водотоках с наледями при благоприятных грунтовых условиях:

а - прямоугольная труба на фундаменте из сборных плит; б - круглая на гравийно-песчаной подушка; г - круглая на фундаменте из лекальных железобетонных блоков с теплоизоляционной подушкой

1 - граница укрепления откоса; 2 - сборные звенья трубы; 3 - фундамент из сборных железобетонных плит; 4 - уровень грунтовых вод; 5 - граница сезонного промерзания; 6 - водоупор; 7 - гравийно-песчаная подушка; 8 - лекальные блоки фундамента; 9 - теплоизоляционная подушка

Рис. 8. Конструкция круглой железобетонной трубы на однородном свайном основании:

1 - граница укрепления откоса; 2 - сборные звенья трубы длиной 2-3 м; 3 - железобетонная насадка; 4 - сваи на расстоянии, равном длине сборных звеньев трубы; 5 - верхняя граница многолетней мерзлоты; 6 - граница сезонного промерзания; 7 - уровень грунтовых вод

Толщину теплоизоляционной подушки из искусственных материалов (пенопласта, полистирола) определяют из условия, что глубина промерзания под фундаментом трубы не более глубины промерзания в естественных условиях. При этом глубину промерзания под фундаментом определяют при термическом сопротивлении, вычисляемом по формуле,

                                                      (47)

где hФ и lФ - соответственно толщина и коэффициент теплопроводности фундамента; НТП и lТП - толщина и коэффициент теплопроводности теплоизоляционной подушки.

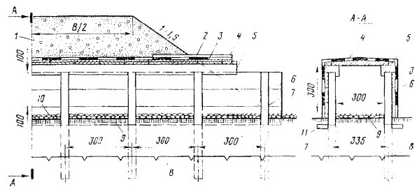
4.2. При слабых и многолетнемерзлых грунтах в основании (сильно льдистых и пучинистых) могут быть применены круглые железобетонные трубы на однорядном свайном основании (рис. 8). При этой конструкции длинномерные звенья трубы (2- 3 м) опираются на фасонные насадки свай. Конструкция таких труб обеспечивает минимальное нарушение естественного мерзлотно-технологического режима водотоков.

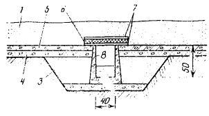
При аналогичных условиях и наледях несколько больших размеров в отдельных случаях может быть целесообразна свайно-щитовая труба конструкции Ленгипротранса (рис. 9).

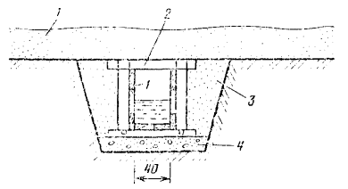
В глубоких логах и наледях большой толщины рациональна конструкция двухъярусной трубы, предложенная С.И. Гапеевым (рис. 10). Фундамент трубы состоит из железобетонных полых звеньев, заполняемых камнем и галькой. На фундаментные блоки в два яруса устанавливают прямоугольные блоки трубы и крылья оголовков. По высоте труба имеет два отверстия размеров 2´2 м. Между верхним и нижним ярусами в звеньях трубы делают отверстия размером 0,5´1,0 м. Если зимой образуется наледь толщиной 2,5-3,0 м и нижний ярус трубы окажется заполненным наледным льдом, это не опасно, так как остается свободной часть отверстия верхнего яруса. Когда начнется весенний сток, паводковые воды будут проходить через отверстия между ярусами трубы, и лед нижнего яруса будет подвергаться быстрому термоэрозионному разрушению.

Рис. 9. Конструкция железобетонной свайно-щитовой трубы Ленгипротранса:

1 – насыпь; 2 - защитный слой цементного раствора; 3 – гидроизоляция; 4 - плита перекрытия; 5 - насадки (ригели); 6 - закладные плиты; 7 - сваи; 8 - верхняя граница многолетней мерзлоты; 9 - растительный мохо-торфяной слой; 10 - укрепление растительного слоя деревянным настилом, покрытым галькой и гравием; 11 - щебеночная подушка

Рис. 10. Железобетонная двухъярусная труба для водотоков с наледями:

1 - железобетонные звенья трубы; 2 - отверстия в железобетонных звеньях размером 0,5´1,0 м; 3 - крылья оголовка; 4 - полые сборные звенья фундамента, заполняемые камнем и галькой

Рис. 11. Железобетонная труба с фильтрующей насыпью:

1 - насыпь; 2 - дренирующий грунт; 3 - сборные звенья круглой трубы; 4 - фильтрующая насыпь

4.9. В районах с местными каменными материалами трубы на водотоках с наледями целесообразно строить в комплексе с фильтрующими насыпями. Нижнюю часть насыпи на высоту 1,0-1,5 м возводят из камня, над которой устанавливают трубу (рис. 11). Фильтрующая насыпь выполняет роль фундамента трубы и одновременно пропускает малые расходы. Труба, поднятая на высоту 1,0-1,5 м над дном лога, меньше подвержена затоплению наледью. Весной она обеспечивает пропуск максимального расхода, а затем большую часть года находится в сухом состоянии, что увеличивает ее долговечность.

На суходолах с небольшими расходами и возможностью образования наледей малой толщины (не более 0,4 м) вместо труб допускается возводить фильтрующие насыпи (рис. 12).

Рис. 12. Фильтрующая насыпь:

1 - грунт; 2 - каменная отсыпка

4.10. Отверстия искусственных сооружений на водотоках с наледями определяют расчетом на пропуск по поверхности наледи расчетного паводка. При гидравлическом расчете, отверстия не учитывают срезку и размыв, напорный и полунапорный режимы для труб не допускаются. Отверстия должны быть не менее 2 м для круглых и прямоугольных труб и 15 м для мостов. Для труб, сооружаемых в комплексе с фильтрующей насыпью, отверстие может быть назначено 1,5 м.

Малые мосты рекомендуется проектировать, как правило, на свайных опорах (см. рис. 6, б). При невозможности погружения свай забивкой можно применять бурообсадные или опускные сваи.

4.11. На водотоках с наледями искусственные сооружения проектируют по одному из следующих принципов:

1) свободный пропуск наледи через зону искусственного сооружения;

2) безналедный пропуск водотока;

3) задержание наледи выше искусственного сооружения.

Выбор принципа проектирования зависит от размера наледи и характера ее развития, мерзлотно-гидрологических условий, рельефа местности, типа и конструкции проектируемого искусственного сооружения и технико-экономических соображений.

Свободный пропуск наледей через зону искусственного сооружения

4.12. Свободный пропуск наледей через зону искусственного сооружения применяют на водотоках с большими природными наледями, когда устранить причину образования наледи или задержать ее выше сооружения невозможно или экономически нецелесообразно. Этот принцип особенно рационален, когда по расчету отверстия на пропуск паводковых вод требуется строить мост, способный одновременно пропускать наледеобразующую воду в течение всей зимы. При этом отпадает необходимость строительства противоналедных сооружений.

При свободном пропуске наледеобразующая вода небольшими слоями свободно стекает через отверстие искусственного сооружения в низовую сторону, постепенно наращивая мощность наледного льда. Если отверстие сооружения и пойменные насыпи имеют высоту более максимального уровня наледи и запас для стока весенних вод, то никаких работ по борьбе с наледью в течение всей зимы не требуется. В этом большое преимущество данного принципа проектирования, поэтому он является предпочтительным перед другими, если это не связано со значительным удорожанием строительства.

Мосты на водотоках с наледями должны проектироваться как правило, по принципу свободного пропуска.

4.13. На водотоках с наледями высота подмостового габарита НГ должна обеспечивать свободный пропуск в течение всего зимнего периода наледеобразующих вод и весеннего паводка по поверхности наледи (рис. 18). Это условие определяется формулой

НГ=Zmax p+hB+DhC,                                                      (48)

где Zmax p - максимальная толщина наледи с заданной обеспеченностью; hB - высота, необходимая для пропуска по наледи расчетного расхода весенних вод; DhC - просвет от расчетного уровня воды до низа пролетного строения, принимаемый по п. 1.23 СНиП 2.05.03-84.

4.14. Так как на водотоках с наледями русло блуждает, фундаменты всех промежуточных опор моста необходимо закладывать на одной отметке, вычисляя ее от отметки дна русла в наиболее глубоком месте русла (см. рис. 13). Глубину заложения определяют по условиям обеспечения устойчивости опоры при расчетном расходе воды с учетом возможного размыва согласно указаниям СНиП 2.05.03-84.


Рис. 13. Схема для определения подмостового габарита и глубины заложения опор моста на водотоках с наледями:

УВВ - уровень высокой воды; УНР - уровень наледи расчетный; УНИ - уровень наледи в год изысканий; УЛ - уровень ледостава


4.15. Пойменные насыпи на подходах к искусственным сооружениям целесообразно отсыпать из дренирующих грунтов. Бровка земляного полотна подходов должна возвышаться над прогнозируемым уровнем наледи расчетной обеспеченности не менее 0,5 м.

Безналедный пропуск водотоков

4.16. Безналедный пропуск водотоков применяют на постоянных водотоках и ключах, выходы которых на поверхность расположены на небольшом расстоянии от сооружения, когда безналедный пропуск осуществить технически проще и экономически выгоднее, чем другие средства борьбы с наледью. Кроме того, его применяют на объектах, эксплуатация которых в условиях наледеобразования недопустима (тоннели, переезды, близко расположенные производственные и жилые здания). Наибольший эффект безналедный пропуск водотоков дает в районах со значительным снежным покровом и со среднемесячной температурой наиболее холодного месяца до минус 25° С.

Безналедный пропуск водотоков обеспечивается путем концентрации, спрямления и утепления русла при протекании в зоне искусственного сооружения и на подходах к нему и создания оптимального режима потока в зимнее время. Для этого в зависимости от климатических и мерзлотно-гидрологических условий водотока, а также результатов теплотехнического расчета могут применяться различные средства.

4.17. На распластанных руслах из нескольких неглубоких рукавов для уменьшения ширины охлаждения водотока и улучшения его гидравлических показателей отдельные рукава и протоки следует собрать в одно концентрированное, спрямленное и углубленное русло. Часто это полностью ликвидирует образование наледей.

4.18. Для безналедного пропуска водотоков через зону искусственных сооружений могут применяться специальные водоотводные лотки, которые делают деревянными или из сборных железобетонных элементов с утеплением древесиной, пенопластом и другими теплоизоляционными материалами. Лотки могут быть открытые и закрытые. Их прокладывают через отверстие искусственного сооружения, заглубляют в русло водотока и по ним концентрированным потоком отводится наледеобразующая вода в низовую сторону сооружения без замерзания в течение всей зимы. Их целесообразно применять, когда наледеобразующий источник (например, ключ) находится на небольшом расстоянии от искусственного сооружения и четко выражен, что позволяет поток сосредоточить и пустить по узкому лотку.

Рис. 14. План расположения утепленного железобетонного лотка в зоне искусственного сооружения:

1 - водозаборник; 2 - открытый лоток: 3 - снегозадерживающие щиты; 4 - закрытый лоток; 5 - водоприемник; 6 - снег

На рис. 14 и 15 показан пример применения утепленного лотка для безналедного пропуска водотока в суровых климатических условиях. Железобетонный лоток сечением 0,4´0,5 м заглублен в русло водотока и закрыт крышкой из досок с прокладкой из пенопласта. У источника сделан из камня водозаборник, а в конце лотка водоприемник. С наветренной стороны в начале зимы устанавливают снегозадерживающие щиты, которые создают над лотком и руслом снежные отложения, утепляющие лоток.

4.19. Расчет безналедного пропуска водотоков заключается в определении размеров лотков и канав, их утепления и возможной длины без замерзания потока. Теплотехнический расчет может быть выполнен по формуле (49), которая позволяет определить температуру водного потока по его длине

t=M+e-s(tB-M),                                                         (49)

где tB - температура воды в лотке на расстоянии х от его начала; М и S - параметры, определяемые по формулам:


Рис. 15. Продольный профиль и детали утепленного лотка:

1 - водозаборник; 2 - открытый лоток; 3 - закрытый лоток; 4 - мост; 5 - водоприемник; 6 - снег; 7 - лед; 8 - доски толщиной 4 см; 9 - гравий с песком; 10 - грунт; 11 - пенопласт

lОЛ - длина открытого лотка; lЗЛ - длина закрытого лотка


                                             (50)

                                                   (51)

Q - расход водотока, м3/с; I - уклон лотка или канавы; tВОЗ - расчетная температура воздуха, которую принимают для открытых лотков и канав равной средней минимальной за наиболее холодный месяц; для закрытых лотков и канав - равной температуре воздушной прослойки tПР между перекрытием и водой, определяемой по формуле,

                                                          (52)

х - расстояние от начала лотка или источника до сечения, в котором определяется температура, м; tВОЗ - средняя температура воздуха за наиболее холодный месяц зимнего периода; m0 - коэффициент, определяемый по графику на рис. 16 в зависимости от толщины слоя теплоизоляции и коэффициента а температуропроводности материала перекрытия, а также времени t, принимаемого равным 1 мес. (t=720ч); b - ширина отверстия лотка, м; b1 - смоченный периметр лотка, м; tИ – температура воды источника в начале лотка или канавы в наиболее холодный месяц зимы, °С; aМ - коэффициент теплопередачи через многослойную плоскую стенку, Вт/(м2×°С); R и Ф - соответственно термическое сопротивление и величина теплопотерь, определяемые по формулам:

Рис. 16. Зависимость между толщиной слоя теплоизоляции НТ и коэффициентом m0

1) для открытого лотка, углубленного в грунт,

R=1/a1; Ф=aMb1tГ,                                                    (53)

2) для закрытого лотка, углубленного в грунт и имеющего перекрытие,

R=1/a2; Ф=aMb1tГ.                                                    (54)

Коэффициент aM теплопередачи через многослойную стенку определяют из уравнения:

                                                  (55)

В формулах (53)-(55):

aM - коэффициент теплоотдачи от воды в воздух, при малых скоростях воздушного и водного потоков приближенно равный 30-40 Вт/(м2×°C); tГ - температура грунта в естественных условиях в наиболее холодный месяц на глубине заложения лотка; a2 - коэффициент теплоотдачи от воды к воздушной прослойке между перекрытием и водой, равный 30-40 Вт/(м2×°C); dСТ - толщина стенки, м; a3 - коэффициент теплоотдачи от воды к стенке лотка, зависящий от скорости течения в лотке и числа Рейнольдса, ориентировочно равный 4-5 Вт/(м2×°C); a4 - коэффициент теплоотдачи от стенки лотка в грунт (3-5 Вт/(м2×°C); lСТ - коэффициент теплопроводности материала стенки, Вт/(м2×°C)

Формулы (49)-(55) позволяют при известных гидравлических и тепловых характеристиках потока и заданной конструкции лотка определить его длину, при которой возможен безналедный пропуск, или при заданной длине лотка обосновать его конструкцию и утепление.

В прил. 8 приведен пример расчета безналедного пропуска водотока с применением закрытого утепленного лотка.

Задержание наледей выше искусственных сооружений

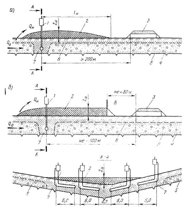
4.20. Задержание наледей выше искусственных сооружений применяют на водотоках с небольшими расходами наледеобразующей воды; когда посредством заграждений можно аккумулировать весь объем наледного льда, который образуется за зиму, или его большую часть. Это особенно целесообразно в районах с малым снежным покровом и низкой среднемесячной температурой воздуха наиболее холодного месяца.

При этом методе наледеобразующий поток задерживается выше сооружения на безопасном расстоянии, и наледь формируется выше заграждения. Если наледеобразующая вода изливается на поверхность непосредственно у сооружения вследствие стеснения грунтового потока фундамента, тогда устраивают мерзлотные пояса и наледный процесс искусственно возбуждается выше сооружения на безопасном расстоянии.

Для задержания наледей выше сооружений в зависимости от конкретных условий применяют различные противоналедные сооружения и устройства.

4.21. Грунтовые валы (табл. 5, п. 1) применяют как постоянные противоналедные сооружения для задержания наледей различных размеров, а также для направленного регулирования стока наледеобразующей воды. Их следует возводить из слабодренирующих грунтов с предварительным удалением растительного слоя в основании и послойным уплотнением отсыпаемого грунта.

При отсутствии слабодренирующих грунтов валы можно возводить из гравийно-песчаных грунтов. Во избежание интенсивной фильтрации через вал наледеобразующей воды в его теле необходимо устраивать противофильтрационную диафрагму.

Для диафрагм можно применять стабилизированную полиэтиленовую пленку толщиной 0,2-0,4 мм. Морозостойкость такой пленки составляет -70°C, а прочность на разрыв 12 МПа. Пленку следует укладывать без натяжения с волнистостью.

4.22. Над руслом водотока в грунтовом теле следует оставлять проем длиной не менее отверстия искусственного сооружения для пропуска весенних и ливневых вод. На зимний период проем закрывают сборно-разборным забором или щитами.

Откосы валов с верховой стороны необходимо укреплять посевом трав или каменной наброской. Особенно хорошо должны быть укреплены конуса вала в проеме, где они часто подвергаются размывам весенними и летними паводками. Тип крепления для них выбирают в зависимости от скорости течения воды.

4.23. Высоту грунтовых валов следует назначать не менее 0,5 м выше прогнозируемой мощности наледи. Высота грунтового вала более 2,5-3,0 м нерациональна. Лучше применять другой тип задерживающих устройств. Длина вала должна полностью перекрывать наледный лог на уровне 0,5 м выше прогнозируемой наледи.

В зависимости от способа производства работ и рода грунтов ширину вала поверху назначают 1,0-3,0 м, а заложение откосов - 1:1,5.

4.24. Вместо грунтовых валов для задержания наледей можно применять противоналедные заборы. Они могут быть деревянные и железобетонные. Деревянные заборы следует строить, когда их необходимо разбирать для пропуска весенне-летних паводков.

Заборы могут перекрывать всю ширину лога или проем между грунтовыми валами. Их возводят на сваях или столбах. Заполнение может быть из обрезных досок табл. 5, п. 2, а), досок со стабилизированной пленкой (табл. 5, п. 2, б), досок или рам с рубероидом (табл. 5, п. 2, в). Полиэтиленовую пленку прикрепляют к доскам с верховой стороны водотока. При этом между досками делают щели по 20-30 см, которые закрывают пленкой.

Вместо пленки забор из реек можно обшивать рубероидом. При необходимости разборки весной заполнение целесообразно делать из рам, обшитых рубероидом.

Когда режим наледи хорошо изучен, заборы целесообразно делать постоянными на железобетонных сваях с заполнением сборными железобетонными плитами толщиной 8-10 см. Такие заборы должны перекрывать всю ширину лога. Над руслом в них устраивают проем с заполнением из рам, обшитых рубероидом или другим водонепроницаемым материалом. Сваи или столбы устанавливают на расстоянии 2-3 м. Высота стенки забора должна быть не менее 0,5 м выше прогнозируемого уровня наледи.

Когда часть наледеобразующей воды необходимо пропускать через отверстие искусственного сооружения, между низом стенки забора и поверхностью земли или ледостава оставляют просвет, равный толщине наледи, которую можно допустить в отверстии искусственного сооружения.

На рис. 17 показан грунтовый вал и забор для задержания наледи выше трубы.

4.25. Противоналедные валы и заборы хорошо задерживают натекающие наледи, когда наледеобразующая вода изливается на поверхность выше ограждений. Если наледеобразующая вода изливается на поверхность ниже вала или забора, то валы и заборы задержать наледь не могут. В этом случае следует искусственно вызвать наледный процесс выше заграждений.

Рис. 17. Схема противоналедного вала и забора для задержания наледи выше трубы:

1 - место выхода наледеобразующей воды; 2 - тело наледи; 3 – противоналедный грунтовый вал; 4 – противоналедный забор; 5 - сваи; 6 - доски; 7 - укрепление откосов вала

Для этого применяют мерзлотные пояса, которые перехватывают поток грунтовых или поверхностных вод и выводят их на поверхность в месте, удаленном от искусственного сооружения. В результате место формирования наледи смещается вверх по водотоку, а зона искусственного сооружения оказывается без наледи.

4.26. Постоянные мерзлотные пояса могут быть грунтовые и с охлаждающими установками.

Грунтовый мерзлотный пояс (табл. 5, п. 5, в) представляет собой канаву шириной 1-3 м. Глубину канавы назначают с расчетом, чтобы под ее дном глубина сезонного промерзания достигала водоупора и на пути грунтовых вод образовалась мерзлотная перемычка. С низовой стороны канавы делают заградительный вал, а с верховой расчищенную от снега полосу шириной 5 м.

Грунтовые мерзлотные пояса как постоянные сооружения можно устраивать для перехвата грунтовых вод и вывода их на поверхность в удалении от земляного полотна подходов при глубине залегания водоупора не более 2,5-3,0 м. При этом наиболее целесообразно их применять при небольшом дебите грунтовых вод, когда водоупором являются скальные или глинистые породы.

4.27. На водотоках, протекающих в узких долинах, при низкой зимней температуре мерзлотные пояса целесообразно устраивать с охлаждающими установками. Охлаждающие установки состоят из металлических труб разных диаметров, соединенных в замкнутую систему (рис. 18). Нижняя часть установки находится в фильтрационном слое грунта, который требуется заморозить. В надземной части установки в трубе меньшего диаметра охлаждение керосина происходит быстрее, чем в трубе большего диаметра, поэтому происходит его циркуляция. Температура охлажденного керосина передастся грунту, и вокруг труб постепенно образуется цилиндр мерзлого грунта. Располагая установки на определенном расстоянии по линии мерзлотного пояса, из цилиндров замороженного груша создается мерзлотная перемычка на пути речных и грунтовых вод (см. рис. 18).

Рис. 18. Схема применения охлаждающих установок для образования мерзлотного пояса при задержании наледи выше трубы:

а - без противоналедного забора; б - с противоналедным забором

1 - охлаждающие установки; 2 - наледь; 3 - водопропускная труба; 4 - водоносный грунт; 5 - водоупор; 6 - граница сезонного промерзания; 7 - мерзлотная перемычка; 8 - противоналедный забор

4.28. Мерзлотные пояса с охлаждающими установками в сравнении с грунтовыми имеют существенные преимущества. Они не создают условий для деградации многолетней мерзлоты и обеспечивают в течение многих лет создание зимой надежной мерзлотной перемычки. Такие пояса экономичны при эксплуатации.

Если мерзлотный пояс с охлаждающими установками располагается от искусственного сооружения на расстоянии, большем длины растекания наледеобразующей воды, то для задержания наледи забор ставить не надо (см. рис. 18, а). При расстоянии мерзлотного пояса от сооружения меньше длины растекания для задержания наледи устанавливают забор (см. рис. 18, б).

4.29. Мерзлотные пояса с охлаждающими установками следует применять только в случаях, когда надо отдалить от сооружения место выхода наледеобразующей воды на поверхность. Если излив происходит далеко, устраивать мерзлотный пояс на участке между началом образования наледи и сооружением не нужно.

В прил. 9 приведены конструкция двухтрубной охлаждающей установки и ее расчет.

5. ОСОБЕННОСТИ СТРОИТЕЛЬСТВА ИСКУССТВЕННЫХ СООРУЖЕНИЙ И ПРОТИВОНАЛЕДНЫХ УСТРОЙСТВ

5.1. Опыт строительства искусственных сооружений в районах распространения наледей показывает, что нарушение при строительстве естественных мерзлотно-гидрогеологических условий водотоков всегда приводит к активизации наледных процессов. После производства строительных работ на водотоках активизируются не только природные наледи, но часто наледи образуются там, где их никогда не было.

В связи с этим производство строительных работ на водотоках с наледями должно быть организовано так, чтобы оно как можно меньше нарушало естественные мерзлотно-гидрогеологические условия водотока и режим протекания поверхностных и грунтовых вод. В полосе перехода через водоток и вблизи от нее нельзя удалять растительность, мохово-растительный покров, допускать движение по растительному слою тракторов, автомобилей и других тяжелых машин, следует избегать устройства котлованов и противофильтрационных экранов у труб. Особенно это имеет большое значение при постройке малых мостов и труб.

5.2. При слабых и заторфованных грунтах, а также при многолетнемерзлых грунтах в основании, на строительной площадке для работы кранов на временных подъездах следует укладывать инвентарные железобетонные плиты, которые предохраняют растительный покров. Временные сооружения и бетоносмесительные узлы размещают не ближе 100 м от перехода и возводят на отсыпках из крупноскелетных грунтов.

Объезды устраивают за пределами дорожной полосы на расстоянии не менее 100 м, как правило, с низовой стороны, обставляя их указательными вехами и дорожными знаками.

5.3. При пересечении водотоков земляное полотно дороги на поймах и в логах возводят из дренирующих грунтов с сохранением мохово-растительного покрова в основании. Нижние слои насыпей на высоту 0,5 м отсыпают по способу «от себя», а последующие - продольным способом.

Работы по строительству искусственных сооружений при устойчивых грунтах производят как зимой, так и летом. При наличии в основании многолетнемерзлых и слабых грунтов строительные работы на мостовом переходе следует производить, как правило, зимой, начиная их после промерзания грунта на глубину не менее 0,3 м.

5.4. Сваи опор мостов погружают забивкой или вибропогружателями, если грунты не содержат валунов и гальки.

В гравийно-галечниковые грунты с содержанием валунов, а также в мерзлые грунты сваи и столбы погружают с применением лидерного бурения. Пробуренные до проектной отметки скважины должны быть тщательно очищены от шлама. После этого в пробуренную скважину заливают цементо-песчаный раствор на высоту 2 м и опускают столб или сваю. Затем инвентарную обсадную трубу из скважины извлекают.

На малых и средних водотоках с наледями сооружение массивных фундаментов в открытых котлованах не допускается.

Ригели опор и пролетные строения должны возводиться, как правило, из сборных элементов заводского изготовления с расчетом, чтобы объем работ на строительной площадке был минимальным.

5.5. Работы по постройке труб на водотоках с наледями можно производить как летом, так и зимой. Зимний период целесообразно использовать для доставки на строительную площадку сборных элементов и устройства фундаментов при многолетнемерзлых грунтах в основании, а также для постройки труб на заболоченных местах.

Предусмотренную по проекту теплоизоляционную подушку необходимо укладывать на очищенное от разрыхленного грунта и выровненное дно котлована. Для этого используют подсыпку толщиной до 5 см из мелкого щебня, втрамбованного в грунт дна котлована.

После монтажа сборных железобетонных труб заделку стыков и швов желательно производить при положительной температуре воздуха. При отрицательной температуре воздуха эти работы выполняют, соблюдая предусмотренный проектом состав раствора и температурный режим в периоды укладки и твердения.

При постройке круглых железобетонных труб гравийно-песчаные подушки устраивают в два этапа. Вначале отсыпают нижнюю часть подушки до уровня лотка трубы, придавая ее поверхности вдоль трубы очертание строительного подъема. Гравийно-песчаную смесь разравнивают и уплотняют. После этого укладывают трубу, а затем досыпают верхнюю часть подушки. Подбивку грунта необходимо производить с расчетом, чтобы центральный угол опирания конструкции был не менее 120°, а грунт подушки уплотнен до 0,95 максимальной стандартной плотности.

При производстве работ в зимнее время для устройства подушки разрешается применять только талый (сухой, несмерзшийся) грунт: пески средней крупности, крупные, гравелистые, щебенисто-галечниковые и деревянно-гравийные грунты, не содержащие включений размером более 50 мм.

5.6. Грунтовые противоналедные валы возводят летом или осенью. Если грунты вала сильно дренирующие и проектом предусмотрело устройство противофильтрационной диафрагмы, сначала по оси вала на кольях подвешивают полиэтиленовую пленку. После этого с обеих сторон пленки отсыпают защитные слои песка, придавая пленке волнистость. Затем производят отсылку тела вала с одновременным его уплотнением бульдозером. Откосы планируют и укрепляют.

5.7. При устройстве мерзлотных поясов с охлаждающими установками экскаватором тина «Беларусь» роют траншею до расчетной отметки заложения труб. При этом необходимо проверить, на какой глубине находится водоупор и соответствует ли она проекту. При глубине расположения водоупора, отличающейся от проектной, необходимо сделать изменения в проекте.

Изогнутые охлаждающие установки устанавливают в траншее так, чтобы уклон труб подземной части был 1:10, а расстояние в свету между трубами соседних установок в земле 0,7-0,8 м.

Нижнюю часть траншеи на 0,2 м выше поверхности труб следует заполнить грунтовым раствором, обеспечивающим интенсивный теплосъем. Верхнюю часть траншеи засыпают песком или песком с гравием, тщательно трамбуя.

5.8. В дополнение к замораживанию грунта циркуляцией холодного керосина следует использовать естественное промерзание грунта в зимнее время. Это позволяет увеличить общую глубину мерзлотной перемычки, что учитывается в расчете. Поэтому над мерзлотным поясом укладывать обратно снятый слой мохового покрова не надо, оставив полосу оголенного грунта для обеспечения интенсивного естественного промерзания.

5.9. После установки в проектное положение и заполнения траншеи грунтом охлаждающие установки заполняют керосином. Уровень заполнения керосином определяют расчетом, но во избежание его недолива или перелива под крышкой расширителя охлаждающей установки предусмотрено отверстие для слива лишнего керосина при расширении его в летнее время (см. пример расчета охлаждающей установки в прил. 9).

5.10. Изменение объема керосина в интервале возможного колебания температуры воздуха составляет 5 %. Это необходимо учитывать при заполнении установки керосином.

В наиболее теплое время уровень керосина должен быть ниже крышки на 5-10 см. Зимой в наиболее холодное время он должен быть на 10-15 см выше сочленения труб.

Если уровень керосина опустится ниже сочленения труб, произойдет разрыв потока, прекратятся циркуляция и работа охлаждающей установки.

5.11. Охлаждающие установки следует изготавливать из безшовных горячекатаных стальных труб (ГОСТ 9941-81). Сварка швов должна производиться особо тщательно. Во избежание утечки керосина проверка швов производится опрессованием воздухом при давлении 0,6-0,8 МПа.

6. БОРЬБА С НАЛЕДЯМИ ПРИ ЭКСПЛУАТАЦИИ ИСКУССТВЕННЫХ СООРУЖЕНИЙ

6.1. Успешная борьба с наледями во многом зависит от хорошо поставленной службы содержания и ремонта искусственных сооружений, так как только при эксплуатации выявляются все особенности развития наледей у сооружений в многолетнем цикле.

Задачи службы содержания и ремонта искусственных сооружений на водотоках с наледями следующие:

1) учет всех наледей и составление технической документации на них;

2) разработка ежегодных планов борьбы с наледями;

3) выполнение летне-осенних работ по подготовке к борьбе с наледями;

4) систематическое наблюдение за развитием наледей у сооружений и работой противоналедных устройств;

5) выполнение работ по борьбе с наледями в периоды их развития;

6) выполнение весенних работ по предотвращению вредного влияния наледей при пропуске паводка.

На все наледи составляют паспорта. В паспорте заносят данные о местонахождении наледи, ее развитии за каждую зиму, вредном влиянии на сооружение, применявшихся способах борьбы, их эффективности и денежных затратах.

6.2. При подготовке к зиме управлением дорог должен быть составлен план борьбы с наледями на дорогах.

Летом и осенью производят ремонт существующих и строительство дополнительных противоналедных устройств, заготовку теплоизоляционных материалов, льдомерных вех, установку их на наледных полянах с опасными и недостаточно изученными наледями.

У существующих сооружений борьба с наледями может вестись по принципам безналедного пропуска водотоков или задержания наледей выше сооружений. В табл. 4 приведены противоналедные мероприятия и устройства, применяемые при безналедном пропуске водотоков.

6.3. Образовавшиеся за лето у искусственных сооружений перекаты и отмели углубляются, в необходимых местах производятся концентрация русел и их утепление (табл. 4, п. 1.2).

Особое внимание необходимо уделять утеплению русел под мостами и отверстий труб. Обычно под мостом не бывает снежного покрова, оголенное русло глубоко промерзает и становится причиной образования наледи, поэтому его необходимо утеплять (табл. 4, п. 3, а, б).

Для предотвращения образования наледей вследствие глубокого промерзания под трубами отверстия труб целесообразно закрывать с верховой и низовой сторон пружинящими щитами с полиэтиленовой пленкой или хворостом и утеплять снегом (табл. 4, п. 4, а, б). Пружинящие щиты состоят из стального каркаса, обтянутого с двух сторон полиэтиленовой пленкой. Каркас изготовляют из арматурной стали диаметром 14 мм.

6.4. Чтобы улучшить сток грунтовых вод под пойменными насыпями, около них надо осуществлять тепловую мелиорацию путем установки щитов и снегозадержания (табл. 4. п. 5). Отработанные снегозадерживающие щиты зимой необходимо переставлять.

Таблица 4. Противоналедные мероприятия и устройства, применяемые при безналедном пропуске водотоков

Устройство и их конструктивная схема

Назначение и условия применения

1. Спрямление, углубление и концентрация русел:

а) русло до углубления

б) русло после углубления

Для уменьшения ширины охлаждения водотока при распластанных руслах, протекающих несколькими неглубокими рукавами

2. Утепление русел:

а) снегозадержание

б) покрытие хворостом и снегозадержание

1 - щиты; 2 - снег; 3 - лед; 4 - жерди; 5 - хворост

Для защиты от промерзания водотока, протекающего сконцентрированным нешироким руслом

3. Утепление русел под мостами:

а) утепление снегом

б) покрытие пленкой (или хворостом) и снегом

1 - покрытие русла привозным снегом; 2 - щиты; 3 - жерди; 4 - полиэтиленовая пленка (или хворост)

Для предотвращения глубокого промерзания под мостом и возникновения мерзлотной перемычки на водотоках с прогнозированием наледей

4. Утепление русел в отверстиях труб:

а) закрытие отверстий пленкой и утепление снегом

1 - полиэтиленовая пленка на стальном каркасе; 2 - снег; 3 - сварка пленки; 4 - каркас

б) закрытие отверстий хворостом и утепление снегом

2 - снег; 3 - хворост

Для предотвращения глубокого промерзания русла под трубой

5. Тепловая мелиорация пойм на подходах к мостам и трубам

1 - земляное полотно подходов; 2 - снег; 3 - щиты; 4 - граница сезонного промерзания; 5 - верхняя граница вечной мерзлоты; 6 - поток грунтовых вод

Для уменьшения промерзания грунта и улучшения стока грунтовых вод.

Применяется на наледных участках при благоприятных снеговетровых условиях

6. Подпруживание водотоков

1 - лед на поднятом уровне воды; 2 - снег; 3 - воздушная прослойка; 4 - затвор; 5 - перемычка

Для создания под мостом воздушно-ледяных прослоек, защищающих. водоток от промерзания.

Применяется на небольших водотоках при возможности устройства запруды.

7. Открытые водоотводные канавы

1-укрепление откосов; 2 - лед; 3 - снег

Для отвода неглубоко залегающих грунтовых вод и осушения местности

8. Утепленные водоотводные канавы:

а) покрытые хворостом и снегом

б) покрытые пленкой и снегом

1 - жерди; 2 - хворост; 3 - снег; 4 - щиты; 5 - укрепление откосов; 6 - лоток; 7 - полиэтиленовая пленка

Для отвода ключевых, поверхностных и неглубоко залегающих грунтовых вод

9. Утепленные водоотводные лотки:

а) деревянный закрытый лоток:

б) железобетонный закрытый лоток

1 - снег; 2 - деревянный лоток; 3 - грунт; 4 - гравий с песком; 5 - укрепление русла; 6 - пенопласт; 7 - доски; 8 - железобетонный лоток

Для безналедного пропуска водотока через зону искусственных сооружений

10. Глубокие дренажные лотки

1 - снег; 2 - железобетонные или деревянные рамы; 3 - доски; 4 - закладные плиты или пластины; 5 - дренирующий грунт

Для перехвата и отвода на значительное расстояние грунтовых и подземных вод

11. Закрытые глубокие дренажи:

а) с трубофильтрами

б) из экранных плит фильтрационного бетона

1 - растительный слой; 2 - местный грунт; 3 - дренирующий грунт; 4 - трубофильтры; 5 - уровень грунтовых вод после устройства дренажа; 6 - уровень грунтовых вод до устройства дренажа; 7 - эластичные вкладыши; 8 - фильтрационный бетон; 9 - экран из плотного бетона

Для глубокого дренажа грунтовых вод

Для перехвата и глубокого дренажа грунтовых вод

6.5. На некоторых водотоках с благоприятным рельефом берегов можно производить подпруживание водотоков (табл. 4, п. 6). При этом надо следить за толщиной намерзания льда и частично опускать воду из запруды, чтобы образовались две-три воздушно-ледяные прослойки по 5-7 см.

6.6. Для отвода ключевых и неглубоко залегающих грунтовых вод, а также для осушения местности могут применяться различные водоотводные канавы: открытые (табл. 4, п. 7), утепленные, покрытые хворостом и снегом (табл. 4, п. 8, а), утепленные, покрытые пленкой и снегам (табл. 4, п. 8, б).

Утепленные деревянные и железобетонные водоотводные лотки (табл. 4, п. 9, а, б) в конце осени следует закрывать и утеплять, а после прохода весеннего паводка открывать и очищать от наносов. Для перехвата и отвода грунтовых вод глубокого залегания могут быть применены глубокие дренажные лотки (табл. 4, п. 10) и закрытые глубокие дренажи с трубофильтрами (табл. 4, п. 11, а) или из экранных плит фильтрационного бетона (табл. 4, п. 11, б).

6.7. При борьбе с наледями по принципу их задержания на безопасном расстоянии от сооружения применяют противоналедные сооружения и устройства, указанные в табл. 5.

Когда возникает опасность затопления наледью дороги или закупорки отверстия искусственного сооружения, в необходимых местах делают снежно-ледяные валы и в наледном льду прорубают канавы для отвода воды в безопасное для сооружения место.

Снежно-ледяные валы делают высотой 0,5-0,8 м из уплотненного снега, облитого водой для создания ледяной водонепроницаемой корки. Когда уровень наледи достигает вершины вала, устраивают снежно-ледяной вал второго яруса.

Для борьбы с растекающейся наледеобразующей водой вместо снежно-ледяных валов рациональнее применять противоналедные щиты (табл. 5, п. 3, а, б).

Однако перечисленные мероприятия временные, и должен решаться вопрос о постройке постоянных удерживающих устройств или других способах борьбы. К следующему зимнему сезону на месте снежно-ледяного вала может быть сделан постоянный грунтовый вал (табл. 5, п. 1) или противоналедный забор (табл. 5, п. 2, а, б, в).

6.8. С целью повышения интенсивности охлаждения наледеобразующей воды и ускорения перехода ее в лед можно устраивать наледные пояса. Они представляют собой расчищенную от растительности площадку с каменной наброской (табл. 5, п. 4), на которой поток наледеобразующей воды распластывается тонким слоем, разделяется на мелкие струи, теряет скорость и охлаждается быстрее.

6.9. Когда наледи изливаются на поверхность вблизи сооружений, место их образования можно перенести вверх по водотоку или склону. Для этого устраивают сезонные мерзлотные пояса (табл. 5, п. 5, а, б). Их располагают поперек водотока или вдоль склона, расчищают от снега полосу шириной 5-10 м, вырубают во льду или грунте канаву и делают снежно-ледяной вал. При промерзании создается мерзлотная перемычка, грунтовые или речные воды изливаются на поверхность выше пояса и по канаве отводятся в безопасное место.

Постоянные мерзлотные пояса грунтовые (табл. 5, п. 5, в) и с охлаждающими установками (табл. 5, п. 5, г) устраивают при строительстве дороги. Однако в процессе эксплуатации сооружений и изучения особенностей развития наледей может возникнуть необходимость устройства дополнительных мерзлотных поясов. Их целесообразно делать осенью при низком уровне грунтовых вод.

6.10. В течение зимы необходимо периодически очищать мерзлотные пояса от снега, чтобы промерзание происходило глубже.

Для предотвращения затопления наледью охлаждающих установок и снижения их холодопроизводительности на установки необходимо надевать кожухи (например, из металлических бочек), верх которых должен быть на 0,25 м выше уровня прогнозируемой наледи. Внизу стенки кожуха надо облить водой и сморозить с землей, чтобы в кожух не затекала вода.

Таблица 5. Противоналедные сооружения и устройства, применяемые при задержании наледей выше мостов и труб

Противоналедные сооружения и их конструктивная схема

Назначение и условия применения

1. Противоналедные грунтовые валы

1 - наледный лед; 2 - сборно-разборный забор в проеме вала; 3 - вал из грунта; 4 - укрепление с водонепроницаемой прослойкой (пленка)

Для задержания наледей в удалении от искусственных сооружений и земляного полотна подходов или для обеспечения направленного наледного стока. Грунтовые валы проектируют и строят в комплексе с мостами и трубами как постоянные противоналедные сооружения, часто с мерзлотными поясами

2. Противоналедные заборы

а) деревянные из обрезных досок

б) из досок с полиэтиленовой пленкой

в) из досок с рубероидом

1 - наледный лед; 2 - сваи или столбы; 3 - доски; 4 - полиэтиленовая пленка; 5 - рубероид

Для задержания наледей вдали от искусственных сооружений и земляного полотна, а также заполнения проемов грунтовых валов

3. Противоналедные шиты

а) деревянные с полиэтиленовой пленкой

б) деревянные с рубероидом

1 - наледный лед; 2 - деревянный щит с полиэтиленовой пленкой; 3 - подкос; 4 - плотный снег, облитый водой; 5 - рамы с рубероидом

Для задержания наледей

Применяют как временное мероприятие или как дополнительное к основному противоналедному сооружению, когда наледь меняет направление течения или образуется в больших размерах

4. Наледные пояса:

1 - источник; 2 - камни; 3 - наледный лед; 4 - грунтовый вал

Для повышения интенсивности охлаждения вышедшей на поверхность наледеобразующей воды и ускорения перехода ее в лед

5. Мерзлотные пояса

а) сезонные для грунтовых вод

Для создания мерзлотной перемычки в потоке грунтовых вод и вывода их на поверхность в удалении от искусственных сооружений.

Применяются при неглубоком залегании водоупора и небольших расходах наледеобразующих вод

б) сезонные для речных вод

в) грунтовые с валом

1 - рыхлый снег; 2 - удаленный растительно-моховой покров; 3 - плотный снег, облитый водой; 4 - граница сезонного промерзания; 5 - водоупор; 6 - водоносный слой; 7 - мерзлотная перемычка при слиянии сезонной мерзлоты с водоупором; 8 - естественный ледяной покров; 9 - вал из грунта

г) пояса с охлаждающими установками

без противоналедного забора

Для создания искусственной мерзлотной перемычки в потоке наледеобразующих вод и вывода их на поверхность в удалении от искусственного сооружения.

Противоналедный забор не ставят, когда грунтовый поток можно перекрыть от сооружения на расстоянии не менее длины замерзания

с противоналедным забором

1 - изогнутые охлаждающие установки; 2 - наледный лед; 3 - граница сезонного промерзания; 4 - водоупор; 5 - мерзлотная перемычка; 6 - водоносный слой; 7 - противоналедный забор

Противоналедный забор ставят, когда расстояние от мерзлотного пояса до сооружения менее длины замерзания потока наледеобразующей воды

6.11. Весной, кроме обычных работ по подготовке к пропуску весеннего паводка, на водотоках с наледями проводят дополнительные работы по предотвращению вредного влияния наледей. К ним относятся в первую очередь освобождение от наледного льда отверстий искусственных сооружений и обеспечение направленного стока весенних вод по наледям.

В трубах с опасностью закупорки наледным льдом осенью к потолку следует подвешивать металлическую трубу диаметром 30-40 мм, которая с помощью угловых фитингов выводится вертикально выше прогнозируемого уровня наледи (рис. 19).

Если водопропускная труба окажется закупоренной, весной с помощью прицепного парообразователя типа Д-563, устанавливаемого на обочине, в металлическую трубу подается пар. Лед около металлической трубы быстро тает и образуется канал, в который вставляют перфорированную трубу диаметром 20-30 мм и через нее пропускают пар. В расширенный до 300-400 мм канал направляют весеннюю волу, под действием которой труба постепенно освобождается от льда.

Рис. 19. Схема парооттаивания льда в водопропускных трубах:

а - труба, закупоренная наледным льдом; б - парооттаивание льда в трубе

1 – наледный лед; 2 - указательные вехи; 3 - водопропускная труба; 4 - металлическая труба диаметром 30-40 мм; 5 - фитинги; 6 - парообразователь; 7 - шланг подачи пара

Для направленного стока весенних вод по наледи необходимо делать канавы в наледном льду, используя тепло солнечной радиации. По оси будущей канавы производится посыпка узкой полосой темного грунта и через 2-3 сут образуется канава.

6.12. При подготовке к пропуску весеннего наводка на водотоках с наледями необходимо произвести уборку противоналедных щитов, материалов утеплений русел, выполнить ремонт укреплений грунтовых валов и других противоналедных устройств. В марте-апреле при максимальном развитии опасных и недостаточно изученных наледей должны быть произведены их ледомерные съемки, составлены планы наледей, продольные и поперечные профили и определены размеры наледных тел.

6.13. Ежегодно после пропуска весеннего паводка линейные подразделения дороги (ДРСУ) в паспорта наледей заносят данные о развитии наледей в прошедшую зиму. Для этого в паспорт делают вкладыш, который должен содержать схему образования наледи с размерами в плане, расположение и размеры наледных бугров, толщину наледи максимальную, среднюю и у сооружения, объем и площадь наледи, начало и конец ее действия, краткое описание вредного воздействия на сооружение, проводившихся мероприятий по борьбе, их эффективности, трудовые и денежные затраты. Отмечают также краткую характеристику зимы и предшествующего летне-осеннего периода. Дают заключение о работе противоналедных сооружений.

В характеристике зимы и предшествующего осенне-летнего периода приводят данные о времени наступления морозов и среднемесячных температур воздуха, времени выпадения устойчивого снежного покрова и его толщине, количестве дождей осенью и летом.

При неудовлетворительной работе противоналедных устройств и вредном влиянии наледей на сооружения дают предложения по улучшению существующих противоналедных устройств и постройке дополнительных.

На старых дорогах, где существующие сооружения не соответствуют размерам образующихся наледей и создают большие затраты на борьбу с ними, может быть произведена перестройка отдельных сооружений дороги (например, увеличение высоты земляного полотна на затопляемом наледью участке, увеличение подмостового габарита, замена трубы свайно-эстакадным мостом, уширение выемок, перенос участка дороги и искусственного сооружения на другое место, устройство фильтрующих насыпей). Во всех случаях перечисленные мероприятия должны быть обоснованы технико-экономическим расчетом.

Паспорта наледей следует сохранять в управлении дорог как основную техническую документацию дороги (прил. 10).

ПРИЛОЖЕНИЕ 1

Программа I CE 1 (Лед-I) расчетов осадков и глубин промерзания для построения кривых обеспеченности при прогнозировании наледей смешанного питания

БЛОК-СХЕМА ПРОГРАММЫ ICE1 (Лед-I)

II. ИНСТРУКЦИЯ ПО ЭКСПЛУАТАЦИИ ПРОГРАММЫ I CE1

Программа I СЕ 1 применяется для расчетов жидких осадков, глубин промерзания и ординат аппроксимирующих кривых при прогнозировании наледей смешанного питания. Она также используется при прогнозировании наледей с питанием грунтовыми водами. В последнем случае толщина льда принимается равной нулю.

Программа I СЕ 1 составлена на алгоритмическом языке БЕЙСИК и выполняется в режиме интерпретации под управлением операционной системы реального времени с разделением функций (РАФОС). Объем оперативной памяти, занимаемый интерпретатором не более 14 К слов. Минимальная конфигурация, необходимая для работы интерпретатора, это базовый комплект УВК СМ 4 (или микро-ЭВМ «Электроника-60»).

1. Инструкция по заполнению исходных данных

Исходные данные в программу I СЕ 1 заносят тремя способами:

1) в диалоговом режиме, когда с помощью оператора INPUT интерпретатор БЕЙСИК печатает знак «?» и ждет ввода значения переменной, имя которой указывается оператором PRINT; так задается параметр hЛ, определяющий тип процесса;

2) путем предварительной организации блока данных

n; g0; (lC)j, j=1, ... , 6; (hC)ij, i=1, ... , n;

j=1, ... , 6;

(t6)ij, i=1, ..., n;

j=1, ..., 6; (О0)i, (О1)i, (О2)i, (О3)i, i=1, ..., n

в тексте программы I СЕ 1 занесением данных в виде операторов; DATA; в этом случае операторы READ и DATA совместно используются для ввода численной информации;

3) путем предварительного изменения (если в этом есть необходимость) правой части операторов LET, которые определяют некоторые физические константы, характеризующие процесс lМ, q, СМ, lЛ, a, t3, tn.

Для организации блока данных занести n и g0 в строку 26. Например, 26 DATA 25, 1961

(lC)1 в строку 450

(lC)2 в строку 500

(lC)3 в строку 550

(lC)4 в строку 600

(lC)5 в строку 650

(lC)6 в строку 700

Например, 450 DATA 2031

(hC)i1 i=1, ..., n в строки 460, 465

(hC)i2 i=1, ..., n в строки 510, 515

(hC)i3 i=1, ..., n в строки 560, 565

(hC)i4 i=1, ..., n в строки 610, 615

(hC)i5 i=1, ..., n в строки 660, 665

(hC)i6 i=1, ..., n в строки 710, 715

Например,

460 DATA 2, 7.67, 4, 7.33, 4.67, 2, .33, 1.33, 3.33, 8.67

465 DATA 1.67, 5, .67, 5, 5.33, 1.67, 7.33, 2.33, 9, .67, 0, 1, 0.33, 8.33, 8.3

(tВ)i1 i=1, ..., n в строки 490¸497

(tВ)i2 i=1, ..., n в строки 540¸547

(tВ)i3 i=1, ..., n в строки 590¸597

(tВ)i4 i=1, ..., n в строки 640¸647

(tВ)i5 i=1, ..., n в строки 690¸697

(tВ)i6 i=1, ..., n в строки 740¸747

Например

490 DATA -11.6, -13.2, -9.8, -14.5, -12.1

495 DATA -10.2, -4.0, -8.8, -9.9, -11.7

496 DATA -6, -5.2, -3.9, -4.4, -3.3, -6, -11.4, -5.4, -8, -8.8

497 DATA -7, -5.7, -7, -2.7, -5.3

2. Расшифровка результатов

Результаты расчета выводятся на печать в виде таблицы:

1 столбец - эмпирические вероятности превышения сумм жидких осадков и глубин промерзания за n лет наблюдений;

2 столбец - суммы жидких осадков по данным гидрометеослужбы за n лет наблюдений;

3 столбец - ординаты аппроксимирующей кривой сумм жидких осадков;

4 столбец - годы наблюдений осадков;

5 столбец - расчетные глубины промерзания;

6 столбец - ординаты аппроксимирующей кривой глубин промерзания;

7 столбец - годы, для которых вычислялась глубина промерзания.

3. Инструкция оператору

а) Загрузить операционную систему РАФОС.

б) Запустить интерпретатор БЕЙСИК. например, под управлением SI-монитора, т. е.

Набрать команду BASIC

Печатается

BASIC/RAFOS V.02

OPTIONAL FUNCTIONS (ALL, NONE, OR INDIVIDUAL)?

Набрать ответ А (ответ А включает все средства расширения функции интерпретатора).

Печатается

READY

в) Предварительно занести в текст программы исходные данные, пользуясь инструкцией по заполнению исходных данных.

г) Запустить программу I СЕ 1:

Если программа I СЕ 1 уже находится в памяти, то набрать команду RUN

Печатается ТОЛЩИНА ЛЬДА?

Набрать ответ 0.4 (или 0), т.е. значение параметра hЛ.

Если программа I СЕ находится на устройстве файловой структуры (диски), то набрать команду RUN STR, где STR - спецификация файла, например, набрать команду RUN D´l : I СЕ1. BAS

Печатается ТОЛЩИНА ЛЬДА?

Набрать ответ 0.4 (или 0), т.е. значение параметра hЛ.

д) Печатается .таблица результатов, описанная в расшифровке результатов.

III. ТЕКСТ ПРОГРАММЫ I СЕ 1 (ЛЕД-I)

4 REM ICE1

5 REM ПРОГРАММА РАСЧЕТА ГЛУБИНЫ ПРОМЕРЗАНИЯ И

6 REM CУMM ЖИДКИХ ОСАДКОВ ЗА N ЛЕТ НАБЛЮДЕНИЙ

7 REM АППРОКСИМАЦИЯ КРИВЫХ ПО МЕТОДУ НАИМЕНЬШИХ КВАДРАТОВ

8 W9=SYS(7,0)

9 OPEN «LP:» FOR OUTPUT AS FILE#1

10 PRINT #1, «ICE1» PRINT #1,

11 DIM L(6), H(30,6), T1 (30,6)

12 DIM Т0(30), Т7(33), Т9(30)

15 DIM F(30), G1(30), F2(30)

20 DIM T(30), P(30), R(30)

22 DIM O0(30), O1(30), O2(30), O3(30), O(30), G2(30)

23 DIM X(30), Y(30), U(30), V(30), V1(30)

24 DIM Y1(30), Y2(30)

25 READ N, G0

26 ДАТА 25, 1961

26 ДАТА 25, 1961

27 REM РАСЧЕТ ГЛУБИН ПРОМЕРЗАНИЯ

28 PRINT «НЕОБХОДИМАЯ ТОЛЩИНА ЛЬДА»; \INPUТ Z

30 L=2.85

31 Q=1.20000E+08

32 C=2.40800E+06

33 Z1=2.22

34 A=23.33

35 T8=0

38 Z2=3.07280E+08

39 REM ЦИКЛ ВВОДА ПО 6 МЕСЯЦАМ ЗИМЫ

40 FOR J=1 TO 6

49 REM ВВОД КОЭФФИЦИЕНТА ТЕПЛОПРОВОДНОСТИ СНЕЖНОГО ПОКРОВА КАЖДОГО МЕСЯЦА

50 READ L(J)

59 REM ВВОД СРЕДНЕМЕСЯЧНОЙ ТОЛЩИНЫ СНЕЖНОГО ПОКРОВА КАЖДОГО ГОДА

60 FOR I=1 ТО N

70 READ H(I, J)

80 NEXT I

82 RЕМ ВВОД СРЕДНЕМЕСЯЧНЫХ ТЕМПЕРАТУР КАЖДОГО ГОДА

84 FOR I=1 ТО N

86 READ T1 (I, J)

88 NEXT I

90 REM ОКОНЧАНИЕ ЦИКЛА ВВОДА ПО 6 МЕСЯЦАМ ЗИМЫ

92 NEXT J

100 REM ВЫЧИСЛЕНИЕ СРЕДНЕВЗВЕШЕННОГО ТЕРМИЧЕСКОГО СОПРОТИВЛЕНИЯ

110 FOR I=1 TO N

130 Т7(I)=-Z*Z2/(Z1*T1(I, 1))*(Z/2+Z1/A+H(I, 1)Z.01*Z1/L(1))

140 Т7(I)=Т7(I)/(24*3600)

150 T7=INT(T7(I)+5)

188 IF T7<=31 THEN 192

189 T9(I)=(T7-31)*T1(I, 1)/T1(I, 2)\T9=INT(T9(1)+.5)

191 GO TO 194

192 T9=0

191 IF T9=0 THEN 196

195 T0(I) =(182-31-T9)*86400 GO TO 199

196 T0(I)=(182-17)*86400

198 IF T7<15 THEN 202

199 IF T9=0 THEN 203

200 IF T9<15 THEN 203

201 J1=3\GO TO 217

202 J1=1\GO TO 217

203 J1=2

217 T(I)=0

218 P(I)=0

219 FOR J=J1 TO 6

220 H(I.J)=H(I.J)/L(J)*T1(I.J)

240 P(I)=P(I)+H(I.J)/L(J)*T1(I.J)

250 T(I)=T(I)+T1(I.J)

260 NEXT J

270 Р(I)=Р(I)/Т(I)

299 REM ВЫЧИСЛЕНИЕ СРЕДНЕЙ ОТРИЦАТЕЛЬНОЙ ТЕМПЕРАТУРЫ ЗА 6 МЕСЯЦЕВ ЗИМЫ

300 Т5=0

310 FOR K=J1 ТО 6

320 T5=T5+ABS(T1(I.K))

330 NEXT К

340 T5=T5/(6-J1+1)

349 REM ВЫЧИСЛЕНИЕ СРЕДНЕЙ ЗА ЗИМУ ТОЛЩИНЫ ТЕПЛОИЗОЛЯЦИИ

350 S=L*(1/A+R(I)+Z/Z1)

359 REM ФОРМУЛА ЛУКЬЯНОВА В. С.

360 F(I)=Z+.8(SQR(2*L*(T5-T8)*T0(I)/(Q+.5*C*(T5-T8))+S^2)-S)

364 REM ФОРМИРОВАНИЕ РЯДА ЛЕТ НАБЛЮДЕНИЙ ТОЛЩИНЫ СНЕЖНОГО ПОКРОВА

365 G1(I)=G0+1

390 NEXT I

399 REM РАНЖИРОВАНИЕ РЯДА ГЛУБИН ПРОМЕРЗАНИЙ

400 К=0

402 FOR I=1 ТО N-l

404 IF F(I)>F(I+1) THEN 420

406 R1=F(I+1)

408 R2=G1(I+1)

410 F(I+1)=F(I)

412 G1(I+1)=G1(I)

414 F(1)=R1

416 G1(I)=R2

418 K=1

420 NEXT I

422 IF K=1 THEN 400

449 REM КОЭФФИЦИЕНТ ТЕПЛОПРОВОДНОСТИ СНЕЖНОГО ПОКРОВА ОКТЯБРЯ

450 DATA .2031

459 REM СРЕДНЯЯ ТОЛЩИНА СНЕЖНОГО ПОКРОВА ОКТЯБРЯ

460 DATA 2, 7.67, 4, 7.33, 4.67, 2, .33, 1.33, 3.33, 8.67

465 DATA 1.67, 5, .67, 5, 5.33, 1.67, 7.33, 2.33, 9, .67, 0, 1, .33, 8.33, 8.33

489 REM СРЕДНЯЯ ТЕМПЕРАТУРА ОКТЯБРЯ

490 DATA -11.6, -13.2, -9.8, -14.5, -12.1

495 DATA -10.2, -4.0, -8.8, -9.9, -11.7

496 DATA -6, -5.2, -3.9, -4.4, -3.3, -6, -11.4, -5.4, -8, -8.8

497 DATA -7, -5.7, -7, -2.7, -5.3

499 REM КОЭФФИЦИЕНТ ТЕПЛОПРОВОДНОСТИ СНЕЖНОГО ПОКРОВА НОЯБРЯ

500 DATA .2031

509 REM СРЕДНЯЯ ТОЛЩИНА СНЕЖНОГО ПОКРОВА НОЯБРЯ

510 DATA 15.67, 8.67, 8.67, 12, 6.33, 14.67, 2, 3.67, 14.33, 14.33

515 DATA 3.33, 5.33, 7.33, 4.67, 10.67, 6.33, 14.67, 5, 0, 4.33, 9.33, 10.33, .33, 5.67, 11.67

539 REM СРЕДНЯЯ ТЕМПЕРАТУРА НОЯБРЯ

540 DATA -23.6, -22.7, -18.6, -19.6, -26.1

545 DATA -19.2, -12.0, -14.3, -15.6, -21.3

546 DATA -15.1, -21.6, -14.7, -19, -17.9, -15.3, -16.1, -15.8, -19.1, -17,5

547 DATA -14.3, -20.4, -17.4, -15.6, -11.7

549 REM КОЭФФИЦИЕНТ ТЕПЛОПРОВОДНОСТИ СНЕЖНОГО ПОКРОВА ДЕКАБРЯ

550 DATA .2031

559 REM СРЕДНЯЯ ТОЛЩИНА СНЕЖНОГО ПОКРОВА ДЕКАБРЯ

560 DATA 11.33, 11, 8.67, 19.67, 6.33, 35, 15, 18, 11, 15.33

565 DATA 5, 19.33, 12.33, 4.67, 8.67, 6, 11.33, 0, 15, 6.67, 12, 9, 3.33, 8, 10.33

589 REM СРЕДНЯЯ ТЕМПЕРАТУРА ДЕКАБРЯ

590 DATA -20.6, -23.1, -27.2, -26.7, -28.9

595 DATA -25.6, -27.8, -29.6, -17.3, -16

596 DATA -20.1, -19.2, -16.7, -20.5, -15.9, -20.9, -18.6, -28.1, -21.9, -15.2

597 DATA -25.0, -25.2, -18.2, -25.8, -20.1

599 RЕМ КОЭФФИЦИЕНТ ТЕПЛОПРОВОДНОСТИ СНЕЖНОГО ПОКРОВА ЯНВАРЯ

600 DATA .349

609 REM СРЕДНЯЯ ТОЛЩИНА СНЕЖНОГО ПОКРОВА ЯНВАРЯ

610 DATA 8, 24, 8, 32, 7, 39.67, 13.33, 20.67, 10.33, 18.33

615 DATA 5, 14, 11, 5, 8.33, 5.67, 13, 8, 18.67, 6.33, 14.67, 19, 13.33, 8, 7.67

639 RЕМ СРЕДНЯЯ ТЕМПЕРАТУРА ЯНВАРЯ

640 DATA -26.6, -19.6, -31, -26.7, -27.1

645 DATA -26.8, -21.2, -19.8, -20.2, -18.6

646 DATA -28.4, -30.4, -17.8, -23.7, -19.5, -19.2, -23.4, -21.9, -14.9, -20.7

647 DATA -26.1, -16.3, -20.6, -21.7, -19.9

649 REM КОЭФФИЦИЕНТ ТЕПЛОПРОВОДНОСТИ СНЕЖНОГО ПОКРОВА ФЕВРАЛЯ

650 DATA .349

659 REM СРЕДНЯЯ ТОЛЩИНА СНЕЖНОГО ПОКРОВА ФЕВРАЛЯ

660 DATA 8, 24.67, 6.67, 28, 6, 59.33, 10, 26, 10, 13.33

665 DATA 8.33, 13, 14, 6.67, 12.67, 4.67, 8.33, 9.33, 20, 9, 17.33, 18.33, 11, 14.67, 8

689 REM СРЕДНЯЯ ТЕМПЕРАТУРА ФЕВРАЛЯ

690 DATA -27.1, -23.6, -25.8, -22.4, -29.4

695 DATA -18.7, -19.3, -18.6, -23.6, -21.1

696 DATA -14.8, -21.5, -18.7, -16.7, -18.6, -23.4, -21.3, -15, -19.9, -19

697 DATA -16.2, -21.4, -20.2, -15, -17

699 REM КОЭФФИЦИЕНТ ТЕПЛОПРОВОДНОСТИ СНЕЖНОГО ПОКРОВА МАРТА

700 DATA .349

709 REM СРЕДНЯЯ ТОЛЩИНА СНЕЖНОГО ПОКРОВА МАРТА

710 DATA 6, 26, 6.67, 27, 15, 64, 10.67, 25, 8, 12.33

715 DATA 5.33, 12.33, 13.33, 8.33, 12.67, 3.67, 8.33, 4, 18, 7.33, 16, 16, 9.67, 14.67, 8.33

739 REM СРЕДНЯЯ ТЕМПЕРАТУРА МАРТА

740 DATA -19.2, -24.4, -23.2, -20.2, -9.2

745 DATA -13.4, -17.4, -16.4, -17.2, -16.1

746 DATA -12.2, -16.7, -14, -14.4, -17, -18.6, -11.2, -16.4, -17, -16.9

747 DATA -18.9, -14.5, -13.1, -20.5, -16.8

1000 REM РАСЧЕТ СУММ ЖИДКИХ ОСАДКОВ

1043 REM ВВОД КОЛ-ВА ЖИДКИХ ОСАДКОВ ЗА ИЮЛЬ КАЖДОГО ГОДА

1044 FOR I=1 ТО N

1046 READ O0(I)

1048 NEXT I

1049 REM ВВОД КОЛ-ВА ЖИДКИХ ОСАДКОВ ЗА АВГУСТ КАЖДОГО ГОДА

1050 FOR I=1 ТО N

1052 READ O1(I)

1054 NEXT I

1055 REM ВВОД КОЛ-ВА ЖИДКИХ ОСАДКОВ ЗА СЕНТЯБРЬ КАЖДОГО ГОДА

1056 FOR I=l TO N

1058 READ O2(I)

1060 NEXT I

1061 REM ВВОД КОЛ-ВА ЖИДКИХ ОСАДКОВ ЗА ОКТЯБРЬ КАЖДОГО ГОДА

1062 FOR I=1 ТО N

1064 READ O3(I)

1066 NEXT I

1499 REM РАСЧЕТ СУММ ЖИДКИХ ОСАДКОВ ЗА 3 МЕСЯЦА

1500 FOR I=1 ТО N

1510 O(I)=0

1520 NEXT I

1530 FOR I=1 TO N

1540 О(I)=О0(I)+O1(I)+O2(I)+O3(I)

1560 NEXT I

1609 REM ФОРМИРОВАНИЕ РЯДА ЛЕТ НАБЛЮДЕНИЙ ЖИДКИХ ОСАДКОВ

1610 FOR I=1 ТО N

1620 G2(I)=G0-l+l

1630 NEXT I

1639 REM РАНЖИРОВАНИЕ РЯДА СУММ ЖИДКИХ ОСАДКОВ

1640 К=0

1650 FOR I=1 ТО N-l

1660 IF O(I)>O(I+1) THEN 1740

1670 R1=O(I+1)

1680 R2=G2(I+1)

1690 O(I+1)=O(I)

1700 G2(I+1)=G2(I)

1710 O(I)=R1

1720 G2(I)=R2

1730 K=l

1740 NEXT I

1750 IF K=l THEN 1640

1760 FOR I=1 TO N

1764 REM ВЫЧИСЛЕНИЕ ЭМПИРИЧЕСКОЙ ВЕРОЯТНОСТИ

1765 F2(I)=1/(N+1)

1780 NEXT I

1949 REM ЖИДКИЕ ОСАДКИ ЗА ИЮЛЬ ПО КАЖДОМУ ГОДУ НАБЛЮДЕНИЙ

1950 DATA 83.1, 78.8, 49.5, 24, 35.8

1955 DATA 74.1, 50.8, 73.3, 98.2, 44.1, 17.4, 79.3, 15.5, 66.2, 67.7

1956 DATA 41.4, 93.9, 149.3, 64, 67.7, 62.7, 34.9, 94.3, 93.8, 163.2

1959 REM ЖИДКИЕ ОСАДКИ ЗА АВГУСТ ПО КАЖДОМУ ГОДУ НАБЛЮДЕНИЙ

1960 DATA 37.6, 51.2, 21.8, 73.9

1970 DATA 60, 76.6, 17.9, 30.1, 61.6, 61, 46.9

1975 DATA 160.9, 59.2, 18.2, 117.5, 102.2, 75.7, 59.3

1976 DATA 73.3, 33.7, 24.3, 111.4, 103.0, 84.6, 64.7

1979 REM ЖИДКИЕ ОСАДКИ ЗА СЕНТЯБРЬ ПО КАЖДОМУ ГОДУ НАБЛЮДЕНИЙ

1980 DATA 80.4, 44.4, 8.4

1990 DATA .5, 22, 106.8, 96.3, 59.1, 38.4, 41, 43

1995 DATA 28.1, 98.6, 97.4, 50, 1.9, 93.8, 15.2

1996 DATA 38.7, 42.4, 38.9, 47.7, 51.4, 12.9, 28.1

1998 REM ЖИДКИЕ ОСАДКИ ЗА ОКТЯБРЬ ПО КАЖДОМУ ГОДУ НАБЛЮДЕНИЙ

1999 DATA 0, 0, 58.5, .8, 0, 0, 0, 0, 0, 0, 0

2000 DATA 1.8, 90, 33.4, .8, 0, 0, 16.3, 0, 0, 16.9, 76.4, 0, 19.6, .5

2100 REM АППРОКСИМАЦИЯ КРИВЫХ СУММ ЖИДКИХ ОСАДКОВ И ГЛУБИН ПРОМЕРЗАНИЯ

2110 FOR I=1 ТО N

2120 X(I)=F2(I)

2130 Y(I)=O(I)

2140 NEXT I

2145 PRINT #1, /A, B - КОЭФФИЦИЕНТЫ УРАВНЕНИЯ КРИВОЙ

Y=1/(A*X*B) СУМ. Ж. ОСАД."

2146 PRINT #1. "E - ТОЧНОСТЬ – УСРЕДНЕННОЕ СРЕДНЕКВАДРАТИЧНОЕ ОТКЛОНЕНИЕ

2150 GOSUB 3000

2160 А1=А9

2170 В1=В9

2180 Е1=Е

2190 FOR I=l TO N

2200 Y(1)=F(I)

2210 NEXT I

2215 PRINT #1 "А , В - КОЭФФИЦИЕНТЫ УРАВНЕНИЯ КРИВОЙ

Y=1/(A*X+B) ГЛУБ. ПРОМ."

2216 PRINT #1, "E - ТОЧНОСТЬ - УСРЕДНЕННОЕ СРЕДНЕКВАДРАТИЧНОЕ ОТКЛОНЕНИЕ"

2220 GOSUB 3000

2230 А2=А9

2240 B2=B9

2255 REM ПЕЧАТЬ ЗАГОЛОВКА ТАБЛИЦЫ РЕЗУЛЬТАТОВ

2260 PRINT #1 "Р ЭМП", "СУМ. Ж. ОСАД.", "СУМ. Ж. ОСАД.", "ГОД", "ГЛУБ. ПРОМ.", "ГЛУБ. ПРОМ.", "ГОД"

2265 PRINT #1, " ", "НАБЛ.", "АППР.", " ", "РАСЧ.", "АППР."

2270 FOR I=1 ТО N

2280 Y1(I)=1/(A1*F2(I)+B1)

2290 Y2(I)=1/(A2*F2(I)+B2)

2295 REM ПЕЧАТЬ ТАБЛИЦЫ РЕЗУЛЬТАТОВ

2300 PRINT #1, F2(I), O(I), Y1(I), G2(I), F(I), Y2(I), G1(I)

2310 NEXT I

2315 CLOSE #1

2350 STOP

3000 REM ПОДПРОГРАММА АППРОКСИМАЦИИ КРИВОЙ ПО МЕТОДУ НАИМЕНЬШИХ КВАДРАТОВ

3020 S=0

3021 S1=0

3022 S2=0

3023 S3=0

3024 S4=0

3070 FOR I=1 TO N

3075 U(I)=X(I)

3080 V(I)=1/Y(I)

3085 NEXT I

3185 FOR I=1 TO N

3170 S1=S1+U(I)*U(I)

3175 S2=S2+U(I)

3180 S3=S3+U(I)*V(I)

3185 S4=S4+V(I)

3190 NEXT I

3195 D=S1*N-S2*S2

3200 D1=S3*N-S4*S2

3205 D2=S1*S4-S2*S3

3210 A9=D1/D

3211 B9=D2/D

3215 FOR I=1 TO N

3220 V1(I)=A9*U(I)+B9

3225 S=S+(V1(I) -V(I))*(V1(I) -V(I)

3230 NEXT I

3235 E=SQR(S/N)

3255 PRINT #1, "A="; A9, "B="; B9, "E="; E

3260 RETURN

3300 END

ПРИЛОЖЕНИЕ 2

Пример прогнозирования расчетных параметров наледи смешанного питания на реке А

Горная река находится в I дорожно-климатической зоне. В месте мостового перехода долина реки имеет ширину 720 м, ограниченную крутыми склонами гор. Русло сложено из гравия, гальки с песком и валунами, которые на глубине 5,6 м подстилаются андезитами, также сложены поймы. Вечная мерзлота залегает на глубине под руслом 9,5 м, на поймах 6 м.

Площадь водосбора выше перехода 420 км, уклон реки 0,017, расход 185 м/с с вероятностью превышения 2 %.

Средняя глубина воды при ледоставе 0,4 м. Зимой река промерзает до дна, и после этого сток происходит по аллювию. В районе мостового перехода на реке ежегодно образуется наледь.

Изыскания перехода производились летом 1983 г., а обследование наледи и ледомерная съемка в апреле 1984 г. Ее площадь была 33200 м2, объем 23600 м3, длина 390 м, ширина 85 м, максимальная толщина 1,21 м, средняя толщина 0,71 м.

Реку пересекает трасса автомобильной дороги IV категории, на которой проектируется железобетонный балочный четырехпролетный мост отверстием 68 м. Опоры моста безростверковые из двух столбов диаметром 1,0 м, погружаемых в грунт на глубину 9 м.

Согласно п. 1.25 СНиП 2.05.03-84, отверстия средних мостов на дорогах IV категории рассчитывают на воздействие водного потока с вероятностью превышения 2 %. По такому же нормативу будем определять расчетные параметры наледи.

Наледь питается поверхностной водой и подрусловым грунтовым потоком. Ее расчетные параметры зависят от суммы жидких осадков в осенне-летний период предшествующего года и глубины сезонного промерзания речного и фильтрационного подруслового потоков.

Для построения кривых обеспеченности расчетных сумм жидких осадков и глубины промерзания по данным ближайшей гидрометеостанции за последние 25 лет составляем табл. 1 жидких осадков за июль-октябрь и табл. 2 среднемесячных отрицательных температур с октября по март и толщины снежного покрова.

Таблица 1. Суммы жидких осадков в районе мостового перехода через реку А

Годы

Суммы жидких осадков, мм за месяцы

Годы

Суммы жидких осадков, им за месяцы

VII

VIII

IX

Х

VII

VIII

IX

Х

1961

83,1

37,6

80,4

-

1974

66,2

18,2

97,4

33,4

1962

78,8

51,2

44,4

-

1975

67,7

117,5

50,0

0,8

1963

49,5

21,8

8,4

58,5

1976

41,4

102,2

1,9

-

1964

24,0

73,9

0,5

0,8

1977

93,9

75,7

93,8

-

1966

35,8

60,0

22,0

-

1978

149,3

59,3

15,2

16,3

1966

74,1

76,6

106,8

-

1979

64,0

73,3

38,7

-

1967

50,8

17,9

96,3

-

1980

67,7

33,7

42,4

-

1968

73,3

30,1

59,1

-

1981

62,7

24,3

38,9

16,9

1969

98,2

61,6

38,4

-

1982

34,9

111,4

47,7

76,4

1970

44,1

61,0

41,0

-

1983

94,3

103,0

54,1

-

1971

17,4

46,9

43,0

-

1984

93,8

84,6

12,9

19,6

1972

79,3

106,9

28,1

1,8

1985

163,2

64,7

28,1

0,5

1973

15,5

59,2

98,6

90,0

 

 

 

 

 

Таблица 2. Толщина снежного покрова и среднемесячные температуры воздуха у мостового перехода через реку А

Годы

Таблица снежного покрова

Годы

Октябрь

Ноябрь

Декабрь

Январь

Февраль

Март

l=0,2031 Вт/(м×°С)

l=0,2031 Вт/(м×°С)

l=0,2031 Вт/(м×°С)

l=0,349 Вт/(м×°С)

l=0,349 Вт/(м×°С)

l=0,349 Вт/(м×°С)

hСР, см

tСР, °С

hСР, см

tСР, °С

hСР, см

tСР, °С

hСР, см

tСР, °С

hСР, см

tСР, °С

hСР, см

tСР, °С

1961

2,00

-11,6

15,67

-23,6

11,33

-20,6

11,33

-26,1

11,33

-20,5

10,00

24,8

1961

1962

7,67

-13,2

8,67

-22,7

11,0

-23,1

8,00

-26,6

8,00

-27,1

6,00

19,2

1962

1963

4,00

-9,8

8,67

-18,6

8,67

-27,2

24,00

-19,6

24,67

-23,6

26,00

24,4

1963

1964

7,33

14,5

12,00

-19,6

19,67

-26,7

8,00

-31,0

6,67

-25,8

6,67

23,2

1964

1965

4,67

-12,1

6,33

-26,1

6,33

-28,8

32,00

-26,7

28,00

-22,4

27,00

20,2

1965

1966

2,00

-10,2

14,67

-19,2

35,00

-25,6

7,00

-27,1

6,00

-29,4

15,00

9,2

1966

1967

0,33

-4,0

2,00

-12,0

15,00

-27,8

39,67

-26,8

59,33

18,7

64,00

13,4

1967

1968

1,33

-8,8

3,67

-14,3

18,00

-29,6

13,33

21,2

10,00

-19,3

10,67

17,4

1968

1969

3,33

-9,9

14,33

-15,6

11,00

-17,8

20,67

-19,8

26,00

-18,6

25,00

15,4

1969

1970

8,67

-11,7

14,33

-21,3

15,33

-16,0

10,33

-20,2

10,00

-23,6

8,00

17,.2

1970

1971

1,67

-6,0

3,33

-15,1

5,00

-20,1

18,33

-18,6

13,33

-21,1

12,33

16,1

1971

1972

5,00

-5,2

5,33

-21,6

19,33

-19,2

5,00

-28,4

8,33

-14,8

5,33

12,2

1972

1973

0,67

-3,9

7,33

-14,7

12,33

-16,7

14,00

-30,4

13,00

-21,5

12,33

16,7

1973

1974

5,00

-4,4

4,67

-19,0

4,67

-20,5

11,00

-17,8

14,00

-18,7

13,33

14,0

1974

1975

5,33

-3,3

10,67

-17,9

8,67

-15,9

5,00

-23,7

6,67

-16,7

8,33

14,4

1975

1976

1,67

-6,0

6,33

-15,3

6,00

-20,9

8,33

-19,5

12,67

-18,6

12,67

17,0

1976

1977

7,33

-11,4

14,67

-16,1

11,33

-18,6

5,67

-19,2

4,67

-23,4

3,67

18,6

1977

1978

2,33

-5,4

5,00

-15,8

0,00

-28,1

13,00

-23,4

8,33

-21,3

8,33

11,2

1978

1979

9,00

-8,0

0,00

-19,1

15,00

-21,9

8,00

-21.9

9,33

-15,0

4,00

16,4

1979

1980

0,67

-8,8

4,33

-17,5

6,67

-15,2

18,67

-14,9

20,00

-19,9

18,00

17,0

1980

1981

0,00

-7,0

9,33

-14,3

12,00

-25,0

6,33

-20,7

9,00

-19,0

7,33

16,9

1981

1982

1,00

-5,7

10,33

-20,4

9,00

-25,2

14,67

-26,1

17,33

-16,2

16,00

18,9

1982

1983

0,33

-7,0

0,33

-17,4

9,33

-18,2

19,00

-16,3

18,33

-21,4

16,00

14,5

1983

1984

8,33

-2,7

5,67

-15,6

8,00

-25,8

13,33

-20,6

11,00

-20,2

9,67

13,1

1984

1985

8,33

-5,3

11,67

-11,7

10,33

-20,1

8,00

-21,7

14,67

-15,0

14,67

20,5

1985

 

 

 

 

 

 

 

7,67

-19,9

8,00

-17,0

8,33

16,8

1986

Данные табл. 1 и 2 вводим последовательно в комплексную программу I СЕ (Лед-I), которая предусматривает расчет промерзания поверхностного слоя воды и грунта, а также расчет осадков. ЭВМ выдает расположенные в ранжированные ряды ординаты аппроксимирующих кривых обеспеченности сумм жидких осадков и глубин промерзания, которые приводятся в табл. 2 (см. основной текст). На специальной клетчатке строим кривые обеспеченности сумм жидких осадков и глубин промерзания (см. рис. 2).

Из табл. 2 находим в год обследования наледи (1984), глубина промерзания составляла 1,77 м с эмпирической вероятностью РЭ=0,423. В предыдущий год (1983) сумма жидких осадков за четыре летне-осенних месяца была 237 мм с вероятностью РЭ=0,269.

Находим коэффициент x - отношение вероятности суммы жидких осадков к вероятности глубины промерзания в год изысканий:

По формулам (15) и (16) находим расчетные вероятности суммы жидких осадков и глубины промерзания:

По графику кривых обеспеченности при P(Sxp) и P(dfp) находим Sxp=306 мм и dfp=2,12 м.

Определяем переходные коэффициенты:

Площадь фильтрационной зоны до постройки моста принимается равной пятикратной длине отверстия моста. При полной длине балок до 18 м, ширине опор 1,0 м и толщине фильтрационного слоя 5,6 м площадь фильтрации после промерзания в естественных условиях будет

wФ=5[4(18-1)3,48]=1183 м2.

Площадь стеснения фильтрационного потока постройкой моста (см. рис. 3, формулу 18 и табл. 2)

wС=nОП(b+2b1)(d-df)+(d'f-df)(l-2b1)nПР=5(1+2×0,264)(5,6-2,12)+(2,42-2,12)(17-2×0,264)4=

=108 м2.

где d'f=2,4 м - глубина промерзания под мостом.

Коэффициент, учитывающий стеснение,

По формуле (6) определяем прогнозируемый объем наледи

VНР=gVНИkxkfkC=1,20×23600×1,29×1,20×1,10=48000 м3.

Средняя расчетная толщина наледи на наледной поляне

м.

Максимальная толщина наледи

ZНР=YZСР Р=1,71×1,45=2,48 м,

где Y - коэффициент формы;

ПРИЛОЖЕНИЕ 3

Пример прогнозирования расчетных параметров наледи грунтовых вод на водотоке Б

Водоток находится в первой климатической зоне на расстоянии 4,5 км от реки А, рассмотренной в примере прил. 2.

Долина реки в месте перехода ровная, имеет ширину 360 м, левый склон пологий, немного заболочен, правый крутой. Русло и поймы сложены гравийно-галечниковыми отложениями толщиной 4,90 м, которые подстилают глинистые сланцы. К началу ледостава поверхностной воды в русле не бывает. Сток происходит по аллювию.

Изыскания производились в 1984 г., а обследование наледи и ледомерные съемки в конце апреля 1985 г. Объем наледи составлял 12400 м2, площадь 20900 м2, средняя толщина 0,59 м, максимальная толщина 0,78 м. На водотоке спроектирован трехпролетный мост отверстием 51 м. Опоры на круглых бурообсадных сваях диаметром 0,5 м, погружаемые в грунт на 11 м. Дорога IV категории.

Определение расчетных параметров наледи согласно п. 1.25 СНиП 2.05.03-84 производим с вероятностью превышения 2 %. Водоток находится вблизи реки, рассмотренной в предыдущем примере, поэтому данные о жидких осадках, температуре воздуха и снежном покрове используем из табл. 1 и 2 указанного примера.

Для вычисления за 25 лет глубин промерзания грунта, сумм жидких осадков и ординат кривых обеспеченности используется приведенная в прил. 1 комплексная программа Лед-I, но глубина поверхностной воды принимается равной нулю. С учетом этого вводим в программу данные об осадках, температуре воздуха и толщине снежного покрова, указанные в табл. 1 и 2 прил. 2. ЭВМ выдает расположенные в ранжированные ряды ординаты аппроксимирующих кривых обеспеченности сумм жидких осадков и глубин промерзания, которые приведены в табл. 1.

На специальной клетчатке строим кривые обеспеченности сумм жидких осадков и глубин промерзания (рис. 1).

Из табл. 1 в год обследования наледи (1985) глубина промерзания составляла 1,94 м с эмпирической вероятностью РЭ=0,384. В предыдущий год (1984) сумма жидких осадков за четыре летне-осенних месяца была 193 мм с вероятностью РЭ=0,423.

Находим коэффициент x - отношение вероятности суммы жидких осадков к вероятности глубины промерзания в год изысканий:

По формулам (15) и (16) находим расчетные вероятности суммы жидких осадков и глубины промерзания:

По графику кривых обеспеченности при P(Sxp) и P(dfp) находим: Sxp=292 мм; dfp=2,26 м.

Определяем переходные коэффициенты

 

Таблица 1

Ординаты аппроксимирующих кривых обеспеченности сумм жидких осадков и глубин промерзания на водотоке Б

IСЕ1

А, В - КОЭФФИЦИЕНТЫ УРАВНЕНИЯ КРИВОЙ Y=1/(A*X+B) СУМ.

Ж. ОСАД.

Е - ТОЧНОСТЬ - УСРЕДНЕННОЕ СРЕДНЕКВАДРАТИЧНОЕ ОТКЛОНЕНИЕ

А=6.15400Е-03

В=2.56446Е-03

E=5.61809E-04

А, В - КОЭФФИЦИЕНТЫ УРАВНЕНИЯ КРИВОЙ Y=1/(A*X+B) ГЛУБ. ПРОМ.

Е - ТОЧНОСТЬ - УСРЕДНЕННОЕ СРЕДНЕКВАДРАТИЧНОЕ ОТКЛОНЕНИЕ

А= .29688

Р ЭМП

B= .400021

СУМ. Ж. ОСАД. НАБЛ.

E= .0542944 СУМ. Ж. ОСАД. АППР.

ГОД

ГЛУБ. ПРОМ. PACЧ

ГЛУБ. ПРОМ. АППР.

ГОД

.0384615

270.4

356.996

1982

2.33395

2.43049

1966

.0769231

270.1

329.181

1972

2.32161

2.36486

1964

.115385

263.4

305.387

1977

2.23754

2.30268

1979

.153846

263.3

284.8

1973

2.17201

2.24368

1977

.192308

257.5

266.814

1966

2.12654

2.18763

1962

.230769

256.5

250.965

1985

2.11576

2.13432

1972

.269231

248.7

236.893

1983

2.09443

2.08354

1975

.307692

240.1

224.316

1978

2.06688

2.03512

1981

.346154

236

213.007

1975

2.04223

1.9889

1984

.384615

215.2

202.783

1974

1.87887

1.94474

1985

.423077

210.9

193.496

1984

1.87116

1.90249

1970

.461538

201.1

185.022

1961

1.86676

1.86204

1973

.5

198.2

177.259

1969

1.80822

1.82327

1968

.538462

176

170.121

1979

1.78721

1.78608

1982

.576923

174.4

163.536

1962

1.78648

1.75039

1978

.615385

165

157.442

1967

1.77471

1.71609

1963

.653846

162.5

151.786

1968

1.772

1.6831

1986

.692308

146.1

146.522

1970

1.743

1.65137

1976

.730769

145.5

141.611

1976

1.72919

1.6208

1983

.769231

143.8

137.018

1980

1.69469

1.59135

1980

.807692

142.8

132.714

1981

1.66125

1.56295

1971

.846154

138.2

128.672

1963

1.64034

1.53555

1974

.884615

117.8

124.869

1965

1.5986

1.50909

1965

.923077

107.3

121.284

1971

1.56892

1.48352

1969

.961538

99.2

117.9

1964

1.07274

1.45881

1967


Рис. 1. Кривые обеспеченности сумм жидких осадков и глубин промерзания на водотоке Б (питание грунтовыми водами)


Площадь фильтрационной зоны до постройки моста принимается равной пятикратной длине отверстия моста. При толщине фильтрационного слоя 4,9 м площадь фильтрации после промерзания в естественных условиях

wФ=5[3×17(4,90-2,26)]=672 м2.

Площадь стеснения фильтрационного потока постройки моста (см. рис. 3 и табл. 1):

wС=nОП(b-2b1)(d-df)+(d'f-df)(l-2b1)nПР=4(0,5-2×0,235)(4,90-2,26)+(2,56-2,26)(51-2×0,235)3=

=55,7 м2;

d'f =2,56 - глубина промерзания под мостом.

Коэффициент, учитывающий стеснение,

По формуле (6) определяем прогнозируемый объем наледи

VНР=gnVНИkxkfkC=1,2×12400×1,52×1,17×1,08=28580 м3.

Средняя расчетная толщина наледи на наледной поляне

м.

Максимальная толщина наледи

Zmax p=YZСР Р=1,13×1,32=1,5 м,

где

ПРИЛОЖЕНИЕ 4

Программа I СЕ 2 (Лед-II) расчетов осадков, глубин промерзания и ординат аппроксимирующих кривых обеспеченности при прогнозировании наледей поверхностных вод

II. ИНСТРУКЦИЯ ПО ЭКСПЛУАТАЦИИ ПРОГРАММЫ I СЕ 2

Программу I СЕ 2 применяют для расчета жидких осадков, глубин промерзания поверхностного потока и ординат аппроксимирующих кривых при прогнозировании наледей поверхностных вод.

Программа I СЕ 2 составлена на алгоритмическом языке БЕЙСИК и выполняется в режиме интерпретации под управлением операционной системы реального времени с разделением функций (РАФОС). Объем оперативной памяти, занимаемой интерпретатором, не более 14 К слов. Минимальная конфигурация, необходимая для работы интерпретатора, это базовый комплект УВК СМ 4 (или микро-ЭВМ «Электроника-60»).

1. Инструкция по заполнению исходных данных

Исходные данные в программу I СЕ 2 заносят двумя способами:

1) путем предварительной организации блока данных n; g0; (lC)j, j=1, ... , 6; (hC)ij, i=1, ... , n; j=1, ... , 6; (tB)ij, i=1, ..., n; j=1, ..., 6; (О0)i, (О1)i, (О2)i, (О3)i, i=1, ..., n; в тексте программы I СЕ 2 занесением данных в виде операторов. В этом случае операторы READ и DATA совместно попользуются для ввода численной информации;

2) путем предварительного изменения (если в этом есть необходимость) правой части операторов LET, которые определяют некоторые физические константы, характеризующие процесс lЛ, a, Lv.

Для организации блока данных занести n и g0 в строку 26. Например, 26 DATA, 25, 1961

(lC)1 в строку 450

(lC)2 в строку 500

(lC)3 в строку 550

(lC)4 в строку 600

(lC)5 в строку 650

(lC)6 в строку 700

Например, 450 DATA, 2031

(hC)i1 i=1, ..., n в строки 460, 465

(hC)i2 i=1, ..., n в строки 510, 615

(hC)i3 i=1, ..., n в строки 560, 565

(hC)i4 i=1, ..., n в строки 610, 615

(hC)i5 i=1, ..., n в отроки 660, 665

(hC)i6 i=1, ..., n в строки 710, 715

Например,

460 DATA 2, 7.67, 4, 7.33, 4.67, 2, .33, 1.33, 3.33, 8.67

465 DATA 1.67, 5, .67, 5, 5.33, 1.67, 7.33, 2.33, 9, .67, 0, 1, .33, 8.33, 8.33

(tВ)i1 i=1, ..., n в строки 490¸497

(tВ)i2 i=1, ..., n в строки 540¸547

(tВ)i3 i=1, ..., n в строки 590¸597

(tВ)i4 i=1, ..., n в строки 640¸647

(tВ)i5 i=1, ..., n в строки 690¸697

(tВ)i6 i=1, ..., n в строки 740¸747

Например,

490 DATA -11.6, -13,2, -9.8, -14.5, -12.1

495 DATA -10.2, -4.0, -8.8, -9.9, -11.7

496 DATA -6, -5.2, -3.9, -4.4, -3.3, -6, -11.4, -5.4, -8, -8.8

497 DATA -7, -5.7, -7, -2.7, -5.3

2. Расшифровка результатов

Результаты расчета выводятся на печать в виде таблицы:

1 столбец - эмпирические вероятности превышения сумм жидких осадков и глубин промерзания за n лет наблюдений;

2 столбец - суммы жидких осадков по данным гидрометеослужбы за n лет наблюдений;

3 столбец - ординаты аппроксимирующей кривой сумм жидких осадков;

4 столбец - годы наблюдений осадков;

5 столбец - расчетные глубины промерзания поверхностного потока;

6 столбец - ордината аппроксимирующей кривой глубин промерзания поверхностного потока;

7 столбец - годы, для которых вычислялась глубина промерзания.

3. Инструкция оператору

а) Загрузить операционную систему РАФОС.

б) Запустить интерпретатор БЕЙСИК, например, под управлением si - монитора, т. е.

Набрать команду BASIC

Печатается

BASIC/RAFOS V.02

OPTIONAL FUNCTIONS (ALL, NONE, OR INDIVIDUAL)?

Набрать отпет А (ответ А включает все средства расширения функций интерпретатора).

Печатается

READY

в) Предварительно занести в текст программы исходные данные, пользуясь инструкцией по заполнению исходных данных.

г) Запустить программу I СЕ 2:

Если программа I СЕ 2 уже находится в памяти, то набрать команду RUN.

Если программа I СЕ 2 находится на устройстве файловой структуры (диски), то набрать команду RUN STR, где STR - спецификация файла, например набрать команду RUN DX1 : I СЕ 2. BAS.

д) Печатается таблица результатов, описанная в расшифровке результатов.

III. ТЕКСТ ПРОГРАММЫ I СЕ 2 (ЛЕД-II)

4 КЕМ ICE2

5 REM ПРОГРАММА РАСЧЕТА ГЛУБИН ПРОМЕРЗАНИЯ И

6 REM СУММ ЖИДКИХ ОСАДКОВ ЗА N ЛЕТ НАБЛЮДЕНИЙ

7 REM АППРОКСИМАЦИЯ КРИВЫХ ПО МЕТОДУ НАИМЕНЬШИХ КВАДРАТОВ

8 W9=SYS(7,0)

9 OPEN «LP:» FOR OUTPUT AS FILE #1

10 PRINT #1, «ICE2»\PRINT #1,

11 DIM L(6), H(30,6), Т1(30,6)

15 DIM F(30), G1(30), F2(30)

16 DIM F5(30,6)

22 DIM O0(30), O1(30), O2(30), O3(30), O(30), G2(30)

23 DIM X(30), Y(30), U(30), V(30), V1 (30)

24 DIM Y1(30), Y2(30)

25 READ N, GO

26 DATA 25, 1961

27 REM

33 Z1=2.22

34 A=23.33

38 Z2=3.07280E+08

39 REM ЦИКЛ ВВОДА ПО 6 МЕСЯЦАМ ЗИМЫ

40 FOR J=1 TO 6

49 REM ВВОД КОЭФФИЦИЕНТА ТЕПЛОПРОВОДНОСТИ СНЕЖНОГО ПОКРОВА КАЖДОГО МЕСЯЦА

50 READ L(J)

59 REM ВВОД СРЕДНЕМЕСЯЧНОЙ ТОЛЩИНЫ СНЕЖНОГО ПОКРОВА КАЖДОГО ГОДА

60 FOR I=1 TO N

70 READ H(I, J)

80 NEXT I

82 REM ВВОД СРЕДНЕМЕСЯЧНЫХ ТЕМПЕРАТУР КАЖДОГО ГОДА

84 FOR I=1 TO N

86 READ T1(I, J)

88 NEXT I

90 REM ОКОНЧАНИЕ ЦИКЛА ВВОДА ПО 6 МЕСЯЦАМ ЗИМЫ

92 NEXT J

100 REM WATER

110 FOR I=1 TO N

210 F5(I, 1)=0

219 FOR J=2 TO 6

230 H5=Z1/A+H(I, J)*01*Z1/L(J)

240 F5(I, J)=.8*(SQR((H5+F5(I, J-1))^2-2*Z1*T1(I, J)*720*3600/Z2)-H5)

280 NEXT J

360 F(I)=F5(I,6)

364 REM ФОРМИРОВАНИЕ РЯДА ЛЕТ НАБЛЮДЕНИЙ ТОЛЩИНЫ СНЕЖНОГО ПОКРОВА

365 G1(I)=G0+1

390 NEXT I

399 REM РАНЖИРОВАНИЕ РЯДА ГЛУБИН ПРОМЕРЗАНИЙ

400 К=0

402 FOR I=1 TO N-1

404 IF F(1)>F(I+1) THEN 420

406 R1=F(I+1)

408 R2=G1(I+1)

410 F(I+1)=F(I)

412 G1(I+1)=G1(I)

414 F(I)=R1

416 G1(I)=R2

418 K=1

420 NEXT I

422 IF K=1 THEN 400

449 REM КОЭФФИЦИЕНТ ТЕПЛОПРОВОДНОСТИ СНЕЖНОГО ПОКРОВА ОКТЯБРЯ

459 REM СРЕДНЯЯ ТОЛЩИНА СНЕЖНОГО ПОКРОВА ОКТЯБРЯ

460 DATA 2, 7.67, 4, 7.33, 4.67, 2, .33, 1.33, 3.33, 8.67

465 DATA 1.67, 5, .67, 5, 5.33, 1.67, 7.33, 2.33, 9, .67, 0, 1, .33, 8.33, 8.33

489 REM СРЕДНЯЯ ТЕМПЕРАТУРА ОКТЯБРЯ

490 DATA -11.6, -13.2, -9.8, -14.5, -12.1

495 DATA -10.2, -4.0, -8.8, -9.9, -11.7

496 DATA -6, -5.2, -3.9, -4.4, -3.3, -6, -11.4, -5.4, -8, -8.8

497 DATA -7 -5.7, -7, -2.7, -5.3

499 REM КОЭФФИЦИЕНТ ТЕПЛОПРОВОДНОСТИ СНЕЖНОГО ПОКРОВА НОЯБРЯ

509 REM СРЕДНЯЯ ТОЛЩИНА СНЕЖНОГО ПОКРОВА НОЯБРЯ

510 DATA 15.67, 8.67, 8.67, 12, 6.33, 14.67, 2, 3.67, 14.33, 14,33

515 DATA 3.33, 5.33, 7.33, 4.67, 10.67, 6.33, 14.67, 5, 0, 4.33, 9.33, 10.33, .33, 5.67, 11.67

539 REM СРЕДНЯЯ ТЕМПЕРАТУРА НОЯБРЯ

540 DATA -23.6, -22.7, -18.6, -19.6, -26.1

545 DATA -19.2, -12.0, -14.3, -15.6, -21.3

546 DATA -15.1, -21.6, -14.7, -19, -17.9, -15.3, -16.1, -15.8, -19.1, -17.5

547 DATA -14.3, -20.4, -17.4, -15.6, -11.7

549 REM КОЭФФИЦИЕНТ ТЕПЛОПРОВОДНОСТИ СНЕЖНОГО ПОКРОВА ДЕКАБРЯ

550 DATA .2031

559 REM СРЕДНЯЯ ТОЛЩИНА СНЕЖНОГО ПОКРОВА ДЕКАБРЯ

560 DATA 11.33, 11, 8.67, 19.67, 6.33, 35, 15, 18, 11, 15.33

565 DATA 5, 19.33, 1.2.33, 4.67, 8.67, 6, 11.33, 0, 15, 6.67, 12, 9, 3.33, 8, 10.33

589 REM. СРЕДНЯЯ ТЕМПЕРАТУРА ДЕКАБРЯ

590 DATA -20.6, -23.1, -27.2, -26.7, -28.9

595 DATA -25.6, -27.8, -29.6, -17.3, -16

596 DATA -20.1, -19.2, -16.7, -20.5 -15.9, -20.9, -18.6, -28.1, -21.9, -15.2

597 DATA -25.0, -25.2, -18.2, -25.8, -20.1

599 RЕМ КОЭФФИЦИЕНТ ТЕПЛОПРОВОДНОСТИ СНЕЖНОГО ПОКРОВА ЯНВАРЯ

600 DATA .349

609 REM СРЕДНЯЯ ТОЛЩИНА СНЕЖНОГО ПОКРОВА ЯНВАРЯ

610 DATA 8, 24, 8, 32, 7, 39.67, 13.33, 20.67, 10.33, 18.33

615 DATA 5, 14, 11, 5, 8.33, 5.67, 13, 8, 18.67, 6.33, 14.67, 19, 13.33, 8, 7.67

639 REM СРЕДНЯЯ ТЕМПЕРАТУРА ЯНВАРЯ

640 DATA -26.6, -19.6, -31, -26.7, -27.1

645 DATA -26.8, -21.2, -19.8, -20.2, -18.6

646 DATA -28.4, -30.4, -17.8, -23.7, -19.5, -19.2, -23.4, -21.9, -14.9, -20.7

647 DATA -26.1, -16.3, -20.6, -21.7, -19.9

649 REM КОЭФФИЦИЕНТ ТЕПЛОПРОВОДНОСТИ СНЕЖНОГО ПОКРОВА ФЕВРАЛЯ

650 DATA .349

659 REM СРЕДНЯЯ ТОЛЩИНА СНЕЖНОГО ПОКРОВА ФЕВРАЛЯ

660 DATA 8, 24.67, 6.67, 28, 6, 59.33, 10, 26, 10, 13.33

665 DATA 8.33, 13, 14, 6.67, 12.67, 4.67, 8.33, 9.33, 20, 9, 17.33, 18.33, 11, 14.67, 8

689 REM СРЕДНЯЯ ТЕМПЕРАТУРА ФЕВРАЛЯ

690 DATA -27.1, -23.6, -25.8, -22.4, -29.4

695 DATA -18.7, -19.3, -18.6, -23.6, -21.1

696 DATA -14.8, -21.5, -18.7, -16.7, -18.6, -23.4, -21.3, -15, -19.9, -19

697 DATA -16.2, -21.4, -20.2, -15, -17

699 REM КОЭФФИЦИЕНТ ТЕПЛОПРОВОДНОСТИ СНЕЖНОГО ПОКРОВА МАРТА

700 DATA .349

709 REM СРЕДНЯЯ ТОЛЩИНА СНЕЖНОГО ПОКРОВА МАРТА

710 DATA 6, 26, 6.67, 27, 15, 64, 10.67, 25, 8, 12.33

715 DATA 5.33, 12.33, 13.33, 8.33, 12.67, 3.67, 8.33, 4, 18, 7.33, 16, 16, 9.67, 14.67, 8.33

739 REM СРЕДНЯЯ ТЕМПЕРАТУРА МАРТА

740 DATA -19.2, -24.4, -23.2, -20.2, -9.2

745 DATA -13.4, -17.4, -15.4, -17.2, -16.1

746 DATA -12.2, -16.7, -14, -14.4, -17, -18.6, -11.2, -16.4, -17, -16.9

747 DATA -18.9, -14.5, -13.1, -20.5, -16.8

1000 REM РАСЧЕТ СУММ ЖИДКИХ ОСАДКОВ

1043 REM ВВОД КОЛ-BA ЖИДКИХ ОСАДКОВ ЗА ИЮЛЬ КАЖДОГО ГОДА

1044 FOR I=1 ТО N

1046 READ O0(I)

1048 NEXT I

1049 REM ВВОД КОЛ-ВА ЖИДКИХ ОСАДКОВ ЗА АВГУСТ КАЖДОГО ГОДА

1050 FOR I=1 ТО N

1052 READ O1(I)

1054 NEXT I

1055 REM ВВОД КОЛ-ВА ЖИДКИХ ОСАДКОВ ЗА СЕНТЯБРЬ КАЖДОГО ГОДА

1056 FOR I=1 ТО N

1058 READ O2(I)

1060 NEXT I

1061 REM ВВОД КОЛ-ВА ЖИДКИХ ОСАДКОВ ЗА ОКТЯБРЬ КАЖДОГО ГОДА

1062 FOR I=1 ТО N

1064 READ O3(I)

1066 NEXT I

1499 REM РАСЧЕТ СУММ ЖИДКИХ ОСАДКОВ ЗА 3 МЕСЯЦА

1500 FOR I=1 TO N

1510 O(I)=0

1520 NEXT I

1530 FOR I=1 TO N

1540 O(I) =O0(I)+O1(I)+O2(I)+O3(I)

1560 NEXT I

1609 REM ФОРМИРОВАНИЕ РЯДА ЛЕТ НАБЛЮДЕНИЙ ЖИДКИХ ОСАДКОВ

1610 FOR I=1 TO N

1620 G2(I)=G0-1+I

1630 NEXT I

1639 REM РАНЖИРОВАНИЕ РЯДА СУММ ЖИДКИХ ОСАДКОВ

1640 K=0

1650 FOR I=1 TO N-1

1660 IF O(I)>O(I+1) THEN 1740

1670 R1=O(I+1)

1680 R2=G2(I+1)

1690 O(I+1)=O(I)

1700 G2(I+1)=G2(I)

1710 O(I)=R1

1720 G2(I)=R2

1730 K=1

1740 NEXT I

1750 IF K=1 THEN 1640

1760 FOR I=1 TO N

1764 REM ВЫЧИСЛЕНИЕ ЭМПИРИЧЕСКОЙ ВЕРОЯТНОСТИ

1765 F2(I)=I/(N+1)

1780 NEXT I

1949 REM ЖИДКИЕ ОСАДКИ ЗА ИЮЛЬ ПО КАЖДОМУ ГОДУ НАБЛЮДЕНИЙ

1950 DATA 83.1, 78.8, 49.5, 24, 35.8

1955 DATA 74.1, 50.8, 73.3, 98.2, 44.1, 17.4, 79.3, 15.5, 66.2, 67.7

1956 DATA 41.4, 93.9, 149.3, 64, 67.7, 62.7, 34.9, 94.3, 93.8, 163.2

1959 REM ЖИДКИЕ ОСАДКИ ЗА АВГУСТ ПО КАЖДОМУ ГОДУ НАБЛЮДЕНИЙ

1960 DATA 37.6, 51.2, 21.8, 73.9

1970 DATA 60, 76.6, 17.9, 30.1, 61.6, 61, 46.9

1975 DATA 160.9, 59.2, 18.2, 117.5, 102.2, 75.7, 59.3

1976 DATA 73.3, 33.7, 24.3, 111.4, 103.0, 84.6, 64.7

1979 REM ЖИДКИЕ ОСАДКИ ЗА СЕНТЯБРЬ ПО КАЖДОМУ ГОДУ НАБЛЮДЕНИЙ

1980 DATA 80.4, 44.4, 8.4

1990 DATA .5, 22, 106.8, 96.3, 59.1, 38.4, 41, 43

1995 DATA 28.1, 98.6, 97.4, 50, 1.9, 93.8, 15.2

1996 DATA 38.7, 42.4, 38.9, 47.7, 51.4, 12.9, 28.1

1998 REM ЖИДКИЕ ОСАДКИ ЗА ОКТЯБРЬ ПО КАЖДОМУ ГОДУ НАБЛЮДЕНИЙ

1999 DATA 0, 0, 58.5, .8, 0, 0, 0, 0, 0, 0, 0

2000 DATA 1.8, 90, 33.4, .8, 0, 0, 16.3, 0, 0, 16.9, 76.4, 0, 19.6, .5

2100 REM АППРОКСИМАЦИЯ КРИВЫХ СУММ ЖИДКИХ ОСАДКОВ И ГЛУБИН ПРОМЕРЗАНИЯ

2110 FOR I=1 TO N

2120 X(I)=F2(I)

2130 Y(I)=O(I)

2140 NEXT I

2215 PRINT #1, «А, В - КОЭФФИЦИЕНТЫ УРАВНЕНИЯ КРИВОЙ Y=1/(A*X+B) СУМ. Ж. ОСАД.»

2146 PRINT #1. «Е – ТОЧНОСТЬ - УСРЕДНЕННОЕ СРЕДНЕКВАДРАТИЧНОЕ ОТКЛОНЕНИЕ»

2150 GOSUB 3000

2160 А1=А9

2170 В1=В9

2180 Е1=Е

2190 FOR I=1 TO N

2200 Y(I)=F(I)

2210 NEXT I

2215 PRINT #1, «А, В - КОЭФФИЦИЕНТЫ УРАВНЕНИЯ КРИВОЙ Y=1/(A*X+B) ГЛУБ. ПРОМ.»

2216 PRINT #1, «E - ТОЧНОСТЬ - УСРЕДНЕННОЕ СРЕДНЕКВАДРАТИЧНОЕ ОТКЛОНЕНИЕ»

2220 GOSUB 3000

2230 А2=А9

2240 В2=В9

2250 Е2=Е

2255 REM ПЕЧАТЬ ЗАГОЛОВКА ТАБЛИЦЫ РЕЗУЛЬТАТОВ

2280 PRINT #1, «Р ЭМП», «СУМ. Ж. ОСАД.», «СУМ. Ж. ОСАД.», «ГОД», «ГЛУБ. ПРОМ.», «ГЛУБ. ПРОМ.», «ГОД»

2265 PRINT #1, « », «НАБЛ.», «АППР.», « », «РАСЧ.», «АППР.»

2270 FOR I=1 ТО N

2280 Y1(I)=1/(A1*F2(I)+B1)

2290 Y2(I)=1/(A2*F2(I)+B2)

2295 REM ПЕЧАТЬ ТАБЛИЦЫ РЕЗУЛЬТАТОВ

2300 PRINT #1, F2(I), O(I), Y1(I), G2(I), F(I), Y2(I), G1(I)

2310 NEXT I

2315 CLOSE #1

2350 STOP

3000 REM ПОДПРОГРАММА АППРОКСИМАЦИИ КРИВОЙ ПО МЕТОДУ НАИМЕНЬШИХ КВАДРАТОВ

3020 S=0

3021 S1=0

3622 S2=0

3023 S3=0

3024 S4=0

3070 FOR I=1 TO N

3075 U(I)=X(I)

3080 V(1)=1/Y(I)

3085 NEXT I

3165 FOR I=1 TO N

3170 S1=S1+U(I)*U(I)

3175 S2=S2+U(I)

3180 S3=S3+U(I)*V(I)

3185 S4=S4+V(I)

3190 NEXT I

3195 D=S1*N-S2*S2

3200 D1=S3*N-S4*S2

3205 D2=S1*S4-S2*S3

3210 A9=D1/D

3211 B9=D2/D

3215 FOR I=1 TO N

3220 V1(I)=A9*U(I)+B9

3225 S=S+(V1(I)-V(I))*(V1(I)-V(I))

3230 NEXT I

3235 E=SQR(S/N)

3255 PRINT #1, «A=»; A9, «B=»; B9,«E=»; E

3260 RETURN

3300 END

ПРИЛОЖЕНИЕ 5

Пример прогнозирования расчетных параметров наледи поверхностных вод на реке В

Река находится в первой климатической зоне. Долина реки в месте перехода имеет ширину 840 м, ограниченную пологими склонами гор. Русло сложено из гравия и гальки с песком, также сложены поймы. На глубине 3,9 м залегают глинистые сланцы. Площадь водосбора выше перехода 870 км2, расход воды 246 м3/с с вероятностью превышения 2 %. Уклон реки 0,006. Средняя глубина воды в русле при осеннем уровне 2,7 м.

На реке ежегодно образуется наледь. Изыскания перехода производили в 1975 г., а обследование наледи и ледомерные съемки в апреле 1976 г. Объем наледи составлял 285 000 м3, площадь 397 000 м2, средняя толщина 0,72 м, максимальная толщина 1,03. На переходе проектируют балочный четырехпролетный мост на столбчатых опорах диаметром 0,8 м, погружаемых на глубину 9,5 м. Пролеты моста в свету 20,4 м. Дорога IV категории.

Определение расчетных параметров наледи, согласно п. 1.25 СНиП 2.05.03-84, производим с вероятностью превышения 2 %. Река находится на расстоянии 12 км от реки А, рассмотренной в примере прил. 2. Поэтому данные о жидких осадках, температуре воздуха и снежном покрове используем из табл. 2 прил. 2.

Для вычисления за 25 лет глубин промерзания поверхностного потока воды, сумм осадков и ординат кривых обеспеченности используется приведенная в прил. 4 программа Лед-II. Данные об осадках, температуре воздуха и толщине снежного покрова, указанные в табл. 1 и 2 прил. 2, вводим в программу. ЭВМ выдает расположенные в ранжированные ряды ординаты аппроксимирующих кривых обеспеченности сумм жидких осадков и глубины промерзания поверхностного потока воды, которые приводятся в табл. 1.

На специальной клетчатке строим кривые обеспеченности сумм жидких осадков и глубины промерзания воды (рис. 1).

Из табл. 1 находим в год обследования наледи (1976), глубина промерзания речного потока составляла 0,605 м с эмпирической вероятностью превышения РЭ=0,577. В предыдущий год (1975) сумма жидких осадков за четыре летне-осенних месяца была 213 мм с эмпирической вероятностью превышения РЭ=0,346.

Находим коэффициент x - отношение вероятности сумм жидких осадков к вероятности глубины промерзания в год изысканий:

По формулам (15) и (16) находим расчетные вероятности сумм жидких осадков и глубины промерзания:


Рис. 1. Кривые обеспеченности сумм жидких осадков и глубины промерзания на реке В (питание поверхностными водами)


Таблица 1

Ординаты аппроксимирующих кривых обеспеченности сумм жидких осадков и глубин промерзания на реке В

ICE2

А, В - КОЭФФИЦИЕНТЫ УРАВНЕНИЯ КРИВОЙ Y=1/(A*X+B) СУМ. Ж. ОСАД.

Е - ТОЧНОСТЬ - УСРЕДНЕННОЕ СРЕДНЕКВАДРАТИЧНОЕ ОТКЛОНЕНИЕ

А=6.15400Е-03 В=2.56446Е-03 Е=5.61809Е-04

А, В - КОЭФФИЦИЕНТЫ УРАВНЕНИЯ КРИВОЙ Y=1/(A*X+B) ГЛУБ. ПРОМ.

Е – ТОЧНОСТЬ - УСРЕДНЕННОЕ СРЕДНЕКВАДРАТИЧНОЕ ОТКЛОНЕНИЕ

А=1.22817

Р ЭМП

В=.94326

СУМ. Ж. ОСАД. НАБЛ.

Е=.269979

СУМ. Ж. ОСАД АППР.

ГОД

ГЛУБ. ПРОМ. РАСЧ.

ГЛУБ. ПРОМ. АППР.

ГОД

.0384615

270.4

356.996

1982

.915003

1.00959

1964

.0769231

270.1

329.181

1972

.859368

.963637

1977

.115385

263.4

305.387

1977

.847115

.921683

1979

.153846

263.3

284.8

1973

.832147

.883229

1962

.192308

257.5

266.814

1966

.819519

.847855

1966

.230769

256.5

250.965

1985

.76782

.815206

1975

.269231

248.7

236.893

1983

.763433

.784978

1972

.307692

240.1

224.316

1978

.749274

.756912

1981

.346154

236

213.007

1975

.735117

.730783

1984

.384615

215.2

202.783

1974

.700341

.706398

1970

.423077

210.9

193.496

1984

.699549

.683588

1968

.461538

201.1

185.022

1961

.696315

.662205

1973

.5

198.2

177.259

1969

.689925

.642119

1985

.53862

176

170.121

1979

.681667

.623215

1986

.576923

174.4

163.536

1962

.640528

.605393

1976

.615385

165

157.442

1967

.636397

.588562

1978

.653846

162.5

151.786

1968

.635289

.572641

1980

.692308

146.1

146.522

1970

.611259

.557559

1982

.730769

145.5

141.611

1976

.585852

.543252

1963

.769231

143.8

137.018

1980

.577659

.52966

1971

.807692

142.8

132.714

1981

.574442

.516731

1974

.846154

138.2

128.672

1963

.571971

.504419

1983

.884615

117.8

124.869

1965

.514707

.49268

1969

.923077

107.3

121.284

1971

.501734

.481474

1965

.961538

99.2

117.9

1964

.29835

.470767

1967

По кривым обеспеченности (рис. 1, приложение 5) при P(Sxp)=0,11 и P(hЛ)=0,183 находим Sxp=308 мм и hЛР=0,85 м.

Определяем переходные коэффициенты:

 

Площадь живого сечения реки без учета стеснения опорами моста w=4×21×2,7=227 м2.

Площадь стеснения речного потока опорами моста wС=5×0,8×0,85=3,40 м2.

Коэффициент, учитывающий стеснение,

По формуле (6) определяем прогнозируемый объем наледи

VНР=gnVНИkxkhkC=1,2×285000×1,45×1,41×1,02=713203 м3.

Средняя расчетная толщина наледи на наледной поляне

м.

Максимальная толщина наледи

Zmax p=YZСР Р=1,43×1,80=2,57м,

где

ПРИЛОЖЕНИЕ 6

Программа I СЕ 3 (Лед-III) расчетов осадков, продолжительности морозного периода и ординат кривых обеспеченности при прогнозировании наледей ключевых вод

I. БЛОК-СХЕМА ПРОГРАММЫ I CE 3(Лед-III)

II. ИНСТРУКЦИЯ ПО ЭКСПЛУАТАЦИИ ПРОГРАММЫ I СЕ 3

Программа I СЕ 3 применяется для расчетов жидких осадков и ординат аппроксимирующих кривых сумм жидких осадков и продолжительности морозного периода при прогнозировании ключевых наледей.

Программа I СЕ 3 составлена на алгоритмическом языке БЕЙСИК и выполняется в режиме интерпретации под управлением операционной системы реального времени с разделением функций (РАФОС). Объем оперативной памяти, занимаемой интерпретатором, не более 14 К слов. Минимальная конфигурация, необходимая для работы интерпретатора, это базовый комплект УВК СМ 4 (или микро-ЭВМ «Электроника-60»).

1. Инструкция по заполнению исходных данных

Исходные данные в программу I СЕ 3 заносятся путем предварительной организации блока данных n; g0; fi; i=1, ... , n; (О0)i, (О1)i, (О2)i, (О3)i, i=1, ..., n. В тексте программы I СЕ 3 с занесением данных в виде операторов DATA; в этом случае операторы READ и DATA совместно используются для ввода численной информации.

Для организации блока данных занести n и g0 в строку 26.

Например, 26 DATA 25, 1961

fi i=1, ... , n в строки 450, 451, 452, 453, 454

Например,

450 DATA 226, 229, 226, 239, 216

451 DATA 219, 225, 228, 214, 222

462 DATA 222, 227, 225, 221, 223

253 DATA 232, 232, 220, 232, 230

254 DATA 226, 229, 226, 229, 226

0)i в строки 1950, 1951, 1952, 1953, 1954

1)i в строки 1960, 1961, 1962, 1963, 1964

2)i в строки 1980, 1981, 1982, 1983, 1984

3)i в строки 1990, 2000, 2003

Например, (О0)i

1950 DATA 83.1, 53.8, 50.0, 45.1, 5.7

1951 DATA 63,0, 68.8, 48.3, 90.7, 58.3

1952 DATA 23.9, 68.4, 17.4, 48.8, 60.5

1953 DATA 39.1, 54.3, 99.4, 86.5, 67.7

1954 DATA 62.7, 34.9, 94.3, 93.8, 163.2

1)i, (О2)i, (О3)i - аналогично.

2. Расшифровка результатов

Результаты расчета выводятся на печать в виде таблицы:

1 столбец - эмпирические вероятности превышения сумм жидких осадков и продолжительности морозного периода за n лет наблюдений;

2 столбец - суммы жидких осадков по данным гидрометеослужбы за n лет наблюдений;

3 столбец - ординаты аппроксимирующей кривой сумм жидких осадков;

4 столбец - годы наблюдений осадков;

5 столбец - продолжительности морозного периода;

6 столбец - ординаты аппроксимирующей кривой продолжительности морозного периода;

7 столбец - годы наблюдения продолжительности морозного периода.

3. Инструкция оператору

а) Загрузить операционную систему РАФОС.

б) Запустить интерпретатор БЕЙСИК, например, под управлением si - монитора, т. е.

Набрать команду BASIC

Печатается

BASIC/RAFOS V.02

OPTIONAL FUNCIONS (ALL, NONE, OR INDIVIDUAL)?

Набрать ответ А (ответ А включает все средства расширения функции интерпретатора).

Печатается

READY

в) Предварительно занести в текст программы исходные данные, пользуясь инструкцией по заполнению исходных данных.

г) Запустить программу I СЕ 3:

Если программа I СЕ 3 уже находится в памяти, то набрать команду RUN

Если программа I СЕ 3 находится на устройстве файловой структуры (диски), то набрать команду RUN STR, где STR - спецификация файла, например, набрать команду RUN DX1 : 1 СЕ 3. BAS.

д) Печатаются результаты, описанные в расшифровке результатов.

III. ТЕКСТ ПРОГРАММЫ I СЕ 3 (ЛЕД-III)

4 REM ICE3

5 REM ПРОГРАММА РАСЧЕТА СУММ ЖИДКИХ ОСАДКОВ И

6 REM ПРОДОЛЖИТЕЛЬНОСТИ МОРОЗНОГО ПЕРИОДА

7 REM АППРОКСИМАЦИЯ КРИВЫХ ПО МЕТОДУ НАИМЕНЬШИХ КВАДРАТОВ

8 W9=SYS(7, 0)

9 OPEN «LP:» FOR OUTPUT AS FILE #1

10 PRINT #1, «ICE3»\ PRINT #1,

15 DIM F(30), G1(30), F2(30)

22 DIM O0(30), O1(30), O2(30), O3(30), O(30), G2(30)

23 DIM X(30), Y(30), U(30), V(30), V1(30)

24 DIM Y1(30), Y2(30)

25 READ N, G0

26 DATA 25, 1961

27 REM ВВОД ПРОДОЛЖИТЕЛЬНОСТИ МОРОЗНОГО ПЕРИОДА КАЖДОГО ГОДА

60 FOR I=1 ТО N

70 READ F(I)

364 REM ФОРМИРОВАНИЕ РЯДА ЛЕТ НАБЛЮДЕНИЙ ПРОДОЛЖИТЕЛЬНОСТИ МОРОЗНОГО ПЕРИОДА

366 G1(I)=G0+1

390 NEXT I

399 REM РАНЖИРОВАНИЕ РЯДА ПРОДОЛЖИТЕЛЬНОСТИ МОРОЗНОГО ПЕРИОДА

400 К=0

402 FOR I=1 ТО N-1

404 IF F(I)>F(I+1) THEN 420

406 R1=F(I+1)

408 R2=G1(I+1)

410 F(I+1)F(I)

412 G1(I+1)=G1(I)

414 F(I)=R1

416 G1(I)=R2

418 K=1

420 NEXT I

422 IF K=1 THEN 400

449 REM

450 DATA 226, 229, 226, 230, 216

451 DATA 219, 225, 228, 214, 222

452 DATA 222, 227, 225, 221, 223

453 DATA 232, 232, 220, 232, 230

454 DATA 226, 229, 226, 229, 226

1000 REM РАСЧЕТ СУММ ЖИДКИХ ОСАДКОВ

1043 REM ВВОД КОЛ-ВА ЖИДКИХ ОСАДКОВ ЗА ИЮЛЬ КАЖДОГО ГОДА

1044 FOR I=1 ТО N

1046 READ O0(I)

1048 NEXT I

1049 REM ВВОД КОЛ-ВА ЖИДКИХ ОСАДКОВ ЗА АВГУСТ КАЖДОГО ГОДА

1050 FOR I=1 ТО N

1052 READ O1(I)

1054 NEXT I

1055 REM ВВОД КОЛ-ВА ЖИДКИХ ОСАДКОВ ЗА СЕНТЯБРЬ КАЖДОГО ГОДА

1056 FOR I=1 ТО N

1058 READ O2(I)

1060 NEXT I

1061 REM ВВОД КОЛ-ВА ЖИДКИХ ОСАДКОВ ЗА ОКТЯБРЬ КАЖДОГО ГОДА

1062 FOR I=1 ТО N

1064 READ O3(I)

1066 NEXT I

1499 REM РАСЧЕТ СУММ ЖИДКИХ ОСАДКОВ ЗА 3 МЕСЯЦА

1500 FOR I=1 TO N

1510 O(I)=0

1520 NEXT I

1630 FOR I=1 TO N

1540 O(I) =O0(I)+O1(I)+O2(I)+O3(I)

1560 NEXT I

1609 REM ФОРМИРОВАНИЕ РЯДА ЛЕТ НАБЛЮДЕНИЙ ЖИДКИХ ОСАДКОВ

1610 FOR I=1 TO N

1620 G2(I)=G0-1+I

1630 NEXT I

1639 REM РАНЖИРОВАНИЕ РЯДА СУММ ЖИДКИХ ОСАДКОВ

1640 K=0

1650 FOR I=1 TO N-1

1660 IF O(I)>O(I+1) THEN 1740

1670 R1=O(I+1)

1680 R2=G2(I+1)

1690 O(I+1)=O(I)

1700 G2(I+1)=G2(I)

1710 O(I)=R1

1720 G2(I)=R2

1730 K=1

1740 NEXT I

1750 IF K=1 THEN 1640

1760 FOR I=1 TO N

1764 REM ВЫЧИСЛЕНИЕ ЭМПИРИЧЕСКОЙ ВЕРОЯТНОСТИ

1765 F2(I)=I/(N+1)

1780 NEXT I

1949 REM ЖИДКИЕ ОСАДКИ ЗА ИЮЛЬ ПО КАЖДОМУ ГОДУ НАБЛЮДЕНИЙ

1950 DATA 83.1, 53.8, 50.0, 45.1, 5.7

1951 DATA 63.0, 68.8, 48.3, 90.7, 58.3

1952 DATA 23.9, 68.4, 17.4, 48.8, 60.5

1953 DATA 39.1, 54.3, 99.4, 86.5, 67.7

1954 DATA 62.7, 34.9, 94.3, 93.8, 163.2

1959 REM ЖИДКИЕ ОСАДКИ ЗА АВГУСТ ПО КАЖДОМУ ГОДУ НАБЛЮДЕНИЙ

1960 DATA 37.6, 61.9, 20.6, 75.2, 71.9

1961 DATA 90.3, 28.6, 12.5, 16.9, 94.9

1962 DATA 14.3, 75.6, 17.6, 33.9, 96.7

1963 DATA 34.3, 66.2, 37.8, 91.6, 33.7

1964 DATA 24.3, 111.4, 103.0, 84.6, 64.7

1979 REM ЖИДКИЕ ОСАДКИ ЗА СЕНТЯБРЬ ПО КАЖДОМУ ГОДУ НАБЛЮДЕНИЙ

1980 DATA 80.4, 0.4, 16.6, 12.1, 8.8

1981 DATA 25.9, 61.6, 42.2, 30.3, 32.5

1982 DATA 29.8, 19.0, 42.3, 76.3, 64.5

1983 DATA 1.3, 49.1, 2.5, 28.9, 42.4

1984 DATA 38.9, 47.7, 51.4, 12.9, 28.1

1998 REM ЖИДКИЕ ОСАДКИ ЗА ОКТЯБРЬ ПО КАЖДОМУ ГОДУ НАБЛЮДЕНИЙ

1999 DATA 0, 0, 10.7, 0, 0

2000 DATA 0, 0, 0, 0, 0

2001 DATA 0, 0, 30.1, 2.6, 0

2002 DATA 0, 0, 0, 0, 0

2003 DATA 16.9, 76.4, 0, 19.6, .5

2100 REM АППРОКСИМАЦИЯ КРИВЫХ

2110 FOR I=1 TO N

2120 X(I)=F2(I)

2130 Y(I)=O(I)

2140 NEXT I

2145 PRINT 1, «A, U - КОЭФФИЦИЕНТЫ УРАВНЕНИЯ КРИВОЙ Y=1/(A*X+B) СУМ. Ж. ОСАД

2146 PRINT #1. «Е – ТОЧНОСТЬ - УСРЕДНЕННОЕ СРЕДНЕКВАДРАТИЧНОЕ ОТКЛОНЕНИЕ

2150 GOSUB 3000

2160 А1=А9

2170 В1=В9

2180 Е1=Е

2190 FOR I=1 TO N

2200 Y(I)=F(I)

2210 NEXT I

2215 PRINT #1, «А, В - КОЭЭФИЦИЕНТЫ УРАВНЕНИЯ КРИВОЙ Y=1/(A*X+B) ПРОД. М. П.»

2216 PRINT #1, «Е - ТОЧНОСТЬ - УСРЕДНЕННОЕ СРЕДНЕКВАДРАТИЧНОЕ ОТКЛОНЕНИЕ

2220 GOSUB 3000

2230 А2=А9

2240 В2=В9

2250 Е2=Е

2255 REM ПЕЧАТЬ ЗАГОЛОВКА ТАБЛИЦЫ РЕЗУЛЬТАТОВ

2260 PRINT #1, «Р ЭМП, «СУМ. Ж. ОСАД.», «СУМ. Ж. ОСАД.», «ГОД», «ПРОД. М.П.», «ПРОД. М.П.», «ГОД»

2265 PRINT #1, « », «НАБЛ.». «АППР.», « », «РАСЧ.», «АППР.»

2270 FOR I=1 ТО N

2280 Y1(I)=1/(A1*F2(I)+B1)

2290 Y2(I)=1/(A2*F2(I)+B2)

2295 REM ПЕЧАТЬ ТАБЛИЦЫ РЕЗУЛЬТАТОВ

2300 PRINT #1, F2(I), O(I), YI(I), G2(I), F(I), Y2(I), G1(I)

2310 NEXT I

2315 CLOSE #1

2350 STOP

3000 REM ПОДПРОГРАММА АППРОКСИМАЦИИ КРИВОЙ ПО МЕТОДУ НАИМЕНЬШИХ КВАДРАТОВ

3020 S=0

3021 S1=0

3022 S2=0

3023 S3=0

3024 S4=0

3070 FOR I=1 TO N

3075 U(I)=X(I)

3080 V(I)=1/Y(I)

3085 NEXT I

3195 FOR I=1 TO N

3170 S1=S1+U(I)*U(I)

3175 S2=S2+U(I)

3180 S3=S3+U(1)*V(I)

3185 S4=S4+V(I)

3190 NEXT I

3195 D=S1*N-S2*S2

3200 D1=S3*N-S4*S2

3205 D2=S1*S4-S2*S3

3210 A9=D1/D

3211 B9=D2/D

3215 FOR I=1 TO N

3220 V1(I)=A9*U(I)+B9

3225 S=S+(V1(I)-V(I))*(V1(I)-V(I))

3230 NEXT I

3235 E=SQR(S/N)

3255 PRINT #1, «A=»; A9, «B=»; B9,«E=»; E

3260 RETURN

3300 END

ПРИЛОЖЕНИЕ 7

Пример прогнозирования расчетных параметров наледи ключевых вод на реке Д

Горная река находится в I дорожно-климатической зоне. Ширина долины 100-140 м, с обеих сторон ограничена крутыми склонами. Русло сложено гравийно-галечниковыми отложениями, которые на глубине 2,4 м подстилаются глинистыми сланцами. На высоте 2,5 м от поверхности русла из разлома коренных пород правого склона в течение всего года изливается источник, расход которого год от года изменяется в зависимости от количества осадков, выпадающих в летне-осеннее время. При наступлении морозного периода источник образует наледь.

Обследование наледи производилось в конце апреля 1981 г. Ее объем составлял 7140 м3, площадь 14600 м, средняя толщина 0,49 м, максимальная толщина 0,93 м.

На водотоке проектируется четырехпролетный железобетонный мост отверстием 80 м на столбчатых опорах. Дорога IV категории.

Определение расчетных параметров ключевой наледи, согласно п. 1.25 СНиП 2.05.03-84, производим с вероятностью превышения 2 %.

Данные ближайшей метеорологической станции о жидких осадках и продолжительности морозного периода за 25 лет (табл. 1) вводим в программу Лед-III. ЭВМ выдает расположенные в ранжированные ряды ординаты аппроксимирующих кривых обеспеченности сумм жидких осадков и продолжительности морозного периода, которые приводятся в табл. 2. На клетчатке вероятностей строим кривые обеспеченности сумм жидких осадков и продолжительности морозного периода (рис. 1).

Таблица 1. Суммы жидких осадков и продолжительности морозного периода в районе мостового перехода через реку Д

Годы

Суммы жидких осадков

Морозный период

Июль

Август

Сентябрь

Октябрь

Переходы температуры

Количество морозных дней

Осень

Весна

1961

83,1

37,6

80,4

0

28,09

 

 

1962

53,8

61,9

0,4

0

29,09

11,05

226

1963

50,0

20,6

16,6

10,7

28,09

14,05

226

1964

45,1

75,2

12,1

0

28,09

11,05

230

1965

5,7

71,9

8,8

0

5,10

14,05

216

1966

63,0

90,3

25,9

0

26,09

8,05

219

1967

68,8

28,6

61,6

0

1,10

2,05

225

1968

48,3

12,5

42,2

0

l,10

13,05

228

1969

90,7

16,9

30,3

0

26,09

15,05

214

1970

58,3

94,9

32,5

0

2,10

27,04

222

1971

23,9

14,3

29,8

0

21,09

11,05

229

1972

68,4

75,6

19,0

0

16,09

30,04

232

1973

17,4

17,6

42,3

30,1

29,09

29,04

227

1974

48,8

33,9

76,3

2,6

29,09

11,05

225

1975

60,5

96,7

64,5

0

3,10

7,05

221

1976

39,1

34,3

1,3

0

21,09

13,05

223

1977

54,3

66,2

49,1

0

22,09

9,05

232

1978

99,4

37,8

2,5

0

26,09

11,05

232

1979

86,5

91,6

28,9

0

22,09

3,05

220

1980

67,7

33,7

42,4

0

28,09

11,05

232

1981

62,7

24,3

38,9

16,9

28,09

14,05

230

1982

34,9

111,4

47,7

76,4

28,09

11,05

226

1983

94,3

103,0

51,4

0

28,09

14,05

229

1984

93,8

81,6

12,9

19,6

28,09

11,05

226

1985

163,2

61,7

28,1

5,0

28,09

14,05

229

 

 

 

 

 

 

11,05

226


Рис. 1. Кривые обеспеченности сумм жидких осадков и продолжительности морозного периода на реке Д (питание ключевыми водами)


Таблица 2

Ординаты аппроксимирующих кривых обеспеченности суммы жидких осадков и продолжительности морозного периода на водотоке Д

ICE3

А, Б - КОЭФФИЦИЕНТЫ УРАВНЕНИЯ КРИВОЙ Y=1/(A*X+B) СУМ. Ж. ОСАД.

Е - ТОЧНОСТЬ - УСРЕДНЕННОЕ СРЕДНЕКВАДРАТИЧНОЕ ОТКЛОНЕНИЕ

А=9.60166Е-03                     В=2.38243Е-3                            Е=1.02441Е-03

А, В - КОЭФФИЦИЕНТЫ УРАВНЕНИЯ КРИВОЙ Y=1/(A*X+B) ПРОД. М. П.

Е - ТОЧНОСТЬ - УСРЕДНЕННОЕ СРЕДНЕКВАДРАТИЧНОЕ ОТКЛОНЕНИЕ

А=3.26907Е-04

Р ЭМП

СУМ. Ж. ОСАД. НАБЛ.

В=4.27509Е-03

СУМ. Ж. ОСАД. АППР.

ГОД

Е=2.68221Е-05

ПРОД. М. П. НАБЛ.

ПРОД. М. П. АППР.

ГОД

.0384615

270.4

363.409

1982

932

233.227

1977

.0769231

256.5

320.408

1985

232

232.545

1978

.115385

248.7

286.507

1983

232

231.867

1980

.153846

221.7

259.094

1975

230

231.193

1965

.192308

210.9

236.468

1984

230

230.523

1981

.230769

207

217.477

1979

229

229.857

1963

.269231

201.1

201.309

1961

229

229.195

1983

.307692

185.7

187.379

1970

229

228.536

1985

.346154

179.2

175.252

1966

228

227.881

1969

.384615

169.6

164.599

1977

227

227.23

1973

.123077

163

155.167

1972

226

226.583

1962

.461538

161.6

146.757

1974

226

225.938

1964

.5

159

139.213

1967

226

225.299

1982

.538462

143.8

132.406

1980

226

224.663

1984

.576923

142.8

126.233

1981

226

224.03

1986

.615385

139.7

120.611

1978

225

223.401

1968

.653846

137.9

115.468

1969

225

222.775

1974

.692308

132.4

110.745

1964

223

222.153

1976

.730769

116.1

106.394

1962

222

221.534

1971

.769231

107.4

102.372

1973

222

220.919

1972

.807692

103

98.6425

1968

221

220.307

1975

.846154

97.9

95.1755

1963

220

219.698

1979

.884615

86.4

91.9439

1965

219

219.093

1967

.923077

74.7

88.9245

1976

216

218.491

1966

.961538

68

86.0971

1971

214

217.892

1970

Из табл. 2 в год обследования наледи (1981) продолжительность морозного периода была 231 день с эмпирической вероятностью 0,192. В предыдущий год (1980) сумма жидких осадков за четыре летне-осенних месяца составляла 132 мм с эмпирической вероятностью 0,538.

Находим коэффициент x - отношение вероятности сумм жидких осадков к вероятности продолжительности морозного периода в год изысканий.

По формулам (15) и (32) находим расчетные вероятности сумм жидких осадков и продолжительности морозного периода:

По графику кривых обеспеченности (рис. 1) P(Sxp) и P(Stp) находим Sxp=214 и Stp=232,4.

Определяем переходные коэффициенты:

Ключевая вода натекает на поверхность ледяного покрова из источника сверху. Стеснение живого сечения реки опорами моста на дебит наледеобразующей воды не влияет, поэтому коэффициент снесения не учитывается.

По формуле (29) определяем объем прогнозируемой наледи

VКНР=gnVКНИkxkt=1,2×7140×1,62×1,01=14050 м3.

Средняя расчетная толщина наледи на наледной поляне

м.

Максимальная толщина наледи

Zmax p=ZСР РY=0,97×1,90=1,84 м,

где

ПРИЛОЖЕНИЕ 8

Пример расчета безналедного пропуска водотока с применением закрытого утепленного лотка

На расстоянии 70 м выше трубы всю зиму функционирует родник, создающий наледь. Для безналедного пропуска водотока у прямоугольной трубы проектируется закрытый утепленный лоток, который устанавливается при постройке трубы под ее нижней плитой (рис. 1). Во избежание заиливания лотка в нижней плите трубы делаются люки с крышками. Через них лоток можно очищать и промывать от наносов.

На подходе к трубе и ниже ее лоток заглублен в русле водотока, зимой закрывается утепленной крышкой из досок толщиной 4 см с прокладкой между ними пенопласта.

Расход водотока Q=0,01 м3, уклон I=0,005, температура источника tИ=+0,5°C. Средняя температура воздуха в наиболее холодный месяц (январь) tВОЗ=-24,6°С. Продолжительность морозного периода 4320 ч. Средняя температура воздуха за весь морозный период -17,3°. Температура грунта русла в январе на глубине заложения лотка составляет 0 °С.

Из конструктивных соображений принимаем: ширину лотка 0,5 м, глубину заложения лотка 1,0 м, толщину стенок 0,12 м. Для бетона лотка lСТ=1,7 Вт/(м×°С) и коэффициент температуропроводности а=0,0033 м/ч.

Гидравлическим расчетом установлено, что для принятой конструкции лотка высота слоя воды равна 0,05 м и смоченный периметр 0,6 м.

Определяем коэффициент теплопередачи kГ, термическое сопротивление R и теплопотери Ф для закрытого лотка:

R=1 : a1=1 : 30=0,033;

откуда kГ=1,92; Ф=kГb1tГ=1,92×0,6×0=0.

По формулам (51) и (50) определяем параметры S и М:

t=M+e-k(tИ-M);

O=M+e-0,045(0,5-М), откуда М=-12,25.

Определяем температуру воздушной прослойки между перекрытием и водой:

откуда tВОЗ= -13,2°С.

Определяем толщину теплоизоляции перекрытия. Крышку лотка в русле водотока делаем из двух слоев досок толщиной по 4 см с прокладкой между ними слоя пенопласта.

Коэффициент температуропроводности пенопласта а=0,00043 м2/ч.

Рис. 1. Безналедный пропуск водотока у прямоугольной трубы:

а - поперечный разрез трубы и лотка; б - конструкция утепленного лотка в русле водотока

1 - железобетонная прямоугольная труба; 2 - железобетонный лоток; 3 - снег; 4 - пенопласт; 5 - доски 4 см; 6 - укрепление русла; 7 - гравий с песком; 8 - местный грунт

Определяем коэффициент для пользования графиком на рис. 16:

аt=0,00043×720=0,31; m0=tПР:tВОЗ=13,2:24,6=0,535.

По графику на рис. 16 находим, что общая толщина теплоизоляции из дерева составляет 0,23 м. Но крышку лотка делаем из двух слоев досок по 4 см, а между ними укладываем прокладку из пенопласта. Необходимая толщина прокладки пенопласта будет

м.

Принимает толщину прокладки пенопласта равной 3 см. Кроме крышки, лоток утепляем снегом. Для этого осенью с наветренной стороны по водотоку устанавливаются снегозадерживающие щиты, а отверстия трубы с обеих сторон закрываются щитами из арматурного каркаса и полиэтиленовой пленки.

ПРИЛОЖЕНИЕ 9

Пример расчета двухтрубной охлаждающей установки для создания противоналедных мерзлотных поясов у искусственных сооружений

Охлаждающие установки проектируются двухтрубные, изогнутые с использованием в качестве теплоносителя керосина. Подземная часть установки имеет длину по горизонтали 6,0 м. Трубы имеют диаметры 80 и 110 мм. В земле верхняя труба залегает на глубине 60 см, нижняя на глубине 110 см и расположена на 25 см выше водоупора (рис. 1).

Холодопроизводительность установки определяется по экспериментально-теоретической формуле

Q=24Stt[VK-VK(tКH-tKP)b]qYk1k2,

где 24Stt - период работы охлаждающей установки зимой, °С×с; VK - объем керосина, м3; tКH - температура керосина при заполнении охлаждающей установки, °С; tКP - средняя пониженная температура керосина, характеризующая объем его в холодный расчетный период, °С; b - коэффициент объемного изменения керосина при охлаждении; Y - коэффициент, учитывающий изменения удельной поверхности охлаждения керосина в трубах по сравнению с опытной установкой; k1 - коэффициент, учитывающий влияние ветра, принимаем равным

где  - скорость ветра, м/с; q - вынос тепла одним метром кубическим керосина (Дж/(°С×с); k2 - коэффициент, учитывающий отношение объемов керосина в верхней, находящейся на .воздухе, к нижней, находящейся в грунте, установки

1. Период работы охлаждающей установки. Чтобы не допустить образование большой наледи у искусственного сооружения, мерзлотный пояс надо создать не позднее 15.XII. К этому времени вся толщина фильтрационного потока должна быть проморожена до водоупора. В районе сооружения мерзлотного пояса среднесуточные температуры бывают в октябре -11,4°С, ноябре -27,9 °С, декабре - 35,9 °С.

Период работы установки

24Stt=24(11,4×31+27,9×30+35,9×16)3600=1524787,2×102, °С×с.

2. Определение объема керосина в охлаждающей установке. Объем керосина в охлаждающей установке определяется отдельно для части установки, находящейся в грунте VГ и для части, находящейся над землей УВ.

Задаемся диаметрами труб: тонкой dНОР=80 мм, dВН=75 мм; толстой DП110 мм, DВ=115 мм. Толщина стенок d=5 мм.

Площадь циркуляционных отверстий труб:

тонкой м2;

толстой м2.

Рис. 1. Конструкция двухтрубной охлаждающей установки:

1 - расширитель-труба d=110 мм; 2 - крышка с резьбой; 3 - отверстие для слива; 4 - труба d=80 мм; d=5 мм; 5 - кожух для защиты установки от затопления наледью; 6 - водоупор; 7 - поверхность земли; 8 - уровень наледи; 9 - уровень керосина летом; 10 -уровень керосина зимой

Длину труб определяем по схеме охлаждающей установки. Для частей труб, находящихся в грунте,

lГ=2×6+0,5p0,5+0,6+1,1=14,49 м.

Длину труб надземной части установки определяем из условия, чтобы она составляла не менее 0,2 от длины подземной части

lВ=0,2lГ=0,2×lГ=0,2×14,49=2,90 м.

Объем керосина в части установки, находящейся в грунте, будет

VГ=w1lГ=0,004416×14,49=0,064 м3.

Объем керосина в части установки, находящейся над землей,

VB=0,2×0,064=0,013 м3.

Общий объем керосина в охлаждающей установке

VК=VГ+VВ=0,064+0,013=0,077 м3.

3. Определение температуры керосина в начальный период работы установки tКН и в холодный расчетный период tКР. Заполнение установки керосином намечается производить в сентябре, когда температура воздуха может быть около 0 °С.

Принимаем tКН=0 °С.

В холодный расчетный период (декабрь) среднемесячная температура воздуха tКР=-35,9 °С.

Коэффициент объемного изменения керосина при охлаждении b=1,1×10-3.

Вынос тепла 1 м3 керосина для двухтрубной установки

q=10,1047 Дж/(°С×с).

Коэффициент Y, учитывающий изменение удельной поверхности охлажденного керосина в трубах, по сравнению с опытной установкой

где dОП, DОП - диаметры в свету малой и большой труб в опытной установке; dФ, DФ - диаметры в свету малой и большой труб фактически изготовленной установки dОП=50 мм, DОП=66 мм.

Коэффициент, учитывающий влияние ветра, определяется по формуле

где  - скорость ветра, м/с.

По климатологическому справочнику определяем среднемесячную скорость ветра =2 м/с; .

Коэффициент k2, учитывающий отношение объемов керосина в верхней, находящейся на воздухе части установки, к нижней, находящейся в грунте, принимается по формуле

Холодопроизводительность установки

Q=24St[VK-VK(tKH-tKP)b]qYk1k2=1524787,2×102[0,077-0,077×35,9×1,1×10-3]0,1047×0,627×

×1,141×0,451=114237,05×102×0,03348=380957,6 Дж.

Теплосъем на 1 м заглубленных в грунт труб охлаждающей установки составляет

 Дж/м.

Диаметр мерзлого грунта, который может образовываться вокруг труб в грунте при работе охлаждающей установки с 1/Х по 15/XII.

Расход холода на замораживание 1 м3 талого грунта при влажности 30 % можно принять, по данным Н.Г. Трупака, 125604 Дж.

м.

Возможная амплитуда изменения уровня керосина определяется по максимальной и минимальной температурам воздуха, которые для района строительства составляют tmax=+34°С, tmin=-62°С.

Изменение объема керосина в охлаждающей установке в расчетном интервале температур от tmax до tmin

DV=VKb( tmax-tmin)=0,077×1,1×10-3(34+62)=0,0082 м3.

Объем керосина при заливе в установку при 0 °С

DV"=0,077×1,1×10-3×34+0,010382=0,0133 м3.

Объем керосина с запасом

VЗК=VK+DV"=0,077+0,0133=0,0903 м3.

13. Необходимый размер расширителя по высоте

где Dh1=0,l м, Dh2=0,15 м;

м.

ПРИЛОЖЕНИЕ 10

Паспорт наледи № 47

у моста отверстием 3´6 м на км 985 ПК 8+59 м

или у земполотна на км... от ПК... + до ПК... +

автомобильной дороги ..............................

Характеристика наледи и условия ее образования

Данные зимы 1986/87 гг.

1. Где образуется наледь

В русле реки

2. Тип наледи

Смешанных вод

3. Источник питания

Речные и подрусловые воды

4. Место выхода наледеобразующей воды

В русле 283 м выше моста

5. Характеристика грунтов русла

Галька, гравий с песком и валунами

6. Рельеф и растительность берегов

Правый - обрывистый без растительности. Левый - пологий, покрытый мхом и редким кустарником

7. Характеристика склонов долины

Правый - крутой, сухой. Левый - пологий, заболочен

8. Глубина залегания водоупора выше стесненного участка и на стесненном

От уровня ледостава выше переката 1,6 м, на перекате 0,4 м

9. Средняя глубина воды и реке в начале ледостава

Выше переката 0,55 мм, на перекате 0,18 м

10. Характеристика стесненного участка

Скальный выступ, покрытый камнем

11. Глубина зеркала грунтовых вод в начале промерзания

На пойме от поверхности грунта 0,65 м

12. Глубина промерзания выше стесненного участка и на стесненном

От уровня ледостава выше переката 1,2 м, на перекате 2,6 м

13. Уклон водотока или лога

0,010

11. Расход в начале ледостава

11/Х - 1,88 м3/с; 30/XI - 0,092 м3

15. Температура наледеобразующей воды

У источника +0,5°С

16. Минерализация у источника

CaCl2 - 2,6 %

17. Среднемесячные температуры воздуха

XI - 28°; XII - 45°; I - 48°; II - 12°

18. Дата образования и толщина снежного покрова

Первый снег - 20/IХ - 20 см; 1/I - 30 см; 30/III - 39 см

19. Характеристика ветров

Редкие, слабые

20. Утепление русла под мостом или в трубе

Не утеплялось. Под мостом снега не было

21. Начало и конец образования наледи

12 ноября - 16 марта

22. Толщина наледного льда в конце зимы

Максимальная 1,6 м, средняя 0,8м, у моста 1,0 м

23. Просвет под мостом от уровня наледи

От низа балок до льда 0,9 м

24. Площадь и объем наледи

FИ=25300 м2, VН=20240 м3

25. Размеры в плане и высота наледных бугров

Диаметр до 20 м, высота до 1,3 м

26. Наледь образуется

Ежегодно

27. Причина образования наледи

Промерзание русла на перекате

28. Вредное влияние наледи

Закупоривает отверстие. В малоснежные зимы под мостом остается просвет 0,5 м

Рис. 1. План наледи:

1 - место выхода наледной воды; 2 - наледные бугры; 3 - перекат

Рис. 2. Продольный профиль наледи по оси водотоков:

1 - мерные верхи; 2 - перекат

Рис. 3. Поперечный профиль наледи:

1, 2, 3 - ледомерные рейки

Динамика развития наледи

Изливы наледеобразующей воды

Время излива воды

Длина растекания, м

Температура воздуха, °C

Расход источника, л/с

Даты измерения

Начало

Конец

12 XI 7 ч

13 XI 16 ч

 

-5

754

12 XI

22 XI 12 ч

26 XI 15 ч

 

-10

660

23 XI

8 XII 6 ч

12 XII 18 ч

 

-10

630

9 XII

26 I 4 ч

28 I 14 ч

 

-12

520

27 I

10 III 9 ч

14 III 13 ч

 

-19

490

11 III

 

 

 

-23

480

10 XII

 

 

 

-34

396

1 I

 

 

 

-32

320

1 II

Замеры мощности наледи

№ поперечников

№ вех

Отчет на уровне ледостава (земли), см

Отсчеты и даты замеров по рейкам

1/XII

3/I

1/III

15/IV

П-1

1

15

24

55

 

 

»

9

20

90

122

 

 

»

3

14

35

69

 

 

П-2

1

 

 

 

 

 

»

2

 

 

 

 

 

»

3

 

 

 

 

 

П-4

1 2

 

 

 

 

 

Наблюдения проводил

дорожный мастер                                                        Подпись _______________ (Ф. И. О.)

ПРИЛОЖЕНИЕ 11

Теплофизические характеристики некоторых грунтов и материалов (плотность r, коэффициент теплопроводности l, удельная теплоемкость СР и коэффициент температуропроводности а)

Грунты и материалы

r, кг/м3

l, Вт/(м×°С)

СР, кДж/(кг×°С)

а103, м2

Песок сухой, талый

1500

0,326

0,798

2,73

» влажный, талый

1650

1,130

2,09

1,37

Гравий с песком мерзлый

2000

2,384

1,486

2,890

Железобетон

2400

1,547

0,837

3,023

Снег свежевыпавший

200

0,140

2,093

1,200

» слежавшийся

350

0,349

2,093

1,710

Лед

920

2,210

2,120

4,080

Вода

999,7

0,586

4,193

0,504

Дерево (сосна)

550

0,174

2,512

0,454

Опилки древесные

250

0,093

2,51,0

0,533

Торф

200

0,058

1,507

0,694

Шлак кательный

800

0,232

0,754

1,389

Пенопласт ПВ-1

125

0,046

1,340

1,000

Воздух в тонких прослойках

1,2

070

1,0070

208

СОДЕРЖАНИЕ

1. Общие положения. 1

Классификация наледей. 2

Вредные воздействия наледей на искусственные сооружения. 4

2. Изыскания и инженерно-геологические обследования переходов через водотоки с наледями. 4

Особенности изысканий. 4

Полевые летне-осенние работы при изысканиях. 5

Ледомерные съемки и определение размеров наледей. 5

3. Прогнозирование расчетных параметров наледей. 7

Методика прогнозирования. 7

Прогнозирование параметров наледей смешанного питания. 13

Прогнозирование параметров наледей подземных вод. 15

Прогнозирование параметров наледей поверхностных вод. 15

Прогнозирование параметров ключевых наледей. 16

Прогнозирование параметров наледей на потенциально наледных водотоках. 17

4. Проектирование искусственных сооружений на водотоках с наледями. 19

Принципы проектирования и типы сооружений. 19

Свободный пропуск наледей через зону искусственного сооружения. 22

Безналедный пропуск водотоков. 25

Задержание наледей выше искусственных сооружений. 29

5. Особенности строительства искусственных сооружений и противоналедных устройств. 32

6. Борьба с наледями при эксплуатации искусственных сооружений. 34

Приложение 1 Программа I CE 1 (Лед-I) расчетов осадков и глубин промерзания для построения кривых обеспеченности при прогнозировании наледей смешанного питания. 42

Приложение 2 Пример прогнозирования расчетных параметров наледи смешанного питания на реке А.. 53

Приложение 3 Пример прогнозирования расчетных параметров наледи грунтовых вод на водотоке Б. 56

Приложение 4 Программа I СЕ 2 (Лед-II) расчетов осадков, глубин промерзания и ординат аппроксимирующих кривых обеспеченности при прогнозировании наледей поверхностных вод. 59

Приложение 5 Пример прогнозирования расчетных параметров наледи поверхностных вод на реке В.. 68

Приложение 6 Программа I СЕ 3 (Лед-III) расчетов осадков, продолжительности морозного периода и ординат кривых обеспеченности при прогнозировании наледей ключевых вод. 72

Приложение 7 Пример прогнозирования расчетных параметров наледи ключевых вод на реке Д.. 79

Приложение 8 Пример расчета безналедного пропуска водотока с применением закрытого утепленного лотка. 83

Приложение 9 Пример расчета двухтрубной охлаждающей установки для создания противоналедных мерзлотных поясов у искусственных сооружений. 84

Приложение 10 Паспорт наледи. 87

Приложение 11 Теплофизические характеристики некоторых грунтов и материалов (плотность r, коэффициент теплопроводности l, удельная теплоемкость СР и коэффициент температуропроводности а) 89

 




Яндекс цитирования



   Copyright © 2007-2026,  www.tehlit.ru.

[ ѓосты, стандарты, нормативы, инструкции, правила, строительные нормы ]