//
|
|
ГОСТ 8.570-2000 МЕЖГОСУДАРСТВЕННЫЙ СТАНДАРТ Государственная система
обеспечения РЕЗЕРВУАРЫ СТАЛЬНЫЕ Методика поверки
МЕЖГОСУДАРСТВЕННЫЙ СОВЕТ ПО
СТАНДАРТИЗАЦИИ, Минск Предисловие 1 РАЗРАБОТАН Государственным научным метрологическим центром - Всероссийским научно-исследовательским институтом расходометрии (ГНМЦ - ВНИИР) Госстандарта России ВНЕСЕН Госстандартом России 2 ПРИНЯТ Межгосударственным Советом по стандартизации, метрологии и сертификации (протокол № 17 от 22 июня 2000 г.) За принятие проголосовали:
3 В стандарте полностью учтены требования международной рекомендации МОЗМ Р-71 4 Постановлением Государственного комитета Российской Федерации по стандартизации и метрологии от 23 апреля 2001 г. № 185-ст межгосударственный стандарт ГОСТ 8.570-2000 введен в действие непосредственно в качестве государственного стандарта Российской Федерации с 1 января 2002 г. 5 ВЗАМЕН МИ 1823-87 СОДЕРЖАНИЕ ГОСТ 8.570-2000 МЕЖГОСУДАРСТВЕННЫЙ СТАНДАРТ Государственная система обеспечения единства измерений РЕЗЕРВУАРЫ СТАЛЬНЫЕ ВЕРТИКАЛЬНЫЕ ЦИЛИНДРИЧЕСКИЕ Методика поверки State system for ensuring the uniformity of measurements. Дата введения 2002-01-01 1 Область примененияНастоящий стандарт распространяется на стальные вертикальные цилиндрические резервуары (далее - резервуары) номинальной вместимостью от 100 до 100000 м3, предназначенные для проведения государственных учетных и торговых операций с нефтью и нефтепродуктами и их хранения, а также взаимных расчетов между поставщиком и потребителем, и устанавливает методику первичной и периодической и внеочередной поверок. (Измененная редакция. Изм. № 1) 2 Нормативные ссылкиВ настоящем стандарте использованы ссылки на следующие стандарты: ГОСТ 12.0.004-90 Система стандартов безопасности труда. Организация обучения безопасности труда. Общие положения ГОСТ 12.1.005-88 Система стандартов безопасности труда. Общие санитарно-гигиенические требования к воздуху рабочей зоны ГОСТ 12.1.011-781) Система стандартов безопасности труда. Смеси взрывоопасные. Классификация и методы испытаний 1) На территории Российской Федерации действуют ГОСТ Р 51330.2-99, ГОСТ Р 51330.5-99, ГОСТ Р 51330.11-99, ГОСТ Р 51330.19-99. ГОСТ 12.4.099-80 Комбинезоны женские для защиты от нетоксичной пыли, механических воздействий и общих производственных загрязнений. Технические условия ГОСТ 12.4.100-80 Комбинезоны мужские для защиты от нетоксичной пыли, механических воздействий и общих производственных загрязнений. Технические условия ГОСТ 12.4.131-83 Халаты женские. Технические условия ГОСТ 12.4.132-83 Халаты мужские. Технические условия ГОСТ 166-89 (ИСО 3599-76). Штангенциркули. Технические условия ГОСТ 427-75 Линейки измерительные металлические. Технические условия ГОСТ 2405-88 Манометры, вакуумметры, мановакуумметры, напоромеры, тягомеры и тягонапоромеры. Общие технические условия ГОСТ 2517-85 Нефть и нефтепродукты. Методы отбора проб ГОСТ 2874- 822) Вода питьевая. Гигиенические требования и контроль за качеством 2) На территории Российской Федерации действует ГОСТ Р 51232-98. ГОСТ 3900-85 Нефть и нефтепродукты. Методы определения плотности ГОСТ 7502-98 Рулетки измерительные металлические. Технические условия ГОСТ 8509-93 Уголки стальные горячекатаные равнополочные. Сортамент ГОСТ 10528-90 Нивелиры. Общие технические условия ГОСТ 10529-96 Теодолиты. Общие технические условия ГОСТ 13837-79 Динамометры общего назначения. Технические условия ГОСТ 18481-81 Ареометры и цилиндры стеклянные. Общие технические условия ГОСТ 28498-90 Термометры жидкостные стеклянные. Общие технические требования. Методы испытаний ГОСТ 12.4.087-84 Система стандартов безопасности труда. Строительство. Каски строительные. Технические условия (Измененная редакция. Изм. № 1) 3 ОпределенияВ настоящем стандарте применяются следующие термины с соответствующими определениями: 3.1 поверка резервуара: Совокупность операций, выполняемых организациями национальной (государственной) метрологической службы или аккредитованными на право поверки метрологическими службами юридических лиц с целью определения вместимости и градуировки резервуара, составления и утверждения градуировочной таблицы. Градуировочная таблица - зависимость вместимости от уровня наполнения резервуара при нормированном значении температуры. Таблицу прилагают к свидетельству о поверке резервуара и применяют для определения объема жидкости в нем. 3.2 резервуар вертикальный стальной: Стальной сосуд в виде стоящего цилиндра с днищем, стационарный с кровлей или плавающей крышей, применяемый для хранения и измерений объема жидкостей. 3.3 плавающее покрытие: Плавающая крыша (или понтон), находящаяся внутри резервуара на поверхности жидкости, предназначенная для сокращения потерь ее от испарения и исключения возможности возникновения взрыва и пожара. 3.4 градуировка резервуара: Операция по установлению зависимости вместимости резервуара от уровня его наполнения, выполняемая организациями национальной (государственной) метрологической службы или аккредитованными на право поверки метрологическими службами юридических лиц при выпуске из производства, после ремонта и при эксплуатации. 3.5 вместимость резервуара: Внутренний объем резервуара, который может быть наполнен жидкостью до определенного уровня. 3.6 номинальная вместимость резервуара: Вместимость резервуара, соответствующая максимальному уровню наполнения его, установленная нормативным документом на вертикальный резервуар конкретного типа. 3.7 действительная (фактическая) вместимость резервуара: Вместимость резервуара, установленная при его поверке. 3.8 дозовая вместимость резервуара: Объем жидкости в резервуаре, соответствующий уровню налитых в него доз жидкости. 3.9 посантиметровая вместимость резервуара: Объем жидкости в резервуаре, соответствующий уровню налитых в него доз жидкости, приходящихся на 1 см высоты наполнения. 3.10 коэффициент вместимости: Вместимость приходящаяся на 1 мм высоты наполнения. 3.11 точка касания днища грузом рулетки: Точка на днище резервуара или на опорной плите (при наличии), которой касается груз измерительной рулетки при измерении базовой высоты резервуара и от которой проводят измерение уровня нефти и нефтепродуктов и воды при эксплуатации резервуара. Она является исходной точкой при составлении градуировочной таблицы резервуара. 3.12 базовая высота резервуара: Расстояние по вертикали от точки касания днища грузом рулетки до верхнего края измерительного люка или до риски направляющей планки измерительного люка 3.13 уровень жидкости (высота наполнения): Расстояние по вертикали между свободной поверхностью жидкости, находящейся в резервуаре, и плоскостью, принятой за начало отсчета. 3.14 исходный уровень: Уровень жидкости в резервуаре, соответствующий высоте «мертвой» полости. (Измененная редакция. Изм. № 1) 3.15 «мертвая» полость резервуара: Нижняя часть резервуара, из которой нельзя выбрать жидкость, используя приемно-раздаточный патрубок (приемно-раздаточное устройство). (Измененная редакция. Изм. № 1) 3.16 «мертвый» остаток: Объем жидкости, находящейся в «мертвой» полости резервуара. 3.17 поверочная жидкость: Жидкость, применяемая при поверке резервуара объемным методом. В качестве поверочной жидкости применяют: воду по ГОСТ 2874, нефть и светлые нефтепродукты (далее - нефтепродукты). Параметры поверочной жидкости должны соответствовать требованиям 5.3.2.4, 5.3.2.5. 3.18 жидкость при хранении: Жидкость, для хранения которой предназначен поверяемый резервуар. 3.19 степень наклона резервуара: Величина h, выражаемая через тангенс угла наклона, рассчитываемая по формуле h = tg b, где b - угол наклона резервуара в градусах. 3.20 геометрический метод поверки резервуара: Метод поверки резервуара, заключающийся в определении вместимости резервуара по результатам измерений его геометрических параметров. 3.21 объемный динамический метод поверки резервуара: Метод поверки, заключающийся в определении вместимости резервуара путем непрерывного наполнения его поверочной жидкостью и одновременных измерениях уровня, объема и температуры поверочной жидкости для каждого изменения уровня на 1 см (10 мм). 3.22 объемный статический метод поверки резервуара: Метод поверки, заключающийся в определении вместимости резервуара путем наполнения его отдельными дозами поверочной жидкости и одновременных измерениях уровня, объема и температуры поверочной жидкости для каждого изменения уровня в пределах от 10 до 100 мм. (Измененная редакция. Изм. № 1) 3.23 государственные учетная и торговая операции, взаимные расчеты между поставщиком и потребителем: Операции, проводимые между поставщиком и потребителем, заключающиеся в определении объема или массы нефти и нефтепродуктов для последующих учетных операций, а также при арбитраже. 3.24 учет нефти и нефтепродуктов при хранении: Операция, проводимая на предприятии, во время технологического процесса, заключающаяся в определении объема и массы нефти и нефтепродуктов для последующих учетных операций. 3.25 высота газового пространства в плавающей крыше (hпг): Расстояние по вертикали от риски или верхнего среза измерительного люка, находящегося на плавающей крыше резервуара, до поверхности раздела газового пространства и жидкости. (Введен дополнительно. Изм. № 1) 3.26 полная вместимость резервуара: Вместимость резервуара, соответствующая предельному уровню наполнения, определенная по результатам его поверки. (Введен дополнительно. Изм. № 1) 3.27 предельный уровень: Предельный уровень определения посантиметровой вместимости резервуара при его поверке, соответствующий высоте цилиндрической части резервуара. (Введен дополнительно. Изм. № 1) 3.28 максимальный уровень: Максимально допустимый уровень наполнения резервуара жидкостью при его эксплуатации, установленный технической документацией на резервуар. (Введен дополнительно. Изм. № 1) 4 Методы поверки(Измененная редакция. Изм. № 1) 4.1 Поверку резервуара проводят геометрическим или объемным (динамическим или статическим) методом. Допускаются: - комбинация геометрического и объемного методов поверки, например, определение вместимости «мертвой» полости или вместимости резервуара в пределах высоты неровностей днища объемным методом при применении геометрического метода поверки; - комбинация динамического объемного и статического объемного методов поверки. (Измененная редакция. Изм. № 1) 4.2 При геометрическом методе поверки резервуара вместимость первого пояса определяют по результатам измерений длины наружной окружности, толщины стенки и высоты первого пояса. Вместимости вышестоящих поясов определяют по результатам измерений радиальных отклонений образующих от вертикали, толщин стенок и их высот. 4.3 При объемном методе поверки резервуара вместимость определяют путем непосредственных измерений уровня поверочной жидкости, поступившей в резервуар, с одновременными измерениями ее температуры и объема, соответствующих измеренному уровню. 5 Технические требования5.1 Требования к погрешности измерений параметров резервуаров5.1.1 Пределы допускаемой погрешности измерений параметров резервуара приведены в таблице 1 - при геометрическом методе поверки; таблице 2 - при объемном методе поверки. Таблица 1
(Измененная редакция. Изм. № 1) Таблица 2
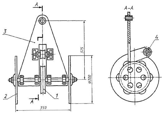
5.1.2 При соблюдении указанных в таблицах 1 и 2 пределов допускаемой погрешности измерений погрешность определения вместимости резервуара должна находиться в пределах: при геометрическом методе: ± 0,2 % - для резервуаров номинальной вместимостью от 100 до 3000 м3; ± 0,15 % - » » » » 4000 м3; ± 0,1 % - » » » » от 5000 до 50000 м3; при объемном методе - ± 0,2 %. 5.1.3 Значение погрешности измерения вместимости резервуара приводят на титульном листе градуировочной таблицы. 5.2 Требования по применению рабочих эталонов и вспомогательных средств поверки(Измененная редакция. Изм. № 1) 5.2.1 При поверке резервуаров геометрическим методом применяют следующие средства поверки: 5.2.1.1 Рулетки измерительные 2-го класса точности с верхними пределами измерений 10, 20, 30 и 50 м по ГОСТ 7502. (Измененная редакция. Изм. № 1) 5.2.1.2 Рулетки измерительные с грузом 2-го класса точности с верхними пределами измерений 10, 20 и 30 м по ГОСТ 7502. (Измененная редакция. Изм. № 1) 5.2.1.3 Линейка измерительная металлическая с диапазоном измерений 0-500 мм по ГОСТ 427. 5.2.1.4 Толщиномер ультразвуковой с диапазоном измерений 0,6-30 мм и пределами допускаемой погрешности ± 0,1 мм по [1]. 5.2.1.5 Динамометр с диапазоном измерений 0-100 Н по ГОСТ 13837. 5.2.1.6 Термометр с ценой деления 1 °С по ГОСТ 28498. 5.2.1.7 Ареометр с ценой деления 0,5 кг/м3 по ГОСТ 18481. 5.2.1.8 Нивелир с рейкой по ГОСТ 10528. 5.2.1.9 Теодолит оптический с ценой деления микроскопа 2" (угловые секунды) по ГОСТ 10529. 5.2.1.10 Штангенциркуль с диапазонами измерений: от 0 до 125 мм; от 0 до 150 мм; от 150 до 500 мм; от 500 до 1600 мм (черт. 3) по ГОСТ 166. (Измененная редакция. Изм. № 1) 5.2.1.11 Скоба (рисунок А.1). 5.2.1.12 Магнитный держатель (рисунок А.2). 5.2.1.13 Отвес с грузом каретки (рисунок А.2). 5.2.1.14 Каретка измерительная (рисунок А.3 или рисунок А.4). 5.2.1.15 Приспособление для подвески каретки (рисунок А.2 или рисунок А.5, или рисунок А.6). 5.2.1.16 Упорный угольник 90°. 5.2.1.17 Анемометр чашечный типа МС-13 с диапазоном измерений от 1 до 20 м/с. 5.2.1.18 Вспомогательное оборудование: чертилка, мел, шпатель, щетки (металлические), микрокалькулятор. 5.2.1.19 Анализатор течеискатель АНТ-3. (Введен дополнительно. Изм. № 1) 5.2.2 При поверке резервуара объемным методом с применением эталонных уровнемера и счетчика жидкости (рисунок А.7) применяют следующие средства поверки: 5.2.2.1 Эталонный уровнемер (далее - уровнемер) с диапазоном измерений 0-12, 0-20 м и пределами допускаемой погрешности ± 1 мм по [2]. 5.2.2.2 Эталонный счетчик жидкости (далее - счетчик жидкости) с пределами допускаемой погрешности ± 0,05; ± 0,10; ± 0,15 %, номинальным расходом, обеспечивающим поверку резервуара в течение 6 - 48 ч по [3]. 5.2.2.3 Термометр с ценой деления 0,1 °С по ГОСТ 28498. 5.2.2.4 Манометр класса точности 0,4 по ГОСТ 2405. 5.2.2.5 Рулетки измерительные с грузом 2-го класса точности с пределами измерений 10, 20 и 30 м по ГОСТ 7502. (Измененная редакция. Изм. № 1) 5.2.2.6 Ареометр с ценой деления 0,5 кг/м3 по ГОСТ 18481. 5.2.2.7 Секундомер с пределами допускаемой погрешности ± 1 мс (± 0,001 с) по [4]. 5.2.2.8 Вспомогательное оборудование: - насос, снабженный линиями всасывания и нагнетания, кранами (вентилями), регулятором расхода (дросселем), фильтром; - расширитель струи (рисунок А.8); воронкогаситель (рисунок А.9). Примечание - Расширитель струи и воронкогаситель устанавливают только на резервуарах, предназначенных для размещения нефтепродуктов. 5.2.2.9 Анализатор течеискатель АНТ-3. (Введен дополнительно. Изм. № 1) 5.2.3 При применении эталонной установки ее метрологические характеристики должны соответствовать требованиям таблицы 2. 5.2.4 Применяемые рабочие эталоны и средства поверки должны быть поверены в установленном порядке. (Измененная редакция. Изм. № 1) 5.2.5 Допускается применение других вновь разработанных или находящихся в эксплуатации средств поверки [в том числе эталонных (образцовых) установок], удовлетворяющих по точности и пределам измерений требованиям настоящего стандарта по взрывозащищенности - ГОСТ 12.1.011. (Измененная редакция. Изм. № 1) 5.3 Требования к условиям поверкиПри поверке соблюдают следующие условия: 5.3.1 При геометрическом методе 5.3.1.1 Температура окружающего воздуха (20 ± 15) °С. 5.3.1.2 Скорость ветра - не более 10 м/с. 5.3.1.3 Состояние погоды - без осадков. 5.3.1.4 Резервуар при первичной поверке должен быть порожним. При периодической и внеочередной поверках в резервуаре может находиться жидкость до произвольного уровня, а в резервуаре с плавающим покрытием - до минимально допустимого уровня, установленного в технологической карте резервуара. Плавающая крыша должна быть освобождена от посторонних предметов (от воды и других предметов, не относящихся к плавающей крыше). (Измененная редакция. Изм. № 1) 5.3.1.5 При наличии жидкости в резервуаре для нефтепродукта при его поверке (периодической или внеочередной) допускается использовать результаты измерений вместимости «мертвой» полости, полученные ранее, и вносить их в таблицу Б.9 приложения Б, если изменение базовой высоты резервуара по сравнению с результатами ее измерений в предыдущей поверке составляет не более 0,1 %, а изменения степени наклона и утла направления наклона резервуара составляют не более 1 %. В этом случае вместимость резервуара должна быть определена, начиная с исходного уровня или с уровня, соответствующего всплытию плавающего покрытия, до уровня, соответствующего полной вместимости резервуара. Примечание - Вместимость «мертвой» полости резервуара для нефти и нефтепродуктов, образующих парафинистые отложения, при проведении периодической и внеочередной поверок допускается принимать равной ее вместимости, полученной при первичной поверке резервуара или полученной при периодической поверке резервуара после его зачистки. (Измененная редакция. Изм. № 1) 5.3.2 При объемном методе поверки 5.3.2.1 Температура окружающего воздуха и поверочной жидкости - от плюс 5 до плюс 35 °С. Примечание - При применении установки температура окружающего воздуха допускается от минус 15 до плюс 35 °С; нижний предел температуры поверочной жидкости допускается до минус 5 °С - при применении бензина, до плюс 2 °С - при применении дизельного топлива и воды; верхний предел температуры бензина не должен превышать плюс 25 °С. (Измененная редакция. Изм. № 1) 5.3.2.2 Изменение температуры поверочной жидкости в резервуаре и счетчике жидкости или установке за время поверки не должно превышать: 2 °С - при применении в качестве поверочной жидкости воды; 0,5 °С - при применении в качестве поверочной жидкости нефти и нефтепродуктов. 5.3.2.3 При невыполнении требований по 5.3.2.2 вводят температурные поправки на объем, измеренный через каждое изменение температуры поверочной жидкости на 2 или 0,5 °С. 5.3.2.6 Исключают возможность попадания воздуха в измерительную систему, собранную для поверки резервуара (рисунок А.7). 5.3.2.7 Процесс определения вместимости резервуара при его поверке должен идти непрерывно (без перерывов, приводящих к изменению объема и уровня поверочной жидкости в резервуаре), начиная с уровня, равного нулю, до уровня, соответствующего полной вместимости резервуара или уровня определенной дозы. 5.3.2.8 Скорость наполнения резервуара в процессе поверки не должна превышать 0,3 мм/с. 5.3.2.9 Отбор жидкости при поверке резервуара может быть осуществлен из: а) приемного резервуара; б) технологического трубопровода (при применении в качестве поверочной жидкости нефти и нефтепродуктов); в) водопровода (при применении воды). В случаях перечислений б) и в) подача поверочной жидкости в поверяемый резервуар может быть осуществлена без насоса (рисунок А.7). 5.3.3 Исключен. Изм. № 1. 5.3.4 Резервуар освобождают и очищают от остатков нефти и нефтепродукта. 6 Требования к организации проведения поверки6.1 Резервуары подлежат поверке организациями национальной (государственной) метрологической службы1) или аккредитованными на право поверки метрологическими службами юридических лиц. __________________ 1) На территории Российской Федерации орган государственной метрологической службы проходит аккредитацию на право проведения поверки резервуаров. (Измененная редакция. Изм. № 1) 6.2 Поверки резервуара проводят: - первичную - после завершения строительства резервуара или капитального ремонта и его гидравлических испытаний - перед вводом его в эксплуатацию; - периодическую - по истечении срока межповерочного интервала; - внеочередную - в случаях изменения базовой высоты резервуара более чем на 0,1 % по 9.1.10.3; при внесении в резервуар конструктивных изменений, влияющих на его вместимость, и после очередного полного технического диагностирования. (Измененная редакция. Изм. № 1) 7 Требования к квалификации поверителей и требования безопасности7.1 Поверку резервуара проводит физическое лицо, прошедшее курсы повышения квалификации и аттестованное в качестве поверителя и промышленной безопасности в установленном порядке 2). (Измененная редакция. Изм. № 1) Примечание - В Российской Федерации физическое лицо проходит курсы повышения квалификации в ГНМЦ - ВНИИР, другом ГНМЦ или Академии стандартизации, метрологии и сертификации по программе ГНМЦ - ВНИИР. 7.1.1 Измерения величин при поверке резервуара проводит группа лиц, включающая поверителя организации, указанной в 6.1, и не менее двух специалистов, прошедших курсы повышения квалификации, и других лиц (при необходимости), аттестованных по промышленной безопасности в установленном порядке 2). __________________ 2) На территории Российской Федерации действует Постановление Росгортехнадзора № 21 от 30.04.2002. (Измененная редакция. Изм. № 1) 7.2 К поверке резервуара допускаются лица, изучившие техническую документацию на резервуар и его конструкцию, средства поверки резервуара и прошедшие обучение по 7.1 и инструктаж по безопасности труда в соответствии с ГОСТ 12.0.004. 7.3 Лица, выполняющие измерения при поверке резервуара, должны быть одеты в спецодежду. 7.3.3 Лица, выполняющие измерения, должны быть в строительной каске по ГОСТ 12.4.087. (Введен дополнительно. Изм. № 1) 7.3.1 При геометрическом методе поверки: - женщины - в комбинезон по ГОСТ 12.4.099; - мужчины - в комбинезон по ГОСТ 12.4.100. 7.3.2 При объемном методе поверки: - женщины - в халат по ГОСТ 12.4.131; - мужчины - в халат по ГОСТ 12.4.132. 7.4 Перед началом поверки резервуара проверяют: - исправность лестниц и перил резервуара; - наличие заземления резервуара, насоса и установки при объемном методе поверки. 7.5 На резервуарах, не имеющих ограждений в виде перил по всей окружности крыши, работы проводят с предохранительным поясом, прикрепленным к надежно установленным элементам металлических конструкций крыши резервуара. 7.6 Базовую высоту резервуара и уровень поверочной жидкости в нем измеряют через измерительный люк. Избыточное давление в газовом пространстве резервуара должно быть равно нулю. После измерения крышку измерительного люка плотно закрывают. (Измененная редакция. Изм. № 1) 7.7 Каретку перемещают по стенке резервуара плавно, без ударов о стенку. 7.8 Поверитель, проводящий отсчеты по линейке, не должен стоять под кареткой во время движения ее по стенке и должен быть в строительной каске по ГОСТ 12.4.087. (Измененная редакция. Изм. № 1) 7.9 Средства поверки по 5.2.1.4, 5.2.1.17, 5.2.1.19 при поверке резервуара геометрическим методом, средства поверки по 5.2.2.1, 5.2.2.2, 5.2.2.8, 5.2.2.9, 5.2.5 при поверке объемным методом должны быть во взрывозащищенном исполнении для групп взрывоопасных смесей категории II В-ТЗ по ГОСТ 12.1.011 и предназначены для эксплуатации на открытом воздухе. (Измененная редакция. Изм. № 1) 7.10 Содержание вредных паров и газов в воздухе вблизи и внутри1) резервуара в рабочей зоне (на высоте 2000 мм) не должно превышать санитарных норм, установленных ГОСТ 12.1.005. (Измененная редакция. Изм. № 1) _______________ 1) Если проводят измерения внутренних параметров резервуара. 7.11 Для освещения в темное время суток применяют светильники во взрывозащищенном исполнении. 8 Подготовка к проведению поверки8.1 При подготовке резервуара к поверке проводят следующие работы: 8.1.1 Проверяют на месте соответствие конструкции и внутренних деталей резервуара технической документации на него. 8.1.2 Проверяют состояние наружной поверхности стенки резервуара (на отсутствие деформаций стенки, загрязнений, брызг металлов, наплывов, заусенцев; на наличие необходимых арматуры и оборудования; исправность лестниц и перил) для возможности проведения наружных измерений. 8.1.3 Проверяют состояние отмостки резервуара (отсутствие трещин и целостность). 8.2 Перед поверкой резервуара объемным методом, кроме того, проводят следующие работы: 8.2.1 Проводят сборку измерительной системы по схеме, показанной на рисунке А.7. 8.2.2 Устанавливают на поверяемом резервуаре уровнемер и измеритель температуры. 8.2.3 Поверочную жидкость при поверке резервуара (см. рисунок А.7) подают в счетчик жидкости 6 следующими способами: а) из приемного резервуара 13 с помощью насоса 11; б) из технологического трубопровода 17 (при применении в качестве поверочной жидкости нефти и нефтепродуктов) или водопровода 17 (при применении воды). 8.2.4 Наполняют измерительную систему поверочной жидкостью, удаляют из нее воздух и испытывают ее на герметичность под рабочим давлением. При этом вентиль 20 закрывают и трехходовый кран 5 переводят в положение «Измерение». Измерительную систему считают герметичной, если по истечении 15 мин после наполнения ее поверочной жидкостью и создания рабочего давления при визуальном осмотре не обнаруживают в местах соединений, уплотнений и на поверхности труб и арматуры наличия течи (каплепадений) и влаги. 8.2.5 Измеряют расход поверочной жидкости в последовательности (см. рисунок А.7): - переводят трехходовой кран 5 в положение «Циркуляция»; - открывают вентиль 15; - включают насос 11 или открывают вентиль 16 и одновременно фиксируют показания счетчика жидкости 6 и секундомера; - после того, как стрелка указателя счетчика жидкости 6 делает не менее одного оборота (ролик счетного механизма поворачивается на один оборот) или число импульсов, зарегистрированное счетчиком импульсов, составит не менее 1000 импульсов, выключают секундомер и одновременно фиксируют показание счетчика жидкости; - выключают насос 11 или закрывают вентиль 16. 8.2.6 Расход поверочной жидкости Q, дм3/с, вычисляют по формулам: - для счетчиков жидкости с непосредственным отсчетом объема жидкости в дм3: - для счетчиков жидкости с импульсным выходным сигналом в импульсах: где qi, Ni - показания счетчиков жидкости, соответствующие концу отсчета времени, дм3, имп., соответственно; qi-1, Ni-1 - показания счетчиков жидкости, соответствующие началу отсчета времени, дм3, имп., соответственно; t - время, определяемое по секундомеру, с; К - коэффициент преобразования счетчика, имп./дм3; определяют по шкале счетного механизма конкретного счетчика. 8.2.7 Расход поверочной жидкости, рассчитанный по формулам (1) или (2), должен находиться в пределах поверенного диапазона измерений счетчика жидкости по 5.3.2.5. Если это условие не выполняется, то с помощью дросселя 10 (рисунок А.7) изменяют расход поверочной жидкости, проходящей через счетчик жидкости 6. 8.2.8 Исключен. Изм. № 1. 9 Проведение поверки резервуара9.1 Проведение поверки резервуара геометрическим методом9.1.1 Измерения длины окружности первого пояса 9.1.1.1 Длину окружности Lн измеряют на отметке высоты: - равной 3/4 высоты первого пояса, если высота пояса находится в пределах от 1500 до 2250 мм; - равной 8/15 высоты первого пояса, если высота пояса составляет 3000 мм. При наличии деталей, мешающих измерениям, допускается уменьшать высоту на величину до 300 мм от отметки 3/4 или 8/15 высоты первого пояса. (Измененная редакция. Изм. № 1) 9.1.1.2 Перед измерением длины окружности на высоте, указанной в 9.1.1.1, через каждые 5 м наносят горизонтальные отметки на стенке резервуара. 9.1.1.3 По нанесенным отметкам рулетку прикладывают к стенке резервуара. 9.1.1.4 Начальную точку измерений длины окружности выбирают на стенке резервуара и отмечают двумя взаимно перпендикулярными штрихами при помощи чертилки, толщина лезвия которой не более 0,5 мм. 9.1.1.5 Начало ленты рулетки укладывают нижней кромкой по горизонтальному штриху и начальную отметку шкалы рулетки совмещают с вертикальным штрихом начальной точки измерений на стенке резервуара. 9.1.1.6 При измерениях лента рулетки должна быть натянута, плотно прилегать к стенке резервуара, не перекручиваться и лежать нижней кромкой на горизонтальных штрихах. 9.1.1.7 Натяжение рулетки осуществляют при помощи динамометра усилием (100 ± 10) Н - для рулеток длиной 10 м и более; (10 ± 1) Н - для рулеток длиной 1-5 м. Для рулеток с желобчатой лентой - без натяжения. (Измененная редакция. Изм. № 1) 9.1.1.8 После создания необходимого натяжения против конечной отметки шкалы рулетки на стене резервуара отмечают вертикальный штрих, а по нижней кромке ленты - горизонтальный. 9.1.1.9 Последующие укладки рулетки проводят в том же порядке. 9.1.1.10 При измерениях следят, чтобы начало шкалы рулетки совпало с конечным штрихом предыдущей укладки. 9.1.1.11 Длину окружности Lн измеряют не менее двух раз. 9.1.1.12 Начальную точку второго измерения смещают по горизонтали от начала первого не менее чем на 500 мм. 9.1.1.13 Относительное расхождение между результатами двух измерений длины окружности dLн, %, рассчитываемое по формуле
должно находиться в пределах ± 0,01 %. (Измененная редакция. Изм. № 1) 9.1.1.14 При расхождении, превышающем указанное в 9.1.1.13, измерения следует повторять до получения двух последовательных измерений, удовлетворяющих условию 9.1.1.13. 9.1.1.15 Результаты двух измерений величины Lн, удовлетворяющих условию 9.1.1.13, в миллиметрах вносят в протокол, форма которого приведена в приложении Б. 9.1.1.16 При измерениях длины окружности резервуара учитывают поправки на ее увеличение при наложении рулетки на вертикальные сварные соединения, накладки и другие выступающие детали во всех случаях, если между лентой рулетки и стенкой резервуара имеется зазор. 9.1.1.17 Поправку на длину окружности первого пояса резервуара при наложении рулетки на вертикальные сварные соединения, накладки и другие выступающие детали (далее - поправку на обход) определяют при помощи металлических скоб длиной 600 - 1000 мм (рисунок А.1). Выступающую часть на высоте измерений длины окружности первого пояса перекрывают скобой и на стенке резервуара у обоих концов скобы наносят штрихи. Затем, плотно прижимая ленту рулетки к стенке резервуара, измеряют длину дуги, находящуюся между этими штрихами. Скобу переносят на свободное от выступающих деталей место на том же уровне первого пояса, отмечают штрихами и измеряют расстояние между ними рулеткой, плотно прижимая ленту рулетки к стенке резервуара. Разность между результатами первого и второго измерений длины дуги - значение поправки на обход, которое учитывают при вычислении длины окружности первого пояса. Значение поправок (суммарных при наличии двух и более) на обход в миллиметрах вносят в протокол, форма которого приведена в приложении Б. (Измененная редакция. Изм. № 1) 9.1.2 Измерения радиальных отклонений образующих резервуара от вертикали 9.1.2.1 Радиальные отклонения образующих резервуара (далее - радиальные отклонения) измеряют с применением измерительной каретки с отвесом (рисунок А.2) или измерительной каретки с теодолитом (рисунок А.4). Примечание - При скорости ветра более 5 м/с для выполнения измерений радиальных отклонений применяют измерительную каретку с теодолитом. 9.1.2.2 Окружность первого пояса резервуара, измеренную по 9.1.1, разбивают на равные части (откладывают дугу постоянной длины и наносят вертикальные отметки на стенке первого пояса), начиная с образующей резервуара, находящейся в плоскости А (рисунок А.10а), проходящей через точку измерений уровня жидкости и базовой высоты резервуара на направляющей планке измерительного люка и продольную ось резервуара, с соблюдением следующих условий: - число разбивок должно быть четным; - число разбивок в зависимости от вместимости резервуара выбирают по таблице 3. Таблица 3
Окончание таблицы 3
Все отметки разбивок пронумеровывают по часовой стрелке в соответствии с рисунком А.10. (Измененная редакция. Изм. № 1) 9.1.2.3 При определении радиальных отклонений поясов резервуара с применением измерительной каретки с отвесом измеряют расстояние а от стенки резервуара до нити отвеса 6, проходящей через отметки разбивки (рисунок А.2). Для установки измерительной каретки (далее - каретки) на резервуаре у края резервуара на штанге 1 с некоторым возвышением над кровлей крепят блок 2, через который перекидывают тяговый канат 5 для подъема каретки 3. Нить отвеса 6 закрепляют на штанге. Отвес и блок для подъема каретки вместе со штангой должны свободно перемещаться по кровле резервуара. Для перехода от одной отметки разбивки к другой каретку опускают, а штангу со всей оснасткой передвигают по кровле резервуара. Расстояние от стенки резервуара до нити а отвеса отсчитывают по линейке 8. Линейку устанавливают в середине высоты первого пояса при помощи магнитного держателя 7 перпендикулярно к стенке резервуара, поочередно для каждой отметки разбивки. Отсчеты по линейке снимают при передвижении каретки вверх вдоль образующей резервуара, проходящей через отметки разбивки. Измерения вдоль каждой образующей резервуара начинают с отметки разбивки под номером один первого пояса. На каждом следующем поясе измерения проводят в трех сечениях: среднем, находящемся в середине пояса, в нижнем и верхнем, расположенных на расстоянии 50 - 100 мм от горизонтального сварного шва. На верхнем поясе - в двух сечениях: нижнем и среднем. Отсчеты по линейке снимают с погрешностью в пределах ± 1 мм в момент, когда каретка установлена в намеченной точке при неподвижном отвесе. Результаты измерений расстояния а в миллиметрах вносят в протокол, форма которого приведена в приложении Б. Примечание - При определении радиальных отклонений образующих резервуаров с трубой орошения применяют для подвески каретки приспособление, показанное на рисунке А.5, а для резервуаров с плавающей крышей - приспособление, показанное на рисунке А.6. 9.1.2.4 При определении радиальных отклонений с применением каретки с теодолитом (рисунок А.4) измеряют расстояние а от стенки резервуара до визирной линии 6 теодолита 8, направленной перпендикулярно к линейке 2, укрепленной на оси каретки 1. При этом теодолит 8 устанавливают над геодезической точкой на расстоянии от стенки резервуара, обеспечивающем удобное наведение зрительной трубы, но не менее 10 м от измеряемой образующей резервуара. Для исключения смещения каретки при ее движении по стенке резервуара струну 4 с грузом 7 закрепляют магнитным держателем 5. Измерения начинают с установки каретки на 3/4 высоты первого пояса, далее перемещают каретку вверх в порядке, указанном в 9.1.2.3. Теодолит устанавливают над геодезической точкой, настраивают и приводят в рабочее положение в соответствии с инструкцией завода-изготовителя и наводят вертикальную нить сетки зрительной трубы на штрих шкалы, кратный 1 см, примерно в середине линейки. Конец шкалы линейки должен находиться у оси каретки. Отсчеты снимают по шкале линейки при последовательной установке каретки в точках измерений и зафиксированном положении горизонтального круга теодолита. Результаты измерений расстояния а в миллиметрах вносят в протокол, форма которого приведена в приложении Б. 9.1.2.5 При наличии ребер жесткости, расположенных по внешней поверхности резервуара, расстояние а от стенки резервуара до нити отвеса измеряют в соответствии с 9.1.2.3 или 9.1.2.4 в двух сечениях поясов резервуара в зависимости от места расположения ребер жесткости: - если ребро жесткости находится в середине (или ближе к середине) пояса, то измерения величины а проводят в сечениях, находящихся выше и ниже ребра жесткости на расстоянии 1/4 - 1/5 высоты пояса; - если ребро жесткости находится ближе к верхнему или нижнему сварным швам, то измерения величины а проводят в среднем сечении пояса и в сечении, находящемся выше или ниже сварного шва на расстоянии 50 - 100 мм. (Измененная редакция. Изм. № 1) 9.1.2.6 При невозможности измерений величины а по 9.1.2 поверку резервуара проводят объемным методом. 9.1.3 Определение степени наклона и угла направления наклона резервуара (Измененная редакция. Изм. № 1) 9.1.3.1 Степень наклона η и угол направления наклона φ резервуара определяют по результатам измерений угла и направления наклона контура днища резервуара снаружи (или изнутри) с применением нивелира с рейкой. (Введен дополнительно. Изм. № 1) 9.1.3.2 Степень наклона и угол направления наклона резервуара определяют в два этапа: - на первом этапе устанавливают номера двух противоположных отметок разбивки (образующих резервуара), через которые проходит приближенное направление наклона резервуара; - на втором этапе определяют степень наклона и угол уточненного направления наклона резервуара. (Введен дополнительно. Изм. № 1) 9.1.3.3 Приближенное направление наклона резервуара определяют в следующей последовательности: а) проводят разбивку длины окружности первого пояса по 9.1.2.2; б) освобождают утор окраек днища (далее - утор днища) резервуара от грунта; в) устанавливают нивелир напротив первой отметки разбивки на расстоянии 5-10 м от резервуара и приводят его в горизонтальное положение; г) устанавливают рейку вертикально в точке на уторе днища, находящейся напротив первой отметки разбивки, отсчитывают показание шкалы рейки l1 с погрешностью до 1 мм; д) последовательно устанавливая рейку по часовой стрелке в точках на уторе днища, находящихся напротив отметок разбивки 2, 3, ..., v, отсчитывают показания шкалы рейки l2, l3, ..., lv с погрешностью до 1 мм; е) для снятия показаний рейки в оставшихся точках отметок разбивки нивелир устанавливают на расстоянии 5-10 м от резервуара напротив отметки разбивки (v + 1) и, устанавливая рейку вторично в точке отметки разбивки v, вторично снимают показание рейки l'v. При этом показание рейки в точке, находящейся напротив отметки разбивки v (крайней) до перенесения нивелира на другое место lv, должно совпадать с показанием рейки в этой же точке разбивки v после перенесения нивелира на другое место, то есть l'v с погрешностью до 1 мм. Выполнение этого условия обеспечивается регулированием высоты нивелира после перенесения его на другое место. В случае невозможности выполнения вышеуказанного условия регулированием высоты нивелира на показание рейки в точках, находящихся напротив отметок разбивки (v + 1), (v + 2), ..., s, вводят поправку, например на показание рейки в точке, находящейся напротив отметки разбивки (v + 1), l'v+l по формуле lv+l = l'v+l +Δl, (3а) где l'v+l - показание рейки после перенесения нивелира на другое место, мм; Δl - поправка, мм. Ее значение определяют по формуле Δl = lv - l'v, (3б) где lv - показание рейки, находящейся напротив отметки v до перенесения нивелира на другое место, мм; l'v - показание рейки, находящейся напротив отметки v после перенесения нивелира на другое место, мм; ж) выполняя аналогичные операции по перечислению е), отсчитывают показания рейки до отметки разбивки т (т - число отметок разбивки длины окружности первого пояса резервуара). Показания шкалы рейки lk вносят в протокол, форма которого приведена в приложении Б (таблица Б.14). Определяют значение разности показаний шкалы рейки в точках утора днища, находящихся напротив двух противоположных отметок разбивки Δlk, мм (см. таблицу Б.14): - при числе отметок k от 1 до - при числе отметок от где lk - показание шкалы рейки в точке, находящейся напротив k-й отметки, мм; l(m/2+k), l(k-m/2) - показания шкалы рейки в точках, находящейся напротив отметок разбивки (m/2+k) и (k-m/2), мм; k - номер отметки разбивки. Его значения выбирают из ряда: 1, 2, 3, 4, ..., т; т - число отметок разбивки длины окружности первого пояса резервуара. Строят график (рисунок А.10) функции Δlk, рассчитываемой по формулам (3в) и (3г). Если кривая, соединяющая точки графика Δlk относительно абсциссы, имеет вид синусоиды с периодом, равным отрезку 1 - т (кривая С на рисуноке А.10), то резервуар стоит наклонно, если нет (кривая В) - резервуар стоит не наклонно. По максимальному значению разности (Δlk)max, определенному по формуле (3в) или (3г), устанавливают приближенное направление наклона резервуара (рисунок А.10б). Приближенное значение угла направления наклона резервуара φп определяют по формуле
где N - число разбивок, отсчитываемое от первой отметки разбивки до приближенного направления наклона резервуара, равное k - 1. (Введен дополнительно. Изм. № 1) 9.1.3.4 Степень наклона и уточненный угол направления наклона резервуара определяют в следующей последовательности: а) проводят дополнительное разбивание длины дуги противоположных разбивок (рисунок А.10б), например находящихся справа от отметок разбивки 6 и 18 (разбивки N5 и N17) и слева от отметок разбивки 6 и 18 (разбивки N6 и N18) от приближенного направления наклона контура днища, определенного по 9.1.3.3; б) длину дуги дополнительного разбивания ΔL, мм, соответствующую 1°, вычисляют по формуле
где Lн - длина наружной окружности первого пояса резервуара, мм; в) дугу длиной, вычисленной по формуле (3е), откладывают справа и слева (наносят вертикальные отметки на стенке первого пояса), начиная с образующих (отметок разбивки), по которым проходит приближенное направление наклона резервуара. Отметки отложенных дополнительных дуг (разбивок) нумеруют арабскими цифрами справа и слева от приближенного направления наклона резервуара; г) выполняя операции, указанные в перечислениях в) и г) 9.1.3.3, отсчитывают показания шкалы рейки в точках дополнительного разбивания дуг основных разбивок, находящихся слева lл и справа lп от приближенного направления наклона резервуара, с погрешностью до 1 мм. Результаты показаний шкалы lл, lп вносят в протокол, форма которого приведена в приложении Б. (Введен дополнительно. Изм. № 1) 9.1.4 Измерения плотности жидкости 9.1.4.1 Плотность жидкости, находящейся в резервуаре при его поверке, rж.г. измеряют по ГОСТ 3900 в объединенной пробе жидкости, составленной из точечных проб, отобранных из резервуара в соответствии с ГОСТ 2517. 9.1.4.2 Результат измерения величины rж.г. вносят в протокол, форма которого приведена в приложении Б. 9.1.5 Измерения уровня жидкости 9.1.5.1 Уровень жидкости, находящейся в резервуаре при его поверке, Нг измеряют при помощи измерительной рулетки с грузом или уровнемера. 9.1.5.2 Результат измерения величины Нг вносят в протокол, форма которого приведена в приложении Б. 9.1.6 Измерения высоты поясов и толщины стенок 9.1.6.1 Высоту поясов hн измеряют с наружной стороны резервуара вдоль образующей резервуара, находящейся в плоскости А (рисунок А.10а) по 9.1.2.2, при помощи измерительной рулетки с грузом и упорного угольника. (Измененная редакция. Изм. № 1) 9.1.6.2 Для резервуаров без лестниц измерения проводят, поднимая рулетку с грузом от упорного угольника 90° (рисунок А.12) 1, находящегося у нижнего края пояса, до упорного угольника 90° 2, находящегося у верхнего края пояса, считывая разницу в показаниях рулетки относительно неподвижной отметки. 9.1.6.3 Высотой i-го пояса считают расстояние hi, в пределах которого внутренний радиус пояса ri имеет постоянное значение (рисунок А.13). Значение hi получают вычитанием из значения hнi значений нахлестов, принятых по технической документации. 9.1.6.4 Толщины стенок поясов d измеряют два раза с помощью ультразвукового толщиномера с погрешностью в пределах ± 0,1 мм. Расхождение между результатами двух измерений должно находиться в пределах ± 0,2 мм, или его принимают равным указанному в технической документации. 9.1.6.5 Толщину слоя покраски резервуара δс.к определяют измерениями толщины скола краски штангенциркулем с погрешностью не более ±0,1 мм. Толщину слоя внутреннего антикоррозионного покрытия δс.п измеряют при помощи ультразвукового толщиномера с погрешностью до 0,1 мм. (Измененная редакция. Изм. № 1) 9.1.6.6 Результаты измерений величин hн, d, dс.к., δс.п вносят в протокол, форма которого приведена в приложении Б. (Измененная редакция. Изм. № 1) 9.1.7 Определение объемов внутренних деталей 9.1.7.1 Объемы внутренних деталей, находящихся в резервуаре, и опор плавающего покрытия определяют по данным технической документации или по данным измерений геометрических параметров внутренних деталей с указанием их расположения по высоте от днища резервуара и от стенки первого пояса резервуара lд, угла φ1, между плоскостью А и плоскостью С (рисунок А.10а). Значение угла φ1, определяют методом разбивания длины окружности первого пояса с погрешностью ± 1° в следующей последовательности: - длину окружности первого пояса изнутри резервуара разбивают на восемь частей, начиная с плоскости А (рисунок А.10а), по часовой стрелке; - на днище резервуара через его центр и точки разбивки проводят восемь радиусов; - устанавливают номер сектора, в пределах которого находится плоскость С (рисунок А.10а); - в пределах вышеустановленного сектора на стенке резервуара до плоскости С откладывают (размечают) nо-ное число дополнительных хорд длиной So, соответствующей 1°, вычисляемой по формуле
- значение угла φ1, определяют по формуле φ1 = 45 No + пo, где No - число больших разбиваний; пo - число отложений хорды So до плоскости С. Результаты измерений величин No, пo, φ1, вносят в протокол, форма которого приведена в приложении Б. (Измененная редакция. Изм. № 1) 9.1.7.2 Внутренние детали сложной геометрической формы могут быть заменены эквивалентными по объему и расположению или расчленены на более простые. Об этом делают запись в протоколе, форма которого приведена в приложении Б. 9.1.8 Измерения вместимости «мертвой» полости и параметров местных неровностей (хлопунов) (Измененная редакция. Изм. № 1) 9.1.8.1 Если резервуар имеет несколько приемно-раздаточных патрубков, то высоту «мертвой» полости, соответствующую j-му приемно-раздаточному патрубку (hм.п)j, измеряют рулеткой по стенке резервуара от днища резервуара до нижней точки j-гo приемно-раздаточного патрубка. Нумерацию высот «мертвой» полости проводят, начиная с плоскости А (рисунок А.10а). Если резервуар имеет приемно-раздаточные устройства, например, устройства ПРУ-Д, то измеряют рулеткой (рисунок А.17а): - высоту по стенке резервуара от контура днища до места установки j-гo приемно-раздаточного устройства hyj; - расстояние от нижнего образующего j-гo приемно-раздаточного устройства до его нижнего или верхнего среза hcj; - длину j-гo приемно-раздаточного устройства (расстояние от центра среза устройства до стенки резервуара) lcj. Результаты измерений величин (hм.п)j, hyj, hcj, lcj в миллиметрах вносят в протокол, форма которого приведена в приложении Б. (Измененная редакция. Изм. № 1) 9.1.8.2 Для определения объема неровностей днища (DVдн)0 проводят следующие измерения: - размечают на днище точки пересечения восьми концентрических окружностей (I, II,..., VIII) с 24 радиусами (0-1, 0-2, 0-3, ..., 0-24) и точку касания днища грузом рулетки (рисунок А.14 - при отсутствии центральной трубы или рисунок А.15 - при наличии центральной трубы). Положение 24 радиусов находят делением внутреннего периметра резервуара по первому поясу на уровне днища на 24 равных частей, начиная с плоскости, проходящей через центр резервуара и точку касания днища грузом рулетки, а положение восьми концентрических окружностей определяют делением внутреннего радиуса первого пояса R на 8 частей путем откладывания от центра днища (при наличии центральной трубы с учетом радиуса r0) радиусов, равных 0,35R; 0,5R; 0,61R; 0,71R; 0,79R; 0,86R; 0,93R; R; - при отсутствии центральной трубы нивелир устанавливают в центре днища резервуара и измеряют расстояние по вертикали от неровностей днища до визирной линии (до центра окуляра) нивелира (bo) при помощи измерительной рулетки с грузом или рейкой. При наличии центральной трубы нивелир устанавливают последовательно в двух противоположных точках, не лежащих на отмеченных радиусах и отстоящих от стенки резервуара не более 1000 мм; - снимают отсчеты по рейке, устанавливаемой последовательно в измерительных точках (bji), и в точке касания днища грузом рулетки (bл). При наличии центральной трубы отсчеты снимают по рейке с двух точек установки нивелира и дополнительно в точках, образованных пересечением радиусов с образующей центральной трубы. (Измененная редакция. Изм. № 1) Примечание - Для резервуаров вместимостью менее 2000 м3 неровностью днища пренебрегают, за исходный уровень в этом случае принимают плоскость днища. 9.1.8.3 Результаты измерений величин bji, bл вносят в протокол, форма которого приведена в приложении Б. 9.1.8.4 Угол φ2 между плоскостью А (рисунок А.10а) и плоскостью В, проходящую через продольные оси приемно-раздаточного патрубка и резервуара, определяют с погрешностью не более ± 1°, используя данные разбивки длины окружности первого пояса по 9.1.2.2 в следующей последовательности: - устанавливают число полных разбивок N'o, находящихся до плоскости В (рисунок А.10а); - по длине дуги разбивки, в пределах которой проходит плоскость В, размечают до образующей приемно-раздаточного патрубка п'o-ное число дополнительных дуг длиной ΔL, соответствующей 1°. Длину дуги ΔL, мм, вычисляют по формуле
- значение угла φ2 определяют по формуле
где т - число разбивок длины окружности первого пояса резервуара; rп.р - радиус приемно-раздаточного патрубка, мм. (Введен дополнительно. Изм. № 1) 9.1.8.5 Результаты измерений величины φ2 вносят в протокол, форма которого приведена в приложении Б. (Введен дополнительно. Изм. № 1) 9.1.8.6 В случае определения вместимости «мертвой» полости объемным статическим методом в соответствии с 9.2.2 результаты измерений оформляют протоколом поверки для «мертвой» полости по форме, приведенной в приложении В (заполняют таблицы В.4, В.6, В.8). (Введен дополнительно. Изм. № 1) 9.1.8.7 Площадь хлопуна sx, м2, определяют по результатам измерений длины и ширины хлопуна. Длину lх и ширину bх хлопуна измеряют измерительной рулеткой. Показания рулетки отсчитывают с точностью до 1 мм. Высоту хлопуна hx измеряют штангенциркулем или измерительной линейкой. Показания штангенциркуля или линейки отсчитывают с точностью до 1 мм. Результаты измерений величин lх, bх, hx вносят в протокол, форма которого приведена в приложении Б. (Введен дополнительно. Изм. № 1) 9.1.9. Измерения координаты точки отсчета значений уровня жидкости или базовой высоты 9.1.9.1 Измеряют расстояние по горизонтали между линейкой, установленной вертикально по первой внешней образующей резервуара (рисунок А.10), и внешней образующей измерительного люка l1, (рисунок А.16) при помощи измерительной рулетки с погрешностью ± 5 мм. (Измененная редакция. Изм. № 1) 9.1.9.2 Измеряют штангенциркулем наружный dн и внутренний dвн диаметры измерительного люка и расстояние между точкой измерений на планке и внутренней стенкой измерительного люка l2. 9.1.9.3 Результаты измерений величин l1, dн, dвн, l2 вносят в протокол, форма которого приведена в приложении Б. 9.1.10 Измерения базовой высоты резервуара 9.1.10.1 При наличии жидкости в резервуарах с плавающим покрытием уровень ее должен быть не ниже уровня, установленного технологической картой на резервуар. Базовую высоту резервуара с плавающей крышей измеряют через измерительный люк, установленный на направляющей стойке плавающей крыши или на трубе для радарного уровнемера (рисунок А.2а). (Измененная редакция. Изм. № 1) 9.1.10.2 Результаты измерений базовой высоты Hб вносят в протокол, форма которого приведена в приложении Б. 9.1.10.3 Базовую высоту измеряют ежегодно. Ежегодные измерения базовой высоты резервуара проводит комиссия, назначенная приказом руководителя предприятия - владельца резервуара, в состав которой должен быть включен специалист, прошедший курсы повышения квалификации по поверке и калибровке резервуаров. При ежегодных измерениях базовой высоты резервуара без плавающего покрытия резервуар может быть наполнен до произвольного уровня, резервуар с плавающим покрытием - до минимально допустимого уровня. Результат измерений базовой высоты резервуара не должен отличаться от ее значения, указанного в протоколе поверки резервуара, более чем на 0,1 %. Если это условие не выполняется, то проводят повторное измерение базовой высоты при уровне наполнения резервуара, отличающимся от его уровня наполнения, указанного в протоколе поверки резервуара, не более чем на 500 мм. Результаты измерений базовой высоты оформляют актом, форма которого приведена в приложении Л. При изменении базовой высоты по сравнению с ее значением, установленным при поверке резервуара, более чем на 0,1 % устанавливают причину и устраняют ее. При отсутствии возможности устранения причины проводят внеочередную поверку резервуара. Примечание - В Российской Федерации специалисты проходят курсы повышения квалификации в соответствии с 7.1. (Измененная редакция. Изм. № 1) 9.1.11 Определение массы и размеров плавающего покрытия 9.1.11.1 Массу тп, диаметры плавающего покрытия Dп и отверстий D1, D2, ... а также верхнее положение плавающего покрытия h'п берут по исполнительной документации. (Измененная редакция. Изм. № 1) 9.1.11.2 Высоту нижнего положения плавающего покрытия hп измеряют рулеткой от точки касания днища грузом рулетки до нижнего края образующей плавающего покрытия. Показания рулетки отсчитывают с точностью до 1 мм. Измерения проводят не менее двух раз. Расхождение между результатами двух измерений должно быть не более 2 мм. (Измененная редакция. Изм. № 1) 9.1.11.3 Значения величин тп, Dп, D1, D2,... и результаты измерений hп, h'п вносят в протокол, форма которого приведена в приложении Б. (Измененная редакция. Изм. № 1) 9.1.12 Определение длины внутренней окружности вышестоящего пояса резервуара с плавающей крышей 9.1.12.1 При отсутствии возможности применения приспособления, показанного на рисунке А.6, длину внутренней окружности вышестоящего пояса определяют: второго пояса (при высоте поясов от 2250 до 3000 мм) или третьего (при высоте поясов 1500 мм) - методом отложения хорд по внутренней стенке пояса; вышестоящих поясов, начиная с третьего (при высоте поясов от 2250 до 3000 мм) или, начиная с четвертого (при высоте поясов от 1500 мм), - по результатам измерений радиальных отклонений образующих резервуара, проведенных изнутри резервуара. 9.1.12.2 Хорды откладывают на уровнях, отсчитываемых от верхней плоскости плавающей крыши: 1600 мм - при высоте поясов от 2250 до 3000 мм; 1200 мм - при высоте поясов 1500 мм. 9.1.12.3 Перед откладыванием хорд на уровне 1600 мм или на уровне 1200 мм, указанных в 9.1.12.2, при помощи рулетки с грузом через каждые 1000 мм наносят горизонтальные отметки длиной 10-20 мм по стенке поясов. 9.1.12.4 Отметки, нанесенные по стенкам поясов на уровнях, указанных в 9.1.12.2, соединяют между собой, применяя гибкую стальную ленту (рулетку). При этом линии горизонтальных окружностей проводят толщиной не более 5 мм. 9.1.12.5 Вычисляют длину хорды S1 по формуле где D1 - внутренний диаметр первого пояса резервуара, вычисляемый по формуле где Lвн - внутренняя длина окружности первого пояса, вычисляемая по формуле (Г.2); α1 - центральный угол, соответствующий длине хорды S1, вычисляемый по формуле где т1 - число отложений хорд по линиям горизонтальных окружностей. Число т1, в зависимости от номинальной вместимости резервуара принимают по таблице 4. Таблица 4
9.1.12.6 Хорду S1 длина которой вычислена по формуле (3ж), откладывают по линии горизонтальной окружности, проведенной на высоте 1600 мм и на высоте 1200 мм, указанных в 9.1.12.2, при помощи штангенциркуля (ГОСТ 166, черт.3) с диапазоном измерений от 500 до 1600 мм. 9.1.12.7 После отложений хорд по 9.1.12.6 измеряют длину остаточной хорды Soп при помощи штангенциркуля с диапазоном измерений 0-150 мм с погрешностью не более 0,1 мм. Обозначение «п» соответствует термину: «покрытие». 9.1.12.8 Значения величин S1 и Soп вносят в протокол, форма которого приведена в приложении Б. 9.1.12.9 Длины внутренних окружностей поясов, находящихся выше поясов, указанных в 9.1.12.1, определяют по результатам измерений радиальных отклонений образующих резервуара от вертикали изнутри резервуара с применением измерительной каретки (далее - каретки) в следующей последовательности: а) длину окружности первого пояса, измеренную по 9.1.1, разбивают на равные части по 9.1.2.2 (наносят вертикальные отметки на уровне 1600 мм или на уровне 1200 мм в соответствии с 9.1.12.3), начиная с плоскости А (рисунок А.10а); б) штангу 12 с блоком 11 (рисунок А.2а), при помощи которого каретка перемещается по внутренней поверхности резервуара, устанавливают у края площадки обслуживания 13; в) линейку 6 устанавливают на высоте 400 мм по перечислению а) 9.1.12.9 от верхней плоскости плавающей крыши при помощи магнитного держателя 7 перпендикулярно к стенке резервуара, поочередно для каждой отметки разбивки; г) для перехода от одной отметки разбивки к другой каретку опускают, а штангу со всей оснасткой передвигают по кольцевой площадке обслуживания резервуара. Расстояние от стенки резервуара до нити отвеса а отсчитывают по линейке 6; д) измерения вдоль каждой образующей резервуара начинают с отметки разбивки под номером один первого пояса. На каждом следующем поясе измерения проводят в трех сечениях: среднем, находящемся в середине пояса, нижнем и верхнем, расположенных на расстоянии 50-100 мм от горизонтального сварочного шва. На верхнем поясе - в двух сечениях: нижнем и среднем. Отсчеты по линейке снимают с погрешностью в пределах ± 1 мм в момент, когда каретка установлена в намеченной точке при неподвижном отвесе; е) в начальный момент каретку для всех образующих резервуара останавливают на линии горизонтальной окружности на уровне 1600 мм или на уровне 1200 мм. Результаты измерений расстояния а в миллиметрах вносят в протокол, форма которого приведена в приложении Б. Пункты 9.1.12 - 9.1.12.9 (Введены дополнительно. Изм. № 1) 9.1.13 Высота газового пространства в плавающей крыше 9.1.13.1 Высоту газового пространства hпг (3.25) измеряют при помощи измерительной рулетки с грузом или линейкой не менее двух раз. Расхождение между результатами двух измерений не должно превышать 1 мм. 9.1.13.2 Результаты измерений hпг вносят в протокол, форма которого приведена в приложении Б. Пункты 9.1.13 - 9.1.12.2 (Введены дополнительно. Изм. № 1) 9.2 Проведение поверки резервуара объемным методома) высоты «мертвой» полости hм.в соответствии с 9.1.8.1; б) расстояния по вертикали от точки касания днища грузом рулетки до визирной линии нивелира bл в соответствии с 9.1.8.2; в) расстояния по вертикали от точки, образованной в результате пересечения восьмой окружности и первого радиуса, до визирной линии нивелира b8.1 в соответствии с 9.1.8.2; г) степени наклона резервуара h в соответствии с 9.1.3; д) базовой высоты резервуара Hб в соответствии с 9.1.10. е) угла φ2 в соответствии с 9.1.8.4. (Измененная редакция. Изм. № 1) 9.2.1.1 Результаты измерений величин hм.п., bл, b8.1, h, Hб, φ2 вносят в протокол, форма которого приведена в приложении В. (Измененная редакция. Изм. № 1) 9.2.2 Измерения вместимости резервуара в пределах «мертвой» полости или в пределах высоты неровностей днища (Измененная редакция. Изм. № 1) 9.2.2.1 В пределах «мертвой» полости (рисунок А.17) и в пределах неровностей днища (рисунок А.18), если неровности днища выходят за пределы «мертвой» полости измерения вместимости резервуара проводят статическим методом при значении расхода поверочной жидкости, соответствующем минимальному расходу счетчика жидкости, и значении объема поверочной жидкости, регистрируемом через каждое изменение ее уровня в резервуаре в пределах от 10 до 100 мм. (Измененная редакция. Изм. № 1) 9.2.2.2 При измерениях вместимости «мертвой» полости выполняют операции в следующей последовательности (см. рисунок А.7): а) открывают вентиль 20, соединяющий линию, предназначенную для подачи поверочной жидкости в поверяемый резервуар 3; б) устанавливают указатели шкал приборов (при необходимости) на нулевую отметку; в) переводят трехходовый кран 5 в положение «Измерение»; г) включают насос 11 или открывают вентиль 16; д) подают из приемного резервуара 13 или из технологического трубопровода (водопровода) 17 через счетчик жидкости 6 поверочную жидкость в поверяемый резервуар 3, наполняя его дозой жидкости до появления на дисплее уровнемера 2 значения в пределах от 10 до 100 мм; е) снимают показания манометра 7 (р1); ж) снимают показания термометра (измерителя температуры) 4 [(Tт)1]; з) выключают насос 11 или закрывают вентиль 16 и снимают показания счетчика жидкости 6 [q1(N1)]. (Измененная редакция. Изм. № 1) Примечание - При превышении точки касания днища грузом рулетки над контуром днища наполняют поверяемый резервуар начальной дозой до нулевой отметки. 9.2.2.3 После выполнения операции по 9.2.2.2 поверяемый резервуар наливают второй, третьей и последующей дозами поверочной жидкости. Снимают показания после налива каждой дозы: счетчика жидкости qj(Nj); манометра рj; уровнемера Hj; измерителей температуры 4 и 1, установленных на линии нагнетания и резервуаре, - (Тт)j, (Тр)j соответственно. 9.2.2.4 При достижении уровня поверочной жидкости в резервуаре 3 до уровня, соответствующего высоте «мертвой» полости Hм. отбирают пробу из резервуара переносным пробоотборником по ГОСТ 2517. В случае применения в качестве поверочной жидкости нефтепродукта измеряют его плотность в лаборатории в соответствии с ГОСТ 3900. 9.2.2.5 Значение плотности поверочной жидкости используют для определения коэффициента объемного расширения ее, необходимого при расчете температурной поправки на посантиметровую вместимость резервуара. 9.2.3 Измерения вместимости поверяемого резервуара выше «мертвой» полости или выше высоты неровностей днища (Измененная редакция. Изм. № 1) 9.2.3.1 При достижении уровня поверочной жидкости в поверяемом резервуаре 3, соответствующего высоте «мертвой» полости (высоте неровностей днища), значение расхода поверочной жидкости устанавливают равным значению номинального расхода в соответствии с показаниями счетчика жидкости в следующей последовательности (см. рисунок А.7): - закрывают вентиль 20; - переводят трехходовой кран 5 в положение «Циркуляция»; - в соответствии с 8.2.5 фиксируют показания счетчика жидкости 6 и секундомера и вычисляют расход поверочной жидкости по формуле (1) или (2); - с помощью дросселя 10 изменяют расход поверочной жидкости до номинального расхода счетчика жидкости. (Измененная редакция. Изм. № 1) 9.2.3.2 После наполнения поверяемого резервуара дозами поверочной жидкости в пределах «мертвой» полости (до высоты неровностей днища) измерения вместимости резервуара осуществляют статическим или динамическим методами до уровня, соответствующего полной вместимости резервуара. (Измененная редакция. Изм. № 1) 9.2.3.3 При статическом методе поверки в резервуар наливают дозы поверочной жидкости, соответствующие изменению уровня на 100 мм. (Измененная редакция. Изм. № 1) 9.2.3.4 При динамическом методе поверки резервуара регистрацию результатов измерений объема, уровня, температуры, давления поверочной жидкости проводят (не прекращая подачу поверочной жидкости в резервуар) через каждое изменение уровня в резервуаре на 10 мм. 9.2.3.5 Расход поверочной жидкости, установленный по 9.2.2.1, 9.2.3.1, не должен изменяться более чем на 2 % в процессе поверки резервуара. 9.2.3.6 При достижении уровня поверочной жидкости, соответствующего полной вместимости резервуара, измеряют базовую высоту резервуара Hб в соответствии с 9.1.10. Значение базовой высоты не должно отличаться от значения, измеренного по 9.2.1, более чем на 0,1 %. (Введен дополнительно. Изм. № 1) 9.2.4 При применении эталонной установки по 5.2.3 выполнение операций, изложенных в 9.2.2-9.2.3, проводят в соответствии с нормативным документом на установку. 9.2.5 При невозможности измерений средней температуры поверочной жидкости (далее - жидкости) в резервуаре после поступления в него каждой дозы ее с помощью измерителя температуры допускается определять среднюю температуру по результатам измерений температур жидкости в точечных пробах (Тр)i, отобранных по ГОСТ 2517 после наполнения первого, второго и последующего вышестоящего поясов. 9.2.5.1 Измерения температуры жидкости в пробоотборнике проводят в последовательности: - термометр погружают в жидкость, находящуюся в пробоотборнике, на глубину, указанную в техническом паспорте на данный термометр; - выдерживают термометр в пробе от 1 до 3 мин до принятия столбиком ртути постоянного положения; - не вынимая термометр из жидкости, температуру отсчитывают по нему с погрешностью в пределах ± 0,2 °С. (Измененная редакция. Изм. № 1) 9.2.6 Измерения базовой высоты резервуара 9.2.6.1 Исключен. Изм. № 1. 9.2.6.2 Исключен. Изм. № 1. 9.2.7 Измерения максимального уровня жидкости в резервуаре 9.2.7.1 Максимальный уровень поверочной жидкости в резервуаре Hpmax, соответствующий полной вместимости резервуара, измеряют после прекращения подачи доз поверочной жидкости в резервуар и выдержки в течение от 10 до 15 мин. 9.2.7.2 Измерения максимального уровня проводят измерительной рулеткой с грузом через измерительный люк не менее двух раз. Расхождение между результатами двух измерений не должно превышать 1 мм. 9.2.7.3 За действительное значение максимального уровня принимают среднее арифметическое значение двух измерений, округленное до 1 мм. 9.2.8 Результаты измерений величин qj(Nj), pj, r0, Hj, (Тт)j (Тр)i, Hpmax, Hб по 9.2.2-9.2.7 вносят в протокол, форма которого приведена в приложении В. 10 Обработка результатов измерений10.1 Обработка результатов измерений при поверке резервуара геометрическим методом10.1.1 Обработку результатов измерений при поверке проводят в соответствии с приложением Г. 10.1.2 Результаты вычислений вносят в журнал, форма которого приведена в приложении Д. 10.2 Обработка результатов измерений при поверке резервуара объемным методом10.2.1 Обработку результатов измерений при поверке проводят в соответствии с приложением Е. 10.2.2 Результаты вычислений вносят в журнал, форма которого приведена в приложении Ж. 10.3 Составление градуировочной таблицы10.3.1 Составление градуировочной таблицы при поверке резервуара геометрическим методом 10.3.1.1 Градуировочную таблицу составляют, используя формулу (Г.53) приложения Г, с шагом DHн = 1 см, начиная с исходного уровня (уровня, соответствующего высоте «мертвой» полости Hм.п.) и до предельного уровня Hпр, рассчитываемого по формуле
где h - степень наклона резервуара, рассчитываемая по формуле (Г.15) или (Г.16) - (Г.20) приложения Г; Hб - базовая высота резервуара, рассчитываемая по формуле (Г.43) приложения Г, мм; hi - высота i-го пояса, мм; fл - высота точки касания днища грузом рулетки; Lвн - длина внутренней окружности 1-го пояса, вычисляемая по формуле (Г.2); n - число поясов резервуара; l0 - координата точки отсчета значений уровня жидкости или базовой высоты, вычисляемая по формуле (Г.28) или (Г.29) приложения Г, мм; j - угол между направлением наклона резервуара и плоскостью, проходящей через центры резервуара и измерительного люка, вычисляемый по формуле (Г.22) приложения Г. (Измененная редакция. Изм. № 1) 10.3.1.2 При вычислении величин Vцi, DVгi, Vв.д., Vвсп, входящих в формулу (Г.53) приложения Г, проводят линейную интерполяцию в пределах пояса (или участка) по формулам:
где (Измененная редакция. Изм. № 1) 10.3.1.3 В пределах каждого пояса вычисляют коэффициент вместимости, равный вместимости, приходящейся на 1 мм высоты наполнения. 10.3.1.4 При необходимости составляют градуировочную таблицу в пределах уровня, соответствующего высоте «мертвой» полости Нм. или уровня, соответствующего высоте всплытия плавающего покрытия Нвсп, используя формулы (Г.34) - (Г.37), (Г.40) приложения Г; (7), (8). При этом коэффициент вместимости вычисляют в пределах каждого изменения уровня жидкости в резервуаре на 1 см. 10.3.1.5 Исключен. Изм. № 1. 10.3.2 Составление градуировочной таблицы при объемном методе поверки 10.3.2.1 Градуировочную таблицу составляют, суммируя последовательно, начиная с исходного уровня (уровня, соответствующего высоте «мертвой» полости Нм.п), вместимости резервуара, приходящиеся на 1 см высоты наполнения, в соответствии с формулой где Vм.п - вместимость «мертвой» полости, вычисляемая по формуле (Е.12) при изменении k от 0 до v, или по формуле, приведенной в Е.13; Vk, Vk-1 - дозовые вместимости резервуара при наливе в него k и (k-1) доз, соответствующие уровням Hk, H(k-1), вычисляемые по формуле (Е.12) при изменении k от v + 1 до значения k, соответствующего полной вместимости резервуара, или по формулам (Е.13), (Е.14) приложения Е и т.д. Вместимость «мертвой» полости резервуара вычисляют по формуле
где Vo - объем жидкости до точки касания днища грузом рулетки». (Измененная редакция. Изм. № 1) 10.3.2.2 В формуле (16) вместимости Vk, Vk-1 выражены в кубических метрах, а уровни Hk, H(k-1) - в миллиметрах. 10.3.2.3 Градуировочную таблицу составляют до максимального уровня Hpmax, соответствующего полной вместимости резервуара. 10.3.2.4 Результаты расчетов при составлении градуировочной таблицы вносят в журнал, форма которого приведена в приложении Ж (таблица Ж.3). 10.3.3 При составлении градуировочной таблицы значения вместимости резервуара в дециметрах кубических округляют до целого числа. 10.3.4 Определяют коэффициент вместимости qi по следующим формулам: - при геометрическом методе поверки в пределах каждого пояса по формуле
где Vi - вместимость i-го пояса, вычисляемая по формуле
hi - высота i-го пояса, мм, DVгi - поправка к вместимости резервуара за счет гидростатического давления жидкости при наполнении i-го пояса, вычисляемая по формуле (Г.51), Vцi - вместимость i-го пояса резервуара недеформированного от гидростатического давления, вычисляемая по формуле (Г.50); - при объемном методе поверки в пределах каждого шага (изменения уровня наполнения резервуара на 1 см) по формуле
где Vi, Vi-1 - вместимости резервуара, соответствующие уровням Hi, Hi-1 и вычисляемые по формуле (16). 10.3.5 Значения посантиметровой вместимости резервуара, указанные в градуировочных таблицах, соответствуют температуре 20°С. 10.3.6 Порядок расчета при составлении градуировочной таблицы 10.3.6.1 Обработка результатов поверки может быть проведена ручным способом или с использованием ЭВМ. 10.3.6.2 Результаты измерений оформляют протоколом поверки. 10.3.6.3 Протокол поверки является входным документом при расчете градуировочной таблицы на ЭВМ. 10.3.6.4 Требования к машинному алгоритму обработки результатов измерений: - вместимость резервуара, приходящуюся на 1 см высоты наполнения, вычисляют последовательным суммированием значений вместимостей, приходящихся на 1 мм высоты наполнения; - последовательно суммируя значения вместимостей каждого наполнения на 1 мм, вычисляют вместимость резервуара с интервалом 1 см. 11 Оформление результатов поверки11.1 Результаты поверки резервуара оформляют свидетельством о поверке по форме, установленной национальной (государственной) метрологической службой. (Измененная редакция. Изм. № 1) 11.2 К свидетельству о поверке прилагают: а) градуировочную таблицу; б) протокол поверки (оригинал прикладывается к первому экземпляру градуировочной таблицы); в) эскиз резервуара; д) журнал обработки результатов измерений при поверке (только в случае проведения расчетов вручную). (Измененная редакция. Изм. № 1) 11.3 Форма титульного листа градуировочной таблицы и форма градуировочной таблицы приведены в приложении К. Форма протокола поверки резервуара геометрическим методом приведена в приложении Б, объемном методе поверки - в приложении В. Форма акта измерений базовой высоты резервуара, составленного при ежегодных ее измерениях, приведена в приложении Л. Протокол поверки подписывают поверитель и лица, принявшие участие в проведении измерений параметров резервуара. Титульный лист и последнюю страницу градуировочной таблицы подписывает поверитель. Подписи поверителя заверяют оттисками поверительного клейма, печати (штампа). Документы, указанные в 11.2, пронумеровывают сквозной нумерацией, прошнуровывают, концы шнурка приклеивают к последнему листу и на месте наклейки наносят оттиск поверительного клейма, печати (штампа). (Измененная редакция. Изм. № 1) 11.4 Градуировочные таблицы на резервуары утверждает руководитель организации национальной (государственной) метрологической службы или руководитель метрологической службы юридического лица, аккредитованный на право проведения поверки. (Измененная редакция. Изм. № 1) 11.5 Типовые программы расчета градуировочных таблиц на ЭВМ по настоящему стандарту разработаны в ГНМЦ - ВНИИР и ВНИИМС. Программы, разработанные другими организациями, подлежат экспертизе, аттестации и утверждению в ГНМЦ - ВНИИР или ВНИИМС. 11.6 Если при поверке резервуара получены отрицательные результаты даже по одному из приведенных ниже параметров: - значение вместимости «мертвой» полости имеет знак минус; - размеры хлопунов не соответствуют требованиям правил безопасности 1); - значение степени наклона резервуара более 0,02, если это значение подтверждено результатами измерений отклонения окраек контура днища резервуара от горизонтали, выполненных по методике диагностирования резервуара, то резервуар считается непригодным к эксплуатации и выдают «Извещение о непригодности. ___________________ 1) На территории Российской Федерации действует Постановление Росгортехнадзора № 76 от 09.06.2003 об утверждении Правил устройства вертикальных цилиндрических стальных резервуаров для нефти и нефтепродуктов». (Введен доплнительно. Изм. № 1) ПРИЛОЖЕНИЕ А
| ||||||||||||||||||||||||||||||||||||||||||||||||||||||||||||||||||||||||||||||||||||||||||||||||||||||||||||||||||||||||||||||||||||||||||||||||||||||||||||||||||||||||||||||||||||||||||||||||||||||||||||||||||||||||||||||||||||||||||||||||||||||||||||||||||||||||||||||||||||||||||||||||||||||||||||||||||||||||||||||||||||||||||||||||||||||||||||||||||||||||||||||||||||||||||||||||||||||||||||||||||||||||||||||||||||||||||||||||||||||||||||||||||||||||||||||||||||||||||||||||||||||||||||||||||||||||||||||||||||||||||||||||||||||||||||||||||||||||||||||||||||||||||||||||||||||||||||||||||||||||||||||||||||||||||||||||||||||||||||||||||||||||||||||||||||||||||||||||||||||||||||||||||||||||||||||||||||||||||||||||||||||||||||||||||||||||||||||||||||||||||||||||||||||||||||||||||||||||||||||||||||||||||||||||||||||||||||||||||||||||||||||||||||||||||||||||||||||||||||||||||||||||||||||||||||||||||||||||||||||||||||||||||||||||||||||||||||||||||||||||||||||||||||||||||||||||||||||||||||||
|
Код документа |
Регистрационный номер |
Дата |
Основание для проведения поверки |
||
|
Число |
Месяц |
Год |
|||
|
1 |
2 |
3 |
4 |
5 |
6 |
|
|
|
|
|
|
|
Продолжение таблицы Б.1
|
Место проведения поверки |
Средства измерений |
|
7 |
8 |
|
|
|
Окончание таблицы Б.1
|
Резервуар |
||||
|
Тип |
Номер |
Назначение |
Наличие угла наклона |
Погрешность определения вместимости резервуара, % |
|
9 |
10 |
11 |
12 |
13 |
|
|
|
|
|
|
|
Примечание - В графе 12 указывают знак «+» при наличии угла наклона, знак «-» - при его отсутствии. |
||||
(Измененная редакция. Изм. № 1)
Таблица Б.2 - Условия проведения измерений
|
Температура воздуха, °С |
Скорость ветра, м/с |
Загазованность, мг/м3 |
|
|
|
|
Таблица Б.3 - Длина окружности первого пояса В миллиметрах
|
Номер измерения |
Длина окружности |
Поправка на обход накладок |
|
1 |
|
|
|
2 |
|
|
Таблица Б.4 - Радиальные отклонения образующих резервуара от вертикали
|
Номер пояса |
Точка измерения |
Показание линейки о, мм |
||||||||||||||
|
1 |
2 |
3 |
4 |
5 |
6 |
7 |
8 |
9 |
10 |
11 |
12 |
… |
… |
т |
||
|
I |
3/4 h1 |
|
|
|
|
|
|
|
|
|
|
|
|
|
|
|
|
II |
Н |
|
|
|
|
|
|
|
|
|
|
|
|
|
|
|
|
С |
|
|
|
|
|
|
|
|
|
|
|
|
|
|
|
|
в |
|
|
|
|
|
|
|
|
|
|
|
|
|
|
|
|
III |
Н |
|
|
|
|
|
|
|
|
|
|
|
|
|
|
|
|
С |
|
|
|
|
|
|
|
|
|
|
|
|
|
|
|
|
|
В |
|
|
|
|
|
|
|
|
|
|
|
|
|
|
|
|
|
IV |
н |
|
|
|
|
|
|
|
|
|
|
|
|
|
|
|
|
с |
|
|
|
|
|
|
|
|
|
|
|
|
|
|
|
|
|
В |
|
|
|
|
|
|
|
|
|
|
|
|
|
|
|
|
|
V |
н |
|
|
|
|
|
|
|
|
|
|
|
|
|
|
|
|
с |
|
|
|
|
|
|
|
|
|
|
|
|
|
|
|
|
|
в |
|
|
|
|
|
|
|
|
|
|
|
|
|
|
|
|
|
VI |
н |
|
|
|
|
|
|
|
|
|
|
|
|
|
|
|
|
с |
|
|
|
|
|
|
|
|
|
|
|
|
|
|
|
|
|
в |
|
|
|
|
|
|
|
|
|
|
|
|
|
|
|
|
|
… |
|
|
|
|
|
|
|
|
|
|
|
|
|
|
|
|
|
… |
|
|
|
|
|
|
|
|
|
|
|
|
|
|
|
|
|
п |
н |
|
|
|
|
|
|
|
|
|
|
|
|
|
|
|
|
с |
|
|
|
|
|
|
|
|
|
|
|
|
|
|
|
|
|
Примечание - При наличии ребра жесткости, например, в v-м поясе (9.1.2.5): а) если ребро жесткости находится в середине пояса, то в строке «С» вносят показание линейки, определенное по формуле
где б) если ребро жесткости находится ближе к верхнему или нижнему сварному шву, то среднее расстояние от стенки резервуара до нити отвеса вычисляют по формуле
где |
||||||||||||||||
(Измененная редакция. Изм. № 1)
Таблица Б.4.1 - Длины хорд
|
Уровень отложений хорды |
Хорда |
||
|
основная Sп1 |
остаточная Sп0 |
||
|
1-е измерение |
2-е измерение |
||
|
1600 |
|
|
|
|
1200 |
|
|
|
(Введена дополнительно. Изм. № 1)
Таблица Б.5 - Параметры поверочной и хранимой жидкостей (нефти и нефтепродуктов)
|
Плотность жидкости при поверке рж.г, кг/м3 |
Уровень жидкости при поверке Нг, мм |
Плотность хранимой жидкости рж.х, кг/м3 |
|
1 |
2 |
3 |
|
|
|
|
|
Примечание - За значение плотности рж.х (графа 3) принимают значение плотности жидкости при хранении. |
||
(Измененная редакция. Изм. № 1)
Таблица Б.5.1 - Радиальные отклонения образующих первого (второго или третьего для резервуаров с плавающей крышей) и последнего п-го поясов от вертикали
|
Номер пояса |
Радиальные отклонения образующих поясов от вертикали |
|||||||||
|
1 |
2 |
3 |
4 |
5 |
6 |
7 |
… |
… |
m |
|
|
I (II или III) |
|
|
|
|
|
|
|
|
|
|
|
п |
|
|
|
|
|
|
|
|
|
|
(Введена дополнительно. Изм. № 1)
Таблица Б.6 - Параметры поясов резервуара
|
Номер пояса |
Высота пояса hнi, мм |
Толщина пояса di, мм |
Толщина слоя краски dс.к, мм |
Высота нахлеста hнx, мм |
Схема нахлеста (+; -; 0) |
Толщина слоя антикоррозионного покрытия δс.п, мм |
|
1 |
2 |
3 |
4 |
5 |
6 |
7 |
|
I |
|
|
|
|
|
|
|
II |
|
|
|
|
|
|
|
III |
|
|
|
|
|
|
|
IV |
|
|
|
|
|
|
|
V |
|
|
|
|
|
|
|
VI |
|
|
|
|
|
|
|
VII |
|
|
|
|
|
|
|
VIII |
|
|
|
|
|
|
|
IX |
|
|
|
|
|
|
|
X |
|
|
|
|
|
|
|
XI |
|
|
|
|
|
|
|
XII |
|
|
|
|
|
|
|
Примечание - В графе 6 указывают знак «+», если текущий пояс включает в себя предшествующий; знак «-», если текущий пояс включается в предшествующий; при сварке встык указывают «0». |
||||||
(Измененная редакция. Изм. № 1)
Таблица Б.7 - Внутренние детали цилиндрической формы
|
Диаметр, мм |
Высота от днища, мм |
Расстояние от стенки первого пояса lд, мм |
Число разбиваний |
Угол φ1, …° |
||
|
Нижняя граница hнд |
Верхняя граница hвд |
No |
no |
|||
|
|
|
|
|
|
|
|
|
|
|
|
|
|
|
|
(Измененная редакция. Изм. № 1)
Таблица Б.8 - Внутренние детали прочей формы
|
Объем, м3 |
Высота от днища, мм |
Расстояние от стенки первого пояса lд, мм |
Число разбиваний |
Угол φ1, …° |
||
|
Нижняя граница hнд |
Верхняя граница hвд |
No |
no |
|||
|
|
|
|
|
|
|
|
|
|
|
|
|
|
|
|
(Измененная редакция. Изм. № 1)
Таблица Б.9 - Параметры «мертвой» полости с приемно-раздаточным патрубком (ПРП)
|
Высота hм.п, мм, ПРП под номером |
Угол φ2, …°, ПРП под номером |
Вместимость Vм.п, м3 |
||||||
|
1 |
2 |
3 |
4 |
1 |
2 |
3 |
4 |
|
|
1 |
2 |
3 |
4 |
5 |
6 |
7 |
8 |
9 |
|
|
|
|
|
|
|
|
|
|
|
Примечание - Графу 9 заполняют только при определении вместимости «мертвой» полости объемным методом и принятие вместимости «мертвой» полости по 5.3.1.5. |
||||||||
(Измененная редакция. Изм. № 1)
Таблица Б.9.1 - Параметры «мертвой» полости с приемно-раздаточным устройством (ПРУ)
|
Высота установки hу, мм, ПРУ под номером |
Расстояние hс, мм, ПРУ под номером |
Длина lс, мм, ПРУ под номером |
Угол φ2,…°, ПРУ под номером |
Вместимость Vм.п, м3 |
||||
|
1 |
2 |
1 |
2 |
1 |
2 |
1 |
2 |
|
|
1 |
2 |
3 |
4 |
5 |
6 |
7 |
8 |
9 |
|
|
|
|
|
|
|
|
|
|
|
Примечание - Число граф в зависимости от числа приемно-раздаточных устройств может быть увеличено. |
||||||||
(Введена дополнительно. Изм. № 1)
Таблица Б.9.2 - Параметры местных неровностей (хлопунов)
Хлопун |
||
|
Длина lх |
Ширина bх |
Высота hх |
|
|
|
|
|
|
|
|
|
|
|
|
(Введена дополнительно. Изм. № 1)
Таблица Б.10 - Неровности днища В миллиметрах
|
Номер радиуса |
Номер измерения |
Отсчет по рейке при установлении ее в точках концентрической окружности |
||||||||
|
0 |
I |
II |
III |
IV |
V |
VI |
VII |
VIII |
||
|
1 |
2 |
3 |
4 |
5 |
6 |
7 |
8 |
9 |
10 |
11 |
|
1 |
1 |
|
|
|
|
|
|
|
|
|
|
2 |
|
|
|
|
|
|
|
|
|
|
|
2 |
1 |
|
|
|
|
|
|
|
|
|
|
2 |
|
|
|
|
|
|
|
|
|
|
|
3 |
1 |
|
|
|
|
|
|
|
|
|
|
2 |
|
|
|
|
|
|
|
|
|
|
|
4 |
1 |
|
|
|
|
|
|
|
|
|
|
2 |
|
|
|
|
|
|
|
|
|
|
|
5 |
1 |
|
|
|
|
|
|
|
|
|
|
2 |
|
|
|
|
|
|
|
|
|
|
|
6 |
1 |
|
|
|
|
|
|
|
|
|
|
2 |
|
|
|
|
|
|
|
|
|
|
|
7 |
1 |
|
|
|
|
|
|
|
|
|
|
2 |
|
|
|
|
|
|
|
|
|
|
|
24 |
1 |
|
|
|
|
|
|
|
|
|
|
2 |
|
|
|
|
|
|
|
|
|
|
|
Примечания 1 Четные номера строк (графа 2) заполняют только при наличии центральной трубы. 2 При наличии центральной трубы вносят (графа 3) показания рейки, устанавливаемой в точках пересечения радиусов и образующих центральной трубы. 3 При отсутствии центральной трубы вносят (графа 3) значение bo. |
||||||||||
(Измененная редакция. Изм. № 1)
Таблица Б.11 - Высота превышения точки касания днища грузом
рулетки и
диаметр центральной трубы В
миллиметрах
|
Отсчет по рейке в точке касания днища грузом рулетки |
Диаметр центральной трубы |
|
|
1-е измерение |
2-е измерение |
|
|
|
|
|
Таблица Б.12 - Координата точки измерений уровня жидкости и базовой высоты резервуара В миллиметрах
|
l1 |
L2 |
dн |
dвн |
|
|
|
|
|
В миллиметрах
|
Точка измерения базовой высоты Нб |
Номер измерения |
|
|
1 |
2 |
|
|
Риска измерительного люка |
|
|
|
Верхний срез измерительного люка |
|
|
(Измененная редакция. Изм. № 1)
Таблица Б.14 - Степень наклона и угол приближенного направления наклона резервуара
|
Номер точки разбивки k от 1 до т/2 |
Отсчет по рейке lк, мм |
Номер точки разбивки k от (т/2 + 1) до т |
Отсчет по рейке lk, мм |
|
1 |
2 |
3 |
4 |
|
1 |
ll |
т/2+1 |
l(m/2 + l) |
|
1 |
2 |
3 |
4 |
|
2 |
l2 |
т/2+2 |
l(m/2 + 2) |
|
3 |
l3 |
m/2+3 |
l(m/2 + 3) |
|
… |
… |
… |
|
|
… |
… |
… |
|
|
… |
… |
… |
|
|
… |
… |
… |
|
|
… |
… |
… |
|
|
… |
… |
… |
|
|
т/2 |
l(т/2) |
т |
lm |
Примечания1 k (графы 1, 3) - номер разбивки длины окружности первого пояса резервуара, выбирают из ряда: 1, 2, 3, ..., т. 2 lk (графы 2, 4) - отсчеты по рейке в точках разбивки k. |
|||
(Измененная редакция. Изм. № 1)
Таблица Б.14.1 - Степень наклона и угол уточненного направления наклона резервуара
|
Значение угла п2 при Nn = ... |
Показание рейки по правой разбивке lп, мм |
Значение угла n2 при Nл = ... |
Показание рейки по правой разбивке lл, мм |
||
|
l'п |
l"п |
l'л |
l"л |
||
|
1 |
2 |
3 |
4 |
5 |
6 |
|
-1° |
|
|
+1° |
|
|
|
-2° |
|
|
+2° |
|
|
|
-3° |
|
|
+3° |
|
|
|
-4° |
|
|
+4° |
|
|
|
-5° |
|
|
+5° |
|
|
|
-6° |
|
|
+6° |
|
|
|
-7° |
|
|
+7° |
|
|
|
-8° |
|
|
+8° |
|
|
|
-9° |
|
|
+9° |
|
|
|
-10° |
|
|
+10° |
|
|
|
-11° |
|
|
+11° |
|
|
|
-12° |
|
|
+12° |
|
|
|
-13° |
|
|
+13° |
|
|
|
-14° |
|
|
+14° |
|
|
Примечания1 В графах 1, 4 вносят числа разбивок Nп, Nл (например Nп = 17). 2 l'п, l"п (графы 2, 3) - показания рейки по правым противоположным разбивкам. 3 l'л, l"л (графы 5, 6) - показания рейки по левым противоположным разбивкам. |
|||||
(Введена дополнительно. Изм. № 1)
таблица Б.15 - Плавающее покрытие
|
Масса тп, кг |
Диаметр Dп, мм |
Расстояние от днища резервуара при крайнем положении, мм |
|
|
нижнем hп |
верхнем h'п |
||
|
1 |
2 |
3 |
4 |
|
|
|
|
|
|
|
|
|
|
Окончание таблицы Б.15
|
Диаметр отверстия, мм |
Параметры опоры |
Уровень жидкости в момент всплытия Нвсп, мм |
Объем жидкости в момент всплытия Vвсп, м3 |
||||
|
D1 |
D2 |
D3 |
Диаметр, мм |
Число, шт. |
Высота, мм |
||
|
5 |
6 |
7 |
8 |
9 |
10 |
11 |
12 |
|
|
|
|
|
|
|
|
|
Примечания1 Если опоры плавающего покрытия приварены к днищу резервуара, то их относят к числу внутренних деталей. 2 Графы 11 и 12 заполняют только при применении объемного метода. |
|||||||
(Измененная редакция. Изм. № 1)
таблица Б.16 - Высота газового пространства в плавающей крыше
|
Точка измерения высоты газового пространства hпг |
Номер измерения |
|
|
1 |
2 |
|
|
Риска измерительного люка |
|
|
|
Верхний срез измерительного люка |
|
|
(Введена дополнительно. Изм. № 1)
Должности Подписи и оттиски Инициалы, фамилии
поверительного клейма, печатей
(штампов)
ПРОТОКОЛ
поверки
резервуара объемным методом
Таблица B.1 - Общие данные
|
Код документа |
Регистрационный номер |
Дата |
Основание для проведения поверки |
||
|
число |
месяц |
год |
|||
|
|
|
|
|
|
|
Продолжение таблицы В.1
|
Место проведения поверки |
Средства поверки |
|
|
|
Окончание таблицы В.1
|
Тип резервуара |
Номер резервуара |
Погрешность определения вместимости резервуара, % |
|
|
|
|
Таблица В.2 - Условия проведения измерений
|
Температура воздуха, °С |
Скорость ветра, м/с |
Загазованность, мг/м3 |
|
|
|
|
таблица В.3 - Величины, измеряемые в «мертвой» полости
|
Высота hм.п, мм, ПРП под номером |
Угол φ2,…°, ПРП под номером |
Отчет по рейке в точке, мм |
||||||||
|
касания днища грузом рулетки bл |
пересечения 1-го радиуса и 8-й окружности b8.1 |
|||||||||
|
1 |
2 |
3 |
4 |
1 |
2 |
3 |
4 |
|||
|
|
|
|
|
|
|
|
|
|
|
|
(Измененная редакция. Изм. № 1)
Таблица В.4 - Параметры (начальные) поверочной жидкости
|
Наименование поверочной жидкости |
Температура, °С |
Плотность r0, кг/м3 |
Коэффициент сжимаемости g, 1/МПа |
|
|
в резервуаре (ТР)0 |
в счетчике жидкости (ТТ)0 |
|||
|
1 |
2 |
3 |
4 |
5 |
|
|
|
|
|
|
|
Примечания 1 (ТР)0, (ТТ)0 (графы 2, 3) - температуры поверочной жидкости, измеренные в момент отбора пробы в соответствии с 9.2.2.4 настоящего стандарта. 2 Значение g (графа 5) для воды принимают равным 49 1/МПа, для нефти - по [5], для нефтепродуктов - по [6]. |
||||
таблица В.5 - Степень наклона и угол приближенного направления наклона резервуара
|
Номер точки разбивки k от 1 до т/2 |
Отсчет по рейке lк, мм |
Номер точки разбивки k от (т/2 + 1) до т |
Отсчет по рейке lk, мм |
|
1 |
2 |
3 |
4 |
|
1 |
ll |
т/2+1 |
l(m/2 + l) |
|
2 |
l2 |
т/2+2 |
l(m/2 + 2) |
|
3 |
l3 |
m/2+3 |
l(m/2 + 3) |
|
… |
… |
… |
|
|
… |
… |
… |
|
|
… |
… |
… |
|
|
… |
… |
… |
|
|
… |
… |
… |
|
|
… |
… |
… |
|
|
т/2 |
l(т/2) |
т |
lm |
Примечания1 k (графы 1,3) - номер разбивки длины окружности первого пояса резервуара, выбирают из ряда: 1, 2, 3, ..., т. 2 lk (графы 2, 4) - отсчеты по рейке в точках разбивки k. |
|||
(Измененная редакция. Изм. № 1)
Таблица В.5.1 - Степень наклона и угол уточненного направления наклона резервуара
|
Значение угла п2 при Nn = ... |
Показание рейки по правой разбивке lп, мм |
Значение угла n2 при Nл = ... |
Показание рейки по правой разбивке lл, мм |
||
|
l'п |
l"п |
l'л |
l"л |
||
|
1 |
2 |
3 |
4 |
5 |
6 |
|
-1° |
|
|
+1° |
|
|
|
-2° |
|
|
+2° |
|
|
|
-3° |
|
|
+3° |
|
|
|
-4° |
|
|
+4° |
|
|
|
-5° |
|
|
+5° |
|
|
|
-6° |
|
|
+6° |
|
|
|
-7° |
|
|
+7° |
|
|
|
-8° |
|
|
+8° |
|
|
|
-9° |
|
|
+9° |
|
|
|
-10° |
|
|
+10° |
|
|
|
-11° |
|
|
+11° |
|
|
|
-12° |
|
|
+12° |
|
|
|
-13° |
|
|
+13° |
|
|
|
-14° |
|
|
+14° |
|
|
|
-15° |
|
|
+15° |
|
|
|
-16° |
|
|
+16° |
|
|
Примечания1 В графах 1, 4 вносят числа разбивок Nп, Nл (например Nп = 17). 2 l'п, l"п (графы 2, 3) - показания рейки по правым противоположным разбивкам. 3 l'л, l"л (графы 5, 6) - показания рейки по левым противоположным разбивкам. |
|||||
(Введена дополнительно. Изм. № 1)
Таблица В.6 - Текущие значения параметров поверочной жидкости
|
Номер измерения |
Объем дозы (ΔVc)j, дм3, или показание счетчика жидкости qj, дм3 (Hj, имп.) |
Уровень Hj, мм |
Температура жидкости, °С |
Избыточное давление в счетчике жидкости pj, МПа |
Расход Q, дм3/мин, (дм3/имп.) |
|
|
в резервуаре (Tp)j |
в счетчике жидкости (Tт)j |
|||||
|
1 |
2 |
3 |
4 |
5 |
6 |
7 |
|
1 |
|
|
|
|
|
|
|
2 |
|
|
|
|
|
|
|
3* |
|
|
|
|
|
|
|
4 |
|
|
|
|
|
|
|
5* |
|
|
|
|
|
|
|
… |
|
|
|
|
|
|
|
… |
|
|
|
|
|
|
|
… |
|
|
|
|
|
|
|
* Номера измерений, выделяемые только для счетчиков жидкости с проскоком и только при применении статического метода измерений объема дозы жидкости. |
||||||
(Измененная редакция. Изм. № 1)
Таблица В.7 - Базовая высота резервуара
В миллиметрах
|
Базовая высота резервуара до определения вместимости резервуара |
Базовая высота резервуара после определения вместимости резервуара |
||
|
|
|
|
|
|
|
|
|
|
Таблица В.8 - Максимальный уровень жидкости
В миллиметрах
|
Показание измерительной рулетки с грузом Нp max |
Показание Нy max |
|
|
1-е измерение |
2-е измерение |
|
|
|
|
|
Таблица В.9 - Параметры коэффициента преобразования счетчика жидкости
|
Коэффициент |
|
|
К0, имп/дм3 |
А, имп × с/дм3 |
|
|
|
Таблица В.9.1 - Параметры счетчика жидкости со сдвигом дозирования и проскоком
|
Наименование параметра |
Значение параметра при расходе Q, дм3/мин |
|||
|
100 |
150 |
200 |
250 |
|
|
Сдвиг дозирования С, дм3 |
|
|
|
|
|
Проскок Пр, дм3 |
|
|
|
|
(Введена дополнительно. Изм. № 1)
Должности Подписи и оттиски Инициалы, фамилии
поверительного клейма, печатей
(штампов)
Г.1 Вычисление длины внутренней окружности и высоты первого пояса
Г.1.1 Длину наружной окружности первого пояса Lн вычисляют по формуле 1)
(Г.1)
где Lн1, L н2 - результаты двух измерений длины окружности первого пояса;
Dlобхj - поправка на обход j-й выступающей детали;
n1 - число выступающих деталей.
1) Все расчеты проводят до 8-й значащей цифры, затем результат округляют для длин до целого числа миллиметров, для объемов - до целого числа тысячных долей метра кубического. Во всех формулах значения линейных размеров указывают в миллиметрах, объемы - в метрах кубических, массу - в килограммах, температуру - в градусах Цельсия, плотность - в килограммах на метр кубический.
Г.1.2 Длину внутренней окружности первого пояса Lвн вычисляют по формуле
Lвн = Lн-2π (δ1+δс.к+δс.п), (Г.2)
где d1 - толщина стенки первого пояса;
dс.к - толщина слоя краски;
δс.п - толщина слоя антикоррозийного покрытия.
(Измененная редакция. Изм. № 1)
Г.1.3 Если при поверке в резервуаре находится жидкость, то длину внутренней окружности первого пояса, недеформированного от действия гидростатического давления жидкости, Lвн.ц вычисляют по формуле
Lвн.ц = Lвн - 2p × Drг, (Г.3)
где p = 3,1415926 (здесь и далее везде);
Drг - увеличение радиуса первого пояса, вызванное гидростатическим давлением жидкости, вычисляемое по формуле
(Г.4)
где g - ускорение свободного падения, равное 9,8066 м/с2;
rж.г - плотность жидкости, находящейся в резервуаре при поверке;
Нг - высота наполнения резервуара при поверке;
h1 - высота первого пояса;
Е - модуль упругости материала, Па (для стали Е = 2,1 × 1011 Па).
Примечание - Значение Drг учитывают, если Нг ³ 3000 мм, при 0 < Нг < 3000 мм принимают Drг =0.
Г.1.3.1 За значение длины внутренней окружности второго пояса резервуара с плавающей крышей (L*вн.ц)п2 при высоте поясов, равной 1500 мм, принимают значение длины внутренней окружности первого пояса (Lвн.ц)п1, определяемое по формуле
(Lвн.ц)п1 = Lн-2π (δ1+δс.к+δс.п) (Г.2а)
(Введен дополнительно. Изм. № 1)
Г.1.3.2 Длину внутренней окружности второго пояса резервуара с плавающей крышей при высоте поясов от 2250 до 3000 мм (L**вн.ц)п2 или длину внутренней окружности третьего пояса при высоте поясов 1500 мм (L*вн.ц)п3 определяют методом последовательных приближений, используя результаты отложений хорды S1 на уровне 1600 мм или на уровне 1200 мм по 9.1.12.2 настоящего стандарта в следующей последовательности:
а) в качестве первого приближения внутреннего диаметра пояса принимают значение внутреннего диаметра первого пояса, определенного по формуле (3и);
б) вычисляют центральный угол αх1, соответствующий остаточной хорде Sпо (например для второго пояса), по формуле
где Sпо - длина остаточной хорды, измеренной по 9.1.12.7;
D21 - внутренний диаметр второго пояса в первом приближении, значение которого принимают равным значению внутреннего диаметра первого пояса, определенного по формуле (3и);
в) вычисляют разность углов βх1 по формуле
βх1 = α1m1+αх1-360 °,
где α1 - центральный угол, вычисленный по формуле (3к) при числе отложений хорды m1 и принимаемый за значение первого приближения центрального угла;
г) вычисляют центральный угол α2 во втором приближении по формуле
(Г.2б)
Если βx1 < 0, то в формуле (Г.2б) принимают знак «+», если βx1 > 0 - знак «-»;
д) вычисляют внутренний диаметр второго пояса D22 во втором приближении по формуле
где S1 - хорда, длину которой вычисляют по формуле (3ж);
е) проверяют выполнение условия
Если это условие не выполняется, то определяют значение внутреннего диаметра второго пояса D32 в третьем приближении, вычисляя последовательно параметры по формулам:
βх2 = α2m1+αх2-360 °;
Проверяют выполнение условия
Если это условие не выполняется, то делают следующие приближения до выполнения условия
Выполняя аналогичные операции, указанные в перечислениях а) - е), определяют внутренний диаметр третьего пояса резервуара.
(Введен дополнительно. Изм. № 1)
Г.1.3.3 Длины внутренних окружностей второго (L*вн.ц)п2 и третьего (L**вн.ц)п3 поясов резервуара с плавающей крышей вычисляют по формулам:
(L*вн.ц)п2 = πD2;
(L**вн.ц)п3 = πD3,
где D2, D3 - внутренние диаметры второго и третьего поясов, определенные методом последовательного приближения по Г.1.3.2.
(Введен дополнительно. Изм. № 1)
Г.1.3.4 Длины внутренних окружностей вышестоящих поясов резервуара с плавающей крышей (Lвн.ц)пi вычисляют по формуле
(Lвн.ц)пi = (Lвн.ц)п1 - 2πΔRсрi, (г.10а)
где (Lвн.ц)п1 - длина внутренней окружности первого пояса, вычисляемая по формуле (Г.2а);
ΔRсрi - средние радиальные отклонения образующих резервуара, вычисляемые по формуле (Г.9);
i - номер пояса, выбираемый для резервуаров:
- при высоте поясов от 2250 до 3000 мм из ряда: 2, 3, ..., п;
- при высоте поясов 1500 мм из ряда: 3, 4, ..., п;
п - число поясов резервуара.
(Введен дополнительно. Изм. № 1)
Г.1.4 Внутреннюю высоту первого пояса h1 вычисляют по формуле
h1 = hн1 - hнх, (Г.5)
где hн1 - наружная высота первого пояса;
hнх - высота нахлеста.
Г.1.5 Результаты вычислений величин Lн, Lвн, Lвн.ц, h1, вносят в журнал, форма которого приведена в приложении Д.
Г.2 Вычисление длин внутренних окружностей и высот вышележащих поясов
Г.2.1 Вычисление средних радиальных отклонений образующих резервуара от вертикали
Г.2.1.1 Средние расстояния от стенки резервуара до нити отвеса вычисляют по формулам:
для первого пояса
(Г.6)
для верхнего пояса
(Г.7)
для остальных поясов
(Г.8)
где а - расстояние от стенки резервуара до нити отвеса;
i - номер пояса (1, ... , п);
k - номер образующей резервуара (1, 2, 3, ..., т);
н, с, в - обозначения сечений: нижнего, среднего, верхнего соответственно.
Г.2.1.2 Средние радиальные отклонения образующих резервуара DRс.рi вычисляют по формуле
где i - номер пояса.
(Измененная редакция. Изм. № 1)
Г.2.2 Длину внутренних окружностей Lвнi вышестоящих поясов вычисляют по формуле
Lвнi = Lн - 2p×(d1 + dс.к - DRсрi), (Г.10)
где di - толщина стенки i-го пояса;
dс.к - толщина слоя краски.
(Измененная редакция. Изм. № 1)
Г.2.3 При наличии жидкости в резервуаре в момент его поверки длину внутренних окружностей вышестоящих поясов, недеформированных от действия гидростатического давления жидкости, Lвн.цi, вычисляют по формуле
Lвн.цi = Lвнi - 2p × Drгi, (Г.11)
где Drгi - увеличение радиуса i-го пояса, вычисляемое по формуле
![]()
где Hг - по Г.1.3;
хi - расстояние от днища резервуара до середины i-го пояса, рассчитываемое по формуле
![]()
где hl - высота наполненного l-го промежуточного пояса;
hi - высота наполненного i-го пояса.
Примечание - При хi ³ Hг Drгi = 0.
Г.2.4 Если i-й пояс резервуара в соответствии с 9.1.2.5 настоящего стандарта имеет ребро жесткости, то значение величины Drгi, входящей в формулу (Г.3) или (Г.11), умножают на 0,4.
Г.2.5 Внутреннюю высоту вышестоящих поясов hi, вычисляют по формуле
hi = hнi - S1 hнxi + Si+1 hнх(i+l), (Г.12)
где hнi - наружная высота i-го пояса;
hнхi - высота нахлеста i-го пояса;
Si, Si+1 - величины, имеющие абсолютное значение, равное 1, и в зависимости от схемы нахлеста поясов в соответствии с таблицей Б.6 (графа 6) принимают знак «+» или «-»;
hнх(i+l) - высота нахлеста (i+1)-го вышестоящего пояса.
(Измененная редакция. Изм. № 1)
Г.2.6 Результаты вычислений aс.рi, DRс.рi, Lвнi, Lвн.цi вносят в таблицу Д.1 приложения Д.
Г.3 Вычисление степени наклона и угла направления наклона резервуара
(Измененная редакция. Изм. № 1)
Г.3.1 Степень наклона резервуара η вычисляют по формулам:
(Г.13)
(Г.14)
где Lн - длина окружности первого пояса, мм;
(Δlк)mах - максимальная разность показаний шкалы рейки, вычисляемая по формуле (3в) или (3г);
(Δlп)mах, (Δlл)mах - максимальные разности показаний шкалы рейки по правым и левым противоположным разбивкам, мм. Их значения определяют по формулам:
(Δlп)mах = (l'п)mах - (l"п)min
(Δlл)mах = (l'л)mах - (l"л)max
Значения величин (l'п)mах, (l"п)min, (l'л)mах, (l"л)max принимают по таблице Б.14.
Примечание - Степень наклона резервуара вычисляют по формуле (Г.13), если приближенное направление наклона контура днища совпадает с уточненным его направлением.
(Измененная редакция. Изм. № 1)
Г.3.2 По результатам измерений в соответствии с 9.1.3.4 устанавливают точки направления наклона резервуара и определяют число дополнительных разбивок п2, соответствующих 1°, от приближенного направления наклона резервуара (от точки разбивки N) до точного направления наклона резервуара.
(Измененная редакция. Изм. № 1)
Г.3.3 Угол φ в градусах между плоскостью (рисунок А.10а), проходящей через точку измерений уровня жидкости и базовой высоты резервуара на направляющей планке измерительного люка и продольную ось резервуара, и уточненным направлением наклона резервуара вычисляют по формуле
где N - номер разбивки (правая или левая от приближенного направления наклона резервуара), через которую проводят уточненное направление наклона резервуара;
т - число отметок разбивки длины окружности первого пояса резервуара;
п2 - число дополнительных разбивок, соответствующее максимальной разности показаний шкалы рейки (Δlк)mах или (Δlп)mах и (Δlл)mах.
(Измененная редакция. Изм. № 1)
Г.3.4 Исключен. Изм. № 1.
Г.3.5 Исключен. Изм. № 1.
Г.3.6 Результаты вычислений величин η и φ вносят в журнал, форма которого приведена в приложении Д;
(Измененная редакция. Изм. № 1)
Г.3.7 Резервуар считают не наклоненным, если выполняется условие
η ≤ ηmin,
где η - степень наклона резервуара, вычисляемая по формулам (Г.13), (Г.14), (Г.15);
ηmin - минимальная степень наклона резервуара. Значения величины ηmin в зависимости от номинальной вместимости резервуаров приведены в таблице Г.1.
Таблица Г.1
|
Наименование показателя |
Значение ηmin при номинальной вместимости резервуара, м3 |
||
|
100-700 |
1000-5000 |
10000-100000 |
|
|
Минимальная степень наклона ηmin |
0,0003 |
0,0001 |
0,00005 |
(Введен дополнительно. Изм. № 1)
Г.4 - г.4.6. Исключены. Изм. № 1.
Г.5 Вычисление вместимости «мертвой» полости
Г.5.1 Объем неровностей днища
при отсутствии
центральной трубы рассчитывают по формуле
где f1, f2, f3, …, f8 - расстояния по вертикали между концентрическими окружностями неровностей днища, вычисляемые по формуле
где bj - отсчет по рейке, установленной по периметру j-й концентрической окружности;
bj-1 - отсчет по рейке, установленной по периметру (j-1)-й вышележащей концентрической окружности.
(Измененная редакция. Изм. № 1)
Г.5.2 При наличии центральной трубы внутри резервуара величины bj и bj-1 вычисляют по формулам:
(Г.25)
где
,
,
,
- показания рейки, устанавливаемой во взаимно
противоположных точках j-й, (j-1)-й
концентрических окружностей.
Объем неровностей днища
при наличии
центральной трубы вычисляют по формуле
где r0 - радиус центральной трубы;
Lвн - длина внутренней окружности первого пояса;
f1, f2, f3, …, f8 - расстояния по вертикали между концентрическими окружностями неровностей днища. Величины f2, f3, …, f8 вычисляют по формуле (Г.24), а величину f1 вычисляют по формуле
(Г.26а)
где b0,i - показание рейки, установленной по стенке центральной трубы в i-ю точку окружности, образованную в стыке центральной трубы и неровностей днища.
(Измененная редакция. Изм. № 1)
Г.5.3 Высоту точки касания днища грузом рулетки с учетом наклона резервуара fл (рисунок А.17 приложения А) вычисляют по формуле
где h - степень наклона резервуара;
j - угол между направлением наклона резервуара и плоскостью, проходящей через центры резервуара и измерительного люка;
Hб - базовая высота резервуара;
b8.1 - показание рейки, установленной в точке пересечения 8-й окружности (окружности стенки резервуара) и 1-го радиуса;
bл - показание рейки в точке касания днища грузом рулетки;
l0 - координата точки отсчета значений уровня жидкости или базовой высоты (рисунок А.16 приложения А),
значение ее:
- при ступенчатом
расположении поясов резервуара
определяют по формуле
где dн, dвн - наружный и внутренний диаметры измерительного люка;
- при телескопическом
расположении поясов
определяют по формуле
где di - толщина стенки i-го пояса.
(Измененная редакция. Изм. № 1)
Г.5.4 Уровень жидкости в резервуаре, соответствующий высоте «мертвой» полости Нм.п:
- при наличии приемно-раздаточного патрубка (рисунок А.17 или А.18) Н'м.п вычисляют по формуле
- при наличии приемно-раздаточного устройства (рисунок А.17а) Н"м.п вычисляют по формуле
(Г.30а)
где hм.п - высота «мертвой» полости резервуара;
fл - высота точки касания днища грузом рулетки, вычисляемая по формуле (Г.27);
hy - высота установки приемно-раздаточного устройства;
hc - расстояние от нижнего образующего приемно-раздаточного устройства до его верхнего или нижнего среза;
lс - расстояние от центра среза приемно-раздаточного устройства до стенки резервуара;
lo - координата точки отсчета значений уровня или базовой высоты, вычисляемая по формуле (Г.28) или (Г.29).
В формуле (Г.30а) указывают знак «+», если срез приемно-раздаточного устройства находится выше высоты его места установки; знак «-», если срез приемно-раздаточного устройства находится ниже высоты его места установки.
(Измененная редакция. Изм. № 1)
Г.5.5 Уровень жидкости в резервуаре, соответствующий вместимости днища Н0 (рисунок А.19 приложения А) вычисляют по формуле
где Lвн - внутренняя длина окружности первого пояса резервуара.
Г.5.6 Уровень жидкости в
резервуаре
от точки касания
днища грузом рулетки до уровня Н0 (рисунок А.19 приложения А)
вычисляют по формуле
где Н0, fл - величины, вычисляемые по формулам (Г.31) и (Г.27)
Г.5.7 Неровности днища могут находиться в пределах «мертвой» полости (рисунок А.17 приложения А) или вне ее (рисунок А.18 приложения А).
Г.5.7.1 Высоту неровностей днищам f0 вычисляют по формуле
где (DVдн)0 - объем неровностей днища, вычисляемый по формуле (Г.23) или (Г.26);
Lвн - длина внутренней окружности первого пояса резервуара, вычисляемая по формуле (Г.2).
Г.5.7.2 Объем неровностей днища DV0, в пределах уровня Н'o при расположении измерительного люка ближе к опущенному (из-за наклона резервуара) краю кровли резервуара (рисунок А.19 приложения А) вычисляют по формуле
где α - угол, вычисляемый по формуле
(Измененная редакция. Изм. № 1)
Г.5.7.3 Объем неровностей
днища
при уровне выше
уровня
вычисляют по формуле
(Измененная редакция. Изм. № 1)
Г.5.7.4 Объем неровностей днища DVл при высоте, равной высоте точки касания днища грузом рулетки fл, при расположении измерительного люка ближе к поднятому краю кровли резервуара при выполнении условия fл > Hо ΔV'л вычисляют по формуле
Величину ΔVo вычисляют по формуле (Г.34).
При выполнении условия fл < Hо величину ΔV"л, соответствующую уровню (Ho - fл), вычисляют по формуле (Г.34).
(Измененная редакция. Изм. № 1)
Г.5.7.5 Объем неровностей
днища
при уровне выше точки
касания днища грузом рулетки вычисляют по формуле
Величину z вычисляют по формуле
z = (fл - Но) + H, (Г.37а)
где Н - уровень жидкости, значение которого изменяется от нуля до уровня, соответствующего высоте неровностей днища Нн.д.
Примечание - При выполнении условия fл < Hо величину ΔV"дн вычисляют по формуле (Г.35)».
(Измененная редакция. Изм. № 1)
Г.5.7.6 Величины а, b, λ, R, входящие в формулы (Г.34), (Г.34а) - (Г.37), вычисляют по формулам:
(Г.38)
(Г.39)
где f0 - высота неровностей днища, вычисляемая по формуле (Г.33);
fл - высота точки касания днища грузом рулетки, вычисляемая по формуле (Г.27);
Lвн - внутренняя длина окружности первого пояса резервуара, вычисляемая по формуле (Г.2);
- уровень жидкости в резервуаре,
отсчитываемый от точки касания днища грузом рулетки до уровня Н0,
вычисляемый по формуле (Г.32);
h - степень наклона резервуара, вычисляемая по формуле (Г.15) или по формулам (Г.16) - (Г.20);
H - уровень жидкости в резервуаре, отсчитываемый от точки касания днища грузом рулетки.
Примечание - Формулы (Г.35) и (Г.37) применяют при определении посантиметровой вместимости резервуара в пределах уровня, соответствующего высоте неровностей днища fo (при наличии).
(Измененная редакция. Изм. № 1)
Г.5.7.7 Уровень жидкости Нн.д, соответствующий высоте неровностей днища fo вычисляют по формуле
(Г.39а)
(Введен дополнительно. Изм. № 1)
Г.5.7.8 Если неровности днища выходят за пределы высоты «мертвой» полости резервуара (рисунок А.18), то объем неровностей днища в пределах высоты «мертвой» полости вычисляют по формуле (Г.35) или (Г.37) до уровня Нм.п, вычисляемого по формуле (Г.30).
(Введен дополнительно. Изм. № 1)
Г.5.7.9 Объем неровностей днища от уровня Нн.м до уровня Нн.д, вычисляемого по формуле (Г.39а), относят к объемам внутренних деталей, находящихся выше высоты «мертвой» полости.
(Введен дополнительно. Изм. № 1)
Г.5.7.10 Уровни жидкости, соответствующие нижней границе Ннд верхней границе Нвд внутренней детали, вычисляют по формулам:
(Г.39б)
(Г.39в)
где hнд, hвд нижняя и верхняя границы внутренней детали;
lд - расстояние от внутренней детали до стенки первого пояса резервуара;
fo - высота неровностей днища;
А (φ, φ1) - величина, зависимая от углов φ и φ1 (см. рисунок А.10а), вычисляют по формуле

(Введен дополнительно. Изм. № 1)
Г.5.8 Вместимость «мертвой» полости Vм.п вычисляют по формуле
где (Vм.п)1 - вместимость «мертвой» полости при уровне H, в пределах уровня H0 (рисунок А.19 приложения А);
(Vм.п)2 - вместимость «мертвой» полости при уровне H выше уровня H0;
DVдн - объем неровностей днища;
- объем внутренних деталей, находящихся в
«мертвой» полости.
Примечание - Знак значения вместимости «мертвой» полости резервуара, определенной по формуле (Г.40), должен быть положительным.
(Измененная редакция. Изм. № 1)
Г.5.8.1 Вместимость (Vм.п)1 вычисляют по формуле
(Г.41)
где Lвн - длина внутренней окружности первого пояса, вычисляемая по формуле (Г.2);
h - степень наклона резервуара, вычисляемая по формуле (Г.15) или по формулам (Г.16) - (Г.20),
α - угол, вычисляемый по формуле (Г.34а) при fл = 0
(Измененная редакция. Изм. № 1)
Г.5.8.2 Вместимость (Vм.п)2 вычисляют по формуле
(Г.42)
где Н - уровень, отсчитываемый от точки касания днища грузом рулетки.
Г.5.9 Результаты вычислений по формуле (Г.23) или по формулам (Г.26), (Г.27), (Г.30) - (Г.33) вносят в журнал, форма которого приведена в приложении Д.
Г.5.9.1 Площадь хлопуна Sx, м2, вычисляют по формуле
Sx = lxbx·10-6, (Г.42а)
где lx, bx - длина и ширина хлопуна соответственно, измеренные по 9.1.8.7 настоящего стандарта.
(Введен дополнительно. Изм. № 1)
Г.5.10 Вычисление базовой высоты
(Измененная редакция. Изм. № 1)
Г.5.10.1 Базовую высоту Нб вычисляют по формуле
Г.5.10.3 Результаты вычислений Нб вносят в журнал, форма которого приведена в приложении Д.
(Измененная редакция. Изм. № 1)
Г.6 Вычисление объема жидкости, вытесненной плавающим покрытием
Г.6.1 Объем жидкости, вытесненной плавающим покрытием, Vп вычисляют по формуле
Г.6.2 Результат вычисления величины Vп вносят в журнал, форма которого приведена в приложении Д.
Г.6.3 Объем жидкости, вытесненной плавающим покрытием, соответствующий дополнительной нагрузке на плавающее покрытие (например, от снега на плавающую крышу), определяют по формуле
где Dhд - глубина дополнительного погружения плавающего покрытия за счет дополнительной нагрузки;
Dп - диаметр плавающего покрытия;
D1, D2,... - диаметры отверстий в плавающем покрытии.
Величину Δhд, мм, вычисляют по формуле
Δhд =hпг - hэг, (Г.46а)
где hпг - высота газового пространства, измеряемая при поверке резервуара по 9.1.13 настоящего стандарта, мм;
hэг - высота газового пространства, измеряемая при эксплуатации резервуара, мм.
Объем жидкости, находящейся в резервуаре с плавающей крышей Vп.к, м3, вычисляют по формуле
Vп.к = V20 - Vп.д, (Г.46б)
где V20 - объем жидкости, определенный по градуировочной таблице резервуара, м3;
Vп.д - объем жидкости, вычисляемый по формуле (Г.46) с учетом высоты Δhд, м3.
(Измененная редакция. Изм. № 1)
Примечания
1 Значение величины Dhд определяют при эксплуатации резервуара по результатам измерений расстояния по вертикали между меткой, нанесенной на внутренней стенке резервуара до нагружения плавающего покрытия дополнительной нагрузкой, и точкой измерения на плавающем покрытии после нагружения его дополнительной нагрузкой.
2 Результат вычисления величины Vпд по формуле (Г.46) учитывают при измерениях объема жидкости в поверяемом резервуаре при его эксплуатации.
Г.7 Вычисление объема жидкости от исходного уровня до уровня, соответствующего всплытию плавающего покрытия
Г.7.1 Уровень жидкости, соответствующий расстоянию от днища резервуара до нижней части плавающего покрытия Нп, вычисляют по формуле
(Г.47)
где hп - расстояние от днища резервуара до нижней части плавающего покрытия, измеренное в соответствии с 9.1.11.2 настоящего стандарта.
(Измененная редакция. Изм. № 1)
Г.7.2 Уровень жидкости, соответствующий высоте всплытия плавающего покрытия резервуара Нвсп:
- при выполнении условия η ≤ ηmin Н'всп вычисляют по формуле
(Г.48)
где Vп - объем жидкости, вытесненный плавающим покрытием, вычисляемый по формуле (Г.45);
Vопор - объем опор плавающего покрытия. Если опоры смонтированы на днище резервуара, то значение Vопор в формуле (Г.48) принимают равным нулю;
Dп, D1, D2, ... - диаметры плавающего покрытия и отверстий в нем;
- при выполнении условия η > ηmin Н"всп вычисляют по формуле
Н"всп = Hп + Δh, (Г.48а)
где Δh - высота погружения плавающего покрытия, определяемая от нуля до предельной высоты Δhпред, решая уравнения
(Vп - Vопор) = F(Δh), (Г.48б)
где F(Δh) - функция, зависящая от высоты погружения плавающего покрытия, вычисляемая по формуле
(Г.48в)
где η - степень наклона резервуара. Величины ψ и Δhпред вычисляют по формулам:
Если при Δh = Δhпред значение правой части уравнения (Г.48б) меньше значений левой, то уровень жидкости Н'"всп, соответствующий высоте всплытия плавающего покрытия, вычисляют по формуле
Н'"всп = Нп + Δhпред + Δh1, (Г.48г)
где Δh1 - высота дополнительного погружения плавающего покрытия, вычисляемая по формуле
(Измененная редакция. Изм. № 1)
Г.7.3 Объем жидкости от исходного уровня до уровня, соответствующего всплытию плавающего покрытия, Vвсп:
- при выполнении условия η ≤ ηmin V'всп, м3, вычисляют по формуле
(Г.49)
где Vп - объем жидкости, вытесненный плавающим покрытием, вычисляемый по формуле (Г.45);
V'опор - объем части опор плавающего покрытия, находящейся в пределах уровня от Нм.п до Нвсп;
- при выполнении условия η > ηmin объем жидкости через каждое изменение уровня на 1 см в пределах уровня (Н - Нм.п) до уровня (Н - Нм.п) + Δhпред V"всп м3 вычисляют по формуле
(Г.49а)
где F(Δh) - функция, вычисляемая по формуле (Г.48в).
Если при уровне (Н - Нм.п) + Δhпред не происходит всплытие плавающего покрытия, то объем его всплытия V'"всп, м3, вычисляют по формуле
(Г.49б)
где V"всп - объем жидкости, вычисляемый по формуле (Г.49а) при Δh = Δhпред.
(Измененная редакция. Изм. № 1)
Г.7.4 Результат вычисления величины Vвсп вносят в журнал, форма которого приведена в приложении Д.
Г.8 Вычисление вместимости поясов резервуара
Г.8.1 Вместимость i-го недеформированного от гидростатического давления пояса резервуара Vцi вычисляют по формуле
где Lвн.цi - длина внутренней окружности i-го пояса, вычисляемая по формуле (Г.10);
hi - высота i-го пояса, вычисляемая по формулам (Г.5) и (Г.12);
h - степень наклона резервуара.
Г.8.2 Результаты вычислений вместимости Vцi вносят в таблицу Д.1 приложения Д.
Г.9 Вычисление поправки к вместимости
Г.9.1 Поправку к вместимости резервуара за счет гидростатического давления жидкости DVгi при наполнении i-го пояса вычисляют по формуле
где h1, d1 - высота и толщина стенки первого пояса;
hl, dl - высота и толщина l-го вышестоящего пояса;
i - номер наполненного пояса;
А2 - постоянный коэффициент для поверяемого резервуара, вычисляемый по формуле
(Г.52)
где g - ускорение свободного падения, м/с2 (g = 9,8066 м/с2);
rж.х - плотность хранимой жидкости;
Lвн.ц - длина внутренней окружности первого пояса, вычисляемая по формуле (Г.3);
Е - модуль упругости материала, Па, (для стали Е = 2,1 × 1011 Па).
Г.9.2 Все пояса резервуара разбивают на участки высотой, равной примерно 1 м. В этом случае индекс i означает номер участка.
Г.9.3 При наличии ребер жесткости по 9.1.2.5 настоящего стандарта поправку к вместимости резервуара вычисляют по формуле (Г.51) с учетом замедления деформации участка пояса с ребром жесткости.
Г.9.4 Результаты вычислений DVгi для уровней наполнения от 3 м заносят в таблицу Д.3 приложения Д.
Г.10 Вычисление вместимости резервуара
Г.10.1 Вместимость резервуара, соответствующую уровню жидкости H, VH вычисляют по формуле
где п - число наполненных поясов резервуара;
Vв.д - объем внутренних деталей, находящихся в резервуаре от уровня Hвсп до Н.
Примечание - Вместимость последнего частично наполненного пояса вычисляют по фактической высоте его наполнения.
|
ЖУРНАЛ Д.1 Вычисление длины наружной окружности первого пояса Lн = ... мм. Д.2 Вычисление длины внутренней окружности первого пояса: Lвн = ... мм; Lвн.ц = ... мм. Д.3 Вычисление длин внутренних окружностей вышестоящих поясов Таблица Д.1
Д.4 Вычисление степени наклона резервуара h = ... Д.5 Вычисление угла направления наклона резервуара j = ... Д.6 Вычисление базовой высоты Нб = ... мм. Д.7 Вычисление исходного уровня Ни = ... мм. Д.8 Вычисление вместимости «мертвой» полости Таблица Д.2
Нм.п = ... мм; (DVдн)0 = ... м3; Н0 = ... мм; fл = ... мм; f0 = ... мм; Д.9 Вычисление объема жидкости, вытесненной плавающим покрытием Д.9.1 Масса плавающего покрытия тп = ... кг Д.9.2 Объем жидкости, вытесненной плавающим покрытием Vп = ... м3 Д.9.3 Вычисление объема жидкости от исходного уровня, соответствующего всплытию плавающего покрытия Vвсп = ... м3 Д.10 Вычисление поправки к вместимости пояса резервуара за счет гидростатического давления жидкости
Д.11 Составление градуировочной таблицы Таблица Д.4
Вычисления провел ____________ __________________________ подпись инициалы, фамилия «____» _________________ _______ г. |
||||||||||||||||||||||||||||||||||||||||||||||||||||||||||||||||||||||||||||||||||||||||||||||||||||||||||||||||||||||||||||||||||||||||||||||||||||||||||||||||||||||||||||||||||||||||||||||||||||||||||||||||||||||||||||
Е.1 Вычисление уровня поверочной жидкости, соответствующего высоте «мертвой» полости
E.1.1 Уровень поверочной жидкости в резервуаре, соответствующий высоте «мертвой» полости, Нм.п вычисляют по формуле (Г.30) приложения Г.
Е.2 Вычисление высоты точки касания днища грузом рулетки
Е.2.1 Высоту точки касания днища грузом рулетки с учетом степени наклона резервуара fл вычисляют по формуле (Г.27) приложения Г.
Е.3 Вычисление базовой высоты и исходного уровня
Е.3.1 Базовую высоту резервуара Нб вычисляют по формуле (Г.43) приложения Г.
Е.3.2 Исходную высоту Ни вычисляют по формуле (Г.44) приложения Г.
Е.4 Вычисление степени наклона резервуара
Е.4.1 Степень наклона резервуара h вычисляют по формуле (Г.15) или по формулам (Г.16) - (Г.20) приложения Г.
Е.5 Результаты вычислений Нм.п, fл, Нб, Ни, h вносят в журнал, форма которого приведена в приложении Ж.
Е.6 Вычисление максимального уровня поверочной жидкости в резервуаре
Е.6.1 Максимальный уровень поверочной жидкости (далее - жидкости), измеренный измерительной рулеткой с грузом, Нp max вычисляют по формуле
(E.1)
где (Нp max)1, (Нp max)2 - результаты двух измерений максимального уровня, мм.
Е.7 Вычисление разности максимальных уровней жидкости в резервуаре
Е.7.1 Разность максимальных уровней жидкости в резервуаре, измеренных в конце его поверки уровнемером и измерительной рулеткой с грузом, DH вычисляют по формуле
где Нp.max, Ну.max - максимальные уровни жидкости, измеренные измерительной рулеткой с грузом и уровнемером, мм.
Е.7.2 Значение величины DH, вычисленной по формуле (Е.2), может быть больше или меньше нуля.
Е.8 Вычисление средней температуры жидкости в резервуаре
Е.8.1 Среднюю температуру жидкости в резервуаре при поступлении в него j-й дозы (Тр)j вычисляют по формуле
(E.3)
где
,
,
- температуры
жидкости, измеренные в точечных пробах, отобранных из резервуара после
поступления в него j-й дозы, в соответствии с 9.2.5 настоящего стандарта.
Е.9 Вычисление плотности жидкости в резервуаре
Е.9.1 Плотность жидкости в резервуаре после поступления в него j-й дозы rj вычисляют по формуле
где bj-1 - коэффициент объемного расширения жидкости, 1/°С. Его значение принимают для воды равным 200 × 10-6 1/°С, для нефти - по [5], для нефтепродуктов определяют в соответствии с [6] по формуле
(Тр)j, (Тр)j-1 - средние температуры жидкости в резервуаре, измеренные после поступления в него j-й и (j-1)-й доз жидкости, °С.
Е.10 Вычисление объемов доз жидкости
Е.10.1 Объем j-й дозы жидкости, прошедший через счетчик жидкости, (DVc)j вычисляют по формуле для счетчиков жидкости:
- с непосредственным отсчетом объема жидкости, дм3
- с импульсным выходным сигналом, имп.
- со сдвигом и проскоком дозирования, дм3:
(ΔV3c)j = (qj - qj-1) Kc (E.7a)
где qj, qj-1 - показания счетчика жидкости, дм3;
Nj, Nj-1 - показания счетчика жидкости, имп.;
К - коэффициент преобразования счетчика жидкости, имп./дм3.
Kc - поправочный коэффициент.
(Измененная редакция. Изм. № 1)
Е.10.2 Объем налитой в резервуар j-й жидкости (DVp)j, м3, соответствующий изменению уровня жидкости в резервуаре на:
- 10 мм - при динамическом методе поверки;
- 30 мм (в пределах «мертвой» полости) и 100 мм - при статическом методе поверки, вычисляют по формуле
где (DVc)j - объем j-й дозы, вычисленный по формуле (Е.6) или (Е.7);
bj - коэффициент объемного расширения жидкости, 1/°С. Его значение определяют в соответствии с формуле (Е.5);
(Tp)j - температура жидкости в резервуаре после поступления в него j-й дозы, °С;
(Tт)j - температура j-й дозы жидкости в трубопроводе, °С;
g - коэффициент сжимаемости жидкости, 1/МПа. Его значение принимают для воды равным 49 × 10-5 1/МПа, для нефти - по [5], для нефтепродуктов - по [6];
рj - избыточное давление жидкости в счетчике жидкости, МПа;
rj - плотность жидкости, вычисляемая по формуле (Е.4), кг/м3;
g - ускорение свободного падения, м/с2;
Нj - уровень жидкости в резервуаре, м.
E.10.3 Объем налитой в резервуар начальной дозы жидкости, соответствующий объему «мертвого» остатка, вычисляют по формуле
где (DVc)0 - объем начальной дозы жидкости, вычисленный по формуле (Е.6) или (Е.7) по показаниям счетчика жидкости q1, q0 в дм3 или N1, N0 в имп.;
(Tp)0 - температура жидкости в резервуаре, измеренная в первой пробе ее, отобранной из резервуара, в соответствии с 9.2.3.4 настоящего стандарта, °С;
(TT)0 - температура жидкости в трубопроводе, измеренная в момент отбора первой пробы, °С.
Е.10.4 Результаты вычислений по формулам (Е.8), (Е.9) вносят в журнал, форма которого приведена в приложении Ж.
Е.11 Вычисление температур жидкости в резервуаре по результатам измерений температур доз жидкости
E.11.1 Дозы жидкости: (DVc)0, (DVc)1, (DVc)2, …, (DVc)n, суммарный объем которых соответствует уровню жидкости в «мертвой» полости резервуара, имеют одинаковую температуру, равную температуре (Tp)0, измеренной в соответствии с 9.2.2.4 настоящего стандарта, °С.
E.11.2 Температуры жидкости в резервуаре в пределах объема суммарной дозы жидкости, соответствующего уровню жидкости в первом поясе, вычисляют по формулам:
где (Tp)0 - температура жидкости, измеренная в соответствии с 9.2.2.4 настоящего стандарта, °С;
(Tp)n+1, (Tp)n+2, …, (Tp)m-1 - температуры жидкости в резервуаре при поступлении в него (DVp)n+1, (DVp)n+2, …, (DVp)m-1 доз;
DТ1 - среднее температурное изменение, приходящееся на каждую дозу жидкости в пределах уровня жидкости в «мертвой» полости до уровня ее в первом поясе, °С, вычисляемое по формуле
![]()
где (Tp)m - температура жидкости в резервуаре при поступлении в него дозы (DVp)m, °С.
E.11.3 Температуры жидкости в резервуаре в пределах суммарных доз, соответствующих уровням жидкости в первом и втором поясах, вычисляют по формулам:
![]()
где (Tp)m+1, (Tp)m+2, …, (Tp)l-1 - температуры жидкости в резервуаре при поступлении в него (DVp)m+1, (DVp)m+2, …, (DVp)l-1 доз;
![]()
где (Tp)m, (Tp)l - температуры жидкости в резервуаре, измеренные при поступлении в него доз (DVp)m, (DVp)l.
E.11.4 Результаты вычислений по формулам (Е.10), (Е.11) вносят в журнал, форма которого приведена в приложении Ж.
E.12 Если выполняются условия:
а) при применении воды

![]()
б) при применении нефти и нефтепродуктов

![]()
то объемы доз вычисляют по формулам (Е.8), (Е.9) без поправок на температуру и давление.
Е.13 Вычисление дозовой вместимости резервуара
Е.13.1 Дозовую вместимость резервуара при поступлении в него k доз жидкости Vk, м3, вычисляют по формуле
где k - число налитых в резервуар доз жидкости;
j - номер налитой дозы, выбирают из ряда 0, 1, 2, ..., k;
(DVp)j - объем j-й дозы, вычисляемый по формуле (Е.8) или (Е.9), м3;
(Tp)k - температура жидкости в резервуаре при наливе в него k доз, °С;
(Tp)j - температура жидкости в резервуаре при наливе в него j-й дозы, °С;
bj - коэффициент объемного расширения жидкости, 1/°С. Его значение определяют по формуле (Е.5);
a - коэффициент линейного расширения материала резервуара, 1/°С.
Его значение для стали принимают равным 12,5 × 10-6 1/°С.
E.13.1.1 Значение k в формуле (Е.12) принимают:
k = 0 - при наливе дозы (DVp)0, объем которой соответствует уровню Н, рассчитываемому, как указано ниже:
Н = DH + 1 см (при DH > 0) или Н = 0 (при DH < 0), где DH вычисляют по формуле (Е.2);
k = 1 - при наливе дозы (DVp)1;
k = 2 - при наливе дозы (DVp)2
и т.д. до максимального уровня, соответствующего полной вместимости резервуара.
Е.13.1.2 Объемы доз (DVp)1, (DVp)2, ..., (DVp)n в пределах «мертвой» полости соответствуют изменению уровня жидкости в резервуаре не более чем на 30 мм.
E.13.2 При невозможности измерения средней температуры жидкости в резервуаре после налива в него каждой дозы дозовые вместимости вычисляют при наполнении:
- первого пояса (V1)k по формуле
![]()
где (Vм.п)0 - объем жидкости в «мертвой» полости резервуара, вычисляемый по формуле
![]()
где (DVp)j - объем j-й дозы жидкости, налитой в резервуар, вычисляемый по формулам (Е.8), (Е.9);
температуры (Tp)j, принимающие при j, равных n + 1, n + 2, ..., m - 1, соответственно значения (Tp)n+1, (Tp)n+2, …, (Tp)m-1, вычисляют по формуле (Е.10). Значения k принимают равными n + 1, n + 2, ..., т;
- второго пояса (V2)k по формуле
![]()
где V1 - вместимость первого пояса, вычисляемая по формуле (Е.13) при значении k = т.
Температуры: (Tp)m+1, (Tp)m+2, …, (Tp)l-1 вычисляют по формуле (Е.11).
Значения k принимают равными т + 1, т + 2, т + 3, ..., l;
- третьего и других вышестоящих поясов дозовые вместимости резервуара вычисляют аналогично по методике, изложенной выше.
Е.13.3 Температурные поправки не учитывают в формулах (Е.12), (Е.13) и (Е.14), если выполняются условия при:
- применении воды
![]()
![]()
- применении нефти и нефтепродуктов
![]()
![]()
(Измененная редакция. Изм. № 1)
E.13.4 Результаты вычислений по формулам (Е.12) - (Е.14) вносят в журнал, форма которого приведена в приложении Ж.
|
ЖУРНАЛ Ж.1 Вычисление высоты «мертвой» полости Нм.п = ... мм. Ж.2 Вычисление высоты превышения точки касания днища грузом рулетки над контуром днища fл = ... мм. Ж.3 Вычисление базовой высоты резервуара Нб = ... мм. Ж.4 Вычисление исходной высоты Ни = ... мм. Ж.5 Вычисление степени наклона резервуара h = ... . Ж.6 Вычисление максимального уровня Нр max = ... мм. Ж.7 Вычисление разности максимальных уровней DН = ... мм. Ж.8 Вычисление температур жидкости в резервуаре Таблица Ж.1 В градусах Цельсия
Ж.9 Вычисление дозовой вместимости Таблица Ж.2
Ж.10 Составление градуировочной таблицы
Вычисления провел ____________ __________________________ подпись инициалы, фамилия «____» _________________ _______ г. |
|||||||||||||||||||||||||||||||||||||||||||||||||||||||||||||||||||||||||||||||||||||||||||||
И.1 Резервуары изготавливают в соответствии с требованиями, изложенными ниже, по рабочим чертежам, утвержденным в установленном порядке.
И.2 Резервуары, находящиеся в сфере Государственного метрологического контроля и надзора, после их сооружения подлежат испытаниям для целей утверждения типа.
Допускается проведение испытаний для целей утверждения типа и первичной поверки резервуара в процессе приемки его после сооружения.
Допускается проведение поверки резервуаров, находящихся в эксплуатации, с выдачей документа «Свидетельство о поверке» без испытаний для целей утверждения типа.
(Измененная редакция. Изм. № 1)
И.3 Исключен. Изм. № 1.
И.4 Исключен. Изм. № 1.
И.5 Резервуары с плавающей крышей или понтоном изготавливают такими, чтобы плавающая крыша (понтон) могла без препятствий принимать положение, соответствующее уровню жидкости. Существенное искажение результатов измерений уровня и объема жидкости (кроме зоны наплыва) не допускается.
(Измененная редакция. Изм. № 1)
И.6 Резервуар должен иметь дополнительный люк-лаз для обслуживания понтона.
И.7 Плавающая крыша (понтон) должна иметь измерительный люк для измерений уровня жидкости и отбора проб и направляющие для исключения ее вращения.
И.8 Исключен. Изм. № 1.
И.9 Исключен. Изм. № 1.
И.10 Трубы для подвода и отвода жидкости из резервуара изготавливают так, чтобы при измерениях уровня жидкости была исключена возможность притока или выхода жидкости произвольным образом.
И.11 Резервуары могут быть оснащены стационарно встроенными элементами: змеевиками, пеноотводами, мешалками, уровнемерами, стационарными пробоотборниками, измерителями (датчиками) температуры и плотности, массомерами и другими устройствами. Комплектность оборудования резервуара должна соответствовать утвержденному проекту.
(Измененная редакция. Изм. № 1)
И.12 Резервуары изолируют после их поверки.
И.13 Для ручных измерений уровня жидкости резервуар должен иметь измерительный люк с направляющей планкой, изготовленной из бронзы или латуни. При этом планка должна иметь риску для отсчета при измерениях уровня жидкости и базовой высоты резервуара. Для измерения базовой высоты резервуара с плавающей крышей резервуар должен иметь дополнительный измерительный люк, установленный на направляющей стойке плавающей крыши или на трубе для радарного уровнемера.
(Измененная редакция. Изм. № 1)
И.14 Исключен. Изм. № 1.
И.15 Базовую высоту резервуара измеряют ежегодно. Ее значение не должно изменяться более чем на ± 0,1 %.
И.16 Пределы допускаемой относительной погрешности измерений уровня жидкости в резервуаре: ± 0,1 %.
И.17 Межповерочный интервал для всех типов вертикальных резервуаров должен быть не более 5 лет.
(Измененная редакция. Изм. № 1)
И.18 Техническая документация вновь сооружаемого резервуара подлежит экспертизе в части выполнения требований метрологического обеспечения в установленном порядке 1).
________________________
1) На территории Российской Федерации экспертизу проводит ФГУП ВНИИР ГНМЦ или другой ГНМЦ по специализации.
(Введены дополнительно. Изм. № 1)
K.1 Форма титульного листа градуировочной таблицы
|
УТВЕРЖДАЮ ГРАДУИРОВОЧНАЯ ТАБЛИЦА _________________ № ___________________ тип Организация______________________________________________________________ Погрешность определения вместимости______________________________________ Участок ниже Нм.п = ... мм для государственных учетных и торговых операций с нефтью и нефтепродуктами, взаимных расчетов между поставщиком и потребителем не используется. Программа расчета градуировочной таблицы на ПЭВМ утверждена ГНМЦ - ВНИИР «____» ___________ г. Срок очередной поверки__________________________________ Поверитель ________________________ подпись ________________________ должность, инициалы, фамилия ________________________ подпись ________________________ должность, инициалы, фамилия ________________________ подпись ________________________ должность, инициалы, фамилия |
(Измененная редакция. Изм. № 1)
К.2 Форма градуировочной таблицы
Организация______________________________________________________________
Резервуар №______________________________________________________________
Таблица K.1 - Посантиметровая вместимость ... пояса резервуара
Лист …
|
Уровень наполнения, см |
Вместимость, м3 |
Уровень наполнения, см |
Вместимость, м3 |
|
Нм.п |
|
|
|
|
Нм.п+1 |
|
|
|
|
Нм.п+2 |
|
|
|
|
… |
|
|
|
|
… |
|
|
|
|
… |
|
|
|
|
|
|
|
|
|
… |
|
|
|
|
|
|
|
|
(Измененная редакция. Изм. № 1)
Таблица К.2 - Средняя вместимость ... пояса резервуара в пределах вместимости, приходящейся на 1 см высоты наполнения
|
Уровень наполнения, мм |
Вместимость, м3 |
Уровень наполнения, мм |
Вместимость, м3 |
Уровень наполнения, мм |
Вместимость, м3 |
|
1 |
|
4 |
|
7 |
|
|
2 |
|
5 |
|
8 |
|
|
3 |
|
6 |
|
9 |
|
(Измененная редакция. Изм. № 1)
|
СОГЛАСОВАНО УТВЕРЖДАЮ Руководитель органа Государственной Руководитель предприятия - владельца метрологической службы резервуара (директор, гл. инженер) АКТ Составлен в том, что комиссия*, назначенная приказом по _______________________ наименование ____________________________________, в составе председателя________________ предприятия - владельца резервуара ____________________________________ и членов:____________________________ инициалы, фамилия инициалы, фамилии провела по ГОСТ________ контрольные измерения базовой высоты резервуара ____ *) ________________________________________________________ №______________ тип резервуара, номинальная вместимость при температуре окружающего воздуха _______________ °С. Результаты измерений представлены в таблице 1. * Указывают при заполнении. **В состав комиссии должен быть включен специалист, прошедший курсы повышения квалификации по поверке и калибровке резервуаров и трубопроводов Таблица 1 В миллиметрах
Относительное
изменение базовой высоты резервуара dб, %, вычисляют по формуле Вывод - требуется (не требуется) корректировка градуировочной таблицы. Председатель комиссии __________ __________________ подпись инициалы, фамилия Члены: __________ __________________ подпись инициалы, фамилия __________ __________________ подпись инициалы, фамилия __________ __________________ подпись инициалы, фамилия |
|||||||||||
(Измененная редакция. Изм. № 1)
Л.2 Исключен. Изм. № 1.
1 ТУ 257761.007-87 Толщиномер ультразвуковой УТ-93П
2 РД 50-388-83 Методические указания. Уровнемеры жидкости образцовые. Методы и средства поверки
4 ТУ 25-1819.0021-90 Секундомеры
6 РД 153-39-011-97 Инструкция по учету нефтепродуктов на магистральных нефтепродуктопроводах
Ключевые слова: вместимость, резервуар, уровнемер, счетчик, наклон, жидкость, погрешность, уровень, градуировка, поверка, температура, плотность, влага, всплытие, наполнение, опорожнение, операция, количество, давление, сжимаемость, диапазон
|
|
|
|