//
ТехЛит.ру
- крупнейшая бесплатная электронная интернет библиотека для "технически умных" людей.
WWW.TEHLIT.RU - ТЕХНИЧЕСКАЯ ЛИТЕРАТУРА

:: Алготрейдинг::


АЛГОТРЕЙДИНГ
шаг за шагом
с нуля по урокам!

Торговые роботы на PYTHON, BackTrader,
Pandas, Pine Script для TradingView. Связка с брокерами, телеграм и легкими приложениями.


ГОСТ 22.6.02-97

ГОСТ Р 22.6.02-95

МЕЖГОСУДАРСТВЕННЫЙ СТАНДАРТ

БЕЗОПАСНОСТЬ В ЧРЕЗВЫЧАЙНЫХ СИТУАЦИЯХ

МОБИЛЬНЫЕ СРЕДСТВА ОЧИСТКИ
ПОВЕРХНОСТНЫХ ВОД

ОБЩИЕ ТЕХНИЧЕСКИЕ ТРЕБОВАНИЯ

МЕЖГОСУДАРСТВЕННЫЙ СОВЕТ
ПО СТАНДАРТИЗАЦИИ, МЕТРОЛОГИИ И СЕРТИФИКАЦИИ

Минск

Предисловие

1 РАЗРАБОТАН АО Научно-исследовательским институтом коммунального водоснабжения и очистки воды (АО НИИ КВОВ) и доработан с участием рабочей группы специалистов Технических комитетов по стандартизации ТК 71 «Гражданская оборона, предупреждение и ликвидация чрезвычайных ситуаций» и ТК 343 «Качество воды»

ВНЕСЕН Техническим комитетом по стандартизации ТК 71 «Гражданская оборона, предупреждение и ликвидация чрезвычайных ситуаций»

2 ПРИНЯТ И ВВЕДЕН В ДЕЙСТВИЕ Постановлением Госстандарта России от 31 июля 1995 г. № 407

Постановлением Госстандарта России от 16 апреля 1998 г. № 122 ГОСТ 22.6.02-97 введен в действие в качестве государственного стандарта Российской Федерации с момента принятия указанного постановления и признан имеющим одинаковую силу с ГОСТ Р 22.6.02-95 на территории Российской Федерации в связи с полной аутентичностью их содержания

3 ВВЕДЕН ВПЕРВЫЕ

МЕЖГОСУДАРСТВЕННЫЙ СТАНДАРТ

Безопасность в чрезвычайных ситуациях

МОБИЛЬНЫЕ СРЕДСТВА ОЧИСТКИ ПОВЕРХНОСТНЫХ ВОД

Общие технические требования

Safety in emergencies
Mobile surface water treatment units
General technical requirements

Дата введения 1996-07-01

1 ОБЛАСТЬ ПРИМЕНЕНИЯ

Настоящий стандарт устанавливает общие технические требования на мобильные средства очистки поверхностных вод (далее - МСОПВ).

Стандарт не распространяется на мобильные установки для опреснения соленых вод.

Настоящий стандарт распространяется на организации и предприятия, заказывающие, разрабатывающие и производящие МСОПВ.

2 НОРМАТИВНЫЕ ССЫЛКИ

В настоящем стандарте использованы ссылки на следующие стандарты и документы:

ГОСТ 20.39.108-85 Комплексная система общих технических требований. Требования по эргономике, обитаемости и технической эстетике. Номенклатура и порядок выбора

ГОСТ 27.002-89 Надежность в технике. Основные понятия. Термины и определения

ГОСТ 27.003-90 Надежность в технике. Состав и общие правила, задания требований по надежности

ГОСТ 2761-84 Источники централизованного хозяйственно-питьевого водоснабжения. Гигиенические, технические требования и правила выбора

ГОСТ 2874-82* Вода питьевая. Гигиенические требования и контроль качества

* На территории Российской Федерации действует ГОСТ Р 51232-98.

ВСН ВК 4-90 Инструкция по подготовке и работе систем хозяйственно-питьевого водоснабжения в чрезвычайных ситуациях

3 ОПРЕДЕЛЕНИЯ И СОКРАЩЕНИЯ

3.1 В настоящем стандарте применяют следующие термины и сокращения:

- мобильные средства очистки поверхностных вод (МСОПВ);

- поверхностные источники водоснабжения (ПИВ);

- питьевая вода (ПВ);

- системы централизованного хозяйственно-питьевого водоснабжения (СХПВ);

- чрезвычайная ситуация (ЧС);

- резервуары питьевой воды (РПВ);

- водозаборное устройство (ВЗУ);

- водоочистная установка (ВУ).

4 ОБЩИЕ ТЕХНИЧЕСКИЕ ТРЕБОВАНИЯ

4.1 МСОПВ предназначены для обеспечения ПВ населения городов и поселков, в которых частично или полностью прекратилась подача ПВ СХПВ и возникла ЧС.

4.2 МСОПВ могут быть использованы в ЧС в соответствии с инструкцией ВСН ВК 4, когда СХПВ осуществляют очистку воды на уровне, не полностью отвечающем требованиям ГОСТ 2874, а также в штатных условиях для обеспечения медицинских учреждений, детских садов и др. предприятий, нуждающихся в ПВ более высокого качества, чем это предусмотрено ГОСТ 2874.

4.3 МСОПВ должно надежно обеспечивать очистку воды ПИВ I, II и III классов по ГОСТ 2761. Для МСОПВ, предназначенных для очистки воды в ЧС при повышенных уровнях загрязнения, соответствующие требования устанавливают в ТЗ на их разработку.

4.4 Качество ПВ, очищенной МСОПВ, должно соответствовать требованиям ГОСТ 2874, а в ЧС, по согласованию с местными санитарными органами, допускается снижение требований к ПВ в соответствии с инструкцией ВСН ВК 4.

4.5 Конструкция МСОПВ должна обеспечивать забор воды из ПИВ, ее реагентную обработку, очистку от механических, химических и биологических загрязнений, обеззараживание, заполнение входящих в состав установки РПВ, раздачу ПВ населению, включая заправку передвижных средств, и периодическую промывку водоочистного оборудования.

4.6 Производительность МСОПВ устанавливают в ТЗ на разработку конкретных образцов с учетом возможностей, размещения водоочистного и вспомогательного оборудования на подвижном объекте повышенной проходимости и других факторов.

4.7 МСОПВ должен быть приспособлен к работе и сохранять работоспособность в любое время года и суток во всех климатических зонах России при температурах окружающего воздуха от минус 40 до плюс 50 °С, относительной влажности до 98 % и температуре подаваемой на очистку воды от 0 до 25 °С.

4.8 Показатели надежности МСОПВ устанавливают в ТЗ на разработку конкретных образцов в соответствии с ГОСТ 27.002 и ГОСТ 27.003. Эти показатели не должны быть ниже следующих значений:

- наработка на отказ - 200 ч;

- ресурс до капитального ремонта - 3000 ч, с вероятностью 98 %;

- срок сохранности без переконсервации - 5 лет, с вероятностью 90 %;

- среднее время восстановления - 2 ч.

4.9 Общие эргономические требования, характеризующие приспособленность МСОПВ к человеку и обитаемость, должны соответствовать ГОСТ 20.39.108.

4.10 Время развертывания МСОПВ и подготовки к работе до начала подачи очищенной воды не должно превышать 3 - 5 ч.

4.11 Ресурс водоочистного оборудования по объему очищенной воды до замены фильтрующих и сорбционных загрузок или элементов устанавливают в ТЗ на разработку конкретных образцов в зависимости от качества очищаемой воды, производительности МСОПВ, режима эксплуатации и др.

4.12 МСОПВ должны быть оборудованы системами отопления, внутреннего и внешнего освещения, лабораторным столом и шкафами для спецодежды, инструмента, медикаментов, съемного оборудования и комплектующих.

4.13 На применение материалов, используемых в конструкции МСОПВ и контактирующих с очищаемой водой, должно быть получено разрешение органов Госкомсанэпиднадзора России, или они должны входить в соответствующие перечни материалов, разрешенных для применения в указанных целях.

Все используемые конструкционные материалы, функциональные элементы конструкции, покупные изделия следует изготавливать из сырья отечественного производства, а изготовление МСОПВ следует осуществлять на промышленных предприятиях России.

4.14 Электрооборудование, входящее в состав МСОПВ, должно иметь возможность подключения как к внешним сетям электроснабжения, так и к автономному передвижному электрогенератору.

4.15 В комплект оборудования МСОПВ должны входить полевой комплект для экспресс-контроля качества воды в источнике водоснабжения и ПВ.

4.16 При эксплуатации МСОПВ должны быть обеспечены электро-, пожаро- и взрывобезопасность обслуживания.

4.17 Рекомендации по конструкционному исполнению и расчетно-технологическим параметрам МСОПВ изложены в приложении А.

ПРИЛОЖЕНИЕ А

(рекомендуемое)

Рекомендации по конструкционному исполнению и расчетно-технологическим параметрам МСОПВ

А.1 МСОПВ должно представлять собой малогабаритную ВУ контейнерного типа с полным комплектом основного и вспомогательного оборудования, а также комплектом запасных инструментов и принадлежностей (ЗИП), позволяющая обеспечивать получение ПВ требуемого качества в полевых условиях. При производительности МСОПВ до 3 м3/ч установку следует располагать в кузове автомобиля, при большей - на прицепе.

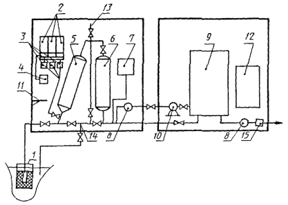
Варианты конструкционного оформления МСОПВ представлены на рисунках А.1 и А.2.

А.2 В состав основного оборудования установки должны входить: ВЗУ, тонкослойный отстойник, совмещенный с камерой хлопьеобразования, двухслойный фильтр, реагентный узел, блок обеззараживания и резервуар питьевой воды.

А.2.1 ВЗУ должно обеспечивать бесперебойную и постоянную по времени подачу воды в течение всего рабочего цикла.

А.2.2 Водоприемный оголовок ВЗУ должен быть выполнен в виде сетки с крупностью ячеек 1 мм для предотвращения попадания в насосный агрегат крупных загрязнений и молоди рыб, иметь приспособления для его надежной фиксации на водозаборе.

А.2.3 Параметры насосного оборудования и соединительных коммуникаций должны быть рассчитаны по максимальной производительности при использовании ПИВ 1-го класса.

А.2.4 Конструкция отстойника, совмещенного с камерой хлопьеобразования, должна обеспечивать его максимальную расчетную производительность при минимальных размерах и расчетных качественных показателях осветленной воды.

А.2.5 Конструкция фильтра должна обеспечивать очистку осветленной воды от механических, химических и биологических загрязнений. Учитывая специфику работы установки, необходимо предусматривать устройство двухслойного фильтра с осветлительной и сорбционной загрузкой. Допускается включение в технологическую схему двух последовательно расположенных однослойных фильтров.

А.2.6 Блок обеззараживания должен обеспечивать качество обработанной воды в отношении бактериальных загрязнений в соответствии с требованиями ГОСТ 2874.

1 - водозаборное устройство с насосом; 2 - баки для приготовления растворов реагентов; 3 - дозирующие устройства; 4 - компрессор; 5 - тонкослойный отстойник с камерой хлопьеобразования; 6 - фильтр; 7 - блок обеззараживания; 8 - расходомер; 9 - резервуар питьевой воды 1 - 2 шт.; 10 - промывной насос; 11 - рабочий стол; 12 - чистая вода на собственные нужды; 13 - устройство для выпуска воздуха из системы; 14 - водосток; 15 - водоразборный узел

Рисунок А.1 - Принципиальная схема МСОПВ с размещением в одном контейнере

А.2.7 Размеры РПВ должны быть рассчитаны на условия хранения в нем необходимого регулирующего объема ПВ и запаса ПВ на промывку оборудования ВУ.

А.2.8 ПВ из ВУ должна под избыточным напором поступать в РПВ. В верхней точке РПВ должно быть установлено устройство для выпуска воздуха.

А.3 В состав вспомогательного оборудования должны входить реагентный узел, промывной насос, полевая лаборатория анализа качества воды, системы отопления, внутреннего и внешнего освещения.

А.3.1 Баки для приготовления растворов реагентов (не менее трех) должны иметь емкость, рассчитанную на трехсуточную работу МСОПВ.

1 - водозаборное устройство с насосом; 2 - баки для приготовления растворов реагентов; 3 - дозирующие устройства; 4 - компрессор; 5 - тонкослойный отстойник с камерой хлопьеобразования; 6 - фильтр; 7 - блок обеззараживания; 8 - расходомер; 9 - резервуар питьевой воды; 10 - промывной насос; 11 - рабочий стол; 12 - электрогенератор; 13 - устройство для выпуска воздуха из системы; 14 - водосток; 15 - водоразборный узел

Рисунок А.2 - Принципиальная схема МСОПВ с размещением в двух контейнерах

А.3.2 Введение растворов реагентов в обрабатываемую воду следует осуществлять перед смесителем.

А.3.3 Промывной насос должен иметь производительность, обеспечивающую интенсивность промывки не менее 10 л/с×м2. Допускается в технологической схеме водоподготовки использовать центробежный насос для забора воды из ПИВ для промывки водоочистного оборудования.

А.4 В санитарно-гигиенических целях во внутреннем объеме МСОПВ необходимо предусмотреть умывальники и место для отдыха обслуживающего персонала.

А.5 Наружные габариты МСОПВ должны отвечать требованиям к подвижному составу и правилам перевозки по железным дорогам и движению транспортных средств по шоссейным дорогам.

А.6 Компоновка основного и вспомогательного технологического оборудования должна обеспечивать удобство при монтаже, ремонте и эксплуатации.

СОДЕРЖАНИЕ

Ключевые слова: мобильные средства очистки поверхностных вод, питьевая вода, поверхностные источники водоснабжения, чрезвычайная ситуация, резервуары питьевой воды, водозаборное устройство, водоочистная установка




Яндекс цитирования



   Copyright © 2007-2026,  www.tehlit.ru.

[ ѓосты, стандарты, нормативы, инструкции, правила, строительные нормы ]