//
ТехЛит.ру
- крупнейшая бесплатная электронная интернет библиотека для "технически умных" людей.
WWW.TEHLIT.RU - ТЕХНИЧЕСКАЯ ЛИТЕРАТУРА

:: Алготрейдинг::


АЛГОТРЕЙДИНГ
шаг за шагом
с нуля по урокам!

Торговые роботы на PYTHON, BackTrader,
Pandas, Pine Script для TradingView. Связка с брокерами, телеграм и легкими приложениями.


ГОСУДАРСТВЕННЫЙ СТАНДАРТ СОЮЗА ССР

ДЕТАЛИ КРЕПЛЕНИЯ ТРУБОПРОВОДОВ

СКОБЫ ЧЕТЫРЕХМЕСТНЫЕ

Конструкция и размеры

ГОСТ 24136-80

ИЗДАТЕЛЬСТВО СТАНДАРТОВ

Москва

ГОСУДАРСТВЕННЫЙ СТАНДАРТ СОЮЗА ССР

Детали крепления трубопроводов

СКОБЫ ЧЕТЫРЕХМЕСТНЫЕ

Конструкция и размеры

Pipe-line fastening parts.
Four-seat cramps.
Design and dimensions

ГОСТ
24136-80

Взамен
ГОСТ 16690-71

Постановлением Государственного комитета СССР по стандартам от 25 апреля 1980 г. № 1891 срок введения установлен

с 01.01.81

Ограничение срока действия отменено, ИУС II-12-94

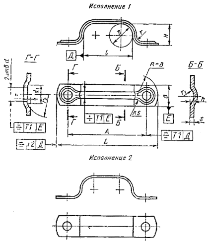
1 Настоящий стандарт распространяется на четырехместные скобы диаметром D от 4 до 50 мм.

2 Конструкция и размеры четырехместных скоб должны соответствовать указанным на чертеже и в таблице.

Примечания:

1. Все размеры, кроме размеров В и s, обеспечиваются инструментом.

2. Отклонение от центра радиуса R относительно оси поверхностей Е не должно быть более 1 мм.

Размеры, мм

D

A ± 0,5

b ´ s для исполнений

Н

L

d

H14

d1

h

1

r

r1

r2

Масса 1000 шт., кг, для исполнений

Применяемость для исполнений

1

2

Номин.

Пред.откл.

1

2

1

2

4

34

16 ´ 1,0

16 ´ 2

3

50

5,8

9

1,0

16

0,6

3

2

10

6,2

12,4

 

 

5

37

4

53

20

6,7

13,4

6

44

5

60

24

7,5

15,0

8

50

6

66

32

8,5

17,0

10

58

8

74

40

10,1

20,2

12

66

10

82

48

11,5

23,0

14

80

18 ´ 1,6

18 ´ 3

12

98

7,0

10

1,4

56

5

3

10

24,9

46,6

 

 

16

88

14

106

64

27,4

51,2

18

96

16

114

72

29,9

55,9

20

110

18

128

85

33,8

63,2

22

125

22 ´ 1,6

22 ´ 3

30

147

9,0

14

90

46,7

87,3

25

140

22

162

105

51,8

96,9

28

150

24

172

115

1,0

55,3

103,4

32

165

28

187

130

61,1

114,2

36

180

32

202

145

66,8

124,9

40

200

30 ´ 2,0

30 ´ 3

35

230

2,0

165

6

4

16

129,8

194,7

45

220

40

250

185

142,1

213,1

50

240

45

270

205

156,0

234,0

Пример условного обозначения четырехместной скобы исполнения 1 D = 20 мм из стали марки Ц9.хр:

Скоба 1-20-20-Ц9.хр ГОСТ 24136-80

То же, исполнение 2 из стали марки 12Х18Н10Т с покрытием Хим.Пас.:

Скоба 2-20- 12Х18Н10Т-Хим.Пас. ГОСТ 24136-80

3. Технические требования - по ГОСТ 24140-80.




Яндекс цитирования



   Copyright © 2007-2026,  www.tehlit.ru.

[ ѓосты, стандарты, нормативы, инструкции, правила, строительные нормы ]