//
ТехЛит.ру
- крупнейшая бесплатная электронная интернет библиотека для "технически умных" людей.
WWW.TEHLIT.RU - ТЕХНИЧЕСКАЯ ЛИТЕРАТУРА

:: Алготрейдинг::


АЛГОТРЕЙДИНГ
шаг за шагом
с нуля по урокам!

Торговые роботы на PYTHON, BackTrader,
Pandas, Pine Script для TradingView. Связка с брокерами, телеграм и легкими приложениями.


ГОСУДАРСТВЕННЫЙ СТАНДАРТ СОЮЗА ССР

ХРОМА ОКИСЬ ТЕХНИЧЕСКАЯ

ТЕХНИЧЕСКИЕ УСЛОВИЯ

ГОСТ 2912-79

ГОСУДАРСТВЕННЫЙ КОМИТЕТ СССР ПО СТАНДАРТАМ

Москва

ГОСУДАРСТВЕННЫЙ СТАНДАРТ СОЮЗА ССР

ХРОМА ОКИСЬ ТЕХНИЧЕСКАЯ

Технические условия

Technical chromium oxide.

Specifications

ГОСТ
2912-79

Срок действия с 01.01.80

до 01.01.95

Несоблюдение стандарта преследуется по закону

Настоящий стандарт распространяется на техническую окись хрома, предназначаемую для металлургической и лакокрасочной промышленности, производства строительных материалов, а также для полировальных процессов в часовой, приборостроительной, машиностроительной и других отраслях промышленности.

Настоящий стандарт устанавливает требования к технической окиси хрома, изготовляемой для нужд народного хозяйства и для поставки на экспорт.

Формула Cr2O3.

Молекулярная масса (по международным атомным массам 1977 г.) - 151,99.

(Измененная редакция, Изм. № 1, 3).

1. ТЕХНИЧЕСКИЕ ТРЕБОВАНИЯ

1.1. Окись хрома должна быть изготовлена в соответствии с требованиями настоящего стандарта по технологическому регламенту, утвержденному в установленном порядке.

1.2. В зависимости от области применения окись хрома должна выпускаться следующих марок и сортов:

пигментная - сортов ОХП-1 и ОХП-2;

металлургическая - сортов ОХМ-0 и ОХМ-1;

абразивная - сортов ОХА-0, ОХА-1 и ОХА-2.

Область применения марок приведена в рекомендуемом приложении 2.

1.3. По физико-химическим показателям окись хрома должна соответствовать нормам, указанным в табл. 1.

Таблица 1

Наименование показателя

Норма для марки и сорта

Пигментная

Металлургическая

Абразивная

ОХП-1

ОХП-2

ОХМ-0

ОХМ-1

ОХА-0

OXA-l

OXA-2

ОКП 21 2324 0130

ОКП 21 2324 0140

ОКП 21 2324 0220

ОКП 21 2324 0230

ОКП 21 2324 0320

ОКП 21 2324 0330

ОКП 21 2324 0340

1. Внешний вид

Порошок зеленого цвета

2. Массовая доля общего хрома в пересчете на Cr2O3, %, не менее

99

99

99

98

99

99

98

3. Массовая доля влаги, %, не более

0,15

0,15

0,10

0,15

0,15

0,15

0,15

4. Массовая доля веществ, растворимых в воде, %, не более

0,1

0,2

Не нормируется

0,2

0,2

0,5

5. рН водного раствора

6-8

6-8

То же

Не нормируется

6. Относительная красящая способность, %, не менее

105

95

"

То же

7. Цвет

В пределах образцов

"

"

8. Укрывистость, г/м2, не более

12

14

"

"

9. Массовая доля общей серы (S), %, не более

Не нормируется

0,01

0,02

"

10. Массовая доля общего железа в пересчете на FeO, %, не более

То же

0,10

0,15

"

11. Массовая доля углерода, %, не более

 

0,03

0,05

"

12. Массовая доля цветных металлов, %, не более

Не нормируется

 

 

мышьяка (As)

0,002

0,002

Не нормируется

цинка (Zn)

То же

0,002

0,002

То же

сурьмы (Sb)

 

0,0003

0,0003

"

висмута (Bi)

 

0,0003

0,0003

"

олова (Sn)

 

0,0003

0,0003

"

свинца (Рb)

 

0,0002

0,0002

"

кадмия (Cd)

 

0,0003

0,0003

"

13. Полирующая способность, мг/мин×см2, не менее

Не нормируется

0,2

0,1

0,3

14. Шероховатость поверхности после полировки (параметр Rz - высота неровностей профиля по десяти точкам), мкм, не более

 

То же

0,100 на базовой длине 0,80 мм

0,20 на базовой длине 0,25 мм

0,80 на базовой длине 0,25 мм

15. Остаток на сите, %, не более:

 

 

 

He нормируется

№ 0063К

0,1

0,2

"

 

5 мм

Не нормируется

Отсутствие

He нормируется

Отсутствие

Примечания:

1. Образцы цвета и красящей способности утверждаются в установленном порядке.

2. В окиси хрома марки «металлургическая» массовая доля общей серы и цветных металлов нормируется только для производства металлического хрома.

1.2, 1.3. (Измененная редакция, Изм. № 1, 2, 3).

2. ТРЕБОВАНИЯ БЕЗОПАСНОСТИ

2.1. Окись хрома пожаро- и взрывобезопасна, нерастворима в воде, кислотах и щелочах. По степени воздействия на организм является веществом высокоопасным - 2-й класс опасности по ГОСТ 12.1.007-76.

Предельно допустимая концентрация окиси хрома в воздухе рабочей зоны - 1 мг/м3. Концентрацию окиси хрома в воздухе рабочей зоны определяют по методике, соответствующей требованиям ГОСТ 12.1.016-79 и утвержденной Министерством здравоохранения СССР.

2.2. Окись хрома может попадать в организм при вдыхании в виде аэрозоля и вызывать острые отравления. При длительном воздействии на организм окись хрома концентрации, превышающей предельно допустимую, вызывает заболевания органов дыхания, желудочно-кишечного тракта, почек. При попадании на кожу окись хрома вызывает дерматиты, экземы, при попадания на поврежденную кожу - появление язв.

2.3. Производственные и лабораторные помещения, в которых проводится работа с окисью хрома, должны быть оснащены приточно-вытяжной вентиляцией по ГОСТ 12.4.021-75, обеспечивающей состояние воздуха рабочей зоны в соответствии с требованиями ГОСТ 12.1.005-88. Оборудование и коммуникации должны быть герметизированы. Места, где проводят все операции по обработке проб, должны быть снабжены местной вытяжной вентиляцией.

Работающие с окисью хрома должны быть обеспечены специальной одеждой и средствами индивидуальной защиты в соответствии с ГОСТ 12.4.103-83 и ГОСТ 12.4.034-85.

2.4. При погрузке и разгрузке окиси хрома должны соблюдаться требования безопасности в соответствии с ГОСТ 12.3.009-76.

Разд. 2. (Измененная редакция, Изм. № 3).

3. ПРАВИЛА ПРИЕМКИ

3.1. Окись хрома принимают партиями. Партией считают продукт одной марки и одного сорта, однородный по своим показателям качества, сопровождаемый одним документом о качестве, но не более сменной выработки.

Документ о качестве должен содержать:

наименование предприятия-изготовителя и его товарный знак;

наименование, марку и сорт продукта, классификационный шифр группы;

номер партия;

дату изготовления;

массу нетто;

количество упаковочных единиц, входящих в партию;

обозначение настоящего стандарта;

результаты проведенных анализов или подтверждение соответствия качества продукта требованиям настоящего стандарта.

3.2. Для контроля качества окиси хрома, упакованной в барабаны и мешки, от партии отбирают 5% единиц продукции, но не менее двух при партии менее 40 единиц.

Для контроля качества окиси хрома, упакованной в контейнеры, количество единиц продукции отбирают в зависимости от числа контейнеров в партии: от 2 до 10-2; св. 10 до 30-3; св. 30 до 50-4; св. 50-5.

3.1; 3.2. (Измененная редакция, Изм. № 1).

3.3. Для контроля качества окиси хрома у изготовителя в процессе производства точечные пробы отбирают перед затариванием непрерывно или через равные интервалы времени в количестве не менее 0,1 кг от каждых 4 т продукта.

(Измененная редакция, Изм. № 3).

3.4. При получении неудовлетворительных результатов анализа хотя бы по одному из показателей по нему проводят повторный анализ на удвоенной выборке от той же партии.

Результаты повторного анализа распространяются на всю партию.

3.5. Допускается изготовителю норму по показателям 3, 8, 10-12 (табл. 1) определять периодически в каждой двадцатой партии.

3.4, 3.5. (Введены дополнительно, Изм. № 3).

4. МЕТОДЫ АНАЛИЗА

4.1. Отбор проб

4.1.1. При отборе проб единицы продукции, отобранные для контроля, должны быть перед вскрытием тщательно очищены снаружи во избежание засорения продукта (попадание пыли и др.).

4.1.2. Точечные пробы окиси хрома отбирают из любых точек единиц продукции механическим пробоотборником или любым аналогичным средством, погружая его на полную рабочую длину.

Масса точечной пробы должна быть не менее 0,2 кг.

4.1.3. Отобранные точечные пробы соединяют вместе, тщательно перемешивают и получают объединенную пробу, из которой методом квартования получают среднюю пробу продукта массой не менее 0,5 кг.

4.1.1-4.1.3. (Измененная редакция, Изм. № 1).

4.1.4. Среднюю пробу помещают в чистую, сухую, плотно закрывающуюся банку или полиэтиленовый пакет.

На банку или пакет с пробой наносят следующие обозначения:

наименование предприятия-изготовителя, наименование продукта, номер партии, дату отбора пробы и надпись "Токсичен".

(Измененная редакция, Изм № 3).

4.2. Внешний вид окиси, хрома определяют визуально.

4.3. Определение массовой доли общего хрома

4.3.1. Определение массовой доли общего хрома в пересчете на Cr2O3 в продукте марок «пигментная» и «абразивная», а также марки «металлургическая», полученной тем же методом, что «пигментная» и «абразивная»

4.3.1.1. Аппаратура, реактивы и растворы

Бюретка по ГОСТ 20292-74.

Весы лабораторные 2-го и 4-го классов точности по ГОСТ 24104-88 с наибольшими пределами взвешивания 200 и 500 г соответственно.

Гири 2-го класса точности по ГОСТ 7328-82.

Мензурки по ГОСТ 1770-74.

Пипетки по ГОСТ 20292-74.

Цилиндр по ГОСТ 1770-74.

Вода дистиллированная по ГОСТ 6709-72.

Водорода перекись по ГОСТ 10929-76, свежеприготовленный раствор с массовой долей 2,5%.

Калий двухромовокислый по ГОСТ 4220-75 (перекристаллизованный и высушенный при 150°С), раствор концентрации с (1/6К2Cr2O7)=0,15 моль/дм3; готовят по ГОСТ 25794.2-83.

Кислота ортофосфорная по ГОСТ 6552-80.

Кислота серная по ГОСТ 4204-77 плотностью 1,84 г/см3 и раствор, разбавленный 1:1.

Кислота N, N'-фенилантраниловая (индикатор); готовят по ГОСТ 4919.1-77 растворением 0,20 г препарата в 100 см3 раствора углекислого натрия.

Натрий углекислый по ГОСТ 83-79, раствор с массовой долей 0,2%.

Натрия гидроокись по ГОСТ 4328-77, раствор с массовой долей 24%.

Соль закиси железа и аммония двойная сернокислая (соль Мора) по ГОСТ 4208-72, раствор концентрации с [FeSO4×(NH4)2SO4×6H2O]=0,2 моль/дм3; готовят по ГОСТ 25794.2-83. Коэффициент поправки соли Мора устанавливают ежедневно, для чего 50 см3 раствора двухромовокислого калия помещают в коническую колбу вместимостью 750 см3, добавляют 150 см3 воды, 15 см3 раствора серной кислоты, 5 см3 ортофосфорной кислоты, 1 см3 индикатора, доводят объем раствора водой до 300 см3 и титруют раствором соли Мора до перехода фиолетово-вишневой окраски в зеленую.

4.3.1, 4.3.1.1. (Измененная редакция, Изм. № 3).

4.3.1.2. Проведение анализа

(0,20±0,01) г окиси хрома взвешивают (результат взвешивания в граммах записывают до четвертого десятичного знака), помещают в коническую колбу вместимостью 750 см3, прибавляют пипеткой 10 см3 раствора двухромовокислого калия, 10 см3 серной кислоты плотностью 1,84 г/см3 и нагревают до заметного выделения паров серной кислоты. При этом раствор становится прозрачным и не наблюдается неразложившихся частичек окиси хрома. После охлаждения к раствору приливают 100 см3 воды и в несколько приемов прибавляют 70 см3 раствора гидроокиси натрия, 40 см3 раствора перекиси водорода, нагревают и кипятят в течение 20 мин для разложения перекиси водорода. К охлажденному раствору прибавляют раствор серной кислоты, разбавленной 1:1, до оранжевой окраски и еще избыток той же кислоты в объеме 15 см3. Далее добавляют 5 см3 ортофосфорной кислоты, 1 см3 индикатора, доводят объем раствора до 300 см3 водой и титруют раствором соли Мора до перехода фиолетово-вишневой окраски в зеленую.

4.3.1.3. Обработка результатов

Массовую долю общего хрома в пересчете на Cr2O3 (X) в процентах вычисляют по формуле

где V - объем раствора соли Мора концентрации точно 0,2 моль/дм3, израсходованный на титрование, см3;

V1 - объем раствора соли Мора концентрации точно 0,2 моль/дм3, соответствующий 10 см3 раствора двухромовокислого, калия концентрации точно 0,15 моль/дм3, см3;

0,005066 - масса окиси хрома, соответствующая 1 см3 раствора соли Мора концентрации точно 0,2 моль/дм3, г;

m - масса навески, г.

За результат анализа принимают среднее арифметическое результатов двух параллельных определений, допускаемые расхождения между которыми не должны превышать 0,3% при доверительной вероятности Р=0,95.

Допускаемая абсолютная погрешность результата измерения не должна превышать 0,4%.

4.3.1.2, 4.3.1.3. (Измененная редакция, Изм. № 1, 3).

4.3.2. Определение массовой доли общего хрома в пересчете на Cr2O3 в продукте марки «металлургическая»

4.3.2.1. Аппаратура, реактивы, и растворы

Бюретка по ГОСТ 20292-74.

Весы лабораторные 2-го и 4-го классов точности по ГОСТ 24104-88 с наибольшими пределами взвешивания 200 и 500 г соответственно.

Гири 2-го класса точности по ГОСТ 7328-82.

Мензурки по ГОСТ 1770-74.

Пипетки по ГОСТ 20292-74.

Тигель фарфоровый по ГОСТ 9147-80 № 4 или тигель никелевый.

Электропечь лабораторная, обеспечивающая температуру нагрева 750°С.

Вода дистиллированная по ГОСТ 6709-72.

Калий двухромовокислый по ГОСТ 4220-75 (перекристаллизованный и высушенный при 150°С), раствор концентрации с (1/6K2Cr2O7)=0,15 моль/дм3; готовят по ГОСТ 25794.2-83.

Калий марганцовокислый по ГОСТ 20490-75, раствор концентрации с (1/5КMnO4)=0,1 моль/дм3; готовят по ГОСТ 25794.2-83.

Кислота серная по ГОСТ 4204-77, раствор, разбавленный 1:1.

Кислота соляная по ГОСТ Э118-77, раствор, разбавленный 1:4.

Кислота ортофосфорная по ГОСТ 6552-80.

Кислота N, N'-фенилантраниловая (индикатор), готовят по ГОСТ 4919.1-77 растворением 0,20 г препарата в 100 см3 раствора углекислого натрия.

Натрий углекислый по ГОСТ 83-79, раствор с массовой долей 0,2%.

Натрия перекись.

Соль закиси железа и аммония двойная сернокислая (соль Мора) по ГОСТ 4208-72, раствор концентрация с [FeSO4×(NH4)2SO4×6H2O]=0,2 моль/дм3; готовят по ГОСТ 25794.2-83. Коэффициент поправки соли Мора устанавливают ежедневно, для чего 50 см3 раствора двухромовокислого калия помещают в коническую колбу вместимостью 750 см3, добавляют 150 см3 воды, 15 см3 раствора серной кислоты, 5 см3 ортофосфорной кислоты, 1 см3 индикатора, доводят объем раствора водой до 300 см3 и титруют раствором соли Мора до перехода фиолетово-вишневой окраски в зеленую.

4.3.2.2. Проведение анализа

(0,20±0,01) г окиси хрома взвешивают (результат взвешивания в граммах записывают до четвертого десятичного знака), помещают в фарфоровый или никелевый тигель, в который предварительно помещают 2,0 г окисляющего щелочного плавня.

При работе с фарфоровыми тиглями в качестве плавня используют перекись натрия, при работе с никелевыми тиглями - смесь перекиси натрия и углекислого натрия в соотношении (по массе) 2:1.

Навеску окиси хрома осторожно перемешивают с плавнем и засыпают сверху еще 1,0 г соответствующего плавня. Сплавление начинают в слабо нагретой части муфельной печи, постепенно передвигая тигель в центр печи. Через 5-7 мин с момента расплавления (при 750°С) содержимого тигля нагревание прекращают. Тигель охлаждают, помещают в стакан вместимостью 500 см3 и выщелачивают водой при нагревании (объем раствора 250 см3). Раствор количественно переводят в коническую колбу вместимостью 750 см3, нагревают до кипения и кипятят в течение 30 мин для разложения образовавшейся перекиси водорода. Полученный раствор (объем 200 см3) охлаждают, прибавляют раствор серной кислоты до оранжевой окраски и избыток той же кислоты 35 см3, 2,5 см3 марганцовокислого калия и нагревают до кипения. Затем добавляют 10 см3 раствора соляной кислоты, кипятят до исчезновения розовой окраски раствора и еще 5 мин. Раствор охлаждают, добавляют 25 см3 раствора серной кислоты, 5 см3 ортофосфорной кислоты, 1 см3 индикатора, доводят объем до 300 см3 водой и титруют раствором соли Мора до перехода фиолетово-вишневой окраски раствора в зеленую.

4.3.2.3. Обработка результатов

Массовую долю общего хрома в пересчете на Cr2O3 (X1) в процентах вычисляют по формуле

где V - объем раствора соли Мора концентрации точно 0,2 моль/дм3, израсходованный на титрование, см3;

0,005066 - масса окиси хрома, соответствующая 1 см3 раствора соли Mopa концентрации точно 0,2 моль/дм3, г;

m - масса навески, г.

За результат анализа принимают среднее арифметическое результатов двух параллельных определений, допускаемые расхождения между которыми не должны превышать 0,3% при доверительной вероятности Р=0,95.

Допускаемая абсолютная погрешность результата измерения не должна превышать 0,4%.

В окиси хрома марки «металлургическая», полученной тем же методом, что «пигментная» и «абразивная», определение содержания общего хрома в пересчете на Cr2O3 допускается проводить по п. 4.3.1.

4.4. Определение массовой доли влаги проводят по ГОСТ 21119.1-75, разд. 2, при этом берут навеску окиси хрома массой (5,00±0,25) г.

За результат анализа принимают среднее арифметическое двух параллельных определений, допускаемые расхождения между которыми не должны превышать 0,05% при доверительной вероятности Р=0,95.

4.5. Определение массовой доли веществ, растворимых в воде, проводят по ГОСТ 21119.2-75, разд. 1 - горячая экстракция. При этом для получения водной вытяжки берут навеску окиси хрома массой (20,0±0,5) г, кипятят ее в течение 5 мин, используя воду, не содержащую углекислоты (ГОСТ 4517-87), фильтруют через беззольный фильтр «синяя лента». Для вываривания экстракта используют платиновую чашку.

За результат анализа принимают среднее арифметическое двух параллельных определений, допускаемые расхождения между которыми не должны превышать 0,02% при доверительной вероятности Р=0,95.

4.3.2.3.-4.5. (Измененная редакция, Изм. № 1, 3).

4.5.1. Определение массовой доли веществ, растворимых в воде, может быть проведено так же кондуктометрическим методом по ГОСТ 21119.2-75, разд. 2 с построением градуировочного графика на смеси солей бихромата натрия и сульфата натрия в соотношении 1:1.

При разногласиях в оценке массовой доли веществ, растворимых в воде, анализ проводят методом горячей экстракции.

4.6. Определение рН водного раствора проводят по ГОСТ 21119.3-75, при этом водную вытяжку готовят по п. 4.5 настоящего стандарта.

За результат анализа принимают среднее арифметическое двух параллельных определений, допускаемые расхождения между которыми не должны превышать 0,1 рН при доверительной вероятности Р=0,95.

(Измененная редакция, Изм. № 1).

4.7. Относительную красящую способность определяют по ГОСТ 16872-78 визуальным или инструментальным методом.

При разногласиях в оценке относительной красящей способности анализ проводят инструментальным методом.

4.8. Цвет определяют по ГОСТ 16873-78 визуальным или инструментальным методом с помощью компаратора цвета типа ФКЦШ-М в полном тоне, при этом для приготовления пасты испытуемого и утвержденного образца берут 3 г окиси хрома и растирают с 2 см3 раствора желатины на мраморной или гранитной плите. Полученную массу наносят шпателем на чертежную бумагу до полного укрывания и перед измерением подсушивают.

Раствор желатины готовят следующим образом: 1,25 г желатины растворяют в 50 см3 воды на водяной бане при 60°С и добавляют 2 г (1,7 см3) глицерина. Раствор применяют на следующий день.

При разногласиях в оценке цвета анализ проводят инструментальным методом.

4.9. Укрывистость определяют по ГОСТ 8784-75 визуальным методом на шахматной доске, при этом берут 2 г окиси хрома и 2-3 г натуральной олифы по ГОСТ 7931-76.

4.10. Определение массовой доли общей серы

4.10.1. Аппаратура, реактивы и растворы

Весы лабораторные 2-го и 4-го классов точности по ГОСТ 24104-88 с наибольшими пределами взвешивания 200 и 500 г соответственно.

Гири 2-го класса точности по ГОСТ 7328-82.

Лодочки фарфоровые № 2 по ГОСТ 9147-80, предварительно прокаленные в муфельной печи при 900-1000°С в течение 4-5 мин, а затем в токе кислорода в течение 5 мин при рабочей температуре; хранят в эксикаторе.

Электропечь муфельная лабораторная, обеспечивающая температуру нагрева до 1000°С.

Вода дистиллированная по ГОСТ 6709-72.

Калий йодистый по ГОСТ 4232-74.

Калий йодноватокислый по ГОСТ 4202-75.

Калий марганцовокислый по ГОСТ 20490-75, раствор с массовой долей 4% в растворе гидроокиси калия.

Калия гидроокись по ГОСТ 24363-80 кристаллическая и раствор с массовой долей 30%.

Кальций хлористый прокаленный.

Кислота соляная по ГОСТ 3118-77 плотностью 1,19 г/см3.

Крахмал растворимый по ГОСТ 10163-76, свежеприготовленный раствор; готовят следующим образом: 0,5 г крахмала смешивают с 50 см3 холодной воды, полученную суспензию при перемешивании вливают в 950 см3 кипящей воды, прибавляют 5 см3 соляной кислоты и кипятят 1-2. мин. После охлаждения прибавляют раствор йодид-йодата калия до получения бледно-голубой окраски раствора.

Меди (II) окись по ГОСТ 16539-79, предварительно прокаленная при 800°С в течение 24 ч.

Образец окиси хрома стандартный по государственному реестру № 673-75.

Титрованный раствор йодид-йодата калия; готовят следующим образом: 0,1784 г йодноватокислого калия и 34 г йодистого калия растворяют в небольшом количестве воды и после растворения добавляют 0,8 г гидроокиси калия. Раствор переносят в мерную колбу вместимостью 1000 см3, доливают водой до метки и перемешивают. Раствор хранят в склянке из темного стекла. 1 см3 раствора соответствует приблизительно 0,08 мг серы. Титр раствора устанавливают одновременно с проведением анализа испытуемых проб (как указано в п. 4.10.3) по трем навескам стандартного образца окиси хрома. Одновременно проводят контрольный опыт с плавнем - окисью меди, ожигая его в этих же условиях. Титр раствора йодид-йодата калия (Т), г/см3 серы, вычисляют по формуле

где X'2 - массовая доля серы в стандартном образце окиси хрома, %;

m - масса навески стандартного образца окиси хрома, г;

V - объем раствора йодид-йодата калия, израсходованный на титрование, см3;

V1 - объем раствора йодид-йодата калия, израсходованный на титрование раствора контрольного опыта, см3.

Установка для сжигания серы (черт. 1) состоит из следующих элементов: баллона с кислородом 1, снабженного редукционным вентилем 2; реометра стеклянного лабораторного 3 по ГОСТ 9932-75; промывной склянки 4, содержащей раствор марганцовокислого калия в растворе гидроокиси калия; сушильной колонки, заполненной хлористым кальцием 5; трубчатой электропечи 8 с силитовыми нагревателями, обеспечивающими температуру нагрева 1350-1400°С; трубки фарфоровой, неглазурованной, термостойкой 9 длиной 750 мм, с внутренним диаметром 18-22 мм, предварительно прокаленной по всей длине при 1350-1400°С. Концы трубки должны выступать из печи на 180-200 мм. Во избежание нагрева концов фарфоровой трубки торцовые поверхности печи прикрывают асбестовыми экранами. Трубку закрывают герметически с обоих концов резиновыми пробками с отверстиями, в которые вставлены стеклянные соединительные трубки диаметром 5 мм. Для предотвращения обгорания резиновых пробок внутреннюю торцовую поверхность пробок закрывают асбестовыми прокладками; термопары платино-платинородиевой 7 по ГОСТ 3044-84; терморегулятора 6; трубки-фильтра 10 с тампоном из стеклянной ваты для задержания твердых частиц продуктов сгорания; отводной стеклянной трубки 11 диаметром 7 мм, согнутой под прямым углом и оканчивающейся барботером с диаметром отверстий 1,5-2,0 мм; стеклянного цилиндрического поглотительного сосуда 13 высотой 250 мм и диаметром 30 мм; стеклянного цилиндрического сосуда для раствора сравнения 14 высотой 250 мм и диаметром 30 мм; бюретки 12 по ГОСТ 20292-74.

Черт. 1

(Измененная редакция, Изм. № 1, 3).

4.10.2. Подготовка к анализу

Стеклянные части установки соединяют встык при помощи резиновых трубок так, чтобы продукты сжигания не находились в соприкосновении, с резиновыми трубками.

Перед началом анализа печь нагревают до температуры 1350-1400°С и проверяют герметичность установки.

Полноту сжигания серы в фарфоровой трубке контролируют следующим образом: поглотительный сосуд и сосуд для раствора сравнения наполняют на 1/2 высоты раствором крахмала, окрашенным раствором йодид-йодата калия до бледно-голубого цвета и пропускают через всю установку ток кислорода со скоростью 3-4 дм3/мин. Если через 5 мин синяя окраска в поглотительном сосуде исчезнет, то снова добавляют раствор йодид-йодата калия по каплям до бледно-голубой окраски раствора и вновь пропускают ток кислорода. Устойчивость окраски раствора в поглотительном сосуде свидетельствует о полном выгорании серы в фарфоровой трубке.

Для проверки правильности работы установки сжигают 2-3 навески стандартного образца окиси хрома. Для внесения поправки в анализируемую пробу проводят контрольный опыт, сжигая в этих же условиях плавень - окись меди без анализируемого продукта.

4.10.3. Проведение анализа

(0,50±0,02) г окиси хрома взвешивают (результат взвешивания в граммах записывают до четвертого десятичного знака), равномерным слоем помещают в фарфоровую лодочку, содержащую 1 г плавня, взвешенного с точностью до четвертого десятичного знака, и покрывают сверху еще такой же навеской плавня.

Поглотительный сосуд и сосуд для раствора сравнения, наполняют на 1/2 объема раствором крахмала, окрашенным раствором йодид-йодата калия до бледно-голубого цвета.

Лодочку помещают с помощью крючка из жаропрочной стали в наиболее нагретую часть фарфоровой трубки. Трубку быстро закрывают резиновой пробкой и сразу пропускают ток кислорода со скоростью 3-4 дм3/мин. Когда сернистый газ, поступающий из печи в поглотительный сосуд, начнет обесцвечивать нижний слой жидкости, из бюретки, по каплям прибавляют йодид-йодата калия со скоростью, обеспечивающей бледно-голубой цвет жидкости.

Сжигание окиси хрома считают законченным, когда раствор в поглотительном сосуде перестает обесцвечиваться и окраска растворов в поглотительном сосуде и сосуде с раствором сравнения будет одинаковой и устойчивой в течение 2 мин.

Прекращают ток кислорода, открывают пробку со стороны баллона с кислородом и извлекают лодочку; затем сливают жидкость из поглотительного сосуда, промывают его водой и снова заполняют для следующего определения.

(Измененная редакция, Изм. № 3).

4.10.4. Обработка результатов

Массовую долю общей серы (Х2) в процентах вычисляют по формуле

где V - объем раствора йодид-йодата калия, израсходованный на титрование, см3;

V1 - объем раствора йодид-йодата калия, израсходованный на титрование раствора контрольного опыта, см3;

Т - титр раствора йодид-йодата калия, выраженный в г/см3 серы;

m - масса навески, г.

За результат анализа принимают среднее арифметическое двух параллельных определений, допускаемые расхождения между которыми не должны превышать 0,004% при доверительной вероятности Р=0,95.

(Измененная редакция, Изм. № 1).

4.10.5. Определение массовой доли общей серы допускается проводить также с помощью автоматизированных экспресс-анализаторов на серу типов ЛС-7932, АН-7560 или другого типа с заданными чувствительностью и точностью.

При разногласиях в оценке массовой доли общей серы анализ проводят по пп. 4.10.1-4.10.4.

(Введен дополнительно, Изм. № 3).

4.11. Определение массовой доли общего железа в пересчете на FeO

4.11.1. Аппаратура, реактивы и растворы

Бюретка по ГОСТ 20292-74.

Весы лабораторные 2-го и 4-го классов точности по ГОСТ 24104-88 с наибольшими пределами взвешивания 200 и 500 г соответственно.

Гири 2-го класса точности по ГОСТ 7328-82.

Колбы мерные по ГОСТ 1770-74.

Колориметр фотоэлектрический лабораторный по ГОСТ 12083-78, имеющий светофильтр с областью пропускания (490±10) нм и кюветы с толщиной поглощающего свет слоя 50 мм.

Мензурка по ГОСТ 1770-74.

Пипетки по ГОСТ 20292-74.

Аммиак водный по ГОСТ 3760-79, раствор, разбавленный 1:1.

Бумага «конго» красная индикаторная.

Вода дистиллированная по ГОСТ 6709-72.

Гидроксиламина гидрохлорид по ГОСТ 5456-79, ч.д.а., раствор с массовой долей 10%.

2-2'-Дипиридил (альфа, альфа-дипиридил), спиртовый раствор с массовой долей 0,5%; готовят по ГОСТ 4517-87.

Квасцы железоаммонийные, раствор, содержащий 1 мг железа (Fe3+) в 1 см3 раствора, готовят по ГОСТ 4212-76; 10 см3 приготовленного раствора разбавляют раствором серной кислоты до 1 дм3; 1 см3 полученного раствора содержит 0,013 мг FeO - раствор А; раствор А применяют только в день приготовления.

Кислота серная по ГОСТ 4204-77 концентрированная и раствор концентрации с (1/2H2SO4)=0,01 моль/дм3.

Кислота соляная по ГОСТ 3118-77, раствор, разбавленный 1:1.

Кислота хлорная.

Натрий уксуснокислый 3-водный по ГОСТ 199-78, раствор с массовой долей 20%.

Натрий хлористый по ГОСТ 4233-77.

Ортофенантролин, раствор с массовой долей 0,2%; готовят следующим образом: 0,2 г препарата растворяют в 100 см3 горячей воды, раствор хранят в банке из оранжевого стекла.

(Измененная редакция, Изм. № 3).

4.11.2. Подготовка к анализу

4.11.2.1. Построение градуировочного графика.

Для построения градуировочного графика готовят стандартные растворы: в мерные колбы вместимостью 100 см3 отбирают из бюретки 0,5; 1,0; 2,0; 3,0; 4,0; 5,0; 6,0 см3 раствора А, что соответствует 0,0065; 0,013; 0,026; 0,039; 0,052; 0,065; 0,078 мг FeO, и добавляют в них воды до 20 см3.

Растворы нейтрализуют аммиаком по бумаге «конго» красной до перехода синего цвета в красный, затем добавляют соляной кислоты до сиреневого цвета бумаги и избыток той же кислоты (2 капли). В каждую колбу последовательно приливают 3 см3 раствора солянокислого гидроксиламина, раствор уксуснокислого натрия до изменения окраски индикаторной бумаги в красный цвет и 5 см3 раствора ортофенантролина или 2-2'-дипиридила, доводят объемы растворов водой до метки. После добавления каждого реактива содержимое колб тщательно перемешивают.

Одновременно готовят раствор сравнения, в который приливают все те же реактивы, кроме раствора А.

Через 10-15 мин измеряют оптическую плотность стандартных растворов по отношению к раствору сравнения в кювете с толщиной поглощающего свет слоя 50 мм, пользуясь зеленым светофильтром при длине волны l=490 мм.

По полученным данным строят градуировочный график, откладывая на оси абсцисс содержащиеся в стандартных растворах массы FeO в миллиграммах, а по оси ординат - соответствующие им значения оптических плотностей.

4.11.3. Проведение анализа

(0,500±0,025) г окиси хрома взвешивают (результат взвешивания в граммах записывают до четвертого десятичного знака), помещают в стакан вместимостью 300 см3, приливают 10 см3 концентрированной серной кислоты и 20 см3 хлорной кислоты. Стакан накрывают часовым стеклом и нагревают до видимого выделения паров хлорной кислоты. Иногда к концу растворения пробы начинают выделяться кристаллы хромового ангидрида, которые, обволакивая неразложившиеся частицы, задерживают растворение. В этом случае необходимо раствор охладить, прибавить к нему 2-3 см3 воды и снова нагреть до образования паров хлорной кислоты.

После окончания разложения пробы удаляют из раствора основную часть хрома. Для этого в нагретый до выделения паров хлорной кислоты раствор добавляют небольшими порциями (по 0,15-0,20 г) 5 г хлористого натрия. Новую порцию хлористого натрия вводят только после того, как восстановившийся хром снова окислится хлорной кислотой до шестивалентного и цвет раствора изменится на оранжевый. Далее прибавляют 3 см3 хлорной кислоты и нагревают до образования желтоватой окраски раствора.

Затем раствор охлаждают, прибавляют 70 см3 воды, нагревают и осаждают гидрат окиси железа аммиаком. Аммиак добавляют в количестве 30-40 см3 (до сильного запаха). Раствор доводят до кипения и оставляют на 30 мин в теплом месте (водяная баня) до коагуляции осадка. После этого осадок отфильтровывают через фильтр «белая лента», промывают горячей водой до исчезновения желтизны на фильтре и растворяют на фильтре 20 см3 горячей соляной кислоты, собирая раствор в стакан, в котором ранее проводилось осаждение, а затем фильтр хорошо промывают горячей водой. После охлаждения раствор переносят в мерную колбу вместимостью 250 см3, доводят объем раствора водой до метки и перемешивают. 20 см3 раствора помещают в мерную колбу вместимостью 100 см3, нейтрализуют аммиаком по бумаге конго красной до перехода синего цвета в красный, добавляют раствор соляной кислоты до сиреневого цвета бумаги и еще избыток той же кислоты (2 капли). Затем прибавляют в колбу 3 см3 солянокислого гидроксиламина, раствор уксуснокислого натрия до изменения окраски индикаторной бумаги в красный цвет, 5 см3 раствора ортофенантролина или 2,2'-дипиpидилa, доводят объем раствора водой до метки. После добавления каждого реактива содержимое колбы тщательно перемешивают.

Одновременно через все стадии анализа проводят контрольный опыт с теми же количествами реактивов, но без анализируемого раствора. Через 10-15 мин измеряют оптическую плотность анализируемого раствора по отношению к аликвотной части раствора контрольного опыта, как указано в п. 4.11.2.1.

4.11.4. Обработка результатов

Массовую долю общего железа в пересчете на FeO (Х3) в процентах вычисляют по формуле

где m1 - масса FeO, найденная по градуировочному графику, мг;

m - масса навески, г.

За результат анализа принимает среднее арифметическое двух параллельных определений, допускаемые расхождения между которыми не должны превышать 0,01% при доверительной вероятности Р=0,95.

(Измененная редакция, Изм. № 1).

4.11.5. Определение массовой доли железа может быть проведено также спектральным методом (см. приложение 1).

При разногласиях в оценке массовой доли общего железа анализ проводят фотоэлектроколориметрическим методом.

4.12. Определение массовой доли углерода

4.12.1. Аппаратура

Аппарат Бюрца-Штролейна для объемного определения углерода.

Весы лабораторные 2-го класса точности по ГОСТ 24104-88 с наибольшим пределом взвешивания 200 г.

Гири 2-го класса точности по ГОСТ 7328-82.

(Измененная редакция, Изм. № 3).

4.12.2. Проведение анализа

(1,00±0,05) г окиси хрома взвешивают (результат взвешивания в граммах записывают до третьего десятичного знака) в фарфоровой лодочке, затем вставляют в фарфоровую трубку печи Марса, нагретую до температуры не ниже 1200°С, и тут же дают ток кислорода. Окись хрома в токе кислорода прокаливают в течение 4-5 мин. Далее определение массовой доли углерода проводят по ГОСТ 27069-86.

(Измененная редакция, Изм. № 3).

4.12.3. Определение массовой доли углерода допускается проводить также с помощью автоматизированных экспресс-анализаторов на углерод типов АС-7932, АН-7560 или другого типа с заданными чувствительностью и точностью.

При разногласиях в оценке массовой доли углерода анализ проводят по пп. 4.12.1-4.12.2.

(Введен дополнительно, Изм. № 3).

4.13. Определение массовой доли цветных металлов

4.13.1. Аппаратура, реактивы и растворы

Весы лабораторные 2-го и 4-го классов точности по ГОСТ 24104-88 с наибольшими пределами взвешивания 200 и 500 г соответственно.

Весы торзионные типа ВТ с наибольшим пределом взвешивания 500 мг.

Генератор дуги переменного тока.

Гири 2-го класса точности по ГОСТ 7328-82.

Спектрограф кварцевый средней дисперсии.

Микрофотометр.

Станок для заточки электродов.

Ступка агатовая или яшмовая.

Угли графитированные для спектрального анализа марки ос. ч. 7-3 (электроды угольные) диаметром 6 мм; нижний электрод «рюмочного» типа с размером кратера 4´9, верхний заточен на усеченный конус (черт. 2) или угли фасонные для спектрального анализа марки ос. ч. 7-4, тип I - конус, тип III - «рюмочные».

Фотопластинки спектральные типа I чувствительностью 0,8 отн. ед. и типа III чувствительностью 7 отн. ед.

Шкаф сушильный, обеспечивающий температуру нагрева до 105°С.

Аммоний хлористый по ГОСТ 3773-72.

Ангидрид мышьяковистый по ГОСТ 1973-77, возогнанный.

Висмута (III) окись по ГОСТ 10216-75.

Вода дистиллированная по ГОСТ 6709-72.

Гидрохинон (парадиоксибензол) по ГОСТ 19627-74.

Кадмия оксид по ГОСТ 11120-75.

Калий бромистый по ГОСТ 4160-74.

Метол (4-метиламинофенол сульфат) по ГОСТ 25664-83.

Натрий сернистокислый по ГОСТ 195-77.

Натрий серноватистокислый (натрия тиосульфат) 5-водный по ГОСТ 27068-86.

Натрий углекислый по ГОСТ 83-79.

Натрий хлористый по ГОСТ 4233-77.

Олово (IV) оксид по ГОСТ 22516-77.

Проявитель метолгидрохиноновый; готовят следующим образом: 44 г углекислого натрия и 2 г бромистого калия растворяют в воде и доводят объем до 1 дм3 (раствор А); 2 г метола, 52 г сернистокислого натрия и 10 г гидрохинона последовательно растворяют в воде и доводят объем до 1 дм3 (раствор Б). Растворы А и Б смешивают 1:1 перед проявлением, которое проводят при 18-20°С.

Свинца (II) окись.

Спирт этиловый технический по ГОСТ 17299-78.

Сурьмы окись.

Фиксаж быстродействующий; готовят следующим образом:

300 г серноватистокислого натрия и 60 г хлористого аммония растворяют в воде и доводят объем до 1 дм3.

Цинка окись по ГОСТ 10262-73.

(Измененная редакция, Изм. № 3).

4.13.2. Приготовление образцов для построения градуированного графика

В качестве основы для приготовления образцов используют заводскую окись хрома, в которой определяемые примеси отсутствуют или их содержание минимально.

0,2376 г мышьяковистого ангидрида, 0,2242 г окиси цинка, 0,718 г окиси сурьмы, 0,0762 г двуокиси олова, 0,0216 г окиси свинца, 0,0224 г окиси висмута, 0,0228 г окиси кадмия и 19,3234 г основы - окиси хрома помещают в агатовую ступку, добавляют спирт, тщательно перемешивают и высушивают при температуре 100-105°С. Получают головной образец с массовой долей мышьяка и цинка по 0,9%, олова и сурьмы - по 0,3%, свинца, кадмия и висмута - по 0,1%.

Разбавлением головного образца основой в 10 раз готовят промежуточный образец, из которого последовательным разбавлением в три раза получают четыре рабочих образца. Массовая доля примесей в процентах в каждом из образцов указана в табл. 2. Если основа загрязнена определяемыми элементами, вводят поправку на их содержание.

4.13.3. Подготовка пробы и образцов к съемке

(0,900±0,001) г пробы или образца и (0,100±0,001) г хлористого натрия помещают в агатовую ступку и тщательно перемешивают.

(70±1) мг пробы или образца, содержащих хлористый натрий, взвешивают на торзионных весах, помещают в кратер нижнего электрода. Спектры анализируемой пробы и образцов снимают 2-3 раза на одной фотопластинке.

1 - верхний электрод, 2 - стаканчик, 3 - подставка

Черт 2

4.13.2, 4.13.3. (Измененная редакция, Изм. № 1, 3).

4.13.4. Рекомендуемые условия съемки спектрограммы

Анализ проводят в дуге переменного тока:

напряжение - 200-220 В;

сила тока - 16 А;

ширина щели - 0,015 мм;

дуговой промежуток - 3,5 мм;

экспозиция - 45 с;

однолинзовая система освещения.

Таблица 2

Определяемый элемент

Номер образца

1

2

3

4

As

3×10-2

1×10-2

3×10-3

1×10-3

Zn

3×10-2

1×10-2

3×10-3

1×10-3

Sb

1×10-2

3×10-3

1×10-3

3×10-4

Bi

3×10-3

1×10-3

3×10-4

1×10-4

Sn

1×10-2

3×10-3

1×10-3

3×10-4

Pb

3×10-3

1×10-3

3×10-4

1×10-4

Cd

3×10-3

1×10-3

3×10-4

1×10-4

4.13.5. Обработка спектрограммы и результатов

Фотопластинки со снятыми спектрами проявляют, промывают водой, фиксируют, снова промывают в проточной воде и высушивают на воздухе. Затем проводят фотометрирование аналитических спектральных линий, измеряя почернение (SЛ) и соседнего фона (SФ). Для цинка (Zn) определяют фотометрическую ширину линий (l).

В качестве аналитических используют следующие линии определяемых элементов, нм: As-234,98; Zn-213,86; Sb-231,15; Bi-223,06; Sn-235,48; Pb-283,31; Cd-226,50.

Находят DS, равное SЛ-SФ и вычисляют DSСР и lСР для каждого образца и пробы. По результатам фотометрирования образцов строят градуировочные графики, откладывая на оси ординат среднее арифметическое значение разности почернений (DSСР), a на оси абсцисс - логарифмы концентраций соответствующих примесей в образцах. При построении градуировочного графика на цинк на оси ординат откладывают логарифмы фотометрической ширины линии. Массовую долю каждой примеси в процентах в анализируемой пробе находят по соответствующему градуировочному графику. За результат анализа принимают среднее арифметическое двух параллельных определений, допускаемые расхождения между которыми не должны превышать 25% относительно вычисляемой концентрации при доверительной вероятности Р=0,95.

(Измененная редакция, Изм. № 1).

4.14. Определение полирующей способности

4.14.1. Аппаратура, реактивы и растворы

Весы лабораторные 2-го и 4-го классов точности по ГОСТ 24104-88 с наибольшими пределами взвешивания 200 и 500 г соответственно.

Гири 2-го класса точности по ГОСТ 7328-82.

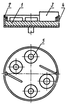
Полировальный станок типа С-15 с планшайбой из битума марки № 5. Схема полировального станка, подготовленного к определению полирующей способности, приведена на черт. 3. Битумная планшайба 1 снабжена бортиком 2, предохраняющим сливание суспензии окиси хрома с планшайбы, и направляющими щетками 3 с прикрепленными к ним кисточками 4, служащими для направления суспензии от бортика к полируемому образцу 5. На планшайбу устанавливается одновременно до четырех полируемых образцов.

Полируемый образец - шайба наружным диаметром 50 мм и внутренним диаметром 30 мм из стали марки ШХ-15 по ГОСТ 801-78 с закалкой до твердости HRC 60.

Шкаф сушильный, обеспечивающий температуру нагрева до 105°С.

Вода дистиллированная по ГОСТ 6709-72.

Спирт этиловый технический по ГОСТ 17299-78.

(Измененная редакция, Изм. № 3).

4.14.2. Проведение испытания

Четыре образца, предварительно отполированных до шероховатости 0,20<Rz£0,40 на базовой длине 0,25 мм, тщательно очищают, моют и протирают этиловым спиртом, сушат в сушильном шкафу до постоянной массы, охлаждают и взвешивают (результат взвешивания в граммах записывают до четвертого десятичного знака).

Из 50 г анализируемой окиси хрома и 150 см3 дистиллированной воды готовят суспензию и наносят на планшайбу станка, закрепляют на станке четыре образца и полируют.

4.14.3. Рекомендуемые условия полировки

Время полировки - 30 мин.

Давление на полирующую поверхность - 171,6 гПа.

Частота вращения полируемого образца - 192 об/мин.

Частота вращения планшайбы 60 об/мин.

4.14.4. Обработка результатов

Черт. 3

Полирующую способность (Х4) в мг/(мин×см2) вычисляют по формуле

где DmСР - среднее изменение массы образцов в процессе полировки, определяемое по результатам взвешивания не менее, чем четырех образцов, не имеющих непрополированных участков, г;

S - площадь полируемого образца, см2;

t - время полировки, мин.

4.15. Определение шероховатости поверхности после полировки

4.15.1. Аппаратура

Микроинтерферометр МИИ-4.

Образцы, отполированные, очищенные и высушенные по п. 4.14.

(Измененная редакция, Изм. № 1).

4.15.2. Параметры, термины и определения приняты по ГОСТ 2789-73.

4.15.3. Условия испытания

Берут не менее двух образцов. Каждый образец делят на 4-5 разных участков. В средней части каждого участка производят измерение высоты неровностей.

Для поверхности с Rz более 0,100 мкм на базовой длине 0,25 мм измеряется высота пяти характерных (определяющих шероховатость) неровностей да базовой длине 0,25 мм.

Для поверхности с Rz не более 0,100 мкм на базовой длине 0,08 мм измеряется высота десяти характерных неровностей на базовых длинах по 0,08 мм (измерение проводится визуально или с помощью винтового окулярного микрометра).

После измерений образцы смазывают вазелином для предотвращения коррозии.

4.15.4. Измерение высоты отдельной неровности визуально

Образцы устанавливают на столике интерферометра, направляя на объектив выбранный по п. 4.15.3 участок, производят фокусировку на резкость и просматривают (с интерференцией и без интерференции) поверхность участка перемещением столика в двух взаимно перпендикулярных направлениях от среднего деления барабанчиков стола в обе стороны.

При этом находят характерные, а также наиболее грубые неровности.

Высота отдельной неровности определяется визуально по величине изгиба интерференционной полосы в долях ее интервала (h).

Высоту неровности (Hi max)+(Hi min) в микрометрах вычисляют по формулам:

(Hi max)+(Hi min)=0,27 h (при работе с белым светом);

(Hi max)+(Hi min)=l/2 h (при работе с монохроматическим светом),

где l - длина волны света, мкм.

4.15.5. Измерение высоты отдельной неровности с помощью винтового окулярного микрометра

Измерение проводится, как указано в п. 4.15.4, но величина изгиба интерференционной полосы в долях интервала (h) определяется микрометром по формуле

Для измерения горизонтальную линию перекрестия окулярного микрометра устанавливают параллельно интерференционным полосам путем поворота микрометра. Затем вращением барабана окулярного винтового микрометра горизонтальную линию перекрестия наводят на полосу, изгиб которой выбран для измерения и делают отсчет N1 по шкале барабана. Вращением барабана перекрестие наводят на соседнюю или любую другую полосу (в этом случае отмечают ее порядок n) и делают отсчет N2. Затем перекрестие совмещают с вершиной изгиба полосы и делают отсчет N3.

4.15.6. Классификация поверхности

Параметр шероховатости Rz в микрометрах вычисляют как среднюю высоту всех неровностей на базовой длине

В соответствии с рассчитанным параметром Rz поверхность классифицируется по табл. 3.

4.16. Определение остатка на сите окиси хрома марки «пигментная» проводят по ГОСТ 21119.4-75, разд. 1, п. 1.2, при этом берут навеску продукта массой (10,0±0,5) г.

Определение остатка на сите окиси хрома марки "абразивная" проводят по ГОСТ 21119.4-75, разд. 2, при этом берут навеску продукта массой (10,0±0,5) г.

Таблица 3

Rz, мкм, не более

Базовая длина, мм

0,050

0,100

0,08

0,20

0,40

0,80

0,25

Примечания:

1. При определении шероховатости поверхности допускается следующее количество и величина неровностей, не снижающих качества поверхности:

для поверхности с Rz не более 0,100 мкм на базовой длине 0,08 мм - две неровности высотой не более 0,20 мкм на базовой длине 0,08 мм;

для поверхности с Rz не более 0,20 мкм на базовой длине 0,25 мм - две неровности высотой не более 0,40 мкм на базовой длине 0,25 мм;

для поверхности с Rz не более 0,40 мкм на базовой длине 0,25 мм - три неровности высотой не более 0,80 мкм на базовой длине 0,25 мм;

для поверхности с Rz не более 0,80 мкм на базовой длине 0,25 мм - три неровности высотой не более 1,60 мкм на базовой длине 0,25 мм.

2. Если на поверхности имеются отдельные наиболее грубые неровности, то кроме классификации поверхности по параметру Rz указывают их число и значение (высота и размер) в микрометрах.

(Измененная редакция, Изм. № 3).

5. УПАКОВКА, МАРКИРОВКА, ТРАНСПОРТИРОВАНИЕ И ХРАНЕНИЕ

5.1. Окись хрома упаковывают в мягкие специализированные контейнеры, стальные барабаны для химической продукции типов БТ II Б1=50(100) по ГОСТ 5044-79, полиэтиленовые мешки-вкладыши (толщина пленки 0,100 мм), вложенные в бумажные мешки марок НМ и БМ по ГОСТ 2226-88 массой нетто 30, 40 и 50 кг трех-, четырех-, пяти-, шестислойные соответственно. Предельное отклонение от номинальной массы окиси хрома в барабанах, мешках и контейнерах при фасовании не должно превышать ±1%.

Полиэтиленовые мешки-вкладыши заваривают, бумажные прошивают машинным способом.

Масса нетто барабанов и контейнеров одной партии для окиси хрома марки "металлургическая" должна быть одинаковой.

Для предприятий часовой и электронной промышленности продукт упаковывают в стальные барабаны типа БТIIБ1-50 по ГОСТ 5044-79.

Окись хрома марки «абразивная» сорта ОХА-0 упаковывают в стальные барабаны типа БТIIБ1-50 по ГОСТ 5044-79 с пленочным мешком-вкладышем по нормативно-технической документации.

Полиэтиленовые мешки-вкладыши, вложенные в барабаны, завязывают двойным узлом, для чего верхнюю часть наполненного мешка собирают в пучок, перегибают и плотно завязывают.

(Измененная редакция, Изм № 1).

5.2. Маркировка транспортной тары - по ГОСТ 14192-77 с нанесением следующих дополнительных надписей, характеризующих продукцию:

наименование, марка и сорт продукта;

номер партии и дата изготовления;

обозначение настоящего стандарта.

При упаковывании окиси хрома в контейнеры ярлык с обозначениями вкладывают в карман контейнера или прикрепляют с двух противоположных сторон контейнера. Допускается наносить маркировку с помощью трафарета несмываемой краской на боковую поверхность контейнера в соответствии с ГОСТ 14192-77.

(Измененная редакция, Изм. № 3).

5.3. Маркировку транспортной тары с продуктом, предназначенным для экспорта, производят в соответствии с заказ-нарядом внешнеторгового объединения и ГОСТ 14192-77.

Окись хрома транспортируют всеми видами транспорта (кроме авиации) в крытых транспортных средствах в соответствии с правилами перевозок грузов, действующими на соответствующих видах транспорта.

По железной дороге упакованную продукцию транспортируют повагонными отправками.

Специализированные контейнеры транспортируют открытым подвижным составом. Размещение и крепление контейнеров производят в соответствии с условиями погрузки и крепления грузов, утвержденными Министерством путей сообщения.

Упакованный в барабаны и мешки продукт должен транспортироваться пакетами в соответствии с ГОСТ 21929-76. Выбор средств скрепления пакетов - по ГОСТ 21650-76. Масса и габаритные размеры пакетов должны соответствовать требованиям ГОСТ 24597-81. Несущие средства пакетирования - плоские поддоны по ГОСТ 9078-84, ГОСТ 9557-87 и специализированные поддоны.

5.4. Окись хрома хранят в закрытых складских помещениях в неповрежденной упаковке.

Контейнеры хранят на контейнерных площадках. Срок хранения продукта не ограничен.

5.3, 5.4. (Измененная редакция, Изм. № 1).

ПРИЛОЖЕНИЕ 1

Рекомендуемое

ОПРЕДЕЛЕНИЕ МАССОВОЙ ДОЛИ ЖЕЛЕЗА СПЕКТРАЛЬНЫМ МЕТОДОМ

Аппаратура, реактивы и растворы

Весы лабораторные 2-го и 4-го классов точности по ГОСТ 24104-88 с наибольшими пределами взвешивания 200 и 500 г соответственно.

Весы торзионные типа ВТ с наибольшим пределом взвешивания 500 мг.

Генератор постоянного тока.

Гири 2-го класса точности по ГОСТ 7328-82.

Спектрограф кварцевый средней дисперсии.

Лампа инфракрасная мощностью 500 Вт.

Микрофотометр.

Станок для заточки электродов.

Ступка агатовая или яшмовая.

Угли графитированные для спектрального анализа марки ос. ч. 7-3 (электроды угольные) диаметром 6 мм; верхний электрод заточен на конус, нижний электрод (анод) с цилиндрическим каналом диаметром 3 мм, глубиной 3 мм.

Фотопластинки спектральные типа III, чувствительностью 5 отн. ед.

Аммоний хлористый по ГОСТ 3773-72.

Вода дистиллированная по ГОСТ 6709-72.

Гидрохинон (парадиоксибензол) по ГОСТ 19627-74.

Железа окись для спектрального анализа.

Калий бромистый по ГОСТ 4160-74.

Метол (4-метиламинофенол сульфат) по ГОСТ 25664-83.

Натрий сернистокислый по ГОСТ 195-77.

Натрий серноватистокислый (натрия тиосульфат) 5-водный по ГОСТ 27068-86.

Натрий углекислый по ГОСТ 83-79.

Порошок графитовый марки ос. ч. 7-4.

Проявитель метолгидрохиноновый; готовят следующим образом: 44 г углекислого натрия и 2 г бромистого калия растворяют в воде и доводят объем раствора водой до 1 дм3 (раствор А); 2 г метола, 52 г сернистокислого натрия и 10 г гидрохинона последовательно растворяют в воде и доводят объем раствора до 1 дм3 (раствор Б). Растворы А и Б смешивают 1:1 перед проявлением, которое проводят при температуре 18-20°С.

Спирт этиловый технический по ГОСТ 17299-78.

Фиксаж быстродействующий; готовят следующим образом: 300 г серноватистокислого натрия и 60 г хлористого аммония растворяют в воде и доводят объем раствора до 1 дм3.

Хрома (VI) окись по ГОСТ 3776-78.

Приготовление образцов для построения градуированного графика

В качестве основы для приготовления образцов используют окись хрома, полученную из хромового ангидрида путем прокаливания при 1200°С.

Введением окиси железа (0,1667 г) к основе (9,8333 г) готовят головной образец с массовой долей железа в пересчете на FeO 1,5%. Взятые навески растирают со спиртом в течение 1 ч и сушат под инфракрасной лампой. Разбавлением головного образца основой в 10 раз готовят первый рабочий образец, из которого последовательным разбавлением в два раза готовят еще три рабочих образца. Массовая доля FeO в процентах в каждом образце указана в таблице.

Если основа загрязнена определяемым элементом, вводят поправку на его содержание.

Номер образца

Массовая доля FeO, %

Номер образца

Массовая доля FeO, %

1

0,15

3

0,038

2

0,075

4

0,019

Подготовка пробы и образцов к съемке

Пробы окиси хрома и рабочие образцы тщательно смешивают в агатовой ступке с угольным порошком в соотношении 1:2. Каждую анализируемую пробу и образец плотно набивают в кратер нижнего электрода.

Рекомендуемые условия съемки спектрограммы.

Анализ проводят в дуге постоянного тока при следующих условиях:

сила тока - 10 А;

ширина щели спектрографа - 0,013 мм;

высота диафрагмы на средней линзе конденсорной системы - 5 мм;

дуговой промежуток - 2 мм;

экспозиция - 30 с.

Обработка спектрограммы и результатов.

Фотопластинку со снятыми спектрами проявляют, промывают водой, фиксируют, снова промывают в проточной воде и высушивают на воздухе.

Затем проводят фотометрирование аналитической спектральной линии железа и линии сравнения хрома, пользуясь логарифмической шкалой (нм): Fe-248,3; Cr-247,9.

Вычисляют разность почернений DS, равную SFe-SCr.

По трем значениям разности почернений вычисляют среднее арифметическое значение DSСР.

По результатам фотометрирования образцов строят градуировочный график, откладывая на оси ординат DSСР, а на оси абсцисс - логарифм концентрации FeO в образцах.

Массовую долю FeO в пробе находят по градуировочному графику. За результат анализа принимают среднее арифметическое двух параллельных определений, допускаемые расхождения между которыми не должны превышать 10% вычисляемой концентрации при доверительной вероятности Р=0,95.

(Измененная редакция, Изм. № 1, 3).

ПРИЛОЖЕНИЕ 2

Рекомендуемое

Обозначение марки

Область применения

Пигментная

Производство грунтовок, эмалей, красок

Металлургическая

Производство металлического хрома и абразивных материалов

Абразивная

Производство полировальных паст

(Введено дополнительно, Изм. № 1).

ИНФОРМАЦИОННЫЕ ДАННЫЕ

1. РАЗРАБОТАН И ВНЕСЕН Министерством химической промышленности СССР

ИСПОЛНИТЕЛИ

Н. И. Баянова, Е. М. Башкирова, Б. П. Середа, В. М. Масалович

2. УТВЕРЖДЕН И ВВЕДЕН В ДЕЙСТВИЕ Постановлением Государственного комитета СССР по стандартам от 29.01.79 №291

3. Периодичность проверки - 5 лет.

4. ВЗАМЕН ГОСТ 2912-73

5. ССЫЛОЧНЫЕ НОРМАТИВНО-ТЕХНИЧЕСКИЕ ДОКУМЕНТЫ

Обозначение НТД, на который дана ссылка

Номер пункта, подпункта, приложения

ГОСТ 12.1.005-88

2.3

ГОСТ 12.1.007-76

2.1

ГОСТ 12.1.016-79

2.1

ГОСТ 12.3.009-76

2.4

ГОСТ 12.4.021-75

2.3

ГОСТ 12.4.034-85

2.3

ГОСТ 12.4.103-83

2.3

ГОСТ 83-79

4.3.1.1, 4.3.2.1, 4.13.1, приложение 1

ГОСТ 195-77

4.13.1, приложение 1

ГОСТ 199-78

4.11.1

ГОСТ 801-78

4.14.1

ГОСТ 1770-74

4.3.1.1, 4.3.2.1, 4.11.1

ГОСТ 1973-77

4.13.1

ГОСТ 2226-88

5.1

ГОСТ 2789-73

4.15.2

ГОСТ 3044-84

4.10.1

ГОСТ 3118-77

.3.2.1, 4.10.1, 4.11.1

ГОСТ 3760-79

4.11.1

ГОСТ 3773-72

4.13.1, приложение 1

ГОСТ 3776-78

Приложение 1

ГОСТ 4160-74

4.13.1, приложение 1

ГОСТ 4202-75

4.10.1

ГОСТ 4204-77

4.3.1.1, 4.3.2.1, 4.11.1

ГОСТ 4208-72

4.3.1.1, 4.3.2.1

ГОСТ 4212-76

4.11.1

ГОСТ 4220-75

4.3.1.1, 4.3.2.1

ГОСТ 4232-74

4.10.1

ГОСТ 4233-77

4.11.1, 4.13.1

ГОСТ 4328-77

4.3.1.1

ГОСТ 4517-87

4.5, 4.11.1

ГОСТ 4919.1-77

4.3.1.1, 4.3.2.1

ГОСТ 5044-79

5.1

ГОСТ 5456-79

4.11.1

ГОСТ 6552-80

4.3.1.1, 4.3.2.1

ГОСТ 6709-72

4.3.1.1, 4.3.2.1, 4.10.1, 4.11.1, 4.13.1, 4.14.1, приложение 1

ГОСТ 7328-82

4.3.1.1, 4.3.2.1, 4.10.1, 4.11.1, 4.12.1, 4.13.1, 4.14.1, приложение 1

ГОСТ 7931-76

4.9

ГОСТ 8784-75

4.9

ГОСТ 9078-84

5.3

ГОСТ 9147-80

4.3.2.1, 4.10.1

ГОСТ 9557-87

5.3

ГОСТ 9932-75

4.10.1

ГОСТ 10163-76

4.10.1

ГОСТ 10216-75

4.13.1

ГОСТ 10262-73

4.13.1

ГОСТ 10929-76

4.3.1.1

ГОСТ 11120-75

4.13.1

ГОСТ 12083-78

4.11.1

ГОСТ 14192-77

5.2, 5.3

ГОСТ 16539-79

4.10.1

ГОСТ 16872-78

4.7

ГОСТ 16873-78

4.8

ГОСТ 17299-78

4.13.1, 4.14.1, приложение 1

ГОСТ 19627-74

4.13.1, приложение 1

ГОСТ 20292-74

4.3.1.1, 4.3.2.1, 4.10.1, 4.11.1

ГОСТ 20490-75

4.3.2.1, 4.10.1

ГОСТ 21119.1-75

4.4

ГОСТ 21119.2-75

4.5, 4.5.1

ГОСТ 21119.3-75

4.6

ГОСТ 21119.4-75

4.16

ГОСТ 21650-76

5.3

ГОСТ 21929-76

5.3

ГОСТ 22516-77

4.13.1

ГОСТ 24104-88

4.3.1.1, 4.3.2.1, 4.10.1, 4.11.1, 4.12.1, 4.13.1, 4.14.1, приложение 1

ГОСТ 24363-80

4.10.1

ГОСТ 24597-81

5.3

ГОСТ 25664-83

4.13.1, приложение 1

ГОСТ 25791.2-83

4.3.1.1, 4.3.2.1

ГОСТ 27068-86

4.13.1, приложение 1

ГОСТ 27069-86

4.12.2

6. Срок действия продлен до 01.01.95 Постановлением Госстандарта СССР от 23.03.89 № 637

7. ПЕРЕИЗДАНИЕ (июль 1989 г.) с Изменениями № 1, 2, 3, утвержденными в мае 1984; апреле 1986 г., марте 1989 г., (ИУС 8-84, 7-86, 6-891.

СОДЕРЖАНИЕ

 




Яндекс цитирования



   Copyright © 2007-2026,  www.tehlit.ru.

[ ѓосты, стандарты, нормативы, инструкции, правила, строительные нормы ]