//
ТехЛит.ру
- крупнейшая бесплатная электронная интернет библиотека для "технически умных" людей.
WWW.TEHLIT.RU - ТЕХНИЧЕСКАЯ ЛИТЕРАТУРА

:: Алготрейдинг::


АЛГОТРЕЙДИНГ
шаг за шагом
с нуля по урокам!

Торговые роботы на PYTHON, BackTrader,
Pandas, Pine Script для TradingView. Связка с брокерами, телеграм и легкими приложениями.


РЕКОМЕНДАЦИИ
ПО ПРИМЕНЕНИЮ УСТРОЙСТВ ЗАЩИТНОГО ОТКЛЮЧЕНИЯ
ПРИ ЭКСПЛУАТАЦИИ ЭЛЕКТРОУСТАНОВОК ЗДАНИЙ

Министерство топлива и энергетики
Российской федерации

-----------------------------

ГЛАВНОЕ УПРАВЛЕНИЕ ГОСУДАРСТВЕННОГО ЭНЕРГЕТИЧЕСКОГО НАДЗОРА
"ГЛАВГОСЭНЕРГОНАДЗОР РОССИИ"

103074 Москва, К-74, Китайский пр., 7

Тел. 220-44-17, Факс 220-56-74

23.10.95 № 42-6/34-ЭТ

На № ____________ от ______________

О применении устройств защитного отключения (УЗО)

 

Начальникам региональных управлений Госэнергонадзора, директорам предприятий, руководителям проектных, монтажных, наладочных организаций. Потребителям электрической энергии

В связи с принятием в 1994-95 гг. целого ряда новых государственных стандартов (ГОСТ Р 50669-94. Электроснабжение и электробезопасность мобильных (инвентарных) зданий из металла или с металлическим каркасом для уличной торговли и бытового обслуживания населения. ГОСТ Р 50571.3-94 Электроустановки зданий. Часть 4. Требования по обеспечению безопасности. Защита от поражения электрическим током. ГОСТ Р 50807-95. Устройства защитные, управляемые дифференциальным (остаточным) током. Общие требования и методы испытания.) началось активное внедрение УЗО в электроустановках потребителей жилых и общественных зданий.

В тоже время, опыт применения УЗО показал низкую надежность и неудовлетворительные эксплуатационные качества большинства устройств, выпускаемых в России. Кроме того, возникают трудности по подключению УЗО в различных типах электрических сетей.

Так, проведенная независимая экспертиза УЗО20-00 (АО Ставропольский радиозавод "Сигнал") и технических условий на них показала, что устройства не соответствуют целому ряду требований безопасности ГОСТ 12.4.155-85 "Устройства защитного отключения. Классификация. Общие технические требования" и особенно ГОСТ Р 50807-95. Кроме того, сами ТУ не отражают значительного количества требований безопасности действующих государственных стандартов на сертифицируемую продукцию. ТУ не содержат достаточных данных для правильного выбора УЗО. Потребитель не ставится в известность, что по принципу действия данный тип УЗО теряет защитные свойства при обрыве одного из проводов сети электропитания. Нет и ссылки на то, что в техническом описании и инструкции по эксплуатации в (п. 10.2) на УЗО20 содержится требование о необходимости раз в 6 месяцев отсоединения устройства от сети, проверки состояния контактных зажимов, отсутствия заедания и т.д., что принципиально предусматривает наличие подготовленного эксплуатационного персонала, а следовательно, невозможность применения УЗО20 для населения.

Проблемы применения УЗО20 в электроустановках жилых и общественных зданий г. Москвы были обсуждены на совещании в Госстандарте России 13 сентября 1995 г., которое приняло решение, в частности:

- разработать на переходный период и утвердить программу сертификационных испытаний УЗО на безопасность с учетом дополнительных требований вновь вводимых стандартов, гармонизированных со стандартами МЭК;

- считать целесообразным на переходный период проводить сертификационные испытания на безопасность в аккредитованном испытательном центре низковольтных электротехнических изделий (ИЦ НЭИ) г. Чебоксары;

- установить процедуру обязательного согласования с органами Госэнергонадзора технических условий на УЗО.

Учитывая вышеизложенное, Главгосэнергонадзор России предлагает руководителям органов Госэнергонадзора, государственным инспекторам по энергонадзору:

1. Изучить требования указанных ГОСТов и строго ими руководствоваться при рассмотрении и согласовании проектов, приемке жилых и общественных зданий, включении электроустановок, обращая особое внимание на необходимость применения УЗО, правильный выбор места установки, типа и его параметров.

Указанные требования довести до сведения проектных, монтажных, наладочных организаций, расположенных на территории, подконтрольной органам Госэнергонадзора.

2. На основе изучения отечественного и зарубежного опыта эксплуатации УЗО и по результатам проведенной экспертизы применять для жилых, общественных и других зданий УЗО, не требующие источника питания (электромеханические). Применение электронных устройств, для работы которых необходим источник питания, допускается только в качестве дополнительных (дублирующих) к основному.

3. Не принимать и не включать электроустановки жилых и общественных зданий, укомплектованные УЗО20, до устранения выявленных отступлений и несоответствий требованиям действующих государственных стандартов.

4. Организовать работу по выполнению требований ГОСТ Р 50669-94 в части обязательного оснащения УЗО ранее сооруженных зданий с 01.01.1996 г.

Руководителям органов Госэнергонадзора представить в региональные управления, а начальникам региональных управлений обобщить и направить в адрес Главгосэнергонадзора России до 01.01.1996 г. сведения о предприятиях, выпускающих или планирующих выпуск УЗО, их номенклатуре и объемах производства.

Приложение. Рекомендации по применению устройств защитного отключения на 5 листах - 1 экз.

Заместитель начальника                                                 В.Н. Белоусов

Энговатов 220-55-13

РЕКОМЕНДАЦИИ

по применению устройств защитного отключения при эксплуатации электроустановок зданий

Настоящие рекомендации разработаны с учетом Решения Главгосэнергонадзора об изменении требований гл.7.1. ПУЭ от 17.02.94 г. и в связи с вводом в действие стандартов ГОСТ Р 50571.8-94, ГОСТ Р 50669-94, касающихся применения устройств защитного отключения (УЗО).

Согласно ГОСТ 12.4.155-85 под УЗО понимаются устройства, предназначенные для автоматического отключения электроустановок при однофазном (однополюсном) прикосновении к частям, находящимся под напряжением, недопустимым для человека, и (или) при возникновении в электроустановке тока утечки (замыкания), превышающего заданные значения.

Изменения, внесенные Главгосэнергонадзором в гл.7.1. "Электрооборудование жилых и общественных зданий" ПУЭ, касающиеся выполнения линий питания стационарных однофазных электроприемников трехпроводными (фазный, нулевой рабочий и нулевой защитный проводники), и порядка зануления корпусов электроприемников, вызвали некоторые затруднения у эксплуатационного электроперсонала.

В данных рекомендациях приводятся типовые схемы подключения УЗО в различных типах электрических сетей.

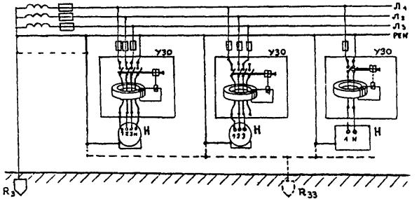
Принцип действия УЗО как защитного выключателя, реагирующего на ток утечки, поясняется схемой (рис. 1).

Рис. 1. Схема электроустановки с УЗО.

До тех пор, пока утечка отсутствует, т.е. нет пробоя или повреждения изоляции электроприемника или нет прямого прикосновения человека к токоведущим частям, токи в прямом (1) и обратном (2) проводниках нагрузки (3) равны и наводят в магнитном сердечнике (4) трансформатора тока УЗО равные, но встречно направленные магнитные потоки Ф1 и Ф2, в результате чего ток во вторичной обмотке (5) равен нулю и не вызывает срабатывания чувствительного элемента - магнитоэлектрической защелки (6). При возникновении утечки - например, прикосновении человека к фазному проводнику, баланс токов и магнитных потоков нарушается I1=I2+Iут, Ф12, во вторичной обмотке появляется ток небаланса ID, который вызывает срабатывание защелки (6), воздействующей в свою очередь на механизм расцепителя (7) и контактную систему (8). Электромеханическая система УЗО рассчитывается на срабатывание при определенных значениях - "уставках" тока утечки. Наиболее широко применяются УЗО с уставками 10, 30 и 100 мА.

На рис. 2-6 приведены схемы подключения УЗО при режимах глухозаземленной и изолированной нейтрали и различных вариантах исполнения нулевого и защитного проводников.

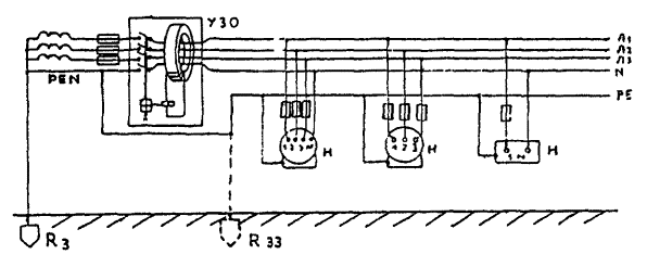
Рис. 2 Схема электроустановки с классическим занулением (ТN-С).

Л1, Л2, Л3 - линейные проводники; РЕN - рабочий и защитный нейтральный проводник; Н - нагрузка; RЗ - рабочее заземление; RЗЗ - защитное заземление

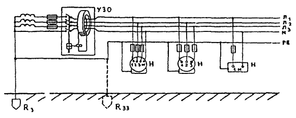
Рис. 3. Схема электроустановки с нулевым и защитным раздельными проводниками (ТN-S)

Л1, Л2, Л3 - линейные, N - нейтральный, РЕ - защитный проводники, Н - нагрузка, RЗ - рабочее заземление; RЗЗ - защитное заземление

Рис 4. Схема электроустановки с нулевым и защитным проводниками, имеющими соединение до ввода - т.н. "быстрое зануление" (ТN-С-S)

Л1, Л2, Л3 - линейные, N - нейтральный, РЕ - защитный, РЕN - рабочий и защитный нейтральный проводники; H - нагрузка, RЗ - рабочее заземление; RЗЗ - защитное заземление

Рис. 5. Схема электроустановки с нулевым рабочим проводником и защитным заземлением электроустановки (ТТ).

Л1, Л2, Л3 - линейные, N - нейтральный, РЕ - защитный проводники; Н - нагрузка; RЗ - рабочее заземление; RЗЗ - защитное заземление

Рис. 6. Схема электроустановки с изолированной нейтралью (IТ).

Л1, Л2, Л3 - линейные проводники; Н - нагрузка; RЗЗ - защитное заземление

В настоящее время в Российской федерации наиболее широко распространены схемы электроустановок с "классическим" занулением - рис. 2N-С).

При установке УЗО в таких схемах очень важно проконтролировать: а) правильность включения рабочего нейтрального (нулевого) проводника в цепь УЗО - он должен быть обязательно в цепи УЗО; б) правильность подключения заземляющих корпуса электрооборудования проводников - к нейтральному проводнику они должны быть подключены только до УЗО. Это означает, что при применении УЗО нейтральный проводник выполняет функции только рабочего проводника и в цепи, защищаемой УЗО, не должен соединяться с заземленными корпусами электрооборудования. При этом корпуса электрооборудования и различные нетоковедущие части электроустановки могут быть соединены между собой контуром и соединены с заземляющими устройствами - контуром заземления, арматурой здания, системами водопровода.




Яндекс цитирования



   Copyright © 2007-2026,  www.tehlit.ru.

[ ѓосты, стандарты, нормативы, инструкции, правила, строительные нормы ]