//
|
|
РУКОВОДСТВО РД 31.31.49-88 Москва 1988 г. Разработано Союзморниипроектом Директор института - Ф.Г. Аракелов Начальник отдела стандартизации - М.И. Калашников Ст. н. с. – руководитель и исполнитель разработка - А.Н. Котц Главный специалист нормоконтроль - В.И. Ярошенко Согласовано Главный инженер Главморречстроя Минтранстроя - Д.Ф. Черевач
Срок введения в действие Настоящее Руководство распространяется на проектирование конструкций сборных железобетонных балок, уложенных непосредственно на песчаный грунт и являвшихся основанием рельсовых путей портовых портальных кранов и перегружателей. Руководство рекомендуется для проектирования реконструкции существующих путей и опытного строительства новых. 1. Характеристики грунтового основания1.1. При проектировании следует использовать нормативные характеристики вновь образованного при строительстве основания из песчаного грунта, приведенные в таблице приложения 1. При строительстве крановых путей из сборных железобетонных балок, уложенных на грунтовое основание, полученное в результате засыпки пазухи причальных сооружений или образования территории порта, на момент устройства пути основание должно иметь относительную плотность сложения D > 0,6. При D > 0,6 в зависимости от результатов технико-экономических расчетов необходимо провести уплотнение грунта или устраивать рельсовый путь по железобетонным балкам на свайном основании. При отсутствии данных изысканий, характеристики основания из песчаного грунта рекомендуется определять по формулам: jt = jo + n×t, град., (1) Ct = Co + К×t, где t - количество лет прошедших после образования грунтового основания; jо и Со - угол внутреннего трения и удельное сцепление после образования грунтового основания (по данным таблицы приложения 1); n и К - коэффициенты, значения которых принимают для песчаных грунтов средней крупности n = 0,06 и К = 0,004 и мелкой n = 0,04 и К = 0,005. где У - абсолютная осадка штампа, м; [У] - предельная осадка штампа в момент достижения предельной несущей способности основания, м; R - давление, передаваемое на основание, Па; [R] - предельная несущая способность основания, Па;
D - относительная
плотность сложения грунтового основания, определяемая 1.3.1. Осадку штампа в момент достижения предельной несущей способности грунтового основания определяют по формуле: [У] = В(0,22 - 0,18D), (4) где: В - ширина штампа, м. 1.3.2. Предельную несущую способность грунтового основания определяют в соответствии со СНиП 2.02.01-83 по формуле: [R] = А×b× где А, В и Д - коэффициенты, определяемые по формуле: А = lg×ng; lg = 0,9(lq - 1)×tgj; В = lq×nq; lq = ep×tgj×tg2j Д = lc×nc; lc = (lq - 1)×ctgj;
b - ширина подошвы балки, м; l - длина одной балки, м; g - удельный вес грунта, на глубину от подошвы балки до двойной ширины балки; j - нормативный угол внутреннего трения грунта основания, град.; С -
нормативное удельное сцепление грунта основания, q - нагрузка на уровне подошвы балки от
грунта и покрытия, 1.3.3. В соответствии с зависимостью (3) модуль упругости грунтового основания на уровне подошвы балки определяют по формуле где [К]
- коэффициент жесткости основания в момент достижения предельной несущей
способности основания, b - ширина балки, м;
m - коэффициент Пуассона. 2. Расчет конструкций2.1. Конструкции оснований рельсовых путей рассчитывают по первой и второй группам предельных состояний. По первой группе рассчитывают железобетонные конструкции на наибольшие расчетные усилия, полученные в результате статических расчетов балки, лежащей на грунтовом основании, и возникающие в строительный период. По второй группе определяют наибольшие уклоны рельсового пути, которые не должны превышать нормативных значений. К этой группе также относятся расчеты по определению ширины раскрытия трещин в наиболее напряженном сечении железобетонной конструкции. 2.2. Нагрузка на рельсовые пути, уложенные по железобетонным балкам, состоит из постоянной нагрузки, от собственного веса конструкции и временной - от катков перегрузочных механизмов. 2.3. Временную нагрузку от кранов и перегружателей принимают в соответствии с Нормами технологического проектирования морских портов РД 31.31.37-78. 2.4. При относительной плотности сложения грунтового основания D < 0,85 в качестве расчетной модели основания рекомендуется принимать комбинированную модель, в которой учитываются упругие и остаточные деформации грунта (см. таблицы приложения 2). 2.5.
При относительной плотности сложения грунтового основания D ³ 0,85
допускается использовать расчетные модели основания в виде упругого
полупространства с определением Ео по формуле (6) или по
гипотезе коэффициента постели, при значении Грунтовое основание в расчетах принимают однородным. 2.6. При расчетах по упругим моделям необратимым деформации основания допускается определять по формуле:
где
nк - коэффициент, определяемый по формуле:
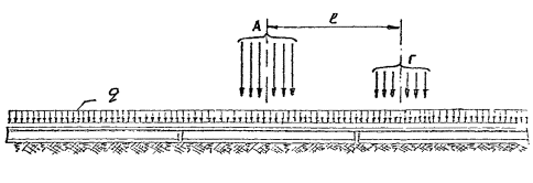
2.7. Наибольшие нормативные изгибающие моменты в балках кранового пути находят при двух схемах: расположении наибольшей нагрузки от ноги крана, посередине длины балки (схема № 1) и при расположении нагрузок по концам балки (схема 2, Рис. 1). 2.8. Расчетные значения изгибающих моментов, растягивающих нижнюю часть балки, определяют умножением нормативного значения на коэффициент условий работы m = 1,25, учитывающий неоднородность свойств грунтового основания под балкой. Значения расчетных изгибающих моментов, растягивающих верхнюю часть балки, полученных по комбинированной модели с односторонней связью балки с основанием, умножаются на m =1,0, а по упругой модели - на m = 0,8. 2.9. Наибольший уклон рельсового пути получают при расположении нагрузки у стыка сборных балок, если жесткость стыка меньше жесткости балки. Схема 1
Схема 2 Рис. 1. Схемы нагрузок от крана l - расстояние меду осями ног крана, м; А, Г - нагрузки на ноги крана, определяемые по РД 31.31.37-78; q - собственный вес конструкции, Рис. 2. График определения поправочного коэффициента Ку к прогибу балки в месте стыка Bст - жесткость стыка; Bб - жесткость балки, Па м4; a - показатель гибкости системы "балка-основание"
Уст - осадка балки в месте стыка, жесткость которого отличается от жесткости балки, м; Уо - осадка балки в месте стыка, жесткость которого равна жесткости балки, Вст = Вб, м. Допускается
проводить расчет балок, у которых стык имеет жесткость, равной жесткости балки.
Тогда полученный наибольший прогиб в месте стыка Уо следует умножить
на величину Ку, определяемую по графику (рис. 2) по
значениям отношения жесткости стыка к жесткости балки и показателю гибкости
системы 2.10. Наибольший уклон рельсового пути должен быть меньше или равен нормативному уклону или допускаемому уклону для конкретного крана или перегружателя. Нормативный уклон принимают по таблице 5 "Правил устройства и эксплуатации грузоподъемных кранов". Металлургия, 1976 г. 2.12. Расчетные изгибающие моменты в поперечном направлении определяют по нормативным значениям, умноженным на коэффициент условия работы m: для 0,1 > a ³ 0,01 - m = 0,9 для a < 0,01 m =
1,25 - 0,35 где
где
3. Конструирование и подготовка основания3.1. Длина сборных железобетонных конструкций основания рельсового пути должна быть равной длине рельса. 3.2. Высота сборных балок выбирается в диапазоне от 0,45 до 0,8 м. Высота балки определяется по необходимой жесткости, при которой наибольший уклон рельсового пути меньше или равен нормативному значению. 3.3. Для балок рекомендуется принимать наиболее экономичное тавровое сечение. 3.4. Ширину подошвы балки принимают в диапазоне от 1,0 до 1,8 м. Конкретные размеры назначают по результатам расчета по второй группе предельных состояний. 3.5. Полку тавра балки проектируют толщиной 0,2-0,25 м в месте примыкания к ребру и 0,1-0,15 м на конце полки. Толщину ребра таврового сечения балки рекомендуется назначать от 0,3 до 0,5 м (Рис. 3). 3.6. В месте стыка балок проектируют соединения, которые должны обеспечить наименьшую разность деформации концов смежных балок. Возможные конструктивные решения приведены на рис. 4. 3.8. Крепления рельса к сборной железобетонной балке должны обеспечивать возможность монтажного перемещения рельса в сторону от оси на ±20 мм и по высоте +20 мм. Проверенное в эксплуатации крепление приведено на рис. 5. Рис. 3. Рекомендуемые размеры сечения балки Рис. 4. Конструктивные решения соединения балок 1 - сборные балки; 2 - рельсы; 3 - рельсовые соединительные накладки; 4 - крепление рельса к балке; 5 - фланцевое соединение балок Рис. 5. Крепление рельса к балке 1 - балка; 2 - рельс; 3 - клемма; 4 - гайка; 5 - болт; 6 - шайба; 7 - металлическая подкладка ; 8 - закладная деталь 3.10. До укладки балок на грунтовое основание с целью уменьшения накопления остаточных деформаций под концами балок рекомендуется произвести уплотнение грунта в местах стыка балок до D > 0,7. 3.11. До ввода в эксплуатацию рельсовых путей рекомендуется производить обкатку пути кранами при незаполненной грунтом траншеи, в которую вложены балки. Количество проходов крана по балкам следует назначать не менее 30. Приложение 1
| ||||||||||||||||||||||||||||||||||||||||||||||||||||||||||||||||||||||||||||||||||||||||||||||||||||||||||||||||||||||||||||||||||||||||||||||||||||||||||||||||||||||||||||||||||||||||||||||||||||||||||||||||||||||||||||||||||||||||||||||||||||||||||||||||||||||||||||||||||||||||||||||||||||||||||||||||||||||||||||||||||||||||||||||||||||||||||||||||||||||||||||||||||||||||||||||||||||||||||||||||||||||||||||||||||||||||||||||||||||||||||||||||||||||||||||||||||||||||||||||||||||||||||||||||||||||||||||||||||||||||||||||||||||||||||||||||||||||||||||||||||||||||||||||||||||||||||||||||||||||||||||||||||||||||||||||||||||||||||||||||||||||||||||||||||||||||||||||||||||||||||||||||||||||||||||||||||||||||||||||||||||||||||||||||||||||||||||||||||||||||||||||||||||||||||||||||||||||||||||||||||||||||||||||||||||||||||||||||||||||||||||||||||||||||||||||||||||||||||||||||||||||||||||||||||||||||||||||||||||||||||||||||||||||||||||||||||||||||||||||||||||||||||||||||||||||||||||||||||||||
|
Грунты основания |
Относительная плотность |
Угол внутреннего трения и коэффициент вариации |
Модуль
деформации, Е, мПа и коэффициент Пуассона m при нагрузке |
||||||
|
0,2 |
0,4 |
0,6 |
|||||||
|
Гравелистый или щебеночный |
D |
jo |
uj |
Е |
m |
Е |
m |
Е |
m |
|
0,6 |
35 |
0,045 |
27 |
0,25 |
22 |
0,25 |
16 |
0,27 |
|
|
0,8 |
36 |
55 |
43 |
31 |
|||||
|
Крупный песок |
0,6 |
34 |
0,047 |
23 |
0,28 |
20 |
0,29 |
14 |
0,3 |
|
0,8 |
35 |
47 |
38 |
30 |
|||||
|
Средней крупности песок |
0,6 |
33 |
0,05 |
20 |
0,31 |
16 |
0,32 |
12 |
0,33 |
|
0,8 |
34 |
40 |
35 |
28 |
|||||
|
Мелкий песок |
0,6 |
32 |
0,07 |
16 |
0,33 |
14 |
0,33 |
10 |
0,34 |
|
0,8 |
33 |
35 |
29 |
24 |
|||||
Исходные данные
j = 34° h = 0,65 м
g = 17,5
b
= 1,8
D = 0,8
Ec = 287 МПа Нагрузка по
a = 0,075 К-35 Схема 1
|
Изгибающие моменты Х10 кНм |
Реактивное давление Х10 кПа |
Прогибы сум. м |
Прогибы укр. м |
Перерезывающие силы Х10 кН |
|
-0.07276 |
-0.99502 |
-0.00205 |
-000203 |
-0.29103 |
|
-0.29310 |
-0.83793 |
-0.00211 |
-0.00211 |
-0.29931 |
|
-0.48890 |
-0.60789 |
-0.00211 |
-0.00211 |
0.10648 |
|
-0.49815 |
-0.86508 |
-0.00233 |
-0.00232 |
0.04935 |
|
-0.46649 |
-0.90439 |
-0.00247 |
0.00246 |
-0.07856 |
|
-0.57309 |
-0.96670 |
-0.00262 |
-0.00260 |
-0.31861 |
|
-0.89461 |
-0.97317 |
-0.00273 |
-000272 |
-0.57032 |
|
-1.44761 |
-0.93468 |
-0.00282 |
-0.00280 |
-0.75274 |
|
-2.13423 |
-0.78773 |
-0.00285 |
-0.00284 |
-0.67066 |
|
-2.65116 |
-0.44611 |
-0.00280 |
-0.00280 |
0.02635 |
|
-2.42396 |
0.00023 |
-0.00265 |
-0.00265 |
1.52677 |
|
-0.89674 |
0.00123 |
-0.00238 |
-0.00238 |
3.02898 |
|
2.13201 |
0.00072 |
-0.00315 |
-0.00315 |
4.53028 |
|
6.66204 |
0.00016 |
-0.00435 |
-0.00435 |
6.03057 |
|
10.96143 |
-3.84691 |
-0.00762 |
-0.00747 |
0.60613 |
|
9.60480 |
-8.20838 |
-0.01173 |
-0.01124 |
-12.66896 |
|
-5.40936 |
-13.42013 |
-0.01682 |
-0.01566 |
-35.32516 |
|
-29.92421 |
-18.56384 |
-0.02208 |
-0.01998 |
-14.74008 |
|
-45.98151 |
-21.49101 |
-0.02338 |
-0.02259 |
0.57611 |
|
-45.36203 |
-21.394455 |
-0.02542 |
-0.02263 |
16.06592 |
|
-27.98155 |
-18.47333 |
-0.02234 |
-0.02023 |
36.81392 |
|
-1.97712 |
-13.32768 |
-0.01736 |
-0.01618 |
14.32410 |
|
14.46973 |
-8.61043 |
-0.01291 |
-0.01235 |
0.32533 |
|
16.46024 |
-4.90998 |
-0.00754 |
-0.00930 |
-7.01263 |
|
10.91446 |
-1.65040 |
-0.00708 |
-0.00702 |
-8.48335 |
|
2.59958 |
-1.27597 |
-0.00684 |
-0.00679 |
-9.28009 |
|
-8.97558 |
-6.37661 |
-0.01002 |
-0.00969 |
-19.25797 |
|
-22.67661 |
-10.69446 |
-0.01331 |
-0.01258 |
-7.00798 |
|
-30.56100 |
-12.64172 |
-0.01301 |
-0.01403 |
1.73694 |
|
-29.04398 |
-13.13051 |
-0.01522 |
-0.01419 |
9.60204 |
|
-18.43448 |
-10.89124 |
-0.01320 |
-0.01246 |
21.49780 |
|
-3.24858 |
-8.25104 |
-0.01063 |
-0.01018 |
8.14593 |
|
6.46683 |
-4.76286 |
-0.00766 |
-0.00747 |
1.07279 |
|
8.32549 |
-3.01755 |
-0.00577 |
-0.00568 |
-2.85881 |
|
6.18213 |
-1.42684 |
-0.00419 |
-0.00416 |
-3.92711 |
|
2.74071 |
-0.34828 |
-0.00306 |
-0.00306 |
-3.05401 |
|
-0.15644 |
0.00007 |
-0.00242 |
-0.00242 |
-1.55388 |
|
-1.71064 |
0.00071 |
-0.00176 |
-0.00176 |
-0.05261 |
Пояснения к результатам расчета
Конструкция основания рельсовых путей состоит из сборных балок длиной 12,5 м, соединенных между собой рельсом.
Для расчета конструкции балок они условно разбиты на участки длиной 1 м. Каждый участок имеет жесткость, определенную для балки высотой 0,65 м. В месте стыка балок участок имеет жесткость рельса.
Грунтовое основание представлено комбинированной моделью, которая позволяет производить расчеты при нелинейной зависимости осадок, от нагрузки.
Связь между конструкцией и основанием односторонняя, т.е. учитывается влияние основания только для сжимающих усилий.
Программа для расчета балок на ЭВМ написана на языке Фортран и хранится в Союзморниипроекте.
Характеристики основания приняты для песчаных грунтов (мелких песков, песков средней крупности и крупных песков) с относительной плотностью сложения основания D > 0,6.
Нагрузка на рельсовые пути от крана принята в соответствии с Нормами технологического проектирования морских портов, РД 31.31.37-78 и относится к нагрузке К-35 при шести катках в ноге крана.
Эта схема дает наибольшие усилия в конструкции и деформации ее.
Расчеты проведены для балок, имеющих ширину плиты подошвы 1,2 и 1,8 м.
Исходные данные
j = 32° h = 0,65 м
g =
17,5
b = 1,2 м
D = 0,6
Eс = 104 МПа Нагрузка по
a = 0,027 К-35 Схема 1

Исходные данные
j = 32° h = 0,65 м
g =
17,5
b = 1,2 м
D = 0,8
Ec = 176 МПа Нагрузка по
a = 0,046 К-35 Схема 1
|
Изгибающие моменты Х10 кН×м |
Реактивное давление Х10 кПа |
Прогибы сум. м |
Прогибы укр. м |
Перерезывающие силы Х10 кН |
|
0.11283 |
-0.87389 |
-0.00445 |
-0.00441 |
0.45133 |
|
0.29417 |
-1.77386 |
-0.00639 |
-0.00531 |
-0.17731 |
|
0.30101 |
-1.16005 |
-0.00532 |
-0.00527 |
-0.06936 |
|
0.18573 |
-1.31309 |
-0.00563 |
-0.00557 |
-0.14507 |
|
0.03991 |
-1.31558 |
-0.00388 |
-0.00581 |
-0.22377 |
|
-0.17849 |
-1.29766 |
-0.00012 |
-0.00605 |
-0.28097 |
|
-0.45715 |
-1.28999 |
-0.00637 |
-0.00630 |
-0.32895 |
|
-0.76140 |
-1.20763 |
-0.00659 |
-0.00653 |
-0.27810 |
|
-1.01267 |
-1.11819 |
-0.00681 |
-0.00675 |
-0.11993 |
|
-0.98685 |
-0.63235 |
-0.00684 |
-0.00680 |
0.62125 |
|
-0.17590 |
-0.00004 |
-0.00698 |
-0.00698 |
2.12120 |
|
1.94557 |
0.00087 |
-0.00712 |
-0.00712 |
3.62225 |
|
5.56824 |
0.00227 |
-0.00761 |
-0.00761 |
5.12496 |
|
9.85696 |
-2.78522 |
-0.01378 |
-0.01346 |
3.28269 |
|
11.34903 |
-8.75398 |
-0.02225 |
-0.02062 |
-5.72208 |
|
3.92428 |
-14.42949 |
-0.03245 |
-0.02854 |
-21.53746 |
|
-19.27649 |
-19.97385 |
-0.044408 |
-0.03673 |
-44.00607 |
|
-51.56688 |
-24.67152 |
-0.05542 |
-0.04401 |
-19.61191 |
|
-71.96349 |
-27.28719 |
-0.06268 |
-0.04841 |
1.64346 |
|
-70.32973 |
-27.31953 |
-0.06318 |
-0.04877 |
22.86002 |
|
-46.72444 |
-24.83530 |
-0.05695 |
-0.04514 |
47.05766 |
|
-11.48587 |
-20.48213 |
-0.04697 |
-0.03894 |
23.97910 |
|
13.95836 |
-15.59844 |
-0.03706 |
-0.03224 |
6.76097 |
|
22.00865 |
-11.30142 |
-0.02920 |
-0.02645 |
-5.30074 |
|
17.71707 |
-7.93744 |
-0.02345 |
-0.02190 |
-13.32566 |
|
6.26025 |
-1.70791 |
-0.01771 |
-0.01746 |
-13.87515 |
|
-10.42341 |
-11.06954 |
-0.02640 |
-0.02396 |
-25.65860 |
|
-29.55580 |
-14.31469 |
-0.03153 |
-0.02776 |
-11.33623 |
|
-41.51344 |
-16.38586 |
-0.03476 |
-0.03000 |
0.50073 |
|
-41.07988 |
-16.61124 |
-0.03473 |
-0.02992 |
12.06725 |
|
-28.53296 |
-19.01058 |
-0.03144 |
-0.02750 |
25.55455 |
|
-9.64543 |
-12.23540 |
-0.02622 |
-0.02355 |
12.37207 |
|
3.68862 |
-9.02730 |
-0.02056 |
-0.01901 |
3.03872 |
|
7.88963 |
-9.15563 |
-0.01483 |
-0.01419 |
-1.64803 |
|
6.84512 |
-3.14276 |
-0.01112 |
-0.01083 |
-3.91935 |
|
3.71511 |
-0.51134 |
-0.00768 |
-0.00765 |
-3.03296 |
|
0.63641 |
0.00164 |
-0.00487 |
-0.00487 |
-1.53098 |
|
-0.69387 |
0.00424 |
-0.00210 |
-0.00210 |
-0.02590 |
Исходные данные
j = 32° h = 0,65 м
g =
17,5
b = 1,8 м
D = 0,6
Ec = 128 МПа Нагрузка по
a = 0,034 К-35 Схема 1
|
Изгибающие моменты Х10 кНм |
Реактивное давление Х10 кПа |
Прогибы сум. м |
Прогибы укр. м |
Перерезывающие силы Х10 кН |
|
0.12060 |
-0.56467 |
-0.00412 |
-0.00411 |
-0.48360 |
|
0.33152 |
-1.17130 |
-0.00508 |
-0.00505 |
-0.12473 |
|
0.37330 |
-0.80128 |
-0.00499 |
-0.00497 |
-0.06703 |
|
0.26559 |
-0.89166 |
-0.00528 |
-0.00525 |
-0.17203 |
|
0.10833 |
-0.85884 |
-0.00547 |
-0.00544 |
-0.21795 |
|
-0.11781 |
-0.87705 |
-0.00571 |
-0.00568 |
-0.29664 |
|
-0.40218 |
-0.84978 |
-0.00592 |
-0.00589 |
-0.32624 |
|
-0.70097 |
-0.78867 |
-0.00611 |
-0.00608 |
-0.24584 |
|
-0.91272 |
-0.71302 |
-0.00630 |
-0.00628 |
-0.02928 |
|
-0.86037 |
-0.54483 |
-0.00645 |
-0.00643 |
0.49002 |
|
-0.18190 |
-0.11284 |
-0.00646 |
-0.00646 |
1.78690 |
|
1.65595 |
0.00038 |
-0.00660 |
-0.00660 |
3.28759 |
|
4.94390 |
0.00120 |
-0.00691 |
-0.00691 |
4.78975 |
|
8.95548 |
-1.72807 |
-0.01236 |
-0.01223 |
3.17923 |
|
10.59138 |
-5.15768 |
-0.01203 |
-0.01849 |
-4.60460 |
|
4.27618 |
-8.95902 |
-0.02705 |
-0.02559 |
-19.23083 |
|
-16.80635 |
-13.07392 |
-0.03581 |
-0.03298 |
-41.26389 |
|
-46.68706 |
-16.94460 |
-0.04410 |
-0.03958 |
-17.76416 |
|
-65.48337 |
-19.23825 |
-0.04928 |
-0.04355 |
1.60698 |
|
-63.87500 |
-19.23917 |
-0.04960 |
-0.04383 |
20.98367 |
|
-41.90977 |
-17.05394 |
-0.04622 |
-0.04056 |
44.28659 |
|
-9.10159 |
-13.39480 |
-0.03796 |
-0.03489 |
21.67596 |
|
14.18568 |
-9.81434 |
-0.03074 |
-0.02891 |
5.51016 |
|
21.02234 |
-6.86647 |
-0.02077 |
-0.02374 |
-5.34948 |
|
16.55183 |
-4.91311 |
-0.02057 |
-0.01996 |
-12.69308 |
|
5.56228 |
-1.12750 |
-0.01396 |
-0.01585 |
-13.22258 |
|
-10.40808 |
-7.23413 |
-0.02333 |
-0.02231 |
-24.7.4399 |
|
-28.75780 |
-9.69114 |
-0.02759 |
-0.02598 |
-10.68803 |
|
-40.14381 |
-11.24172 |
-0.03011 |
-0.02806 |
0.57687 |
|
-39.60492 |
-11.32670 |
-0.02995 |
-0.02790 |
11.68831 |
|
-27.38463 |
-10.14511 |
-0.02733 |
-0.02565 |
24.92761 |
|
-8.94529 |
-7.89688 |
-0.02284 |
-0.02175 |
12.21323 |
|
4.29074 |
-3.62348 |
-0.01815 |
-0.01754 |
3.59096 |
|
8.74201 |
-3.71195 |
-0.01401 |
0.01370 |
-1.59055 |
|
7.84628 |
-2.16804 |
-0.01052 |
-0.01039 |
-3.99302 |
|
4.44193 |
0.85996 |
-0.00759 |
-0.00755 |
-4.04094 |
|
-1.04027 |
0.56053 |
-0.00505 |
-0.00503 |
-1.53199 |
|
-0.74347 |
0.00187 |
-0.00246 |
-0.00246 |
-0.02862 |
Исходные данные
j = 32° h = 0,65 м
g =
17,5
b = 1,8 м
D = 0,8
Ec = 217 МПа Нагрузка по
a = 0,057 К-35 Схема 1
|
Изгибающие моменты Х10 кНм |
Реактивное давление Х10 кПа |
Прогибы сум. м |
Прогибы укр. м |
Перерезывающие силы Х10 кН |
|
-0.03134 |
-0.90297 |
-0.00265 |
-0.00263 |
-0.12534 |
|
-0.14345 |
-0.87357 |
-0.00282 |
-0.00281 |
-0.19776 |
|
-0.26384 |
-0.70163 |
-0.00286 |
-0.00285 |
0.03931 |
|
-0.30225 |
-0.27434 |
-0.00310 |
-0.00305 |
-0.03451 |
|
-0.35209 |
-0.90841 |
-0.00327 |
-0.00325 |
-0.16964 |
|
-0.53063 |
-0.92818 |
-0.00343 |
-0.00341 |
-0.34037 |
|
-0.87911 |
-0.94620 |
-0.00359 |
-0.00356 |
-0.54353 |
|
-1.41130 |
-0.92100 |
-0.00371 |
-0.00368 |
-0.70133 |
|
-2.03138 |
-0.74045 |
-0.00372 |
-0.00370 |
-0.53414 |
|
-2.38290 |
-0.33482 |
-0.00363 |
-0.00362 |
0.36319 |
|
-1.86930 |
0.00023 |
-0.00351 |
-0.00351 |
1.86360 |
|
-0.00507 |
0.00115 |
-0.00323 |
-0.00323 |
3.36567 |
|
3.36066 |
0.00116 |
-0.00392 |
-0.00392 |
4.86777 |
|
8.03076 |
-0.43811 |
-0.00027 |
-0.00527 |
5.57918 |
|
11.74863 |
-4.57434 |
-0.01085 |
-0.01051 |
-1.15463 |
|
8.70082 |
-8.78137 |
-0.01641 |
-0.01544 |
-15.46109 |
|
-8.89572 |
-13.52681 |
-0.02308 |
-0.02097 |
-38.30934 |
|
-36.05232 |
-17.90964 |
-0.02975 |
-0.02615 |
-16.54668 |
|
-53.68515 |
-20.32330 |
-0.03387 |
-0.02922 |
0.87137 |
|
-52.80293 |
-20.29924 |
-0.03400 |
-0.02933 |
18.33279 |
|
-33.36630 |
-17.84605 |
-0.03016 |
-0.02652 |
40.20984 |
|
-4.35807 |
-13.57181 |
-0.02398 |
-0.02179 |
17.28059 |
|
14.9085? |
-9.15848 |
-0.01807 |
-0.01695 |
2.29533 |
|
18.78273 |
-5.65032 |
-0.01360 |
-0.01308 |
-6.37523 |
|
13.63212 |
-2.92897 |
-0.01051 |
-0.01030 |
-10.14738 |
|
4.23649 |
-1.25794 |
-0.00924 |
-0.00916 |
-10.91168 |
|
-9.12506 |
-6.70213 |
-0.01372 |
-0.01310 |
-21.47549 |
|
-24.76282 |
-10.39608 |
-0.01773 |
-0.01648 |
-8.68843 |
|
-34.27870 |
-12.23513 |
-0.01938 |
-0.01824 |
0.78835 |
|
-33.29686 |
-11.80482 |
-0.01934 |
-0.01780 |
11.03967 |
|
-21.73677 |
-10.64803 |
-0.01754 |
-0.01627 |
23.37323 |
|
-4.81903 |
-8.32768 |
-0.01438 |
-0.01357 |
9.88341 |
|
6.46867 |
-5.20577 |
-0.01064 |
-0.01026 |
2.01303 |
|
9.24169 |
-3.51770 |
-0.00813 |
-0.00793 |
-2.81884 |
|
7.25587 |
-1.66691 |
-0.00578 |
-0.00571 |
-4.31927 |
|
3.63267 |
-0.11951 |
-0.00394 |
-0.00394 |
-3.03439 |
|
0.65213 |
0.00000 |
-0.00325 |
-0.00325 |
-1.53439 |
|
-0.88218 |
0.00142 |
-0.00180 |
-0.00180 |
-0.03183 |
Исходные данные
j = 34° h = 0,65 м
g =
17,5
b = 1,2 м
D = 0,6
Ec = 136 МПа Нагрузка по
a = 0,036 К-35 Схема 1
|
Изгибающие моменты Х10 кНм |
Реактивное давление Х10 кПа |
Прогибы сум. м |
Прогибы укр. м |
Перерезывающие силы Х10 кН |
|
0.26040 |
-0.38201 |
-0.00534 |
-0.00533 |
1.04158 |
|
0.76989 |
-2.15565 |
-0.00723 |
-0.00714 |
-0.04520 |
|
0.98195 |
-1.29812 |
-0.00702 |
-0.00697 |
-0.10294 |
|
0.87201 |
-1.32146 |
-0.00728 |
-0.00723 |
-0.18869 |
|
0.69320 |
-1.28855 |
-0.00754 |
-0.00748 |
-0.23495 |
|
0.48140 |
-1.21138 |
-0.00778 |
-0.00773 |
-0.18860 |
|
0.29686 |
-1.19784 |
-0.00810 |
-0.00805 |
-0.12601 |
|
0.19119 |
-1.13003 |
-0.00843 |
-0.00838 |
0.01795 |
|
0.22793 |
-1.06742 |
-0.00881 |
-0.00876 |
0.23704 |
|
0.51228 |
-0.90971 |
-0.00919 |
-0.00914 |
0.64538 |
|
1.30143 |
-0.43042 |
-0.00749 |
-0.00947 |
1.62880 |
|
3.05943 |
0.00017 |
-0.01007 |
-0.01007 |
3.12900 |
|
6.18901 |
0.00212 |
-0.01020 |
-0.01020 |
4.63154 |
|
9.72262 |
-3.65763 |
-0.01863 |
-0.01824 |
1.74238 |
|
9.85594 |
-9.02119 |
-0.02822 |
-0.02676 |
-7.58305 |
|
0.68572 |
-14.31172 |
-0.03718 |
-0.03598 |
-23.25710 |
|
-24.13510 |
-19.52412 |
-0.05093 |
-0.04526 |
-45.18605 |
|
-57.55138 |
-24.04147 |
-0.06189 |
-0.05341 |
-20.03583 |
|
-78.35709 |
-26.60774 |
-0.06375 |
-0.05832 |
2.03488 |
|
-76.34206 |
-26.67384 |
-0.06739 |
-0.05884 |
24.02626 |
|
-51.62042 |
-24.35594 |
-0.06402 |
-0.05513 |
48.79912 |
|
-14.73800 |
-20.32813 |
-0.05491 |
-0.04855 |
25.90536 |
|
12.51355 |
-15.84152 |
-0.04534 |
-0.04125 |
8.39554 |
|
22.05402 |
-12.02511 |
-0.03740 |
-0.03484 |
-4.53459 |
|
18.36864 |
-9.39363 |
-0.03142 |
-0.02973 |
-14.30694 |
|
6.38351 |
-1.45433 |
-0.02294 |
-0.02275 |
-14.55214 |
|
-11.26186 |
-11.76518 |
-0.03356 |
-0.03131 |
-27.17035 |
|
-31.66280 |
-14.20089 |
-0.03819 |
-0.03505 |
-12.71141 |
|
-44.89833 |
-15.94692 |
-0.04093 |
-0.03721 |
-0.34772 |
|
-45.25616 |
-15.98049 |
-0.04047 |
-0.03678 |
11.97569 |
|
-32.82001 |
-14.44550 |
-0.03138 |
-0.03390 |
26.14110 |
|
-13.37451 |
-11.76397 |
-0.02531 |
-0.02927 |
13.52434 |
|
1.04906 |
-8.76633 |
-0.01768 |
-0.02405 |
4.50475 |
|
6.39023 |
-5.97961 |
-0.0168 |
-0.01901 |
-1.17066 |
|
6.00564 |
-3.35901 |
0.01460 |
-0.01432 |
-3.70148 |
|
3.09937 |
-0.70804 |
-0.01018 |
-0.01014 |
-3.05112 |
|
0.26113 |
0.00178 |
-0.00624 |
-0.00624 |
-1.54900 |
|
-1.28680 |
0.00471 |
-0.00229 |
-0.00229 |
-0.04334 |
Исходные данные
j = 34° h = 0,65 м
g =
17,5
b = 1,2 м
D = 0,8
Ec = 230 МПа Нагрузка по
a = 0,006 К-35 Схема 1
|
Изгибающие моменты Х10 кНм |
Реактивное давление Х10 кПа |
Прогибы сум. м |
Прогибы укр. м |
Перерезывающие силы Х10 кН |
|
0.00841 |
-1.22129 |
-.0.00355 |
-0.00353 |
0.03445 |
|
-0.04581 |
-1.51753 |
-0.00397 |
-0.00393 |
-0.28658 |
|
-0.18977 |
-1.04215 |
-0.00396 |
-0.00394 |
-0.03716 |
|
-0.29783 |
-1.27847 |
-0.00425 |
-0.00422 |
-0.07132 |
|
-0.39173 |
-1.35374 |
-0.00449 |
-0.00446 |
-0.19581 |
|
-0.59293 |
-1.37173 |
-0.00471 |
-0.00466 |
-0.34188 |
|
-0.93298 |
-1.36560 |
-0.00490 |
-0.00486 |
-0.48061 |
|
-1.39240 |
-1.29498 |
-0.00506 |
-0.00502 |
-0.53458 |
|
-1.85713 |
-1.06882 |
-0.00515 |
-0.00512 |
-0.31717 |
|
-2.03201 |
-0.58786 |
-0.00516 |
-0.00514 |
0.47739 |
|
-1.37820 |
0.00020 |
-0.00513 |
-0.00513 |
1.97763 |
|
0.69981 |
0.00147 |
-0.00500 |
-0.00500 |
3.47939 |
|
4.07937 |
0.00202 |
-0.00575 |
-0.00575 |
4.98181 |
|
8.61664 |
-1.47977 |
-0.00950 |
-0.00941 |
4.70608 |
|
11.44113 |
-7.75176 |
-0.01564 |
-0.01487 |
-3.09602 |
|
5.53576 |
-13.78288 |
-0.02307 |
-0.02105 |
-18.13548 |
|
-13.54937 |
-20.28163 |
-0.03188 |
-0.02776 |
-40.97345 |
|
-43.07849 |
-25.88390 |
-0.04049 |
-0.03381 |
-18.03413 |
|
-62.03069 |
-28.94412 |
-0.04589 |
-0.03743 |
1.23291 |
|
-60.81403 |
-28.99821 |
-0.04619 |
-0.03766 |
20.43504 |
|
-39.45738 |
-25.92622 |
-0.04133 |
-0.03450 |
43.32358 |
|
-7.62431 |
-20.47792 |
-0.03347 |
-0.02910 |
20.25006 |
|
14.38629 |
-14.60943 |
-0.02584 |
-0.02343 |
4.21875 |
|
20.05743 |
-9.76384 |
-0.02000 |
-0.01875 |
-6.00386 |
|
15.17750 |
-6.02166 |
-0.01691 |
-0.01529 |
-11.72985 |
|
4.69940 |
-1.84960 |
-0.01325 |
-0.01310 |
-12.44938 |
|
-10.40707 |
-10.70662 |
-0.01921 |
-0.01790 |
-23.79732 |
|
-27.94550 |
-14.84417 |
-0.02352 |
-0.02129 |
-10.11032 |
|
-38.68304 |
-16.93428 |
-0.02584 |
-0.02305 |
1.06854 |
|
-37.84622 |
-17.70636 |
-0.02625 |
-0.02329 |
11.32091 |
|
-25.73776 |
-15.08084 |
-0.02307 |
-0.02085 |
24.72391 |
|
-7.64164 |
-12.17400 |
-0.01731 |
-0.01781 |
-11.61511 |
|
4.90425 |
-9.07022 |
-0.01?33 |
-0.01445 |
2.23084 |
|
8.28946 |
-5.22327 |
-0.01117 |
-0.01080 |
-2.53708 |
|
6.53161 |
-2.62723 |
-0.00309 |
-0.00795 |
-4.18976 |
|
3.03385 |
-0.30286 |
-0.00568 |
-0.00567 |
-3.05319 |
|
0.07680 |
0.00114 |
-0.00397 |
-0.00397 |
-1.55182 |
|
-1.47436 |
0.00382 |
-0.00183 |
-0.00183 |
-0.04724 |
Исходные данные
j = 34° h = 0,65 м
g =
17,5
b = 1,8 м
D = 0,6
Ec = 170 МПа Нагрузка по
a = 0,044 К-35 Схема 1
|
Изгибающие моменты Х10 кНм |
Реактивное давление Х10 кПа |
Прогибы сум. м |
Прогибы укр. м |
Перерезывающие силы Х10 кН |
|
0.01801 |
-0.79330 |
-0.00330 |
-0.00329 |
-0.07205 |
|
-0.01614 |
-1.02933 |
-0.00373 |
-0.00371 |
-0.28073 |
|
-0.14793 |
-0.69833 |
-0.00367 |
-0.00366 |
-0.03773 |
|
-0.25261 |
-0.84711 |
-0.00394 |
-0.00393 |
-0.06253 |
|
-0.34413 |
-0.91153 |
-0.00418 |
-0.00416 |
-0.20329 |
|
-0.53887 |
-0.89254 |
-0.00434 |
-0.00432 |
-0.30985 |
|
-0.84861 |
-0.89230 |
-0.00452 |
-0.00451 |
-0.41599 |
|
1.25384 |
-0.86838 |
-0.00469 |
-0.00467 |
-0.47907 |
|
-1.68570 |
-0.76348 |
-0.00480 |
-0.00478 |
-0.35333 |
|
-1.92010 |
-0.49919 |
-0.00481 |
-0.00480 |
0.24813 |
|
-1.43739 |
0.02211 |
-0.00473 |
-0.00473 |
1.78793 |
|
0.34088 |
0.00065 |
-0.00466 |
-0.00466 |
3.28910 |
|
3.63015 |
0.00103 |
-0.00524 |
-0.00524 |
4.79095 |
|
7.98227 |
-0.97415 |
-0.00855 |
-0.00851 |
4.53749 |
|
10.83653 |
-4.71465 |
-0.01379 |
0.01349 |
-2.44887 |
|
6.61706 |
-8.64928 |
-0.01989 |
-0.01910 |
-16.51756 |
|
-11.96751 |
-13.24259 |
-0.02687 |
-0.02524 |
-38.35422 |
|
-39.65120 |
-17.58582 |
-0.03348 |
-0.03078 |
-16.50870 |
|
-57.33714 |
-20.20192 |
-0.03762 |
-0.03414 |
1.12784 |
|
-56.19887 |
-20.17877 |
-0.03780 |
-0.03431 |
18.80605 |
|
-36.23672 |
-17.60962 |
-0.03414 |
-0.03138 |
41.10873 |
|
-6.34602 |
-13.37184 |
-0.02814 |
-0.02641 |
18.53943 |
|
14.07093 |
-9.19958 |
-0.02216 |
-0.02122 |
3.48019 |
|
18.97440 |
-6.03702 |
-0.01747 |
-0.01699 |
-5.88644 |
|
14.12995 |
-3.72142 |
-0.01414 |
-0.01390 |
-11.08499 |
|
4.16720 |
-1.22748 |
-0.01189 |
-0.01182 |
-11.79446 |
|
-10.14540 |
-6.82328 |
-0.01707 |
-0.01654 |
-22.57635 |
|
-26.60880 |
-9.90553 |
-0.02085 |
-0.01991 |
-8.90631 |
|
-36.36343 |
-11.29109 |
-0.02313 |
-0.02189 |
1.36974 |
|
-35.10533 |
-12.03894 |
-0.02321 |
-0.02193 |
11.19965 |
|
-23.22415 |
-10.52415 |
-0.02095 |
-0.01994 |
23.75618 |
|
-5.87613 |
-8.09756 |
-0.01741 |
-0.01676 |
10.68057 |
|
5.87374 |
-5.72060 |
-0.01374 |
-0.01338 |
1.88349 |
|
8.74631 |
-3.52377 |
-0.01028 |
-0.01012 |
-2.95930 |
|
6.77927 |
-1.34903 |
-0.00712 |
-0.00708 |
-3.83356 |
|
3.26137 |
-0.61775 |
-0.00543 |
-0.00541 |
-3.44551 |
|
0.19240 |
0.22003 |
-0.00403 |
-0.00403 |
-1.54946 |
|
-1.45558 |
0.00169 |
-0.00204 |
-0.00204 |
-0.04641 |
Исходные данные
j = 36° h = 0,65 м
g =
17,5
b = 1,2 м
D = 0,6
Eо = 180 МПа Нагрузка по
a = 0,047 К-35 Схема 1
|
Изгибающие моменты Х10 кНм |
Реактивное давление Х10 кПа |
Прогибы сум. м |
Прогибы укр. м |
Перерезывающие силы Х10 кН |
|
0.06396 |
-1.03680 |
-0.00441 |
-0.00439 |
0.25584 |
|
0.14363 |
-1.62404 |
-0.00511 |
-0.00508 |
-0.19301 |
|
0.10108 |
-1.12251 |
-0.00511 |
-0.00509 |
-0.04002 |
|
0.01754 |
-1.26757 |
-0.00541 |
-0.00538 |
-0.06110 |
|
-0.05984 |
-1.32180 |
-0.00569 |
-0.00566 |
-0.14727 |
|
-0.20038 |
-1.29937 |
-0.00593 |
-0.00590 |
-0.20651 |
|
-0.40966 |
-1.30862 |
0.00620 |
-0.00616 |
-0.27685 |
|
-0.67130 |
-1.25791 |
-0.00644 |
-0.00640 |
-0.28634 |
|
-0.90583 |
-1.08521 |
-0.000662 |
-0.00659 |
-0.08859 |
|
-0.89929 |
-0.76813 |
-0.00677 |
-0.00675 |
0.48966 |
|
-0.26038 |
-0.27062 |
-0.00696 |
-0.00695 |
1.66492 |
|
1.48590 |
0.00060 |
-0.00712 |
-0.00712 |
3.16564 |
|
4.65184 |
0.00160 |
-0.00777 |
-0.00777 |
4.66756 |
|
8.65318 |
-2.21925 |
-0.01262 |
-0.01250 |
3.50446 |
|
10.52201 |
-7.67126 |
-0.01930 |
-0.01866 |
-4.20104 |
|
4.61321 |
-13.36374 |
0.02709 |
-0.02553 |
-18.73752 |
|
-15.99631 |
-19.60373 |
-0.03571 |
-0.03269 |
-40.76199 |
|
-45.44321 |
-25.63670 |
-0.04400 |
-0.03914 |
-17.52605 |
|
-64.02440 |
-29.15379 |
-0.04918 |
-0.04300 |
1.48940 |
|
-62.54538 |
-29.18842 |
-0.04954 |
-0.04331 |
20.46329 |
|
-41.05247 |
-29.75627 |
-0.04513 |
-0.04012 |
43.55576 |
|
-8.89806 |
-20.01070 |
-0.03784 |
-0.03458 |
21.04291 |
|
13.80157 |
-14.48829 |
-0.03068 |
-0.02876 |
5.15697 |
|
20.29230 |
-10.04205 |
-0.02484 |
-0.02376 |
-5.39349 |
|
15.85498 |
-6.85516 |
-0.02058 |
-0.01997 |
-12.11968 |
|
5.26019 |
-1.77233 |
-0.01694 |
-0.01681 |
-12.74648 |
|
-10.19634 |
-10.80593 |
-0.02346 |
-0.02237 |
-24.21359 |
|
-28.04424 |
-14.58678 |
-0.02765 |
-0.02591 |
-10.21773 |
|
-39.02815 |
-17.14037 |
-0.03023 |
-0.02800 |
0.71382 |
|
-38.34221 |
-17.23381 |
-0.03004 |
-0.02781 |
11.53325 |
|
-26.25627 |
-15.39117 |
-0.02742 |
-0.02560 |
24.56384 |
|
-8.23345 |
-12.19506 |
-0.02313 |
-0.02191 |
11.42978 |
|
4.42136 |
-8.10963 |
-0.01805 |
-0.01742 |
3.19823 |
|
8.54026 |
-5.04163 |
-0.01387 |
-0.01357 |
-1.35172 |
|
7.63142 |
-3.56437 |
-0.01096 |
-0.01080 |
-4.12940 |
|
4.24065 |
-1.10447 |
-0.00784 |
-0.00780 |
-3.95477 |
|
0.84667 |
0.76532 |
-0.00657 |
-0.00555 |
-1.53639 |
|
-0.91874 |
0.00283 |
-0.00303 |
-0.00303 |
-0.03500 |
Исходные данные
j = 36° h = 0,65 м
g =
17,5
b = 1,2 м
D = 0,8
Eо = 305 МПа Нагрузка по
a = 0,08 К-35 Схема 1
|
Изгибающие моменты Х10 кНм |
Реактивное давление Х10 кПа |
Прогибы сум. м |
Прогибы укр. м |
Перерезывающие силы Х10 кН |
|
-0.04645 |
-1.4048 |
-0.00273 |
-0.00271 |
-0.18581 |
|
-0.17865 |
-1.22612 |
-0.00288 |
-0.00286 |
-0.15715 |
|
-0.27879 |
-1.03610 |
-0.00297 |
-0.00295 |
0.09953 |
|
-0.25661 |
-1.29392 |
-0.00321 |
-0.00319 |
0.04682 |
|
-0.23030 |
-1.36230 |
-0.00340 |
-0.00337 |
-0.08793 |
|
-0.33500 |
-1.41818 |
-0.00357 |
-0.00355 |
-0.28975 |
|
-0.62640 |
-1.42399 |
-0.00373 |
-0.00370 |
-0.49854 |
|
-1.10010 |
-1.34091 |
-0.00385 |
-0.00382 |
-0.60764 |
|
-1.65361 |
-1.17715 |
-0.00393 |
-0.00391 |
-0.52021 |
|
-2.00901 |
-0.61112 |
-0.00390 |
-0.00388 |
0.24644 |
|
-1.57913 |
0.00036 |
-0.00378 |
-0.00378 |
1.74687 |
|
0.16815 |
0.00174 |
-0.00360 |
-0.00360 |
3.24895 |
|
3.41704 |
0.00153 |
-0.00442 |
-0.00442 |
4.75078 |
|
8.05686 |
-0.36836 |
-0.00656 |
-0.00655 |
5.30875 |
|
11.94160 |
-6.78174 |
-0.01099 |
-0.01063 |
-0.82934 |
|
9.23637 |
-13.03480 |
-0.01639 |
-0.01536 |
-14.97110 |
|
-7.91166 |
-20.29103 |
-0.02297 |
-0.02072 |
-37.82034 |
|
-34.60826 |
-26.96184 |
-0.02959 |
-0.02573 |
-16.17456 |
|
-51.91739 |
-30.74377 |
-0.03377 |
-0.02876 |
0.93291 |
|
-50.96753 |
-30.68721 |
-0.03389 |
-0.02888 |
18.10825 |
|
-31.71080 |
-26.85884 |
-0.03003 |
-0.02614 |
39.87764 |
|
-3.03181 |
-20.43756 |
-0.02402 |
-0.02165 |
16.85257 |
|
15.79406 |
-13.85988 |
-0.01827 |
-0.01705 |
1.72072 |
|
19.17747 |
-8.31813 |
-0.01377 |
-0.01322 |
-6.76104 |
|
13.73308 |
-3.92948 |
-0.01067 |
-0.01047 |
-9.97641 |
|
4.36725 |
-1.89352 |
-0.00972 |
-0.00963 |
-10.74864 |
|
-8.70847 |
-9.65051 |
-0.01363 |
-0.01299 |
-20.82924 |
|
-23.76126 |
-15.39583 |
-0.01753 |
-0.01623 |
-7.80423 |
|
-32.52296 |
-18.55132 |
-0.0189 |
-001811 |
1.43419 |
|
-31.06487 |
-18.50667 |
-0.01976 |
-0.01800 |
10.72618 |
|
-19.74171 |
-16.51668 |
-0.01777 |
-0.01636 |
22.40593 |
|
-3.53326 |
-12.17522 |
-0.01421 |
-0.01338 |
9.29567 |
|
7.15729 |
-7.52493 |
-0.01059 |
-0.01020 |
1.76575 |
|
9.69453 |
-4.95286 |
-0.00810 |
-0.00790 |
-2.67767 |
|
7.77351 |
-2.43295 |
-0.00594 |
-0.00587 |
-4.09722 |
|
4.30166 |
-0.34823 |
-0.00427 |
-0.00426 |
-3.01516 |
|
1.39091 |
0.00070 |
-0.00318 |
-0.00318 |
-1.51432 |
|
-0,12297 |
0.00232 |
-0.00203 |
-0.00203 |
-0.01154 |
Исходные данные
j = 32° hб = 0,65 м
g =
17,5
b = 1,2 м
D = 0,6
Eо = 104 МПа Нагрузка по
a = 0,027 К-35 Схема 2

Исходные данные
j = 32° hб = 0,65 м
g =
17,5
b = 1,2 м
D = 0,8
Eс = 176 МПа Нагрузка по
a = 0,046 К-35 Схема 2
|
Изгибающие моменты Х10 кНм |
Реактивное давление Х10 кПа |
Прогибы сум. м |
Прогибы укр. м |
Перерезывающие силы Х10 кН |
|
0.40698 |
0.10660 |
0.07719 |
0.07712 |
1.62792 |
|
1.53504 |
-1.55959 |
-0.00571 |
-0.00563 |
1.25642 |
|
3.22580 |
-0.11149 |
-0.00520 |
-0.00519 |
2.62263 |
|
5.88213 |
0.00057 |
-0.00500 |
-0.00500 |
4.12331 |
|
10.00564 |
0. 00120 |
-0.00504 |
-0.00504 |
5.62476 |
|
15.63044 |
0.00136 |
-0.00565 |
-0.00565 |
7.12639 |
|
22.75667 |
0.00090 |
-0.00709 |
-0.00709 |
8.62746 |
|
31.26146 |
-0.40795 |
-0.00978 |
-0.00975 |
9.63792 |
|
39.98495 |
-3.45607 |
-0.01655 |
-0.01413 |
6.99065 |
|
45.54257 |
-8.23280 |
-0.02225 |
-0.02072 |
-1.38872 |
|
42.17047 |
-14.84406 |
-0.03392 |
-0.02972 |
-17.70158 |
|
21.85690 |
-23.55067 |
-0.05128 |
-0.04120 |
-44.46240 |
|
-10.35361 |
-26.46103 |
-0.06071 |
-0.04730 |
-22.21564 |
|
-33.81339 |
-30.60815 |
-0.07120 |
-0.05301 |
-4.94543 |
|
-37.77621 |
-27.33276 |
-0.06362 |
-0.04911 |
16.25525 |
|
-20.28043 |
-23.19766 |
-0.05334 |
-0.04301 |
42.41805 |
|
10.60613 |
-17.88591 |
-0.04191 |
-0.03565 |
22.45494 |
|
34.60046 |
-12.75463 |
-0.03240 |
-0.02895 |
8.64938 |
|
44.36137 |
-9.04961 |
-0.02617 |
-0.02419 |
-0.71014 |
|
44.12868 |
-7.45888 |
-0.02336 |
-0.02190 |
-8.16080 |
|
35.80794 |
-7.99126 |
-0.02359 |
-0.02202 |
-16.25031 |
|
18.85822 |
-10.32349 |
-0.02643 |
-0.02415 |
-27.13849 |
|
-1.71524 |
-13.43927 |
-0.03077 |
-0.02732 |
-11.76561 |
|
-14.32310 |
-16.24815 |
-0.03503 |
-0.03028 |
0.23660 |
|
-14.91403 |
-19.00552 |
-0.03845 |
-0.03235 |
8.92996 |
|
-4.56698 |
-14.28164 |
-0.03110 |
-0.02739 |
23.29199 |
|
11.55760 |
-13.17196 |
-0.02742 |
-0.02440 |
8.98564 |
|
22.03123 |
-8.21223 |
-0.01992 |
-0.01855 |
0.63097 |
|
23.69043 |
-4.78523 |
-0.01451 |
-0.01393 |
-3.61131 |
|
20.78830 |
-2.42264 |
-0.01072 |
-0.01051 |
-5.01847 |
|
16.16116 |
-1.11697 |
-0.00331 |
-0.00824 |
-4.85884 |
|
11.48484 |
-0.50828 |
-0.00685 |
-0.00682 |
-3.96877 |
|
7.56327 |
-0.35064 |
-0.00602 |
-0.00601 |
-2.88954 |
|
4.64542 |
-0.44686 |
-0.00559 |
-0.00556 |
-1.92577 |
|
2.69186 |
-0.53730 |
-0.00529 |
-0.00526 |
-1.07053 |
|
1.56935 |
-0.71155 |
-0.00512 |
-0.00509 |
-0.42439 |
|
1.10044 |
-0.86176 |
-0.00498 |
-0.00494 |
0.04149 |
|
1.02180 |
-1.26075 |
-0.00488 |
-0.00483 |
0.02859 |
Исходные данные
j = 32° h = 0,65 м
g =
17,5
b = 1,8 м
D = 0,6
Eс = 129 МПа Нагрузка по
a = 0,034 К-35 Схема 2
|
Изгибающие моменты Х10 кНм |
Реактивное давление Х10 кПа |
Прогибы сум. м |
Прогибы укр. м |
Перерезывающие силы Х10 кН |
|
0.40399 |
0.06441 |
0.07672 |
0.07669 |
1.61595 |
|
1.52690 |
-1.03121 |
-0.00541 |
-0.00537 |
1.25976 |
|
3.13988 |
-0.24628 |
-0.00495 |
-0.00495 |
2.31646 |
|
5.56726 |
0.00023 |
-0.00470 |
-0.00470 |
3.81686 |
|
7.38429 |
0.00059 |
-0.00469 |
-0.00469 |
5.31793 |
|
14.70228 |
0.00073 |
-0.00518 |
-0.00518 |
6.81924 |
|
21.52135 |
0.00043 |
-0.00652 |
-0.00652 |
8.32002 |
|
29.69022 |
-0.33544 |
-0.00894 |
-0.00892 |
9.21623 |
|
38.08592 |
-2.15882 |
-0.01317 |
-0.01300 |
6.83035 |
|
43.59389 |
-5.09748 |
-0.01975 |
-0.01914 |
-0.84511 |
|
40.74898 |
-9.54145 |
-0.02944 |
-0.02774 |
-16.51971 |
|
21.48193 |
-15.64663 |
-0.04262 |
-0.03859 |
-43.18364 |
|
-9.54140 |
-17.79037 |
-0.04943 |
-0.04411 |
21.20631 |
|
-32.24945 |
-21.12755 |
-0.05716 |
-0.04986 |
-5.23590 |
|
-36.35060 |
-18.60583 |
-0.05199 |
-0.04614 |
15.27361 |
|
-19.68161 |
-15.50499 |
-0.04457 |
-0.04039 |
41.36464 |
|
10.26198 |
-11.71842 |
-0.03600 |
-0.03345 |
21.77150 |
|
33.58241 |
-8.27628 |
-0.02858 |
-0.02715 |
8.37421 |
|
43.04706 |
-5.85346 |
-0.02347 |
-0.02264 |
-0.66201 |
|
42.83418 |
-4.85547 |
-0.02114 |
-0.02052 |
-7.90185 |
|
34.74863 |
-5.26333 |
-0.02144 |
-0.02076 |
-15.87583 |
|
18.17616 |
-6.81201 |
-0.02389 |
-0.02291 |
-26.63744 |
|
-1.94213 |
-8.99172 |
-0.02762 |
-0.02612 |
-11.32253 |
|
-14.13010 |
-10.91406 |
-0.03106 |
-0.02901 |
0.53218 |
|
-14.51653 |
-12.95565 |
-0.03384 |
-0.03119 |
8.71202 |
|
-4.27292 |
-9.55123 |
-0.02764 |
-0.02623 |
23.01982 |
|
11.61605 |
-8.73112 |
-0.02467 |
-0.02336 |
8.30380 |
|
21.92027 |
-5.39656 |
-0.01824 |
-0.01765 |
0.58999 |
|
23.54068 |
-3.10801 |
-0.01337 |
-0.01312 |
-3.50443 |
|
20.71954 |
-1.58953 |
-0.00992 |
-0.00982 |
-4.86558 |
|
16.20203 |
-0.81543 |
-0.00775 |
-0.00771 |
-4.83335 |
|
11.58778 |
-0.32911 |
-0.00629 |
-0.00628 |
-3.92576 |
|
7.69845 |
-0.24691 |
-0.00554 |
-0.00553 |
-2.87020 |
|
4.82007 |
-0.26559 |
-0.00511 |
-0.00510 |
-1.84827 |
|
2.91230 |
-0.39776 |
-0.00492 |
-0.00491 |
-1.06424 |
|
1.82949 |
-0.43843 |
-0.00472 |
-0.00471 |
-0.35342 |
|
1.38791 |
-0.63540 |
-0.00470 |
-0.00468 |
0.00286 |
|
1.30989 |
-0.81484 |
0.00457 |
-0.00455 |
0.03614 |
Исходные данные
j = 32° h = 0,65 м
g =
17,5
b = 1,8 м
D = 0,8
Eс = 217 МПа Нагрузка по
a = 0,057 К-35 Схема 2
|
Изгибающие моменты Х10 кНм |
Реактивное давление Х10 кПа |
Прогибы сум. м |
Прогибы укр. м |
Перерезывающие силы Х10 кН |
|
-0.43978 |
-1.81063 |
-0.00359 |
-0.00355 |
-1.75914 |
|
-1.38409 |
0.00011 |
-0.00259 |
-0.00259 |
-0.25894 |
|
-1.71974 |
-0.17035 |
-0.00285 |
-0.00285 |
0.93443 |
|
-0.81926 |
-0.24580 |
-0.00310 |
-0.00309 |
1.99198 |
|
1.23560 |
-0.10606 |
-0.00327 |
-0.00326 |
3.30108 |
|
4.58447 |
0.00014 |
-0.00343 |
-0.00343 |
4.80133 |
|
9.38583 |
0.00020 |
-0.00387 |
-0.00387 |
6.30170 |
|
15.66907 |
-0.04080 |
-0.00480 |
-0.00480 |
7.72825 |
|
22.89313 |
-1.15001 |
-0.00666 |
-0.00661 |
7.15824 |
|
29.07771 |
-3.32482 |
-0.00980 |
-0.00958 |
2.67356 |
|
29.90926 |
-7.41823 |
-0.01500 |
-0.01425 |
-9.17925 |
|
17.96423 |
-13.56433 |
-0.02261 |
-0.02054 |
-32.09503 |
|
-5.37629 |
-23.27655 |
-0.03356 |
-0.02828 |
-19.99281 |
|
-25.05042 |
-22.56831 |
-0.03413 |
-0.02893 |
-6.61577 |
|
-30.62199 |
-20.24788 |
-0.03143 |
-0.02713 |
10.93805 |
|
-17.29512 |
-16.49486 |
-0.02660 |
-0.02364 |
35.24731 |
|
6.37632 |
-11.49676 |
-0.02061 |
-0.01901 |
16.05315 |
|
24.36201 |
-7.20226 |
-0.01557 |
-0.01481 |
4.58908 |
|
30.18135 |
-4.46832 |
-0.01234 |
-0.01197 |
-1.95389 |
|
28.60185 |
-3.63635 |
-0.01112 |
-0.01085 |
-6.99932 |
|
21.23096 |
-4.46217 |
-0.01166 |
-0.01131 |
-13.53123 |
|
6.77122 |
-6.52572 |
-0.01353 |
-0.01294 |
-23.77751 |
|
-10.61641 |
-8.99277 |
-0.01591 |
-0.01495 |
-8.46449 |
|
-19.80624 |
-10.60463 |
-0.01760 |
-0.01634 |
3.94717 |
|
-15.52913 |
-9.87146 |
-0.01774 |
-0.01655 |
17.67856 |
|
-2.85696 |
-20.99673 |
-0.02582 |
-0.02216 |
11.38443 |
|
8.27520 |
-4.89067 |
-0.01210 |
-0.01170 |
4.08123 |
|
12.96417 |
-3.53958 |
-0.00902 |
-0.00880 |
-0.79000 |
|
12.86744 |
-1.99837 |
-0.00674 |
-0.00665 |
-2.88707 |
|
10.41885 |
-1.02457 |
-0.00520 |
-0.00517 |
-3.23130 |
|
7.40196 |
-0.54827 |
-0.00425 |
-0.00424 |
-2.71819 |
|
4.73729 |
-0.42953 |
-0.00373 |
-0.00372 |
-1.99135 |
|
2.76179 |
-0.39389 |
-0.00340 |
-0.00339 |
-1.20036 |
|
1.48775 |
-0.55877 |
-0.00328 |
-0.00326 |
-0.70614 |
|
0.74870 |
-0.63065 |
-0.00315 |
-0.00313 |
-0.34131 |
|
0.39722 |
-0.65419 |
-0.00301 |
-0.00300 |
-0.01885 |
|
0.33954 |
-0.73871 |
-0.00291 |
-0.00290 |
0.15147 |
|
0.41413 |
-0.91007 |
-0.00281 |
-0.00279 |
0.01172 |
Исходные данные
j = 34° h = 0,65 м
g =
17,5
b = 1,2 м
D = 0,6
Eс = 136 МПа Нагрузка по
a = 0,036 К-35 Схема 2
|
Изгибающие моменты Х10 кНм |
Реактивное давление Х10 кПа |
Прогибы сум. м |
Прогибы укр. м |
Перерезывающие силы Х10 кН |
|
0.39901 |
0.08304 |
0.07649 |
0.07646 |
1.59965 |
|
1.68410 |
-0.96849 |
-0.00674 |
-0.00671 |
1.93746 |
|
3.90002 |
-0.04029 |
-0.00654 |
-0.00654 |
3.38911 |
|
7.30134 |
0.00038 |
-0.00662 |
-0.00662 |
4.88957 |
|
12.19101 |
0.00072 |
-0.00702 |
-0.00702 |
6.39043 |
|
18.58139 |
0.00066 |
-0.00810 |
-0.00810 |
7.89123 |
|
26.47246 |
0.00010 |
-0.01022 |
-0.01022 |
9.39135 |
|
35.43785 |
-1.49172 |
-0.01382 |
-0.01371 |
9.18769 |
|
43.78989 |
-4.20518 |
-0.01966 |
-0.01919 |
5.64147 |
|
48.13956 |
-8.51120 |
-0.02339 |
-0.02701 |
-3.07197 |
|
43.19139 |
-14.76511 |
-0.04102 |
-0.03757 |
-19.29008 |
|
21.41536 |
-23.05156 |
-0.05310 |
-0.05046 |
-45.45197 |
|
-11.88946 |
-26.31105 |
-0.06798 |
-0.05778 |
-23.02524 |
|
-36.02264 |
-30.00417 |
-0.07657 |
-0.06347 |
-5.03024 |
|
-40.03964 |
-26.62666 |
-0.06981 |
-0.05921 |
17.01776 |
|
-21.81818 |
-22.61427 |
-0.06040 |
-0.05261 |
43.88063 |
|
10.43219 |
-17.63173 |
-0.04959 |
-0.04460 |
24.22255 |
|
36.02017 |
-13.08032 |
-0.04032 |
-0.03732 |
10.02617 |
|
47.05225 |
-9.72720 |
-0.03381 |
-0.03193 |
-0.14647 |
|
47.32942 |
-8.31527 |
-0.03072 |
-0.02926 |
-8.62479 |
|
38.61974 |
-8.59846 |
-0.03060 |
-0.02905 |
-17.44293 |
|
20.58824 |
-10.56056 |
-0.03320 |
-0.03120 |
-28.61560 |
|
-1.31117 |
-13.17311 |
-0.03715 |
-0.03436 |
-12.92332 |
|
-14.96544 |
-15.61035 |
-0.04099 |
-0.03734 |
-0.15575 |
|
-15.91758 |
-18.26334 |
-0.04410 |
-0.03950 |
94.2825 |
|
-5.30232 |
-14.30658 |
-0.03754 |
-0.03448 |
23.76036 |
|
11.42423 |
-12.75256 |
-0.03286 |
-0.03047 |
9.95729 |
|
22.74759 |
-8.19855 |
-0.02488 |
-0.02372 |
1.61903 |
|
25.32495 |
-5.00441 |
-0.01874 |
-0.01820 |
-2.88626 |
|
23.10677 |
-2.77709 |
-0.01424 |
-0.01401 |
-4.71877 |
|
18.78438 |
-1.45613 |
-0.01119 |
-0.01110 |
-4.96613 |
|
14.03815 |
-0.72355 |
-0.00919 |
-0.00915 |
-4.33438 |
|
9.76582 |
-0.51553 |
-0.00802 |
-0.00799 |
-3.45301 |
|
6.33424 |
-0.44449 |
-0.00725 |
-0.00724 |
-2.48640 |
|
3.83372 |
-0.49113 |
-0.00677 |
-0.00675 |
-1.57576 |
|
2.23316 |
-0.57665 |
-0.00644 |
-0.00642 |
-0.76774 |
|
1.41004 |
-0.75759 |
-0.00625 |
-0.00622 |
-0.17685 |
|
1.13761 |
-1.07744 |
-0.00606 |
-0.00603 |
0.03023 |
Исходные данные
j = 34° h = 0,65 м
g =
17,5
b = 1,2 м
D = 0,8
Eс = 230 МПа Нагрузка по
a = 0,06 К-35 Схема 2
|
Изгибающие моменты Х10 кНм |
Реактивное давление Х10 кПа |
Прогибы сум. м |
Прогибы укр. м |
Перерезывающие силы Х10 кН |
|
-1.67877 |
-6.84589 |
-0.00737 |
-0.00705 |
-6.71506 |
|
-6.31115 |
0.09636 |
0.05213 |
0.05209 |
-5.09943 |
|
-11.41638 |
0.07703 |
0.04112 |
0.04110 |
-3.50699 |
|
-14.92363 |
0.05947 |
0.03074 |
0.03073 |
-1.93563 |
|
-16.86903 |
0.04354 |
0.02120 |
0.02119 |
-0.38338 |
|
-17.25667 |
0.02928 |
0.01259 |
0.01259 |
1.15175 |
|
-16.10884 |
0.01624 |
0.00494 |
0.00494 |
2.67124 |
|
-10.78467 |
8.85933 |
-0.00193 |
-0.00182 |
14.80243 |
|
1.11044 |
-0.83147 |
-0.00796 |
-0.00792 |
15.30434 |
|
14.59951 |
-6.88257 |
-0.01471 |
-0.01407 |
8.54526 |
|
21.20030 |
-13.36415 |
-0.02303 |
-0.02107 |
-5.99171 |
|
13.32745 |
-19.63452 |
-0.03352 |
-0.02932 |
-28.05313 |
|
-8.55906 |
-42.82912 |
-0.06425 |
-0.04671 |
-25.44807 |
|
-29.91628 |
-29.19292 |
-0.04877 |
-0.03969 |
-6.47958 |
|
-36.04761 |
-28.03195 |
-0.04537 |
-0.03727 |
13.88206 |
|
-20.89795 |
-23.80652 |
-0.03858 |
-0.03273 |
39.31424 |
|
7.04503 |
-17.96065 |
-0.03043 |
-0.02695 |
19.26146 |
|
27.98160 |
-12.37695 |
-0.02350 |
-0.02165 |
5.90912 |
|
35.04538 |
-8.52800 |
-0.01897 |
-0.01794 |
-2.82448 |
|
32.69057 |
-6.96238 |
-0.01693 |
-0.01618 |
-9.67934 |
|
22.78954 |
-7.70142 |
-0.01712 |
-0.01628 |
-17.42104 |
|
4.73372 |
-9.81781 |
-0.01879 |
-0.01761 |
-27.70241 |
|
-16.19775 |
-12.24845 |
-0.02096 |
-0.01932 |
-10.90054 |
|
-27.28394 |
-12.86691 |
-0.02183 |
-0.02004 |
5.15916 |
|
-20.44331 |
-7.26195 |
-0.02008 |
-0.01915 |
27.94482 |
|
-3.84349 |
-45.07341 |
-0.05708 |
-0.04068 |
5.35072 |
|
6.85176 |
-2.26160 |
-0.01450 |
-0.01429 |
4.13680 |
|
10.33173 |
-4.45175 |
-0.01169 |
-0.01135 |
0.29471 |
|
11.07157 |
-2.96865 |
-0.00922 |
-0.00904 |
-1.76768 |
|
9.66327 |
-1.77016 |
-0.00738 |
-0.00730 |
-2.39187 |
|
7.48715 |
-1.05095 |
-0.00615 |
-0.00611 |
-2.15300 |
|
5.36548 |
-0.94619 |
-0.00546 |
-0.00543 |
-1.78843 |
|
3.63861 |
-0.74103 |
-0.00492 |
-0.00490 |
-1.17766 |
|
2.40216 |
-0.93624 |
-0.00468 |
-0.00466 |
-0.80115 |
|
1.57112 |
-1.03671 |
-0.00449 |
-0.00446 |
-0.54521 |
|
0.93703 |
-1.33290 |
-0.00437 |
-0.00434 |
-0.64468 |
|
0.40936 |
-0.94048 |
-0.00394 |
-0.00392 |
-0.27325 |
|
0.11290 |
-1.02176 |
-0.00365 |
-0.00362 |
0.00123 |
Исходные данные
j = 34° h = 0,65 м
g =
17,5
b = 1,8 м
D = 0,6
Eс = 170 МПа Нагрузка по
a = 0,044 К-35 Схема 2
|
Изгибающие моменты Х10 кНм |
Реактивное давление Х10 кПа |
Прогибы сум. м |
Прогибы укр. м |
Перерезывающие силы Х10 кН |
|
-0.62156 |
-2.21458 |
-0.00491 |
-0.00486 |
-2.48624 |
|
-2.11078 |
0.00101 |
-0.00241 |
-0.00241 |
-0.98442 |
|
-2.87740 |
0.48501 |
-0.00304 |
-0.00303 |
1.38860 |
|
-1.68369 |
0.05193 |
-0.00359 |
-0.00359 |
2.98207 |
|
1.28978 |
0.03283 |
-0.00400 |
-0.00400 |
4.54116 |
|
5.81621 |
0.00009 |
-0.00444 |
-0.00444 |
6.04133 |
|
11.85750 |
0.00003 |
-0.00521 |
-0.00521 |
7.54137 |
|
19.21526 |
-0.40799 |
-0.00661 |
-0.00660 |
8.30698 |
|
26.98199 |
-1.60851 |
-0.00912 |
-0.00905 |
6.91166 |
|
32.83183 |
-3.96807 |
-0.01323 |
-0.01299 |
1.26914 |
|
32.37375 |
-7.80631 |
-0.01938 |
-0.01869 |
-11.28221 |
|
18.54851 |
-13.45742 |
-0.02798 |
-0.02626 |
-34.00572 |
|
-6.82407 |
-23.43942 |
-0.04051 |
-0.03616 |
-22.19667 |
|
-28.09187 |
-21.37523 |
-0.03976 |
-0.03587 |
-6.67207 |
|
-33.88698 |
-19.42647 |
-0.03709 |
-0.03379 |
12.36029 |
|
-19.98256 |
-15.99507 |
-0.03204 |
-0.02969 |
37.56918 |
|
6.46920 |
-11.53347 |
-0.02571 |
-0.02435 |
18.30894 |
|
26.52034 |
-7.66212 |
-0.02019 |
-0.01949 |
6.01714 |
|
33.66338 |
-5.16005 |
-0.01650 |
-0.01611 |
-1.77096 |
|
32.29497 |
-4.26548 |
-0.01493 |
-0.01463 |
-7.94881 |
|
24.07776 |
-4.86229 |
-0.01531 |
-0.01497 |
-15.20093 |
|
8.10064 |
-6.58687 |
-0.01717 |
-0.01665 |
-25.55730 |
|
-10.89963 |
-8.68260 |
-0.01958 |
-0.01880 |
-9.68597 |
|
-21.17772 |
-9.99895 |
-0.02124 |
-0.02026 |
3.81592 |
|
-16.96680 |
-9.12054 |
-0.02136 |
-0.02047 |
18.89896 |
|
-3.52039 |
-21.23759 |
-0.03152 |
-0.02845 |
12.17130 |
|
8.52026 |
-4.86052 |
-0.01532 |
-0.01498 |
4.92237 |
|
13.97339 |
-3.68136 |
-0.01163 |
-0.01143 |
-20.20409 |
|
14.44397 |
-2.18187 |
-0.00884 |
-0.00875 |
-2.63145 |
|
12.21808 |
-1.28045 |
-0.00694 |
-0.00690 |
-3.43626 |
|
9.06977 |
-0.64094 |
-0.00559 |
-0.00557 |
-3.08996 |
|
6.06737 |
-0.44667 |
-0.00482 |
-0.00481 |
-2.39396 |
|
3.68330 |
-0.41410 |
-0.00437 |
-0.00436 |
-1.63934 |
|
2.03227 |
-0.47115 |
-0.00411 |
-0.00410 |
-0.98740 |
|
0.99428 |
-0.56327 |
-0.00395 |
-0.00394 |
-0.50129 |
|
0.45638 |
-0.66449 |
-0.00382 |
-0.00381 |
-0.16138 |
|
0.27533 |
-0.68750 |
-0.00367 |
-0.00366 |
0.10113 |
|
? |
-6.82436 |
-0.00356 |
-0.00354 |
0.00839 |
Исходные данные
j = 34° h = 0,65 м
g =
17,5
b = 1,8 м
D = 0,8
Eс = 287 МПа Нагрузка по
a = 0,075 К-35 Схема 2
|
Изгибающие моменты Х10 кНм |
Реактивное давление Х10 кПа |
Прогибы сум. м |
Прогибы укр. м |
Перерезывающие силы Х10 кН |
|
-0.31258 |
-1.52795 |
-0.00259 |
-0.00257 |
-1.25031 |
|
-0.96998 |
-0.21040 |
-0.00216 |
-0.00216 |
-0.12902 |
|
-1.24011 |
-0.52397 |
-0.0.0238 |
-0.00238 |
0.42783 |
|
-0.76871 |
-0.42715 |
-0.00248 |
-0.00248 |
1.15897 |
|
0.48451 |
-0.21770 |
-0.00255 |
-0.00255 |
2.26710 |
|
2.87318 |
0.05246 |
-0.00265 |
-0.00265 |
3.86152 |
|
6.71122 |
0.00027 |
-0.00286 |
-0.00286 |
5.36200 |
|
12.07319 |
0.00018 |
-0.03343 |
-0.00343 |
6.86233 |
|
18.69836 |
-0.52677 |
-0.00461 |
-0.00460 |
7.41414 |
|
25.10504 |
-2.76556 |
-0.00696 |
-0.00686 |
3.93613 |
|
27.19553 |
-6.86696 |
-0.01083 |
-0.01045 |
-6.92439 |
|
17.21815 |
-13.65138 |
-0.01674 |
-0.01557 |
-29.99686 |
|
-3.90969 |
-23.10910 |
-0.02434 |
-0.02146 |
-17.59325 |
|
-21.78193 |
-23.72922 |
-0.02574 |
-0.02261 |
-6.30583 |
|
-26.98956 |
-21.28868 |
-0.02384 |
-0.02124 |
9.37454 |
|
-15.72837 |
-17.09607 |
-0.02007 |
-0.01831 |
32.60162 |
|
6.30109 |
-11.42304 |
-0.01527 |
-0.01437 |
13.54016 |
|
22.00714 |
-6.60994 |
-0.01123 |
-0.01085 |
3.14228 |
|
26.43526 |
-3.75247 |
-0.00874 |
-0.00857 |
-2.11217 |
|
24.67613 |
-2.96788 |
-0.00787 |
-0.00773 |
-5.95435 |
|
18.26511 |
-3.98272 |
-0.00841 |
-0.00824 |
-11.62325 |
|
5.52096 |
-6.47405 |
-0.01009 |
-0.00976 |
-21.77654 |
|
-10.09294 |
-9.44551 |
-0.01219 |
-0.01160 |
-7.27844 |
|
-18.18979 |
-11.26481 |
0.01359 |
-0.01280 |
3.94490 |
|
-13.88527 |
-10.46561 |
-0.01364 |
-0.01291 |
16.60681 |
|
-2.00206 |
-20.96179 |
-0.01885 |
-0.01682 |
10.37560 |
|
8.15043 |
-4.79127 |
-0.00903 |
-0.00881 |
3.25131 |
|
12.08288 |
-3.27749 |
-0.00662 |
-0.00651 |
-1.14817 |
|
11.63501 |
-1.72109 |
-0.00491 |
-0.00486 |
-2.74613 |
|
9.27146 |
-0.87136 |
-0.00383 |
-0.00381 |
-2.81458 |
|
6.54775 |
-0.66957 |
-0.00327 |
-0.00326 |
-2.51981 |
|
4.07998 |
-0.55308 |
-0.00288 |
-0.00288 |
-2.01536 |
|
2.14582 |
-0.37232 |
-0.00257 |
-0.00256 |
-1.18554 |
|
0.85770 |
-0.60053 |
-0.00249 |
-0.00248 |
-0.76649 |
|
0.14690 |
-0.47721 |
-0.00229 |
-0.00229 |
-0.12547 |
|
0.03557 |
-0.44506 |
-0.00217 |
-0.00217 |
0.57342 |
|
0.39544 |
-0.91998 |
-0.00229 |
-0.00228 |
0.41745 |
|
? |
-1.09268 |
-0.00221 |
-0.00220 |
0.02263 |
Исходные данные
j = 36° h = 0,65 м
g =
17,5
b = 1,2 м
D = 0,6
Eс = 180 МПа Нагрузка по
a = 0,047 К-35 Схема 2
|
Изгибающие моменты Х10 кНм |
Реактивное давление Х10 кПа |
Прогибы сум. м |
Прогибы укр. м |
Перерезывающие силы Х10 кН |
|
0.40805 |
0.11017 |
0.07797 |
0.07793 |
1.63220 |
|
1.49004 |
-1.72388 |
-0.00570 |
-0.00565 |
1.06355 |
|
2.95264 |
-0.39368 |
-0.00530 |
-0.00529 |
2.09113 |
|
5.16196 |
0.00030 |
-0.00513 |
-0.00513 |
3.59148 |
|
8.75361 |
0.00085 |
-0.00518 |
-0.00518 |
5.09250 |
|
13.84619 |
0.00109 |
-0.00570 |
-0.00570 |
6.59381 |
|
20.43985 |
0.00070 |
-0.00700 |
-0.00700 |
8.09465 |
|
28.43169 |
-0.34199 |
-0.00936 |
-0.00934 |
9.18426 |
|
36.80354 |
-3.04998 |
-0.01348 |
-0.01330 |
7.02429 |
|
42.50717 |
-7.45219 |
-0.01991 |
-0.01927 |
-0.41834 |
|
40.08128 |
-14.14390 |
-0.02937 |
-0.02758 |
-15.89101 |
|
21.31616 |
-23.72426 |
0.04238 |
-0.03805 |
-42.86012 |
|
-9.27167 |
-26.56667 |
-0.04906 |
-0.04344 |
-20.74013 |
|
-31.70938 |
-32.22523 |
-0.05703 |
-0.04911 |
-5.41042 |
|
-35.89714 |
-28.14980 |
-0.05192 |
-0.04562 |
14.80983 |
|
-19.65685 |
-23.38148 |
-0.04453 |
-0.04004 |
40.75204 |
|
9.71698 |
-17.55879 |
-0.03603 |
-0.03330 |
21.18149 |
|
32.50392 |
-12.20730 |
-0.02865 |
-0.02714 |
8.03273 |
|
41.65137 |
-8.49169 |
-0.02363 |
-0.02276 |
-0.65730 |
|
41.42746 |
-7.04711 |
-0.02139 |
-0.02074 |
-7.61383 |
|
33.60181 |
-7.75326 |
-0.02172 |
-0.02100 |
-15.41774 |
|
17.45341 |
-10.18885 |
-0.02414 |
-0.02308 |
-26.14435 |
|
-2.18675 |
-13.50768 |
-0.02775 |
-0.02613 |
-10.85356 |
|
-13.97922 |
-16.63782 |
-0.03126 |
-0.02901 |
0.68105 |
|
-14.29304 |
-19.95370 |
-0.03391 |
-0.03100 |
8.23660 |
|
-4.28099 |
-14.03520 |
-0.02764 |
-0.02597 |
22.89436 |
|
11.32751 |
-13.32187 |
-0.02472 |
-0.02330 |
8.40813 |
|
21.33957 |
-7.97346 |
-0.0.1833 |
-0.01770 |
0.33997 |
|
22.71371 |
-4.52745 |
-0.01356 |
-0.01330 |
-3.59297 |
|
19.78372 |
-2.31636 |
-0.01022 |
-0.01011 |
-4.87259 |
|
15.27517 |
-1.10421 |
-0.00803 |
-0.00799 |
-4.69765 |
|
10.77110 |
-0.45863 |
-0.00663 |
-0.00662 |
-3.74800 |
|
7.03597 |
-0.41580 |
-0.00391 |
-0.00590 |
-2.74696 |
|
4.28552 |
-0.42678 |
-0.00545 |
-0.00544 |
-1.75910 |
|
2.47046 |
-0.61356 |
-0.00521 |
-0.00520 |
-0.99537 |
|
1.42772 |
-0.77165 |
-0.00504 |
-0.00502 |
-0.42135 |
|
0.98994 |
-0.82495 |
-0.00483 |
-0.00482 |
0.08871 |
|
0,51571 |
-1.10169 |
-0.00477 |
-0,00474 |
-0,00567 |
Исходные данные
j = 36° h = 0,65 м
g =
17,5
b = 1,2 м
D = 0,8
Eс = 305 МПа Нагрузка по
a = 0,08 К-35 Схема 2
|
Изгибающие моменты Х10 кНм |
Реактивное давление Х10 кПа |
Прогибы сум. м |
Прогибы укр. м |
Перерезывающие силы Х10 кН |
|
-0.35205 |
-2.42349 |
-0.00350 |
-0.00346 |
-1.40819 |
|
-1.04673 |
-0.04513 |
-0.00291 |
-0.00290 |
0.03766 |
|
-1.17721 |
-0.60562 |
-0.00319 |
-0.00318 |
0.81092 |
|
-0.32595 |
-0.47116 |
-0.00336 |
-0.00335 |
1.74553 |
|
1.49510 |
-0.21943 |
-0.00353 |
-0.00352 |
2.98222 |
|
4.54319 |
0.00015 |
-0.00373 |
-0.00373 |
4.48240 |
|
9.02562 |
0.00027 |
-0.00417 |
-0.00417 |
5.98273 |
|
14.99920 |
-0.03024 |
-0.00511 |
-0.00511 |
7.44643 |
|
22.00192 |
-1.50917 |
-0.00688 |
-0.00683 |
7.13544 |
|
28.14075 |
-4.83115 |
-0.01000 |
-0.00977 |
2.83806 |
|
29.19337 |
-10.78262 |
-0.01501 |
-0.01423 |
-8.60109 |
|
17.68423 |
-20.47612 |
-0.02263 |
-0.02040 |
-31.67244 |
|
-5.12312 |
-34.67584 |
-0.03288 |
-0.02739 |
-19.28345 |
|
-24.33022 |
-34.42128 |
-0.03417 |
-0.02850 |
-6.58899 |
|
-29.83046 |
-30.79221 |
-0.03151 |
-0.02683 |
10.46036 |
|
-17.60213 |
-24.89893 |
-0.02661 |
-0.02342 |
34.58165 |
|
6.18303 |
-17.13721 |
-0.02064 |
-0.01893 |
15.51700 |
|
23.68471 |
-10.52156 |
-0.01567 |
-0.01488 |
4.39113 |
|
29.26672 |
-6.55188 |
-0.01258 |
-0.01218 |
-1.97113 |
|
27.70526 |
-5.18639 |
-0.01133 |
-0.01105 |
-6.69479 |
|
20.61044 |
-6.51990 |
-0.01187 |
-0.01150 |
-13.01868 |
|
6.60793 |
-9.79958 |
-001373 |
-0.01308 |
-23.27817 |
|
-10.34827 |
-13.72676 |
-0.01611 |
-0.01505 |
-8.25027 |
|
-19.38446 |
-16.34596 |
-0.01781 |
-0.01640 |
3.63457 |
|
-15.26969 |
-14.74485 |
-0.01787 |
-0.01660 |
17.44075 |
|
-2.85125 |
-31.48714 |
-0.02479 |
-0.02103 |
11.15617 |
|
8.17010 |
-6.93624 |
-0.01228 |
-0.01187 |
4.33268 |
|
12.96044 |
-5.40952 |
-0.00927 |
-0.00903 |
-0.65874 |
|
13.02845 |
-2.98746 |
-0.00701 |
-0.00691 |
-2.74369 |
|
10.63705 |
-1.81367 |
-0.00558 |
-0.00553 |
-3.42008 |
|
7.50408 |
-0.85739 |
-0.00453 |
-0.00451 |
-2.94895 |
|
4.58057 |
-0.77210 |
-0.00398 |
-0.00396 |
-2.37547 |
|
2.35820 |
-0.26127 |
-0.00346 |
-0.00346 |
-1.18899 |
|
1.00744 |
-0.80121 |
-0.00340 |
-0.00339 |
-0.65044 |
|
0.33010 |
-0.89035 |
-0.00326 |
-0.00325 |
-0.21886 |
|
0.05373 |
-1.08235 |
-0.00317 |
-0.00315 |
-0.01767 |
|
0.08447 |
-0.92046 |
-0.00297 |
-0.00296 |
0.37778 |
|
0.27082 |
-1.55807 |
-0.00296 |
-0.00294 |
0.00809 |
Необходимо на причальном сооружении из заанкерованного шпунта заменить шпально-балластное основание рельсового пути, воспринимавшего крановую нагрузку К-25, на основание из сборных железобетонные балок под нагрузку К-35.
Из архивных данных установлено, что засыпка пазухи и территория образованы из среднезернистого песка со средним углом внутреннего трения j = 32°35¢, сцеплением С = 1 кПа и g = 1,9 кН/м3.
Относительная плотность сложения песчаного грунта находилась в пределах от 0,6 до 0,85.
Уровень воды находится на 3,15 м ниже отметки территории.
Причал эксплуатируется 23 года.
Принимаем размеры балки: длина 12,5 м, ширина b = I,2 м и высота h = 0,65 м.
Нагрузка на грунтовое основание на уровне подошвы вдоль, балки от веса грунта и железобетонного покрытия территории составляет q = 15 кН/м.
Определяем характеристики грунтового основания после 23 лет эксплуатации причала.
Согласно п. 1.2. определяем
jt = 32°35¢ + 0,06×23 = 34°13¢
Ct = 1 + 0,04×23 = 1,9 кН/м2
Определяем средневзвешенное значение gb3b.
gb3b =
= 17,5 кН/м3
Принимаем для расчета следующие значения характеристик основания грунта.
j = 34°; С = 2 кН/м2 = 17,5 кН/м3
D = 0,6 и q = 15 кН/м2
Статический расчет балок на грунтовом основании проводим по программе (см. приложение 1) на принятие характеристики основания и размеры балки. Некоторые результаты расчетов приведены в табл. приложения.
В соответствии РД 31.31.37-78 принимает нагрузку на рельсовый путь по схеме К-35. Собственный погонный вес конструкции составляет 15 кН/м.
В соответствии с п. 3.7 наибольшие нормативные изгибающие моменты в балках находятся при расположении наибольшей нагрузки от ноги крана посередине длины балки и при расположении нагрузки по концам балки.
Наибольшие значения усилий, перерезывающих сил, давлений и деформаций выбираем из таблицы (приложение 2), в которых приведены результаты расчетов. Эпюры изгибающих моментов и деформаций приведены на рис. 6.
Mmax = -783,5 кНм, Mmax = + 481,4 кНм,
Rmax = 300 кПа, Qmax = 454,5 кН.
= 0,076 м,
= 0,063 м

Рис. 8
Расчетное значение изгибающих моментов в балке определяют в соответствии с указанием п. 2.8.
Изгибающий момент растягивающей нижнюю грань балки
Мрасч = -mМmax = 1,25×783,6 = -979,5 кНм
Изгибающий момент, растягивающий верхнюю грань балки
Мрасч = +mМmax = 1,0×484,4 = +481,4 кНм
Определяем наибольший уклон рельсового пути
,
где
- наибольшая упругая
осадка пути, м.
-
упругая осадка на расстоянии D от наибольшей осадки, м.
D - расстояние между осями ног крана вдоль пути, м.
![]()
Уклон меньше нормативного значения. Высоту балки можно уменьшить.
Определяем усилия, действующие в поперечном направлении балки в соответствии с п. 2.11.
Берем сечение балки, в котором действует наибольшее реактивное давление Rmax, полученное при расчете балки вдоль ее длины.
Принимаем равномерное распределение реакции грунта в поперечном сечении балки с ординатой Rmax кПа.
От этой эпюры определяем изгибающий момент и перерезывающую силу для сечения, в котором полка балки примыкает к ребру.
=
-300×1×0,45×0,5×0,45 =
30,4 кН×м на 1
пог. м
Qmax = 300×1×0,45 = 135 кН
Расчетный изгибающий момент Мр в соответствии с п. 2.13 определен по формуле:
= m
, кН×м,
где m = 1,25 - 0,35
.
В
соответствии с п. 1.3 определяем
,
= A×b×g + B×q + Д×с = 890,4 кн/м2
=
0,34
m = 1,25 - 0,35×0,34 = 1,13
= (-1,13)×30,4 кН×м = -34,4 кН×м
Определение наибольших остаточных деформаций.
Перед сдачей путей в эксплуатацию проводят обкатку их кранами. Для этого случая остаточные деформации определяют от веса крана при отсутствии пригрузки основания около балок.
Расчетами определены остаточные деформации от первого загружения Унеобр = 0,8 см.
После 30 проходов крана остаточные осадки составят
= n×
= 1,5×0,8 = 1,2 см
В процессе эксплуатации под нагрузкой К-35 остаточные деформации должны составить:
= 1,5(Уобщ
- Уупр) = 1,5(7,6 - 6,3) = 1,95 см,
но из этого значения
необходимо вычесть
осадки, проявившиеся при обкатке рельсовых путей.
Тогда при эксплуатации следует ожидать необратимые осадки равные
=
1,95 см - 1,2 см = 0,75 см.
СОДЕРЖАНИЕ
|
|
|
|