//
ТехЛит.ру
- крупнейшая бесплатная электронная интернет библиотека для "технически умных" людей.
WWW.TEHLIT.RU - ТЕХНИЧЕСКАЯ ЛИТЕРАТУРА

:: Алготрейдинг::


АЛГОТРЕЙДИНГ
шаг за шагом
с нуля по урокам!

Торговые роботы на PYTHON, BackTrader,
Pandas, Pine Script для TradingView. Связка с брокерами, телеграм и легкими приложениями.


ГОСУДАРСТВЕННЫЕ СТАНДАРТЫ СОЮЗА ССР

ИНСТРУМЕНТ ТВЕРДОСПЛАВНЫЙ
ДЛЯ ОБРАЗОВАНИЯ
ОТВЕРСТИЙ В СТРОИТЕЛЬНЫХ
МАТЕРИАЛАХ

СВЕРЛА КОЛЬЦЕВЫЕ ТВЕРДОСПЛАВНЫЕ

Основные размеры

ГОСТ 17013-71

МОСКВА - 1973

ГОСУДАРСТВЕННЫЙ СТАНДАРТ СОЮЗА ССР

СВЕРЛА КОЛЬЦЕВЫЕ ТВЕРДОСПЛАВНЫЕ

Основные размеры

Carbide annular drills.

Main sizes

ГОСТ

17013-71

Постановлением Государственного комитета стандартов Совета Министров СССР от 3/VI 1971 г. № 1072 срок введения установлен

с 1/1 1973 г.

Несоблюдение стандарта преследуется по закону

1. Настоящий стандарт распространяется на твердосплавные кольцевые сверла для сверления отверстий различного назначения в кирпиче, гипсолите, бетоне и железобетоне (с принудительным удалением буровой мелочи) ручными электрическими сверлильными машинами.

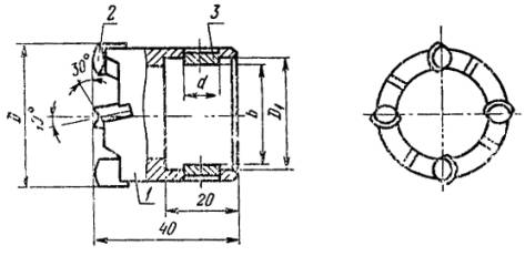
2. Основные размеры сверл должны соответствовать указанным на чертеже и в таблице.

1 - корпус; 2 - пластинка твердосплавная по технической документации, утвержденной в установленном порядке; 3 - шип

Размеры в мм

D

d1 (пред. откл. по А3)

d

b

Количество пластинок

16

11

4

8

3

20

15

6

12

25

18

15

4

(30)

24

21

32

10

20

(36)

28

24

40

32

28

(45)

36

32

50

42

38

75

68

64

6

85

78

74

Примечание. Размеры сверл, заключенные в скобки, применять не рекомендуется.

Пример условного обозначения кольцевого сверла диаметром 16 мм:

Сверло СК-16 ГОСТ 17013-71

Технические требования - по ГОСТ 17017-71.




Яндекс цитирования



   Copyright © 2007-2026,  www.tehlit.ru.

[ ѓосты, стандарты, нормативы, инструкции, правила, строительные нормы ]