//
ТехЛит.ру
- крупнейшая бесплатная электронная интернет библиотека для "технически умных" людей.
WWW.TEHLIT.RU - ТЕХНИЧЕСКАЯ ЛИТЕРАТУРА

:: Алготрейдинг::


АЛГОТРЕЙДИНГ
шаг за шагом
с нуля по урокам!

Торговые роботы на PYTHON, BackTrader,
Pandas, Pine Script для TradingView. Связка с брокерами, телеграм и легкими приложениями.


ЩИТЫ И ПУЛЬТЫ СИСТЕМ АВТОМАТИЗАЦИИ

МОНТАЖ ЭЛЕКТРИЧЕСКИХ ПРОВОДОК

ПОСОБИЕ К ОСТ 36.13-90

РМЗ-54-90

МИНМОНТАЖСПЕЦСТРОЙ СССР

НПО МОНТАЖАВТОМАТИКА

1990

ИНФОРМАЦИОННЫЕ ДАННЫЕ

РАЗРАБОТАН                    Ростовским специальным проектно-конструкторским бюро

ИСПОЛНИТЕЛИ Н.Н.       Краснопольский, В.В. Любарцев, Л.М. Дакоро, В.Ф. Ткаченко, М.Б. Миндин, К.В. Скварковский, А.П. Юрьев

СОГЛАСОВАН                  ГПКИ "Проектмонтажавтоматика"

М.А. Чудинов

Ростовский опытный завод

В.Н. Литус

УТВЕРЖДЕН                     НПО "Монтажавтоматика"

А.С. Клюев

ЩИТЫ И ПУЛЬТЫ СИСТЕМ АВТОМАТИЗАЦИИ

МОНТАЖ ЭЛЕКТРИЧЕСКИХ ПРОВОДОК

ПОСОБИЕ К ОСТ 36.13-90

РМЗ-54-90

Взамен

РМЗ-54-85

Срок введения установлен с 01.01.91

Настоящее пособие содержит основные технические требования к монтажу электрических проводов в щитах, пультах и стативах (в дальнейшем щитах), а также правила приемки и методы контроля смонтированных электрических проводок.

Пособие предназначено для применения на промышленных предприятиях, изготавливающих щиты по ОСТ 36.13-90.

При разработке данного пособия учтен опыт проектирования и изготовления щитов по ОСТ 36.13-76.

1. ТЕХНИЧЕСКИЕ ТРЕБОВАНИЯ

1.1. Требования к исходным материалам

1.1.1. Электрические проводки в щитах должны выполняться проводами с жилами из мягкой и полутвердой медной проволоки с изоляцией, не поддерживающей горение.

Не допускается применение проводов с полиэтиленовой изоляцией.

Рекомендуемые марки и сечения проводов указаны в приложении 1.

В случае технической необходимости предприятие-изготовитель может применять другие марки проводов, не ухудшающие качество щита.

1.1.2. Климатическое исполнение проводов должно быть не ниже климатического исполнения щита.

1.1.3. Провода должны поступать на монтаж в бухтах с заводской маркировкой и не иметь повреждений и загрязнений, снижающих электрическую прочность изоляции ниже значений, установленных ГОСТ 22789-85 или ухудшающих эстетический вид щита.

1.1.4. В качестве основных припоев следует применять:

в. щитах исполнения УХЛ3.1 (УХЛ4) по ГОСТ 15150-69 припой по ГОСТ 21930-76 ПОС 40 для пайки концов проводов и ПОС 61 для пайки выводов полупроводниковых приборов;

в щитах исполнения ТВ 304 (Т4) - олово по ГОСТ 860-75 для всех паяных соединений.

Допускается применение других припоев, не снижающих качество и надежность работы щитов в нормируемых условиях.

1.1.5. В качестве основного флюса при пайке рекомендуется применять 30 % раствора канифоли марок А и В по ГОСТ 19113-84 в спирте по ГОСТ 18300-87 (допускается раствор канифоли в спирте по ГОСТ 17299-78) или кусковую канифоль марки А и В по ГОСТ 19113-84.

Запрещается пользоваться кислотными флюсами.

1.1.6. Наконечники для оконцевания жил проводов должны иметь металлическое покрытие:

для щитов исполнения УХЛ3.1 (УХЛ4) по ГОСТ 15150-69 сплавами олово-свинец по ГОСТ 21930-76;

для щитов исполнения ТВ 304 (Т4) до ГОСТ 15150-69 - оловом по ГОСТ 860-75.

Рекомендуемые для применения наконечники указаны в приложении 3.

1.2. Требования к установке приборов, аппаратов и навесных электрорадиоэлементов. Требования к выводам установленных приборов и аппаратов

1.2.1. Приборы, аппараты и установочные изделия (в дальнейшем устройства), а также навесные электрорадиоэлементы (в дальнейшем элементы), поставляемые со щитами, должны быть установлены в щите, как правило, до начала монтажа в нем электрических проводок.

1.2.2. Устройства должны быть закреплены внутри щита, как правило, на типовых конструкциях сборника СТК 3-19-?0 по типовым монтажным чертежам сборника СТМ 3-19-90 "Установка аппаратуры внутри щитов по ОСТ 36.13-90". Детали для монтажа устройств и проводок должны иметь защитное металлическое покрытие.

При необходимости установки устройства, отсутствующего в сборнике СТМ 3-19-90, его закрепляют по ТМ устройства аналогичной конструкции или по индивидуальному чертежу, который должен входить в состав проектной документации на щит.

1.2.3. При установке устройств в щитах, между открытыми токоведущими частями разных фаз (полярности) рядом стоящих устройств, а также между открытыми токоведущими частями устройств и неизолированными металлическими частями щитов должны быть обеспечены расстояния не менее: 20 мм - по поверхности изоляции и 12 мм - по воздуху.

1.2.4. Положение устройств в щите должно соответствовать требованиям технических условий или инструкций по эксплуатации на эти устройства.

1.2.5. Устройства и элементы должны устанавливаться в щитах так, чтобы не затруднять монтаж соседних устройств или элементов, также не ухудшать условий их эксплуатации (снятие крышек, доступ к органам регулирования и подстройки и т.д.).

1.2.6. Угольники УЗ или скобы СЗ, на которых должны быть установлены устройства с задним присоединением проводов, должны быть ориентированы кромкой основной полки вверх. При установке устройств на двух угольниках или скобах указанное правило касается нижнего из них (черт. 17).

1.2.7. Приборы, устанавливаемые на фасадных панелях и имеющие глубину 300 мм и более, независимо от массы, либо массу более 10 кГ, независимо от глубины, должны иметь поддержку хвостовой части (черт. 16).

Несущие поддерживающие конструкции должны быть установлены в щите во всех случаях, в том числе и для приборов, монтируемых на объекте.

1.2.8. Поясняющие надписи около устройств должны быть четкими и контрастными, выполняться красителем черного цвета в рамках (РПМ по ТУ 36.1130-85) на бумаге, пленке или другой основе белого фона (см. приложение 4).

При этом должны обеспечиваться эстетичность, читаемость и сохраняемость надписей в заданных условиях эксплуатации, транспортирования и хранения.

Содержание надписей должно соответствовать проектной документации.

Шрифт надписей по ГОСТ 26.008-85 и ГОСТ 26.020-80.

Допускается надписи в рамках печатать на пишущей машинке.

1.2.9. В щитах, поставляемых в районы с тропическим климатом, поясняющие надписи выполняют на черно-белом пластике (линолеуме) с гравировкой до контрастного слоя; гравировкой на никелированных пластинках; фотохимическим методом на латуни или алюминии с последующим покрытием лаком или иным способом, удовлетворяющим условиям эксплуатации.

Выполнение поясняющих надписей у устройств на бумаге в щитах, поставляемых в районы с тропическим климатом, не допускается.

Поясняющие надписи в щитах, предназначенных для поставки на экспорт, должны быть выполнены на языке, предусмотренном проектной документацией и заказ-нарядом.

1.2.10. Позиционные обозначения устройств и элементов внутри щита выполняют штемпелеванием краской ТНПФ по ТУ 29-02-889-88 или другими способами или красками, удовлетворяющими условиям эксплуатации, транспортирования и хранения, на свободных местах конструктивных элементов щита в непосредственной близости от устройств или элементов.

1.2.11. Рамки, пластины и т.п. изделия с надписями внутри щитов закрепляют к установочным угольникам и скобам с устройствами по ТМЗ-145-90, ТМЗ-173-90 (черт. 1).

1.2.12. Монтаж элементов (резисторов, диодов и т.д.) рекомендуется выполнять на клеммных колодках К-8 ТУ 36.1222-84 или на печатных платах в соответствии с проектной документацией и ТУ на элементы.

1.2.13. Выводы элементов должны быть очищены от окисной пленки, облужены и отформованы, при этом расстояние от корпуса элемента до изгиба вывода должно быть не менее 2 мм, а радиус гибки вывода не менее 1,5 мм, если в ТУ на элементы нет других указаний.

Наращивание выводов элементов, либо их скручивание между собой и с жилами проводов, не допускается.

1.2.14. При пайке элементов расстояние от места пайки до корпуса элемента должно быть не менее 3 мм, если в ТУ на элементы нет других указаний.

1.2.15. Пайку полупроводниковых элементов необходимо выполнять с применением теплоотвода. В качестве теплоотвода рекомендуется использовать инструмент с напаянными медными губками: зажим типа "Крокодил", пинцет и т.п. (черт. 2). После пайки теплоотвод снимается не ранее чем через 5 с. При вторичной установке теплоотвода его необходимо дополнительно охлаждать не менее 5 с.

Пример установки рамок с поясняющими надписями

1 - рамка с поясняющей надписью; 2 - угольник ТК3-246-90; 3 - устройства; 4 - установочный угольник (скоба); 5 - рейка ТК3-277-90; 6 - угольник У ТК3-292-90

Черт. 1

Теплоотвод

1 - зажим типа "крокодил"; 2 - медные губки

Черт. 2

1.3. Общие требования к монтажу электрических проводок

1.3.1. Жгуты и провода должны быть проложены горизонтально или вертикально по кратчайшим расстояниям и с минимальным количеством изгибов и перекрещиваний.

Сращивание проводов из 2-х и более кусков не допускается.

1.3.2. При монтаже измерительных цепей должны быть приняты меры для уменьшения влияния одних цепей на другие:

1) неэкранированные провода измерительных цепей при пересечении с проводами других электрических цепей должны быть расположены под углом 90° или близким к нему;

2) при необходимости параллельной прокладки проводов измерительных цепей с цепями другого назначения (питания, сигнализации, блокировки и т.п.), провода измерительных цепей должны быть удалены. Не допускается совместная прокладка указанных проводов в одном стволе или ответвлении жгута. Вертикальные стволы в этом случае рекомендуется прокладывать в разных стойках каркаса щита.

1.3.3. Провода в жгутах должны быть скреплены между собой и закреплены к несущим конструкциям (каркас щита, детали для установки устройств).

Рекомендуемый оптимальный шаг скрепления проводов - 200 мм, а закрепления стволов и ответвлений жгутов - 300 мм.

В местах поворотов стволы и ответвления жгутов должны быть закреплены до и после поворота.

1.3.4. Скрепление проводов в жгутах и закрепление стволов и ответвлений жгутов выполняет с помощью ленты К226 с кнопкой К227 по ТУ 36.1446-80 или других аналогичных изделий.

1.3.5. В местах перехода с неподвижной части щита на подвижную (раму, дверь и т.д.), исключая: переход со щита на скобы и угольники с установленными на них устройствами с задним присоединением проводов, жгут должен быть жестко закреплен и иметь в месте перехода компенсатор. Провода в компенсаторе должны быть скреплены между собой. Скрепление выполняют лентой К-226 с кнопками К-227 по ТУ 36.1446-80 с шагом 50-100 мм либо аналогичными материалами и изделиями, не ухудшающими качество компенсатора (черт. 3).

1.3.6. Смещение компенсатора в точках крепления при перемещении подвижных частей не допускается. Компенсатор при перемещении не должен касаться элементов конструкций. В случае невозможности выполнения данного требования компенсатор должен бить защищен киперной или изоляционной лентой, намотанной с 30 % перекрытием.

Переход жгутов проводов со щита на скобы и угольники, с установленными на них устройствами с задним присоединением проводов, необходимо выполнять так, чтобы была обеспечена возможность поворота этих угольников и скоб при монтаже и эксплуатации устройств.

Жесткое закрепление жгута должно осуществляться с помощью скоб СО по ТУ 36.1086-84, а также хомутов и т.п. изделий. При применении металлических крепежных изделий для предотвращения повреждения изоляции проводов под крепежные детали должны быть проложены прокладки из изоляционного материала толщиной 0,5-1 мм, или подмотана изоляционная лента в 2-3 слоя. Изоляционный материал должен выступать за края крепежных деталей на 1-3 мм.

1.3.7. Жгуты и отдельные провода не должны закрывать доступ к местам крепления и выводам устройств, либо затруднять их ревизию, регулировку, демонтаж.

Переход жгута с неподвижной части щита на подвижную (раму)

1 - лента К-266 с кнопкой К227; 2 - скоба; 3 - изоляционный материал; 4 - угольник для крепления кабелей

Черт. 3

1.3.8. Жгуты и отдельные провода не должны прокладываться по острым кромкам и ребрам уголков, бортов и т.п. конструкции щитов без дополнительной защиты жгута (обмотка лентами, применение изоляционных прокладок трубок и т.п.) от механических повреждений.

1.3.9. К одному выводу или контактному зажиму устройства допускается присоединять не более двух концов проводов, если это позволяет конструкция зажима.

1.3.10. Присоединение однопроволочных жил проводов следует осуществлять только к неподвижным элементам и устройствам.

1.3.11. При присоединении жилы провода, оконцованной плоским кабельным наконечником или оформленной кольцом, к выводам и контактным зажимам устройств она должна располагаться между двумя контактными поверхностями. Для этого между гайкой или головкой винта (болта) и кабельным наконечником (кольцом) должна быть установлена шайба с плоской контактной поверхностью. Присоединение должно быть выполнено с предохранением от самоотвинчивания.

1.3.12. Жила провода, оформленная кольцом, должна присоединяться с предохранением от выдавливания и от самоотвинчивания, для чего вывод или зажим устройства должен содержать фасонную и пружинную шайбы.

Конец жилы, оформленный кольцом, должен быть размещен в выводе или контактном зажиме устройства так, чтобы направление изгиба кольца совпадало с направлением вращения винта (гайки) при завинчивании.

Внутренний диаметр кольца должен быть на 0,5-1 мм больше диаметра штыря (винта) вывода.

1.3.13. Концы проводов, присоединяемые к электрическим соединителям, должны иметь длину, достаточную для свободного разъединения деталей соединителя.

1.3.14. Провода, подготовленные к подключению к выводам и контактным зажимам устройств, должны иметь запас по длине, необходимый для двухкратного возобновления заделки на каждый конец провода.

1.3.15. Концы проводов, присоединяемые к выводам и контактным зажимам устройств, должны иметь маркировку, соответствующую проектной документации.

Маркировка осуществляется с помощью бирок, надеваемых на концы проводов. Применение для этой цели бирок, подвешиваемых на провод, не допускается.

1.3.16. Концы проводов, предназначенные для присоединения к выводам или контактным зажимам устройств, неустанавливаемых заводом-изготовителем щитов должны иметь запас длины, обеспечивающий присоединение с соблюдением нормируемых радиусов изгибов (см. п. 2.1.2.2).

Эти концы проводов должны быть собраны в бухты и временно закреплены к каркасу щита.

1.3.17. Соединение или ответвление проводов должно осуществляться присоединением их концов к контактным зажимам или выводам устройств. Непосредственное соединение жил проводов между собой не допускается.

1.3.18. После монтажа провода не должны иметь повреждений (вмятин, прожогов, надрезов и т.п.), снижающих их механическую и электрическую прочность.

1.3.19. Внутри щита не должно быть остатков монтажных проводов, материалов и изделий.

1.3.20. Изоляция электрических цепей, проложенных в щитах, испытывается на электрическую прочность. Величина испытательного напряжения зависит от функционального назначения электрической цепи, ее номинального напряжения и выбирается по табл. 1 и 2.

Величина испытательного напряжения вспомогательных цепей, имеющих электрическую связь с силовой цепью.

Таблица 1

Номинальное напряжение, В

Испытательное напряжение (действующее значение), В

До 30

500

Св. 30 до 60

1000

" 60 "300

2000

" 300 " 660

2500

Величина испытательного напряжения вспомогательных цепей, не имеющих электрической связи с силовой цепью.

Таблица 2

Номинальное напряжение, В

Испытательное напряжение (действующее значение), В

До 12

250

Св. 12 до 60

500

" 60

2 U + 1000, но не менее 1500

Примечания:

1. Если в щите имеются цепи с устройствами и элементами, рассчитанными на испытательное напряжение, меньшее указанного в табл. 1 и 2, то они должны быть отключены и подвергнуты испытанию отдельно.

2. Функциональное назначение цепей определяют, исходя из следующих понятий:

Силовая электрическая цепь - цепь, содержащая элементы, функциональное назначение которых состоит в производстве или передаче основной части электрической энергии, ее распределении, преобразовании в другой вид энергии или в электрическую энергию с другими значениями параметров;

Вспомогательная цепь - цепь различного функционального назначения, не являющаяся силовой электрической цепью электротехнического изделия (устройства).

1.3.21. Сопротивление изоляции вспомогательных электрических цепей в пределах одной панели щита, относительно корпуса и цепей, электрически не связанных между собой, измеренное в холодном состоянии при нормальных климатических условиях по ГОСТ 15150-69 должно быть не ниже:

0,5 МОм для цепей напряжением до 220 В,

1 МОм для цепей напряжением 220 В и выше,

5 МОм для цепей бесконтактных систем управления и регулирования напряжением до 60 В и цепей, содержащих полупроводниковые приборы.

1.4. Требования к занулению (заземлению)

1.4.1. Металлические элементы щитов, в том числе детали для монтажа аппаратов и проводок, должны иметь надежное электрическое соединение с заземляющим зажимом, выполненное по п.п. 1.4.2, 1.4.8 и обеспечивающее непрерывную электрическую цепь.

Значение сопротивления между заземляющим зажимом и элементами щита, включая детали для монтажа аппаратов и проводок, не должно превышать 0,1 Ом.

1.4.2. В щитах шкафных и панельных с каркасом, а также в стативах и пультах, электрическое соединение между металлическими частями каркаса должно быть обеспечено через крепящие болты за счет контактного давления последних в местах сопряжения. Поверхности последних должны быть зачищены от лакокрасочного покрытия. Зачищенные поверхности следует защищать от коррозии смазкой ЦИАТИМ-201 по ГОСТ 6267-74 или ПВК по ГОСТ 19537-83. Аналогично должно быть обеспечено электрическое соединение между фасадными панелями щитов шкафных, панельных с каркасом, стативов и пультов, а также крышками малогабаритных щитов и их каркасами.

1.4.3. Электрическое соединение между каркасом и боковыми стенками щитов шкафных и панельных с каркасом, крышками шкафных щитов должно осуществляться за счет врезания приварных скоб в кромки соответствующих отверстий в каркасах. Врезание происходит при повороте скоб в процессе сборки металлоконструкции.

1.4.4. Электрическое соединение каркаса щитов шкафных и панельных с каркасом, стативов, вспомогательных элементов ПнВ и ПнВД с заземляющим зажимом М6 в их опорных рамах должно быть выполнено гибким проводником по рабочим чертежам конструкторской документации (черт. 4).

Электрическое соединение каркаса с опорной рамой

1 - каркас; 2 - опорная рама; 3 - шина заземления; 4 - зажим заземления

Черт. 4

1.4.5. Электрическое соединение между поворотной рамой и каркасом щита, а также двери малогабаритного щита и столешницы культа с их каркасами должно быть выполнено гибким проводником на основании рабочих чертежей конструкторской документации.

1.4.8. Электрическое соединение дверей шкафных щитов, пультов и панелей ПнВ-Д с их каркасами обеспечивается через металлические петли.

1.4.7. Электрическое соединение вспомогательных элементов ВУ, ВУ-Д, ПнД, ПнТД с каркасами рядом стоящих щитов, а также ПнД, ПнТД с каркасами щитов, на которых они установлены, должно обеспечиваться аналогично описанному в п. 1.4.2.

1.4.8. Электрическое соединение между металлическими деталями для монтажа аппаратов и проводок по п. 1.2.2 и каркасом щита, в зависимости от вида покрытия частей каркаса щита, а также принятой на предприятии-изготовителе технологии, выполняют одним из способов, приведенных в п.п. 1.4.8.1, 1.4.8.2.

1.4.8.1. При лакокрасочном покрытии частей каркаса щита их электрическое соединение с деталями для монтажа аппаратов и проводок обеспечивают:

1) гибким неразрезанным проводником, присоединяемым ко всем установленным основным металлическим деталям для монтажа аппаратов и проводок, в местах их крепления к каркасу и к заземляющему зажиму щита (черт. 5). Указанный проводник должен быть предусмотрен в рабочей документации;

2) зубчатой шайбой, установленной на винт, крепящий металлические детали к стойкам каркаса щита. При этом зубчатая шайба устанавливается так, чтобы её зубья разрубали лакокрасочное покрытие на стойке щита (черт. 6).

Пример электрического соединения угольников и скоб в щите, стативе, пульте

1 - угольник У (скоба С); 2 - заземляющий зажим М6; 3 - кабельный наконечник; 4 - гибкий неразрезанный проводник

Черт. 5

Пример электрического соединения угольников и скоб в щите, стативе, пульте с помощью зубчатой шайбы

1 - угольник У; 2 - болт; 3 - шайба; 4 - шайба пружинная; 5 - шайба зубчатая; 6 - гайка

Черт. 6

1.4.8.2. При оцинкованном каркасе щитов электрическое соединение обеспечивает контактным давлением крепежных винтов.

1.4.9. Зануление (заземление) корпусов устройств, имеющих специальные выводы "земля", выполняют гибким нулевым защитным проводником, который должен быть предусмотрен в рабочей документации нулевой защитный проводник от вывода "земля" следует присоединять к заземляющему зажиму щита, либо к заземляющему зажиму специально организованному на стойке каркаса щита.

1.4.9.1. Соединение выводов "земля" устройств с заземляющим зажимом щита выполняют гибким неразрезанным нулевым защитным проводником, на котором смонтировано необходимое количество кабельных наконечников. Последние монтируют на расстояниях, соответствующих расположению зануляемых устройств и позволяющих выполнить присоединение без натяга проводника (черт. 7).

Пример выполнения зануления (заземления) приборов и аппаратов, имеющих специальный вывод "земля"

1 - прибор; 2 - заземляющий зажим М6; 3 - кабельный наконечник; 4 - нулевой защитный проводник

Черт. 7

1.4.9.2. Для присоединения нулевого защитного проводника к стойке каркаса щита поверхность у монтажного отверстия в стойке, предназначенного для установки заземляющего зажима, должна быть зачищена от лакокрасочного покрытия. Место зачистки должно быть защищено противокоррозионной смазкой по п. 1.4.2.

1.4.9.3. В монтажное отверстие в стойке каркаса щита, поверхность вокруг которого подготовлена по п. 1.4.9.2 должен быть установлен и обозначен заземляющий зажим по ГОСТ 21130-75.

1.4.9.4. Стойка каркаса щита, на которой организованы один или несколько заземляющих зажимов по п.п. 1.4.9.2, 1.4.9.3, должна быть соединена гибким проводником, оконцованным кабельными наконечниками с заземляющим зажимом щита.

1.4.9.5. Соединение вывода "земля" устройства со специально организованным заземляющим зажимом на стойке каркаса щита по п. 1.4.9.3 выполняют гибким нулевым защитным проводником, оконцованным соответствующими кабельными наконечниками (черт. 8).

Пример выполнения зануления (заземления) приборов и аппаратов, имеющих специальный вывод "земля"

1 - прибор; 2 - стойка каркаса; 3 - заземляющий зажим М4; 4 - кабельный наконечник; 5 - нулевой защитный проводник

Черт. 7

1.4.10. Металлические корпуса устройств, подлежащих занулению, но не имеющих специальных выводов "земля", должны иметь электрическое соединение с металлическими деталями по п. 1.2.2, на которых они установлены.

1.4.11. Экранирующие оплётки монтажных проводов следует занулять соединением их гибким нулевым защитным проводником с заземляющим зажимом щита, либо с заземляющим зажимом, специально организованным на стойке каркаса щита по п.п. 1.4.9.1-1.4.9.5.

2. ТЕХНОЛОГИЯ МОНТАЖА ЭЛЕКТРИЧЕСКИХ ПРОВОДОК

2.1. Подготовительные работы

2.1.1. Выполнение маркировочных бирок.

2.1.1.1. Маркировочные бирки изготавливают из отрезков поливинилхлоридных трубок белого цвета по ГОСТ 19034-82 длиной 20-25 мм или применяют оконцеватели ОП по ТУ 36.1145-84.

2.1.1.2. При изготовлении бирок из поливинилхлоридной трубки на последней наносят маркировочные надписи строго в порядке, указанном в таблице соединений. Надписи наносят несмываемыми чернилами (см. приложение 5) вручную или с помощью буквопечатающего аппарата. После нанесения надписей выполняют поперечные надрезы трубки (примерно на 3/4 ее диаметра) между отдельными маркировочными надписями, в соответствии с принятой длиной бирки по п. 2.1.1.1, образуя маркировочную кассу.

2.1.1.3. При использовании оконцевателей ОП, на последних вручную несмываемыми чернилами наносят маркировочные надписи. Для образования маркировочных касс оконцеватели с нанесенными надписями одевают на мягкую вязальную проволоку в последовательности, указанной в таблице соединений.

2.1.2. Изготовление жгутов

2.1.2.1. Жгуты изготавливают на плоском шаблоне. Рекомендуется применять шаблоны с рабочим полем высотой около 2 м и шириной около 3 м, имеющим по своей площади отверстия диаметром 4-5 мм, расположенные с шагом не более 20 мм.

2.1.2.2. Радиусы изгиба проводов должны быть:

для ПВ1 - не менее 10 наружных диаметров;

для ПВ3, ПВ4, НВ, НВМ - не менее 5 наружных диаметров.

2.1.2.3. Конфигурацию жгута и ориентировочное количество проводов в стволах жгута определяют по чертежу общего вида щита (вид на внутренние плоскости) с учетом требований п. 1.3.2.

2.1.2.4. Размеры жгута определяют на щите с учетом расположения, размеров и конструктивных особенностей устройств, а также требований пункта 1.3.14.

Размеры откладывают на шаблоне. В местах ответвлений и поворотов проводов, а также в местах расположения выводов и контактных зажимов устройств устанавливают фиксирующие штыри.

2.1.2.5. После установки всех штырей приступают к прокладке провода. Наиболее прогрессивным является непрерывный метод прокладки. При этом методе маркировочные бирки следует выполнять из отрезков поливинилхлоридной трубки (пункт 2.1.1.2). Бухту провода одевают на приспособление для её разматывания. На свободный конец провода надевают соответствующую маркировочную кассу или её часть, длиной не более 1 м. Кассу располагают на проводе так, чтобы маркировочная бирка проводника, прокладываемого первым, была на конце провода. При надевании кассы на конец бухты провода все, входящие в кассу бирки, должны быть отделены (оторваны) одна от другой. Прокладку провода по шаблону начинают с фиксации его свободного конца с маркировочной биркой на фиксирующем штыре, имитирующем соответствующий вывод или контактный зажим устройства. Далее, провод прокладывают по шаблону, фиксируя его намоткой или полуоборотом на соответствующих штырях, расположенных на трассе данного провода, в соответствии с таблицей соединений. У каждого штыря на проводе должна быть оставлена бирка, указывающая маркировку данного конца. Этот процесс возобновляют надеванием на конец бухты провода очередной маркировочной кассы или части её.

2.1.2.6. Возможно изготовление жгутов на шаблоне из отдельных мерных отрезков проводов. В этом случае концы проводов маркируют как бирками из отрезков поливинилхлоридной трубки по пункту 2.1.1.2, так и оконцевателями ОП. Прокладку проводов выполняют также с фиксацией концов на штырях шаблона, повторяя эту операцию для каждого мерного отрезка провода.

2.1.2.7. По окончании прокладки провода скрепляют в жгут, образуя вертикальные стволы и горизонтальные ответвления, см. п. 1.3.4.

2.1.2.8. Изготовление жгута завершают разделкой и оконцеванием жил проводов, выполняемых по п.п. 2.1.3, 2.1.4.

Готовый жгут рекомендуется перенести на накопитель (см. приложение 6), обеспечивающий сохранность жгута от повреждений.

2.1.3. Разделка и оконцевание проводов

2.1.3.1. По окончании вязки жгута выполняют разделку и оконцевание проводов. С концов проводов удаляют изоляцию. Длина оголенного конца жилы должна быть достаточной для обеспечения его оконцевания или присоединения к выводу, контактному зажиму.

2.1.3.2. Снятие изоляции с концов проводов производят специальным механическим или электрическим инструментом (см. приложение 2; 7).

В зависимости от конструкции вывода устройства и вида присоединения (разборное, неразборное) конец жилы провода должен быть соответственно оформлен.

При оформлении конца жилы штырем изоляцию снимают на длине 10-12 мм для однопроволочных жил и на 15-17 мм для многопроволочных жил.

При оформлении конца жилы кольцом длина оголенного участка зависит от диаметра штыря контактного вывода и конструкции жилы (табл. 3).

Таблица 3

Диаметр штыря (винта)

Длина зачистки жилы

однопроволочной

многопроволочной

3

14

21

4

17

24

5

21

28

6

25

32

При оконцевании жилы кабельным наконечником под пайку производят снятие изоляции на длину 7 мм для однопроволочных жил и на 12 мм для многопроволочных, а при оконцевании наконечником под опрессовку - на длину 7 мм.

При снятии изоляции механическим инструментом не допускается надрез жилы или её отдельных проволок.

При снятии изоляции электрическим инструментом длина местного потемнения или оплавления у торца изоляции не должна превышать 1 мм, а для проводов с площадью сечения более 0,75 мм2 - 2 мм.

2.1.3.3. После снятия изоляции жилы зачищают. Зачистку жил рекомендуется производить шлифовальной шкуркой.

Жилы, имеющие гальваническое покрытие, как правило, не защищают.

2.1.3.4. В многопроволочных жилах для зачистки ослабляют повив, обеспечивая тем самым зачистку каждой приволоки. Зачищенные многопроволочные жилы свивают с шагом равным 5-10 диаметрам жилы провода (угол повива 15-30°).

2.1.3.5. Многопроволочные жилы после зачистки и скрутки облуживают, для этого жилу флюсуют (см. п. 2.2.7, 2.2.8). Флюсование рекомендуется выполнять дозатором флюса ДФ (см. приложение 2). Лужение производят паяльником, а при массовых операциях электротиглем ТЛ (см. приложение 2). Длина необлуженного участка у торца изоляции не должна превышать 1 мм.

2.1.3.6. При присоединении однопроволочной жилы сечением 1 мм2 и выше к выводу устройства без наконечника жилу формуют в зависимости от конструкции вывода. Для присоединения одной жилы к плоскому или штыревому выводу, имеющему П-образную шайбу, жилу изгибают П-образно, а при присоединении двух жил их концы оставляют прямыми (см. черт. 9а).

Для присоединения жилы провода к гнездовым выводам, либо к плоским и штыревым выводам с арочной шайбой, конец жилы оставляют прямым (см. черт. 9б).

Для присоединения жилы провода к плоскому или штыревому выводу с круглой фасонной шайбой конец жилы изгибают кольцом (см. черт. 9в).

2.1.3.7. При оконцевании жил проводов кабельными наконечниками последние закрепляют пайкой или опрессовкой.

Тип кабельного наконечника (глухой, вилочный, штифтовый и т.п.) должен соответствовать конструкции вывода устройства и условиям эксплуатации.

Сечение кабельного наконечника под пайку, в зависимости от сечения жилы провода, выбирают по табл. 4.

Выбор типоразмеров наконечников под опрессовку следует производить по табл. 5 и 6.

Выбор наконечников по той или иной таблице зависит также от возможности комплектации.

Присоединение жил проводов к выводам устройств

Черт. 9

Наконечники по ГОСТ 23002.2-76 - ГОСТ 22002.14-76, закрепляемые пайкой на жиле провода сечением 0,35-4,00 мм2

Таблица 4

Номинальное сечение кабельного наконечника, мм2

Номинальное сечение присоединяемой жилы, мм2

Минимальный диаметр контактного стержня, мм

0,5

0,35

3

0,5; 0,75

1,0

0,75

1,00

2,5

1,50

4

2,50

4,00

4,0

4,00

5

Плоские наконечники по ТУ 5.986-5069-74, закрепляемые опрессовкой на жиле провода сечением 0,35-1,5 мм2

Таблица 5

Обозначение

Маркировка

Сечение жил, мм2

Диаметр крепежного отверстия, мм

13

-

0,35 и 0,5

3,3

14

-

4,2

23

2

0,75 и 1,0

3,3

24

2

4,2

43

4

1,5

3,2

44

4

4,2

Плоские наконечники по ТУ 36.22.22.010-88, закрепляемые опрессовкой на жиле провода сечением 0,35-1,5 мм

Таблица 6

Обозначение

Маркировка

Сечение жил, мм

Диаметр крепежного отверстия, мм

0,5-3-УХЛ2

053

0,35 и 0,5

3,2

0,5-4-УХЛ2

054

4,2

1-3-УХЛ2

103

0,75 и 1,0

3,2

1-4-УХП2

104

4,2

1-5-УХЛ2

105

5,2

1,5-3-УХЛ2

153

1,5

3,2

1,5-4-УХЛ2

154

4,2

1,5-5-УХЛ2

155

5,2

2.1.3.8. Оконцевание жилы кабельным наконечником, закрепляемым пайкой, выполняют по черт. 10. При оконцевании по черт. 10а жилу провода вставляют в наконечник так, чтобы длина участка между наконечником и изоляцией была в пределах 0,5-2,0 мм. Установленный наконечник обжимают на жиле, после чего производят пайку (см. п. 2.2.8, 2.2.10).

Оконцевание жил проводов кабельным наконечником

1 - кабельный наконечник; 2 - жила провода; 3 - маркировочная бирка; 4 - изоляция провода

Черт. 10

Оконцевание жил проводов кабельным наконечником по ТУ 5.986-5069-74

Сечение жилы, мм2

Размер а, мм (справочный)

Размер h, мм

номинальный

предельные отклонения

0,35 и 0,5

2,5

1,65

+0,01

-0,15

0,75 и 1,0

3,1

2,1

+0,01

-0,25

1,5

3,2

2,5

+0,01

-0, 5

Черт. 11

Оконцевание жил проводов кабельным наконечником по ТУ 36.22.22.010-88

1 - наконечник; 2 - токоведущая жила; 3 - изоляция

Маркировка ручья

Сечение жилы, мм2

Размеры, мм

d

h

l

0,5

0,35; 0,5

1,3

1,0

1,2

1,0

0,75; 1,0

1,8

1,7

1,5

1,5

1,5

2,0

2,0

1,8

Черт. 12

При оконцевании по черт. 10б наконечник закрепляют на жиле и изоляции провода. При обжатии наконечника на изоляции не допускается её повреждение.

2.1.3.9. Опрессовку кабельных наконечников по ТУ 5.986-5069-74 следует производить прессклещами "Донец" по ТУ 5.986-5157-80.

Форма поперечного сечения опрессованной жилы должна соответствовать черт. 11, а размеры таблице.

В случае выхода размеров опрессованной части за допустимые пределы, приведенные в таблице, необходимо произвести регулировку клещей.

2.1.3.10. Опрессовку кабельных наконечников по ТУ 36.22.22.010-88 следует производить клещами КО по ТУ 36.22.22.009-88 согласно "Инструкции по эксплуатации" дт 4.094.043ИЭ.

Форма поперечного сечения спрессованной жилы должна соответствовать черт. 12, а размеры таблице.

2.1.4. Разделка экранов проводов

2.1.4.1. Выбор конструкции разделки и присоединения экранов проводов следует производить, исходя из условий их монтажа.

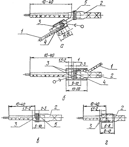
2.1.4.2. При использовании экрана в качестве нулевого защитного проводника рекомендуется следующий способ разделки экранированного провода (черт. 13).

Экран сдвигают в направлении, указанном стрелкой (черт. 13а). Далее провод перегибают и в месте перегиба раздвигают пряди экрана. Через образовавшееся отверстие извлекают конец провода с помощью монтажного крючка (черт. 13б). При этом не допускаются обрывы проволочек экрана в месте выхода из него провода. Свободный конец экрана следует вытянуть в направлении, указанном стрелкой (черт. 13в).

Способы разделки экранированного провода

1 - провод; 2 - экран; 3 - монтажный крючок; 4 - поливинилхлоридная трубка; 5 - нитяной бандаж

Черт. 13

Экран в месте выхода конца провода сдвигают на 15-20 мм в сторону длинного конца провода и на длину 8-10 мм надевают отрезок поливинилхлоридной трубки ГОСТ 19034-82, либо можно подмотать 1 слой изоляционной ленты ПВХ ГОСТ 16214-86. Затем экран сдвигают в первоначальное положение так, чтобы трубка или лента выступали на 1,5-2 мм. Поверх экрана накладывают нитяной бандаж шириной 3-6 мм.

К свободному концу экрана припаивают кабельный наконечник (см. пп. 1.3.8-2.1.3.11) либо провод зануления (заземления) (черт. 14а).

2.1.4.3. При занулении (заземлении) экрана с помощью отдельного проводника рекомендуется следующий способ разделки экранированного провода (черт. 14).

Конец экрана обрезают на длину 10-40 мм, сдвигают в сторону длинного конца провода и на участке 8-10 мм надевают поливинилхлоридную трубку ГОСТ 19034-82, либо подматывают 1 слой изоляционной ленты НВХ ГОСТ 16214-86, затем экран сдвигают в первоначальное положение так, чтобы трубка или лента выступали на 1,5-2 мм. Отступив 1 мм от конца экрана, накладывают бандаж шириной 2-3 мм из жилы провода зануления (заземления) и припаивают бандаж к экрану (см. п.2.2.7, 2.2.9). На место пайки надевают поливинилхлоридную трубку длиной 12-15 мм.

Допускается бандаж выполнять из лужёной проволоки ММ диаметром 0,12-0,15 мм по ГОСТ 2112-79.

Способы разделки экранов проводов

1 - провод заземления; 2 - экран; 3 - поливинилхлоридная трубка; 4 - бандаж из проволоки; 5 - бандаж из ниток

Черт. 14

2.1.4.4. В случаях, когда зануление (заземление) одного из концов экрана провода выполнять не требуется, разделку этого конца экрана рекомендуется выполнять следующим способом (черт. 14 в, г).

Конец экрана обрезают на длину 10-40 мм, сдвигают его в сторону длинного конца провода и на участке 8-10 мм надевают поливинилхлоридную трубку по ГОСТ 19034-82, либо подматывают 1 слой изоляционной ленты ПВХ по ГОСТ 16214-86, затем экран сдвигают в первоначальное положение так, чтобы трубка или лента выступали на 2-5 мм.

На конец экрана накладывают бандаж из ниток шириной 5 мм.

2.1.4.5. После разделки экрана с провода удаляют изоляцию и жилу оконцовывают, как указано в пункте 2.1.3.

2.1.4.6. При прокладке экранированных проводов в жгуте необходимо обеспечить электрическое соединение экранов между собой. Для этого в точке соединения экранов накладывают бандаж из проволоки (черт. 15а). Соединение можно выполнять также последовательной пайкой концов экранов к общему неизолированному нулевому защитному проводнику (черт. 15б).

Бандаж в месте соединения экранов проводов рекомендуется выполнять из луженой проволоки ММ диаметром 0,12-0,15 мм по ГОСТ 2112-79 или жилой нулевого защитного проводника. Ширина бандажа должна быть 3-4 мм.

Соединение экранов проводов в жгуте

1 - экран; 2 - провод заземления; 3 - поливинилхлоридная трубка; 4 - бандаж из проволоки

Черт. 15

Операцию электрического соединения экранов следует выполнять так, чтобы в одной точке пайки было не более трех экранов.

2.2. Монтаж электрических проводок в щите

2.2.1. При внесении жгута в щит его размещают так, чтобы вертикальные стволы располагались вдоль стоек щита, а горизонтальные - вдоль поддерживающих конструкций (угольники, скобы и т.п.).

2.2.2. Операцию закрепления жгута разбивают на два этапа. Вначале выполняют частичное закрепление элементов жгута, позволяющее удалить подставку-накопитель, а затем полное закрепление (см. п. 1.3.3.)

2.2.3. При закреплении жгута лентой К226 с кнопками К227 ТУ 36.1446-80 фиксирование производят к кронштейнам К51, К114 или к малым полкам угольников и скоб, устанавливаемым на стойке каркаса.

2.2.4. Концы проводов жгутов присоединяют к выводам устройств, установленным в щите. Примеры выполнения электрических проводок в щитах см. черт. 16, 17, 18, 19, 20.

Пример выполнения электрических проводок в щитах

Черт. 16

Пример выполнения электрических проводок в щитах

Черт. 17

Прокладка жгута на двери малогабаритного щита

Черт. 18

Прокладка жгутов проводов на столешнице пульта

Черт. 19

Прокладка жгутов проводов на декоративной панели

Черт. 20

2.2.5. Монтаж разъемных контактных соединений выполняют по РМ4-199-82 "Инструкция по концевым заделкам кабелей и проводов в штепсельные разъемы".

2.2.6. Неразборные контактные соединения выполняют закреплением и пайкой жилы провода к выводу устройства.

Жилы проводов сечением не более 0,35 мм2 закрепляют к плоским выводам дополнением полного оборота вокруг вывода. Жилы проводов сечением более 0,35 мм2 закрепляют выполнением 3/4 оборота (черт. 21 а, б).

К цилиндрическим выводам и выводам из алюминия, плакированного медью, жилы проводов всех сечений закрепляют с выполнением полного оборота жилы провода вокруг вывода (черт. 21г.)

Жилу провода, закрепленную на выводе, плотно обжимают, при этом изгиб вывода не допускается.

При креплении к выводу жил двух проводов каждая жила должна быть закреплена отдельно (черт. 21б).

Примеры закрепления жил проводов к выводам устройств

а - закрепление жилы провода сечением не более 0,35 мм; б - закрепление жил проводов сечением более 0,35 мм2; в - закрепление жилы провода с упрощенным механическим креплением; г - закрепление жил проводов к цилиндрическому выводу

1 - провод; 2 - вывод устройства

Черт. 21

Если жилу провода обернуть вокруг плоского вывода невозможно, например, в малогабаритных устройствах, допускается пайка жилы с упрощенным механическим креплением, показанным на черт. 21в.

2.2.7. На место пайки наносят флюс, количество его должно быть минимальное, обеспечивающее смачивание паяемых поверхностей, но исключающее его растекание за пределы места пайки. Рекомендуется пользоваться средствами, обеспечивающими дозировку флюса (дозатор флюса ДФ, пипетка, полиэтиленовый баллончик и т.д.).

Попадание флюса внутрь приборов и аппаратов не допускается.

2.2.8. Пайку жил выполняют паяльником, как правило, мощностью 65 Вт, напряжение не выше 42 В.

Рабочая часть (жало) паяльника долина быть очищена от нагара, хорошо облужена и иметь ровную поверхность без раковин.

Паяльник должен быть нагрет до такой температуры, при которой припой быстро плавится, но не скатывается с жала паяльника. Флюс при этом должен оставаться на рабочей части паяльника в виде кипящих капель и не обугливаться.

Рекомендуемая температура нагрева паяльника в зависимости от марки припоя приведена в табл. 7.

Таблица 7

Марка припоя

Температура плавления припоя, °С

Температура нагрева паяльника, °С

ПОС 40

183-232

290-325

ПОС 61

183

260-300

Олово

232

280-320

2.2.9. Количество припоя, необходимого для пайки, должно быть минимальным. Пайку по возможности выполняют скелетной, т.е. так, чтобы под припоем был виден контур паяных выводов и проводов. Пример правильной и неправильной пайки показан на черт. 22.

Время пайки не должно превышать 5 с, если в НТД на устройства не оговорено других ограничений. По возможности следует избегать повторных паек. Не допускается механическое воздействие паяльником на места паек.

2.2.10. После выполнения пайки поверхности паяных соединений необходимо очистить от остатков флюса и нагара тканью из безворсового материала (например, хлопчатобумажной бязью ГОСТ 11680-76) или кисточкой, смоченной спиртом или спиртобензиновой смесью в соотношении 1:1. При этом следует применять бензин по ГОСТ 443-76 и спирт ГОСТ 18300-87.

Допускается применение других материалов и способов, не снижающих качество очистки.

Моющая жидкость не должна попадать внутрь устройств.

2.2.11. Неразборные соединения после пайки не должны иметь визуально обнаруживаемых трещин, пор, острых выступов, наплывов. Припой должен заливать щели и зазоры между проводом и лепестком. Допускается неполная заливка припоем отверстия лепестка диаметром более 3 мм.

Поверхность припоя должна быть гладкой, без темных пятен и посторонних включений. Количество припоя, необходимого для пайки, должно быть минимальным.

Поверхности соединений после пайки должны быть очищены от остатков флюса и нагара и покрыты лаком Нц-134 ТУ 6-10-1291-86 с цветным наполнителем.

Примеры выполнения пайки

1 - провод; 2 - припой; 3 - вывод устройства

Черт. 22

3. ПРАВИЛА ПРИЕМКИ

3.1. Качество монтажа электрических проводок следует проверять по технологическим картам предприятия-изготовителя, проектной документации и настоящему РМ.

3.2. Все контрольные операции должны выполняться методами неразрушающего контроля.

3.3. Контроль и испытания электрических проводок должны проводиться техническим контролем предприятия-изготовителя.

Испытание электрических проводок следует производить по программе и методике, разработанной для испытываемых щитов в соответствии с ОСТ 36.13-90, настоящим пособием, проектной документацией и ГОСТ 2.106-68, утвержденных в установленном порядке.

3.4. Смонтированные электрические проводки в щитах должны проверяться и испытываться в объеме, указанном в табл. 8.

Таблица 8

Наименование проверок

Пункты настоящей инструкции

Виды испытаний

 

приемосдаточные

периодические

типовые

квалификационные

Технические требования

Методы контроля

 

1. Проверка качества материалов

1.1

4.1

+

+

+

+

 

2. Проверка качества монтажа устройств и электрических проводок

1.1.1, 3.1-1.3.19

2.1.2.2.

2.1.3.9

2.1.3.10

2.2.11

4.2

+

+

+

+

3. Проверка непрерывности электрической цепи по металлоконструкции и нулевым защитным проводникам

1.4

4.3, 4.4

+

+

+

+

 

4. Испытание электрической прочности изоляции

1.3.20

4.3, 4.5-4.7

-

+

+

+

 

5. Измерение сопротивления изоляции

1.3.21

4.3, 4.8, 4.9

+

+

+

+

 

3.5. Электрические проводки считаются принятыми, если они прошли проверку и испытания в объеме табл. 8 и показали положительные результаты.

3.6. В случае неудовлетворительных результатов приемки электрических проводок последние подлежат исправлению с последующей проверкой или бракуются в установленном порядке.

4. МЕТОДЫ КОНТРОЛЯ

4.1. Проверку соответствия материалов требованиям, указанным в документах на поставку (ГОСТ, ТУ или сертификат) по пункту 1 табл. 8 следует производить путем внешнего осмотра с применением при необходимости, мерительного инструмента.

Для изделий, поставляемых на экспорт, необходима также проверка сличением их с заказ-нарядом и документацией предприятий-поставщиков материалов и комплектующих изделий.

4.2. Проверку качества монтажа электрических проводок по пункту 2 табл. 8 проводят путем внешнего осмотра сличением с проектной и с действующей на предприятии-изготовителе нормативно-технической документацией.

Проверка размеров должна производиться при помощи мерительного инструмента, обеспечивающего требуемую точность измерения.

Проверка паек должна производиться внешним осмотром всех мест паек и выборочной проверкой их механической прочности путем покачивания проводника пинцетом.

Правильность выполнения электрических цепей должна проверяться с помощью омметра или пробника на напряжение не более 36 В.

4.3. Проверку непрерывности электрической цепи по металлоконструкции, испытание электрической прочности и измерение сопротивления изоляции по пунктам 3-5 табл. 8 следует проводить в холодном состоянии и при нормальных климатических условиях по ГОСТ 15150-69. Для изделий в исполнении ТВ304(Т4) по ГОСТ 15150-69 указанные проверки следует проводить дополнительно не позже, чем через 15 мин после проверки на устойчивость в условиях тропического климата.

4.4. Проверку непрерывности электрической цепи по металлоконструкции и нулевым защитным проводником по пункту 3 табл. 8 проводят внешним осмотром, сопоставлением с проектной документацией и контролируют с помощью омметра, обеспечивающего требуемые пределы измерения.

Значение сопротивления измеряют между металлическими элементами щитов, в том числе деталями для монтажа аппаратов и проводок, и заземляющим зажимом щита, а также между выводами "земля" приборов и аппаратов и заземляющим зажимом щита.

4.5. Испытание электрической прочности изоляции по пункту 4 и измерение сопротивления изоляции по пункту 5 табл. 8 рекомендуется проводить по испытательным таблицам программы и методики испытаний, в которых для испытуемых щитов должны быть указаны:

наименование цепей;

величина испытательного напряжения по участкам;

места приложения испытательного напряжения.

4.6. Испытательная установка для проверки электрической прочности изоляции должна содержать трансформатор, соответствующие защитные блокировки и средства измерения.

Мощность испытательного трансформатора должна быть такой, при которой действующее значение установившегося тока короткого замыкания на стороне испытательного напряжения составляет не менее 0,5 А.

Измерение испытательного напряжения следует, как правило, проводить непосредственно на стороне высокого напряжения испытательного трансформатора.

Допускается проводить измерение на стороне низкого напряжения при условии, что при испытании значение тока в обмотке низкого напряжения равно значению тока холостого хода. За значение испытательного напряжения принимают его действующее значение.

Погрешность установки испытательного напряжения должна быть не более ± 5 %.

Испытательное напряжение практически синусоидальной формы (с коэффициентом амплитуды  ± 0,1) частоты 50 Гц, значение которого указано в табл. 1 или 2, должно быть приложено в течение (60 ± 5) с.

Испытание электрической прочности изоляции полным испытательным напряжением в течение 60 с следует проводить только 1 раз.

Последующие испытания следует проводить при 80 % полного испытательного напряжения.

4.7. Изоляцию считают выдержавшей испытание на электрическую прочность, если не произошло пробоя изоляции, перекрытия по поверхности изоляции или резкого снижения показаний вольтметра испытательной установки.

4.8. Измерение электрического сопротивления изоляции следует проводить мегаомметром постоянного тока или другим испытательным устройством при напряжении указанном в табл. 9.

Таблица 9

Номинальное напряжение по изоляции, В

Напряжение мегаомметра, В

До 30

100

св. 30 до 60

250

" 60 " 300

500

" 300 " 660

1000

Погрешность измерения не должка быть более ± 20 %.

При измерении сопротивления изоляции специальным устройством допускается прикладывать другое напряжение, но не ниже номинального и не выше испытательного напряжения по п. 1.3.20.

Измерение сопротивления изоляции следует проводить: между всеми соединенными между собой токоведущими частями и частями, к которым при обслуживании возможны прикосновения (например, оболочки, рукоятки); между каждой электрически независимой частью и заземленными металлическими частями изделия.

4.9. Изоляция считается выдержавшей испытание, если ее сопротивление не ниже значений указанных в п. 1.3.21.

5. ТРЕБОВАНИЯ БЕЗОПАСНОСТИ

5.1. При монтаже электрических проводок должны соблюдаться правила охраны труда, техники безопасности, пожарной безопасности и промсанитарии, установленные СНиП III-4-80 "Техника безопасности в строительстве".

5.2. При выполнении работ по настоящему пособию следует особо обратить внимание на выполнение следующих требований.

5.2.1. Рабочие места должны содержаться в чистоте, иметь достаточную освещенность и приточно-вытяжную вентиляцию.

5.2.2. При работе с электрическими паяльниками следует соблюдать меры защиты от поражения электрическим током. Ручка паяльника должна быть сухой и не должна проводить тока. Напряжение питания паяльника должно быть не выше 42 В.

5.2.3. Электрические соединители на напряжение до 42 В должны отличаться по устройству и окраске от электрических соединителей напряжением 220 В.

5.2.4. Временные провода и кабели не следует прокладывать через проходы, проезды, подъездные пути.

5.2.5. Пользоваться открытым огнем на рабочем месте запрещается.

5.2.6. Работу производить только исправным инструментом. Гаечные ключи следует подбирать по размерам гаек. Рабочая поверхность кличей не должна иметь сколов и заусенцев.

Стержень паяльника должен быть плотно посажен в нагревательный элемент и при работе не должен проворачиваться. В перерывах между парами паяльник необходимо держать на огнестойкой подставке.

5.2.7. Запрещается класть инструменты, материалы и другие предметы на поверхность щита.

ИСПОЛНИТЕЛИ

Зам. зав. отделом 39                                             М. Б. Миндин

Зав. сектором                                                         К. В. Скварковский

Вед. конструктор                                                  А. П. Юрьев

Нормоконтроль                                                     Л. М. Дакоро

ПРИЛОЖЕНИЕ 1
Справочное

СОРТАМЕНТ ПРОВОДОВ РЕКОМЕНДУЕМЫХ ДЛЯ МОНТАЖА ЭЛЕКТРИЧЕСКИХ ПРОВОДОК В ЩИТАХ

Марка провода

Сечение жилы, мм

Вид жилы провода

Возможный способ присоединения, оконцевания

НЗ

НВМ

0,2

Однопроволочная

Пайкой

Накруткой

0,2

0,35

Многопроволочная

Пайкой

Наконечником

0,35

Однопроволочная

НВ, НВМ, ПВ1

0,5

0,75

Однопроволочная

НВ, НВМ, ПВ3, ПВ4

Многопроволочная

НВ, НВМ, ПВ1

1,0

1,5

Однопроволочная

Пайкой

Кольцом

Штырем

НВ, НВМ, ПВ3, ПВ4

1,0

1,5

Многопроволочная

Пайкой

Наконечником

Кольцом или штырем с пропайкой жилы

Провода марок ПВ1, ПВ3, ПВ4 по ГОСТ 6323-79, НВ, НВМ по ГОСТ 17515-72 (класс жил 3 и 4 по ГОСТ 22483-77).

ПРИЛОЖЕНИЕ 2
Справочное

ПЕРЕЧЕНЬ РЕКОМЕНДУЕМЫХ ИНСТРУМЕНТОВ И ПРИСПОСОБЛЕНИЙ

Наименование

ГОСТ, ТУ

Техническая характеристика

Завод-изготовитель

Клещи коммутационные КК-1М

ТУ 36.1215-84

Сечение отрезаемых проводов - до 2,5 мм2

Сечение разделываемых проводов - 0,75; 1,0; 1,5 мм2

Сечение проводов, оформляемых кольцом - до 2,5 мм2

Масса 0,25 кг

ЭЗМА

Клещи для снятия изоляции ККСИ

ТУ 36.2230-79

Сечение разделываемых проводов до 2,5 мм2

Масса 0,2 кг

РОЗ

Инструмент для снятия изоляции с проводов М-1

ТУ 36-2596-84

Сечение обрабатываемых проводов - 0,25; 0,35; 0,5; 0,75; 1,0; 1,5 мм2

Длина участка, с которого снимается изоляция не более - 50 мм

Масса 0,085 кг

СОЗ

Отвертка диэлектрическая

ГОСТ 21010-75

Длина 200 мм, ширина рабочей части - 9 мм

Длина 150 мм, ширина рабочей части - 5 мм

 

Плоскогубцы

ГОСТ 7236-86

Длина 200 мм

 

Кусачки

ГОСТ 28037-89

Длина 150 мм

 

Рулетка измерительная металлическая

ГОСТ 7502-89

Длина 2 м

"Калибр" г. Москва

Линейка измерительная металлическая

ГОСТ 427-75

Предел измерения 0-500 мм, 0-1000 мм

 

Бокорезы

ГОСТ 28037-89

Длина 155 мм

Горьковский завод электромонтажных инструментов треста "Электромонтажконструкция"

Нож монтерский НМ-3

ТУ 36-1950-89

Длина в раскрытом положении 205 мм

Масса 0,17 кг

-"-

Круглогубцы

ГОСТ 7283-86

Длина 150 мм

 

Пинцет технический ПС 150´1,5

МРТУ 4237-65

 

 

Ключ торцевой

 

Для болтов и гаек с размерами под ключ: 5; 5,5; 7; 8; 10

 

Крючок монтажный

 

 

Собственного изготовления

Паяльник ПСН-65

ГОСТ 7219-83

Мощность 65 Вт, напряжение 36 В

 

Электротигель ТЛ

ОСТ4ГО.060.046

 

 

Дозатор флюса ДФ

ОСТ4ГО.060.044

 

 

Пресс-клещи "Донец"

ТУ 5.986-5157-80

Сечение жил проводов для опрессовки наконечника 0,3-1,5 мм2

г. Бельцы ССР Молдова ПО им. Ленина

Клещи КО

ТУ 36.22.22.009-88

-"-

 

ПРИЛОЖЕНИЕ 3
Справочное

ПЕРЕЧЕНЬ ВСПОМОГАТЕЛЬНЫХ МАТЕРИАЛОВ И ИЗДЕЛИЙ

Наименование

ГОСТ, ТУ

Примечание

 

Припои ПОС 40, ПОС 61

ГОСТ 21930-76

 

 

Олово

ГОСТ 860-76

 

 

Канифоль марки А или В

ГОСТ 19113-84

 

 

Спирт

ГОСТ 18300-87

 

 

Трубка из поливинилхлоридного пластиката

ГОСТ 19034-82

 

 

Оконцеватель ОП

ТУ 36.1145-84

 

 

Лента К 226, кнопка К 227

ТУ 36.1446-80

 

 

Чернила несмываемые

 

См. приложение 5

 

Лак НЦ-134

ТУ 6-10-1291-86

См. п. 2. 2.11

 

Проволока низкоуглеродистая диаметр 0,5-1,0

ГОСТ 792-67

См. п. 2.1.1.3

 

Проволока ММ, медная, луженая

ГОСТ 2112-79

 

 

Бязь хлопчатобумажная

ГОСТ 11680-76

См. п. 2.2.10

 

Шкурка шлифовальная

ГОСТ 5009-82

 

 

Бензин

ГОСТ 443-76

 

 

Лента поливинилхлоридная электроизоляционная

ГОСТ 16214-86

 

 

Наконечники кабельные штампованные

ГОСТ 22.002.2-76¸ГОСТ 22.002.14-76

 

 

Наконечники для контактного оконцевания жил проводов сечением 0,35-1,5 мм2

ТУ 5.986-5069-74

 

 

Наконечники кабельные медные, закрепляемые опрессовкой на жилах сечением 0,35-1,5 мм

ТУ 36.22.22.010-88

 

 

ПРИЛОЖЕНИЕ 4
Справочное

MAТEРИАЛЫ ДЛЯ ИЗГОТОВЛЕНИЯ ШИЛЬДИКОВ И ТРАНСПАРАНТОВ, УСТАНАВЛИВАЕМЫХ В РАМКАХ И ТАБЛО

Материал

ГОСТ, ТУ

Способ нанесения надписи

Примечание

Бумага фотографическая

ГОСТ 10752-79

Фотоспособ

 

Пленка фотографическая черно-белая негативная ФТ-41П

ГОСТ 24876-81

¢¢

 

Линолеум поливинилхлоридный многослойный

ГОСТ 14.632-79

Гравировка

 

Пленка полиэтилентерефталатная ПЭТФ

ТУ 6-05-021-222-76

Пишущая машинка, вручную

Изготавливается Владимирским химзаводом

Бумага чертежная

ГОСТ 597-73

¢¢

 

Бумага писчая

ГОСТ 18510-87

¢¢

 

ПРИЛОЖЕНИЕ 5
Справочное

ПРИГОТОВЛЕНИЕ МАРКИРОВОЧНЫХ КРАСОК И НЕСМЫВАЕМЫХ ЧЕРНИЛ

1. Быстросохнущие маркировочные краски применяют двух цветов черную БМКЧ и белую БМКБ.

Черную краску приготавливают из следующих компонентов:

- смола поливинилхлоридная по ГОСТ 10.400-75 или трубка из поливинилхлоридного пластиката по ГОСТ 19034-82                                 10 вес. частей;

- растворитель марки Р-4 по ГОСТ 7827-74 или ацетон

по ГОСТ 2603-79                                                                                               70 вес. частей;

- спирт этиловый технический по ГОСТ 17299-78                                   10 вес. частей;

- нигрозин спирторастворимый по ГОCT 9307-78                                   10 вес. частей

Белую краску приготавливают из следующих компонентов:

- смола поливинилхлоридная по ГОСТ 10400-75 или трубка из поливинилхлоридного пластиката по ГОСТ 19034-82                                 10 вес. частей;

- растворитель марки Р-4 по ГОСТ 7827-74 или ацетон

по ГОСТ 2603-79                                                                                               70 вес. частей;

- спирт этиловый технический по ГОСТ 17299-78                                   10 вес. частей

- краска белая печатная по ГОСТ 8000-78                                                 10 вес. частей.

Краску приготавливают следующим образом в небольшой емкости на водяной бане (при температуре 60-80° С) поливинилхлоридную смолу или измельченную трубку из поливинилхлоридного пластиката растворяют в растворителе Р-4 или ацетоне.

Полученный раствор тщательно перемешивают, а затем в него добавляют спиртовый раствор нигрозина или белой краски.

При загустении краски или плохих пишущих свойствах в нее добавляют растворитель Р-4 или ацетон.

2. Несмываемые чернила применяют черного цвета, состоят они из следующих компонентов:

- смола поливинилхлоридная хлорированная по ГОСТ 10400-75                     40 г

- бутилацетат по ГОСТ 8981-78                                                                            520 мл

- ацетон по ГОСТ 2603-79                                                                                     400 мл

- нигрозин спирторастворимый по ГОСТ 9307-78                                             40 г

Приготавливают чернила по следующей технологии: половину указанных количеств растворителей (бутилацетата и ацетона) смешивают с поливинилхлоридной смолой и задерживают за водяной базе (при температуре 50 °С) до полного растворения смолы, после этого в раствор вводят нигрозин, предварительно растворенный в оставшихся количествах растворителей и тщательно перемешивают. Готовые несмываемые чернила фильтруют через бязь.

3. Маркировочные краски и несмываемые чернила хранят в стеклянной герметически закрытой посуде.

ПРИЛОЖЕНИЕ 6
Справочное

ОСНОВНЫЕ ТЕХНИЧЕСКИЕ ТРЕБОВАНИЯ К СПЕЦИАЛЬНЫМ ИНСТРУМЕНТАМ И ПРИСПОСОБЛЕНИЯМ, ПРЕДУСМОТРЕННЫМ В НАСТОЯЩЕЙ ИНСТРУКЦИИ ДЛЯ СНЯТИЯ ИЗОЛЯЦИИ С ПРОВОДОВ И МОНТАЖА ЖГУТОВ ПРОВОДОВ В ЩИТАХ

1. ЭЛЕКТРИЧЕСКИЙ ИНСТРУМЕНТ ДЛЯ СНЯТИЯ ПЛАСТМАССОВОЙ ИЗОЛЯЦИИ С ПРОВОДОВ МЕТОДОМ ОБЖИГА.

1.1. Инструмент предназначен для кольцевого плавления пластмассовой изоляции проводов сечением 0,2-4,0 мм2.

1.2. Напряжение питания должно быть не более 42 В, время разогрева не более 10 с.

1.3. Инструмент должен иметь индивидуальный источник питания, а также приспособление для размещения в перерывах между рабочими операциями.

2. ПОДСТАВКА-НАКОПИТЕЛЬ ДЛЯ ЖГУТОВ

2.1. Подставка-накопитель предназначена для размещения, временного хранения и монтажа жгута проводов в щитах и стативах высотой 2200 мм.

2.2. Подставка должна обеспечить поэтапный ввод и размещение жгута в щите.

2.3. Детали, удерживающие жгут на подставке, не должны повреждать его. Они должны исключить самопроизвольные перемещения жгута под действием собственного веса.

2.4. Подмазка должна быть устойчивой, иметь колеса для перемещения по полу цеха. Также она должна быть снабжена тормозом, исключающим возможность ее перемещения в режимах хранения и монтажа жгутов.

2.5. Конструкция подставки-накопителя не должна создавать неудобств при размещении и закрепление элементов жгута в щите.

ССЫЛОЧНЫЕ НОРМАТИВНО-ТЕХНИЧЕСКИЕ ДОКУМЕНТЫ

Обозначение НТД, на который дана ссылка

Номер пункта, подпункта перечисления, приложения

ГОСТ 2.106-68

3.3

ГОСТ 26.008-85

1.2.8

ГОСТ 26.020-80

1.2.8

ГОСТ 427-75

приложение 2

ГОСТ 443-76

2.2.10

ГОСТ 597-73

приложение 4

ГОСТ 792-67

приложение 3

ГОСТ 860-75

1.1.4; 1.1.6; приложение 3

ГОСТ 2112-79

2.1.4.3; 2.1.4.6; приложение 3

ГОСТ 2603-79

приложение 5

ГОСТ 5009-82

приложение 3

ГОСТ 6267-74

1.4.2

ГОСТ 6323-79

приложение 1

ГОСТ 7219-83

приложение 2

ГОСТ 7236-86

приложение 2

ГОСТ 7283-86

приложение 2

ГОСТ 7502-89

приложение 2

ГОСТ 7827-74

приложение 5

ГОСТ 8000-78

приложение 5

ГОСТ 8981-78

приложения 5

ГОСТ 9307-78

приложение 5

ГОСТ 10400-75

приложение 5

ГОСТ 10752-79

приложение 4

ГОСТ 11680-76

2.2.10; приложение 3

ГОСТ 14632-79

приложение 4

ГОСТ. 15150-69

1.1.4; 1.1.6; 1.3.21; 4.3

ГОСТ 16214-86

2.1.4.2; 2.1.4.3; 2.1.4.4; приложение 3

ГОСТ 17299-78

1.1.5; приложение 5

ГОСТ 17515-72

приложение 1

ГОСТ 18300-87

1.1.5; 2.2.10; приложение 3

ГОСТ 18510-87

приложение 4

ГОСТ 19034-82

2.1.1.1; 2.1.4.2; 2.1.4.3; 2.1.4.4; приложение 5

ГОСТ 19113-84

1.1.5; приложение 3

ГОСТ 19537-83

1.4.2

ГОСТ 21010-75

приложение 2

ГОСТ 21130-75

1.4.9.3

ГОСТ 21930-76

1.1.4; .1.1.6; приложение 3

ГОСТ 22002.2-76

2.1.3.8; приложение 3

ГОСТ 22002.3-76

2.1.3.8; приложение 3

ГОСТ 22002.4-76

2.1.3.8; приложение 3

ГОСТ 22002.5-76

2.1.3.8; приложение 3

ГОСТ 22002.6-82

2.1.3.8; приложение 3

ГОСТ 22002.7-76

2.1.3.8; приложение 3

ГОСТ 22002.8-76

2.1.3.8; приложение 3

ГОСТ 22002.9-76

2.1.3.8; приложение 3

ГОСТ 22002.10-76

2.1.3.8; приложение 3

ГОСТ 22002.11-76

2.1.3.8; приложение 3

ГОСТ 22002.12-76

2.1.3.8; приложение 3

ГОСТ 22002.13-76

2.1.3.8; приложение 3

ГОСТ 22002.14-76

2.1.3.8; приложение 3

ГОСТ 22483-77

приложение 1

ГОСТ 22789-85

1.1.3

ГОСТ 24876-81

приложение 1

ГОСТ 28037-89

приложение 2

ОСТ 4Г0.060.044

приложение 2

ОСТ 4Г0.060.046

приложение 2

ТУ 5.986-5069-74

2.1.3.8; 2.1.3.10; приложение 3

ТУ 5. 986-5157-80

2.1.3.10; приложение 2

ТУ 6-05-021-222-76

приложение 4

ТУ 6-10-1291-86

2.2.11; приложение 3

TУ 29-02-889-79

1.2.10

ТУ 36.1086-84

1.3.6

ТУ 36.1130-85

1.2.8

ТУ 36.1145-84

2.1.1.1; приложение 3

ТУ 36.1215-84

приложение 2

ТУ 36. 1222-84

1.2.12

ТУ 36. 1446-80

1.3.4; 1.3.5; 2.2.3; приложение 3

ТУ 36-1950-76

приложение 2

ТУ 36.22.22.009-88

2.1.3.11, приложение 2

TУ 36.22.22.010-88

2.1.3.8; 2.1.3.11; приложение 3

ТУ 36.2230-79

приложение 2

ТУ 36-2596-84

приложение 2

МРТУ 4237-76

приложение 2

РМ4-199-82

2.2.5

СНиП III-4-80

5.1

СОДЕРЖАНИЕ

1. Технические требования. 1

1.1. Требования к исходным материалам.. 1

1.2. Требования к установке приборов, аппаратов и навесных электрорадиоэлементов. Требования к выводам установленных приборов и аппаратов. 2

1.3. Общие требования к монтажу электрических проводок. 4

1.4. Требования к занулению (заземлению) 6

2. Технология монтажа электрических проводок. 9

2.1. Подготовительные работы.. 9

2.2. Монтаж электрических проводок в щите. 15

3. Правила приемки. 19

4. Методы контроля. 20

5. Требования безопасности. 21

Приложение 1. Сортамент проводов рекомендуемых для монтажа электрических проводок в щитах. 22

Приложение 2. Перечень рекомендуемых инструментов и приспособлений. 22

Приложение 3. Перечень вспомогательных материалов и изделий. 23

Приложение 4. Maтeриалы для изготовления шильдиков и транспарантов, устанавливаемых в рамках и табло. 24

Приложение 5. Приготовление маркировочных красок и несмываемых чернил. 24

Приложение 6. Основные технические требования к специальным инструментам и приспособлениям, предусмотренным в настоящей инструкции для снятия изоляции с проводов и монтажа жгутов проводов в щитах. 25

Ссылочные нормативно-технические документы.. 25

 




Яндекс цитирования



   Copyright © 2007-2026,  www.tehlit.ru.

[ ѓосты, стандарты, нормативы, инструкции, правила, строительные нормы ]