//
|
|
СТРОИТЕЛЬНЫЕ НОРМЫ И ПРАВИЛА Бетонные и железобетонные конструкции СНиП 2.06.08-87 ГОСУДАРСТВЕННЫЙ СТРОИТЕЛЬНЫЙ КОМИТЕТ СССР МОСКВА 1988 РАЗРАБОТАНЫ ВНИИГ им. Б. Е. Веденеева Минэнерго СССР (канд. техн. наук А. П. Пак - руководитель работ; А. В. Караваев; кандидаты техн. наук А. Д. Кауфман, М. С. Ламкин, А. Н. Марчук, Л. П. Трапезников, В. Б. Судаков; доктора техн. наук Л. А. Гордон, И. Б. Соколов) совместно с Гидропроектом им. С. Я. Жука Минэнерго СССР (А. Г. Осколков, Т. И. Сергеева; д-р техн. наук С. А. Фрид; С. А. Березинский); ГрузНИИЭГС Минэнерго СССР (д-р техн. наук Г. П. Вербицкий); Гипроречтрансом Минречфлота РСФСР (канд. тахн. наук В. Э. Даревский; Ленморниипроектом Минморфлота СССР (канд. техн. наук А. А. Долинский); ВО Союзводпроект Минводхоза СССР (канд. техн. наук С. 3. Рагольский). ВНЕСЕНЫ Минэнерго СССР. ПОДГОТОВЛЕНЫ К УТВЕРЖДЕНИЮ Управлением стандартизации и технических норм в строительстве Госстроя СССР (Д. В. Петухов). С введением в действие СНиП 2.06.08-87 «Бетонные и железобетонные конструкции гидротехнических сооружений» с 1 января 1988 г. утрачивают силу СНиП II-56-77 «Бетонные и железобетонные конструкции гидротехнических сооружений». При пользовании нормативным документом следует учитывать утвержденные изменения строительных норм и правил и государственных стандартов, публикуемые в журнале «Бюллетень строительной техники», «Сборнике изменений к строительным нормам и правилам» Госстроя СССР и информационном указателе «Государственные стандарты СССР» Госстандарта СССР.
Настоящие нормы распространяются на проектирование вновь строящихся и реконструируемых бетонных и железобетонных конструкций гидротехнических сооружений, находящихся постоянно или периодически под воздействием водной среды. Элементы бетонных и железобетонных конструкций гидротехнических сооружений, не подвергающиеся воздействию водной среды, следует проектировать в соответствии с требованиями СНиП 2.03-01-84; бетонные и железобетонные конструкции мостов, транспортных туннелей и труб, расположенные под насыпями автомобильных и железных дорог, следует проектировать по СНиП 2.05.03-84. В проектах сооружений, предназначенных для строительства в сейсмических районах, в Северной строительно-климатической зоне, в районах распространения просадочных, набухающих и слабых по физико-механическим свойствам грунтов, должны соблюдаться дополнительные требования, предъявляемые к таким сооружениям соответствующими нормативными документами, утвержденными или согласованными Госстроем СССР. Основные буквенные обозначения и их индексы, принятые в настоящих нормах согласно СТ СЭВ 1565-79, приведены в справочном приложении 1. 1. ОБЩИЕ ПОЛОЖЕНИЯ1.1. При проектировании бетонных и железобетонных конструкций гидротехнических сооружений необходимо соблюдать требования СНиП 2.06.01-86 и строительных норм и правил по проектированию отдельных видов гидротехнических сооружений. 1.2. Выбор типа бетонных и железобетонных конструкций (монолитных, сборно-монолитных, сборных, в том числе предварительно напряженных и заанкеренных в основание) должен производиться исходя из условий технико-экономической целесообразности их применения в конкретных условиях строительства с учетом максимального снижения материалоемкости, энергоемкости, трудоемкости и стоимости строительства. При выборе элементов сборных конструкций следует рассматривать предварительно напряженные конструкции из высокопрочных бетонов и арматуры, а также конструкции из легких бетонов. Типы конструкций, основные размеры их элементов, а также степень насыщения железобетонных конструкций арматурой необходимо принимать на основании сравнения технико-экономических показателей вариантов.
1.3. Элементы сборных конструкций должны отвечать условиям механизированного изготовления на специализированных предприятиях. Следует рассматривать целесообразность укрупнения сборных конструкций с учетом условий их изготовления, транспортирования, грузоподъемности монтажных механизмов. 1.4. Для монолитных конструкций следует предусматривать унифицированные размеры, позволяющие применять инвентарную опалубку. 1.5. Конструкции узлов и соединений элементов в сборных конструкциях должны обеспечивать надежную передачу усилий, прочность самих элементов в зоне стыка, а также связь дополнительно уложенного бетона в стыке с бетоном конструкции. 1.6. При проектировании конструкций гидротехнических сооружений, недостаточно апробированных практикой проектирования и строительства, для сложных условий статической и динамической работы конструкций (когда характер напряженного и деформированного состояния с необходимой достоверностью не может быть определен расчетом) следует проводить исследования. 1.7. Для обеспечения требуемой водонепроницаемости и морозостойкости конструкций, а также для уменьшения противодавления воды в их расчетных сечениях необходимо предусматривать следующие мероприятия: укладку бетона соответствующих марок по водонепроницаемости и морозостойкости со стороны напорной грани и наружных поверхностей (особенно в зонах переменного уровня воды); применение поверхностно-активных добавок к бетону (воздухововлекающих, пластифицирующих и др.); гидроизоляцию и теплогидроизоляцию наружных поверхностей сооружений; обжатие бетона со стороны напорных граней и со стороны поверхностей сооружения, испытывающих растяжение от эксплуатационных нагрузок; устройство дренажа со стороны напорной грани. Выбор мероприятия следует производить на основе технико-экономического сравнения вариантов. 2. МАТЕРИАЛЫ ДЛЯ БЕТОННЫХ И ЖЕЛЕЗОБЕТОННЫХ КОНСТРУКЦИЙБЕТОН2.1. Бетон для бетонных и железобетонных конструкций гидротехнических сооружений должен удовлетворять требованиям ГОСТ 26633-85 и настоящего раздела. 2.2. При проектировании бетонных и железобетонных конструкций гидротехнических сооружений в зависимости от вида и условий работы необходимо устанавливать показатели качества бетона, основными из которых являются следующие: а) классы бетона по прочности на сжатие, которые отвечают значению гарантированной прочности бетона, МПа, с обеспеченностью q = 0,95. В массивных сооружениях допускается применение бетонов со значениями гарантированной прочности с обеспеченностью q = 0,9. В проектах необходимо предусматривать следующие классы бетона по прочности на сжатие: В5, В7,5, В10, В12,5, В15, В20, В25, В30, В35; б) классы бетона по прочности на осевое растяжение. Эту характеристику устанавливают в тех случаях, когда она имеет главенствующее значение и контролируется на производстве. В проектах необходимо
предусматривать следующие классы бетона по прочности на осевое растяжение: в) марки бетона по морозостойкости. В проектах необходимо предусматривать следующие марки бетона по морозостойкости: F50, F75, F100, F150, F200, F300, F400, F500, F600. Марку бетона по морозостойкости следует назначать в зависимости от климатических условий и числа расчетных циклов попеременного замораживания и оттаивания в течение года (по данным долгосрочных наблюдений), с учетом эксплуатационных условий. Для энергетических сооружений марку бетона по морозостойкости следует принимать по табл. 1. Таблица 1
Примечания: 1. Климатические условия характеризуются среднемесячной температурой наиболее холодного месяца: умеренные - выше минус 10 °С, суровые - от минус 10 °С до минус 20 °С включ., особо суровые - ниже минус 20 °С. 2. Среднемесячные температуры наиболее холодного месяца для района строительства определяются по СНиП 2.01.01-82, а также по данным гидрометеорологической службы. 3. При числе расчетных циклов более 200 следует применять специальные виды бетонов или конструктивную теплозащиту. г) марки бетона по водонепроницаемости. В проектах необходимо предусматривать следующие марки бетона по водонепроницаемости: W2, W4, W6, W8, W10, W12, W16, W18, W20. Марку бетона по водонепроницаемости назначают в зависимости от градиента напора, определяемого как отношение максимального напора в метрах к толщине конструкции (или расстоянию от напорной грани до дренажа) в метрах, и температуры контактирующей с сооружением воды, °С, по табл. 2, или в зависимости от агрессивности среды в соответствии со СНиП 2.03.11-85. В нетрещиностойких напорных железобетонных конструкциях и в нетрещиностойких безнапорных конструкциях морских сооружений проектная марка бетона по водонепроницаемости должна быть не ниже W4. Таблица 2
Примечание. Для конструкций с градиентом напора свыше 30 следует назначать марку бетона по водонепроницаемости W16 и выше. 2.3. При надлежащем обосновании допускается устанавливать промежуточные значения классов бетона по прочности на сжатие, отличающиеся от перечисленных в п. 2.2, а также классы В40 и выше. Характеристики этих бетонов следует принимать по СНиП 2.03.01-84 и по интерполяции. 2.4. К бетону конструкций гидротехнических сооружений следует предъявлять дополнительные, устанавливаемые в проектах и подтверждаемые экспериментальными исследованиями, требования: по предельной растяжимости, отсутствию вредного взаимодействия щелочей цемента с заполнителями, сопротивляемости истиранию потоком воды с донными и взвешенными наносами, стойкости против кавитации и химического воздействия, тепловыделению при твердении бетона. 2.5. Срок твердения (возраст) бетона, отвечающий его классам по прочности на сжатие, на осевое растяжение и марке по водонепроницаемости, принимается, как правило, для конструкций речных гидротехнических сооружений 180 сут, для сборных и монолитных конструкций морских и речных портовых сооружений 28 сут. Срок твердения (возраст) бетона, отвечающий его проектной марке по морозостойкости, принимается 28 сут, для массивных конструкций, возводимых в теплой опалубке, 60 сут. Если известны сроки фактического нагружения конструкций, способы их возведения, условия твердения бетона, вид и качество применяемого цемента, то допускается устанавливать класс бетона в ином возрасте. Для сборных, в том числе предварительно напряженных конструкций, отпускную прочность бетона на сжатие следует принимать в соответствии с ГОСТ 13015.0-83, но не менее 70 % прочности принятого класса бетона. 2.6. Для железобетонных элементов из тяжелого бетона, рассчитываемых на воздействие многократно повторяющейся нагрузки, и железобетонных сжатых стержневых конструкций (набережные типа эстакад на сваях, сваях-оболочках и т. п.) следует применять бетон класса по прочности на сжатие не ниже В15. 2.7. Для предварительно напряженных элементов следует принимать бетон класса по прочности на сжатие: не менее В15 - для конструкций со стержневой арматурой; не менее В30 - для элементов, погружаемых в грунт забивкой или вибрированием. 2.8. Для замоноличивания стыков элементов сборных конструкций, которые в процессе эксплуатации могут подвергаться воздействию отрицательных температур наружного воздуха или воздействию агрессивной воды, следует применять бетоны проектных марок по морозостойкости и водонепроницаемости не ниже принятых для стыкуемых элементов. 2.9. Следует предусматривать широкое применение добавок поверхностно-активных веществ (СДБ, СНВ, ЛХД и др.), а также применение в качестве активной минеральной добавки золы-уноса тепловых электростанций, отвечающей требованиям соответствующих нормативных документов. 2.10. Если по технико-экономическим расчетам для повышения водонепроницаемости бетонных и железобетонных конструкций гидротехнических сооружений целесообразно использовать бетоны на напрягающем цементе, а для снижения нагрузки от собственного веса конструкции - легкие бетоны, то классы и марки таких бетонов следует принимать по СНиП 2.03.01-84. 2.11. Нормативные и расчетные сопротивления бетона в зависимости от классов бетона по прочности на сжатие и на осевое растяжение следует принимать по табл. 3. В случае принятия промежуточных классов бетона нормативные и расчетные сопротивления следует принимать по интерполяции. 2.12.
Коэффициенты условий, работы бетона 2.13. При
расчете железобетонных конструкций на выносливость расчетные сопротивления
бетоне Rb и Rbt надлежит умножать на коэффициент условий работы 2.14. Расчетное сопротивление бетона при всестороннем сжатии Rba, МПа, следует определять по формуле
Таблица 3
где
Таблица 4
Примечание. При наличии нескольких факторов, действующих одновременно, в расчет вводится произведение соответствующих коэффициентов условий работы. Произведение должно быть не менее 0,45. Для сооружений I и II классов коэффициент a2 надлежит определять экспериментальным путем. При отсутствии экспериментальных данных допускается коэффициент принимать равным: при s1 < 0,4 Rb - 0,7; при s1 > Rb - 0,5. 2.15. Начальный модуль упругости бетона массивных конструкций при сжатии и растяжении Eb следует принимать по табл. 6. При расчете на прочность и по деформациям тонкостенных стержневых и плитных элементов модуль упругости бетона следует во всех случаях принимать по табл. 6 как для бетона с максимальным диаметром крупного заполнителя 40 мм и осадкой конуса, равной 8 см и более. Модуль упругости бетонов, подвергнутых для ускорения твердения тепловой обработке при атмосферном давлении или в автоклавах, следует принимать по СНиП 2.03.01-84. Модуль сдвига бетона Gb следует принимать равным 0,4Eb. Начальный коэффициент поперечной деформации (коэффициент Пуассона) v принимается равным: для массивных конструкций - 0,15, для стержневых и плитных конструкций - 0,20. Плотность тяжелого бетона при отсутствии опытных данных допускается принимать равной 2,3-2,5 т/м3. АРМАТУРА2.16. Для армирования железобетонных конструкций гидротехнических сооружений следует применять арматурную сталь, отвечающую требованиям соответствующих государственных стандартов или утвержденных в установленном порядке технических условий и принадлежащую к одному из следующих видов: стержневая арматурная сталь: горячекатаная - гладкая класса А-I, периодического профиля классов А-II, A-III, A-IV, A-V; термически и термомеханически упрочненная - периодического профиля классов Ат-IIIС, At-IVC, Aт-VCK; упрочненная вытяжкой класса А-IIIв; проволочная арматурная сталь: холоднотянутая проволока обыкновенная - периодического профиля класса Вр-I. Таблица 5
Примечания: 1. Коэффициент gb2 для бетонов, марка которых установлена в возрасте 28 сут, принимается в соответствии с требованиями СНиП 2.03.01-84. 2. Коэффициент pb равен:
где Таблица 6
Для закладных деталей и соединительных накладок следует применять, как правило, прокатную углеродистую сталь. Марки арматурной стали для армирования железобетонных конструкций в зависимости от условий их работы и средней температуры наружного воздуха наиболее холодной пятидневки в районе строительства следует принимать по СНиП 2.03.01-84, а для портовых и транспортных сооружений также по СНиП 2.05.03-84. Арматурную сталь классов А-IIIв, A-IV и A-V рекомендуется применять для предварительно напряженных конструкций. 2.17. Нормативные и расчетные сопротивления основных видов арматуры, применяемой в железобетонных конструкциях гидротехнических сооружений, в зависимости от класса арматуры должны приниматься по табл. 7. При расчете арматуры по главным растягивающим напряжениям (балки-стенки, короткие консоли и др.) расчетные сопротивления арматуры следует принимать как для продольной арматуры на действие изгибающего момента. При надлежащем обосновании для железобетонных конструкций гидротехнических сооружений допускается применять стержневую и проволочную арматуру других классов. Их нормативные и расчетные характеристики следует принимать по СНиП 2.03.01-84. 2.18. Коэффициенты условий работы ненапрягаемой арматуры следует принимать по табл. 8, а напрягаемой арматуры - по СНиП 2.03.01-84. Коэффициент условий работы арматуры при расчете по предельным состояниям второй группы принимается равным единице. 2.19. Расчетное сопротивление ненапрягаемой растянутой стержневой арматуры Rs, при расчете на выносливость следует определять по формуле
где ys1 - коэффициент условий работы, который определяется: для арматуры классов А-I, А-II, А-III по формуле (4), а для других классов арматуры - по СНиП 2.03.01-84. здесь
Растянутая арматура на
выносливость не проверяется, если коэффициент Таблица 7
___________ * В сварных каркасах для хомутов из арматуры класса А-III, диаметр которых меньше 1/3 диаметра продольных стержней, Rsw равно 255 МПа (2600 кгс/см2). При отсутствии сцепления арматуры с бетоном Rsc равно нулю. Таблица 8
Примечание. При наличии нескольких факторов действующих одновременно, в расчет вводится произведение соответствующих коэффициентов условий работы. Таблица 9
Таблица 10
Примечание. Для промежуточных значений
диаметра арматуры Таблица 11
Примечание. Для арматуры, не имеющей
сварных стыковых соединений, 2.20. Расчетные сопротивления арматуры при расчете на выносливость предварительно напряженных конструкций определяются по СНиП 2.03.01-84. 2.21. Модули упругости ненапрягаемой арматуры и стержневой напрягаемой арматуры принимаются по табл. 12, а арматуры других видов - по СНиП 2.03.01-84. Таблица 12
2.22. При расчете железобетонных конструкций гидротехнических сооружений на выносливость неупругие деформации в сжатой зоне бетона следует учитывать снижением модуля упругости бетона, принимая коэффициенты приведения арматуры к бетону v по табл. 13. Таблица 13
3. КОНСТРУКТИВНЫЕ ТРЕБОВАНИЯ3.1. При проектировании конструкций, испытывающих температурные и влажностные воздействия, необходимо предусматривать следующие конструктивные решения и технологические мероприятия. Конструктивные решения: выбор наиболее рациональной конструкции в данных природных условиях; разрезка конструкции постоянными и временными температурно-усадочными швами; устройство теплоизоляции на наружных бетонных поверхностях: применение предварительно напряженной арматуры (для тонкостенных конструкций). Технологические мероприятия: снижение тепловыделения бетона применением низкотермичных марок цемента, уменьшением расхода цемента за счет использования воздухововлекающих и пластифицирующих добавок, золы-уноса и др.; максимальное рассеивание начальной теплоты и экзотермии за счет наиболее выгодного сочетания высоты ярусов бетонирования и интервалов между укладкой ярусов при заданной интенсивности роста сооружения; регулирование температурного и влажностного режимов поверхностей бетонных массивов для защиты этих поверхностей от резких колебаний температуры среды и сохранения в теплое время года во влажном состоянии с помощью постоянной или временной теплоизоляции или теплогидроизоляции, поливки водой, устройства шатров с кондиционированием воздуха и т. п.; применение трубного охлаждения бетонной кладки; повышение однородности бетона, обеспечение его высокой растяжимости, повышение предела прочности на осевое растяжение; замыкание статически неопределимых конструкций, а также омоноличивание массивных конструкций при температурах бетона, близких к его минимальным эксплуатационным температурам. ПОСТОЯННЫЕ И ВРЕМЕННЫЕ ШВЫ3.2. Для предотвращения образования трещин или уменьшения их раскрытия в монолитных бетонных и железобетонных сооружениях необходимо предусматривать постоянные температурно-усадочные и осадочные швы, а также временные строительные швы. Постоянные швы должны обеспечивать возможность взаимных перемещений частей сооружений как в процессе строительства, так и в процессе эксплуатации. Временные строительные швы должны обеспечивать: снижение температурно-усадочных напряжений в бетоне в процессе возведения сооружений; снижение усилий, вызванных неравномерной осадкой частей сооружения в строительный период; соблюдение требуемой интенсивности работ по возведению сооружения: унификацию армоконструкций, опалубки, сборных элементов и т. п. 3.3. Постоянные швы в сооружениях могут выполняться сквозными или в виде надрезов по поверхностям, подверженным значительным колебаниям температуры. Расстояние между постоянными и временными швами следует назначать в зависимости от климатических и геологических условий, конструктивных особенностей сооружения, последовательности производства работ и т. п. В частях массивных монолитных и сборно-монолитных сооружений, которые подвержены значительным колебаниям температуры и перемещения которых затрудняются связью со скальным основанием или с бетоном внутренних частей сооружения, расстояние между температурно-усадочными швами определяют расчетом в соответствии с требованиями разд. 7. Расстояние между постоянными швами в бетонных сооружениях на скальном основании должно быть не более 30 м. 3.4. Для сборно-монолитных конструкций необходимо предусматривать мероприятия, обеспечивающие надежную связь по поверхностям контакта при омоноличивании конструкций. 3.5. Для уменьшения температурно-усадочных напряжений, а также влияния неравномерных осадок основания допускается устраивать временные расширенные швы, заполняемые бетоном (замыкающие блоки) после выравнивания температур и стабилизации осадок. ПРОДОЛЬНОЕ И ПОПЕРЕЧНОЕ АРМИРОВАНИЕ3.6. Расстояние в свету между арматурными стержнями по высоте и ширине сечения должно обеспечивать совместную работу арматуры с бетоном и назначаться с учетом удобства укладки и уплотнения бетонной смеси. Расстояние в свету между стержнями для немассивных конструкций следует принимать в соответствии с требованиями СНиП 2.03.01-84. В массивных железобетонных конструкциях расстояния в свету между стержнями рабочей арматуры по ширине сечения определяются крупностью заполнителя бетона, но не менее 2,5d где d - диаметр рабочей арматуры. 3.7. Толщину защитного слоя бетона следует принимать: не менее 30 мм для рабочей арматуры и 20 мм для распределительной арматуры и хомутов в балках и плитах высотой до 1м, а также в колоннах с меньшей стороной до 1 м: не менее 60 мм и не менее диаметра стержня для рабочей и распределительной арматуры массивных конструкций с минимальным размером сечения более 1 м. Толщину защитного слоя бетона в железобетонных конструкциях морских гидротехнических сооружений необходимо принимать: для рабочей арматуры стержневой - не менее 50 мм; для распределительной арматуры и хомутов - не менее 30 мм. Для сборных железобетонных элементов заводского изготовления при применении бетона класса по прочности на сжатие В15 и выше толщина защитного слоя может быть уменьшена на 10 мм против указанных выше величин. При эксплуатации железобетонных конструкций в условиях агрессивной среды толщину защитного слоя необходимо назначать с учетом требований СНиП 2.03.11-85. 3.8.
В массивных нетрещиностойких железобетонных плитах и стенах сечением высотой 60
см и более с коэффициентом армирования 3.9. Если стержни арматуры размещаются в два и более ряда, то диаметры стержней рядов должны отличаться друг от друга не более чем на 40 %. 3.10. Из условия долговечности гидротехнических сооружений без предварительного напряжения диаметр арматуры следует принимать для рабочей стержневой арматуры из горячекатаной стали не менее 10 мм, для спиралей и для каркасов и сеток вязаных или изготовленных с применением контактной сварки - не менее 6 мм. 3.11. Продольные стержни растянутой и сжатой арматуры должны быть заведены за нормальное или наклонное к продольной оси элемента сечение, где они не требуются по расчету, в соответствии с требованием СНиП 2.03.01-84. 3.12. Распределительную арматуру для элементов, работающих в одном направлении, следует назначать в размере не более 10 % площади рабочей арматуры в месте наибольшего изгибающего момента. 3.13. При выполнении сварных соединений арматуры следует выполнять требования СНиП 2.03.01-84. 3.14. В конструкциях, рассчитываемых на выносливость, в одном сечении должно стыковаться, как правило, не более половины стержней растянутой рабочей арматуры. Применение стыков внахлестку (без сварки и со сваркой) для растянутой рабочей арматуры в этих конструкциях не допускается. 3.15. В изгибаемых элементах при высоте сечения более 700 мм у боковых граней следует устанавливать конструктивные продольные стержни. Расстояние между ними по высоте должно быть не более 400 мм, площадь поперечного сечения - не менее 0,1 % площади сечения бетона со следующими размерами: высота элемента равна расстоянию между стержнями, ширина - половине ширины элемента, но не более 200 мм. 3.16. У всех поверхностей железобетонных элементов, вблизи которых ставится продольная расчетная арматура, необходимо предусматривать также поперечную арматуру, охватывающую крайние продольные стержни. Расстояние между поперечными стержнями у каждой поверхности элемента должно быть не более 500 мм и не более удвоенной ширины грани элемента. 3.17. Во внецентренно сжатых линейных элементах, а также в сжатой зоне изгибаемых элементов при наличии учитываемой в расчете сжатой продольной арматуры необходимо устанавливать хомуты. Расстояние между хомутами следует принимать в вязаных каркасах не более 15d, в сварных - не более 20d, где d - наименьший диаметр сжатой продольной арматуры. В обоих случаях расстояние между хомутами должно быть не более 500 мм. Конструкция поперечной арматуры должна обеспечивать закрепление сжатых продольных стержней от бокового выпучивания в любом направлении. В местах стыковки рабочей арматуры внахлестку без сварки или если общее насыщение элемента продольной арматуры составляет более 3 %, хомуты следует устанавливать на расстоянии не более 10d и не более 300 мм. В массивных внецентренно сжатых элементах, рассчитанных без учета сжатой арматуры, расстояние между конструктивными поперечными связями (хомутами) допускается увеличивать до двух высот (ширин) элемента. 3.18. Расстояние между вертикальными поперечными стержнями в элементах, не имеющих отогнутой арматуры, и в случаях, когда поперечная арматура требуется по расчету, необходимо принимать: а) на приопорных участках (не менее 1/4 пролета) при высоте сечения менее или равном 450 мм - не более h/2 и не более 150 мм; при высоте сечения более 2000 мм - не более 3/4h и не более 500 мм; при высоте сечения, равной или более 2000 мм - не более h/3; б) на остальной части пролета при высоте сечения 300-2000 мм - не более 3/4h м не более 500 мм; при высоте сечения более 2000 мм - не более 3/4h. 3.19. В элементах, работающих на изгиб с кручением, вязаные хомуты должны быть замкнутыми с перепуском их концов на 30 диаметров хомута, а при сварных каркасах все поперечные стержни обоих направлений должны быть приварены к угловым продольным стержням, образуя замкнутый контур. 3.20. Отверстия в железобетонных элементах следует располагать в пределах ячеек арматурных сеток и каркасов. Отверстия с размерами, превышающими размеры ячеек сеток, должны окаймляться дополнительной арматурой. Суммарная площадь ее сечения должна быть не менее сечения прерванной рабочей арматуры того же направления. 3.21. При проектировании сталежелезобетонных конструкций, в которых обеспечивается совместная работа арматуры и стальной оболочки, толщину последней следует принимать минимальной по условиям монтажа и транспортирования. 3.22. Арматура железобетонных конструкций должна предусматриваться в виде армоферм, армопакетов, сварных каркасов и сеток. Типы армоконструкций следует назначать с учетом принятого способа производства работ. Они должны обеспечивать возможность механизированной подачи бетона и тщательной его проработки. Установку арматуры в железобетонных конструкциях необходимо производить индустриальными методами при максимальной экономии металла на конструктивные элементы для закрепления ее в блоке бетонирования. Увеличение площади сечения арматуры, определенной расчетом на эксплуатационные нагрузки, для восприятия нагрузок строительного периода не допускается. 3.23. Открытые поверхности бетонных сооружений, находящиеся в зоне переменного уровня воды и подвергающиеся воздействию отрицательных температур, а также открытые поверхности сооружений, возводимых в условиях жаркого сухого климата, допускается армировать сетками из арматуры класса А-II диаметром 16 мм. Во всех остальных случаях конструктивное армирование открытых поверхностей бетонных сооружений не допускается. ДОПОЛНИТЕЛЬНЫЕ УКАЗАНИЯ ПО КОНСТРУИРОВАНИЮ ПРЕДВАРИТЕЛЬНО НАПРЯЖЕННЫХ ЖЕЛЕЗОБЕТОННЫХ ЭЛЕМЕНТОВ3.24. При конструировании предварительно напряженных элементов следует выполнять требования СНиП 2.03.01-84, СНиПов на проектирование отдельных видов сооружений и требования пп. 3.25 -3.30. 3.25. Приварка и прихватка к натянутой арматуре каких-либо деталей не допускается. Это требование не распространяется на приварку деталей к концам напрягаемой арматуры, выступающим из изделия, после передачи усилий обжатия бетона. 3.26. Продольную ненапрягаемую арматуру следует располагать ближе к наружной поверхности элемента с тем, чтобы поперечная арматура (хомуты) охватывала напрягаемую арматуру. 3.27. Стержневую напрягаемую арматуру в ребристых элементах следует располагать по оси каждого ребра элемента или симметрично ей. 3.28. Соединение по длине заготовок арматурных стержней из горячекатаной стали периодического профиля диаметром 10 мм и более, как правило, следует производить контактной стыковой сваркой. При отсутствии оборудования для контактной сварки допускается применять дуговую сварку. Стержни арматуры класса А-IIIв необходимо сваривать до вытяжки. Сварные стыки растянутых стержней не рекомендуется располагать в местах наибольших усилий. 3.29. У концов предварительно напряженных элементов должна быть установлена дополнительная поперечная арматура (сварные сетки, охватывающие все продольные стержни арматуры, хомуты и т. п. с шагом 5-10 см) на длине участка не менее 60 % зоны передачи напряжений и не менее 20 см. Если напрягаемая продольная арматура у торцов элемента располагается сосредоточенно у верхней или нижней грани, то на концевых участках необходимо предусматривать поперечную арматуру (не учитываемую в расчете на поперечные силы). Суммарная площадь поперечной арматуры должна воспринимать в конструкциях, не рассчитываемых на выносливость, 20 %, а в конструкциях, рассчитываемых на выносливость, 30 % усилия натяжения в продольной напрягаемой арматуре, которая расположена у одной грани сечения, с учетом первых потерь. Суммарную площадь сечения дополнительной поперечной арматуры необходимо определять по формулам: для конструкций, не рассчитываемых на выносливость,
для конструкций, рассчитываемых на выносливость,
где Аsp - большая из площадей сечения напрягаемой продольной арматуры, расположенной внутри хомутов у одной грани сечения. 3.30. Дополнительную поперечную арматуру рекомендуется предусматривать в виде сварных замкнутых хомутов из арматурной стали классов А-II или А-III. Если, из условия опирания элемента, на его концевом участке устанавливают стальную опорную плиту, то дополнительную поперечную арматуру следует соединять с ней сваркой. 4. ОСНОВНЫЕ РАСЧЕТНЫЕ ПОЛОЖЕНИЯ4.1. Расчеты бетонных и железобетонных конструкций необходимо производить по методу предельных состояний в соответствии со СНиП 2.06.01-86. Бетонные и железобетонные конструкции должны удовлетворять требованиям расчета по предельным состояниям первой группы при всех сочетаниях нагрузок и воздействий, а по предельным состояниям второй группы - только при основном сочетании нагрузок и воздействий. Расчет по предельным состояниям, как правило, следует производить для всех стадий возведения, транспортирования, монтажа и эксплуатации конструкции. 4.2. Бетонные конструкции необходимо рассчитывать по предельным состояниям первой группы: на прочность с проверкой устойчивости положения и формы конструкции - по разд. 5; по предельным состояниям второй группы; по образованию трещин - в соответствии с разд. 7. Железобетонные конструкции следует рассчитывать по предельным состояниям первой группы: на прочность с проверкой устойчивости положения и формы конструкции, на выносливость при многократно повторяющейся нагрузке - по разд. 5; по предельным состояниям второй группы: по деформациям - в тех случаях, когда величина перемещений может ограничить возможность нормальной эксплуатации конструкции или находящихся на ней механизмов, - по разд. 6; по образованию трещин - в тех случаях, когда по условиям нормальной эксплуатации сооружения не допускается их образование (трещиностойкие) или по ограничению величины раскрытия трещин (нетрещиностойкие), - по разд. 6. 4.3. Сборно-монолитные конструкции, а также конструкции с несущей арматурой надлежит рассчитывать для двух стадий работы конструкции: до приобретения бетоном, уложенным на месте использования конструкции, заданной прочности - на действие собственного веса этого бетона и других нагрузок, действующих на данном этапе возведения сооружения; после приобретения бетоном, уложенным на месте использования конструкции, заданной прочности - на нагрузки, действующие при эксплуатации конструкции, включая собственный вес. Расчет на прочность производится на расчетные нагрузки раздельно по двум стадиям без суммирования усилий и напряжений. 4.4. Для заанкеренных в основание плотин наряду с расчетом конструкций следует производить экспериментальные исследования для определения несущей способности анкерных устройств, релаксации напряжений в бетоне и анкерах. Необходимо предусматривать мероприятия по защите анкеров от коррозии. Для предварительно напряженных конструкций в проекте необходимо предусматривать возможность повторного натяжения анкеров или их замены, а также проведение контрольных наблюдений за состоянием анкеров в бетоне. 4.5. При расчете элементов сборных конструкций на усилия, возникающие при подъеме, транспортировании и монтаже, нагрузку от собственного веса элемента следует вводить в расчет с коэффициентами динамичности, назначаемыми по СНиП 2.03.01-84. 4.6. Величину противодавления воды в расчетных сечениях элементов следует определять с учетом условий работы конструкции в эксплуатационный период, а также с учетом конструктивных и технологических мероприятий, указанных в п. 1.7. В элементах массивных напорных и подводных бетонных и железобетонных конструкций гидротехнических сооружений противодавление воды необходимо учитывать как объемную силу и определять по СНиП 2.06.06-85. В стержневых и плитных элементах противодавление воды следует учитывать как растягивающую силу, приложенную в рассматриваемом расчетном сечении, при этом удельный вес материала принимается без учета взвешивания. Противодавление воды следует учитывать как при расчете сечений, совпадающих со швами бетонирования, так и монолитных сечений. 4.7. Усилие противодавления в
расчетных сечениях напорных стержневых и плитных элементов следует принимать равным
площади эпюры напряжений, обусловленных воздействием противодавления. Указанные
напряжения в отдельных точках сечения принимаются равными Для трещиностойких элементов следует принимать линейный закон изменения интенсивности гидростатического давления воды р от величины давления на напорной (верховой) грани до величины давления на низовой грани. Для нетрещиностойких элементов линейный закон изменения интенсивности гидростатического давления следует принимать только в пределах сжатой зоны сечения. В пределах трещин принимается равномерное давление, определяемое заглублением трещин под уровень воды. Коэффициенты эффективной
площади противодавления При отсутствии данных экспериментальных
исследований в сечениях изгибаемых, внецентренно сжатых и внецентренно
растянутых стержневых и плитных элементов допускается принимать следующие
значения 1 - в растянутой зоне сечений и в зоне распространения трещин; 0 - в сжатой зоне сечений элементов. Высота сжатой зоны бетона определяется исходя из гипотезы плоских сечений. В нетрещиностойких элементах работа растянутого бетона не учитывается и форма эпюры напряжений бетона в сжатой зоне сечения принимается треугольной. Вид напряженного состояния сечения при определении дополнительных напряжений устанавливается исходя из гипотезы плоских сечений при действии всех нагрузок без учета силы противодавления. 4.8. Расчет элементов конструкций на выносливость необходимо производить при числе циклов изменения нагрузки 2-106 и более за весь расчетный срок эксплуатации сооружения (например, проточные части гидроагрегатов, водосбросы, плиты водобоя, подгенераторные конструкции и др.). 4.9. При проверке несущей способности и пригодности к нормальной эксплуатации внутренние усилия (напряжения) и перемещения следует определять, как правило, с учетом неупругого поведения конструкций, обусловленного трещинообразованием и ползучестью бетона, нелинейной зависимостью между напряжениями и деформациями материалов, а также с учетом последовательности возведения и нагружения сооружения. Допускается усилия (напряжения) в сечениях элементов определять в предположении упругой работы конструкции в тех случаях, когда методика расчета конструкций с учетом их неупругого поведения не разработана или расчет выполняется на промежуточной стадии проектирования сооружения. 4.10. При расчете статически определимых стержневых конструкций, у которых h/l < 1/3 (h - максимальная высота поперечного сечения, l - пролет в свету), по предельным состояниям первой и второй групп внутренние усилия (нормальные и перерезывающие силы, изгибающие и крутящие моменты), а также перемещения и углы поворота следует определять методами сопротивления материалов. При определении линейных перемещений и углов поворота необходимо учитывать изменение жесткости сечений в результате трещинообразования в бетоне. Условия трещинообразования следует принимать в соответствии с п. 6.2. 4.11. В статически неопределимых стержневых конструкциях внутренние усилия и перемещения следует определять методами строительной механики стержневых систем, как правило, с учетом неупругой работы, обусловленной изменением жесткости сечений в результате трещинообразования в бетоне. 4.12. При расчете элементов бетонных и железобетонных конструкций гидротехнических сооружений необходимо учитывать дополнительные связи строительного периода, носящие постоянный характер (эстакады, пазовые конструкции, балки подкрановых путей, дополнительная арматура для производства работ и т. п.). 4.13. Расчеты, которые не регламентированы настоящими нормами (расчеты предварительно напряженных конструкций, расчет сечений в общем случае, в том числе расчет на косое внецентренное сжатие и косой изгиб, расчет коротких консолей, расчет на продавливание и отрыв, расчет закладных деталей и др.), следует выполнять по указаниям СНиП 2.03.01-84, а при проектировании портовых и транспортных сооружений также СНиП 2.05.03-84. При этом необходимо учитывать коэффициенты, принятые в настоящих нормах. 5. РАСЧЕТ ЭЛЕМЕНТОВ БЕТОННЫХ И ЖЕЛЕЗОБЕТОННЫХ КОНСТРУКЦИЙ НА ПРОЧНОСТЬ И ВЫНОСЛИВОСТЬРАСЧЕТ БЕТОННЫХ ЭЛЕМЕНТОВ НА ПРОЧНОСТЬ5.1. Расчет на прочность бетонных элементов следует производить для сечений, нормальных к их продольной оси. Расчет на прочность элементов, в которых условия наступления предельного состояния не могут быть выражены через усилия в сечениях, следует выполнять для площадок действия главных напряжений. Внецентренно сжатые моменты, в которых по условиям эксплуатации допускается образование трещин, рассчитывают без учета сопротивления бетона растянутой зоны сечения. Все изгибаемые элементы, а также внецентренно сжатые элементы, в которых по условиям эксплуатации не допускается образование трещин, рассчитывают с учетом сопротивления бетона растяжению. 5.2. Бетонные конструкции, прочность которых определяется прочностью бетона растянутой зоны сечения, допускается применять в том случае, если образование трещин в них не приводит к разрушению, к недопустимым деформациям или к нарушению водонепроницаемости конструкции. При этом должна быть проведена проверка трещиностойкости элементов таких конструкций с учетом температурно-влажностных воздействий в соответствии с требованиями разд. 7. Изгибаемые элементы5.3. Расчет бетонных изгибаемых элементов симметричных относительно плоскости действия нагрузки необходимо производить по формуле
где
Wt - момент сопротивления для растянутой грани сечения, определяемый в предположении упругой работы бетона. Коэффициент где с - параметр, определяемый по табл. 14, при c > ht следует принимать с = ht; ht - высота растянутой зоны сечения, см, определяемая в предположении линейно упругой работы бетона. Коэффициент
где k - коэффициент, зависящий от соотношения размеров сечения;
Для кольцевых сечений коэффициент k равен отношению внутреннего и наружного диаметров. Для тавровых сечений с полкой в растянутой зоне, для коробчатых и двутавровых сечений коэффициент k следует определять: при
где bf и hf - ширина и высота сечения растянутой полки; при Внецентренно сжатые элементы5.4. Внецентренно сжатые элементы бетонных конструкций, симметричные относительно плоскости действия нагрузки, следует рассчитывать в предположении упругой работы бетона (черт. 1), из условия ограничения величин краевых сжимающих и растягивающих напряжений по следующим формулам:
Черт. 1. Схема усилий и эпюра напряжений в сечении, нормальном к продольной оси внецентренно сжатого бетонного элемента а - без учета сопротивления бетона растянутой зоны; б - с учетом сопротивления бетона растянутой зоны Таблица 14
При расчете без учета сопротивления растянутой зоны сечения где
Прямоугольные сечения рассчитываются по формуле где А = bh - площадь поперечного сечения элемента;
При расчете с учетом сопротивления растянутой зоны сечения
где Wt = I/yt - моменты сопротивления сечения; Wc = I/yc
По формуле (13) следует
рассчитывать также внецентренно сжатые бетонные конструкции с однозначной
эпюрой напряжений при Таблица 15
Обозначения, принятые в табл. 15: l0 - расчетная длина элемента; b - наименьший размер прямоугольного сечения; r - наименьший радиус инерции сечения. 5.5. При расчете гибких бетонных элементов при l0/b > 12 или 10/r > 35 следует учитывать влияние длительного действия нагрузки на несущую способность конструкции в соответствии с требованиями СНиП 2.03.01-84 с введением расчетных коэффициентов, принятых в настоящих нормах. 5.6. В элементах, рассчитываемых по формулам (11) и (12), величина эксцентриситета расчетного усилия относительно центра тяжести сечения не должна превышать 0,6y при основном сочетании нагрузок и 0,65y - при особом сочетании нагрузок, включающем сейсмические воздействия, где у - расстояние от центра тяжести сечения до его наиболее напряженной грани. РАСЧЕТ ЖЕЛЕЗОБЕТОННЫХ ЭЛЕМЕНТОВ НА ПРОЧНОСТЬ5.7. Расчет на прочность железобетонных элементов надлежит производить для сечений, нормальных к их продольной оси, а также для наклонных к оси сечений наиболее опасного направления. При наличии крутящих моментов следует проверить прочность пространственных сечений, ограниченных в растянутой зоне спиральной трещиной наиболее опасного из возможных направлений. Кроме того, следует производить расчет элементов на местное действие нагрузки (смятие, продавливание, отрыв). 5.8. При установке в сечении элемента арматуры разных видов и классов ее вводят в расчет прочности с соответствующими расчетными сопротивлениями. Расчет на прочность сечений, нормальных к продольной оси элемента5.9. Предельные усилия в сечении, нормальном к продольной оси элемента, следует определять исходя из следующих предпосылок: сопротивление бетона растяжению принимается равным нулю; сопротивление бетона сжатию представляется напряжениями, равными Rb, распределенными равномерно по сжатой зоне бетона; растягивающие напряжения в арматуре принимаются не более расчетного сопротивления растяжению Rs; сжимающие напряжения в арматуре принимаются не более расчетного сопротивления сжатию Rsc. 5.10.
Расчет сечений, нормальных к продольной оси элемента, когда внешняя сила
действует в плоскости оси симметрии сечения и арматура сосредоточена у
перпендикулярных к указанной плоскости граней элемента, необходимо производить
в зависимости от соотношения между относительной высотой сжатой зоны бетона Изгибаемые и внецентренно
растянутые с большими эксцентриситетами железобетонные элементы, как правило,
должны удовлетворять условию 5.11. Если высота сжатой зоны, определяемая без учета сжатой арматуры, меньше 2a. то сжатую арматуру в расчете можно не учитывать. Таблица 16
Изгибаемые элементы5.12. Расчет
изгибаемых железобетонных элементов любой симметричной формы (черт. 2) при
Черт. 2. Схема усилий и эпюра напряжений в сечении, нормальном к продольной оси изгибаемого железобетонного элемента, при расчете его по прочности 5.13.
Расчет изгибаемых элементов прямоугольного сечения при железобетонных элементов:
сталежелезобетонных элементов:
где Asi, A¢si - площади сечений соответственно растянутой и сжатой стальных оболочек; dsi - толщина стальной оболочки; Rsi - расчетное сопротивление стальной оболочки, определяемое в соответствии со СНиП II-23-81. Расчет железобетонных и
сталежелезобетонных элементов из бетона класса В30 и ниже при Внецентренно сжатые элементы5.14.
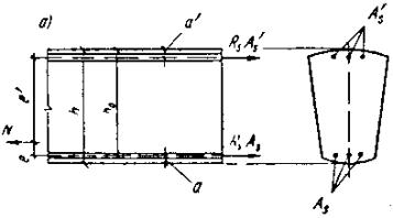
Расчет внецентренно сжатых железобетонных элементов любой симметричной формы (черт. 3)
при
Черт. 3. Схема усилий и эпюр напряжений в сечении, нормальном к продольной оси внецентренно сжатого железобетонного элемента, при расчете его по прочности 5.15. Расчет внецентренно сжатых элементов прямоугольного сечения следует производить при
при при классе бетона В30 и ниже - по формуле (23) и формулам:
при классе бетона выше В30 расчет следует производить в соответствии с требованиями СНиП 2.03.01-84 с учетом расчетных коэффициентов, принятых в настоящих нормах. 5.16. Расчет внецентренно сжатых элементов при гибкости l0/r ³ 35, а элементов прямоугольного сечения при l0/r ³ 10 следует производить с учетом прогиба как в плоскости эксцентриситета продольного усилия, так и в нормальной к ней плоскости в соответствии с требованиями СНиП 2.03.01-84. Центрально растянутые элементы5.17. Расчет центрально растянутых железобетонных элементов следует производить по формуле
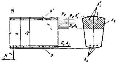
5.18. Расчет прочности на растяжение сталежелезобетонных оболочек круглых водоводов при действии равномерного внутреннего давления воды следует производить по формуле
где N - усилие в оболочке от гидростатического давления с учетом гидродинамической составляющей. Внецентренно растянутые элементы5.19. Расчет внецентренно растянутых железобетонных элементов следует производить в зависимости от положения продольной силы N. Если продольная сила N приложена между равнодействующими усилий в арматуре S и S¢ (черт. 4, а), расчет производят по формулам:
(Изменен. редакция). Черт. 4. Схема усилий и эпюра напряжений в сечении, нормальном к продольной оси внецентренно растянутого железобетонного элемента, при расчете его по прочности а - продольная сила N приложена между равнодействующими усилий в арматуре S и S¢; б - продольная сила приложена за пределами расстояния между равнодействующими усилий в арматуре S и S¢ Если продольная сила N приложена за пределами расстояния между равнодействующими усилий в арматуре
S и S¢ (черт. 4, б) при
Для прямоугольных сечений расчет производят по формулам:
При Расчет на прочность сечений, наклонных к продольной оси элемента, на действие поперечной силы и изгибающего момента5.20. При расчете на действие поперечной силы должно соблюдаться условие
где b - минимальная ширина элемента в сечении. 5.21 Расчет по прочности сечений, наклонных к продольной оси элемента, на действие поперечной сипы можно не производить, если соблюдаются условия: а) для плитных конструкций, работающих пространственно, и для конструкций на упругом основании, за исключением вертикальных консолей подпорных стен б) для всех остальных конструкций где Qb - поперечное усилие, воспринимаемое бетоном сжатой зоны в наклонном сечении, определяемое по формуле здесь Относительная высота сжатой зоны сечения определяется по формулам: для изгибаемых элементов
для внецентренно сжатых и внецентренно растянутых элементов с большим эксцентриситетом
где знаки «плюс» и «минус» следует применять соответственно для внецентренно сжатых и внецентренно растянутых элементов. Для внецентренно растянутых элементов с малым эксцентриситетом следует принимать Qb = 0. Угол между наклонным
сечением и продольной осью элемента Для элементов с высотой
сечения 5.22.
При наличии строительных швов в зоне действия поперечных сил в правую часть формул (36)
и (37) следует вводить дополнительный
коэффициент Таблица 17
Обозначения, принятые в табл.17: lj - расстояние между сечением по шву и нормальным сечением, проходящим через конец наклонного сечения в сжатой зоне, в пределах наклонного сечения; hj - высота сечения по шву. 5.23. Расчет поперечной арматуры в наклонных сечениях элементов постоянной высоты (черт. 5) следует производить по формуле
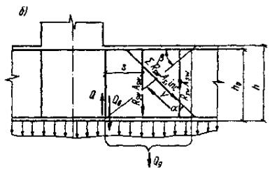
где Q1 - поперечная сила, действующая в наклонном сечении, т. е. равнодействующая всех поперечных сил от внешней нагрузки, расположенных по одну сторону от рассматриваемого наклонного сечения;
a - угол наклона отогнутых стержней к продольной оси элемента в наклонном сечении. Если внешняя нагрузка действует в сторону элемента, как показано на черт. 5, а, расчетную поперечную силу надлежит определять по формуле где Q - поперечная сила в опорном сечении; Qg - равнодействующая внешней нагрузки, действующей на элемент в пределах длины проекции наклонного сечения на продольную ось элемента; V - сила противодавления, действующая в наклонном
сечении, определяемая в предположении линейного распределения пьезометрического
давления и Если внешняя нагрузка действует в сторону от элемента, как показано на черт. 5, б, то Qg в формуле (42) не учитывается. Черт. 5. Схема усилий в сечении, наклонном к продольной оси железобетонного элемента, при расчете его по прочности на действие поперечной силы а - нагрузка действует в сторону элемента; б - нагрузка действует в сторону от элемента 5.24. В случае если соотношение расчетной длины элемента к его высоте менее 3, расчет железобетонных элементов на действие поперечной силы следует производить как стеновой конструкции по главным растягивающим напряжениям. 5.25. Расчет изгибаемых и внецентренно сжатых элементов постоянной высоты, армированных хомутами, допускается производить в соответствии с требованиями СНиП 2.03.01-84 с учетом расчетных коэффициентов настоящих норм. 5.26. Расстояние между поперечными стержнями (хомутами), между концом предыдущего и началом последующего отгиба, а также между опорой и концом отгиба, ближайшего к опоре, должно быть не более величины smax, определяемой по формуле smax
= 5.27. Расчет элементов переменной высоты сечения на действие поперечной силы производится следующим образом: если одна из граней элемента горизонтальна или вертикальна, а вторая наклонна, то ось элемента принимается соответственно горизонтальной или вертикальной. За рабочую высоту наклонного сечения следует принимать проекцию рабочей части наклонного сечения на нормаль к оси элемента: для элемента с наклонной сжатой гранью - у конца наклонного сечения в сжатой зоне (черт. 6, а), для элемента с наклонной растянутой гранью - у начала наклонного сечения в растянутой зоне (черт. 6, б); если обе грани элемента наклонные, за ось элемента следует принимать геометрическое место точек, равноудаленных oт граней элемента. За рабочую высоту сечения принимается проекция рабочей части наклонного сечения на нормаль к оси элемента. Черт. 6. Схема усилий в сечении, наклонном к продольной оси железобетонного элемента, наклонной гранью при расчете его по прочности на действие поперечной силы а - наклонная грань сжата; б - наклонная грань растянута 5.28. Расчет консоли, длина которой lс равна или меньше ее высоты в опорном сечении h (короткая консоль), следует производить по СНиП 2.03.01-84. 5.29. Расчет сечений, наклонных к продольной оси элемента, на действие изгибающего момента следует производить для сечений, проверяемых на прочность при действии поперечных сил, а также для сечений, проходящих через точки изменения площади продольной растянутой арматуры (точки теоретического обрыва арматуры или изменения ее диаметра), и в местах резкого изменения размеров поперечного сечения элемента по формуле
где M - момент всех внешних сил (с учетом противодавления), расположенных по одну сторону oт рассматриваемого наклонного сечения относительно оси, которая проходит через точку приложения равнодействующей усилий в сжатой зоне и перпендикулярна плоскости действия момента;
Черт. 7. Схема усилий в сечении, наклонном к продольной оси железобетонного элемента, при расчете его по прочности на действие изгибающего момента Если наклонное сечение расположено в зоне изменения знака изгибающего момента, проварку на изгиб следует производить относительно точек пересечения наклонного сечения с продольной арматурой, расположенной у обеих граней. При этом следует принимать Qb = 0. Высота сжатой зоны в наклонном сечении, измеренная по нормали к продольной оси момента, определяется в соответствии с требованиями пп. 5.12-5.16. 5.30. Элементы с постоянной или плавно изменяющейся высотой сечения допускается не рассчитывать по прочности наклонного сечения на действие изгибающего момента в одном из следующих случаев: если вся продольная арматура доводится до опоры или до конца элемента и имеет достаточную анкеровку; в плитных пространственно работающих конструкциях; если продольные растянутые стержни, обрываемые по длине элемента, заводятся на нормальное сечение, в котором они не требуются по расчету, на длину ld и более, определяемую по формуле
где Q - поперечная сила в нормальном сечении, проходящем через точку теоретического обрыва стержня; As,inc, a - соответственно площадь сечения и угол наклона отогнутых стержней, расположенных в пределах участка длиной ld; qsw - усилие в хомутах на единицу длины элемента на участке длиной ld, определяемое по формуле
здесь d - диаметр обрываемого стержня, см; если выполняется условие:
в конструкциях на упругом основании, за исключением подпорных стен. Расчет железобетонных элементов на выносливость5.31.
Расчет элементов железобетонных конструкций на выносливость следует производить
путем сравнения краевых напряжений в бетоне и растянутой арматуре с
соответствующими расчетными сопротивлениями бетона 5.32. В трещиностойких элементах краевые напряжения в бетоне и арматуре определяются по расчету как для упругого тела по приведенным сечениям с учетом указаний п.2.22. В нетрещиностойких элементах площадь и момент сопротивления приведенного сечения следует определять без учета растянутой зоны бетона. Напряжения в арматуре следует определять согласно п.6.9 настоящих норм. 5.33. В
элементах железобетонных конструкций при расчете на выносливость наклонных
сечений главные растягивающие напряжения воспринимаются бетоном, если их
величина не превышает 5.34. Величину
главных растягивающих напряжений В формулах (48)-(50):
Ared, Ired - площадь и момент инерции приведенного сечения относительно его центра тяжести; Sred - статический момент части приведенного сечения, лежащий по одну сторону от оси, на уровне которой определяются касательные напряжения; y - расстояние от центра тяжести приведенного сечения до линии, на уровне которой определяются напряжения; b - ширина сечения на том же уровне. Для элементов прямоугольного
сечения касательное напряжение
где z = 0,9h0. В формуле (48) растягивающие напряжения следует вводить со знаком «плюс», а сжимающие со знаком «минус». В формуле (49) знак «минус» принимается для внецентренно сжатых, а знак «плюс» - для внецентренно растянутых элементов. При учете нормальных напряжений, действующих в направлении, перпендикулярном к оси элемента, главные растягивающие напряжения следует определять в соответствии со СНиП 2.03.01-84. 6. Расчет элементов железобетонных конструкций по образованию и раскрытию трещин и по деформациямРасчет железобетонных элементов по образованию трещин6.1. Расчет железобетонных элементов по образованию трещин следует производить: в случаях, когда по условиям эксплуатации трещины не допускаются; для выявления зон трещинообразования при расчете статически неопределимых стержневых и массивных конструкций в соответствии с п.4.11. Условие трещинообразования соответствует знаку равенства, а условие трещиностойкости соответствует знаку неравенства в приводимых ниже формулах. 6.2. Расчет по образованию трещин, нормальных к продольной оси элемента стержневых конструкций, следует производить: а) для центрально растянутых элементов по формуле где
здесь v - отношение модулей упругости арматуры и бетона; d - диаметр арматуры, мм. При б) для изгибаемых элементов по формуле где
здесь с - параметр, определяемый по табл. 14; a - расстояние от центра тяжести растянутой арматуры до растянутой грани; ht - высота растянутой зоны приведенного сечения; Wred - момент сопротивления приведенного сечения для растянутой грани. При в) для внецентренно сжатых элементов по формуле где г) для внецентренно растянутых элементов по формуле где
Примечание. При
определении коэффициента 6.3. Расчет по образованию трещин, наклонных к продольной оси элемента, должен производиться по формуле где здесь При Значения главных
растягивающих и главных сжимающих напряжений в бетоне где
Напряжения Напряжения (Изменен. редакция). Проверка условия (58) производится для наружных граней элемента в точках пересечения их с главными центральными осями инерции приведенного сечения, а для элементов таврового или двутаврового сечений также в местах примыкания сжатых полок к стенке. 6.4. Расчет по образованию трещин при действии многократно повторяющейся нагрузки следует производить исходя из условия
где 6.5. При расчетах по образованию трещин наличие арматуры в сжатой зоне сечения допускается не учитывать. 6.6.
При расчетах по образованию трещин следует учитывать пониженную прочность на растяжение
строительных швов, вводя в условия (52), (54),
(56), (57) и (58) вместо (Изменен. редакция). Для сооружений I и II классов коэффициент, учитывающий влияние швов бетонирования на прочность бетонных элементов на растяжение, следует определять на основании экспериментов. Для сооружений I и II
классов на предварительных стадиях проектирования, а для сооружений III и IV
классов во всех случаях допускается принимать РАСЧЕТ ЖЕЛЕЗОБЕТОННЫХ ЭЛЕМЕНТОВ ПО РАСКРЫТИЮ ТРЕЩИН6.7. В нетрещиностойких стержневых элементах расчет по раскрытию нормальных к продольной оси трещин следует выполнять из условия
где аcr - расчетная ширина раскрытия трещин, мм;
6.8. Ширину раскрытия трещин аcr, мм, следует определять по формуле
где изгибаемых и внецентренно сжатых 1,0 центрально и внецентренно растянутых 1,2;
при учете временного действия нагрузок 1,0 « Fl/Fc < 2/3 1,0 « Fl/Fc ³ 2/3 1,3, здесь Fс и Fl - наибольшие обобщенные усилия (изгибающий момент, нормальная сила и т. п.) соответственно от действия полной нагрузки (постоянной, длительной, кратковременной) и от действия постоянной и длительной нагрузок; при учете многократно повторяющейся нагрузки при воздушно-сухом состоянии бетона 2 - рs, здесь ps - коэффициент симметрии цикла;
стержневой периодического профиля 1,0 гладкой стержневой 1,4 проволочной периодического профиля 1,2;
d - диаметр стержней арматуры, мм. При различных диаметрах стержней следует принимать
здесь n - число стержней одного диаметра. 6.9. Напряжения в арматуре при расчетах ширины раскрытия трещин следует определять по следующим формулам: для изгибаемых элементов для центрально растянутых элементов
для внецентренно растянутых и внецентренно сжатых элементов при больших эксцентриситетах для внецентренно растянутых элементов при малых эксцентриситетах: для арматуры S
для арматуры
В формуле (66) знак «плюс» принимается при внецентренном растяжении, «минус» - при внецентренном сжатии. В формулах (64) и (66) z (плечо внутренней пары сил) допускается принимать по результатам расчета сечений на прочность при расчетных нагрузках. 6.10.
Допускаемую ширину раскрытия трещин Для сооружений II-IV
классов предельная ширина раскрытия трещин определяется умножением полученных
по таблицам значений Приведенные в таблицах 18,
19 и 20
значения Таблица 18
Таблица 19
При бикарбонатной щелочности
воды среды, меньшей 1 мг×экв/л или суммарной концентрации
ионов Сl¢ и SO4¢¢, большей 1000 мг/л,
значения Таблица 20
Значения При диаметрах арматуры 40 мм
и более значение РАСЧЕТ ЭЛЕМЕНТОВ ЖЕЛЕЗОБЕТОННЫХ КОНСТРУКЦИЙ ПО ДЕФОРМАЦИЯМ6.11. Деформации железобетонных конструкций, а также усилия в элементах статически неопределимых конструкций определяются методами строительной механики с учетом трещин и неупругих свойств бетона. При сложных статически неопределимых системах допускается определять перемещения по формулам сопротивления материалов. 6.12. При кратковременном действии нагрузки жесткость изгибаемых, внецентренно сжатых и внецентренно растянутых элементов следует определять по формулам: для трещиностойких элементов или их участков
для нетрещиностойких элементов или их участков
Для определения жесткости нетрещиностойких участков изгибаемых элементов прямоугольного поперечного сечения допускается использовать зависимость и номограмму, приведенные в справочном приложении 4. 6.13. При одновременном действии кратковременных и длительных нагрузок жесткость изгибаемых, внецентренно сжатых и внецентренно растянутых элементов следует определять по формулам: для трещиностойких элементов или их участков
для нетрещиностойких элементов или их участков
где С - обобщенное усилие от длительно действующих нагрузок; V - обобщенное усилие от кратковременно действующих нагрузок;
7. РАСЧЕТ ЭЛЕМЕНТОВ БЕТОННЫХ И ЖЕЛЕЗОБЕТОННЫХ КОНСТРУКЦИЙ НА ТЕМПЕРАТУРНЫЕ И ВЛАЖНОСТНЫЕ ВОЗДЕЙСТВИЯ7.1. Учет температурных воздействий следует производить: а) при расчете бетонных конструкций по прочности в соответствии с п. 5.1, а также при расчете их по образованию (недопущению) трещин в случаях, когда нарушение монолитности этих конструкций может изменить статическую схему их работы, вызвать дополнительные внешние силовые воздействия или увеличение противодавления, привести к снижению водонепроницаемости и долговечности конструкции: б) при расчете статически неопределимых железобетонных конструкций, а также при расчете железобетонных конструкций по образованию (недопущению) трещин в случаях, указанных в п. 6.1; в) при определении деформаций и перемещении элементов сооружений для назначения конструкций температурных швов и противофильтрационных уплотнений; г) при назначении температурных режимов, требуемых по условиям возведения сооружения и нормальной его эксплуатации; д) при расчете тонкостенных железобетонных элементов непрямоугольного сечения (тавровые, кольцевые), контактирующих с грунтом. Температурные воздействия допускается не учитывать в расчетах тонкостенных конструкций, если обеспечена свобода перемещений этих конструкций. 7.2. При расчете бетонных и железобетонных конструкций следует учитывать температурные воздействия эксплуатационного и строительного периодов. К температурным воздействиям эксплуатационного периода относятся климатические колебания температуры наружного воздуха, воды в водоемах и эксплуатационный подогрев (или охлаждение) сооружения. Температурные воздействия строительного периода определяются с учетом экзотермии и других условий твердения бетона, включая конструктивные и технологические мероприятия по регулированию температурного режима конструкции, температуры замыкания строительных швов, полного остывания конструкции до среднемноголетних эксплуатационных температур, колебаний температуры наружного воздуха и воды в водоемах. Конкретный перечень температурных воздействий, учитываемых в расчетах бетонных и железобетонных конструкций основных видов гидротехнических сооружений, должен устанавливаться нормами на проектирование соответствующих видов сооружений. 7.3. В расчетах бетонных и железобетонных конструкций гидротехнических сооружений на температурные воздействия при соответствующем обосновании допускается учитывать тепловое влияние солнечной радиации. 7.4. Учет влажностных воздействий при расчете бетонных и железобетонных конструкций должен быть обоснован в зависимости от возможности развития усадки или набухания бетона этих конструкций. Допускается не учитывать усадку бетона в расчетах: массивных конструкций; тонкостенных конструкций, находящихся под водой, контактирующих с водой или засыпанных грунтом, если были предусмотрены меры по предотвращению высыхания бетона в период строительства. 7.5. Температурные и влажностные поля конструкций рассчитываются методами строительной физики с использованием основных положений, принятых для нестационарных процессов. 7.6. Данные о температуре и влажности наружного воздуха и другие климатологические характеристики должны приниматься на основе метеорологических наблюдений в районе строительства. При отсутствии таких наблюдений необходимые сведения следует принимать по СНиП 2.01.01-82 и по официальным документам Государственной гидрометеорологической службы. Температура воды в водоемах должна определяться на основе специальных расчетов и по аналогам. 7.7. Для сооружений I класса теплофизические характеристики бетона устанавливаются на основании специальных исследований. Для сооружений других классов и при предварительном проектировании сооружений I класса указанные характеристики бетона допускается принимать по табл. 1 и 2 рекомендуемого приложения 2. 7.8. Деформативные характеристики бетона, необходимые для расчета термонапряженного состояния конструкций, допускается принимать: начальный модуль упругости бетона, МПа, в возрасте менее 180 сут - по формуле
где t - возраст бетона, сут; начальный модуль упругости бетона в возрасте 180 сут и более следует принимать в соответствии с п. 2.15. Характеристики ползучести бетона следует принимать по табл. 4 рекомендуемого приложения 2. Для сооружений I класса деформативные характеристики бетона следует уточнять исследованиями на образцах из бетона производственного состава. 7.9. Расчет бетонных и железобетонных конструкций по образованию (недопущению) температурных трещин следует производить по формулам: а) при проверке образования трещин и определении их размеров Для образования поверхностной трещины необходимо, чтобы условие (74) выполнялось в пределах зоны растяжения, глубина которой в направлении, перпендикулярном поверхности, была бы не менее 1,3dmax, где dmax - максимальный размер крупного заполнителя бетона; б) при недопущении трещин в конструкциях, рассчитываемых по второй группе предельных состояний,
в) при недопущении трещин в конструкциях, рассчитываемых по первой группе предельных состояний,
где Rbtn и Rbt - соответственно нормативное и расчетное сопротивления бетона на осевое растяжение, определяемые в соответствии с п. 2.11;
Eb(t) - модуль упругости бетона, определяемый в соответствии с п. 7.8;
A(t) - работа растягивающих напряжений на соответствующей разности полных и вынужденных температурных деформаций в бетоне:
где T( a - температурный коэффициент линейного расширения бетона; e(
где 7.10.
Коэффициент
где u - коэффициент, зависящий от установленной обеспеченности q гарантированной прочности бетона и равный 1,64 при q = 0,95 и 1,28 при q = 0,90; v - коэффициент вариации прочности бетона производственного состава. В проектах бетонных и железобетонных конструкций гидротехнических сооружений следует принимать v = 0,135 при q = 0,95, v = 0,17 при q = 0,90. 7.11. Значение Для сооружений I и II
классов коэффициент 7.12. Для сооружений I и II классов в технико-экономическом обосновании, а для сооружений III и IV классов - во всех случаях допускается расчет по образованию (недопущению) трещин от температурных воздействий производить по формуле где
elim - предельная растяжимость бетона, определяемая по табл. 6 рекомендуемого приложения 2;
При определении коэффициента
ПРИЛОЖЕНИЕ 1
| ||||||||||||||||||||||||||||||||||||||||||||||||||||||||||||||||||||||||||||||||||||||||||||||||||||||||||||||||||||||||||||||||||||||||||||||||||||||||||||||||||||||||||||||||||||||||||||||||||||||||||||||||||||||||||||||||||||||||||||||||||||||||||||||||||||||||||||||||||||||||||||||||||||||||||||||||||||||||||||||||||||||||||||||||||||||||||||||||||||||||||||||||||||||||||||||||||||||||||||||||||||||||||||||||||||||||||||||||||||||||||||||||||||||||||||||||||||||||||||||||||||||||||||||||||||||||||||||||||||||||||||||||||||||||||||||||||||||||||||||||||||||||||||||||||||||||||||||||||||||||||||||||||||||||||||||||||||||||||||||||||||||||||||||||||||||||||||||||||||||||||||||||||||||||||||||||||||||||||||||||||||||||||||||||||||||||||||||||||||||||||||||||||||||||||||||||||||||||||||||||||||||||||||||||||||||||||||||||||||||||||||||||||||||||||||||||||||||||||||||||||||||||||||||||||||||||||||||||||||||||||||||||||||||||||||||||||||||||||||||||||||||||||||||||||||||||||||||||||||||
|
Буквенное обозначение |
Размерность |
Значение |
|
|
Температурный коэффициент линейного расширения |
|
°С-1 |
1·10-5 |
|
Теплопроводность |
|
Вт/(м×°С) ккал (м×ч×°С) |
2,67 2,3 |
|
Температуропроводность |
aT |
м2/c м2/ч |
11·10-7 4·10-3 |
|
Удельная теплоемкость |
Cb |
кДж/ (кг×°C) ккал/(м2×ч×°С) |
1 0,24 |
|
Коэффициент теплоотдачи с открытой поверхности бетона: |
|
Вт/(м2×°С) ккал/(м2×ч×°С) |
|
|
в наружный воздух |
|
|
24 20 |
|
в воздух внутри полых швов, шахт, шатров |
|
|
7-12 5-10 |
|
в воду |
|
|
¥ |
Примечание. Размерности значения характеристик бетона приведены: над чертой в единицах СИ, под чертой в действовавших системах (технической системы единиц).
(Изменен. редакция).
Таблица 2
Характеристики тепловыделения бетона
|
Тип цемента |
Марка цемента |
Тепловыделение бетона, кДж/ккал, на 1 кг цемента в возрасте бетона, сут |
|||
|
3 |
7 |
28 |
90 |
||
|
Портландцемент |
300 |
210/50 |
250/60 |
295/70 |
300/72 |
|
400 |
250/60 |
295/70 |
345/82 |
355/85 |
|
|
500 |
295/70 |
335/80 |
385/92 |
400/95 |
|
|
Пуццолановый портландцемент, шлакопортландцемент |
300 |
175/42 |
230/55 |
270/65 |
280/67 |
|
400 |
210/50 |
265/63 |
320/77 |
335/80 |
|
Таблица 3
Параметр c
|
Максимальный размер крупного заполнителя, мм |
c при классе бетона по прочности на сжатие |
||||||||||
|
В5 |
B7,5 |
B10 |
B12,5 |
B15 |
B20 |
B25 |
B30 |
B35 |
B40 |
||
|
До 4 |
40 |
27 |
37 |
45 |
54 |
62 |
77 |
90 |
106 |
125 |
146 |
|
80 |
32 |
44 |
56 |
67 |
77 |
98 |
116 |
133 |
153 |
180 |
|
|
120 |
37 |
52 |
67 |
77 |
90 |
116 |
139 |
162 |
191 |
216 |
|
|
4-8 |
40 |
20 |
28 |
35 |
41 |
47 |
58 |
69 |
80 |
94 |
115 |
|
80 |
25 |
37 |
42 |
50 |
58 |
72 |
86 |
102 |
120 |
139 |
|
|
120 |
29 |
40 |
50 |
60 |
69 |
86 |
102 |
116 |
132 |
154 |
|
|
Св. 8 |
40 |
11 |
15 |
19 |
23 |
26 |
35 |
42 |
50 |
62 |
74 |
|
80 |
15 |
19 |
24 |
29 |
33 |
42 |
52 |
60 |
72 |
86 |
|
|
120 |
17 |
24 |
29 |
35 |
40 |
50 |
60 |
69 |
83 |
98 |
|
(Изменен. редакция).
Таблица 4
Характеристики ползучести бетона
|
Мера ползучести бетона с (t, t)·105, МПа-1, при длительности загружения (t - t), сут |
|||||||||
|
0 |
10 |
25 |
50 |
100 |
200 |
500 |
1000 |
1500 |
|
|
0,125 |
0 |
0,90 |
16,00 |
20,00 |
24,00 |
27,00 |
31,00 |
32,00 |
32,00 |
|
10 |
0 |
1,10 |
1,76 |
2,23 |
2,67 |
3,06 |
3,48 |
3,60 |
3,60 |
|
30 |
0 |
0,85 |
1,41 |
1,80 |
2,18 |
2,52 |
2,89 |
3,00 |
3,00 |
|
112 |
0 |
0,50 |
0,80 |
1,18 |
1,45 |
1,70 |
1,92 |
1,98 |
1,98 |
|
205 |
0 |
0,35 |
0,67 |
0,88 |
1,09 |
1,26 |
1,42 |
1,46 |
1,46 |
|
512 |
0 |
0,21 |
0,46 |
0,65 |
0,80 |
0,91 |
0,98 |
1,00 |
1,00 |
|
1500 |
0 |
0,21 |
0,46 |
0,65 |
0,80 |
0,91 |
0,98 |
1,00 |
1,00 |
(Изменен. редакция).
Таблица 5
Коэффициент ![]()
|
Возраст достижения бетоном прочности по классу на сжатие, сут |
Коэффициент |
|||||||
|
3 |
7 |
14 |
28 |
45 |
90 |
180 |
360 |
|
|
180 |
0,31 |
0,47 |
0,62 |
0,78 |
0,85 |
0,93 |
1,00 |
1,07 |
|
360 |
0,29 |
0,44 |
0,59 |
0,72 |
0,80 |
0,86 |
0,93 |
1,00 |
Таблица 6
Предельная растяжимость бетона
|
Максимальный размер крупного заполнителя |
Предельная растяжимость бетона elim×105 при классе бетона по прочности на сжатие |
||||||||||
|
В5 |
B7,5 |
B10 |
B12,5 |
B15 |
B20 |
B25 |
B30 |
В35 |
B40 |
||
|
До 4 |
40 |
3,5 |
3,7 |
4,0 |
4,2 |
4,5 |
5,0 |
5,5 |
6,0 |
6,5 |
7,0 |
|
80 |
3,0 |
3,2 |
3,5 |
3,7 |
4,0 |
4,5 |
5,0 |
5,5 |
6,0 |
6,5 |
|
|
120 |
2,7 |
3,0 |
3,2 |
3,5 |
3,7 |
4,2 |
4,7 |
5,2 |
5,7 |
6,2 |
|
|
4-8 |
40 |
4,0 |
4,2 |
4,5 |
4,7 |
5,0 |
5,5 |
6,0 |
6,5 |
7,0 |
7,5 |
|
80 |
3,5 |
3,7 |
4,0 |
4,2 |
4,5 |
5,0 |
5,5 |
6,0 |
6,5 |
7,0 |
|
|
120 |
3,2 |
3,5 |
3,7 |
4,0 |
4,2 |
4,7 |
5,2 |
5,7 |
6,2 |
6,7 |
|
|
Св. 8 |
40 |
6,0 |
6,2 |
6,4 |
6,5 |
6,7 |
7,0 |
7,4 |
7,7 |
8,0 |
8,5 |
|
80 |
5,0 |
5,2 |
5,4 |
5,6 |
5,8 |
6,2 |
6,6 |
7,0 |
7,5 |
7,8 |
|
|
120 |
4,5 |
4,7 |
4,9 |
5,1 |
5,3 |
5,8 |
6,2 |
6,7 |
7,0 |
7,5 |
|
Таблица 7
Коэффициент ![]()
|
|
||||||||||
|
В5 |
B7,5 |
B10 |
В12,5 |
В15 |
В20 |
В25 |
B30 |
В35 |
В40 |
|
|
3 |
0,94 |
0,89 |
0,84 |
0,80 |
0,76 |
0,71 |
0,66 |
0,63 |
0,61 |
0,60 |
|
7 |
0,95 |
0,90 |
0,86 |
0,83 |
0,80 |
0,76 |
0,73 |
0,71 |
0,70 |
0,70 |
|
14 |
0,96 |
0,92 |
0,89 |
0,86 |
0,84 |
0,81 |
0,79 |
0,78 |
0,77 |
0,77 |
|
28 |
0,97 |
0,95 |
0,93 |
0,91 |
0,90 |
0,88 |
0,87 |
0,86 |
0,86 |
0,86 |
|
45 |
0,98 |
0,97 |
0,96 |
0,95 |
0,94 |
0,93 |
0,92 |
0,91 |
0,91 |
0,91 |
|
90 |
0,99 |
0,99 |
0,98 |
0,98 |
0,98 |
0,98 |
0,98 |
0,98 |
0,98 |
0,98 |
|
180 и больше |
1,00 |
1,00 |
1,00 |
1,00 |
1,00 |
1,00 |
1,00 |
1,00 |
1,00 |
1,00 |
(Изменен. редакция).


, (1)
где l0 - момент инерции сечения элемента с высотой h0.
СОДЕРЖАНИЕ
|
|
|
|