//
ТехЛит.ру
- крупнейшая бесплатная электронная интернет библиотека для "технически умных" людей.
WWW.TEHLIT.RU - ТЕХНИЧЕСКАЯ ЛИТЕРАТУРА

:: Алготрейдинг::


АЛГОТРЕЙДИНГ
шаг за шагом
с нуля по урокам!

Торговые роботы на PYTHON, BackTrader,
Pandas, Pine Script для TradingView. Связка с брокерами, телеграм и легкими приложениями.


АО «ЦНИИПРОМЗДАНИЙ»

УТВЕРЖДАЮ:

Зам. Генерального директора

ЦНИИПромзданий

С.М. Гликин

РЕКОМЕНДАЦИИ
ПО ПРИМЕНЕНИЮ В КРОВЛЕ И ГИДРОИЗОЛЯЦИИ
ПОЛИМЕРНОЙ КОМПОЗИЦИИ «ПОЛИКРОВ»

Зав. отделом покрытий и кровель

А.М. Воронин

Ст. научный сотрудник

Г.Н. Андреева

Ведущий инженер

Л.И. Митренко

МОСКВА - 1997 г.

СОДЕРЖАНИЕ

1. Общие положения. 1

2. Конструктивные решения кровли и гидроизоляции. 2

2.1. Требования к применяемым материалам.. 2

2.2 Требования к основанию под кровлю и гидроизоляцию.. 2

2.3 Требования к изоляционным слоям.. 3

3. Устройство кровли и гидроизоляции. 4

3.1. Подготовка основания под изоляционные слои. 5

3.2. Устройство изоляционных слоев. 6

4. Контроль качества и приемка работ. 8

5. Техника безопасности. 8

Техническое заключение по результатам испытаний композиции «ПОЛИКРОВ». 14

ПРЕДИСЛОВИЕ

Рекомендации разработаны отделом покрытий и кровель АО «ЦНИИПРОМЗДАНИЙ» в дополнение к главе СНиП II-26-76 «Кровли. Нормы проектирования», главе СНиП 3.04.01-87 «Изоляционные и отделочные покрытия» и серии I.010-I «Гидроизоляция подземных частей зданий и сооружений».

Применение кровельной и гидроизоляционной композиции «Поликров» с высокими исходными физико-механическими свойствами (прочность ³ 125 кгс/см2, деформативность ³ 35 %, гибкость при отрицательной температуре не более минус 50 °С, а также высокая теплостойкость 120 °С и низкое водопоглощение £ 0,15 %, низкий удельный вес - 2,4 кг/м2) позволяют снизить количество слоев, повысить качество и долговечность кровли и гидроизоляции в сравнении с традиционными битумными и битумно-полимерными материалами. При этом сокращаются сроки устройства кровли и изоляции.

Рекомендации содержат требования к применяемым материалам, основанию под кровлю, водоизоляционным слоям, а также конструктивные решения кровельного ковра и гидроизоляции и технологические приемы их устройства.

Предназначены для работников проектных, строительных и ремонтно-строительных организаций.

1. ОБЩИЕ ПОЛОЖЕНИЯ

1.1. Настоящие рекомендации распространяются на проектирование и устройство кровель и гидроизоляции зданий и сооружений различного назначения, выполняемых из композиции «Поликров», которая может быть применена при новом строительстве и при ремонте.

1.2. Уклоны кровель принимают в соответствии с нормами проектирования зданий и сооружений.

1.3. При проектировании и устройстве кровель и гидроизоляции из композиции «Поликров», кроме настоящих рекомендаций должны выполняться требования норм по проектированию, по правилам производства и приемке работ, по технике безопасности в строительстве, действующих правил по охране труда и противопожарной безопасности.

1.4. Особое внимание уделяют устройству внутренних и наружных водостоков, мест примыканий изоляционных слоев к выступающим над ними элементам, а также устройству гидроизоляции в местах пропуска через нее технологических трубопроводов и прохода деформационных швов в стенах и др.

1.5. Работы по устройству кровель и гидроизоляции должны выполняться специализированными бригадами под техническим руководством и контролем инженерно-технических работников.

К производству изоляционных работ допускаются рабочие, прошедшие медицинский осмотр, обучение технике безопасности и методам ведения работ.

2. КОНСТРУКТИВНЫЕ РЕШЕНИЯ КРОВЛИ И ГИДРОИЗОЛЯЦИИ

2.1. Требования к применяемым материалам

2.1.1. Для устройства кровельного ковра и гидроизоляции применяют следующие материалы:

рулонный полимерный материал «Поликров-АР»;

приклеивающую полимерную кровельную мастику «Поликров-М» (ТУ 5775-001-11313564-96), состоящую из синтетических каучуков, растворителя, вулканизирующей группы и технологических добавок);

полимерную защитную мастику «Поликров-Л» (ТУ 5775-001-11313564-96), состоящую из синтетических каучуков, растворителя, вулканизирующего агента, наполнителей и красящих пигментов;

армирующий слой из стеклоткани с толщиной волокон 180-200 мкм;

герметизирующие мастики «Эластосил», УТ-32 и др. (удовлетворяющие требованиям ГОСТ 25621-83)

2.1.2. Показатели физико-механических свойств применяемых материалов должны удовлетворять требованиям, приведенным в табл. 1...3.

2.1.3. На эксплуатируемых кровлях (крышах-террасах) в качестве разделительного слоя рекомендуется применять рубероид (ГОСТ 10923-82*), холст из синтетических волокон по ТУ 6-19-290-83 или тому подобное.

2.1.4. Для компенсаторов деформационных швов, элементов наружных водостоков и отделки свесов карнизов применяют материалы в соответствии с требованиями СНиП II-26-76 или серии 1.010-1.

2.2 Требования к основанию под кровлю и гидроизоляцию

2.2.1. Основанием под кровлю и гидроизоляцию могут служить:

ровные поверхности железобетонных, легкобетонных (пенобетон и др.), асбестоцементных, цементно-стружечных плоских плит без устройства по ним выравнивающих стяжек (затирок);

выравнивающая стяжка из цементно-песчаного раствора или асфальтобетона, которую назначают в соответствии с требованиями, приведенными в табл. 4.

Стяжки из песчаного асфальтобетона не допускаются по сжимаемым (минераловатным) и засыпным (из керамзитового гравия и т.п.) теплоизоляционным материалам;

существующие стальные кровельные покрытия.

Таблица 1

Физико-механические свойства рулонного полимерного материала «Поликров»

Наименование показателя

Поликров марок по ТУ 5775-003-1131-35-64

АР-150

АР-130

Р-130

1. Условная прочность при растяжении, МПа

5,0

3,0

0,3

2. Относительное удлинение при разрыве, %

300*

300*

300*

3. Гибкость на брусе радиус 5 мм при температуре °С

минус 50

минус 50

минус 50

4. Водопоглощение, %, через 24 часа.

0,15*

0,15*

0,15*

Примечание: * - при испытании без стеклоткани.

Таблица 2

Физико-механические свойства мастики «Поликров-М»

Наименование показателя

Значения по ТУ для «Поликров-М» марок

М-120

М-140

1. Внешний вид мастики

Однородная жидкость темного цвета без посторонних включений

2. Содержание сухого вещества, % по массе

22±5

22±5

3. Условная вязкость по вискозиметру

80...100

150...

4. Адгезия к поверхности бетона, Мпа, не менее

0,2

0,4

5. Гибкость на брусе r = 5 мм закругления при температуре, °С, без трещин

минус 50

минус 50

6. Теплостойкость при температуре °С в течение 2 ч., не менее

120

120

Таблица 3

Физико-механические свойство мастики «Поликров-Л»

Наименование показателя

Значение по ТУ

1. Условная вязкость по вискозиметру ВЗ-246, с

200

2. Массовая доля нелетучих веществ, %

17±3

3. Время высыхания, ч.: до степени 3

до степени 5

36

72

4. Условная прочность, МПа, не менее

2,0

5. Относительное удлинение при разрыве, %, не менее

400

6. Водопоглощение в течение 24 ч, % по массе, не более

0,4

7. Прочность сцепления с основанием, Мпа, не менее

0,3

8. Химическая стойкость; снижение условий прочности и относительного удлинения при воздействии бензина и машинного масла, %

5

Таблица 4

Требования к основанию под кровлю

Наименование показателей

Вид основания

Из теплоизоляционных слоев монолитной укладки на

Из цементно-песчаного раствора

Из песчаного асфальтобетона

Из теплоизоляц. плит

Цементном вяжущем

Битумном вяжущем

по засыпной теплоиз.

по теплоиз. плитам

Ровность

Плавно нарастающие неровности вдоль уклона не более ±5 мм, а поперек уклона - не более = 10 мм

Перепад между смежн. плитами не более 3 мм

Прочность на сжатие, МПа, не менее

0,6

0,15

10

5

0,8

0,06

Влажность, %, не более

15

2,5

15

15

2,5

По ГОСТ или ТУ на плиты

Толщина, мм, не более

*

*

25±10 %

15

15

*

* Толщина теплоизоляции по расчету.

2.2.2. В местах примыканий кровель к стенам, шахтам и другим конструктивным элементам должны быть предусмотрены переходные наклонные бортики (под углом 45°), высотой не менее 100 мм. Из легкого бетона или цементно-песчаного раствора. Стены из кирпича или блоков в этих местах должны быть оштукатурены цементно-песчаным раствором марки 50.

2.3 Требования к изоляционным слоям

2.3.1. Конструктивные решения кровель в зависимости от уклона и способа укладки приведены в табл. 5. Для соединения с основанием под кровлю при укладке основания до 25 % применяется мастика «Поликров-М120» и «Поликров-М140». При уклоне свыше 25 % (в местах примыканий и пр.) применяется мастика «Поликров-М140», требуется дополнительное армирование композиции «Поликров» и механическое крепление ковра к основанию.

Защитные слои эксплуатируемых кровель предусматривают из цементно-песчаного раствора, песчаного асфальтобетона; бетонных, армоцементных и других плит, укладываемых на цементно-песчаном растворе.

2.3.2. Для предохранения оклеечной гидроизоляции от механических повреждений и оползней она должна быть защищена и зажата защитной конструкцией из бетона, железобетона, кирпича и т.д.

ПРИМЕЧАНИЕ: допускается применять в качестве защитного ограждения оклеечной гидроизоляции гофрированную пленку из поливинилхлорида или полиэтилена высокой плотности толщиной 1-1,5 мм, прочностью на растяжение - не менее 10 (100) МПа (кгс/см2) и относительным удлинением - не менее 50 %.

2.3.3. Конструктивные решения гидроизоляции в зависимости от подготовки под гидроизоляцию приведены в табл. 6.

2.3.4. Гидроизоляцию предусматривают, как правило, по наружной поверхности со стороны воздействия воды и высотой выше максимального уровня грунтовых вод не менее чем на 0,5 м.

При гидроизоляции со стороны, противоположной напору воды (работа на отрыв) необходимо предусматривать прижимные противонапорные конструкции.

Количество гидроизоляционных слоев зависит от гидростатического напора и принимается по табл. 7.

2.3.5. Область применения оклеечной гидроизоляции устанавливают по табл. 8 в зависимости от изолируемой конструкции и ее трещиностойкости.

3. УСТРОЙСТВО КРОВЛИ И ГИДРОИЗОЛЯЦИИ

До начала изоляционных работ должны быть выполнены и приняты по актам:

все строительно-монтажные работы на изолируемых участках, включая замоноличивание швов между сборными железобетонными плитами или к стальным профилированным настилам водосточных воронок, компенсаторов деформационных швов, патрубков (или стаканов) для пропуска инженерного оборудования, анкерных болтов, антисептированных деревянных брусков (или реек) для закрепления изоляционных слоев и защитных фартуков;

слои паро- и теплоизоляции;

основание под кровлю на всех поверхностях, включая карнизные участки кровель и места примыканий к выступающим над кровлей конструктивным элементам.

Таблица 5

Уклон кровли, %

Тип кровли

Метод укладки

Конструктивная схема кровли

Количество слоев кровельного ковра

Защитный слой

Условные обозначения

1,5...25

К-1

Сплошная приклейка

 

Один слой рулонного материала «Поликров-АР»

Окрасочный защитный слой из мастики «Поликров-Л»

1 - основание под кровлю;

2 - приклеивающая мастика «Поликров-М»

3 - слои из рулонного материала «Поликров-АР»

4 - защитный окрасочный слой из мастики «Поликров-Л»;

5 - герметик;

6 - механическое закрепление;

7 - разделительный слой;

8 - защитный слой из цементно-песчаного раствора или асфальтобетона;

9 - тротуарные плитки и т.п.

К-2

Свободная укладка с механическим закреплением

 

1,5...3

Эксплуатируемая кровля

Сплошная приклейка

 

Два слоя рулонного материала «Поликров-АР»

Цементно-песчаный раствор, тротуарные плитки и т.п.

Таблица 6

Конструктивные решения гидроизоляции

Среда

Схема гидроизоляции

Условные обозначения

Неагрессивная

 

1 - подготовка из бетона;

2 - цементная стяжка Ml00;

3 - грунтовка;

4 - оклеечная гидроизоляция из «Поликрова-АР»;

5 - защитная стяжка из цементного раствора М100;

6 - изолируемая конструкция;

7 - затирка цементным раствором М 100 - 10 мм;

8 - защитная стенка (кирпич 75 на растворе М 50 толщиной ~300 мм или а.ц. листы - 8 мм);

9 - уплотненный асфальтобетон;

10 - щебеночная подготовка

агрессивная

 

Таблица 7

Конструкции гидроизоляционного ковра

Гидростатический напор, м

Минимальное количество изоляционных слоев

Толщина гидроизоляции, мм

2

Один слой материала «Поликров-АР»

1,2...1,8

5...10

Два слоя материала «Поликров-АР»

2,4..3,6

20

Три слоя материала «Поликров-АР»

3,6...5,4

Таблица 8

Область применения оклеечной Гидроизоляции из материала «Поликров-АР»

Изолируемые помещения здания, сооружения, конструкции и их элементы

Категории трещиностойкости изолируемой конструкции (см. серию 1.010-1)

1

2

3

1. Подвалы здания, заглубленные и полузаглубленные помещения, возводимые открытым способом

 

 

 

стены

+

+

+

подошва

+

+

+

перекрытия

+

+

+

2. Транспортные сооружения

+

+

+

3. Опускные колодцы:

 

 

 

стены

-

-

-

днища

+

+

+

4. Емкостные сооружения (бассейны, резервуары, лотки, отстойники и т.д.)

 

 

 

стены

+

+

+

днища

+

+

+

перекрытия

+

+

+

3.1. Подготовка основания под изоляционные слои

3.1.1. Все поверхности оснований из железобетона, бетона и штукатурка из цементно-песчаного раствора должны быть огрунтованы праймером. Расход праймера до 600 г на 1 кв. м изолируемой поверхности, ее сушат в течение 6 ч.

3.1.2. В стяжках на покрытиях зданий выполняют температурно-усадочные швы шириной 5-10 мм, разделяющие стяжку из цементно-песочного раствора на участки не более 6´6 м, а из песчаного асфальтобетона - не более 4´4 м с одной стороны шва.

3.1.3. При устройстве кровли по существующему ковру в случае нарушения пароизоляции, повышенной влажности теплоизоляции применяется, при специальном обосновании, система вентиляционных патрубков: на каждые 50...100 кв. м кровли устанавливается металлическая (пластмассовая) трубка, снизу заглубленная в слой теплоизоляции и защищенная сверху от атмосферных осадков (рис. 9).

3.1.4. Теплоизоляционные работы совмещают с работами по устройству пароизоляционного слоя (если он требуется по проекту), выполняя их на себя. Это повышает сохранность теплоизоляции при транспортировке материалов.

3.1.5. Теплоизоляционные плиты должны плотно прилегать друг к другу. Если ширина швов между плитами превышает 5 мм, то их заполняют теплоизоляционным материалом.

3.1.6. Замоченная во время монтажа теплоизоляция должна быть удалена и заменена сухой.

3.1.7. Перед устройством водоизоляционного ковра основание должно быть сухим, обеспыленным, на нем не допускаются уступы, борозды и другие неровности.

Требования к ровности основания приведены в табл. 4.

3.2. Устройство изоляционных слоев.

3.2.1. Устройство кровельного ковра в пределах рабочих захваток начинают с пониженных участков: карнизных свесов и участков расположения водосточных воронок (ендов).

Рекомендуется предварительное выдерживание полотнищ материала в раскатанном виде в течение 1,5-2 ч.

Все необходимые материалы подают навстречу потоку кровельных работ.

3.2.2. Водоизоляционный ковер из полимерной композиции «Поликров» может быть выполнен двумя способами:

- методом наклейки;

- методом свободной укладки с механическим креплением.

3.2.3. Устройство водоизоляционного ковра методом наклейки выполняют в следующей последовательности:

клеевую мастику «Поликров-М» наносят кистью на обе соприкасающиеся поверхности (основание под кровлю и «Поликров-АР») с суммарным расходом мастики 800...1500 г на кв. м, а при температуре воздуха ниже 5 °С с расходом 1000...1500 г. Сначала мастику наносят на площади около 3 кв. м, выдерживают «до отлипа» в течение 3-7 мин, затем эту часть рулона плотно прижимают к основанию и приклеивают, не допуская образования воздушных пузырей под полотном. Далее по той же технологии приклеивают оставшуюся часть площади рулона.

В местах продольной и поперечной нахлестки (на ширину не менее 60 мм) клеевую мастику также наносят на обе приклеиваемые поверхности «Поликрова-АР» и соединяют между собой после выдерживания «до отлипа».

3.2.4. Устройство водоизоляционного ковра методом свободной укладки с механическим креплением осуществляют в следующей последовательности:

раскатывают несколько рулонов «Поликрова-АР» с нахлесткой 5 мм;

одно крайнее полотнище перегибают по длинной стороне пополам без морщин;

на предварительно огрунтованную поверхность основания и отогнутую часть полотнища «Поликров-АР» наносят слой мастики (места нахлесток смежных полотнищ клеем не смазывают) и выдерживают «до отлипа»;

разворачивают смазанную клеем половину полотнища без образования морщин на основание с нанесенной мастикой и прижимают;

кромку второй половины этого полотнища закрепляют по длине с шагом 200-250 мм к основанию дюбелями или кровельными гвоздями (при гвоздимости основания) рис. 7.

промазывают на ширину нахлестки в 50 мм механически закрепленную к основанию кромку этого полотнища и отогнутую на 50 мм кромку смежного полотнища и выдерживают «до отлипа».

Накладывают кромки смежных полотнищ и прикатывают катком с мягкой обкладкой, а свободную кромку смежного полотнища механически закрепляют к основанию, как указано выше и далее операции повторяются.

3.2.5. В местах перепадов высот кровель, примыканий ковра к парапетам, стенам, бортам фонарей, в местах пропуска труб, у водосточных воронок и т.п. слой основного водоизоляционного ковра усиливают дополнительным слоем из полотнищ «Поликров-АР» и армированной стеклоткани. При этом приклеивающую мастику «Поликров-М140» наносят на основание и на полотно «Поликров-АР».

С учетом нахлесток, отходов края, расход «Поликров-АР» на 1 кв. м готовой кровли составляет от 1,1 до 1,2 кв. м материала. Расход материала на дополнительные слои, например, на примыкания, учитывается отдельно по фактической площади.

3.2.6. Ежедневно, по окончании рабочей смены, в местах нахлестки рулонного материала «Поликров» на площади кровли, выполненной в течение данной рабочей смены, кистью наносится мастика «Поликров-М» или «Поликров-Л» в один слой на расстоянии 100 мм в поперечном направлении от шва.

3.2.7. При дополнительном армировании стеклотканью на «Поликров-АР» вручную наносится состав «Поликров-Л» в один слой. На основание на расстояние, равное выносу стеклоткани от края «Поликров-АР», плюс 5...150 мм. Затем стеклоткань плотно прижимают к поверхности, покрытой «Поликров-Л» и приклеивают.

3.2.8. Защитную окраску из «Поликрова-Л» наносят на поверхность ровными слоями за 2 раза (при специальном обосновании и более) валиком или кистями, либо с помощью агрегата безвоздушного напыления. При механизированном нанесении вязкость состава должна составлять не более 100 °С, при ручном - 200-300 °С.

Необходимая вязкость достигается добавлением растворителя как перед введением пигмента, так и непосредственно при выполнении работ.

Расход защитного состава на каждый слой должен составлять 500...800 г на кв. м кровли в зависимости от вязкости мастики «Поликров-Л» и марки стеклоткани. Каждый следующий слой наносится после высыхания предыдущего: не ранее, чем через 6 ч при 18-23 °С. При низких значениях температур срок высыхания увеличивается до 24 часов.

3.2.9. Верхний слой наливного защитного покрытия выполняют из пигментированных модификаций мастики «Поликров-Л», например, «Поликров-Л280». Нижние слои выполняются из любых модификаций мастики Поликров-Л.

3.2.10. Слой основного водоизоляционного ковра из «Поликрова-АР» у мест примыканий к выступающим над кровлей конструкциям должен подниматься на наклонные переходные бортики на высоту 100 мм (рис. 1, 6, 9).

3.2.11. В местах примыкания кровли к парапетам высотой до 450 мм слои дополнительного ковра заводят на верхнюю грань парапета, затем примыкание обделывают оцинкованной кровельной сталью (рис. 1а), которую закрепляют при помощи костылей. При пониженном расположении парапетных стеновых панелей (при высоте парапета не более 200 мм) переходный наклонный бортик устраивают из бетона до верха панелей.

3.2.12. При устройстве кровли с повышенным расположением верхней части парапетных панелей (более 450 мм) защитный фартук с кровельным ковром закрепляют пристрелкой дюбелями, а отделку верхней части парапета выполняют из кровельной стали, закрепленной костылями (рис. ) или из парапетных плиток, швы между которыми герметизируют.

3.2.13. Конек кровли (при уклоне 3 % м более) усиливают на ширину 150...500 мм с каждой стороны, а ендову - на ширину 250...5000 мм (от линии перегиба) слоем «Поликрова-АР» и стеклоткани (рис. 3), приклеиваемого к основанию под кровлю по продольным кромкам. И также усиливают ковер в лотковой панели (рис. 2).

3.2.14. Карнизные участки кровли при наружном водостоке усиливают слоем «Поликров-АР» и стеклоткани шириной до 1000 мм.

3.2.15. В местах пропуска через покрытие воронки внутреннего водостока слой кровли должен заходить на водоприемную чашу, которую крепят к плитам покрытия хомутом с уплотнителем из резины (рис. 8).

3.2.16. Места пропуска через кровлю труб, установку вытяжных патрубков выполняют с применением стальных труб с фланцами и герметизацией кровли в этом месте (рис. 6). Места пропуска анкеров также усиливают герметизирующей мастикой. Для этого устанавливают рамку из уголков (которая ограничивает растекание мастики, а пространство между рамкой и патрубком или анкером заполняют мастикой (рис. 4).

3.2.17. В деформационном шве с металлическим компенсатором перед устройством кровельного ковра на компенсатор наклеивают сжимаемый утеплитель из минеральной ваты и на него укладывают выкружку из оцинкованной кровельной стали, кромки которой опираются на бетонные бортики, затем на выкружку насухо укладывают стеклоткань и слой «Поликров-АР».

3.2.18. При выполнении гидроизоляционных слоев на вертикальных и наклонных (более 25 %) поверхностях применяют полотнища рулонного материала длиной 1,5-2 м. При значительной высоте изолируемой поверхности наклейку рулонного материала производят ярусами, начиная с нижнего.

Для закрепления гидроизоляционных слоев на каждом ярусе предусматривают установку деревянных антисептических реек по высоте через каждые 1,5-2 м, т.е. по высоте рабочих захваток.

3.2.19. В местах перехода гидроизоляционных слоев с горизонтальной поверхности на вертикальную изоляционные слои на горизонтальной (наклонной) поверхности заводят на наклонные бортики и перекрывают изоляционными слоями на вертикальной поверхности (рис. 10).

3.2.20. В стенах подвала гидроизоляционные слои устраивают, как правило, начиная от нижней горизонтальной гидроизоляции в стенах, до такой же верхней горизонтальной гидроизоляции, с которыми должны сопрягаться гидроизоляционные вертикальные слои стены. Аналогично защищают фундаменты под оборудование (рис. 11, 12).

3.2.21. Деформационные швы в конструкциях при отсутствии гидростатического напора перекрывают слоями гидроизоляции, одной или двумя прокладками из тонколистового металла и усиливают дополнительными слоями гидроизоляции, а при гидростатическом напоре и значительных деформациях в конструкции шва предусматривают металлический компенсатор (рис. 13, 14).

3.2.22. В местах примыкания гидроизоляции к трубам, анкерам и т.п. предусматривают защемление слоев гидроизоляции при помощи анкерных болтов и металлических накладок (рис. 15).

4. КОНТРОЛЬ КАЧЕСТВА И ПРИЕМКА РАБОТ

4.1. При приемке кровли должен осуществляться поэтапный приемочный контроль качества устройства пароизоляции, основания, водоизоляционного и защитных слоев с записью в журнал работ и составлением актов на скрытые работы.

4.2. На каждом этапе приемки должен выполняться входной контроль качества используемых материалов на соответствие требованиям ГОСТ или ТУ на эти материалы.

Результаты входного контроля используемых материалов фиксируют в протоколах испытательных лабораторий, а данные приемочного контроля отдельных слоев многослойной конструкции покрытия в журналах организации, выполняющей кровли, а также в актах на скрытые работы.

4.3. При приемке водоизоляционного слоя контролируют инструментально:

- соответствие показателей прочности, теплостойкости, деформативности и гибкости требованиям норм на рулонный материал и мастику (входной контроль по результатам лабораторных испытаний);

- уклон;

- уровень понижения поверхности в местах расположения воронок внутреннего водостока, а также выполнение конструктивных решений покрытия и кровли в соответствии с проектом;

- визуально контролируют отсутствие внешних дефектов трещин, вздутий, разрывов, пробоин, расслоений.

4.4. При приемке защитного слоя контролируют инструментально:

- марку морозостойкости бетона, вязкости и время высыхания защитных окрасочных составов (входной контроль по результатам лабораторных испытаний);

- общую толщину защитного слоя;

Визуально контролируют:

- равномерность покрытия верхнего слоя рулонного ковра защитным окрасочным составом «Поликров-Л».

В защитном слое из окрасочных составов не должно быть пор, кратеров, трещин и др. дефектов.

В монолитном защитном слое эксплуатируемых кровель предусматривают температурно-усадочные швы шириной 10 мм с шагом 1,5 м во взаимно перпендикулярных направлениях, заполняемые герметизирующими составами.

5. ТЕХНИКА БЕЗОПАСНОСТИ

5.1. Работы по устройству кровель должны выполняться спец. бригадами под техническим руководством и контролем инженерно-технических работников. К производству кровельных работ доп. рабочие, прошедшие медицинский осмотр, обученные правилам техники безопасности и методам ведения этих работ.

5.2. Для безопасного нанесения необходимо обеспечить максимальную механизацию всех технологических операций и надлежащую герметизацию и заземление оборудования и коммуникаций, а также исправность электропусковой и контрольно-измерительной аппаратуры.

5.3. Емкости с растворителями и мастикой холодного отверждения должны подноситься к рабочему месту в специальной герметично закрытой таре в количестве, не превышающем однодневного запаса.

5.4. В помещениях для хранения и местах применения растворителей и мастик запрещается обращаться с открытым огнем и производить работы с искрообразованием.

В случае загорания материалов следует применять кислотный огнетушитель, асбестовое полотно, кошму, песок. Категорически запрещается тушить пламя водой.

Все участки хранения, приготовления и применения материалов должны быть обеспечены необходимыми средствами огнетушения.

Пожарный инвентарь и приспособления должны быть окрашены в ярко-красный цвет и содержаться в исправности.

5.5. Во время пожаротушения следует соблюдать особые меры предосторожности. Рабочие, принимающие участие в тушении пожара, должны пользоваться шланговыми противогазами или кислородно-изолирующими приборами.

5.6. Переливать и транспортировать растворители и мастику на растворителях следует при хорошем естественном освещении. Электрическое освещение в таких помещениях должно быть выполнено во взрывобезопасном исполнении.

5.7. Растворители и мастики должны храниться в специально оборудованных помещениях в соответствии со СНиП III-А-11-70. Каждая емкость должна иметь бирку с наименованием содержимого. Порожнюю тару из-под растворителей и мастик следует складировать в закрытых помещениях.

Запрещается ремонтировать (производить сварку, пайку и другие работы) металлическую тару из под горючих жидкостей до ее промывки водой.

5.8. Помещения, связанные с подготовкой мастик, их разбавлением растворителями и нанесением защитных покрытий должны быть изолированы от смежных помещений и оборудованы приточно-вытяжной вентиляцией во взрывобезопасном исполнении.

5.9. Содержание вредных веществ в рабочей зоне не должно превышать предельно допустимых концентраций.

6.0. Контроль за содержанием вредных веществ в рабочей зоне должен проводиться производственными лабораториями в объеме, согласованном с территориальными органами Государственного санитарного надзора.

6.1. С целью охраны атмосферного воздуха от загрязнения выбросами паров растворителей должен быть организован постоянный контроль за соблюдением предельно допустимых выбросов (ПДВ), утвержденных в установленном порядке.

6.2. Для курения должны быть отведены специальные места, оборудованные емкостями с водой для гашения окурков и спичек. Расположение этих мест должно быть согласовано с местной пожарной охраной предприятия или организации.

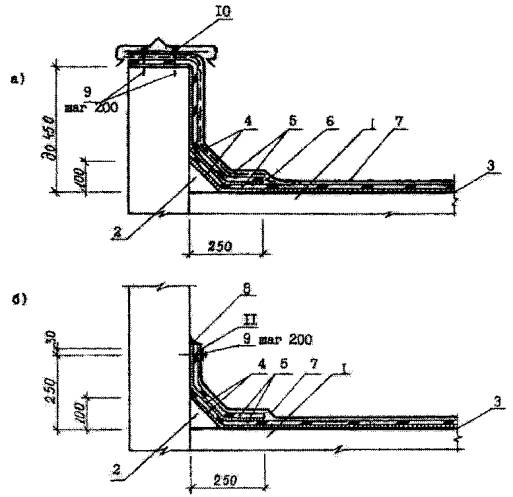
Рис. 1. Примыкание кровли к парапету высотой а) до 450 мм, б) более 450 мм.

1 - основание под кровлю; 2 - переходный бортик 100´100 мм; 3 - грунтовка; 4 - приклеивающая мастика «Поликров-М»; 5 - рулонный материал «Поликров-АР»; 7 - защитный слой из мастики «Поликров-Л»; 8 - герметизирующая мастика; 9 - дюбели; 10 и 11 - металлические фасонные элементы.

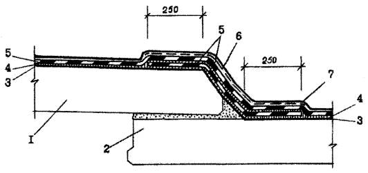
Рис. 2. Примыкание кровли в лотковой панели.

1 - кровельная панель; 2 - лотковая кровельная панель; 3 - грунтовка; 4 - приклеивающая мастика «Поликров-М»; 5 - рулонный материал «Поликров-АР»; 6 - армирующая стеклоткань; 7 - защитный слой из мастики «Поликров-Л».

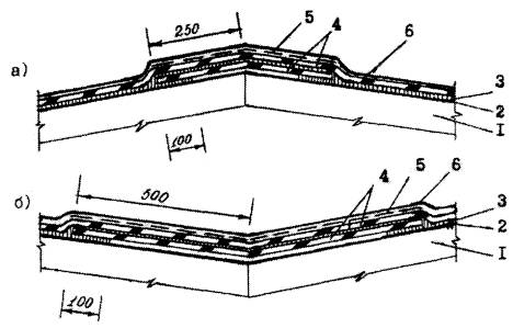
Рис. 3. Конёк (а) и ендова (б) кровли.

1 - основание под кровлю; 2 - грунтовка; 3 - приклеивающая мастика «Поликров-М»; 4 - рулонный материал «Поликров-АР»; 5 - армирующая стеклоткань; 6 - защитный слой из мастики «Поликров-Л».

Рис. 4. Пропуск анкера через кровлю.

Рис. 5. Механическое крепление ковра к основанию при уклоне свыше 25 %.

1 - основание под кровлю; 2 - грунтовка; 3 - приклеивающая мастика «Поликров-М»; 4 - рулонный материал «Поликров-АР»; 5 - защитный слой из мастики «Поликров-Л»; 6 - рамка из уголка; 7 - герметизирующая мастика; 8 - анкер; 9 - выравнивающая стяжка; 10 - антисептированная деревянная рейка (сечение не менее 40´50 мм) через 3 метра; 11 - гвозди.

Рис. 6. Пропуск трубы (вентшахты и т.п.) через покрытие.

1 - основание под кровлю; 2 - переходный бортик 100´100 мм; 3 - грунтовка; 4 - приклеивающая мастика «Поликров-М»; 5 - рулонный материал «Поликров-АР»; 6 - армирующая стеклоткань; 7 - защитный слой из мастики «Поликров-Л»; 8 - герметизирующая мастика; 9 - зонт из оцинкованной стали; 10 - обжимное кольцо из металлической полосы 3´40; 11 - пропускаемая труба; 12 - жгут стеклянный; 13 - стекловата; 14 - патрубок.

Рис. 7. Механическое закрепление ковра с проклейкой шва.

1 - основание под кровлю; 2 - слой рулонного материала «Поликров-АР», уложенный насухо; 3 - приклеивающая мастика «Поликров-М»; 4 - защитный окрасочный слой из мастики «Поликров-Л»; 5 - герметик; 6 - крепежный элемент.

Рис. 8. Воронка внутреннего водостока.

1 - основание под кровлю; 2 - грунтовка; 3 - армирующая стеклоткань; 4 - рулонный материал «Поликров-АР»; 5 - приклеивающая мастика «Поликров-М»; 6 - защитный слой из мастики «Поликров-Л»; 7 - фланец патрубка водоприемной воронки; 8 - прижимной фланец; 9 - место установки болта с гайкой; 10 - колпак водоприемной воронки.

Рис. 9. Устройство вытяжных патрубков.

1 - основание под кровлю; 2 - существующие слои кровли; 3 - выравнивающая стяжка; 4 - грунтовка; 5 - приклеивающая мастика «Поликров-М»; 6 - рулонный материал «Поликров-АР»; 7 - армирующая стеклоткань; 8 - защитный слой из мастики «Поликров-Л»; 9 - обжимное кольцо из металлической полосы 3´40; 10 - вытяжное устройство; 11 - гравий (щебень) из теплоизоляционного материала.

Рис. 10. Сопряжение гидроизоляции горизонтальной (наклонной) и вертикальной поверхностей.

1 - бетонная подготовка; 2 - гидроизоляция горизонтальной поверхности; 3 - цементно-песчаная стяжка (штукатурка); 4 - железобетонная конструкция; 5 - оцинкованная сталь или стальная сетка (ячейки 5´5 мм); 6 - бетонная подготовка; 7 - гидроизоляция вертикальной поверхности; 8 - наклонный бортик.

Рис. 11. Гидроизоляция подвала из полимерного рулонного материала.

1 - фундамент; 2 - горизонтальная гидроизоляция пола и стен подвала; 3 - вертикальная гидроизоляция стен подвала; 4 - осадочный (деформационный) шов у наружных стен подвала; 5 - пол подвала; 6 - перекрытие подвала; 7 - стык гидроизоляции.

Рис. 12. Гидроизоляция из полимерного рулонного материала фундамента под оборудование.

1 - фундамент; 2 - пол; 3 - железобетонное основание; 4 - осадочный (деформационный) шов; 5 - гидроизоляция.

Рис. 13. Устройство гидроизоляции из полимерного рулонного материала на деформационном шве при отсутствии гидростатического напора. а) с одним; б) с двумя металлическими листами.

1 - гидроизоляция; 2 - защитный слой; 3 - дополнительные слои гидроизоляции; 4 - металлические листы; 5 - герметизирующая мастика; 6 - несущая конструкция.

Рис. 14. Устройство гидроизоляции из полимерного рулонного материала на деформационном шве при гидростатическом напоре.

1 - гидроизоляция; 2 - дополнительные слои гидроизоляции; 3 - защитный слой (стенка); 4 - металлический компенсатор; 5 - анкерные болты; 6 - несущая конструкция; 7 - металлическая накладка; 8 - герметизирующая мастика.

Рис. 15. Устройство примыкания из полимерного рулонного материала к анкеру.

1 - гидроизоляция; 2 - несущая конструкция; 3 - анкер; 4 - дополнительная гидроизоляция; 5 - металлическая накладка; 6 - анкерные болты.

УТВЕРЖДАЮ:

Зам. Генерального директора

ЦНИИПромзданий

С.М. Гликин

ТЕХНИЧЕСКОЕ ЗАКЛЮЧЕНИЕ
По результатам испытаний композиции
«ПОЛИКРОВ»

1. ХАРАКТЕРИСТИКА МАТЕРИАЛОВ И МЕТОДЫ ИСПЫТАНИЙ.

Для испытаний представлена фирмой АО «СТЭП» композиция «Поликров» марки АР-130 (ТУ 5774-002-11313564-96) и полимерной защитной мастики «Поликров-Л» (ТУ 575-001-11313564-96), изготовленной на основе хлорсульфополиэтилена, вулканизирующего агента, растворителей, наполнителей и красящих пигментов.

Подготовку и испытания образцов проводили в соответствии с требованиями ГОСТ 2678-94 «Материалы рулонные кровельные и гидроизоляционные. Методы испытаний», ГОСТ 18956-73 «Материалы рулонные кровельные. Методы испытания на старение под воздействием искусственных климатических факторов», ГОСТ 26589-94 «Мастики кровельные и гидроизоляционные. Методы испытаний», ГОСТ 9.030-74* «Резины. Методы испытаний на стойкость в ненапряженном состоянии к воздействию жидких агрессивных сред», ТУ на материалы и методик, разработанных в ЦНИИпромзданий.

Проведены испытания, необходимые для оценки свойств композиции «Поликров» в процессе ее эксплуатации в кровле и гидроизоляции. К таким испытаниям относятся: длительное водопоглощение, термостарение, воздействие отрицательных температур, циклические воздействия тепла, воды и мороза, воздействие щелочных и кислотных растворов.

Испытания на длительное водопоглощение были проведены в связи с тем, что на кровлях возможно образование микрорельефа, приводящего к появлению «застойных» участков небольшой площади, которые длительное время могут находиться под слоем воды.

ВЫВОДЫ И ПРЕДЛОЖЕНИЯ

Результаты проведенных испытаний композиции «Поликров» показали низкое водопоглощение (при длительном пребывании в воде = 1,9 %), высокую теплостойкость (100 °С) и гибкость при отрицательной температуре (минус 50 °С), устойчивость к агрессивным жидким средам (10 % растворам кислоты и щелочи), а также стойкость к атмосферным воздействиям (тепла, воды, мороза), что позволяет материалу обеспечить потенциальный срок службы (по изменению показателя деформативности) не менее 25 лет.

Композиция «Поликров» может быть рекомендована для применения в кровлях зданий и сооружений различного назначения, как в новом строительстве, так и при ремонте кровельного ковра, в том числе для северных районов России, а также для устройства гидроизоляции частей зданий и сооружений.

Зав. отделом покрытий и кровель                                                      A.M. Воронин

Ст. научный сотрудник                                                                        Г.Н. Андреева

Ведущий инженер                                                                                Л.И. Митренко




Яндекс цитирования



   Copyright © 2007-2026,  www.tehlit.ru.

[ ѓосты, стандарты, нормативы, инструкции, правила, строительные нормы ]