//
ТехЛит.ру
- крупнейшая бесплатная электронная интернет библиотека для "технически умных" людей.
WWW.TEHLIT.RU - ТЕХНИЧЕСКАЯ ЛИТЕРАТУРА

:: Алготрейдинг::


АЛГОТРЕЙДИНГ
шаг за шагом
с нуля по урокам!

Торговые роботы на PYTHON, BackTrader,
Pandas, Pine Script для TradingView. Связка с брокерами, телеграм и легкими приложениями.


Корпорация «Трансстрой»

СТАНДАРТ ПРЕДПРИЯТИЯ

ЗАВОДСКОЕ ИЗГОТОВЛЕНИЕ
СТАЛЬНЫХ КОНСТРУКЦИЙ
МОСТОВ

СТП 012-2000

Москва 2001 г.

ПРЕДИСЛОВИЕ

1. РАЗРАБОТАН Корпорацией «Трансстрой», Научно-технической ассоциацией ученых и специалистов транспортного строительства, Научно-исследовательским центром «Мосты» ОАО ЦНИИС (инж. А.В. Кручинкин, кандидаты техн. наук А.С. Платонов и В.Г. Гребенчук) с участием Научно-исследовательского института мостов Петербургского государственного университета путей сообщения (доктор техн. наук А.К. Гурвич, кандидат техн. наук B.C. Агеев) и Института «Гипростроймост» (кандидат техн. наук Г.А. Мамлин). При разработке СТП учтены материалы исследований в области изготовления стальных конструкций мостов, выполненных К.П. Большаковым, В.Ю. Шишкиным, Б.М. Передереевым, В.И. Звирем, Э.М. Гитманом, В.М. Душницким.

2. ВНЕСЕН Научно-техническим управлением Корпорации «Трансстрой».

3. ПРИНЯТ и ВВЕДЕН в действие Корпорацией «Трансстрой» распоряжением от 18.01.2001 г. № ПН-07.

4. СОГЛАСОВАН УС «Мостострой» (№ ТО 21-4-10/1 от 04.09.2000), УП «Транспроект» (№ 12-01-05/765 от 19.09.2000) Корпорации «Трансстрой», АО «Мостостройиндустрия» (№ 5052-116 от 29.08.2000), Департаментом пути и сооружений Министерства путей сообщения Российской Федерации (№ ЦПИ-8/23 от 03.10.2000).

5. ОДОБРЕН Секцией сварки и родственных процессов Научно-технического совета Госстроя России.

СОДЕРЖАНИЕ

1. Область применения. 2

2. Нормативные ссылки. 2

3. Общие указания. 3

4. Конструктивные особенности стальных мостов. 4

5. Изготовление деталей и монтажных элементов. 11

Правка, очистка и консервация металлопроката. 11

Разметка, резка, штамповка стали. 13

Строгание, фрезерование, обработка кромок. 15

Образование отверстий. 17

Правка и гибка деталей. 18

Приемка деталей и монтажных элементов. 18

6. Сборка отправочных марок и подготовка заводских соединений под сварку. 20

7. Требования к сварочным материалам и оборудованию.. 24

8. Технология заводской сварки мостовых конструкций. 28

Способы сварки. 28

Технология и режимы автоматической, полуавтоматической и ручной сварки. 28

9. Требования к качеству сварки и сварных соединений. Контроль качества. 40

Входной контроль. 40

Пооперационный контроль. 43

Приемочный контроль. 43

10. Исправление дефектов сварки и правка конструкций. 46

Исправление дефектных участков сварных швов. 46

Правка конструкций, деформированных при сборке и сварке. 47

11. Механическая обработка сварных соединений. 48

12. Приемка отправочных марок. 55

13. Контрольная заводская сборка. 58

14. Отгрузка конструкций. 60

15. Обеспечение безопасности труда. 61

Приложение А Порядок и режимы механической правки стального листа. 61

Приложение Б Ориентировочная эффективная мощность пламени для термической правки металла. 63

Приложение В Рекомендуемые режимы дробеметной очистки стального проката на поточных линиях. 63

Приложение Г Режимы резания фрезерно-отрезными станками сталей с временным сопротивлением 520...600 МПа. 63

Приложение Д Рекомендуемые режимы машинной кислородной резки низколегированной стали. 64

Приложение Е Рекомендуемые режимы машинной плазменно-дуговой резки малоуглеродистых и низколегированных сталей. 64

Приложение Ж Режимы строгания, фрезерования и сверления сталей. 65

Приложение И Режимы холодной гибки стали с пределом текучести 400 МПа с учетом пружинения. 68

Приложение К Типы и условные обозначения швов сварных соединений. 69

Приложение Л Таблица перевода твердости металла. 71

Приложение М Средства измерений и контроля. 71

Приложение Н Методы и объемы испытаний сварных соединений. Организация неразрушающего контроля качества сварки. 79

Приложение О Форма сертификата на стальные конструкции. 89

Приложение П Припуски при разметке деталей. 90

СТАНДАРТ ПРЕДПРИЯТИЯ

Заводское изготовление
стальных конструкций мостов

Вводится впервые

Утвержден и введен в действие распоряжением Корпорации «Трансстрой» от 18.01.2001 № ПН-07

Дата введения 01.03.2001 г.

1. ОБЛАСТЬ ПРИМЕНЕНИЯ

Настоящий стандарт необходимо соблюдать при проектировании, изготовлении и приемке стальных конструкций железнодорожных, автодорожных, городских, совмещенных и пешеходных мостов (включая путепроводы, виадуки, эстакады), предназначенных для эксплуатации в любых климатических условиях, а также в районах с расчетной сейсмичностью до 9 баллов включительно.

Нормы распространяются на изготовление и приемку стальных конструкций:

пролетных строений, опор и пилонов постоянных, временных и краткосрочных мостов;

элементов реконструкции и усиления существующих мостов;

несущих конструкций разводных пролетов мостов;

мостостроительного инвентаря и специальных вспомогательных сооружений и устройств для возведения мостов (кроме плавучих средств);

несущих конструкций консольных кранов для монтажа пролетных строений.

Нормы не распространяются на изготовление:

опорных частей, катков, шарниров, механизмов разводных пролетов и других элементов мостов машиностроительного профиля;

конструкций стальных гофрированных водопропускных труб;

канатов, пучков, гибких подвесок и вант висячих и вантовых мостов;

закладных деталей для железобетонных мостов.

При изготовлении и приемке

гибких элементов висячих и вантовых мостов;

мостов специального назначения, включая временные и краткосрочные;

мостовых конструкций из сталей с пределом текучести 450 МПа и выше,

а также сталей, применяемых в опытном порядке, необходимо руководствоваться специальными техническими указаниями. В таких указаниях допускаются ссылки на пункты данного СТП, общие для любых конструкций.

Стандарт распространяется на конструкции из низколегированных сталей для мостостроения марок 15ХСНД и 10ХСНД ГОСТ 6713-91 с требованиями к ним по СНиП 2.05.03-84*, 15ХСНДА и 10ХСНДА 2-й и 3-й категорий 1-го и 2-го классов ТУ 14-1-5120-92, 09Г2С+12Х18Н10Т ГОСТ 10885-85, 14ХГНДЦ ТУ 14-1-5355-98. По согласованию со специализированными научно-исследовательскими организациями данный СТП распространяется также на сварные конструкции мостов из низколегированных сталей марок 15ХСНД, 10ХСНД, 09Г2СД (09Г2С) ГОСТ 19281-89 с дополнительными требованиями к ним по ГОСТ 6713-91 и СНиП 2.05.03-84*.

2. НОРМАТИВНЫЕ ССЫЛКИ

ГОСТ 10157-79. Аргон газообразный и жидкий. Технические условия.

ГОСТ 10528-76 Нивелиры

ГОСТ 10529-79 Теодолиты

ГОСТ 10-75 Нутромеры микрометрические

ГОСТ 11533-75. Автоматическая и полуавтоматическая дуговая сварка под флюсом. Соединения сварные под острыми и тупыми углами.

ГОСТ 11534-75. Ручная дуговая сварка. Соединения сварные под острыми и тупыми углами.

ГОСТ 14771-76. Дуговая сварка в защитном газе.

ГОСТ 14782-86. Контроль неразрушающий. Соединения сварные. Методы ультразвуковые.

ГОСТ 14792-80. Детали и заготовки, вырезаемые кислородной и плазменно-дуговой резкой.

ГОСТ 162-80 Штангенглубиномеры

ГОСТ 164-80 Штангенрейсмасы

ГОСТ 166-80 Штангенциркули

ГОСТ 19281-89. Прокат из стали повышенной прочности.

ГОСТ 2.312-72 Условные изображения и обозначений швов сварных соединений

ГОСТ 2246-70*. Проволока стальная сварочная.

ГОСТ 22536.0-84 Спектральный анализ химического состава металлов

ГОСТ 23518-79 Дуговая сварка в защитных газах. Соединения сварные под острыми и тупыми углами.

ГОСТ 2789-73* Параметры шероховатости поверхности

ГОСТ 2999-75 Измерение твердости по Виккерсу

ГОСТ 3242-79. Соединения сварные. Методы контроля качества.

ГОСТ 3749-77 Угольники поверочные

ГОСТ 4381-78 Микрометры

ГОСТ 5264-80*. Ручная дуговая сварка.

ГОСТ 5378-66 Угломеры с нониусом

ГОСТ 6713-91. Сталь для мостостроения.

ГОСТ 6996-66**. Сварные соединения. Методы определения механических свойств.

ГОСТ 7122-75 Методы отбора проб для химического анализа

ГОСТ 74-70 Глубиномеры микрометрические

ГОСТ 7502-89 Рулетки измерительные металлические

ГОСТ 8026-75 Линейки поверочные

ГОСТ 8050-85. Двуокись углерода газообразная и жидкая.

ГОСТ 8713-79* Сварка под флюсом.

ГОСТ 882-75 Щуры для определения величины задиров

ГОСТ 9087-01. Флюсы сварочные плавленые.

ГОСТ 9378-75 Стандартные рабочие образцы шероховатости

ГОСТ 22353-77* ... ГОСТ 22356-77* - Высокопрочные болты.

ГОСТ 30489: EN473 Определение уровня квалификации и сертификация персонала в области неразрушающего контроля. Общие принципы

ГОСТ 9466...9467 Электроды покрытые металлические для ручной дуговой сварки.

ГОСТ 9013-59 Измерение твердости по Роквеллу

ПМГ 15-96. Правила по межгосударственной стандартизации. Требования к компетентности лабораторий неразрушающего контроля и технической диагностики

ПР 32.113-98. Правила сертификации персонала по неразрушающему контролю технических объектов железнодорожного транспорта.

Сборник нормативных документов системы аттестации сварщиков и специалистов сварочного производства.

ТУ 3-3.993-77 Нивелир Н-3К МОП

ТУ 25-06-227-67 Прибор настольный для измерения твердости по Роквеллу

ТУ 14-1-5120-92. Прокат листовой высокого качества для мостостроения из низколегированной стали.

ТУ 14-1-5355-98. Прокат толстолистовой атмосферостойкий из стали марки 14ХГНДЦ для мостостроения.

СНиП II-23-81*. Стальные конструкции. Нормы проектирования.

СНиП 2.03.11-85. Защита строительных конструкций от коррозии. Нормы проектирования.

СНиП 2.05.03-84* Мосты и трубы. Нормы проектирования. Изд. 1996 г.

СНиП 3.03.01-87. Несущие и ограждающие конструкции. Правила производства и приемки работ.

СНиП 3.06.04-91. Мосты и трубы. Правила производства и приемки работ.

Стандарты ISO серии 9000 (ГОСТ Р-ISO-9000).

3. ОБЩИЕ УКАЗАНИЯ

3.1. Стальные конструкции мостов надлежит изготовлять на специализированных заводах, имеющих:

лицензию на производство указанных конструкций;

организованную приемку конструкций специализированной организацией по контролю качества изготовления и монтажа мостовых конструкций;

действующую нормативную общегосударственную и отраслевую (ведомственную) нормативную документацию на изготовление мостовых конструкций;

подготовленные кадры ИТР и рабочих;

соответствующие условия для производства мостовых конструкций - закрытые отапливаемые цехи, оборудование, оснастку, средства контроля качества конструкций, в том числе неразрушающий контроль сварных соединений ультразвуковой дефектоскопией или проникающим излучением; заводскую лабораторию по контролю качества исходных материалов и сварных соединений.

3.2. Основанием для изготовления стальных мостовых конструкций служит рабочая документация на стадии «Конструкции металлические» (КМ), разработанная специализированной проектной организацией и утвержденная заказчиком к производству работ. Заказчик представляет заводу-изготовителю три экземпляра чертежей КМ, как приложение к договору на изготовление конструкций. Завод-изготовитель осуществляет входной контроль поступившей документации.

При заказе типовых пролетных строений или повторно применяемых мостовых конструкций без каких-либо изменений, если производство их освоено на заводе, документация КМ заводу-изготовителю не предоставляется.

3.3. В документации КМ должны быть указаны марки сталей и требования к ним в соответствии с действующими нормативными документами, типы и размеры заводских и монтажных сварных швов, участки сварных швов с полным проплавлением толщины детали, угловые швы с роспусками, способы защиты от коррозии.

Документация КМ должна содержать все данные для заказа металлопроката и метизов.

3.4. При разработке документации «Конструкции металлические деталировочные» (КМД) завод-изготовитель обязан соблюдать проектно-технологические требования чертежей КМ, СНиП 2.05.03-84* и настоящего стандарта. Отступления от чертежей КМ должны быть согласованы с проектной организацией, разработавшей их. Отступления от настоящего СТП согласовываются с проектной организацией и разработчиком СТП.

В состав документации КМД, кроме деталировочных чертежей конструкций, должны входить схемы монтажно-маркировочные, общих сборок с индивидуальной заводской маркировкой стыков, листы готовых элементов, ведомости метизов и карты размещения заводских сварных стыков. Положение сварных стыков завод вправе назначать из условия рационального и экономичного раскроя металлопроката с соблюдением конструктивных требований СНиП 2.05.03-84* и разд. 4 настоящего СТП.

3.5. При изготовлении стальных мостовых конструкций должен быть обеспечен пооперационный контроль за выполнением требований рабочей конструкторско-технологической документации и настоящего СТП силами ОТК завода и независимой контролирующей организацией.

Отступления от чертежей КМД, не противоречащие чертежам КМ; отступления от карт технологического процесса, касающиеся замены профилей проката (с соответствующим пересчетом); перенос или добавление сварных стыков из условия рационального раскроя или наличия проката определенной длины и ширины; изменение способов сварки или разделки кромок в пределах требований настоящих норм должны в процессе изготовления конструкций утверждаться главным инженером завода-изготовителя через карту разрешения или внесением соответствующих изменений в заводскую конструкторско-технологическую документацию.

3.6. По окончании всего заказа или отдельных его этапов завод-изготовитель выдает заказчику соответственно сертификат качества или акт приемки стальных конструкций с подписями контролирующей организации и ОТК завода (см. Приложение О).

4. КОНСТРУКТИВНЫЕ ОСОБЕННОСТИ СТАЛЬНЫХ МОСТОВ

4.1. При проектировании любых конструкций рекомендуется применять монтажные блоки максимальной заводской готовности с минимальными объемами работ по образованию соединений на монтажной площадке.

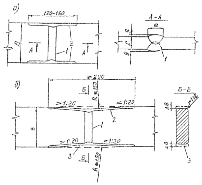
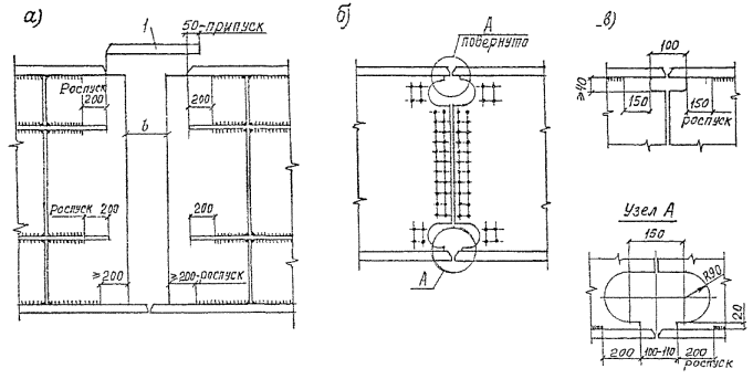
Конструкции, отгружаемые с заводов, должны иметь, как правило, полную готовность для устройства на монтаже фрикционно-болтовых, сварных и комбинированных болтосварных соединений. На рис. 1 приведены наиболее характерные схемы заводской подготовки монтажных стыков - цельносварного (а) и комбинированного болтосварного (б) сплошностенчатых конструкций.

В проекте или в нормативных документах при назначении допусков на линейные размеры и геометрическую форму отправочных марок необходимо исходить в первую очередь из обеспечения беспрепятственной и минимально трудоемкой собираемости конструкций на монтаже мостов.

4.2. При разработке чертежей КМ металлических пролетных строений со сварными и комбинированными болтосварными монтажными соединениями проектная организация с учетом технологии производства сварочных работ назначает роспуски (недовары) угловых швов для обеспечения собираемости конструкций и предотвращения трещин в швах в зонах монтажной сварки:

а) в цельносварных стыках главных балок, коробок, ребристых плит - во всех угловых швах. Длина роспуска не менее 200 мм;

б) в стыках двухлистовых пакетных поясов со вставкой - в нахлесточных швах прикрепления наружного листа к внутреннему. Длина роспуска не менее 50 мм;


Рис. 1. Схемы подготовки монтажных стыков сплошностенчатых балок при заводском изготовлении:

а - цельносварного; б - комбинированного фрикционно-сварного; в - вариант проема стенки для сварки верхнего пояса; 1 - вставка верхнего пояса


в) в главных банках - на концах верхних и нижних поясных швов у технологических проемов (отверстий). Длина роспуска 150 мм для однолистовых поясов и 250 мм для пакетных поясов с совмещенным стыком;

г) в стенках главных балок - в угловых швах прикрепления продольных ребер, стыкуемых впоследствии сваркой со вставкой. Длина роспусков 200 мм;

д) в ортотропных плитах - в угловых швах на концах стенок поперечных балок вблизи продольных стыковых швов настильных листов с поясами главных балок или плит между собой. Длина роспуска не более 100 мм;

е) в ортотропных плитах, подлежащих укрупнению в монтажные блоки не менее чем из трех (по ширине) заводских отправочных марок - в угловых швах на концах продольных ребер с двух торцов плиты (длина роспуска 100 мм); в одиночных плитах - роспуск 100 мм на концах продольных ребер с одного торца плиты (со стороны припуска листа настила).

В зоне продольного монтажного стыкового сварного соединения главной балки с ортотропной плитой рекомендуется не приваривать на заводе к поясному листу торцы вертикальных ребер с выкружками, к которым впоследствии прикрепляются стенки поперечных балок ортотропных плит. После стыковки плит с балками приварка этих торцов ребер к поясам обязательна (п. 4.133 СНиП 2.05.03-84*).

4.3. При разработке чертежей КМ проектная организация назначает припуски по 50 мм на подрезку кромок под сварные монтажные соединения:

а) в стыках верхних однолистовых поясов главных балок или вставок;

б) по продольным кромкам настильных листов средних ортотропных плит (находящихся в замкнутом контуре);

в) по торцам настильных листов средних и консольных ортотропных плит (тыловые по направлению монтажа кромки);

г) по торцам вставок сварных стыков нижних ребристых плит.

4.4. Изменение сечений элементов, соответствующее изменению усилий в них, должно быть плавным с уклонами 1:8* (рис. 2). Уширение поясных листов предусматривают, как правило, симметричным (рис. 2,а); утолщение поясных листов выполняют с одной стороны - снаружи или изнутри (со стороны стенки для конструкций, монтируемых способом продольной надвижки по элементам скольжения, рис. 2,б); утолщение стенок балочных конструкций делают симметричным, причем в зонах монтажных стыков предусматривают прямолинейный участок длиной не менее 800 мм (рис. 2,в).

* В элементах конструкций, воспринимающих усилия сжатия от эксплуатационных и монтажных нагрузок, допускаются уклоны 1:4.

Рис. 2. Изменение ширины и толщины элементов балок:

а - уширение пояса; б - утолщение поясов наружу (верх) и внутрь (низ); в - утолщение стенки сплошностенчатой балки; 1 - монтажные сварные стыки стенки

4.5. Пакетные пояса главных балок предпочтительно проектировать из двух листов разной ширины со свесами не более 120 и не менее 50 мм. Изменение ширины или толщины листов в пакете должно быть плавным с уклонами 1:8 в растянутых и 1:4 в сжатых зонах. В монтажных стыках пакетных поясов уширение узкого листа до размера широкого необязательно.

Монтажные стыки двухлистовых пакетов нижних поясов балок во всех случаях, а верхних поясов, - как правило, проектируют совмещенными в одном сечении (рис. 3,а). Торцы листов объединяют сваркой в разделку при заводском изготовлении. Усиление шва обрабатывают заподлицо с основным металлом.

Допускаются монтажные стыки верхних пакетных поясов балок вразбежку со вставкой (рис. 3,б). Длину вставки следует принимать равной 20 толщинам стыкуемого листа.

Для монтажных стыков пакетных поясов рекомендуется применение ручной многопроходной сварки и автоматической сварки по ручной подварке толщиной не менее 10 мм.

Рис. 3. Заводская подготовка стыков пакетных поясов под монтажную сварку:

а - нижнего пояса; б - верхнего пояса; 1 - монтажная вставка

4.6. Вертикальные (или поперечные) промежуточные ребра жесткости сплошностенчатых изгибаемых балок и коробок железнодорожных, автодорожных, городских и пешеходных мостов рекомендуется приваривать к стенке и поясам непрерывными угловыми швами (рис. 4,а), или проектировать их с устройством скругленных вырезов номинальными размерами 50´120 мм (рис. 4,б). Вырезы обязательны, если по технологии сборки и сварки (преимущественно коробчатых сечений) поясной шов проваривается полуавтоматом после постановки и приварки поперечных ребер.

4.7. Длину угловых швов на торцах ребер следует принимать не менее 60 мм (п. 4.147 СНиП 2.05.03-84*). Расстояние от свободной кромки растянутого пояса балки до свободной кромки ребра должно быть не менее 40 мм (см. рис. 4, а, б снизу). Для опорных ребер это расстояние можно уменьшить до 20 мм (см. рис. 5, сеч. 1-1).

В местах примыкания ребер к поясам, фасонкам и другим ребрам; пересечения продольных и поперечных ребер плит; обрыва стенок балок в монтажных соединениях; обрыва продольных ребер ортотропных плит; в технологических проемах (отверстиях) и т.д. необходима обварка угловыми швами по кромкам и торцам стыкуемых деталей по контуру.

Рис. 4. Ребра жесткости сплошностенчатых балок:

а - привариваемые к стенке и поясам непрерывными швами; б - то же со скругленными вырезами 50´120 мм в углах

4.8. Катеты угловых швов в местах приварки торцов вертикальных ребер к горизонтальным элементам балок, а также в местах пересечений продольных и поперечных ребер должны иметь отношение 1:1, если иное соотношение катетов не требуется по расчету на выносливость в сечении по границе перехода шва к основному металлу.

4.9. При назначении в чертежах КМ и КМД мест расположения поперечных стыковых швов полотнищ стенок, поясов и ортотропных плит необходимо обеспечивать следующие расстояния между этими швами и ребрами жесткости (в ортотропных плитах - поперечными балками):

для конструкций в обычном исполнении - не менее 200 мм и не менее трех толщин стыкуемых листов;

для конструкций в северном исполнении А и Б - соответственно не менее 250 мм и не менее шести толщин стыкуемых листов.

Расстояние от продольных стыковых швов полотнищ стенок, ортотропных и ребристых плит до продольных ребер, привариваемых в тавр, должно быть не менее 100 мм (см. рис. 5) при любом исполнении.

Рис. 5. Схема взаимного расположения ребер и стыковых швов сплошностенчатой балки:

1 - опорное ребро; 2 - продольное ребро; 3 - поперечное ребро

4.10. Распорки и диагонали продольных связей, распорки поперечных связей не допускается приваривать непосредственно к поясам балок пролетных строений всех назначений. Связи непосредственно к поясам можно прикреплять только на высокопрочных болтах. При невозможности такого решения в автодорожных мостах элементы связей к главным балкам допускается присоединять через фасонки, привариваемые встык к поясам (рис. 6,а) или в тавр к стенкам балок (рис. 6,б). В обоих случаях должно обеспечиваться сплошное проплавление сварных соединений и механическая обработка концов швов для получения плавных переходов к поясу или стенке радиусом не менее 60 мм (рис. 6, а, б справа).

Рис. 6. Крепление фасонок продольных связей к главным балкам:

а - к поясу; б - к стенке

4.11. При разработке чертежей КМД и изготовлении сплошностенчатых балочных и коробчатых конструкций необходимо соблюдать следующие правила:

а) в сварных полотнищах стенок балок избегать пересечений продольных и поперечных стыковых швов в крайних, наиболее напряженных зонах на высоту 0,25 hст от поясов;

б) предусматривать не более одного продольного стыкового шва;

в) поперечные стыковые швы полотнищ стенок, поясов, ортотропных и ребристых плит располагать от крайних рядов отверстий монтажных стыков и технологических отверстий на расстоянии не менее 100 мм;

г) при заводском формировании цельноперевозимых балочных и коробчатых элементов поперечные стыковые швы стенок, поясов, настильных листов и продольных ребер ортотропных и ребристых плит устраивать вразбежку с расстоянием между ними не менее 200 мм (см. рис. 5);

д) минимальная длина пристыковки в любых элементах должна быть не менее 800 мм (см. рис. 2,б).

4.12. В сварных элементах решетчатых ферм необходимо предусматривать: не более двух стыкуемых в одном поперечном сечении листов; поперечные стыки смежных листов вразбежку с расстоянием между ними не менее 200 мм; расстояние от крайнего ряда монтажных отверстий до поперечного стыка элемента не менее 100 мм. В элементах решетчатых пролетных строений следует назначать поперечных стыков в листах раскосов и поясов - не более двух; в листах подвесок, стоек и продольных балок - не более одного.

4.13. В зонах фрикционно-болтовых монтажных соединений до начала сверления отверстий продольные стыковые швы должны подвергаться механической обработке до полного снятия усиления сварных швов заподлицо с основным металлом на ширину полунакладки плюс 40 мм.

4.14. В зонах сварных монтажных соединений поясов балок с изменением их толщины снизу необходимо предусматривать горизонтальную площадку длиной не менее 70 мм для размещения подкладки, используемой для формирования сварного шва (рис. 7).

Рис. 7. Подготовка элементов нижних поясов разной толщины под монтажную сварку:

1 - медная подкладка; 2 - стальная прижимная обойма

4.15. В комбинированных фрикционно-сварных стыках главных балок монтажные сварные соединения верхних поясов из одиночных листов или двухлистовых пакетов следует проектировать, как правило, без вставки, с обеспечением проектного зазора при заводском изготовлении (см. рис. 1,б) и скругленными вырезами в стенке под верхним поясом симметрично нижним вырезам.

Для цельнометаллических пролетных строений с ортотропными плитами, верхние вырезы допускаются упрощенной формы с размерами не менее 50´50 мм, если они удовлетворяют требованиям расчета конструкции на выносливость (см. рис. 1,в).

4.16. Число стыков поясов назначается из условия рационального заводского раскроя листового металлопроката.

4.17. В составе проекта производства работ (ППР) должны быть разработаны строповочные приспособления и устройства для монтажа блоков главных балок, ортотропных и ребристых плит. По согласованию с проектной организацией - разработчиком чертежей КМ допускается сверление монтажных отверстий диаметром 25 мм в настильных листах ортотропных и ребристых плит с последующим заполнением их холостыми болтами. Отверстия должны быть указаны на чертежах КМД и просверлены на заводе.

5. ИЗГОТОВЛЕНИЕ ДЕТАЛЕЙ И МОНТАЖНЫХ ЭЛЕМЕНТОВ

Правка, очистка и консервация металлопроката

5.1. Листовой прокат, подаваемый в обработку, должен быть выправлен на листоправильной машине с числом валков не менее семи независимо от исходного состояния проката. Зазор между поверхностью выправленного листа, уложенного на ровную горизонтальную плоскость, и ребром стальной линейки длиной 1 м не должен превышать 1,5 мм для любой толщины листа.

При настройке листоправильной машины следует соблюдать пределы допустимости правки в холодном состоянии - минимально допустимый радиус кривизны r ³ 50S и максимально допустимый прогиб f £ l2/400S, где S - толщина листа, l - длина деформируемой (или деформированной в неправленом листе) части (приложение А, табл. 2).

На листоправильной машине должны быть указатели величины зазора между рядами средних валков (С) и превышения крайних нижних валков над средними (l). Рекомендуемый порядок и режимы правки листового проката приведены в приложении А.

При надлежаще подобранном режиме лист выправляется за один проход. Число проходов (при необходимости) не должно превышать шести.

На листоправильных машинах запрещается править с помощью прокладок волнистость кромок и саблевидность листа или полосы.

5.2. Волнистость универсального и полосового проката правят на листоправильных машинах, а саблевидность и винтообразность - на горизонтальных правильно-гибочных прессах. Волнистость полосовых заготовок из листа толщиной больше 40 мм допускается править на горизонтальных правильно-гибочных прессах, используя металлические прокладки на выпуклостях деформированных участков.

5.3. Для правки фасонного углового проката рекомендуется применять сортоправильные машины открытого типа с консольным расположением роликов, а также с возможностью их замены и изменения шага.

Входящий угол роликов и, соответственно, угол прижимных роликов рекомендуется принимать равным 90° 20¢. На сортоправильных машинах при использовании роликов соответствующей формы допускается правка двутавров, швеллеров, квадрата и круга.

На сортоправильных машинах допускается править общую волнистость и, частично, местные деформации вдоль оси уголка, за исключением концевых участков, равных примерно расстоянию между осями роликов по горизонтали.

Пределы допустимости правки углового проката в холодном состоянии: r ³ 90 в; f £ l2/720 в, где в - ширина полки; остальные обозначения даны в п. 5.1.

5.4. Деформации листового, фасонного и сортового проката, превышающие пределы допустимости холодной правки, или деформации, не поддающиеся правке на машинах, выправляют термическим или термомеханическим способом.

Основные правила термической и термомеханической правки:

температура нагрева металла в намеченных зонах должна быть в пределах 650...700 °С (от темно-вишнево-красного до вишнево-красного цвета каления);

интенсивность нагрева должна быть максимально возможной. Горючий газ - ацетилен или пропан-бутан, номер сопла (наконечника) не ниже 5. Для толстого листа надлежит использовать одновременно две горелки;

нагревать более двух раз одну и ту же зону не допускается;

приложение статических усилий пригрузом или домкратами при термомеханической правке в случае остывания металла ниже 600 °С не допускается;

правка при отрицательных температурах воздуха и стали не допускается;

о результатах правки можно судить только после полного естественного остывания зон нагрева до температуры 20-30 °С. Охлаждать нагретый металл водой или обдувом сжатым воздухом запрещается.

5.5 Саблевидность листа или полосы правят термическим способом с нагревом "клиньев" с выпуклой стороны элемента по схеме на рис. 8,а. Высоту клиновидных зон нагрева принимают равной 2/3 ширины листа (полосы), при этом ширина зон нагрева в основании должна быть 30...100 мм. Нагрев клина ведут от вершины к основанию. Лист толщиной более 20 мм нагревают одновременно с двух сторон. В первую очередь зоны нагрева намечают в местах наибольших деформаций. После остывания листа замеряют уменьшение выгиба и, при необходимости, намечают зоны II очереди (см. рис. 8,а).

Рис. 8. Правка деформированных листов:

а - термическая, саблевидности; б - термомеханическая, волнистости, "бахромы" по кромке, выпуклости ("хлопуна"), G - статическая нагрузка (пригруз), 1 - зоны нагрева; 2 - волнистость; 3 - "бахрома" по кромке; 4 - выпуклость ("хлопун")

5.6. Волнистость толстого листа (20 мм и более), "бахрому" по кромке и выпучивания ("хлопуны") выправляют преимущественно термомеханическим способом с приложением статических усилий и наметкой зон нагрева по схемам, приведенным на рис. 8,б. Металл во всех случаях предпочтительно нагревать с выпуклой стороны, однако при выправке "хлопуна" плоский пригруз ставят на выпуклость, а нагрев ведут снизу.

Принципы термической и термомеханической правки, изложенные в пп. 5.4 - 5.6, справедливы также для правки сортового и фасонного проката.

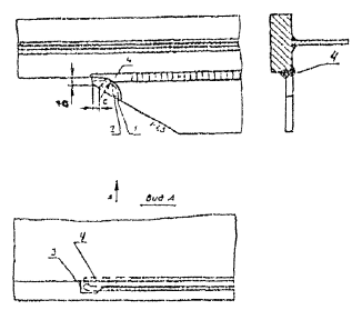
5.7. Термическую и термомеханическую правку следует поручать специально обученным и аттестованным рабочим-газоправильщикам. В процессе обучения они должны приобрести опыт визуального определения температуры нагрева стали по цвету каления и с помощью специального устройства (рис. 9). Периодически, по графику, утвержденному главным инженером завода, но не реже чем через 6 месяцев, газоправильщики должны проходить проварку приобретенного навыка определения температуры на данном приборе. Для контроля температуры нагрева металла рекомендуется использовать оптические пирометры излучения и цифровые термометры ТЦ-1000.

Рис. 9. Схема устройства для контроля температуры нагрева:

1 - горелка; 2 - притертый медный "пятачок"; 3 - стальная пластина; 4 - прибор, регистрирующий температуру; 5 - прижим; 6 - термопара, заключенная в трубку с двумя отверстиями

5.8. Данные по расходу материалов и эффективной мощности пламени горелки приведены в приложении Б. В этом же приложении есть таблица цветов каления и побежалости при нагреве и охлаждении стали.

5.9. Весь предназначенный для изготовления мостовых конструкций металлопрокат должен быть перед запуском в производство очищен от прокатной окалины и ржавчины на поточных линиях очистки и консервации.

Разрешается очищать металл переносными дробеструйными или пескоструйными установками и ручным механизированным инструментом (иглофрезами, шарошками и т.п.).

5.10. Очистку стального проката на поточных линиях выполняют колотой дробью, закаленной с низкотемпературным отпуском, марки ДСК ГОСТ 1964-81* размером 0,6...0,9 мм для углеродистых и 0,8...1,2 мм для низколегированных сталей. Допускается применение литой дроби марки ДСЛ по тому же стандарту и тех же размеров, что и колотая.

Жировые загрязнения и консервационные смазки на прокате должны быть удалены растворителями или моющими средствами перед дробеметной очисткой.

Рекомендуемые режимы очистки проката на поточных линиях приведены в приложении В.

Разметка, резка, штамповка стали

5.11. Для разметки деталей используют рулетки 1-2-го классов точности по ГОСТ 7502-89, линейки измерительные металлические со штриховыми шкалами длиной 300, 500, 1000 мм по ГОСТ 427-75, штангенциркули по ГОСТ 166-80, штангенрейсмасы по ГОСТ 164-80, угольники поверочные по ГОСТ 3749-77, угломеры с нониусом по ГОСТ 5378-66 (Приложение М).

Контроль измерительного инструмента в соответствии с требованиями соответствующих стандартов должен производиться заводской лабораторией или отделом технического контроля.

При разметке и контроле деталей длиной более 10 м рулетками Р3-20, Р3-30 и Р3-50 следует пользоваться одной и той же рулеткой, прошедшей лабораторный контроль.

5.12. Предельные отклонения при разметке не должны превышать величин, приведенных в табл. 1.

5.13. При разметке необходимо учитывать припуски на резку, механическую обработку и усадку от сварки по указаниям конструкторско-технологической заводской документации (Приложение П).

Таблица 1. Точность разметки деталей

Наименование размера

Интервал размеров, м

До 1,5

1,5 - 9

9 - 21

Предельные отклонения, ± мм, от проектных линейных размеров

Длина и ширина детали

1

1,5

2

Расстояние от кромки до разметочной риски

1

1

1

Расстояние между смежными рисками

0,5

0,5

0,5

Расстояние между крайними рисками

1

1,5

2

Смещение центров отверстий

0,5

0,5

0,5

Расстояние между центрами смежных отверстий

1

1,5

2

5.14. На размеченные детали основных несущих конструкций по указаниям чертежей КМД необходимо клеймением переносить номера плавок по сертификатам. Клеймение должно отстоять от кромок, отверстий под болты, сварных швов не менее чем на 100 мм и не должно закрываться при дальнейшем изготовлении конструкций. Места постановки плавок на деталях элементов основных несущих конструкций следует указывать в чертежах КМД.

Номера плавок необходимо переносить также на деловые отходы.

Для металлоконструкций в северном исполнении клейма металлургических заводов, если их расположение не удовлетворяет указаниям чертежей КМД, подлежат зачистке до полного удаления их следов.

5.15. Механическую резку низколегированного стального проката на ножницах допускается вести только при положительной температуре воздуха и металла. Кромки после резки на ножницах должны быть ровными, без трещин, заусенцев и завалов, превышающих 0,3 мм (см. табл. 4).

При механической резке сортового и фасонного проката на фрезерно-отрезных станках скорость резки, подачу и число оборотов дисковой фрезы следует устанавливать в зависимости от класса стали, стойкости и размера отрезного инструмента (см. Приложение Г).

5.16. Для раскроя стального листа с целью получения деталей любой формы допускается применять термическую резку:

кислородную (газокислородную) машинную и ручную;

плазменно-дуговую машинную (кислородно-плазменную и воздушно-плазменную).

При газокислородной резке толщина разрезаемого проката не ограничивается; плазменно-дуговой резкой при изготовлении мостовых конструкций допускается резать лист толщиной до 40 мм включительно.

5.17. Термическую резку стального проката надлежит вести в закрытых отапливаемых цехах при положительной температуре металла и окружающего воздуха. Рабочие, занятые на термической резке, должны быть обучены и иметь удостоверения на право выполнения соответствующих работ.

5.18. При кислородной резке в качестве газа подогревающего пламени следует применять ацетилен по ГОСТ 5457-75, пропан-бутан по ГОСТ 10196-62* или природный газ. Чистота кислорода должна быть не ниже 99,5 %, что соответствует 2-му сорту по ГОСТ 5583-78.

5.19. При машинной термической резке неперпендикулярность кромок, шероховатость поверхности реза и точность вырезаемых деталей должны соответствовать требованиям настоящих норм (см. табл. 2, 3, 6).

5.20. Наибольшие значения неперпендикулярности D (см. рис. 10) для несвободных кромок не должны превышать норм, указанных в табл. 2. Неперпендикулярность поверхности реза для свободных кромок не регламентируется.

Рис. 10. Неперпендикулярность поверхности реза:

D - величина неперпендикулярности; а - охватываемый размер заготовки, детали; в - охватывающий размер заготовки, детали

5.21. Шероховатость поверхности реза определяют высотой неровностей Rz и измеряют на базовой длине l = 8 мм по 10 точкам. Наибольшие значения шероховатости в зависимости от толщины разрезаемого металла не должны превышать норм, указанных в табл. 3.

Радиус оплавления верхних кромок не должен превышать 2 мм.

Точность вырезаемых заготовок и деталей принимают по табл. 6.

Таблица 2. Допускаемая неперпендикулярность несвободных кромок при машинной термической резке

Толщина металла, мм

Значения D, мм

Значения угла косины a, град.

при горизонтальном зазоре в соединении

при вертикальном зазоре в соединении

при горизонтальном зазоре в соединении

при вертикальном зазоре в соединении

8...12

2

1

11...9

6...4

14...30

2

1

7...4

3...2

32...40

2

1

3

1

Таблица 3. Допускаемая шероховатость поверхности реза при машинной термической резке

Класс шероховатости по ГОСТ 14792-80

Категория кромок по табл. 4 СТП

Способ резки

Значения шероховатости, Rz, мкм, при толщине разрезаемого металла, мм

8...12

14...30

32…60*

1

I

Кислородная и плазменно-дуговая

50

80

160

2

II

Кислородная

80

160

320

Плазменно-дуговая

100

200

-

3

III

Кислородная

160

320

500

Плазменно-дуговая

200

400

-

* Для плазменно-дуговой резки толщина разрезаемого металла S = 32...40 мм.

5.22. Рекомендуемые режимы машинной газокислородной, кислородно-плазменной и воздушно-плазменной резки приведены в приложениях Д и Е. Указанные режимы могут уточняться в зависимости от применяемого оборудования с учетом заводских условий производства работ.

5.23. Качество поверхности реза после машинной термической резки проверяют внешним осмотром и замерами. Неперпендикулярность реза замеряют угломером с нониусом или с помощью поверочного угольника и линейки.

Шероховатость поверхности реза контролируют визуально, сравнением с эталонными образцами, которые должны храниться в ОТК завода, а также с помощью контактных щуповых приборов (профилометров и профилографов).

5.24. Кромки деталей мостовых конструкций разделяют на три вида:

1) свободные;

2) несвободные не полностью проплавляемые при сварке;

3) несвободные полностью проплавляемые при сварке.

5.25. Отдельные выхваты на кромках после термической резки допускается устранять механической обработкой с соблюдением требований п. 11.7, при этом на свободных (не подлежащих сварке) кромках уменьшение ширины детали В не должно превышать 0,02В, но не более 8 мм с каждой стороны, или не более 12 мм с одной стороны. На несвободных не полностью проплавляемых кромках угловых и тавровых сварных соединений глубина механической обработки выхватов не должна превышать 2 мм. На кромках со сплошным проплавлением в стыковых соединениях глубина механической обработки выхватов должна быть в пределах допусков на зазоры в зависимости от способа сварки в соответствии с требованиями разд. 8 настоящего СТП, а также ГОСТ 8713-79 (сварка под флюсом), ГОСТ 14771-76 (сварка в защитных газах) и ГОСТ 5264-80 (ручная дуговая сварка).

Допускается исправлять кромки заваркой дефектных мест в соответствии с требованиями упомянутого разд. 8 с последующей механической обработкой.

Строгание, фрезерование, обработка кромок

5.26. Строгание и фрезерование деталей мостовых конструкций следует производить для обеспечения точности геометрических размеров в пределах заданных допусков; удаления зон с измененной структурой кромок после механической или термической резки, подготовки кромок под сварку; обеспечения передачи усилий сжатия плотным касанием деталей; устранения отдельных выхватов или других дефектов резки. Строгание и фрезерование по плоскости выполняют для обеспечения: плавного перехода от одной толщины деталей к другой при дальнейшем стыковании их сваркой; плавного перехода по толщине в накладных компенсаторах; плотного касания рабочих плоскостей, передающих усилия сжатия.

5.27. В зависимости от требований к качеству кромок с учетом характера работы элементов конструкций на стадии эксплуатации кромки разделены на четыре категории (табл. 4). В чертежах КМ следует указывать элементы, работающие на растяжение, и границы зон растяжения при изгибе. Соответственно в чертежах КМД необходимо указывать категории кромок и способы их обработки согласно указаниям табл. 4 и п. 5.28 настоящего СТП.

5.28. Механическую обработку кромок после резки на ножницах или ручной газокислородной резки надлежит выполнять строганием или фрезерованием на глубину, обеспечивающую удаление дефектов поверхности, но не менее 2 мм. Поверхности кромок не должны иметь надрывов и трещин.

Шероховатость поверхности после строгания, фрезерования и обработки абразивным инструментом должна быть не грубее 3-го класса по ГОСТ 2789 при высоте неровностей по 10 точкам на базовой длине l = 8 мм в пределах от Rz40 до Rz80.

Рекомендуемые параметры резцов и фрез, режимы и приемы строгания и фрезерования кромок приведены в Приложении Ж.

5.29. Прокатные (продольные) кромки полосовой и универсальной стали, поставляемой по ГОСТ 103 и ГОСТ 82, допускается не подвергать механической обработке, если они удовлетворяют требованиям табл. 4 настоящего СТП.

5.30. Скругленные вырезы по торцам продольных ребер в растянутых зонах балок (рис. 11,а) следует выполнять со сверлением у вершины входящего угла отверстия диаметром не менее 25 мм. Допускается штамповка вырезов с последующей механической обработкой. При машинной газокислородной или плазменно-дуговой резке обработка кромок выреза не требуется, если качество реза удовлетворяет требованиям категории I по табл. 4.

Кромки скругленных вырезов для остальных элементов и деталей, образованные штамповкой или машинной термической резкой без сверления отверстий, допускается не подвергать механической обработке, если они не имеют неровностей вдоль кромок, трещин, заусенцев и завалов более 0,3 мм (рис. 11,б).

Таблица 4. Категории и типы кромок. Требования к качеству

Категория кромок

Типы кромок, входящих в данную категорию

Требования к обработке и качеству кромок:

после термической резки вручную

после резки на ножницах и штамповки

после машинной газокислородной и кислородно-плазменной резки

после машинной воздушно-плазменной резки

I

Свободные кромки: продольные и косых концевых резов деталей, работающих на растяжение, растянутые у изгибаемых элементов, в том числе у продольных ребер жесткости в растянутой зоне балок

Механическая обработка по требованиям п. 5.28 настоящего СТП

Допускаются без механической обработки при обеспечении точности деталей по табл. 6 и шероховатости поверхности реза 1-го класса для конструкций северного исполнения и 2-го класса - обычного исполнения по табл. 3 настоящего СТП

II

Свободные кромки монтажных элементов (фасонок, стыковых накладок, рыбок, соединительных планок)

То же

Допускаются без механической обработки при обеспечении точности по табл. 6 и шероховатости поверхности реза 2-го класса по табл. 3 настоящего СТП

III

1. Свободные кромки: продольные и косых концевых резов деталей, работающих на сжатие; сжатые у деталей изгибаемых элементов, в том числе у продольных ребер в сжатых зонах балок

То же

Допускаются без механической обработки при обеспечении точности деталей по табл. 6 и шероховатости поверхности реза 2-го класса для конструкций северного исполнения и 3-го класса - обычного исполнения по табл. 3 настоящего СТП

 

2. Свободные кромки поперечных (вертикальных) ребер жесткости. Все кромки расчетных элементов. Торцевые кромки всех деталей, за исключением деталей, относящихся ко II категории

Механическая обработка по требованиям п. 5.28 настоящего СТП

Допускаются без механической обработки при обеспечении требуемой точности по табл. 6 и качества кромок по п. 5.15 настоящего СТП

Допускаются без механической обработки при обеспечении точности деталей по табл. 6 и шероховатости поверхности реза 3-го класса по табл. 3 настоящего СТП

IV

1. Несвободные кромки, полностью проплавляемые при сварке, в том числе подготовленные термической резкой под сварку, том числе при технологическом проплавлении

Допускаются без механической обработки при обеспечении требуемой точности деталей и проектной разделки кромок под сварку

Механическая обработка по требованиям п. 5.28 настоящего СТП

 

2. Несвободные кромки неполностью проплавляемые при сварке, в том числе поперечных (вертикальных) ребер жесткости и деформационных швов

Механическая обработка по требованиям п. 5.28 настоящего СТП

Допускаются без механической обработки при обеспечении требуемой точности деталей и проектной разделки кромок под сварку

Механическая обработка по требованиям п. 5.28 настоящего СТП

Рис. 11. Вырезы в углах деталей:

а - образованные сверлением и штамповкой, а также сверлением и машинной кислородной или плазменно-дуговой резкой; D = 2...4 мм; б - образованные штамповкой, а также машинной кислородной или плазменно-дуговой резкой

Образование отверстий

5.31. Отверстия в мостовых конструкциях с болтовыми и фрикционными соединениями образуют сверлением. Допускается расточки и термическая резка отверстий иного назначения диаметром 50 мм и более с обеспечением точности и чистоты поверхности в соответствии с табл. 3 и 5.

5.32. Детали под сверление и расточку должны устанавливаться перпендикулярно оси шпинделя. Не допускается прогиб деталей во время сверления. Сверлить отверстия следует с минимальным удалением оси шпинделя от оси колонны станка и с минимальным расстоянием от режущей части сверла до сверлильной головки.

5.33. Номинальные диаметры отверстий под высокопрочные болты фрикционных соединений и под болты нормальной точности должны быть указаны в чертежах КМ и КМД в соответствии с табл. 5.

5.34. Просверленные или рассверленные отверстия должны иметь цилиндрическую форму. Шероховатость поверхности должна соответствовать 3-му классу по ГОСТ 2789-73 (от RZ40 до RZ80). Отклонения по диаметру, овальности, глубине зенкования и косине отверстий не должны превышать допусков, приведенных в табл. 5.

Таблица 5. Требования к отверстиям болтовых и фрикционных соединений

Наименование соединений и отклонений

Номинальные диаметры отверстий и допуски, мм, под болты с резьбой

М18

М22

М24

М27

Стыки и прикрепления основных несущих элементов и связей, определяющие проектное положение конструкций с фрикционными соединениями

21

25

28

30

Прикрепления: связей, не определяющих проектного положения конструкций; стыковых накладок (рыбок) поясов продольных балок; тормозных связей и горизонтальных диафрагм проезжей части с фрикционными соединениями

23

28

30

33

Соединения на болтах нормальной точности

19

23

25

28

Отклонения диаметра отверстия

+0,5

+0,5

+0,6

+0,6

-0,2

-0,2

-0,2

-0,2

Овальность в пределах отклонения по диаметру

0,4

0,5

0,5

0,6

Косина

До 3 % толщины листа или пакета, но не более 2 мм

Отклонение заданной глубины зенкерования

±0,4

±0,4

±0,4

±0,4

Заусенцы на краях отверстий необходимо удалять.

Допускается удаление заусенцев зенкерованием не более чем на 1 мм по глубине и радиусу.

Рекомендуемые режимы сверления отверстий приведены в Приложении Ж, табл. Ж4.

5.35. Продавливание отверстий в основных несущих конструкциях мостов и в контруголках мостового железнодорожного полотна не допускается.

Допускается продавливание отверстий на полный диаметр при толщине проката до 16 мм из малоуглеродистой стали и до 12 мм из низколегированной стали в деталях следующих конструкций мостов:

барьерных ограждений;

кабельных коробов с крышками;

лестниц, сходов на опоры, смотровых ходов по связям;

охранных уголков мостового полотна и их стыковых накладок.

Диаметр продавленного отверстия не должен быть меньше толщины металла. Разность диаметров продавленного отверстия на входе и выходе пуансона не должна превышать 0,7 мм. Кромки продавленного отверстия не должны иметь неровностей, заусенцев, трещин и завалов, превышающих 0,3 мм.

Правка и гибка деталей

5.36. Детали, получившие в процессе обработки недопустимые деформации, подлежат правке. Правку выполняют теми же способами, что и листового проката, за исключением сварных полотнищ.

5.37. Полотнища с поперечными стыковыми швами допускается править на листоправильных машинах при условии, что толщина листа не превышает 40 мм, а величина усиления швов g £ 2 мм. После правки сварные швы подвергают УЗД-контролю в объеме 100 % с обязательным фиксированием результатов контроля. Рекомендуется многопроходная правка (но не более шести проходов) с постепенным уменьшением зазора между рядами валков до верхнего предела номинальной величины.

Полотнища с переломами ("домиками") в поперечных сварных стыках, превышающими 2 мм на базе 400 мм, править в холодном состоянии на вальцах не допускается. Переломы надлежит выправлять термическим или термомеханическим способом.

5.38. Полотнища с продольными стыковыми швами допускается править после снятия усиления швов с обеих сторон. Раскатка швов валками запрещается.

5.39. Холодную гибку деталей разделяют на два вида - по радиусу и в угол. Гибку металлопроката и деталей мостовых конструкций по радиусу допускается выполнять до положения, при котором величина допускаемого минимального радиуса r не превышает значений, указанных в табл. А2 Приложения А.

Величина пружинения при гибке деталей в зависимости от толщины заготовок для стали с sт = 400 МПа приведена в Приложении И. Разрешается величину пружинения определять опытным путем на первых деталях.

5.40. При гибке в угол на кромкогибочных прессах и в штампах деталей из листового проката для сталей с нормативным пределом текучести до 350 МПа внутренний радиус должен быть не менее 1,2S для конструкций, воспринимающих статические нагрузки, и 2,5S - динамические (S - толщина листа).

При гибке в угол деталей из низколегированных сталей с пределом текучести 275...350 МПа (после резки их на ножницах) кромки, пересекающие линию гиба, необходимо подвергнуть механической обработке, а углы скруглить радиусом или фаской 1...2 мм. Линию гиба рекомендуется располагать поперек прокатных волокон листа.

5.41. Гибку деталей в угол мостовых конструкций, эксплуатируемых в районах с расчетной температурой ниже минус 40 °С и до минус 65 °С включительно, а также конструкций из сталей с нормативным пределом текучести более 350 МПа разрешается выполнять только в горячем состоянии. Минимальные радиусы гибки должны отвечать нормам табл. А2 Приложения А.

5.42. Высадка деталей из термически упрочненной стали (в том числе из стали с пределом текучести не менее 400 МПа) не допускается. Гибку и правку указанных деталей в горячем состоянии ведут в диапазоне температур от 650 до 700 °С. Температуру нагрева допускается определять визуально по цвету каления (от темно-вишнево-красного до вишнево-красного). Газоправильщики должны быть обучены и иметь соответствующие удостоверения.

Приемка деталей и монтажных элементов

5.43. Приемку деталей, поступающих на сборку, осуществляет ОТК завода, а монтажных элементов, не используемых в заводской сборке (относящихся к готовой продукции), ведет ОТК, мостовая инспекция или другая независимая контролирующая организация. Приемке подлежат 100 % элементов.

5.44. Не подлежат исправлению и должны заменяться участки листов и других прокатных профилей, на которых обнаружены трещины в основном металле и/или трещины в сварном шве, переходящие или не переходящие в основной металл. Длину удаляемого участка принимают равной длине дефекта плюс запас бездефектного металла по 50 мм в каждую сторону.

5.45. Расслой на свободных кромках глубиной до 8 мм допускается удалять механической обработкой (см. разд. 11).

Ремонт участков кромок проката с расслоем глубиной более 8 мм ведут вырезкой дефектного участка по плавной кривой с запасом бездефектного проката не менее 50 мм и заменой на новый прокат с приваркой его в соответствии с требованиями раздела 8 по согласованию с контролирующей организацией, а при необходимости - с проектной организацией, разработавшей чертежи КМ и заказчиком.

5.46. Качество кромок деталей и монтажных элементов должно соответствовать требованиям пп. 5.25; 5.27...5.30 и табл. 4.

Острые свободные кромки, подлежащие грунтованию и окраске, следует притуплять округлением или фаской 2±1 мм с плавными переходами.

5.47. Предельные отклонения от проектных линейных размеров деталей, монтажных элементов и от проектного расположения отверстий не должны превышать указанных в табл. 6, если в чертежах КМ и КМД не содержатся дополнительные ограничения.

5.48. Предельные отклонения от геометрической формы деталей и монтажных элементов должны соответствовать требованиям табл. 7, если в чертежах КМ и КМД отсутствуют дополнительные ограничения.

Таблица 6. Предельные отклонения от проектных линейных размеров деталей, монтажных элементов* и отверстий после обработки

Размеры и способы выполнения операций

Интервалы размеров, м

до 1,5

1,5...2,5

2,5...4,5

4,5...9,0

9,0...15,0

15,0...21,0

Предельные отклонения, ± мм

А. Длина и ширина детали, отрезанной:

 

 

 

 

 

 

1. термической резкой вручную по наметке

2,5

3,0

3,5

4,0

4,5

5,0

2. термической резкой полуавтоматом или автоматом

1,5

2,0

2,5

3,0

3,5

4,0

3. на ножницах или пилой по наметке

1,5

2,0

2,5

3,0

3,5

4,0

4. то же, по упору

1,0

1,5

2,0

2,5

3,0

3,5

5. обработанной на кромкострогальном или фрезерном станках

1,0

1,0

1,5

2,0

2,5

3,0

Б. Разность длин диагоналей листовых деталей, подлежащих сварке встык

-

-

4,0

5,0

6,0

-

То же внахлестку

-

-

6,0

8,0

10,0

-

В. Расстояние между центрами отверстий:

 

 

 

 

 

 

образованных по наметке, крайних

2,0

2,0

2,5

3,0

3,5

4,0

то же смежных

1,5

-

-

-

-

-

по кондукторам или на станках с программным управлением, крайних

1,0

1,0

1,5

2,0

2,5

3,0

то же смежных

1,0

-

-

-

-

-

* К монтажным элементам относится готовая продукция, отправляемая на монтаж (фасонки, стыковые накладки, связи и т.д.) в отличие от деталей, поступающих на заводскую сборку и сварку отправочных марок.

Примечание: Для свободных кромок по пп. 1 - 5 допускается отклонение до +5 мм.

Таблица 7. Предельные отклонения от геометрической формы деталей и монтажных элементов* после обработки

Наименование отклонения

Значения предельного отклонения, мм

Искривление деталей

 

1. Зазор между поверхностью листа и ребром стальной линейки длиной 1 м:

в зоне монтажных отверстий

1

в остальных местах

1,5

2. Зазор при длине элемента l между натянутой струной и обушком уголка, полкой или стенкой швеллера и двутавра

0,001l, но не более 10

3. Зазор между поверхностью листа закладной детали сталежелезобетонного пролетного строения и ребром стальной линейки длиной 1 м

1,0

4. Отклонение линий кромок листовых деталей от теоретического очертания:

 

при сварке встык

1,5

при сварке внахлестку

5

5. Отклонение при гибке:

 

Просвет между шаблоном длиной 1,5 м по дуге и поверхностью вальцованного листа или обушком профиля:

согнутого в холодном состоянии

2

согнутого в горячем состоянии

3

6. Остаточные угловые деформации («домики») в стыковых сварных соединениях деталей, определяемые стрелой прогиба на базе 400 мм** при толщине S стыкуемых деталей, мм:

 

до 20 включительно

0,1S

свыше 20

2

7. Эллиптичность (разность диаметров окружностей в сечении) в габаритных листовых конструкциях - преимущественно трубчатых сваях (диаметр окружности D):

 

вне стыков

0,005D

в монтажных стыках

0,003D

* К монтажным элементам относятся детали, отгружаемые заказчику без сборки и сварки.

** В пакетных поясах сварных балок железнодорожных пролетных строений базу следует принимать равной 1000 мм.

6. СБОРКА ОТПРАВОЧНЫХ МАРОК И ПОДГОТОВКА ЗАВОДСКИХ СОЕДИНЕНИЙ ПОД СВАРКУ

6.1. Сборочная оснастка должна обеспечивать плотное прижатие деталей при сборке и сохранение заданной геометрической формы при перемещении и кантовке элементов.

Конструкции с болтовыми и фрикционными соединениями собирают на пробках и болтах с плотной стяжкой пакетов.

В сборочной оснастке должны беспрепятственно выполняться электроприхватки, а в сборо-сварочной - наложение сварных швов. При сборке-сварке элементов с несимметричными сечениями рекомендуется использовать оснастку, позволяющую жестко фиксировать обратные выгибы деталей для компенсации деформаций от сварки.

6.2. Детали, поступающие на сборку, должны быть приняты в соответствии с требованиями пп. 5.43...5.48 настоящего СТП. Если номера плавок проката, проставленные на деталях, закрываются при сборке, их переносят на наружную поверхность с постановкой рядом клейм работников ОТК.

6.3. При сборке полотнищ под стыковую автоматическую сварку под флюсом на флюсовой подушке зазоры b в стыках для проката толщиной 10...16 мм (рис. 12,а,б) из сталей по ГОСТ 6713-91 должны быть в пределах 0...3 мм; из сталей по ТУ 14-1-5120-92 - в зависимости от толщины листа S:

S, мм      10...12      14...16

b, мм      1...3           2...4

Для листа толщиной 20...50 мм с Х-образной разделкой кромок (рис. 12,в) номинальные размеры зазоров должны быть в пределах 2...4 мм независимо от марки стали.

Подлежащие сварке кромки листов должны быть прямолинейными. Уступы из плоскости соединения (депланация d) не должны превышать 0,1 толщины стыкуемых листов, но не более 2 мм (рис. 12,а).

Уступы D в плоскости соединения по торцам листов для свободных кромок, например, поясов двутавровых и коробчатых балок (кроме коробчатых элементов решетчатых ферм) без примыкания к ним ребристых и ортотропных плит не должно превышать 3 мм для поясов шириной до 400 мм и 4 мм - для поясов шириной более 400 мм (рис. 12,а).

Рис. 12. Допуски при сборке соединений под сварку:

а - стыковое; б - стыковое с неперпендикулярными кромками; в - стыковое с Х-образной разделкой кромок; г - угловое, тавровое, нахлесточное; d - депланация; D - уступ по торцам кромок; в - зазор; р - притупление; В - ширина пояса

Уступы D кромок по торцам листов в соединениях, входящих в замкнутый контур, например, поясов балок и коробок, примыкающих встык к ребристым и ортотропным плитам не должны превышать 2 мм (см. рис. 12,а).

При сборке стыковых соединений с кромками, имеющими отклонения (в пределах допусков) от перпендикуляра к плоскости листа (например, после термической резки), детали следует размещать таким образом, чтобы зазор в корне шва соответствовал номинальному значению (0...3 мм), а плоскость симметрии была вертикальна (см. рис. 12,б).

6.4. При сборке угловых, тавровых и нахлесточных соединений под автоматическую и полуавтоматическую сварку зазоры в стыках должны быть в пределах 0...2 мм независимо от толщины стыкуемых деталей (см. рис. 12,г). Уступы в зонах монтажных стыков при сборке коробчатых элементов ферм должны быть не более 1 мм.

Все неровности и местные уступы, имеющиеся на деталях и препятствующие правильной сборке конструкций, надлежит до сборки устранять повторной правкой или зачисткой абразивным инструментом. При зазорах, превышающих 2 мм, но не более 3 мм на длине до 500 мм, допускается предварительная заварка их полуавтоматом или вручную с соответствующим увеличением катета углового шва.

Переломы ("домики") в заваренных стыках плетей и полотнищ должны выправляться до сборки из них пространственных конструкций (балок, коробок и т.д.).

6.5. Торцы и плоскости деталей, передающие опорное давление, должны плотно прилегать друг к другу. Зазор между фрезерованным торцом ребра и листом пояса следует проверять щупом толщиной 0,3 мм, причем щуп не должен проходить более чем на половину толщины ребра между приторцованными поверхностями деталей.

6.6. Обушки парных уголков, лежащих в одной плоскости, но должны быть смещены один относительно другого в связях и прочих элементах более чем на 1 мм на всей их длине.

6.7. Кромки деталей под сварку обрабатывают в зависимости от принятого в чертежах КМ и КМД способа сварки в соответствии с требованиями ГОСТ 8713-79 и ГОСТ 11533-75 (сварка под флюсом), ГОСТ 14771-76 и ГОСТ 23518-79 (дуговая сварка в защитном газе), ГОСТ 5264-80 (ручная дуговая сварка).

6.8. Проплавляемые при сварке поверхности и прилегающие к ним зоны металла шириной не менее 20 мм, а также кромки листов в местах примыкания выводных планок перед сборкой-сваркой должны быть очищены от ржавчины, окалины и масляных загрязнений (рис. 13). Способ очистки определяет завод-изготовитель.

Рис. 13. Зачистка кромок и поверхности металла перед сваркой соединений:

а - стыковых; б - тавровых; в - угловых; г - нахлесточных; 1 - зоны зачистки

Во избежание образования конденсационной влаги на кромках в процессе сварки стыковых, тавровых и других типов соединений рекомендуется предварительный подогрев кромок до температуры 60...80 °С для всех толщин проката и марок стали. Для сталей с пределом текучести 400 МПа и более при толщине проката S ³ 20 мм необходим предварительный подогрев кромок соединений до температуры 100...120 °С непосредственно перед сваркой. Это требование распространяется также на прокат толщиной S ³ 20 мм из сталей 15ХСНДА и 10ХСНДА по ТУ 14-1-5120-92.

6.9. Закрепление деталей при сборке отправочных марок под сварку должно осуществляться с помощью прижимных устройств (не препятствующих последующему наложению сварных швов) или электроприхваток.

Электроприхватки в сварных соединениях должны полностью проплавляться сваркой основных швов проектного сечения.

При сборке основных несущих конструкций мостов и их транспортировке допускается приварка технологических и транспортировочных приспособлений с последующим их удалением газовой резкой. После удаления указанных приспособлений тщательно зачищают места сварки на глубину 0,5 мм абразивным инструментом. Риски от абразива должны быть направлены вдоль усилия, действующего в элементе.

Размеры прихваток должны быть:

для стыковых соединений - глубиной 3...4 мм, шириной 6...8 мм, длиной 50...80 мм;

для угловых, тавровых и нахлесточных соединений - катет длиной не более 50 % катета углового шва, но не больше 5 мм, длина 50...80 мм.

Максимальные расстояния между прихватками должны быть 300...500 мм. Крайние прихватки следует располагать сразу за выводными планками, причем длина прихватки в начале шва должна быть не менее 50 мм, а в конце - не менее 100 мм.

При необходимости более прочного закрепления собираемых деталей допускается увеличение длины и числа прихваток.

При сборке тавровых соединений (например, ребер жесткости сплошно-стенчатых балок) под сварку двухшовным автоматом прихватки следует располагать с обеих сторон ребра: крайние - одна напротив другой, промежуточные - в шахматном порядке. Крайние прихватки должны отстоять от торца ребра на 40...50 мм.

При сварке ребер одношовным автоматом или полуавтоматом прихватки ставят со стороны, противоположной первому шву.

При пересечении ребром стыкового шва полотнища (стенки балки или настильного листа плиты) прихватки длиной по 100 мм должны располагаться непосредственно на пересечении стыкового шва с обеих сторон ребра.

К металлу прихваточных швов предъявляются такие же требования, как и к металлу основных швов. Прихватки выполняются вручную: в стыковых соединениях электродами типа Э50А, в угловых, тавровых и нахлесточных соединениях - Э42А. Диаметр электродов 4 мм, ток постоянный обратной полярности. Допускается постановка прихваток полуавтоматической сваркой в защитных газах проволокой Св-08Г2С диаметром 1,2...2 мм.

Прихватки после постановки должны быть очищены от шлака, брызг и проконтролированы внешним осмотром. Не допускаются трещины, наплывы, подрезы, поры и несплавления по кромкам. Дефектные прихватки удаляют либо воздушно-дуговой строжкой, либо абразивным инструментом.

6.10. При сборке под автоматическую и полуавтоматическую сварку по концам соединений необходимо прикреплять к деталям выводные планки.

В стыковых соединениях без разделки кромок с нормальным зазором b = 0...3 мм, свариваемых двухсторонними автоматными швами, допускается применение сплошных выводных планок из листа той же толщины, что и у стыкуемых деталей (рис. 14,а). При сварке стыковых соединений с металлохимической присадкой выводные планки должны повторять конструкцию собранного стыкового соединения.

В стыковых соединениях с разделкой кромок, а также в угловых, тавровых и нахлесточных соединениях следует применять разъемные (сборные) выводные планки (рис. 14, б,в,г). Тип разделки кромок на свариваемых листах и выводных планках должен быть одинаковым.

Длину выводных планок всех перечисленных типов принимают равной 80...150 мм, ширину сплошных - 100 мм, разъемных - не менее 50 мм.

Рис. 14. Выводные планки:

а - сплошные; б, в, г - разъемные (сборные) для стыковых, тавровых и угловых соединений соответственно

Приварку выводных планок к спариваемым деталям производят по одной (верхней) плоскости. Сварка - ручная электродами типа Э42Л, Э50Л или полуавтоматическая в среде защитных газов. Допуски на точность установки планок такие же, как для свариваемых деталей.

Выводные планки должны изготавливаться из стали одной из марок, примененных в основных конструкциях. После сварки и контроля качества соединения планки срезают газом с последующей зачисткой кромок абразивным инструментом. Не допускается отбивать планки ударами кувалды или отламывать механически.

6.11. При размотке монтажных отверстий, установке ребер жесткости, фасонок продольных связей и других деталей, если после этих операций предстоит сварка, необходимо учитывать укорочение отправочной марки от усадки в продольных и поперечных сварных швах.

Припуски по длине деталей на усадку от сварки определяют расчетом либо принимают по таблицам, составленным на основе расчетов и опытно-статистических данных.*

* В.Ю. Шишкин, П.А. Храмов. Приближенный метод расчета укорочения элементов металлоконструкций при сварке. Ленинград, 1968.

6.12. Сборку и приварку перекрещивающихся между собой ребер жесткости рекомендуется вести в такой последовательности:

установка и приварка к листу ребер жесткости не прерывающихся в местах пересечения (как правило, продольных);

установка перекрестных ребер жесткости на электроприхватках;

взаимная приварка ребер жесткости в местах пересечения;

приварка к листу перекрестных ребер жест кости.

6.13. При перекантовке и транспортировании собранных, но не сваренных отправочных марок не допускается изменение их формы и остаточное деформирование. Перенос и перекантовка марок тяжелых и крупногабаритных конструкций, собранных только на прихватках, без применения приспособлений, обеспечивающих неизменяемость их формы, не допускаются.

6.14. Пооперационный контроль качества сборочных операций и окончательную приемку собранной конструкции проводит ОТК завода. Отправочные марки, собранные под сварку и не сваренные после этого в течение 24 ч, должны быть повторно предъявлены ОТК и в необходимых случаях подвергнуты дополнительной очистка от ржавчины и загрязнений. Запрещается производить зачистку собранных под сварку стыковых соединений непосредственно над флюсовой подушкой, а также при таком положении элемента, когда все загрязнения могут попадать в зазоры.

7. ТРЕБОВАНИЯ К СВАРОЧНЫМ МАТЕРИАЛАМ И ОБОРУДОВАНИЮ

7.1. Для сварных заводских соединений мостовых конструкций надлежит применять сварочные материалы, перечень которых приведен в табл. 8, а,б. Сварочные материалы следует выбирать с учетом класса прочности и марки применяемой стали, способа сварки, типа сварного соединения и исполнения конструкции (обычного или северного). Применение других сварочных материалов, в том числе зарубежных, допускается только после проверки их качества по сертификатам и проведения комплексных испытаний контрольных сварных соединений в специализированной лаборатории, занимающейся вопросами технологии сварки мостовых конструкций. Применение зарубежных материалов после их испытаний должно быть согласовано с заказчиком и проектной организацией. Кроме того, зарубежные сварочные материалы должны иметь Техническое свидетельство Госстроя Российской Федерации.1

1 См: Постановление правительства Российской Федерации от 27.12.1997 г. № 1636.

7.2. Качество сплошной холоднотянутой сварочной проволоки должно соответствовать требованиям ГОСТ 2246-70*. Поверхность проволоки перед намоткой в кассеты необходимо очищать от ржавчины, жиров, технологической смазки и других загрязнений посредством пропуска через специальные устройства. При наличии смазки проволоку перед очисткой рекомендуется прокалить в печи при температуре 150...200 °С в течение 1,5...2 ч.

Для автоматической сварки стыковых соединений и угловых швов в положении "в лодочку" рекомендуется применять сварочную проволоку диаметром 4 и 5 мм. Для автоматической сварки угловых швов в положении "в угол" и полуавтоматической сварки любых соединений рекомендуется проволока диаметром 1,6...2 мм (возможно применение проволоки и меньшего диаметра для угловых швов с катетом 4... 5 мм).


Таблица 8а. СВАРОЧНЫЕ МАТЕРИАЛЫ ДЛЯ АВТОМАТИЧЕСКОЙ СВАРКИ

Марка стали

Стыковые соединения

Тавровые, угловые и нахлесточные соединения

под флюсом на флюсовой подушке

с металлохимической присадкой (МХП)

вертикальная с принудительным формированием шва

без МХП

с применением МХП

класс прочности

Проволока

Флюс

Проволока

Флюс

Гранулят (крупка)

Химическая добавка

Проволока (санозащитн. порошковая)

Проволока

Флюс

Проволока

Флюс

Гранулят

Химическая добавка

15ХСНД 15ХСНДА 09Г2СД (09Г2С)

Св-10Г2*

АН-47*

Св-10Г2*

АН-47*

Св-08Г2С

NaF

ПП АН-19Н

Св-08ГА

OCЦ-45

Св-08ГА

АН-60

Св-08ГА (2´2)

NaF

Св-10НМА

АН-22

Св-10НМА*

смесь* АН-47 (50 %) + АН-348-А (50 %)

Св-10НМА (2´2)

ПП АН-19С

АН-348-А

АН-348-А***

ПП АН-32

АНЦ-1

АНЦ-1М***

Æ 2,4¸3 мм

345

Ca-10HMA

АН-47

Св-08А**

AK-348-AМ

Св-10Г2

АНК-561

Св-10НМА

АН-22

Св-10Г2*

АН-43*

Св-10НМА

АН-47

ОСЦ-45

AHЦ-1M

10ХСНД 10ХСНДА

Св-10НМА

АН-22

 

 

 

NaF или (NaF + TiO2)

ПП АН-19Н

Св-08ГА

АН-348-А

 

AH-60

Св-08ГА (2´2)

NaF

АН-348-А***

Св-10НМА

АН-47

Св-10НМА

АН-47

Св-10НМА (2´2)

ПП АН-19С

ОСЦ-45

АНЦ-1

АНЦ-1М***

 

ПП АН-32

390

Св-10НМА

АНК-561

Св-10НМА

АН-22

Æ 2,4¸3 мм

Св-08А**

АН-348-АМ

Св-08ГА

Св-10НМА*

АН-43*

Св-10НМА

48АНК-54

ОСЦ-45

AHЦ-1M

Св-10НМА

48АНК-54

 

* Эти материалы следует применять только для конструкций обычного исполнения.

** При катетах до 7 мм включительно.

*** При катетах 12 мм и более.

Таблица 8б. СВАРОЧНЫЕ МАТЕРИАЛЫ ДЛЯ ПОЛУАВТОМАТИЧЕСКОЙ И РУЧНОЙ ДУГОВОЙ СВАРКИ

Марка стали

Полуавтоматическая сварка под флюсом

Полуавтоматическая сварка в защитных газах: в СО2 или смеси 80 % Аr + 20 % СО2

Тип и марка электрода для ручной дуговой сварки

класс прочности

Стыковые соединения

Тавровые, угловые и нахлесточные соединения

Стыковые соединения

Тавровые, угловые и нахлесточные соединения

проволока

Флюс

Сварочная проволока

Флюс

Сплошная проволока

Порошковая проволока

Сплошная проволока

Порошковая проволока

Стыковые соединения

Тавровые, угловые и нахлесточные соединения

15ХСНД 15ХСНДА 09Г2СД (09Г2С)

Св-10Г2*

АК-47*

Св-08ГА

АНЦ-1М

Св-08Г2Н2Т Св-08Г2С

ПП-АН8

Св-08Г2С

ПП-АН8

Э50А

Э42А

AH-348-AM

ПП-AH9

ПП-AH9

Э50А

ПП-АН32

ПП-АН32

Св-10НМА

АН-22

Св-08А**

АНЦ-1М

Св-10НМА

АН-47

AH-348-AM

УОНИ 13/55

УОНИ 13/45

Св-10Г2

АНК-561

УОНИ 13/55

345

Св-10Г2*

АН-43*

10ХСНД 10ХСНДА

Св-10НМА

АН-22

Св-08ГА

AH-348-AМ

Св-08Г2Н2Т Св-08Г2С

ПП-AH9

Св-08Г2С

ПП-AH9

Э50А

Э42А

Св-10НМА

АН-47

ПП-АН32

ПП-АН32

Э50А

Св-10НМА

АНК-561

390

Св-10НМА*

АН-43*

Св-08А**

АНЦ-1М

УОНИ 13/55

УОНИ 13/45

Св-10НМА

48АНК-54

АН-348АМ

УОНИ 13/55

* Эти материалы следует применять только для конструкций обычного исполнения.

** При катетах до 7 мм включительно.


Очищенную и намотанную в кассеты сварочную проволоку необходимо хранить в сухом помещении при положительной температуре. Корпуса кассет рекомендуется окрашивать в различные цвета в зависимости от марки проволоки, а на видимой стороне корпуса кассеты делать соответствующие надписи несмываемой краской. Проволока, намотанная в кассеты, не должна иметь резких перегибов.

7.3. Флюсы должны поставляться по ГОСТ 9087-81 или ТУ заводов-изготовителей (при условии, что качество поставляемых по ТУ флюсов отвечает требованиям ГОСТ 9087), храниться в упаковке поставщика в сухом отапливаемом помещении или в специальной закрытой таре. В сертификате на флюс должен быть указан гарантийный срок хранения. Если флюс хранится дольше указанного срока, необходимо проверить его технологические свойства при сварке на оптимальном режиме с испытанием сварных соединений согласно указаниям разд. 9. Не допускаются засорения флюса окалиной, шлаком и прочими инородными включениями.

Перед употреблением флюсы прокаливают по режимам, указанным в сертификатах или ТУ заводов-изготовителей. После прокалки флюсы хранят в сушильных шкафах при температуре 80...100 °С. На рабочее место флюс следует подавать в количестве, необходимом для работы в течение одной смены.

Флюс для флюсовой подушки применяют той же марки, что и для сварки соединения. Флюсовую подушку заменяют в начале каждой смены.

7.4. Самозащитная порошковая проволока для вертикальной сварки с принудительным формированием шва должна соответствовать ГОСТ 26271-84 для марок ППАН-19С и ППАН-32; ТУ 05.416923.018-96 для марки ППАН-19Н.

7.5. Электроды для ручной дуговой сварки и электроприхваток должны по типу и маркам соответствовать ГОСТ 9466-75 и ГОСТ 9467-75. Прокалку их следует выполнять на режимах, указанных в сертификатах. Сразу же после извлечения из прокаленной печи электроды помещают в резервную печь, имеющую температуру 80...100 °С, откуда их используют для сварки. Электроды, не используемые в течение смены после извлечения из резервной печи, прокаливают вновь, но не более трех раз.

7.6. Для воздушно-дуговой резки при исправлении дефектов сварных соединений следует применять угольные электроды диаметром 6...10 мм марки ВДК по ГОСТ 10720-75 или специальные электроды марок АНР-5, ОЗР-1, ОЗР-2 диаметром 4...5 мм.

7.7. При выборе источников питания сварочной дуги и оборудования для сварочных работ надлежит руководствоваться в первую очередь необходимостью обеспечения стабильных режимов сварки с заданными параметрами, гарантирующими высокое качество сварных соединений. Кратковременные отклонения от установленного режима сварки не должны превышать:

по силе тока ± 5 %;

по напряжению на дуге ± 2 В;

по скорости сварки ± 10 %.

Для всех способов сварки мостовых конструкций следует применять источники питания дуги постоянного тока (выпрямители или преобразователи). Сварочные автоматы и полуавтоматы следует подбирать в зависимости от способов сварки, типов сварных соединений и конкретных условий производства сварочных работ.

Сечение сварочного кабеля при его длине не более 30 м следует назначать в зависимости от силы сварочного тока:

сварочный ток, А

240

300

400

600

800

1000

Площадь сечения кабеля, мм2, не менее

35

50

70

95

150

170

Плотность тока в сварочных кабелях не должна превышать 7…8 А/мм2.

Обратный провод должен быть того же сечения, что и прямой. В стационарных условиях допускается обратный провод выполнять в виде шин.

7.8. Сварочное оборудование должно иметь приборы (амперметры и вольтметры) для контроля режимов сварки. Указанные приборы устанавливают на сварочных автоматах (однодуговых и двухдуговых) и на полуавтоматах. Приборы должны быть проверены и приняты лабораторией государственного надзора за средствами измерений (ЛГН). Правильность показаний данных приборов следует контролировать не реже двух раз в месяц.

8. ТЕХНОЛОГИЯ ЗАВОДСКОЙ СВАРКИ МОСТОВЫХ КОНСТРУКЦИЙ

Способы сварки

8.1. При изготовлении сварных мостовых конструкций из сталей, марки которых приведены в разд. 1 настоящего СТП, надлежит применять преимущественно электродуговую автоматическую сварку под флюсом. Допускается применение полуавтоматической сварки под флюсом и в защитных газах (в углекислом газе или в смеси углекислого газа с аргоном), а также ручной дуговой сварки. Области применения перечисленных способов сварки для мостовых конструкций приведены в табл. 9. Способ сварки должен быть указан в чертежах КМ, КМД и технологической документации.

Технология и режимы автоматической, полуавтоматической и ручной сварки

8.2. Сварку конструкций следует производить в соответствии с утвержденным технологическим процессом, устанавливающим последовательность сборочно-сварочных операций, применяемую оснастку и инструмент, оборудование, сварочные материалы, режим сварки и порядок наложения швов, а также операции по контролю качества.

Основными устанавливаемыми и контролируемыми параметрами режима сварки являются:

сила сварочного тока Iсв, А;

напряжение дуги Ud, В;

скорость сварки Vсв, м/ч.

Дополнительные параметры:

скорость подачи электродной проволоки Vэл, м/ч;

диаметр электродной проволоки dэл, мм;

вылет электродной проволоки l, мм.

8.3. Режимы сварки должны назначаться по утвержденным в установленном порядке заводским нормалям с учетом требований настоящего СТП в зависимости от класса прочности и марки стали, толщины металла, параметров разделки кромок и способов сварки, указанных в чертежах КМ. При этом необходимо соблюдать следующие условия (рис. 15):

Таблица 9. Способы сварки мостовых конструкций

Способ сварки

Область применения в мостовых конструкциях

Автоматическая под флюсом (АФ) по ГОСТ 8713-79 и ГОСТ 11533-75

Стыковые соединения, свариваемые в нижнем положении:

двусторонней однопроходной сваркой на флюсовой подушке металла толщиной 10...16 мм без скоса кромок;

двусторонней многопроходной сваркой на флюсовой подушке металла толщиной 20...50 мм с двумя симметричными Х-образными скосами кромок

 

Угловые, тавровые и нахлесточные соединения металла толщиной 10...50 мм, свариваемые в нижнем положении:

односторонней сваркой "в угол" или "в лодочку";

двусторонней двухдуговой сваркой "в угол" (кроме нахлесточных);

односторонней сваркой угловых швов, расположенных вдоль усилия с металлохимической присадкой "в лодочку"

Полуавтоматическая под флюсом (МФ) по ГОСТ 8713-79 и ГОСТ 11533-75

Стыковые соединения с двусторонней сваркой в нижнем положении для деталей из листа толщиной 10...20 мм, привариваемые к основной конструкции (например, фасонок связей к поясам балок) с односторонним или двусторонним скосом кромок

 

Угловые, тавровые и нахлесточные соединения металла толщиной 10...50 мм, свариваемые в нижнем положении:

односторонней сваркой "в угол" или "в лодочку";

двусторонней сваркой "в угол" (кроме нахлесточных)

Полуавтоматическая в смеси защитных газов: (80 % Аr + 20 % СО2); в углекислом газе (ограниченно); самозащитной проволокой по ГОСТ 14771-76 и ГОСТ 23518-79

Стыковые соединения, свариваемые в нижнем положении с двух сторон: без скоса кромок для листа толщиной 6...8 мм;

с V-образным скосом двух кромок для металла толщиной 10...16 мм;

с двумя симметричными (К-образными) скосами одной кромки для металла толщиной 10...16 мм;

с двумя симметричными (Х-образными) скосами двух кромок для металла толщиной 10...16 мм

Угловые, тавровые и нахлесточные соединения металла толщиной 10...50 мм, свариваемые в нижнем, горизонтальном и вертикальном положениях "в угол" и в лодочку"

Ручная электродуговая (Р) по ГОСТ 5264-80 и ГОСТ 11534-75

Короткие швы (длиной менее 1000 мм) стыковых, угловых, тавровых и нахлесточных соединений металла толщиной 10...50 мм во всех пространственных положениях. Исправление дефектов после автоматической или полуавтоматической сварки

Рис. 15. Геометрические параметры подготовки кромок и поперечного сечения шва:

h - глубина проплавления; Р - притупление; z - глубина проплавления притупления; е - ширина шва; q - высота усиления; Кf - катеты угловых швов; в - зазор, D - глубина взаимного проплавления (перехлест)

а) коэффициент формы провара должен составлять e/h ³ 1,2 для стыковых и угловых швов, а проплавление должно быть симметричным для обеих кромок. При многослойной сварке с разделкой кромок, если выдерживается условие Z £ Р, допускается e/h = 1;

б) глубина проплавления для притупления кромок z при проходе первого шва с Х-образными скосами не должна превышать величины притупления Р, т.е. Z £ Р, при этом необходимо соблюдение условия Z = (Р/2) + 1 мм для обеспечения проплавления при двухсторонней сварке;

в) в угловых швах должна быть обеспечена расчетная высота сечения по металлу шва tf = bfKf и по металлу границы сплавления tz = bzKf, где Kf - наименьший из катетов углового шва, принимаемый по катету вписанного треугольника; bf и bz - коэффициенты расчетных сечений угловых швов, принимаемые по табл. 80 СНиП 2.05.03-84*;

г) оптимальным следует считать угловой шов с прямолинейной поверхностью в поперечном сечении и с плавными переходами к основному металлу по зонам сплавления. Допускается выпуклость или вогнутость угловых швов до 30 % их катетов, при этом вогнутость не должна приводить к уменьшению значения катета Кf, установленного при проектировании. Отклонения катетов угловых швов следует принимать по п. 9.20 и табл. 23 настоящего СТП;

д) сварка мостовых конструкций должна выполняться в отапливаемых цехах при положительной температуре стали и окружающего воздуха.

При сварке стыковых, угловых и тавровых соединений сталей класса прочности 390 марок 10ХСНД и 10ХСНДА толщиной 20 мм и более необходим предварительный подогрев кромок и прилегающих к ним участков основного металла шириной по 40 мм до температуры 100 - 120 °С. Рекомендуется применять для этих целей пропан-бутано-кислородные горелки ГЗУ-2-62-II, пропано-воздушные типов ГВ-1 и ГВПН-1 или ацетилено-кислородные типов ГАО-2-72 и ГС-3. Горелку следует перемещать с заданной скоростью сварки впереди сварочного автомата.

Подогрев ведут перед наложением первого слоя на лицевой стороне стыкуемых деталей и после каждого перерыва процесса сварки, сопровождающегося уменьшением температуры кромок ниже 100 °С.

8.4. Режимы сварки и применяемые сварочные материалы должны обеспечивать получение сварных соединений со следующими механическими свойствами:

а) минимальные значения предела текучести и временного сопротивления не должны быть ниже их значений для основного металла по соответствующим ГОСТ или ТУ;

б) максимальные значения твердости металла шва и околошовной зоны должны быть не более 350 единиц по Виккерсу (HV);

в) минимальное значение относительного удлинения металла шва стыковых соединений на пятикратных образцах d5 должно быть не менее 18 % для сталей с пределом текучести до 345 МПа и не менее 16 % для сталей с пределом текучести 390 МПа;

г) угол статического изгиба сварного соединения с поперечным стыком должен быть не менее 120°.

д) минимальные значения ударной вязкости KCU на образцах Менаже при расчетной отрицательной температуре, указанной в чертежах КМ данной конструкции, для стыковых соединений должны быть не менее 29 Дж/см2.

Температура испытания образцов стыковых сварных соединений на KCU должна соответствовать:

для конструкций автодорожных и пешеходных мостов - минус 40 °С в обычном исполнении, минус 50 °С в северном «А» и минус 60 °С в северном «Б» исполнении (СНиП 2.05.03-84, табл. 46 и 47*);

для конструкций железнодорожных и совмещенных мостов в обычном и северном «А» исполнении - минус 60 °С, а в северном «Б» - минус 70 °С.

Режимы сварки надлежит рассчитывать и назначать после их практической проверки, выполняемой, как правило, специализированными организациями с учетом:

класса прочности, марки стали, толщины проката и параметров разделки кромок;

скорости охлаждения металла шва и зоны термического влияния (ЗТВ) для сталей с пределом текучести до 350 МПа в пределах 8...15 °С/сек, с пределом текучести до 400 МПа в пределах 15...25 KCU °С/сек.

При многопроходной сварке вышеперечисленных сталей скорость охлаждения может быть увеличена на 25 %, но не более чем до 40 °С/сек.

При однопроходной двусторонней сварке стыковых соединений без скоса кромок листа толщиной 8...16 мм скорость охлаждения может быть уменьшена до 4,5 °С/сек при условии, что шов с другой стороны проваривается после полного охлаждения металла от нагрева при сварке первой стороны до 100...120 °С).

8.5. При использовании по согласованию с организацией-разработчиком чертежей КМ марок сталей, соответствующих мостовым ГОСТ 6713-91 по механическим свойствам и химическому составу, но не входящих в табл. 47* СНиП 2.05.03-84* и в настоящий СТП, сварку соединений допускается вести на режимах, разработанных для мостовых сталей, после проверки их на контрольных образцах (технологических пробах).

8.6. Если в сварном соединении используются стали различных классов прочности и марок, то следует применять способ сварки, сварочные материалы и режимы сварки, предусмотренные для стали более низкого класса прочности. Сварку сталей 15ХСНД и 10ХСНД по ГОСТ 6713-91 со сталями 15ХСНДА и 10ХСНДА по ТУ 14-1-5120-92 надлежит выполнять по режимам, рекомендуемым для сталей 15ХСНДА и 10ХСНДА.

8.7. Сварку конструкций следует выполнять после приемки ОТК операций сборки отправочных марок. Перед сваркой соединение, особенно в местах наложения швов, должно быть очищено от шлака на электроприхватках и других загрязнений. При наличии в соединении пересекаемого заваренного стыкового шва усиление его в месте пересечения должно быть удалено заподлицо с основным металлом на длину не менее 40 мм в каждую сторону.

При сварке многопроходных швов каждый последующий слой должен накладываться после тщательной очистки шлака предыдущего слоя и остывания его до температуры 160...300 °С.

В случае обрыва дуги в процессе наложения шва кратер и прилегающий к нему участок шва длиной 30...50 мм должны быть очищены от шлака и переварены при новом зажигании дуги. Не допускается зажигание дуги и вывод кратера на основной металл за пределами шва.

Начинать и заканчивать сварку следует, как правило, на выводных планках, которые удаляются только после завершения контроля качества сварного шва.

8.8. По окончании сварки необходимо очистить металл шва и прилегающие к нему участки от шлака и брызг, осмотреть шов и проставить номер (клеймо) сварщика в начале и в конце шва на расстоянии 100 мм от шва и кромки металла. При длине шва меньше 1 м клеймо ставится один раз.

8.9. Автоматическую и полуавтоматическую сварку под флюсом всех типов соединений надлежит выполнять постоянным током обратной полярности (плюс на электроде), за исключением раздельной сварки двухслойной коррозионно-стойкой стали, где сварку плакирующего слоя рекомендуется вести постоянным током прямой полярности.

Ориентировочные режимы сварки под флюсом конструкций из мостовых сталей марок 15ХСНД и 10ХСНД по ГОСТ 6713-91, 15ХСНДА и 10ХСНДА ТУ 14-1-5120-92 любых категорий приведены в таблицах 10...15. Режимы подлежат уточнению при сварке технологических проб и контрольных образцов.

Таблица 10. Режимы автоматической сварки под флюсом стыковых соединений на флюсовой подушке сталей 15ХСНД и 10ХСНД по ГОСТ 6713-91

Форма поперечного сечения

Толщина металла S мм

Число проходов

Параметры режима

подготовленных кромок

сварного шва

Сила сварочного тока Iсв, А

Напряжение дуги Uд, В

Скорость сварки Vcв, м/ч

Скорость подачи проволоки Vэл, м/ч

10

2

650...700

32...34

29...32

49...55

12

2

700...750

32…34

29...32

55...61

14

1

750...800

32...34

26...29

66,5...61

1

750...800

34...36

26...29

61...66,5

16

1

800...850

34...36

22...26

68...66,5

1

750...800

36...38

22...26

61...66,5

20

1-я сторона 1-й слой

700...750

32...34

18...20,5

55...61

последующие

750...800

32...34

22...26

61...66,5

25

1-я сторона 1-й слой

700...750

32...34

18...20,5

55...61

последующие

750...800

32...34

22...26

61...66,5

32

1-я сторона 1-й слой

700...750

34...36

18...20,5

55...61

последующие

750...800

34...36

22...26

61...66,5

40

1-я сторона 1-й слой

700…750

36...38

18...20,5

55...61

последующие

750...800

36...38

22...26

61...66,5

Примечания:

1. Диаметр сварочной проволоки dэл = 5 мм.

2. Вылет электрода l = 35...45 мм.

3. Сварочные материалы см. в табл. 8.

4. Прихватки выполнять вручную электродами типа Э50А или полуавтоматом в защитных газах проволокой Св-08Г2С.

5. Первый проход с каждой стороны при сварке сталей 10ХСНД толщиной 32 и 40 мм выполнять под флюсом АН-348А или АНЦ-1; последующие проходы флюсами, указанными в табл. 8

Таблица 11. Режимы автоматической сварки под флюсом стыковых соединений на флюсовой подушке сталей 15ХСНДА и 10ХСНДА по ТУ 14-1-5120-92

Форма поперечного сечения

Толщина металла S мм

Число проходов

Параметры режима

подготовленных кромок

сварного шва

Сила сварочного тока Iсв, А

Напряжение дуги Uд, В

Скорость сварки Vcв, м/ч

Скорость подачи проволоки Vэл, м/ч

10

2

600...650

32...34

29…32

49

12

2

650...700

32…34

29…32

49…55

14

1

650...700

32...34

26...29

49...55

1 (2-я сторона)

700...750

34...36

26...29

55...61

16

1

700...750

34... 36

22... 26

55...61

1 (2-я сторона)

700...750

36...38

22...26

55...61

20...40

1-я сторона 1-й слой

600…650

30...36

18...21

49

последующие проходы

650...700

32…38

21...22

49...55

Примечания:

1. Действительны примечания 1…5 к табл. 10. В прим. 5 имеется в виду сталь 10ХСНДА.

2. При сварке конструкций железнодорожных мостов сила сварочного тока с учетом допустимого отклонения ± 5 % не должна кратковременно превышать 750 А.

3. В стыковых соединениях толщиной 10…16 мм второй (последний) проход автомата выполняется при температуре шва первого прохода не ниже 80°С и не выше 200 °С.

4. В стыках толщиной 20…40 мм при выполнении промежуточных и облицовочных слоев шва каждый проход накладывается только после того, как температура металла шва предыдущего слоя не превышает 250 °С.

Таблица 12. Режимы автоматической и полуавтоматической сварки под флюсом угловых швов сталей по ГОСТ 6713-91

Форма поперечного сечения

Толщина металла S или катета шва К, мм

Способ сварки

Параметры режима

подготовленных кромок

сварного шва

Сила сварочного тока Iсв, А

Напряжение дуги Uд, В

Скорость сварки Vcв, м/ч

Скорость подачи проволоки Vэл, м/ч

К = 6

Автоматическая

650...700

26...28

40...47

49...55

8

650...700

28...30

29...32

49...55

10

700...750

30...32

23...27

55...61

12

700...750

32...34

18…22

55...61

К = 6

Полуавтоматическая

360...390

30...32

27

200

8

420...440

32...34

23,5

260

10

420...440

32...34

13,5

260

12

420...440

32…34

9

260

S1 + S2 = 12 + 12

Автоматическая с полным проваром

с одной стороны

800...850

34...36

22

72

с другой стороны

850…900

34..36

22

78

S1 + S2 = 16 + 16

с одной стороны

850...900

34...36

18

78

с другой стороны

900...950

34...36

18

85

S1 + S2 = 16 + 40

с одной стороны

850...900

34...36

15

78

с другой стороны

900...950

34...36

15

85

K = 6

Автоматическая и полуавтоматическая

250...300

26...28

26...27

135...156

7

350...400

28...30

23...26

170...198

Примечания:

1 Диаметр сварочной проволоки для автоматической сварки «в лодочку» dэл = 5 мм; диаметр проволоки для полуавтоматической сварки «в лодочку» и для автоматической и полуавтоматической сварки «в угол» dэл = 2 мм.

2. Сварочные материалы см. в табл. 8.

3 Электроприхватки выполнять вручную электродами типа Э42А, Э46А, Э50А или полуавтоматом в защитных газах проволокой Св-08Г2С.

4. При автоматической сварке «в лодочку» проволокой dэл = 4 мм силу тока принимать с коэффициентом 0,65.

Таблица 13. Режимы автоматической и полуавтоматической сварки под флюсом угловых сталей 15ХСНДА и 10ХСНДА по ТУ 14-1-5120-92

Форма поперечного сечения

Толщина металла или катета шва К, мм

Способ сварки

Параметры режима

подготовленных кромок

сварного шва

Сила сварочного тока Iсв, А

Напряжение дуги Uд, В

Скорость сварки Vcв, м/ч

Скорость подачи проволоки Vэл, м/ч

К = 6

Автоматическая, диаметр проволоки 5 мм

650...700

26...28

40...47

49...55

8

650...700

28...30

29...34

49...55

10

700...750

30...32

23...27

55...61

12

700...750

32...34

18...22

55…61

K=6

Полуавтоматическая, диаметр проволоки 2 мм

360...390

30...32

27

200

8

420...440

32...34

23,5

260

10

420...440

32...34

13,5

260

12

420...440

32...34

9

260

S1 + S2 = 12 (16) + 12 (16) (40)

Автоматическая с полным проваром, диаметр проволоки 5 мм

650…700

С одной стороны первый слой

55

26...28

29…32

 

700...750

последующие

61

30...32

23...27

700...750

С другой стороны

61

30...32

23...27

К = 6

Автоматическая и полуавтоматическая, диаметр проволоки 2 мм

250...300

26...28

26...27

135...156

7

350...400

28...30

23...26

170...198

Примечания:

1. Диаметр сварочной проволоки для автоматической сварки «в лодочку» dэл = 5 мм; диаметр проволоки для полуавтоматической сварки «в лодочку» и для автоматической и полуавтоматической сварки «в угол» dэл = 2 мм.

2. Сварочные материалы см. в табл. 8.

3. Электроприхватки выполнять вручную электродами типа Э42А, Э46А, Э50А или полуавтоматом в защитных газах проволокой Св-08Г2С.

Таблица 14. Режимы полуавтоматической сварки под флюсом тавровых и стыковых соединений с обеспечением сплошного проплавления (фасонок связей и других деталей)

Форма поперечного сечения

Толщина металла S, мм

Число проходов

Параметры режима

подготовленных кромок

подготовленных кромок

Сила сварочного тока Iсв, А

Напряжение дуги Uд, В

Скорость сварки Vcв, м/ч

Скорость подачи проволоки Vэл, м/ч

10...32

1-й шов

250…300

26...28

26…27

135...156

2-й шов

300...500

30...34

23...27

156...250

10; 12

1-й проход

350…400

30...34

23...27

170...198

16

последующие

250...300

30...34

23...27

135...156

10...50

 

400...450

32...34

18...22

198...215

10...32

1-й проход

350...400

30...32

18...22

170...198

последующие

450...500

32...34

18...22

210...250

Примечания:

1. Диаметр сварочной проволоки dэл = 2 мм, марки проволоки - по табл. 8.

2. В тавровом соединении с односторонним скосом кромки первый проход (корень шва I) с обратной стороны допускается проваривать полуавтоматической сваркой в защитном газе, при этом сечение прохода не должно превышать 1/3 сечения шва II.

Таблица 15. Режимы сварки под флюсом угловых соединений двухтонными автоматами

Форма поперечного сечения

Толщина листа S2, катет шва К, мм

Глубина проплавления, мм

Параметры режима

подготовленных кромок

сварного шва

Сила сварочного тока Iсв, А

Напряжение дуги Uд, В

Скорость сварки Vcв, м/ч

Скорость подачи проволоки Vэл, м/ч

S=16

3,5

300...350

25...27

29…34

156...184

20

4

350...400

26...28

23…27

170...198

25

5

400...450

28...30

23…27

198...215

32

6

450...500

30...32

23...27

215...250

40

8

550...600

32...34

23...27

250...295

К = 6

-

250...300

25...27

25...27

135...156

7

-

320...380

27...30

25...27

170...198

Примечания:

1. Для сварки наружных швов применять проволоку Св-08ГА диаметром 2 мм, флюсы АН-348-АМ, АНК-561, АНЦ-1М; для сварки внутренних швов - проволоку Св-Св-08A или Св-08АА диаметром 2 мм, флюсы АН-348-АМ, АНК-561, АНЦ-1М.

2. Электроприхватки выполнять вручную электродами типа Э42А, Э46А, Э50А диаметром 4 мм или полуавтоматической сваркой в защитных газах проволокой СВ-08Г2С диаметром 1,2...1,6 мм.

3. При сварке наружных швов герметично закрытых коробчатых элементов решетчатых пролетных строений режимы назначаются в соответствии с данной таблицей.

8.10. При двусторонней стыковой сварке полотнищ на флюсовой подушке перекантовка элемента после наложения шва с одной стороны допускается только после остывания этого шва до температуры, не превышающей 100...120 °С, с принятием мер против динамических нагрузок.

8.11. Направление оси электродной проволоки при сварке стыковых соединений должно быть по оси симметрии зазора. При многопроходной сварке с Х-образными скосами кромок это требование относится лишь к сварке первых двух слоев с каждой стороны соединения. Последующие проходы следует выполнять, как правило, со смещением электродной проволоки в одну и другую сторону с окончательным перекрытием стыка сварным швом по центру.

8.12. Двустороннюю автоматическую сварку под флюсом с металлохимической присадкой (МХП) на флюсовой подушке надлежит выполнять с соблюдением нижеследующих условий:

а) стыковые соединения из стали по ГОСТ 6713-91* толщиной 20 мм и по ТУ 14-1-5120-92 толщиной до 16 мм собирать под автоматическую сварку без разделки кромок с зазором 4±1 мм; стыки листов толщиной 25...40 мм ГОСТ 6713-91* и толщиной 20-40 мм по ТУ 14-1-5120-92 должны иметь V-образную подготовку кромок с общим углом раскрытия 55±5°, притуплением кромок 10±1 мм, шириной зазора 4±1 мм;

б) сварочные материалы для автоматической сварки стыковых и тавровых соединений с МХП следует применять в соответствии с табл. 8а;

в) перед наложением первого шва в стыках листов толщиной до 20 мм из стали по ГОСТ 6713-91* без разделки кромок зазор заполнять МХП полностью. В стыках листов толщиной 25...40 мм из стали по ГОСТ 6713-91* и в стыках листов толщиной 20...40 мм из стали по ТУ 14-1-5120-92 с V-образной разделкой кромок МХП перед первым проходом автомата засыпается на высоту h = 12...17 мм (меньшие значения относятся к сталям 15ХСНДА, 10ХСНДА, большие - к сталям 15ХСНД и 10ХСНД). Высота засыпки МХП контролируется специальным шаблоном;

г) после выполнения стыковой сварки с первой стороны изделие перекантовать, нерасплавившуюся МХП удалить металлической щеткой. Шов с обратной стороны проварить за один проход автомата без МХП;

д) режимы автоматической сварки с МХП стыковых соединений листов толщиной 20...40 мм из сталей по ГОСТ 6713-91* и ТУ 14-1-5120-92 приведены в табл. 16.

Автоматическую сварку угловых швов тавровых соединений с МХП выполняют однодуговым автоматом в положении "в лодочку". МХП дозируют с помощью шаблона, причем номер шаблона должен соответствовать катету треугольника, образуемого засыпаемой присадкой:

катет углового шва, мм

8

10

12

14

16

номер шаблона (катет засыпки), мм

8

12

14

16

18

Автоматическую сварку под флюсом с МХП угловых швов тавровых соединений из сталей по ГОСТ 6713-91* рекомендуется применять для швов с катетами от 8 до 16 мм, из сталей по ТУ 14-1-5120-92 - для швов с катетами от 8 до 10 мм.

Режимы автоматической сварки под флюсом с МХП угловых швов соединений "в лодочку" приведены в табл. 16 и 17.

8.13. Автоматическую сварку под флюсом угловых швов элементов коробчатого сечения следует выполнять двухдуговыми автоматами в последовательности, приведенной на рис. 16. При величине зазора в соединениях листов не более 0,5 мм допускается наложение швов в последовательности 1-4-2-3.

Рис. 16. Последовательность наложения швов при сварке коробчатых элементов двухдуговым автоматом

Таблица 16. Режимы автоматической сварки под флюсом с МХП стыковых соединений; диаметр проволоки 5 мм

Форма поперечного сечения

Толщина металла S1, мм

Сторона шва

Слои шва

Параметры режима

Сила сварочного тока Iсв, А

Напряжение дуги Uд, В

Скорость сварки Vсв, м/ч

подготовленных кромок

сварного шва

20, стали марок 15ХСНД и 10ХСНД

I

первый

800...850

34...36

26...29

II

первый

800...850

34...36

29...32

25...40, стали марок 15ХСНД и 10ХСНД

I

первый

750...800

32...34

23

 

 

последующие

750..800

34...36

23

 

II

первый

750...800

34...36

23

20...40, стали марок 15ХСНДА и 10ХСНДА

I

первый

700...750

32...34

23

 

последующие

600...650

34...36

23

 

первый

700...750

34...36

23

Таблица 17. Режимы автоматической сварки под флюсом с МХП угловых швов тавровых соединений; диаметр проволоки 5 мм

Схема соединения

Нормативный документ стали

Катет шва, мм

Число проходов

Параметры режима

Сила сварочного тока Iсв, А

Напряжение дуги Uд, В

Скорость сварки Vсв, м/ч

По ГОСТ 6713-91*

8

1

650..700

36...38

58,0

10

1

700...750

36...38

50,5

12

1

800...850

37...39

41,0

14

1

850...900

37...39

34,0

16

1

900...950

38...40

27,0

По ТУ 14-1-5120-92

8

1

650...700

36...38

58,0

10

1

700...750

36…38

50,5

8.14. Для односторонней автоматической сварки двухслойной коррозионно-стойкой стали с МХП следует применять медную подкладку, сечение которой приведено на рис. 17. Сохранность подкладки от ожогов электрической дугой рекомендуется обеспечивать обмоткой ее двумя слоями стеклоткани, смазкой специальным составом ТФС или подсыпкой измельченного флюса слоем толщиной 1 мм. Длину звеньев подкладки принимают 600...800 мм со стыковкой их встык с зазором 1...2 мм (см. рис. 17). Медная подкладка толщиной не менее 18 мм должна быть уложена в стальную обойму и плотно поджата к стыкуемым элементам посредством винтовых или пневматических прижимов или скоб с клиньями. Ширину канавки принимают 24 мм.

При сварке стыка должны быть созданы условия свободной поперечной усадки шва.

Допускаются два способа односторонней сварки (табл. 18):

а) раздельная, при которой за первый проход сваривается основной слой стали 09Г2С, а за второй - плакирующий слой 12Х18Н10Т;

б) однопроходная на всю толщину свариваемого металла.

Рис. 17. Конструкция медной подкладки для односторонней сварки двухслойной коррозионно-стойкой стали с МХП

При раздельной сварке 1-й проход варится на постоянном токе обратной полярности, а 2-й - рекомендуется варить на постоянном токе прямой полярности, в том числе способом сварки расщепленным электродом. При однопроходной сварке применяется постоянный ток обратной полярности.

Таблица 18. Режимы односторонней автоматической сварки под флюсом стыковых соединений двухслойной коррозионно-стойкой стали 09Г2С+12Х18Н10Т толщиной 12 мм с МХП на медной подкладке

Форма поперечного сечения

Способ сварки

Число проходов

Параметры режима

подготовленных кромок

сварного шва

Сила сварочного тока Iсв, А

Напряжение дуги Uд, В

Скорость сварки Vcв, м/ч

Скорость подачи проволоки Vэл, м/ч

Раздельная

1

720...750

35...36

18...20

85...90

Основной слой

Плакирующий слой*

2...3

450...470

38...40

27...29

85...90

СЗ-АФМХП

применительно к ГОСТ 16098-80

То же, расщепленным электродом*

1

750...800

38…400

18...20

60...65

Однопроходная

1

750...800

36...38

18...20

120…128

Примечания:

1. Диаметр сварочной проволоки dэл = 4 мм.

2. Вылет электрода l = 35...40 мм.

3. Наклон электрода вперед до 5°.

4. Сварочные материалы. 4.1. Основной слой 09Г2С: флюсы АН-348А, АН-47; сварочная проволока для автомата Св-08ГА или Св-10Г2, для МХП - Св-08Г2С, Св-08ГА, Св-10Г2. 4.2. Плакирующий слой 12Х18Н10Т: флюс АН-26С, сварочная проволока Св-06Х25Н12ТЮ. 4.3. Однопроходная сварка; флюс АН-26Н; сварочная проволока для автомата и МХП Св-06Х25Н12ТЮ.

* Сварку вести постоянным током прямой полярности.

Металлохимическую присадку при раздельной сварке засыпают в уровень толщины основного слоя, при однопроходной - на всю толщину заподлицо с плакирующим слоем.

Сварка должна осуществляться непрерывно на всю длину соединения. При случайном обрыве дуги кратер шва необходимо удалить воздушно-дуговой строжкой, зачистить абразивным инструментом и переварить на 20 мм от места обрыва дуги.

При раздельной сварке полотнищ с пересекающимися швами в первом (по исполнению) шве плакирующий слой при втором проходе не доваривают на 100...150 мм до пересечения с последующим наложением его после сварки пересекаемого шва.

8.15. Полуавтоматическую сварку мостовых конструкций в защитных газах - в смеси аргона (80 %) с углекислым газом (20 %) - надлежит выполнять постоянным током обратной полярности (плюс на электроде) по режимам, приведенным в таблицах 19...21.

Источники питания дуги при сварке в защитных газах должны иметь жесткие, пологопадающие внешние характеристики, поскольку сварка ведется на больших плотностях тока. Рекомендуется использовать сварочные выпрямители типов ВДГ-602; ВДГ-502; ВС-500; ВС-600; ВДУ-505; ВДУ-506; или сварочные преобразователи ПСГ-500-1; ПСУ-500-2.

Сварочную проволоку сплошного сечения марок Св-08Г2С или Св-08Г2СЦ по ГОСТ 2246-70* рекомендуется применять диаметрами 1,2; 1,4; 1,6 и 2 мм в зависимости от типа сварного соединения, размеров шва, положения его в пространстве, толщины свариваемого металла. Сварку в нижнем положении рекомендуется производить проволокой диаметрами 1,6; 2 мм, сварку в вертикальном, горизонтальном и потолочном положении проволокой диаметрами 1,2; 1,4 мм в импульсном режиме.

Рекомендуемые зависимости между силой сварочного тока, скоростью подачи и диаметром сварочной проволоки даны на графиках рис. 17,а - сплошного сечения и рис. 18,б - порошковой проволоки.

Таблица 19. Режимы полуавтоматической сварки стыковых и угловых швов в нижнем положении в защитных газах (углекислый газ или смесь 80 % аргона с 20 % углекислого газа) сварочной проволокой сплошного сечения

Поперечное сечение кромок и сварного шва по ГОСТ 14771-76*

Толщина металла S или катет шва К, мм

Диаметр сварочной проволоки, мм

Число проходов

Параметры режима

Сила сварочного тока Iсв, А

Напряжение дуги Uд, В

Скорость сварки Vсв, м/ч

S = 6...8

1,2

2

200...240

21...24

25...30

1,4

2

220...270

26...28

 

1,6

2

250...300

28...32

20...22

2

2

350...400

32...36

28...30

S = 10...16

1,6

1-й проход

220…250

26...28

15...17

Последующий

300...350

28...30

15...17

2

1-й проход

250...300

28...32

18...20

Последующий

350...400

32...34

20...22

К = 6

1,6

1

160...200

27...29

12...14

2

1

250...300

28...30

18...20

8

1,6

1

200...250

28...30

10...12

2

1

300...350

30...32

15...17

10

2

2

300...350

30...32

10...12

12

2

2

300...350

30...32

15...17

Примечания:

1. Расход защитного газа для стыковых соединений 16...22 л/мин.; для угловых швов - 12...18 л/мин.

2. Вылет l электрода должен быть равен 8...15 и 15...25 мм для диаметров dэл сварочной проволоки соответственно 1,2...1,4 и 1,6...2 мм (см. рис. 25,а).

Таблица 20. Режимы полуавтоматической сварки в защитных газах (смесь 80 % аргона с 20 % углекислого газа) швов в горизонтальном, вертикальном и потолочном положениях в импульсном режиме проволокой сплошного сечения

Диаметр сварочной проволоки dэл, мм

Сила сварочного тока Iсв, А

Напряжение дуги Uд, в

Скорость сварки Vcв, м/ч

Расход защитного газа, л/мин

Вылет электрода 1, мм

1,0

100...180

16...22

5...20

6...15

6...12

1,2

110...230

17...23

6...25

7...18

6...12

1,4

100...260

17...24

6...30

8...20

8...13

Рис. 18. Графики зависимости между скоростью подачи сварочной проволоки, диаметра проволоки и силой сварочного тока: а - для проволоки сплошного сечения, б - для порошковой проволоки

Вылет l сварочной проволоки в зависимости от ее диаметра для неимпульсных режимов рекомендуется принимать по графикам, приведенным на рис. 19,а - для проволоки сплошного сечения и на рис. 19,б - для порошковой проволоки. Вылет свыше 40 мм увеличивает разбрызгивание металла.

Таблица 21. Режимы полуавтоматической сварки в защитных газах (углекислый газ или смесь 80 % аргона с 20 % углекислого газа) порошковой проволокой в том числе самозащитной)

Поперечное сечение кромок и сварного шва по ГОСТ 14771-76*

Толщина металла S, мм или катет шва К, мм

Диаметр сварочной проволоки, мм

Число проходов

Параметры режима

Сила сварочного тока Iсв, А

Напряжение дуги Uд, В

Скорость сварки Vсв, м/ч

S = 6...8

2

2

350...400

26..30

13...16

2,5

2

350...400

26...30

13...16

3

2

380...420

28...32

14...18

S = 10...16

2

1-й

250...300

24...26

14...16

Последующий

330...380

28...30

12...14

2,5

1-й

250...300

24...26

14...16

Последующий

330...380

28...30

12...14

3

1-й

280...320

26...28

15...17

Последующий

350...400

28...32

12...15

К = 6

2

1

260...290

24…26

18...20

2,5

1

290...320

24…26

19…21

3

1

300…320

26…28

20…22

К = 8

2

1

300...350

24...28

14...16

2,5

1

300...350

24...28

14...16

3

1

320…380

28...32

16...18

К = 10

2

1

300...350

24...28

10...12

2,5

1

300...350

24…28

10…12

3

1

320...380

28...32

12…14

К = 12

2

2

300…350

24...28

14...16

2,5

2

300...350

24...28

14...16

3

2

320...380

28...32

16...18

Примечания:

1. Сварочные материалы см. в табл. 8.

2. Вылет l электрода см. рис. 18 б).

3. Расход защитного газа 12...18 л/мин.

Рис. 19. Рекомендуемые величины вылета электрода в зависимости от диаметра проволоки:

а - сплошного сечения, б - порошковой

При сварке в нижнем положении угол наклона электродной проволоки по отношению к поверхности изделия рекомендуется 65...70° (сварка углом назад). При сварке тавровых соединений "в угол" наклон электродной проволоки по отношению к вертикальной стенке рекомендуется в пределах 30...40°. Проволоку направляют в вершину угла или со смещением на 1...2 мм по горизонтали.

По окончании наложения шва необходимо полностью заварить кратер и обдуть его защитным газом до полного затвердения металла.

Площадь поперечного сечения наплавленного металла за один проход рекомендуется принимать для первого прохода 20...30 мм2, для последующих - 30...80 мм2.

8.16. Ручную электродуговую сварку мостовых конструкций необходимо выполнять постоянным током обратной полярности (плюс на электроде) электродами, типы и марки которых приведены в табл. 8. Диаметр электродов 3, 4, 5 мм по ГОСТ 9466-75* и ГОСТ 9467-75*.

Площадь поперечного сечения наплавленного металла рекомендуется принимать:

для первого прохода (6...8) dэл, но не более 30 мм2;

для последующих проходов (8...12) dэл. При подборе режимов ручной дуговой сварки необходимо учитывать указания завода-изготовителя электродов, приводимые в сертификатах или на упаковках.

8.17. Автоматическую и полуавтоматическую сварку мостовых конструкций из атмосферостойкой низколегированной стали марки 14ХГНДЦ по ТУ 14-1-5355-98 следует вести по указаниям настоящего СТП с учетом следующих особенностей:

для автоматической и полуавтоматической сварки надлежит применять специальный флюс марки АНК-565 и сварочную проволоку Св-10НМА для всех видов сварных соединений;

режимы сварки следует принимать как для сталей 15ХСНДА и 10ХСНДА по вышеприведенным таблицам со снижением напряжения дуги на 4 В;

швы сварных соединений необходимо выполнять с предварительным подогревом кромок до температуры 120...150 °С независимо от толщины деталей;

постановку электроприхваток при сборке, ручную сварку коротких угловых швов и исправление дефектных участков сварных швов надлежит выполнять электродами типа Э50А марки Э-138/50Н по ГОСТ 9467 и ОСТ 5.9224-75;

полуавтоматическая сварка стали 14ХГНДЦ в защитных газах не допускается;

сварка стали 14ХГНДЦ со сталями по ГОСТ 6713, ГОСТ 19281 и ТУ 14-1-5120-92 в конструкциях железнодорожных мостов не допускается.

8.18. Автоматическую сварку под флюсом поясных швов блоков главных балок коробчатых трапецеидальных сечений под острыми и тупыми углами необходимо вести в соответствии с требованиями ГОСТ 11533-75 на режимах, указанных в табл. 22 (ориентировочно). Для сварки применяют модернизированные автоматы на базе АДФ-1002, проволоку Св-08ГА диаметром 5 мм, флюсы АН-348А, АНЦ-1, ОСЦ-45.

Сварку швов под острым и тупым углами выполняют, как правило, за один проход со смещением электрода на 2-3 мм в сторону наклонной стенки.

Геометрические параметры шва под острым углом е ³ 14 мм, h ³ 12 мм, коэффициент формы провара e/h » 1,2, а в случае шва под тупым углом е ³ 24 мм, h ³ 14 мм, e/h » 1,7. Условное обозначение сварного соединения Т2, способа сварки Апш.

Таблица 22. Рекомендуемые режимы односторонней сварки блоков главных балок коробчатых трапецеидальных сечений

Поперечное сечение кромок и сварного шва

Способ сварки

Число проходов

Параметры режима

Сила сварочного тока Iсв, А

Напряжение дуги Uд, В

Скорость сварки Vcв, м/ч

Скорость подачи проволоки Vэл, м/ч

Автоматическая под флюсом

1

-

28...33

19...21

62...68

Полуавтоматическая в среде защитных газов

1-й проход

-

28...32

15...17

258

2-й проход

-

30...32

15...17

258

Автоматическая под флюсом

1

-

30...32

15...17

72...78

Полуавтоматическая в среде защитных газов

4 на одинаковых режимах

-

30

15...17

258

Примечание:

Силу тока подбирают опытным путем при сварке контрольных образцов и технологических проб.

8.19. Полуавтоматическую сварку трапецеидальных коробчатых сечений в среде защитных газов (80 % Аr + 20 % СО2) под острыми и тупыми углами выполняют в соответствии с ГОСТ 23518-79 на ориентировочных режимах по табл. 22.

Для сварки применяют проволоку Св-08Г2С или Св-08Г2СЦ по ГОСТ 2246-70* диаметром 2 мм.

Сварку швов под острым углом выполняют за два прохода по оси шва в специальную лодочку при вертикальном положении электродной проволоки. Параметры шва: е = 14 ± 2 мм, h = 12 ±2 мм, e/h = 1,2.

Сварку швов под тупым углом выполняют за четыре прохода, так же в положении в "лодочку". Параметры шва: е = 22 ± 2 мм, h = 12 ±2 мм, e/h » 1,8.

Условное обозначение сварного соединения Т2, способа сварки - ИП.

8.20. Автоматическую стыковую сварку листового проката толщиной более 40 мм из стали 09Г2СД (09Г2С) рекомендуется выполнять на режимах, указанных в табл. 10, с увеличением числа проходов.

9. ТРЕБОВАНИЯ К КАЧЕСТВУ СВАРКИ И СВАРНЫХ СОЕДИНЕНИЙ. КОНТРОЛЬ КАЧЕСТВА

9.1. Контроль качества изготовления мостовых конструкций осуществляется на всех стадиях работ инженерно-техническими работниками цехов и технических служб завода, работниками ОТК, Мостовой инспекции и других контролирующих организаций.

Производственный контроль качества осуществляется под руководством главного инженера завода.

Службы технического контроля должны быть оснащены техническими средствами, обеспечивающими необходимую достоверность и полноту контроля. Инженерно-технический персонал должен быть ознакомлен с рабочей документацией и нормативными документами.

Ответственность за качество изготовленных конструкций на всех этапах работ несут исполнители, руководители данного вида работ и работники технического надзора согласно существующим должностным инструкциям.

9.2. Основными задачами производственного контроля являются:

обеспечение соблюдения технологии изготовления и требований нормативной документации;

своевременное предупреждение и выявление дефектов;

повышение ответственности непосредственных исполнителей за качество выполняемых работ.

9.3. При изготовлении мостовых металлоконструкций выделяют следующие виды контроля качества:

входной контроль качества поступающих в производство материалов, технической документации и оборудования;

операционный контроль качества при изготовлении деталей и отправочных марок;

приемочный контроль качества изготовления отправочных марок.

Входной контроль

9.4. Входной контроль охватывает:

проверку полноты проектно-технологической документации и ее соответствия требованиям норм;

контроль качества поступающих в производство основных, сварочных и окрасочных материалов;

проверку состояния оборудования (механообрабатывающего, сварочного, дефектоскопического, контрольно-измерительного);

проверку режимов сварки и механических характеристик сварных соединений;

проверку квалификации электросварщиков, газорезчиков, дефектоскопистов.

9.5. Передаваемые в производство чертежи КМД должны быть проверены службой главного конструктора и контролирующей организацией на соответствие чертежам КМ и проектным нормам.

Технологические рекомендации по внедряемым в производство технологиям сварки должны пройти предварительную проверку в виде испытания технологических проб с определением механических характеристик сварных соединений разрушающими методами.

9.6. Поступающие на завод основные и сварочные материалы перед употреблением подвергают обязательной приемке.

Качество поставляемых материалов удостоверяется сертификатами или паспортами заводов-поставщиков. Весь заказываемый металлопрокат должен поставляться по действующим ГОСТ или ТУ, иметь маркировку клеймением или быть снабжен бирками с указанием марки стали, номеров плавки, партии, размеров изделий. Применение проката, сварочных материалов и метизов, не имеющих сертификатов (паспортов) и маркировки, не допускается.

Если в сертификатах отдельные данные отсутствуют, завод-изготовитель конструкций проводит необходимые лабораторные испытания в соответствии с требованиями, установленными стандартами. Материал может быть использован для изготовления мостовых конструкций, если результаты этих испытаний удовлетворяют требованиям ГОСТ, ТУ.

9.7. Периодический контроль качества стального проката должен выполняться не менее одного раза в год. Испытания производят по каждой марке стали каждого завода-поставщика для проката толщиной 12; 16; 20; 32 (40) мм.

Объем испытаний назначают в соответствии с указаниями действующей нормативно-технологической документации на прокат.

По требованию заказчика или проектной организации качество металлопроката проверяют, проводя стандартные механические испытания для каждой партии проката.

При изготовлении конструкций железнодорожных мостов в северном исполнении Б механические испытания проката выполняют для каждой партии или полистно по решению проектной организации или заказчика. По требованию проектной организации или заказчика эти испытания могут выполняться по каждому листу.

Контролируются следующие механические характеристики:

а) временное сопротивление разрыву, предел текучести, относительное удлинение по ГОСТ 1497-84;

б) величина угла изгиба в холодном состоянии по ГОСТ 14019-80 для конструкций обычного исполнения и по ГОСТ 5521-86 на широком образце для конструкций северного исполнения;

в) ударная вязкость в состоянии поставки по ГОСТ 9454-78 и после механического старения по ГОСТ 7268-82 при температурах, указанных в сертификатах;

г) структура стали в изломе для всех конструкций и определение площади излома с волокнистым строением для конструкций северного исполнения по ГОСТ 5521-86, ГОСТ 6713-91 и ТУ 14-1-5120-92.

Химический анализ стали проводят по ГОСТ 22536.0-87...ГОСТ 22356.13-87; ГОСТ 20813-75; ГОСТ 20560-75; ГОСТ 12344-88...ГОСТ 12361-82.

9.8. Качество сварочных материалов - проволоки по ГОСТ 2246-70*, флюса по ГОСТ 9087-81* и электродов по ГОСТ 9466-75 и ГОСТ 9467-75 для стыковых сварных соединений - проверяют в каждой вновь полученной партии посредством испытания технологических проб на сварных образцах из проката толщиной 16 мм.

Флюс и проволока считаются пригодными по технологическим свойствам, если процесс сварки на рекомендуемом режиме протекает спокойно, формирование шва и шлаковой корки равномерное, шлак легко удаляется со шва, а в наплавленном металле отсутствуют поры и трещины.

Электроды считаются годными, если при сварке контрольных соединений дуга горит устойчиво, спокойно, плавление обмазки происходит равномерно, без образования «козырька», шлак легко удаляется со шва, а в наплавленном металле отсутствуют поры и трещины.

Партия сварочных материалов считается пригодной, если все механические характеристики технологических проб, выполненных с применением этих материалов, отвечают требованиям нормативной документации.

9.9. Для проверки применяемых режимов сварки и сварочных материалов проводят испытания технологических проб сварных соединений всех типов и групп толщины с определением механических характеристик разрушающими методами контроля в соответствии с Приложением Н. По результатам испытаний технологических проб оформляют протокол с указанием основных и сварочных материалов, толщины проката, типа соединений, режимов сварки и механических характеристик. Протокол подписывается главным сварщиком, начальником ОТК, заведующим ЦЗЛ и утверждается главным инженером завода.

При неудовлетворительных результатах испытаний по одному или нескольким показателям свойств или образцам испытания повторяют по этим же показателям на удвоенном числе образцов. Если и при этом результаты испытаний окажутся неудовлетворительными, то режимы сварки соединений и/или сварочные материалы должны быть признаны непригодными. Причины отклонений должны быть установлены проверкой качества основного металла, флюса, сварочной проволоки, электродов, а также проверки режимов сварки с применением материалов других партий и плавок. До выяснения причин отклонений свойств сварных соединений применение проверяемой технологии сварки (сварочных материалов и режимов сварки) для изготовления мостовых конструкций должно быть приостановлено.

9.10. Технологии сварки соединений, тщательно исследованные и успешно применяемые в течение не менее 5 лет на изготовлении стальных конструкций мостов, считаются апробированными и проверяются в ходе сварки технологических проб один раз в 5 лет.

Технологии сварки соединений, которые используются заводами при изготовлении конструкций свыше 1 года до 5 лет, считаются осваиваемыми. Испытание технологических проб для них проводят один раз в год.

Опытными считаются технологии сварки соединений, по которым проведены лабораторные исследования и эти технологии предложены для внедрения в производство. Заводская проверка опытных технологий сварки проводится два раза в год.

Каждая технология сварки с применением новых сварочных материалов, марки стали, параметров разделки кромок и режимов сварки, прежде чем перейти в разряд апробированных, должна пройти разряды опытных и осваиваемых.

Перевод из одного разряда в другой оформляется актом заводской комиссии с участием представителей службы главного сварщика, ОТК и контролирующей организации.

Апробированные одним предприятием технологии выполнения сварных соединений могут использоваться в течение не менее одного года на других мостовых заводах как осваиваемые, после чего при положительных результатах переводятся в разряд апробированных.

При изготовлении конструкций железнодорожных мостов в северном исполнении Б испытания технологических проб и проката проводят перед запуском в производство каждого пролетного строения. При сварке технологических проб используют сварочные материалы, предназначенные для изготавливаемых конструкций.

9.11. В процессе контроля технического состояния сварочного оборудования и оснастки проверяют наличие и исправность измерительных приборов (амперметров и вольтметров) на сварочных автоматах, выпрямителях и аппаратных шкафах; исправность ходовой части сварочных автоматов, балластных реостатов, сварочных кабелей; возможность обеспечения оборудованием заданных параметров режима сварки.

Правильность показаний измерительных приборов, кроме предварительной проверки, оценивается не реже двух раз в месяц при помощи контрольных приборов.

При проверке технического состояния дефектоскопической аппаратуры оценивается соответствие ее основных параметров требованиям нормативно-технологической документации на неразрушающий метод контроля.

9.12. Переаттестация сварщиков со сваркой образцов проводится один раз в 2 года.

К сварке мостовых конструкций на заводе допускаются сварщики достигшие 18-летнего возраста; прошедшие теоретическое и практическое обучение; заварившие согласно требованиям Приложения Н контрольные стыковые соединения для неразрушающего контроля и механических испытаний с положительными результатами этих испытаний; получившие по результатам испытаний удостоверение на право выполнения определенных видов сварки и личное клеймо.

Сварщики, систематически допускающие брак при сборке и сварке сварных соединений, отстраняются от работы впредь до прохождения внеочередной аттестации.

9.13. Квалификация дефектоскопистов определяется наличием у них удостоверений (сертификатов) 1 и 2-го уровня квалификации на право выполнения ультразвукового или иного неразрушающего контроля сварных соединений конструкций.

Для проверки и подтверждения квалификации дефектоскопистов они должны выполнить ультразвуковой контроль на тренажерах сварных соединений и/или расшифровку рентгенограмм, предварительное заключение по которым сделано специалистом 2-3-го уровня квалификации с большим опытом непрерывной работы.

К выполнению неразрушающего контроля на заводе допускаются специалисты 1 и 2-го уровней квалификации, аттестованные в соответствии с ГОСТ 30489:EN 473. Оценку качества сварных соединений по результатам контроля проводят специалисты 2-го уровня квалификации.

Дефектоскописты, систематически выдающие неверные заключения о качестве сварных швов, отстраняются от работы впредь до получения положительной аттестации.

Пооперационный контроль

9.14. Выполнение каждой последующей операции при изготовлении стальных конструкций мостов разрешается только после осуществления контроля качества работ на предыдущей. Результаты пооперационного контроля и приемки фиксируются в сопроводительных документах (в актах-предъявках, маршрутных картах и т.п.).

Пооперационный контроль проводится ежедневно в соответствии с разработанными технологическими инструкциями (технологическими картами) контроля, определяющими этапы проведения контроля и лиц, осуществляющих контроль и приемку.

9.15. При операционном контроле проверяют соблюдение технологии изготовления деталей и элементов, режимов резки и сварки, чистоту и точность обработки деталей, соблюдение проектных размеров, подготовку и соответствие применяемых сварочных материалов заданной технологии сварки.

Контроль проводится инженерно-техническими работниками цехов и контролерами ОТК. Результаты заносят в журнал проверки утвержденной технологии и режимов сварки.

9.16. Периодически, не реже одного раза в месяц (совместно или независимо один от другого), представители службы главного сварщика, ОТК мостовой инспекции (контролирующей организации) контролируют соблюдение установленной технологии сварки. Проверяются исправность оборудования, соответствие применяемых сварочных материалов, режимов сварки и предварительного подогрева, правильность наложения слоев при заполнении разделки. Результаты проверки заносят в цеховой журнал проверки технологии и режимов сварки.

9.17. Сборку элементов под сварку контролируют мастер или контролер ОТК до начала работ. Проверяют правильность фиксирования листов (элементов) в плане, профиле и по длине; соответствие (в пределах допусков) всех размеров и формы подготовленных кромок (величину зазора, притупления, прямолинейность и пр.); величину вертикального и горизонтального смещений стыкуемых кромок, правильность обработки и чистоту свариваемых кромок.

Приемочный контроль

9.18. Сварные стыковые соединения подлежат приемке в деталях непосредственно после выполнения сварки (до сборки отправочных марок).

Качество сварных угловых, тавровых, нахлесточных соединений проверяют в процессе приемочного контроля отправочных марок.

9.19. Все швы сварных соединений подвергают всем видам контроля в объемах, предусмотренных табл. 23.

В ходе приемки сварных швов проводят визуально-измерительный контроль, ультразвуковой контроль и при необходимости уточнения данных ультразвукового контроля - рентгено- и гаммаграфический контроль, а также металлографические исследования макрошлифов на торцах соединений.

По требованию заказчика может выполняться дополнительный контроль иными неразрушающими методами (рентгено- и гаммаграфический, магнитопорошковый и др.) сверх установленных в табл. 23 объемов.

9.20. При визуально-измерительном контроле сварных швов проверяют соответствие их формы и размеров требованиям нормативно-технической документации. Его проводят мастера и контролеры ОТК цехов.

Таблица 23. Методы и объемы контроля сварных соединений

Методы контроля

Контролируемые швы сварных соединений

Объемы контроля

Визуально-измерительный контроль

Швы стыковых, угловых, тавровых и нахлесточных соединений всех элементов

100 % длины швов

Ультразвуковая дефектоскопия

Швы стыковых и тавровых соединений со сплошным проплавлением по чертежам КМ

100 % длины швов

Просвечивание проникающим излучением

Швы стыковых соединений

Участки швов, результаты проверки которых ультразвуковой дефектоскопией требуют уточнения

Металлографические исследования макрошлифов

Стыковые швы соединений в растянутых или растянуто-сжатых поясах сплошностенчатых конструкций

Каждый третий стыковой шов по указанию контролирующей организации

Отклонения размеров сечения швов от проектных не должны превышать величин, указанных в ГОСТ 8713 и ГОСТ 11533 (автоматическая и полуавтоматическая сварка под флюсом), ГОСТ 14771 и ГОСТ 23518 (дуговая сварка и защитных газах), ГОСТ 5264 и ГОСТ 11534 (ручная дуговая сварка).

Размеры угловых швов любого очертания должны соответствовать величине катетов по чертежам КМ с учетом максимально допустимого зазора между свариваемыми деталями по вышеперечисленным стандартам. Вогнутость углового шва не должна приводить к уменьшению значения расчетного катета, установленного в чертежах КМ.

Предельные отклонения размера катетов швов от номинального значения для способов сварки, применяемых при изготовлении мостовых конструкций, приведены в табл. 24.

9.21. Швы сварных соединений должны удовлетворять следующим условиям:

а) иметь гладкую или равномерно чешуйчатую поверхность с плавным переходом к основному металлу;

б) в многопроходных швах облицовочные валики должны перекрывать друг друга на 1/3 ширины, а глубина межваликовых впадин не должна превышать 0,5 мм;

Номинальный размер катета углового шва в тавровых, угловых и нахлесточных соединениях, мм

Предельные отклонения катета, мм при способе сварки

Автоматическая и полуавтоматическая под флюсом по ГОСТ 8713 и ГОСТ 11533

Полуавтоматическая в защитных газах по ГОСТ 14771 и ГОСТ 23518

Ручная по ГОСТ 5264 и ГОСТ 11534

До 5 включительно

+1

+1; -0,5

+1; -0,5

Св. 5 до 8 включительно

+2

+2; -1

+2; -1

Св. 8 до 12 включительно

+2,5

+2,5; -1,5

+2,5; -1,5

Свыше 12

+3

+3; -2

+3; -2

Допускаемая выпуклость и вогнутость углового шва

до 30 % катета, но не более 3 мм

в) все кратеры должны быть заварены;

г) не должны иметь поверхностных дефектов, перечисленных в табл. 25;

д) механическая обработка шва и околошовной зоны должна соответствовать чертежам КМ и требованиям документации на неразрушающий контроль.

При несоблюдении хотя бы одного из перечисленных требований сварные швы подлежат ремонту до проведения ультразвукового контроля и повторному визуально-измерительному контролю.

9.22. При неразрушающем контроле швов сварных соединений оценивают наличие, количество, характер и размеры внутренних дефектов по табл. 25.

Контроль качества сварных соединений ультразвуковой дефектоскопией (УЗК) следует проводить силами дефектоскопистов заводской лаборатории (подразделения) контроля качества (см. Приложение Н1) или сторонней организации в соответствии с инструкцией по ультразвуковому контролю и в объеме, предусмотренном в табл. 23.

Соединения, в которых соотношение ширины валика и толщины свариваемых листов не соответствует ГОСТ и/или не позволяет прозвучивать сечения шва акустической осью луча типовых преобразователей (искателей), следует проверять ультразвуковой дефектоскопией с применением специальных искателей или ультразвуковой дефектоскопией по типовой методике после зачистки усиления валиков шва заподлицо с основным металлом, или методами рентгено- и/или гаммаграфирования по типовым методикам.

Таблица 25. Допуски по технологическим дефектам сварных швов

Место расположения и тип дефекта

Характеристика недопустимых дефектов

1 Поверхностные

 

1.1 Трещины, непровары, несплавления, прожоги

Любого размера и ориентации

1.2 Поры и шлаковые включения

Любого размера и местоположения

1.3 Наплывы

Любого размера и местоположения

1.4 Подрезы вдоль и поперек усилия

Подрезы в стыковых швах вдоль и поперек усилия, а также в угловых швах поперек усилия глубиной до 1 мм включительно разрешается исправлять механической зачисткой без предварительной заварки.

Все подрезы глубиной более 1 мм необходимо заваривать с последующей механической обработкой.

Подрезы в угловых швах глубиной до 1 мм, расположенные вдоль усилия на ребрах жесткости, к которым не присоединяются элементы поперечной конструкции пролетного строения, допускаются без исправлений.

В сварных соединениях конструкций, перечисленных в примечании 1 к п. 4.4 и примечании 2 к п. 4.5 СНиП 2.05.03-84*, за исключением тротуарных консолей и путей катания смотровых тележек, подрезы в угловых швах глубиной до 1 мм допускаются без механической зачистки и подварки.

2 Внутренние

 

2.1 Трещины, непровары, несплавления

Любых размеров и ориентации

2.2 Скопление или цепочка пор и/или шлаковых включений

Любые, в пределах чувствительности методов неразрушающего контроля

2.3 Одиночные поры или шлаковые включения

1. Поры и шлаковые включения размером (или диаметром) более 1 мм для металла толщиной S £ 25 мм и более 0,04S для металла толщиной S > 25 мм.

2 Любые поры и/или шлаковые включения, в пределах чувствительности методов неразрушающего контроля, допустимые по размерам, при расстоянии между ними менее 45 мм.

3 Любые поры и/или шлаковые включения, в пределах чувствительности методов неразрушающего контроля, допустимые по размерам и расстоянию между ними, если общее число дефектов превышает 4 (четыре) на участке шва длиной 400 мм.

9.23. Перед ультразвуковым контролем, выполняемым дефектоскопистами, проводится повторный внешний осмотр сварного соединения для оценки качества шва и качества его подготовки к неразрушающему контролю. Швы, имеющие недопустимые наружные дефекты или некачественную подготовку, не контролируются и возвращаются на доработку.

Соединения, представляемые на контроль, должны быть обработаны в объемах, предусмотренных чертежами КМ и КМД, очищены от брызг металла, отслаивающейся окалины, краски, грязи и пыли по всей длине контролируемых участков в зонах, ширина которых оговорена в технологических картах (но не менее 200 мм).

Соединения не должны иметь поверхностных дефектов, необработанных допустимых подрезов и превышения ширины валика (размеров катетов) над установленной соответствующим стандартом, наплывов и резких перепадов, создающих отражения ультразвуковых колебаний и не позволяющих выявить дефекты.

Дополнительные требования к подготовке соединений под контроль, предъявляемые лабораторией контроля качества (ЛКК), включая повторную зачистку зоны перемещения преобразователя при неудовлетворительном для ультразвукового контроля состоянии поверхности проката, а также дополнительную зачистку заподлицо с основным металлом валика шва в корне стыкового одностороннего соединения листов толщиной менее 20 мм и усиления валиков в местах пересечения швов металла любой толщины, должны выполняться работниками цеха.

Шероховатость поверхности при механической обработке зон контроля должна быть не ниже Rz40 по ГОСТ 2789-73.

9.24. Поиск дефектов в случае превышения чувствительности поиска над чувствительностью оценки Nxo на 6 дБ следует вести по схеме поперечно-продольного и продольно-поперечного перемещения преобразователя. Для ультразвукового контроля сварных соединений применяют импульсные ультразвуковые дефектоскопы типов «Рельс-6» (УД-13УРВ1П1) и УД2-12 в комплекте с пьезопреобразователями (искателями).

Основные параметры ультразвукового контроля, способы прозвучивания, схемы и параметры сканирования приведены в Приложении Н (разделы Н2...Н6).

С целью выявления дефектов, расположенных у торцов стыковых соединений, следует дополнительно прозвучивать зону у каждого торца, постепенно поворачивая преобразователь приблизительно до угла в 45° между плоскостью торца и плоскостью падения волны.

Для обнаружения поперечных трещин в стыковых соединениях следует дополнительно прозвучивать шов с каждой из двух сторон, перемещая преобразователь вдоль валика таким образом, чтобы плоскость падения волны составляла с продольной осью шва угол 10°...40°.

9.25. Участок шва с дефектами считают негодным и подвергают ремонту, если имеет место одна из следующих ситуаций:

1. максимальная амплитуда Ngmax эхо-сигнала от дефекта больше Nхо (Ngmax > Nxo);

2. Nxo ³ Ngmax ³ Nxo - 6, но дефект обнаруживается преобразователем в положении, при котором плоскость падения волны составляет с продольной осью шва угол 10°...40°;

3. Nxo ³ Ngmax ³ Nxo - 6, но условная протяженность DLg¢, измеренная относительным способом, превышает значение DLbp¢, установленное в инструкции по контролю с учетом толщины сваренных листов, т.е. DLg¢ > DLbp¢;

4. Nxo ³ Ngmax ³ Nxo - 6, но расстояние DL, между ближайшими дефектами, меньше 45 мм, DL < 45 мм;

5. Nxo ³ Ngmax ³ Nxo - 6 и DL ³ 45 мм, но число дефектов на участке шва длиной 400 мм более четырех.

9.26. Для выполнения ремонтных работ в случае обнаружения дефектов в сварном шве составляются карты контроля с указанием местоположения дефекта по длине шва, глубины залегания и условной протяженности дефекта, а также делается запись в журнале сварочных работ и ультразвукового контроля. После исправления дефектных участков проводят повторный контроль, о результатах которого делается соответствующая запись в исполнительной документации. Заключение о качестве сварного соединения подписывается дефектоскопистом не ниже 2-го уровня квалификации по ультразвуковому контролю сварных соединений в конструкциях мостов.

9.27. При металлографическом исследовании макрошлифов на торцах сварных швов после срезки выводных планок проверяют возможные дефекты в виде непроваров, пор, шлаковых включений и трещин. На технологических пробах или контрольных образцах, кроме того, определяют коэффициент формы провара, ширину и очертание зон термического влияния, размер зерна в основном металле и металле шва, измеряют твердость различных зон сварного шва.

9.28. Швы сварных соединений не могут быть признаны годными, если по одному из использованных методов контроля или испытаниям контрольных соединений получены отрицательные результаты.

10. ИСПРАВЛЕНИЕ ДЕФЕКТОВ СВАРКИ И ПРАВКА КОНСТРУКЦИЙ

Исправление дефектных участков сварных швов

10.1. Сварные соединения, не отвечающие требованиям к их качеству, допускается исправлять. Способ исправления выбирает завод-изготовитель с учетом требований настоящего СТП. Дефектные швы могут быть исправлены путем частичного или полного их удаления с последующей переваркой.

10.2. Наплывы и недопустимое усиление швов обрабатывают, как правило, абразивным инструментом. Неполномерные швы, не заплавленные кратеры, несплавления снаружи и недопустимые подрезы подваривают с последующей зачисткой. Участки швов с недопустимым количеством пор, шлаковых включений и внутренних несплавлений полностью удаляют и заваривают вновь по технологии раздела 8 настоящего СТП.

10.3. При обнаружении трещин в шве или основном металле устанавливают их протяженность и глубину с помощью УЗД. При необходимости в начале и конце трещины засверливают отверстия диаметром 6...8 мм. Затем производят подготовку участка под заварку с V-образной или Х-образной разделкой кромок с общим углом раскрытия 60...70° с помощью:

1) армированных наждачных кругов толщиной 6...8 мм;

2) воздушно-дуговой резки угольными омедненными, графитовыми или медно-графитовыми электродами диаметром 6, 8 и 10 мм с последующей механической обработкой поверхности реза абразивным инструментом на глубину не менее 1 мм;

3) специальными электродами марок АНР-5, ОЗР-1, ОЗР-2 диаметром 3...5 мм с последующей зачисткой от шлака и грата.

Участки шва с трещиной, если не было засверливания отверстий в ее начале и конце, следует удалять с захватом основного (качественного) металла по 50 мм в каждую сторону.

Аналогично готовят под ремонтную сварку участки швов с недопустимым количеством пор, шлаковых включений и несплавлений.

10.4. Подготовленные к ремонту дефектные участки необходимо заваривать, как правило, тем способом сварки, который предусмотрен для выполнения данного шва. Короткие участки длиной до 1 м с внутренними дефектами, а также участки любой протяженности с внешними дефектами в виде подрезов, шлаковых включений, несплавлений и др. допускается исправлять ручной дуговой сваркой электродами диаметром 3...4 мм или полуавтоматической сваркой в защитном газе проволокой Св-08Г2С диаметром 1 или 2 мм. Внутренние дефекты устраняют с разделкой дефектного участка, внешние - без разделки или с частичной разделкой армированными наждачными кругами, например, несплавления по кромкам.

10.5. Исправление дефектного участка допускается не более двух раз. Исправление более двух раз может быть допущено в порядке исключения после установления причин возникновения данного дефекта и согласования с мостовой инспекцией или другой контролирующей организацией.

Правка конструкций, деформированных при сборке и сварке

10.6. Остаточные после сварки деформации грибовидности и перекоса полок в элементах двутаврового, таврового и Н-образного сечений, в том числе конструкций, эксплуатируемых в северном исполнении, из сталей с пределом текучести до 400 МПа включительно, если указанные деформации превышают величины, приведенные в табл. 27, допускается устранять холодной механической правкой на специальных машинах для правки грибовидности (пресс-вальцах) при соблюдении п. 5.1.

10.7. Любые виды остаточных деформаций, превышающих допустимые, в перечисленных выше элементах, а также в коробчатых конструкциях, ортотропных плитах и других элементах мостов допускается исправлять термической и термомеханической правкой.

Этими же способами можно править случайно деформированные в процессе изготовления конструкции, если деформации их не превышают предельных (допускаемых для правки) величин в соответствии с п. 5.1...5.3 и табл. А2 Приложения А, при этом на деталях не должно быть трещин и повреждений поверхности (вмятин).

При термической и термомеханической правке сварных отправочных марок необходимо соблюдать общие положения и правила, изложенные в п. 5.4...5.8 настоящего СТП.

10.8. Термомеханическую правку сложных форм деформаций с приложением статических усилий пригрузом домкратами, распорками или стяжками надлежит вести при температуре зон нагрева в пределах 650...700 °С. Остывание металла ниже 600 °С при этом не допускается.

10.9. Термическую правку грибовидности и перекоса полок элементов двутаврового, таврового и Н-образного сечений, а также ребристых и ортотропных плит рекомендуется выполнять посредством нагрева газопламенными горелками зон металла, указанных на рис. 20, а.

10.10. Для термической и термомеханической правки ромбовидности и винтообразности коробчатых элементов нагревают зоны, показанные на рис. 20, б, в, с приложением усилий N по короткой диагонали коробки.

10.11. Продольный прогиб (выгиб, саблевидность) элементов таврового, двутаврового, Н-образного и коробчатого сечений следует править термическим или термомеханическим способами с нагревом зон определенной формы с выпуклой стороны элемента (см. рис. 20,г). Механические усилия к элементам в процессе правки прикладывают, как правило, в виде рассредоточенных пригрузов.

10.12. Выпучивание стенок (см. рис. 20,д) балочных и коробчатых пролетных строений с ребрами жесткости ("хлопуны") правят термическим и термомеханическим способами в последнюю очередь, после завершения правки остаточных деформаций других видов. При термической правке стенку нагревают с выпуклой стороны. При термомеханической правке на выпуклую сторону устанавливают пригруз (плиту с ровной контактной поверхностью), а нагрев ведут с вогнутой стороны.

Рис. 20. Схемы термической и термомеханической правки конструкций, деформированных при сварке:

а - грибовидности и перекоса полок; б - ромбовидности; в - винтообразности; г - выгиба тавра и двутавра; д - выпучивания стенки (хлопунов); Н - зоны нагрева; D - деформация; f - стрела выгиба.

10.13. Интенсивность нагрева указанных на рис. 20 зон должна быть максимально возможной по технологическим условиям.

Рекомендуется использовать одновременно несколько горелок. Лист толщиной более 20 мм следует нагревать одновременно с двух сторон (при наличии доступа к противоположной стороне).

О результатах правки можно судить только после полного остывания зон нагрева. Если деформации остаются за пределами допусков, намечают новые зоны нагрева. Одну и ту же зону нагревать более двух раз не допускается. Если после допустимого числа правок фактические деформации превышают размеры предельных отклонений, то конструкции должны быть забракованы. В отдельных случаях допускается по согласованию с проектной организацией усиление выправляемых участков или их замена.

10.14. Для снятия внутренних напряжений и предотвращения трещинообразования в зонах сосредоточения сварных швов допускается вести высокий отпуск конструкций нагревом указанных зон газовыми горелками до температуры металла 600...680 °С (цвет вишневого или вишнево-красного каления; приложение Б, табл. Б2). Нагрев ведут от середины к краям намеченной зоны не менее чем двумя горелками. Прогрев должен быть на всю толщину проката, о чем свидетельствует стабильность цвета нагреваемой зоны в течение 0,5...1 мин. Выдержка при температуре 600...680 °С не регламентируется, остывание - постепенное на воздухе.

11. МЕХАНИЧЕСКАЯ ОБРАБОТКА СВАРНЫХ СОЕДИНЕНИЙ*

* Данный раздел разработан взамен ВСН 188-78.

11.1. Механическую обработку сварных соединений в стальных конструкциях мостов для повышения их выносливости следует назначать в чертежах КМ в соответствии с требованиями настоящих норм. В чертежах допускаются ссылки на соответствующие пункты норм без приведения их текста.

При проектировании новых конструкций для случаев, не предусмотренных в настоящем СТП, проектная организация с участием научно-исследовательской организации разрабатывает конструктивное оформление и технологические требования к обработке зон концентрации напряжений.

11.2. Механическую обработку сварных стыковых соединений выполняют до неразрушающего контроля качества и до исправления дефектных участков швов.

11.3. Механическая обработка сварных соединений и соответствующих зон в местах изменении сечений элементов должна обеспечить получение плавных переходов от металла шва к основному металлу, а также от конца приваренной детали к основному элементу конструкции или от конца обрываемой к оставшейся части сечения сварного элемента или балки. При этом обработку следует выполнять без излишнего ослабления сечения - на минимальную глубину, необходимую для снятия поверхностного слоя металла в зоне обработки - до получения чистой блестящей поверхности (номинально на глубину до 1 мм).

Обработанная поверхность не должна иметь рисок, расположенных поперек направления усилий, действующих в элементе при его работе. Класс шероховатости должен быть не ниже 4 (Rz 20...40) по ГОСТ 2789-73. На границе зоны обработки не должно быть уступов. Заусенцы подлежат зачистке, а острые кромки притупляются радиусом или фаской 2 ± 1 мм с плавными переходами.

11.4. При обработке сварных соединений ослабление сечения по толщине проката (углубление в основной металл без подварки) поперек и вдоль усилия в элементе, как правило, не должно превышать 1 мм на металле толщиной до 25 мм и 4 % толщины - на более толстом металле.

В случае превышения допускаемой величины ослабления разрешается вести подварку с последующей зачисткой по требованиям данного СТП. Все ожоги сваркой на поверхности металла должны быть зачищены абразивным инструментом на глубину не более 1 мм.

11.5. Местные наплывы, образовавшиеся в местах перекрытия соседних участков шва при перерыве процесса сварки или исправлении дефектов, должны быть сглажены механической обработкой до образования плавных переходов от наплыва к сечению шва проектного размера и к основному металлу.

11.6. Способ, оборудование и инструмент для механической обработки сварных соединений назначает завод-изготовитель конструкций. Допускается обработка абразивными кругами различной твердости и крупности зерна, фрезами различных типов и форм и другим металлообрабатывающим инструментом.

При обработке абразивным инструментом не допускаются ожоги металла из-за сильного нажатия на инструмент и малой скорости его перемещения по обрабатываемой поверхности.

Для удаления технологических припусков и других частей свариваемых деталей, выступающих за проектный контур, допускается применение газокислородной резки, после чего должен оставаться проектный контур детали с припуском на механическую обработку не менее 2 мм.

11.7. Стыковые сварные соединения (рис. 21, 22) по геометрическим размерам швов должны соответствовать требованиям ГОСТ 8713-79, ГОСТ 11533-75 (сварка под флюсом), ГОСТ 14771-76*, ГОСТ 23518-79 (сварка в защитных газах), ГОСТ 5264-80, ГОСТ 11534-75 (ручная дуговая сварка). Если отклонения размеров швов превышают допустимые по указанным стандартам, необходима механическая обработка сварных соединений до получения стандартных размеров (кроме конструкций по п. 11.8).

Зачистку кромок листов после удаления выводных планок газокислородной резкой следует выполнять по всей длине участка, где накладывались швы, прикрепляющие эти планки. При этом углы кромок листов необходимо плавно скруглять радиусом 2 ± 1 мм.

Для удаления поверхностных дефектов с торца шва механической обработкой допускается плавно, с уклоном не более 1:20 и сопрягающим радиусом не менее 150 мм на свободных кромках углубляться в основной металл без подварки на величину DВ £ 0,02 ширины свариваемого листа, но не более чем на 8 мм с каждой стороны (рис. 21,б) и не более 12 мм с одной стороны. После обработки торцов шва углы кромок листов следует плавно скруглять радиусом 2 ± 0,5 мм (см. рис. 21,б).

Рис. 21. Схема обработки стыкового соединения листов одинаковой толщины:

а - без углубления в основной металл по кромкам; б - с углублением на 0,02 В, но не более чем на 8 мм с каждой стороны; 1 - граница шва по зоне сплавления; 2 - граница зон механической обработки; 3 - металл, удаляемый механической обработкой

В случаях, обусловленных особенностями конструкции и условиями сборки (наличие стыковых швов в пакетах листов, пересечение стыкового шва ребрами или фасонками и т.п.) или принятой технологией обработки швов, например переносными фрезерными станками, усиление шва необходимо снимать заподлицо с основным металлом. Углы кромок скругляются, как в предыдущих случаях.

При механической обработке стыковых сварных соединений листов разной толщины или разной ширины должны быть выполнены требования, указанные на рис. 22,а,б. Радиус перехода к более широкому листу должен быть не менее 150 мм. Допускается снятие усиления швов заподлицо с основным металлом.

Рис. 22. Схема обработки стыковых соединений листов разной толщины (а) и разной ширины (б):

1 - граница шва по зоне сплавления; 2 - границы зон механической обработки

11.8. Поперечные сварные стыки в растянутых и растянуто-сжатых на стадии эксплуатации деталях и элементах основных несущих конструкций железнодорожных и совмещенных мостов должны подвергаться механической обработке посредством полного снятия фрезерованием или иной механической обработкой усиления швов заподлицо с основным металлом. Это требование распространяется также на сварные поперечные стыки растянутых поясов и 40 % высоты, но не менее 200 мм от пояса растянутых зон стенок сплошно-стенчатых изгибаемых балок (рис. 23,а).

11.9. При пересечении сварных швов перед наложением шва, пересекающего (см. рис. 23,б) или примыкающего к другому шву (см. рис. 23, в, г), во избежание образования подрезов в месте пересечения необходимо обрабатывать усиление ранее наложенного стыкового шва заподлицо с основным металлом на длине l не менее 40 мм от кромки листа или оси пересекаемого шва, обеспечивая при этом постепенный переход к незачищенному участку шва радиусом r ³ 60 мм. Указанное требование обработки усиления стыкового шва относится также к пересечению его с другими элементами конструкции, например, ребрами жесткости.

Рис. 23. Схемы механической обработки сварных швов:

а - сплошностенчатых балок железнодорожных мостов; б - пересечения стыков на полотнище; в - примыкания стенки к поясу; г - Т-образного пересечения стыковых швов; 1 - граница шва; 2 - зона механической обработки; 3 - металл, удаляемый при обработке

11.10. Наружные швы угловых соединений коробчатых элементов в зонах монтажных стыков с накладками или на участках присоединения к ним фасонок ветровых связей надлежит обрабатывать заподлицо с основным металлом на длине присоединяемой детали плюс 40 мм в каждую сторону. При этом радиус плавного перехода r ³ 60 мм (рис. 24).

Рис. 24. Схема обработки усиления шва углового соединения в зоне постановки стыковых накладок:

1 - снятие усиления шва; 2 - радиус обработки (r ³ 60); L - длина полунакладки

11.11. Механическую обработку концов фасонок, привариваемых встык к кромке листа (к поясу балки, элементу фермы и т.п.), следует выполнять в соответствии с требованиями, приведенными на рис. 25. При совпадении плоскости фасонки и листа концы соответствующего шва, прикрепляющего фасонку, следует зачищать заподлицо с указанной плоскостью. Если плоскости фасонки и листа не совпадают, эта зачистка не выполняется.

11.12. В конструкциях автодорожных мостов механическую обработку концов фасонок связей, привариваемых в тавр к плоскости листа стенки, следует выполнять в соответствии с требованиями, приведенными на рис. 26.

В узлах главных ферм механическую обработку концевых участков выкружек фасонок, привариваемых в тавр, следует выполнять согласно требованиям, приведенным на рис. 27.

Технологические припуски на концах фасонок удаляют газокислородной резкой с оставлением припуска на механическую обработку не менее 2 мм.

Рис. 25. Схема обработки концов фасонок, привариваемых к кромке листа встык:

1 - технологический припуск; 2 - контур, по которому припуск удаляется газовой резкой; 3 - зона механической обработки; 4 - конец шва на плоскости листа, обработанный заподлицо; b - ширина припуска у края фасонки, b ³ 20 мм; с - расстояние от края припуска до начала плавного перехода, c ³ 15 мм; r - радиус перехода, r ³ 60 мм

Рис. 26. Схема обработки концов фасонок связей, привариваемых к плоскости листа в тавр:

1 - технологический припуск; 2 - контур, по которому припуск удаляется газокислородной резкой; 3 - зона механической обработки; r - радиус перехода, r ³ 60 мм

11.13. Механическую обработку концов горизонтальных ребер жесткости, обрываемых вблизи монтажных болтовых или комбинированных болтосварных стыков балочных и коробчатых пролетных строений, следует выполнять в соответствии с требованиями, приведенными на рис. 28.

Рис. 27. Схема обработки концевых участков фасонок, привариваемых в узлах главных ферм в тавр:

1 - технологический припуск; 2 - контур, по которому припуск удаляется газовой резкой; 3 - зона механической обработки; b - ширина припуска у края фасонки, b ³ 20 мм; с - расстояние от края припуска до начала плавного перехода, c ³ 15 мм; R - радиус выкружки фасонки, R ³ 250 мм; r - радиус перехода, r ³ 60 мм

Рис. 28. Схема обработки конца горизонтального ребра жесткости, обрываемого вблизи монтажного болтового или комбинированного болтосварного стыка балки:

1 - технологический припуск; 2 - контур, по которому припуск удаляется газовой резкой; 3 - зона механической обработки; b - ширина припуска у конца ребра, b1 ³ 100 мм, b2 ³ 20 мм; с - расстояние от края припуска до начала плавного перехода, c1 ³ 30 мм, c2 ³ 15 мм; r - радиус перехода, r ³ 60 мм

11.14. Механическую обработку концов стенок в двутавровых балках с комбинированными болтосварными стыками надлежит выполнять в соответствии с требованиями, приведенными на рис. 29.

Рис. 29. Схема обработки концевого участка стенки при обрыве ее не у торца элемента:

1 - технологический припуск; 2 - контур, по которому припуск удаляется газовой резкой; 3 - зона механической обработки; с - расстояние от края припуска до начала плавного перехода, c ³ 30 мм; r - радиус перехода, r ³ 60 мм; b - ширина припуска у конца стенки, b ³ 20 мм; R1 - радиус выкружки технологического окна, R1 ³ 75 мм; а - расстояние от кромки пояса до торца припуска, а = 50...55 мм

11.15. Механическую обработку концевых участков обрываемых полок в элементах Н-образного или двутаврового сечения, когда полки не доходят до торца элемента, следует выполнять в соответствии с требованиями, приведенными на рис. 30,а - для растянутых и рис. 30,б - для сжатых элементов. Удаление технологического припуска на концах обрываемых частей сварных элементов газокислородной резкой выполняется в соответствии с указаниями п. 11.6 настоящего СТП.

11.16. Механическую обработку косых угловых швов на конце обрываемого в пролете поясного листа сплошностенчатой балки с пакетными поясами следует выполнять в соответствии с требованиями, приведенными на рис. 31. Допустимая величина ослабления сечения листа (без подварки) вдоль границы косого шва - 1 мм при толщине листа до 20 мм и 6 % толщины на более толстом листе.

Рис. 30. Схема обработки концевых участков скосов в полках в случае обрыва полок сварного элемента Н-образного или двутаврового сечения не у торца элемента:

а - для растянутых элементов; б - для сжатых элементов; 1 - технологический припуск; 2 - контур, по которому припуск удаляется газокислородной резкой; 3 - зона механической обработки; r1 и r2 - радиусы переходов (r1 ³ 150 мм; r2 ³ 60 мм)

Рис. 31. Схема обработки косых угловых швов на конце обрываемого в пролете поясного листа сплошной балки с многолистовым поясом:

1 - граница углового шва; 2 - зона механической обработки; l - длина обрабатываемого участка шва (l ³ 100 мм); r - радиус перехода (r ³ 5 мм); h - величина ослабления сечения

При обработке косых угловых швов абразивным инструментом риски должны быть направлены вдоль усилия в элементе или вдоль косых угловых швов.

11.17. Лобовые и фланговые угловые швы в местах прикрепления ребер жесткости, диафрагм, фасонок связей, противоугонных уголков и т.п. к растянутым элементам основных несущих конструкций, выполненные полуавтоматической под флюсом или в защитных газах сваркой, а также ручной дуговой сваркой с обеспечением плавных переходов от наплавленного металла к основному допускается не подвергать механической обработке. Требования к катетам угловых швов см. в п. 4.8 настоящего СТП. Если поставленные условия при сварке не выполнены, плавные переходы от металла шва к основному металлу с радиусом не менее 15 мм должны обеспечиваться механической обработкой швов.

11.18. Контроль качества механической обработки сварных соединений мостовых конструкций выполняет ОТК завода внешним осмотром с применением в необходимых случаях эталонов, измерительного инструмента и шаблонов.

Качество обработки признается удовлетворительным, если установлены:

а) полное снятие прокатной окалины, а также окисленного поверхностного слоя в заданных зонах с шероховатостью поверхности не ниже 4-го класса (Rz 20...40) ГОСТ 2789-73;

б) плавность (с заданными радиусами) переходов от металла шва к основному металлу;

в) отсутствие на обработанной поверхности надрывов, трещин и заметных невооруженным глазом рисок поперек усилий, действующих в элементе;

г) отсутствие в зоне обработки ослаблений сечения, превышающих допустимые по п. 11.4 и 11.16;

д) отсутствие у деталей и элементов в зоне обработки острых кромок и заусенцев;

е) отсутствие на обработанной поверхности поджогов металла от абразивного инструмента;

ж) отсутствие в зоне обработки технологических дефектов сварки - трещин, несплавлений, пор, шлаковых включений, подрезов, неполного проплавления (когда оно требуется);

з) отсутствие следов приварки выводных планок и сборочных приспособлений, а также следов газовой резки, применявшейся для удаления технологических припусков, выводных планок и сборочных приспособлений.

Уменьшение размеров зон обработки и радиусов плавных переходов против указанных в настоящих нормах не допускается. Увеличение размеров зон обработки и радиусов не является браковочным признаком.

12. ПРИЕМКА ОТПРАВОЧНЫХ МАРОК

12.1. Отправочные марки и в целом стальные конструкции мостов (в комплекте с монтажными элементами) должны быть приняты ОТК завода-изготовителя и контролирующей организацией до грунтования. Очистку поверхностей и защиту конструкций от коррозии ОТК и контролирующая организация принимают дополнительно после их выполнения.

Если в процессе приемки отправочной марки в ее отдельных деталях будут обнаружены недопустимые дефекты в виде трещин в металле шва, переходящих на основной металл, трещин в основном металле, расслоений по кромкам, вопросы браковки марки целиком или замены в ней дефектных деталей должны решаться заводом-изготовителем совместно с контролирующей организацией. В необходимых случаях к решению этих вопросов привлекается проектная организация, разработавшая чертежи КМ, а также научно-исследовательский институт.

Ремонт конструкций, вызванный отступлениями от проекта, надлежит выполнять по разработанной заводом технологии, согласованной с проектным институтом и контролирующей организацией. Расслой по кромкам глубиной до 8 мм допускается удалять механической обработкой с соблюдением требований п. 5.25 и 11.7 настоящего СТП.

12.2. Отклонения действительных линейных размеров от проектных для отправляемых на монтаж сборочных марок и монтажных элементов мостовых конструкций не должны превышать величин, указанных в табл. 26, если в чертежах КМ не предусмотрены более жесткие допуски.

12.3. Отклонения от проектной геометрической формы отправочных марок не должны превышать величин, указанных в табл. 27.

12.4. Предельные отклонения размеров мостовых конструкций при общей и контрольной сборке на стеллажах следует принимать по разделу 13 настоящего СТП.

Таблица 26. Допускаемые отклонения линейных размеров заводских отправочных марок

Наименование конструктивных элементов и вид отклонения их размеров

Значения предельного отклонения, мм

1. Отклонения по длине

 

1.1. Все элементы стальных мостовых конструкций с болтовыми, фрикционными и комбинированными (фрикционно-сварными) соединениями при полной длине элемента, м:

до 9

±2

свыше 9 до 15

±2,5

свыше 15 до 21

±3

свыше 21 до 27

±3,5

свыше 27

±4

1.2. Продольные и поперечные балки проезжей части болтосварных решетчатых пролетных строений

+0; -2

1.3. Балки, коробки, ортотропные и ребристые плиты цельносварных пролетных строений (без припусков на подрезку)

+0; -4

1.4. Обрезы (расстояния от крайних монтажных отверстий до торца элемента) в поясах и стенках решетчатых и сплошно-стенчатых балочных и коробчатых болтосварных мостовых конструкций

+0; -4

1.5. Расстояния по длине балок и коробок между смежными вертикальными ребрами жесткости, к которым прикрепляются поперечные балки ортотропных и ребристых плит, и соответствующие расстояния между поперечными балками ортотропных и ребристых плит

±2

1.6. Расстояния между крайними ребрами и поперечными балками при длине балок, коробок и плит, м:

 

до 10

±2

свыше 10

±4

2. Отклонения по ширине

 

2.1. Пояса, раскосы, стойки, подвески, двутавровые связи решетчатых болтосварных ферм:

в зоне узлов и стыков для элементов, охватываемых узловыми фасонками

+0; -2

то же, для элементов, охватывающих фасонки

+2; -0

на других участках

±4

2.2. Коробчатые элементы поясов и раскосов решетчатых ферм в средней трети высоты поперечного сечения:

 

в зоне узлов и стыков

+1; -3

на других участках

±5

2.3. Пояса сплошностенчатых балочных и коробчатых конструкций, ортотропные плиты со свободными кромками (не примыкающими к другим элементам)

±4

2.4. Пояса балочных и коробчатых конструкций, ортотропные и ребристые плиты с несвободными кромками (примыкающими к другим элементам)

+0; -2

2.5. Расстояния между осями вертикальных стенок коробок:

 

в зоне стыков

±2

на других участках

±4

2.6. Расстояния между осями продольных ребер ортотропных плит:

 

в зоне стыков и пересечений с поперечными балками

±2

на других участках

±4

2.7. Расстояния между отверстиями в верхних поясах поперечных балок в местах прикрепления к ним продольных ребер таврового сечения (для коробчатых пролетных строений с балластным корытом из коррозионно-стойкой стали)

±2

Отклонения по высоте

 

3.1. Пояса и элементы решетки болтосварных ферм:

в зоне узлов и стыков при перекрытии только вертикальных листов сечений

±2

то же, при перекрытии вертикальных и горизонтальных листов сечений

+0; -2

на других участках

±4

3.2 Продольные и поперечные балки проезжей части болтосварных решетчатых пролетных строений в местах соединения при наличии накладок сверху и снизу

±1

3.3. Сплошностенчатые балочные и коробчатые конструкции мостов с болтовыми, фрикционными, сварными и болтосварными стыками:

 

в зоне стыков

±2*

на других участках

±4

3.4. Поперечные балки железнодорожных коробчатых сплошностенчатых пролетных строений с ортотропной плитой балластного корыта

±1

3.5. Высота от низа листа настила до низа пояса тавровых продольных ребер ортотропной плиты железнодорожных пролетных строений

±2

4. Отклонения по расположению монтажных отверстий

 

Расстояния между группами монтажных отверстий в отправочных марках при интервалах размеров, м:

до 2,5

±1

свыше 2,5 до 4,5

+1,5

свыше 4,5 до 9

±2

свыше 9 до 15

±2,5

свыше 15 до 21

+3

свыше 21 до 27

+3,5

свыше 27

±4

Расстояния между группами отверстий в нижних поясах цельноперевозимых пролетных строений для крепления опорных частей

±10

* при сверлении отверстий в стыках стенок и сборке балок и коробок уступы в стыке каждого из поясов не должны превышать 2 мм

Таблица 27. Допускаемые отклонения геометрической формы заводских отправочных марок

Наименование конструктивных элементов и отклонений

Значение предельного отклонения

1. Стрела выгиба оси основных элементов решетчатых ферм, балок проезжей части, главных и домкратных сплошностенчатых балок при длине элемента или его искривленной части l, м:

 

до 10 включительно

l/1000

свыше 10

10 мм

2. Плавное саблевидное искривление по продольным кромкам в плане:

 

2.1. поясов главных балок двутаврового и коробчатого сечения длиной l

l/1000, но не более 10 мм

2.2. верхних поясов L-образных балок длиной l, сечением 16´400 мм

не более 20 мм

2.3. нижних поясов L-образных балок длиной l, толщиной до 30 мм

l/1000, но не более 12 мм

2.4. то же, толщиной 32 мм и более

l/1000, но не более 8 мм

3. Стрела выгиба оси связей при длине элемента или его искривленной части l

l/750, но не более 15 мм

4. Плавный продольный выгиб в вертикальной плоскости:

 

4.1. ортотропных и ребристых плит длиной l

l/750, но не более 15 мм

4.2. нижних поясов L-образных балок длиной l, м:

 

до 10,5

l/1000

более 10,5

l/1000, но не более 15 мм

5. Плавный поперечный выгиб в вертикальной плоскости:

 

5.1. ортотропных и ребристых плит шириной b

b/500, но не более 5 мм

5.2. нижних поясов L-образных балок шириной b при толщине листа:

 

до 20 мм

b/500

25...40 мм

1,5 мм на 1 м ширины пояса

6. Отклонения кромок настильных листов ортотропных и ребристых плит в горизонтальной плоскости от проектной линии:

 

по несвободным кромкам (в стыках)

±2 мм

по свободным кромкам консольных плит

±4 мм

7. Грибовидность свободного свеса кромок ортотропных, ребристых плит и коробчатых балок при ширине свеса b:

 

в зонах болтовых монтажных стыков и установки опорных частей

b/200, но не более 1 мм

в зонах сварных стыковых монтажных соединений по длине и ширине пролетного строения

b/100, но не более 2 мм

по свободным кромкам (без примыкания к другим элементам) при условии искривления кромки в вертикальной плоскости не более 3 мм на длине 1 м

b/50, но не более 4 мм

8. Искривление (волнистость) кромок, мм на 1 м длины:

 

8.1. несвободных (в стыках) продольных кромок настильного листа ортотропных и ребристых плит в вертикальной плоскости при толщине листа:

 

до 20 мм

2 мм

свыше 20 до 40 мм

1 мм

8.2. свободных продольных кромок консольных плит в вертикальной плоскости

3 мм

8.3. продольных ребер ортотропных и ребристых плит в плане

3 мм

9. Тангенс угла отклонения плоскости продольных ребер плит от прямого угла с плоскостью настильного листа:

 

в стыках и местах пересечения с поперечными балками

0,01

на прочих участках

0,02

10. Тангенс угла отклонения от прямого угла между продольной и поперечной кромками настильного листа плиты

0,001

11. Остаточные угловые деформации в сварных стыковых соединениях (домики), определяемые стрелой прогиба на базе 400 мм при толщине S стыкуемых листов, мм:

 

до 20 включительно

0,1S

свыше 20

2 мм

12. Грибовидность стенки в цельносварном стыке с односторонним вертикальным ребром

b/100, но не более 2 мм

13. Перекос пояса относительно стенки; грибовидность пояса симметричная; грибовидность с перекосом:

13.1. В стыках, в местах сопряжения балок с другими элементами, в зонах установки опорных частей и железобетонных плит с закладными деталями

b/200, но не более 1 мм

13.2. На других участках

b/100 при D1 - D2 £ 3 мм

14. Выпучивание стенки балок и коробок при свободной высоте стенки h:

14.1. Для балок и коробок с поперечными ребрами жесткости

0,006h

14.2. Для балок без поперечных ребер жесткости

0,003h

14.3. При плавном выпучивании на конце стенки в зоне монтажных стыков на высокопрочных болтах в цельноболтовом стыке

0,02h

14.4. То же, в цельносварных и комбинированных стыках

0,006h

14.5. На свободном (не стыкуемом) торце балки или блока при наличии вертикальных (опорных) ребер

0,003h

15*. Винтообразность (деформация скручивания) D, замеряемая в элементах, уложенных на горизонтальную (базисную) плоскость, к которой прижат один конец контролируемого элемента, а второй свободно опирается на плоскость, для сечений:

коробчатых, Н-образных и L-образных

1 мм на 1 м длины элемента, но не более 10 мм

16. Несимметричность элементов двутаврового и Н-образного сечений - отклонение оси стенки от оси полки:

 

в зоне монтажного соединения

2 мм

в прочих местах при ширине полки b:

 

до 330 включительно

0,015b

свыше 330

5 мм

17. Ромбовидность сечений коробчатых элементов

 

17.1. Разность длин диагоналей в поперечном сечении коробчатых элементов пролетных строений с решетчатыми фермами:

 

в зоне монтажного соединения

4 мм

то же, при отсутствии в указанной зоне горизонтальных накладок и фасонок

6 мм

в зоне монтажного соединения для элементов ферм замкнутого коробчатого сечения (при наличии внутренних диафрагм)

2 мм

в прочих местах

12 мм

17.2. Разность длин диагоналей в поперечном сечении коробчатых балок автодорожных сварных, болтосварных пролетных строений

 

в зоне монтажного соединения

6 мм

в прочих местах

12 мм

* Допускается свободная установка контролируемого элемента на горизонтальную базисную плоскость в середине его длины (или по центру тяжести) с замером D1 и D2 по концам элемента от вертикальной линии отвесов. При этом .

13. КОНТРОЛЬНАЯ ЗАВОДСКАЯ СБОРКА

13.1. Контрольная сборка назначается для конструкций с фрикционными, болтовыми и комбинированными фрикционно-сварными стыками, монтажные отверстия в которых образованы на заводе-изготовителе на проектный диаметр с применением сверловочных кондукторов или сверлильных станков с программным управлением.

Контрольная сборка должна быть выполнена для первого и каждого десятого однотипного пролетного строения или другого вида мостовых конструкций. В пролетных строениях с идентичными главными фермами или балками допускается производить контрольную сборку одной из них.

Объем контрольной сборки назначается заводом-изготовителем, если иное не указано в проекте КМ.

В объем контрольной сборки должны входить все элементы и детали, изготовленные с применением полного комплекса кондукторов или кондукторов и программ для станков с программным управлением.

Количество поставленных полномерных пробок и болтов должно быть в пределах 5 - 30 % от числа отверстий в группе, в том числе пробок не менее 3 шт.

В болтовых и фрикционных соединениях при их контрольной заводской сборке точное совпадение отверстий обеспечивается постановкой точеных пробок номинальным диаметром на 0,2 мм меньше проектного диаметра отверстий. Длина цилиндрической части пробки должна на 10...15 мм превышать толщину собираемого пакета деталей.

13.2. Совпадение монтажных отверстий должно удовлетворять следующим требованиям:

в узлах и соединениях, определяющих их геометрическую форму и размеры конструкций, калибр диаметром на 1 мм меньше проектного диаметра отверстия должен проходить в 85 % отверстий каждой группы;

в узлах и соединениях, не определяющих геометрическую форму и размеры конструкций, калибр диаметром, равным диаметру болта с учетом плюсовых предельных отклонений, должен проходить в 100 % отверстий каждой группы.

Если указанные требования не выполнены, контрольную сборку разбирают, проверяют качество кондукторов, программ для станков с программным управлением, элементов и деталей, устраняют выявленные ошибки, в том числе в деталях и элементах, и повторно проводят контрольную сборку в необходимом объеме.

Если и при повторной сборке совпадение отверстий не обеспечено, допускается по согласованию с организацией, разработавшей проект КМ и заводской инспекцией, рассверливание части отверстий на больший диаметр. При этом должны быть разработаны монтажно-маркировочная схема и проведена дополнительная маркировка элементов и деталей, как при общей сборке конструкций.

13.3. Для индивидуальных пролетных строений, в том числе со сварными монтажными соединениями, и других конструкций мостов объем контрольной сборки устанавливают в чертежах КМ исходя из условий обеспечения проектного положения конструкции при монтаже.

13.4. Контрольная сборка должна быть принята ОТК завода-изготовителя и контролирующей организацией.

13.5. Предельные отклонения размеров при контрольной сборке на стеллажах следует принимать по табл. 28.

Таблица 28. Допускаемые отклонения размеров конструкций при контрольной заводской сборке

Наименование отклонения

Значение предельного отклонения

1. Длина каждой главной балки или фермы пролетного строения от проектной при длине L, м:

 

до 50 включительно

±10 мм

свыше 50

0,0002L

2. Расстояние между соседними узлами главных ферм и связей при расстоянии l, м:

 

до 9 включительно

0,0003l

свыше 9

±3 мм

3. Ординаты строительного подъема каждой главной фермы или балки пролетного строения от теоретических для всех автодорожных мостов и железнодорожных с ездой по безбалластному мостовому полотну при ординатах h, мм:

 

до 60 включительно

±3 мм

свыше 60

±0,05h

4. Ординаты строительного подъема ферм или балок стальных и сталежелезобетонных пролетных строений железнодорожных мостов с ездой по балласту при ординатах h, мм:

 

до 60 включительно

±6 мм

свыше 60

±0,1h

5. Линейные размеры главных балок сталежелезобетонных конструкций, мм:

 

расстояние между смежными группами отверстий для крепления блоков плит на болтах по верхним поясам

±1 мм

то же между крайними группами на длине монтажной секции (или панели)

±3 мм

то же между группами, примыкающими к монтажному стыку (или узлу)

±2 мм

смещение продольной оси группы монтажных отверстий от оси стенки

±2 мм

6. Разность длин диагоналей между смежными группами отверстий по верхним поясам

4 мм

7. Отклонение в плане оси главной балки или фермы от проектной оси при пролете L

0,0002L

8. Отклонение в плане одного из узлов от прямой, соединяющей два соседних с ним узла при длине панели l

0,001l

14. ОТГРУЗКА КОНСТРУКЦИЙ

14.1. Конструкции мостов перед отгрузкой их потребителю подлежат защите от коррозии в соответствии с указаниями стандарта предприятия СТП 001-95*, а также с учетом регламентов на конкретные системы защиты, предусмотренные проектом мостового сооружения. Эти регламенты должны разрабатываться заводами-изготовителями на основе сертификатных данных на лакокрасочные материалы (ЛКМ).

14.2. Технологический процесс защиты мостовых конструкций от коррозии на заводе-изготовителе должен включать последовательное выполнение операций по подготовке поверхностей, грунтованию их и нанесению покрывных ЛКМ в зависимости от принятой системы защиты, условий эксплуатации и степени агрессивности окружающей среды.

В чертежах КМ проектная организация указывает, как правило, способ и систему защиты от коррозии, марки ЛКМ, число наносимых слоев покрытия, цвет окрашенных конструкций, степень агрессивного воздействия среды, в которой будет эксплуатироваться мост, в соответствии со СНиП 2.03.11-85.

14.3. Отправочные марки и монтажные элементы должны быть замаркированы в соответствии с монтажно-маркировочной схемой и чертежами КМ.

Маркировочные знаки следует наносить непосредственно на отгружаемых элементах. При пакетировании плоских одноименных элементов (фасонок, накладок и т.п.) полностью маркировочные знаки следует наносить на одном наружном элементе, а на остальных ставить номер марки и металлургической плавки.

Маркировка должна содержать: название завода-изготовителя, номер заказа, марку по монтажно-маркировочной схеме, клейма ОТК и контролирующей организации, номер металлургической плавки.

Маркировку следует наносить буквенными и цифровыми клеймами с повторением несмываемой краской. На сварных отправочных марках клейма ставятся не ближе 100 мм от места наложения заводских и монтажных швов.

14.4. Транспортная маркировка (центр тяжести, места строповки, негабаритность, предупредительные надписи "сцеп не разъединять", "с горок не спускать", "при маневрах не толкать") наносится в соответствии с требованиями ГОСТ 14192-77.

14.5. Погрузка, крепление и транспортирование элементов конструкций на открытом подвижном железнодорожном составе должны осуществляться в соответствии с "Правилами перевозки грузов", "Техническими условиями погрузки и крепления грузов", утвержденными МПС, и по согласованным с отделением железной дороги схемам погрузки и крепления грузов на подвижном составе.

Схемы погрузки и крепления негабаритных грузов должны согласовываться с МПС. Перевозку конструкций на Крайний Север и в труднодоступные районы следует осуществлять в соответствии с ГОСТ 15846-79.

14.6. Погрузка, выгрузка и хранение конструкций должны выполняться способами, исключающими повреждение их и защитного покрытия. Сбрасывание конструкций при погрузке и разгрузке не допускается. При приварке транспортных планок, укосин и других крепежных деталей следует выполнять требования разд. 3 настоящего СТП. Приварка транспортных планок к свободным кромкам ортотропных и ребристых плит не допускается.

14.7. Стальные конструкции мостов должны отгружаться комплектно по заказам в соответствии с ведомостями готовых элементов и монтажно-маркировочными схемами заводов-поставщиков.

14.8. Для крепления конструкций на подвижном составе допускается приварка к ним транспортных планок, укосин и других крепежных деталей с последующей срезкой их на монтаже силами мостостроительной организации.

Места сварки и газокислородной резки должны быть зачищены абразивным инструментом с заглублением в основной металл на 0,5 мм.

Риски от наждачного круга должны быть направлены вдоль усилия, действующего в элементе.

15. ОБЕСПЕЧЕНИЕ БЕЗОПАСНОСТИ ТРУДА

15.1. При заводском изготовлении стальных конструкций мостов должны соблюдаться:

Правила устройства и безопасной эксплуатации грузоподъемных кранов;

Правила устройства и безопасной эксплуатации сосудов, работающих под давлением;

Правила устройства и безопасной эксплуатации стационарных компрессорных установок, воздухопроводов и газопроводов;

Правила техники безопасности при эксплуатации электроустановок;

Правила безопасности в газовом хозяйстве;

Правила пожарной безопасности при проведении сварочных и других огневых работ на объектах народного хозяйства;

Санитарные правила при сварке, наплавке и резке металлов;

Санитарные правила при окрасочных работах с применением ручных распылителей;

ГОСТ 12.4.011-75*. Средства защиты работающих;

ГОСТ 12.3.003-75. Работы электросварочные. Общие требования безопасности;

ГОСТ 12.1.004-76. Пожарная безопасность. Общие требования;

ГОСТ 12.3.009-76. Работы погрузо-разгрузочные. Общие требования безопасности;

ГОСТ 12.1.003-76. Шум. Общие требования безопасности;

ГОСТ 12.1.005-76. Воздух рабочей зоны. Общие санитарно-гигиенические требования;

ГОСТ 12.4.080-79. Светофильтры стеклянные для защиты глаз от вредных излучений на производстве.

15.2. На основании перечисленных в п. 16.1 действующих нормативных документов и стандартов заводы, занимающиеся изготовлением стальных конструкций, разрабатывают инструкции и стандарты предприятия, по которым ведут обучение и инструктаж рабочих безопасным методам производства работ.

15.3. При приеме рабочих на работу проводят: вводный инструктаж, первичный инструктаж на рабочем месте и обучение по программе охраны труда при профессиональной подготовке рабочих. Впоследствии проводятся текущие инструктажи при изменении условий работ или переходе на другую работу, а также периодическая проверка знаний техники безопасности не реже одного раза в год.

Все данные по проведенным инструктажам и обучению должны заноситься в соответствующие журналы.

15.4. Инженерно-технические работники, занятые производством металлоконструкций обязаны периодически, не реже одного раза в год проходить проверку знания ими правил техники безопасности и производственной санитарии с учетом характера выполняемых работ. При переходе ИТР на другую работу, а также по требованию органов государственного надзора и технической инспекции труда должна проводиться внеплановая проверка знаний техники безопасности.

15.5. Общее руководство работой всех структурных подразделений по обеспечению безопасности труда возлагается на руководителя предприятия. Непосредственно службой техники безопасности обязан руководить главный инженер предприятия.

Для ведения текущей работы на предприятии организуется отдел техники безопасности.

Приложение А

Обязательное

ПОРЯДОК И РЕЖИМЫ МЕХАНИЧЕСКОЙ ПРАВКИ СТАЛЬНОГО ЛИСТА

Надлежит соблюдать следующий порядок правки на листоправильных вальцах:

укладывают деформированный лист на подающий рольганг;

измеряют деформацию листа;

устанавливают режимы правки в соответствии с приведенной ниже таблицей и пропускают лист через листоправильную машину;

вновь измеряют деформации;

корректируют режимы правки и обратным ходом лист пропускают через правильную машину.

Таблица А1. Режимы правки листа

Толщина листа, мм

Значение величины зазора между валками с и превышение крайних валков нижнего ряда l (для сталей марок 15ХСНД и 10ХСНД)

15ХСНД (горячекатаная или нормализованная)

10ХСНД (термообработанная)

с

l

с

l

8

0,8...5,2

1,84

0...4,8

1,58

12

7,2...10,1

1,20

6,7...9,8

1,58

16

12,4...14,6

0,92

12,0...14,4

0,76

20

17,1...18,9

0,73

16,8...18,7

0,63

24

21,6...23,0

0,61

21,3...22,9

0,53

28

25,9...27,2

0,53

25,7...27,1

0,45

32

30,2...31,3

0,46

30,0...31,2

0,39

36

34,4...35,4

0,41

34,2...35,3

0,35

40

38,6...39,4

0,37

38,4...39,4

0,32

Скорость правки листов толщиной 10...20 мм и шириной 1500...2500 мм на листоправильной машине устанавливают в пределах 0,10...0,15 м/с, а листов толщиной 20...50 мм и шириной 2500...4000 мм - 0,06...0,10 м/с.

Таблица А2. Пределы допустимости гибки и правки стали в холодном состоянии

Прокат

Эскиз

Относительно оси

Правка - предельно допускаемый прогиб f, мм

Гибка - допускаемый минимальный радиус г, мм

Листовая, универсальная, полосовая, квадратная сталь

х-х

l2

400S

25S

у-у

l2

800S

-

Уголок

х-х

l2

720b1

45b1

у-у

l2

400b2

45b2

Швеллер

х-х

l2

200h

25h

у-у

l2

360b

45b

Двутавр

х-х

l2

200h

25h

у-у

l2

200b

25b

Грунтосварные профили

х-х

l2

400h

30b1

у-у

l2

400b

30b2

Труба

-

l2

400d

30d

Обозначение: l - длина отрезка элемента с прогибом одного знака.

Примечания: 1. Правку универсальной и полосовой стали нагревом выпуклой стороны пламенем газовой горелки разрешается выполнять при любой стреле саблевидности.

2. Минимальный радиус кривизны при гибке листовых деталей, воспринимающих статическую нагрузку, может быть принят равным 12,5d.

3. Формулы для определения стрелы прогиба f при правке и гибке стали действительны при длине хорды, не превышающей 1,5 р.

Приложение Б

Рекомендуемое

Таблица Б1. ОРИЕНТИРОВОЧНАЯ ЭФФЕКТИВНАЯ МОЩНОСТЬ ПЛАМЕНИ ДЛЯ ТЕРМИЧЕСКОЙ ПРАВКИ МЕТАЛЛА

Тип горючего газа

Номер наконечника

Расход кислорода, дм3

Расход горючего, дм3

Ориентировочная эффективная мощность, кВт

 

5

740...1200

680...1100

5,5

 

6

1150...1950

1050...1750

7,0...8,5

Ацетилен

7

1900...3100

1700...2800

8,5...10,0

 

8

3100...5000

2800...4500

12,0...15,0

 

9

5000...9000

4500...7000

15,0...17,0

 

5

1350...2200

400...450

10,5...11,5

Пропан

6

2200...3600

650...1050

11,5...13,0

 

7

3500…5800

1050...1700

13,0...14,0

Таблица Б2. ЦВЕТА КАЛЕНИЯ И ПОБЕЖАЛОСТИ ПРИ НАГРЕВЕ И ОХЛАЖДЕНИИ СТАЛИ

Цвета каления при нагреве (закалке)

Температура, °С

Цвета побежалости при охлаждении (отпуск)

Температура, °С

Красный в темноте

470

Соломенно-желтый

220

Темно-красный

530

Желтый

240

Темно-вишнево-красный

640

Коричнево-желтый

255

Вишнево-красный

750

Красновато-коричневый

265

Светло-вишнево-красный

840

Пурпурно-красный

275

Оранжевый

900

Фиолетовый

285

Желтый

1000

Темно-синий

295

Белый

1200

Светло-голубой

310

Температура кузнечной сварки

1400

Серый

325

Приложение В

Рекомендуемое

РЕКОМЕНДУЕМЫЕ РЕЖИМЫ ДРОБЕМЕТНОЙ ОЧИСТКИ СТАЛЬНОГО ПРОКАТА НА ПОТОЧНЫХ ЛИНИЯХ

Листовой прокат

Толщина листа, мм

6...10

12...14

16...20

25...30

32...40

45 и выше

Скорость очистки, м/мин

3,5

3,0

2,5

2,0

1,5

1,0

Сортовой прокат

Наименование проката

Уголок

Швеллер

Двутавр

Величина полки или номер проката

полка до 100 мм

полка от 100 до 200 мм

полка более 200 мм

до № 24

более № 24

до № 18

от № 18 до № 22

от № 22 до № 30

более № 30

Скорость очистки, м/мин

3,0

2,0

1,5

4,0

3,0

4,0

3,5

2,5

2,0

Допускается выполнять очистку на меньших скоростях, если этого требует режим консервации.

Приложение Г

Рекомендуемое

РЕЖИМЫ РЕЗАНИЯ ФРЕЗЕРНО-ОТРЕЗНЫМИ СТАНКАМИ СТАЛЕЙ С ВРЕМЕННЫМ СОПРОТИВЛЕНИЕМ 520...600 МПа

Диаметр пилы, мм

Диаметр или высота пропила, мм, до

Подача на 1 зуб пилы, мм/зуб до

0,05

0,1

0,15

Число зубьев

Скорость резания, мм/мин

Число оборотов в мин.

Подача, мм/мин

Скорость резания, мм/мин

Число оборотов в мин.

Подача, мм/мин

Скорость резания, мм/мин

Число оборотов в мин.

Подача, мм/мин

710

93

50

39,1

17,6

65,6

33,4

14,9

120,7

27,6

14,1

155,2

100

29,3

13,1

49,5

25,3

11,5

92,0

24,1

10,8

138,4

стойкость зубьев 960 мин

150

25,3

11,5

42,5

22,1

9,9

79,4

20,8

9,4

103,5

200

23,6

10,6

39,1

20,1

9,1

72,4

18,9

8,5

92,0

250

22,1

9,9

36,8

18,1

8,5

69,0

-

-

-

1010

120

75

32,2

10,2

47,1

27,6

8,7

88,6

26,4

8,3

113,8

100

29,3

9,2

43,7

25,3

8,1

80,5

24,1

7,5

102,3

стойкость зубьев 1200 мин

150

25,3

8,0

37,9

21,5

6,8

69,0

20,2

6,3

87,4

250

21,7

6,9

32,2

18,6

5,9

58,6

17,5

5,5

75,9

350

19,4

6,1

26,4

16,7

5,3

52,9

-

-

-

Приложение Д

Рекомендуемое

РЕКОМЕНДУЕМЫЕ РЕЖИМЫ МАШИННОЙ КИСЛОРОДНОЙ РЕЗКИ НИЗКОЛЕГИРОВАННОЙ СТАЛИ

Параметры режима резки

Способ резки

Значения параметров режима при толщине металла, мм:

10

16

20

25

32

40

Скорость резки, мм/мин

Обычн.

460

350

320

300

280

260

Смыв-процесс

1100

820

660

510

460

370

С кислор. завесой

320...280

320...280

300...260

Давление кислорода, МПа (кгс/см2)

Обычн.

0,4(4)

0,5(5)

0,5(5)

0,5(5)

0,55(5,5)

0,6(6)

Смыв-процесс

0,6(6)

0,7(7)

0,8(8)

0,8(8)

0,8(8)

0,9(9)

С кислор. завесой

0,6(6)

0,7(7)

0,7(7)

0,7...0,8 (7...8)

0,8(8)

0,9(9)

Давление кислорода завесы, МПа (кгс/см2)

То же

0,04…0,06 (0,4...0,6)

0,04...0,08 (0,4...0,8)

0,04...0,08 (0,4...0,8)

Давление ацетилена или газозаменителя, МПа (кгс/см2)

Обычн.

Не менее 0,04 (0,4)

Смыв-процесс

Не менее 0,08 (0,8)

С кислор завесой

Не менее 0,04 (0,4)

Расход кислорода режущего, подогревающего и завесы, м3

Обычн.

3,3...3,5

3,8…4

4,9...5,1

5,1...5,3

5,4...5,3

6,4…6,6

Смыв-процесс

14

14,5

15

15,5

16

17

С кислор. завесой

7...8

7...9

9...11

Расход ацетилена, м3

Обычн.

0,4...0,5

Смыв-процесс

0,9...1,2

С кислор. завесой

0,3...0,4

0,3...0,5

0,3...0,5

Расход газозаменителя ацетилена, м3

Обычн.

0,15...0,3

Смыв-процесс

0,5...0,7

С кислор. завесой

0,15...0,3

Номер внутреннего мундштука

Обычн.

1

1

1

1

2

2

С кислор. завесой

1

1

2

2

3

3

Номер наружного мундштука

Обычн.

1

1

1

1

1

1

Расстояние от мундштука до листа, мм

Обычн.

4

4

4

4...5

5

5

С кислор. завесой

10...12

Ширина реза, мм

Обычн.

3

3

4

4

4

4...5

Смыв-процесс

8...9

С кислор. завесой

4

4

4...5

4...5

5

5...6

Примечания: 1. Режимы даны для чистоты кислорода 99,5 % (2-й сорт по ГОСТ 5583-78). При использовании кислорода 1-го сорта скорость резки повышается на 25 %; 3-го сорта - понижается на 10 %.

2. При резке малоуглеродистых сталей допускается повышать скорость резки на 5...10 %.

3. Способ "смыв-процесс" применим только для прямолинейной разделительной резки.

Приложение Е

РЕКОМЕНДУЕМЫЕ РЕЖИМЫ МАШИННОЙ ПЛАЗМЕННО-ДУГОВОЙ РЕЗКИ МАЛОУГЛЕРОДИСТЫХ И НИЗКОЛЕГИРОВАННЫХ СТАЛЕЙ

Параметры режима резки

Значения параметров режима при толщине металла, мм

8

10

12

14

16

20

25

32

Сила тока, А

 

 

270-310

 

 

 

 

Напряжение дуги В:

 

 

 

 

 

 

при кислородно-плазменной резке

115-120

120-125

125-130

130-135

135-140

145-150

при воздушно-плазменной

140-145

145-150

150-155

155-160

165-170

170-175

180-185

Скорость резки, мм/мин:

 

 

 

 

 

 

 

 

кислородно-плазменной

2800-3200

2400-2700

2000-2200

1700-1900

1500-1700

1100-1300

1000-1200

600-700

воздушно-плазменной

2600-3000

2200-2500

1800-2200

1600-1800

1400-1600

1000-1200

800-1000

600-700

Ширина реза по нижней плоскости листа, мм

2,5-3

Расстояние от резака до разрезаемого листа, мм

10-12

Расход кислорода или воздуха, м3/ч:

 

на зажигание

0,9-1,2

на резку

4,2-5,4

Примечания: 1. Режимы резки листов промежуточных толщин определяются интерполяцией.

2. Плазменно-дуговая резка должна производиться на постоянном токе прямой полярности (минус на электроде).

Приложение Ж

Рекомендуемое

РЕЖИМЫ СТРОГАНИЯ, ФРЕЗЕРОВАНИЯ И СВЕРЛЕНИЯ СТАЛЕЙ

Строжку и фрезерование деталей мостовых конструкций надлежит выполнять на кромкострогальных и кромкофрезерных, продольно-строгальных и поперечно-строгальных, карусельных, универсальных сверлильно-фрезерных станках.

Столы и другие вспомогательные устройства к станкам должны обеспечивать возможность быстрой и точной установки детали и ее надежного крепления.

При выполнении работ по строганию и фрезерованию необходимо обеспечить жесткость системы: станок - приспособление - инструмент - деталь.

Резцы и, в особенности, сборные торцевые фрезы должны быть принятых ОТК завода-изготовителя конструкций. Параметры строгальных резцов приведены в табл. Ж1.

Режимы резания при фрезеровании кромок листовых деталей из стали с временным сопротивлением 600...800 МПа на двухсторонних станках торцевыми фрезами диаметром 250 мм с 16 зубьями из пластин твердого сплава при стойкости фрезы 300 мин. приведены в табл. Ж2.

Режимы и приемы строжки на кромкострогальных станках приведены в табл. Ж3.

РЕЖИМЫ СВЕРЛЕНИЯ

Станки для образования отверстий следует оборудовать вспомогательными устройствами - столами, стеллажами, пакетировщиками и т.п., обеспечивающими быструю ориентацию и надежное закрепление деталей.

Рабочий инструмент - сверла, должны обеспечивать возможность сверления отверстий во всех применяемых для мостостроения сталях и обладать достаточной износостойкостью. Для уменьшения усилия резания и повышения стойкости инструмента следует применять смазочно-охлаждающие жидкости.

Таблица Ж1. Параметры строгальных резцов

Форма заточки, обозначение

Сечение резца

Строгальные резцы из быстрорежущей стали

В

Н

Заточка и доводка передней поверхности

a

g

gф

f

R

b

h

Радиусная с фаской Iб

25

40

 

 

 

0,5

 

 

 

30

45

6...8

20

0

0,8

35

10

0,4

40

60

 

 

 

1,0

 

 

 

Криволинейная с фаской IIб

25

40

 

 

 

0,5

 

 

 

30

45

6...8

20

5

0,8

30

9

0,4

40

60

 

 

 

1,0

 

 

 

Радиусная с фаской IIIб

25

40

 

 

 

0,4

 

 

 

30

45

6…8

5

0

0,5

30

9

0,4

40

60

 

 

 

0,8

 

 

 

С пластинками из твердого сплава

Радиусная с фаской Iт

25

40

 

 

 

0,5

 

 

 

30

46

3...4

15

0

0,8

15

8

1...1,2

30

60

 

 

 

1,0

 

 

 

Плоская с отрицательной фаской IIт

25

40

 

 

 

1,0

 

 

 

30

46

6

10

5

1,2

 

 

 

40

60

 

 

 

1,3

 

 

 

Таблица Ж2. Режимы резания и фрезерования (обработка черновая)

Толщина пакета, мм

Эскиз установки фрезы

Глубина резания, мм

Продольное перемещение фрезы, мм/мин

Скорость вращения фрезы, об/мин

20...60

4...5

830

160

6…7

580

160

1...2

400

200

60...100

4...5

580

160

6...7

580

200

1...2

400

200

100...160

4...5

580

160

6…7

400

200

1...2

400

200

160...200

4…5

400

160

6...7

400

200

1...2

400

200

Разделка кромок

6…8

580

200

8...10

400

200


Таблица Ж3. Режимы строгания

Обрабатываемый материал

Способ и приемы строжки

Режущий инструмент

Вид строжки

Стружка

Скорость резания, м/мин

Обрабатываемый материал s, МПа

Режущий инструмент

Вид строжки

Стружка

Скорость резания, м/мин

s, МПа

Толщина заготовки или пакета, мм

материал

форма заточки

толщина S, мм

ширина h, мм

материал

форма заточки

толщина S, мм

шири на h, мм

350...550

Р9

Iб

черновая

1,7

16

14...28

550...1000

ТТ7К12

черновая

1,4

16

14…28

 

 

 

Т5К10

Р18

 

 

 

 

ВК8

чистовая

0,3

18

чистовая

0,3

16

350…550

Р9

IIб

черновая

1,4

25

14...28

550...1000

ТТ7К12

черновая

1,0

25

14…28

Р18

 

 

 

 

ВК8

Iт

чистовая

0,3

40

 

 

Т5К10

 

чистовая

0,3

40

После кислородной резки

Р9

Iб

черновая

0,8

£25

14…28

После кислородной резки

ТТ7К12

черновая

0,8

£25

14...28

Р18

 

 

 

 

Т5К10

чистовая

0,3

40

чистовая

0,3

40

ТТ7К12

350...550

Р9

IIб

черновая

1,5

20

14...28

550…1000

T5K10

черновая

1,2

20

14...28

Р18

 

ВК8

1,2

£25

ТТ7К12

0,8

£25

350…550

Р9

 

черновая

1,5

16

14…28

550…1000

Т5К10

черновая

1,4

16

14…28

Р18

 

ВК8

 

чистовая

0,3

16

чистовая

0,3

16

ТТ7К12


Правильность заточки сверл должна быть проконтролирована шаблонами.

Таблица Ж4. Режимы сверления

Материал инструмента

Подача мм/об

Скорость резания, м/мин при стойкости сверла до очередной заточки 30 мин

Скорость резания, м/мин при стойкости сверла до очередной заточки 60 мин

Диаметр сверла, мм

Диаметр сверла, мм

15...20

20...25

25...30

15...20

20...25

25...30

Сталь с пределом прочности 450...520 МПа

P6M5

0,15

16,7

19,2

21,3

14,9

17,1

19,2

0,20

13,4

15,3

17,1

12,0

13,1

15,2

0,25

11,4

13,1

14,6

10,3

11,7

13,1

0,32

9,4

10,7

11,9

8,4

9,7

10,7

0,43

7,6

8,7

8,7

6,8

7,7

9,6

Р9К5

0,15

18,4

21,1

23,4

16,4

18,7

21,1

0,20

14,8

16,8

18,9

13,1

15,1

16,7

0,25

12,6

14,4

16,0

11,3

12,9

14,4

0,32

10,3

11,7

13,1

9,2

10,4

11,7

0,43

8,4

9,6

10,7

7,5

8,4

9,5

Р18

0,15

16,9

19,4

21,5

15,2

17,4

19,4

0,20

13,8

15,7

17,4

12,2

14,0

15,5

0,25

11,7

12,8

14,9

10,6

12,0

13,4

0,32

9,6

11,1

12,2

8,7

9,8

11,1

0,43

7,8

8,9

11,8

7,0

8,0

9,9

Сталь с пределом прочности 520...650 МПа

Р6М5

0,15

16,5

19,2

21,8

14,5

16,9

19,2

0,20

12,3

14,4

16,4

10,8

12,7

14,4

0,25

9,9

11,5

13,1

8,7

10,1

11,5

0,32

7,7

9,0

10,3

6,8

7,9

9,0

0,43

5,7

6,7

7,6

5,0

5,9

6,7

Р9К5

0,15

18,2

21,1

24,0

15,9

18,6

21,1

0,20

13,5

17,4

18,0

11,9

14,0

15,8

0,25

10,9

12,7

14,4

9,6

11,1

12,7

0,32

8,5

9,9

11,3

7,5

6,7

9,9

0,43

6,3

7,4

8,4

5,5

6,5

7,4

Р18

0,15

16,8

19,5

22,1

14,8

17,3

19,5

0,20

12,6

14,7

16,6

11,1

12,8

14,7

0,25

10,2

11,8

13,4

9,0

10,4

11,8

0,32

8,0

9,4

10,6

7,1

8,3

9,3

0,43

6,0

6,3

7,9

5,4

6,2

7,0

Приложение И

Обязательное

РЕЖИМЫ ХОЛОДНОЙ ГИБКИ СТАЛИ С ПРЕДЕЛОМ ТЕКУЧЕСТИ 400 МПА С УЧЕТОМ ПРУЖИНЕНИЯ

Радиус готового изделия, мм

Радиус изгиба при sт = 400 МПа и толщине листа, мм

10

12

14

16

20

25

32

40

500

386

400

411

420

433

444

452

461

1000

626

675

707

732

772

807

840

866

1500

814

878

931

975

1045

1110

1174

1224

2000

950

1036

1109

1171

1272

1367

1465

1544

2500

1058

1164

1254

1333

1464

1590

1721

1831

3000

1146

1269

1377

1471

1629

1785

1950

2091

3500

1220

1359

1481

1589

1773

1957

2156

2327

4000

1284

1436

1572

1693

1900

2111

2342

2544

4500

1340

1504

1651

1784

2014

2250

2512

2743

5000

1388

1564

1722

1863

2116

2375

2667

2928

Для гибки листового металла по радиусу следует применять симметричные и несимметричные трехвалковые и четырехвалковые листогибочные машины.

В машинах с симметричной схемой расположения валков передний и задний края листа после гибки остаются прямыми на длину, примерно равную половине расстояния между нижними валками, и подгибку листа в этом случае надлежит предварительно выполнить на прессах или подкладных листах.

Машины с асимметричной схемой расположения валков позволяют защемлять лист между верхним и нижним валками, что дает возможность практически без подгибки гнуть один край листа. Для подгибки второго края лист следует развернуть.

Трехвалковые листогибочные машины с регулировкой валков позволяют подгибать края листов с обеих сторон за одну установку (без разворота листа).

Листогибочные четырехвалковые машины обеспечивают качественную гибку листа с подгибкой обеих сторон за одну установку его в машину.

Приложение К

Рекомендуемое

ТИПЫ И УСЛОВНЫЕ ОБОЗНАЧЕНИЯ ШВОВ СВАРНЫХ СОЕДИНЕНИЙ в соответствии с ГОСТ 2.312-72, ГОСТ 8713-79, ГОСТ 5264-80, ГОСТ 14771-76, ГОСТ 16098-80

Условное обозначение и тип сварного соединения

Подготовка кромок

Форма и характеристика швов

Способ сварки

Обозначения на чертежах КМ и КМД

С29 стыковое

Афф - автоматическая под флюсом на флюсовой подушке

Без скоса

Двусторонний

С7 стыковое

УП (ИП) в углекислом газе (в смеси углекислого газа с аргоном) - полуавтомат

Двусторонний

Без скоса

Р - ручная

С4 стыковое

Афф (Афм) - автоматическая под флюсом на флюсовой подушке (флюсомедной подкладке)

Односторонний

Без скоса

С9 стыковое

То же

Со скосом одной кромки

Односторонний

С8; С9 стыковое

Со скосом одной кромки

УП (ИП) - в углекислом газе (в смеси защитных газов) - полуавтомат.

Односторонний без подкладки - С8 или на съемной подкладке - С9

Р - ручная

С15 стыковое

АФ - автоматическая под флюсом. УП (ИП) - в углекислом газе (в смеси защитных газов) - полуавт.

С двумя симметричными скосами одной кромки (К-образный скос)

Двусторонний

Р - ручная

С17; С18 стыковое

Афф (Афм) - автоматическая под флюсом на флюсовой подушке (флюсомедной подкладке). УП (ИП) - в углекислом газе (смеси газов) полуавт.

С V-образным скосом кромок

Односторонний

Р - ручная

С38 стыковое

Афф - автоматическая под флюсом на флюсовой подушке

С двумя симметричными скосами

Двусторонний

С25 стыковое

То же

То же

УП(ИП)- в углекислом газе (смеси газов) - полуавтомат. Р - ручная

С21 стыковое

Афф (Афмхп) - автоматическая под флюсом на флюсовой подушке (с металлохимической присадкой)

С V-образным скосом кромок

Двусторонний

С1 применительно только к ГОСТ 16098-80 стыковое

Афмхп - автоматическая под флюсом, с металлохимической присадкой на флюсомедной подкладке

Вез скоса

Односторонний

С3 применит. к ГОСТ 16098-80 стыковое

То же

Без скоса со снятием плакирующего слоя

Односторонний

У4 угловое

Все способы электродуговой сварки плавящимся электродом по ГОСТ 8713-79*; ГОСТ 14771-76

Без скоса

Односторонний

У5 угловое

Без скоса

Двусторонний

У6 угловое

* К - катет шва в мм

** условные изображения сварных швов по ГОСТ 2.312-72:

Со скосом одной кромки

Односторонний

У7 угловое

 -

Со скосом одной кромки

Двусторонний

заводской

Т3 тавровое Т3 спл (со сплошным проплавлением)

 -

монтажный

Без скоса

Двусторонний

Т6 тавровое

Со скосом одной кромки

Односторонний

Т7 тавровое

-²-

Двусторонний

Т8 тавровое

Со скосом двух кромок

Двусторонний

Н1 нахлесточное

 

Односторонний

Н2 нахлесточное

Двусторонний

Приложение Л

Рекомендуемое

ТАБЛИЦА ПЕРЕВОДА ТВЕРДОСТИ МЕТАЛЛА

По Виккерсу, Н

По Бринеллю, НВ3000

По Роквеллу, HRC

По Виккерсу, Н

По Бринеллю, НВ3000

По Роквеллу, HRC

240

240

20,3

450

425

44,5

245

245

21,2

460

434

45,3

250

250

22,1

470

443

46,1

255

255

23

480

452

46,8

260

260

23,9

490

-

47,5

265

265

24,8

500

-

48,2

270

270

25

520

-

49,6

275

275

26,4

560

-

52,0

280

280

27,2

580

-

53,1

285

285

28

600

-

54,2

290

290

28,8

620

-

55,4

295

295

29,5

640

-

56,5

300

300

30,2

660

-

57,5

310

310

31,6

680

-

58,4

320

319

33

700

-

59,3

330

328

34,2

720

-

60,2

340

336

35,3

740

-

61,1

350

344

36,3

760

-

62

360

352

37,2

780

-

62,8

370

360

38,1

800

-

63,6

380

368

38,9

820

-

64,3

390

376

39,7

840

-

65,1

400

384

40,5

860

-

65,8

410

392

41,3

880

-

66,4

420

400

42,1

900

-

67

430

408

42,9

 

 

 

440

416

43,7

 

 

 

Примечание. НВ3000 - при нагрузке 30Д2 = 30´102 = 3000 кгс » 30 кН. Число твердости по Бринеллю соответствует давлению в кгс/мм2.

Приложение М

Справочное

СРЕДСТВА ИЗМЕРЕНИЙ И КОНТРОЛЯ

1. Рулетки измерительные металлические со штриховыми шкалами ГОСТ 7502-89 1-го и 2-го классов точности.

Наименование

Типоразмер

Допускаемые отклонения действительной длины (±), мм, не более

1-й класс

2-й класс

В закрытом корпусе (РЗ)

РЗ-2

-

0,4

РЗ-5

-

1,0

РЗ-10

0,5

1,0

РЗ-20

1,0

2,0

РЗ-30

-

3,0

РЗ-50

-

5,0

На крестовине (РК)

РК-50

2,0

5,0

РК-75

-

7,5

РК-100

-

10,0

На вилке (РВ)

РВ-20

1,0

2,0

РВ-30

-

3,0

РВ-50

-

5,0

Отдельные действия:

 

 

 

Дециметровые и метровые

Все

0,2

0,3

Сантиметровые

Все

0,1

0,2

Миллиметровые

Все

0,05

0,1

2. Линейки измерительные металлические со штриховыми шкалами ГОСТ 427-75.

Длина, мм

150

300

500

1000

Допускаемые отклонения общей длины линеек и расстояния от любого штриха до начала или конца шкалы, мм

±0,1

±0,1

±0,15

±0,2

Цена деления, мм

0,5 и 1

0,5 и 1

0,5 и 1

0,5 и 1

Отклонение от номинальных значений длин отдельных сантиметровых делений, мм

±0,1

±0,1

±0,1

±0,1

То же, миллиметровых делений, мм

+0,05

+0,05

+0,05

+0,05

3. Штангенциркули ГОСТ 166-80 и штангенглубиномеры ГОСТ 162-80.

Штангенциркули

Параметр

ШЦ-1, ШЦТ-1

ШЦ-II

ШЦ-III

Значение отсчета по нониусу (один нониус), мм

0,1

0,05

0,1

0,1

Пределы измерений, мм

0...125

0...160

0...315, 0...400, 0...500,

0...200

250...630, 250...800,

0...250

320...1000, 500...1250, 500...1600, 800...2000

ШЦ-I - двусторонний с глубиномером;

ШЦТ-I - односторонний с покрытием из твердого сплава, с глубиномером;

ШЦ-II - двусторонний (рис. М1);

ШЦ-III - односторонний (рис. М2).

Рис. М1. Штангенциркуль ШЦ-II с точностью отсчета по нониусу 0,05 мм.

1 - штанга; 2 - микрометрический винт; 3 - гайка; 4 - нониус; 5 и 6 - губки нижние; 7 и 8 - губки верхние; 9 и 11 - стопорные винты; 10 - рамка; 12 - хомутик

Рис. М2. Штангенциркуль ШЦ-III с точностью отсчета по нониусу 0,10 мм:

1 - штанга; 2 - рамка; 3 - зажим рамки; 4 - нониус

4. Штангенглубиномеры (рис. М3) со значениями отсчета по нониусу 0,05 мм предназначены для измерения глубин до 400 мм. Длина основания 120 мм. Пределы измерений штангенглубиномеров ряда типоразмеров: 0...160, 0...200, 0...250, 0...315, 0...400.

Рис. М3. Штангенглубиномер:

1 - рамка; 2 - штанга; 3 - нониус

5. Штангенрейсмасы ГОСТ 164-80 применяют для измерений и разметки размеров до 2500 мм. Прибор (рис. М4) имеет значения отсчета по нониусу 0,05 и 0,1 мм, а также следующие пределы измерений, мм: 0...250, 40...400, 60...630, 100...1000, 600...1600, 1500...2500. Вылет ножек штангенрейсмаса не должен быть меньше 50, 60, 125, 160 мм.

Рис. М4. Штангенрейсмас:

1 - основание; 2 - измерительная ножка; 3 - штанга; 4 - микрометрическая подача; 5 - нониус; 6 - рамка; 7 - разметочная ножка

6. Микрометры рычажные ГОСТ 4381-68 изготовляют с верхним пределом измерений до 2000 мм и отсчетным устройством с ценой деления 0,002 и 0,01 мм.

Типы рычажных микрометров:

МР - для измерения наружных размеров до 100 мм включительно, рис. М5,а;

МРЗ - зубомерные, рис. М5,б;

МРИ - с отсчетным устройством для измерения размеров до 2000 мм, рис. М5,в.

Рис. М5. Микрометры рычажные:

1 - скоба; 2 - подвижная пятка; 3 - микрометрический винт; 4 - стопор; 5 - стебель; 6 - барабан; 7 - отсчетное устройство; 8 - теплоизоляционная накладка

7. Микрометры с ценой деления 0,01 мм ГОСТ 6507-78 изготовляет следующих типов:

МК - гладкие для измерения наружных размеров, рис. М6;

МЛ - листовые с циферблатом для измерения толщины листов и лент, рис. М7;

МТ - трубные для измерения толщины стенок труб диаметром от 8 мм и более, рис. М8;

МЗ - зубомерные для контроля длины общей нормали зубчатых колес с модулем от 1 мм, рис. М9.

Рис. М6. Микрометр типа МК:

1 - скоба; 2 - пятка; 3 - микрометрический винт; 4 - стопор; 5 - стебель; 6 - барабан; 7 - трещотка (фрикцион)

Рис. М7. Микрометр типа МЛ:

1 - скоба; 2 - пятка; 3 - микрометрический винт; 4 - стопор; 5 - стебель; 6 - барабан; 7 - трещотка (фрикцион); 8 - циферблат; 9 - стрелка

Рис. М8. Микрометр типа МТ:

1 - скоба; 2 - пятка; 3 - микрометрический винт; 4 - стопор; 5 - стебель; 6 - барабан; 7 - трещотка (фрикцион)

Рис. М9. Микрометр типа МЗ:

1 - скоба; 2 - пятка; 3 - измерительная губка; 4 - микрометрический винт; 5 - стопор; 6 - стебель; 7 - барабан; 8 - трещотка (фрикцион)

Основные параметры рычажных микрометров, мм

Тип микрометра

Пределы измерений

Отсчетное устройство

Цена деления барабана микрометра

Перемещение микрометрического винта

цена деления

диапазон показаний, не менее

МР

0...25; 25...50; 50...75; 75...100

0,002

±0,14

0,01

25

МРЗ

0...20

0,002

±0,14

0,01

20

20...45

 

 

 

25

МРИ

100...125; 125...150; 150...200; 200...250; 250...300; 300...400; 400...500

0,002

±0,1

0,01

25

300...400; 400...500; 500...600

0,01

2

0,01

25

600...700; 700...800; 800...900; 900...1000

0,01

5

0,01

25

1000...1200; 1200...1400; 1400...1600; 1600...1800; 1800...2000

0,01

10

0,01

25

8. Нутромеры микрометрические ГОСТ 10-75 предназначены для измерения диаметров отверстий и других внутренних размеров более 50 мм. Для увеличения предела измерения нутромера снимают гайку 2 (рис. М10) и вместо нее навинчивают удлинители, входящие в комплект нутромера. Диапазон измерений нутромеров по ГОСТ 10: 50...125, 125...200, 200...325, 325...500, 500...800, 800...1250, 1250...1600, 1600...2000, 2000...2500, 2500...3150, 3150...4000, 4000...5000, 5000...6000 мм. Нутромеры с верхним пределом измерения более 2500 мм должны поставляться с микрометрической головкой, оснащенной индикатором часового типа класса 0.

Основные параметры микрометров по ГОСТ 6507-78, мм

Тип

Пределы измерений

Шаг микрометрического винта, мм

Измерительное перемещение микрометрического винта, мм

Измерительное усилие, KI

МК

0...25, 25...50, 50...75, 75...100, 100...125, 125...150, 150...175, 175...200, 200...225, 225...250, 250...275, 275...300, 300...400, 400...500, 500...600

0,5

25

500...900

МЛ

0...5

1,0

5

300...700

 

0...10

 

10

 

 

0...25

 

25

 

МТ

0...25

0,5

25

300...700

МЗ

0...25, 25...50, 50...75, 75...100

0,5

25

300...700

Рис. М10. Микрометрический нутромер:

1 - измерительный наконечник; 2 - гайка; 3 - стебель; 4 - стопор; 5 - микрометрический винт; 6 - барабан; 7 - установочная гайка; 8 - измерительный наконечник

9. Глубиномеры микрометрические ГОСТ 7470-78 используют для измерения глубин глухих отверстий, пазов, высот и уступов до 150 мм (рис. М11).

10. Щупы ГОСТ 882-75 используют для определения величины зазоров с точностью до 0,01 мм. Их изготовляют длиной 100 и 200 мм и шириной 10 мм и толщиной 0,02...1 мм, классы точности 1 и 2, наборы № 1, 2, 3, 4 - для щупов длиной 100 мм. Щупы длиной 200 мм выпускают отдельными пластинами.

Рис. М11. Микрометрический глубиномер:

1 - трещотка; 2 - барабан; 3 - стебель; 4 - стопор; 5 - траверса; 6 - измерительный сменный стержень

11. Линейки поверочные ГОСТ 8026-75 изготовляют следующих типов

ЛТ - лекальные трехгранные;

ЛЧ - лекальные четырехгранные;

ШП - с широкой рабочей поверхностью прямоугольного сечения;

ШД - с широкой рабочей поверхностью двутаврового сечения.

12. Угольники поверочные 90° ГОСТ 3749-77 типов УЛ - лекальные, УЛП - лекальные плоские, УЛЦ - лекальные цилиндрические, УП - слесарные плоские, УШ - слесарные с широким основанием (рис. М12). Угольники типа УЛЦ имеют следующие размеры, мм:

Н

160

250

400

630

Д

80

100

125

160

13. Угломеры с нониусом ГОСТ 5378-66 применяют для измерения углов и бывают двух типов: УН - для измерения наружных углов от 0 до 180 и внутренних от 40 до 180° (рис. М13) с величиной отсчета по нониусу 2¢ и 5¢; УМ - для измерения только наружных углов от 0 до 180° (рис. М14) с величиной отсчета по нониусу 2¢, 5¢, 15¢. Цена деления шкалы основания угломеров должна быть 1°.

Основные размеры и классы точности поверочных линеек ГОСТ 8026-75

Тип

Эскиз

Размер, мм

Класс точности

L

В

ЛТ

200

26

0; 1

320

30

500

40

лч

200

20

0; 1

320

25

500

35

шп

250

5

0; 1; 2

400

6

630

10

шд

630

14

0; 1; 2

1000

16

1600

18

2000

18

2500

20

3000

20

4000

30

Основные размеры угольников, мм

Тип

Н

L

Тип

Н

L

УЛ; УЛП; УП; УШ

60

40

УП; УШ

400

250

100

60

 

 

160

100

 

 

УЛП; УП; УШ

250

160

УШ

630

400

 

 

1000

630

 

 

1600

1000

Рис. M12. Угольники поверочные:

Б, В - измерительные поверхности угольников; Г, Ж - опорные поверхности; Е - боковые поверхности

Рис. М13. Угломер УН:

1 - основание; 2 - нониус; 3 - стопор; 4 - сектор; 5 - линейка основания; 6 - линейка съемная; 7 - угольник; 8 - державка

Рис. М14. Угломер УМ:

1 - сектор; 2 - стопор; 3 - нониус; 4 - основание; 5 - державка; 6 - линейка подвижная; 7 - ось; 8 - угольник; 9 - линейка съемная

14. Калибры для контроля отверстий. Пробки двусторонние с неполными непроходными вставками показаны на рис. М15,а. Ими измеряют отверстия диаметром 6...50 мм.

Рис. М15. Пробка со вставками:

а - двусторонние, б - проходные; в - непроходные

Пробки проходные со вставками (рис. М15,б) применяют для контроля отверстий диаметром 50...75 мм.

Пробки непроходные с неполными вставками (рис. М15,в) применяют для контроля отверстий диаметром 50...100 мм.

Пробки с насадками двусторонние (рис. М16,а), проходные (рис. М16,б) и непроходные (рис. М16,в) изготовляют для контроля отверстий диаметром 50...100 мм.

Рис. М16. Пробки с насадками:

а - двусторонние; б - проходные; в - непроходные

15. Геодезический инструмент

Теодолиты по ГОСТ 10529-79:

теодолит точный Т-2 (ТБ-1);

теодолит технический Т-15 (Т-30).

Нивелиры по ГОСТ 10528-76:

нивелир высокоточный Н-2 (НА-1) с комплектом инвентарной рейки;

нивелир точный Н-3 (НС-4, НВ-1).

нивелир Н-3К МОП по ТУ 3-3.993-77.

Рейка базисная дальномерная.

Теодолиты и нивелиры выпускают предприятия Министерства оборонной промышленности.

16. Измерение твердости металлов

Для этой цели применяют приборы:

прибор стационарный для измерения твердости по Виккерсу ТП-7Р-1 с пределами измерения 8...1000 HV;

прибор переносной для измерения твердости по Виккерсу ТПП-2 с пределами измерения 8...1500 HV;

прибор настольный для измерения твердости по Роквеллу ТК-2М (ТК-14-250) по ТУ 25-06-227-67.

Все указанные приборы для определения твердости выпускает Ивановское производственное объединение "Точприбор".

17. Контроль шероховатости обработанных поверхностей

На рабочих местах в цехах наиболее приемлем метод контроля шероховатости сравнением обработанной поверхности со стандартным образцом шероховатости по ГОСТ 9378 или с аттестованной деталью. При этом оценку шероховатости поверхности производят визуально-осязательным методом, с помощью лупы или специального микроскопа сравнения, позволяющих одновременно наблюдать поверхности образца и детали с увеличением до 80х.

Для количественной оценки шероховатости применяют контактные щуповые приборы (профилометры и профилографы мод. 201, 252, 253).

Приложение Н

Обязательное

МЕТОДЫ И ОБЪЕМЫ ИСПЫТАНИЙ СВАРНЫХ СОЕДИНЕНИЙ. ОРГАНИЗАЦИЯ НЕРАЗРУШАЮЩЕГО КОНТРОЛЯ КАЧЕСТВА СВАРКИ

Н.1. МЕТОДЫ И ОБЪЕМЫ ИСПЫТАНИЙ КОНТРОЛЬНЫХ СВАРНЫХ СОЕДИНЕНИЙ И ТЕХНОЛОГИЧЕСКИХ ПРОБ

Н.1.1. Для проверки квалификации сварщиков, качества сварочных материалов и, при необходимости, корректировки применяемых режимов сварки заводы, изготавливающие стальные мостовые конструкции, должны проводить испытания контрольных сварных соединений и технологических проб с определением механических свойств металла шва и соединения.

Н.1.2. При испытании стыковых соединений определяют:

а) по металлу шва - предел текучести sт, временное сопротивление sв, относительное удлинение d5;

б) по сварному соединению - временное сопротивление, угол статического загиба, ударную вязкость по оси шва и по линии сплавления KCU, твердость HV.

При испытании угловых и тавровых соединений определяют твердость.

При испытании стыковых соединений двухслойной коррозионно-стойкой стали определяют:

а) по металлу шва основного слоя стали 09Г2С - предел текучести, временное сопротивление и относительное удлинение;

б) по сварному соединению - временное сопротивление, угол статического загиба на образце с поперечным швом при расположении плакирующего слоя внутри, ударную вязкость по оси шва, твердость по зонам соединения.

На макрошлифах, изготовленных для замера твердости и вырезанных из технологических проб, проверяются также обеспечение требуемого проектом проплавления соединяемых деталей, коэффициент формы провара и твердость HV.

Изготовление образцов и определение механических свойств выполняют в соответствии с ГОСТ 6996-66**.

Н.1.3. Для стыковых соединений контрольные образцы сваривают из листа толщиной 12; 16; 20; 32(40) мм.

Контрольные угловые и тавровые соединения должны изготавливаться из металла максимальных и минимальных толщин, используемых при производстве конструкций, в сочетании с такими применяемыми катетами шва, которые обеспечивают получение максимальных и минимальных скоростей охлаждения.

Н.1.4. Сварку контрольных сварных соединений и технологических проб выполняют аттестованные сварщики в присутствии руководителя сварочных работ. Соединения маркируют, контролируют внешним осмотром, а стыковые, кроме того, подвергают ультразвуковому контролю.

Н.1.5. Заготовки для образцов следует вырезать из специально изготовленных контрольных соединений, которые полностью повторяют условия сварки элементов (сочетания толщин металла, подготовка кромок, основные и сварочные материалы, режимы сварки).

Рекомендуется длину пластин для контрольных сварных стыковых соединений принимать равной 1000 мм, но не менее 700 мм. Ширина каждой пластины должна быть:

не менее 200 мм - при толщине металла до 20 мм;

не менее 300 мм - при толщине металла от 22 до 50 мм (см. рис. Н6).

Н.1.6. Для определения механических свойств должны изготавливаться образцы согласно ГОСТ 6996-66. По каждому виду испытаний должно быть изготовлено не менее 3 образцов, а для испытаний на ударный изгиб - по 6 образцов с надрезом по оси шва и по линии сплавления.

Н.1.7. Для испытания на статическое растяжение изготавливают:

цилиндрические образцы I и II типов (рис. Н1, табл. Н1);

плоские образцы - XII или XIII типа (рис. Н2, табл. Н2).

Рис. Н1. Образец для испытания металла шва на статическое растяжение

Таблица Н1

Размеры в мм

Тип образца

d0

К

D

h

h1

R

lо

L

L

I

3±0,1

0,03

6

4

2,0

1,0

15

18

30±1

II

6±0,1

0,03

12

10

2,5

1,5

30

36

61±1

Примечание. Здесь К - допускаемая разность наибольшего и наименьшего диаметров на длине рабочей части образца.

Таблица Н2

Размеры в мм

Толщина основного металла

Ширина рабочей части образца, b

Ширина захватной части образца, b1

Длина рабочей части образца, l

Общая длина образца, L

От 10 до 25

25±0,5

35

100

L=l+2h (XII)

Более 25 до 50

30±0,5

40

160

L=l+2h+30 (XIII)

Примечание. Длину захватной части образца h устанавливают в зависимости от конструкции испытательной машины.

Рис. Н2. Образцы для определения равнопрочности сварного соединения при растяжении:

а - XII типа; б - XIII типа

H.1.8. Для испытаний на статический изгиб с поперечным швом изготавливают образцы XXVII или XXVIII типа (рис. Н3, табл. Н3)

Рис. Н3. Образец для испытания сварного соединения на статический изгиб

Таблица Н3

Размеры в мм

Тип образца

Толщина основного металла, S

Ширина образца, b

Общая длина образца, L

Длина рабочей части образца, l

XXVII

до 50

1,5S, но не менее 10 мм

2,5D + 80

L/3

XXVIII

от 10 до 50

30

3D + 80

L/3

Примечание. Здесь D - диаметр оправки в мм.

Н.1.9. Для испытания на ударный изгиб изготавливают образцы VI или VII типа по ГОСТ 6996 (рис. Н4). Надрезы располагают по оси шва и по линии сплавления со стороны облицовочного прохода в шве, выполненном односторонней сваркой, или со стороны, заваренной последней, при двусторонней сварке.

Рис. Н4. Образцы для испытания металла шва, зоны термического влияния (в различных участках) на ударный изгиб:

а - для металла шва толщиной 10 мм и выше; б - для металла шва толщиной менее 10 мм

Заготовки для образцов со стороны расположения надреза обрабатывают фрезерованием на глубину не более 1 мм от поверхности проката.

Разметку для нанесения надреза по оси шва и по линии сплавления выполняют по макрошлифам, изготовленным на боковых гранях сечением 10´10 мм, обработанных шлифованием с чистотой поверхности не ниже Ra0,4.

Надрезы на образцах Менаже выполнять способами, обеспечивающими строгое соблюдение геометрии надреза по ГОСТ 6996-66 для автодорожных, городских и пешеходных мостов. Для железнодорожных и совмещенных мостов надрезы выполняют специальными дисковыми фрезами.

При разметке и выполнении надреза по линии сплавления необходимо, чтобы основание надреза упиралось в линию сплавления шва с основным металлом на глубине 2 мм от верхней плоскости образца на обеих его боковых гранях. Образцы, не удовлетворяющие данному требованию, к испытаниям не допускаются.

Разметку надрезов и контроль их выполнения должен осуществлять квалифицированный инженер ЦЗЛ, прошедший специальное обучение.

Н.1.10. Для изготовления макрошлифов и замеров твердости металла сварного соединения вырезают темплеты, включающие металл шва, околошовную зону и основной металл (рис. Н5).

Рис. Н5. Образцы для определения твердости сварного соединения

Н.1.11. Схема вырезки образцов из заготовок сварных контрольных соединений приведена на рис. Н6. При вырезке образцов из сварных заготовок механическим способом и их обработке нагрев испытуемой части образца не должен превышать 100 °С.

Рис. Н6. Схема вырезки образцов из стыкового соединения:

1 - ударные; 2 - макрошлифы; 3 - цилиндрические; 4 - плоско-разрывные; 5 - гибовые

При вырезке образцов газорезкой необходимо предусмотреть припуски, исключающие влияние теплового воздействия на металл шва и околошовной зоны.

Усиление шва в плоских образцах должно сниматься заподлицо с основным металлом механическим способом в направлении поперек шва.

Н.1.12. Перед испытанием все образцы должны быть тщательно осмотрены, замерены, замаркированы. На образцах не должно быть видимых дефектов сварки (пор, шлаковых включений, непроваров, подрезов, трещин), грубых рисок от обработки, выводящих образец за указанный класс чистоты поверхности, перекоса головок, изгиба, неправильного расположения надреза и отступлений по размерам. Образцы с указанными дефектами бракуются и заменяются новыми.

Н.1.13. Проведение испытаний на растяжение, статический и ударный изгиб, точность измерения образцов, соблюдение требований к испытательным машинам, обмер образцов после испытаний, подсчет результатов испытаний и определение механических характеристик должны соответствовать:

а) при испытании на статическое растяжение при нормальной температуре - ГОСТ 1497-84;

б) при испытании на статический изгиб - ГОСТ 14019-80 и ГОСТ 6996-66;

в) при испытаниях на ударный изгиб (ударную вязкость) - ГОСТ 9454-78.

При оценке ударной вязкости по металлу шва и по линии сплавления сварных соединений результаты испытаний считаются положительными, если значения ударной вязкости по каждому образцу получены на уровне не менее 29 Дж/см2. При этом у одного из шести образцов с надрезом по линии сплавления допускается значение ударной вязкости не менее 24 Дж/см2. Снижение ударной вязкости менее 29 Дж/см2 у образцов с надрезом по оси шва не допускается.

При невыполнения указанного условия проводятся повторные испытания на удвоенном числе образцов. При повторных испытаниях на образцах с надрезом по линии сплавления допускается значение ударной вязкости не менее 24 Дж/см2 у двух из 12 испытанных образцов. Для образцов с надрезом по оси шва снижение ударной вязкости при повторных испытаниях не допускается.

Результат повторных испытаний является окончательным.

Н.1.14. Твердость металла сварного соединения замеряют на макрошлифах, включающих металл шва, зону термического влияния и основной металл. При подготовке поверхности шлифа необходимо принимать меры против возможного изменения твердости испытуемого образца вследствие нагрева или наклепа поверхности при механической обработке.

Измерение твердости производится по Виккерсу (ГОСТ 2999-75) или по Роквеллу (ГОСТ 9013-59) на приборах, допущенных к работе госповерителем. Класс шероховатости по ГОСТ 2789-73* измеряемой поверхности макрошлифов образцов должен быть не ниже 10 (Rz 0,4...0,8) при измерении по Виккерсу и не ниже 6 (Rz 6,3...10) при измерении по Роквеллу. Сопоставление единиц твердости по Виккерсу, Роквеллу и Бринеллю приведено в Приложении Л.

Замеры твердости следует производить по схемам, представленным на рис. Н5; число точек по намеченным линиям при замерах твердости каждой зоны (шва, зоны термического влияния, включая линию сплавления, основного металла) должно быть не менее четырех.

Н.1.15. Испытания образцов сварных соединений считаются недействительными:

при разрыве образца по кернам (рискам), если при этом какая-либо характеристика по своей величине не отвечает установленным требованиям;

при разрыве образца в захватах испытательной машины или за пределами расчетной длины (при определении относительного удлинения);

при образовании двух и более мест разрыва;

при разрыве образца по дефекту;

при обнаружении ошибок в проведении испытаний или записи результатов испытаний.

В указанных случаях испытание должно быть повторено на изготовленных от той же партии образцах. Число дополнительных образцов должно соответствовать числу недействительных испытаний.

При удовлетворительных результатах испытаний (по нормативным требованиям к механическим свойствам) наличие шлаковых включений, пор в изломе образца в пределах допусков по табл. 24 не является браковочным признаком.

Наличие трещин в изломе образца при всех условиях является браковочным признаком.

При неудовлетворительных результатах испытаний по одному или нескольким показателям свойств или образцов испытания повторяют по этим же показателям на удвоенном числе образцов. Если и при этом результаты испытаний окажутся неудовлетворительными, то режимы сварки соединений или сварочные материалы должны быть признаны непригодными. Причины отклонений надлежит установить проверкой качества основного металла, флюса, сварочной проволоки, электродов, а также проверкой режимов сварки. Проверку проводят сваркой технологических проб с применением материалов других партий и плавок.

До выяснения причин отклонений свойств сварных соединений применение проверяемой технологии сварки (сварочных материалов и режимов сварки) для изготовления мостовых конструкций должно быть приостановлено.

Н.1.16. Механические свойства сварных стыковых соединений должны удовлетворять требованиям п. 8.4 настоящего СТП.

Н.1.17. В необходимых случаях проверяют химический состав металла сварных швов. Методы отбора проб для определения химического состава установлены ГОСТ 7122-75.

Проба для определения химического состава может быть взята из любой части шва на расстоянии не меньше 40 мм от начала шва и 80 мм от конца шва. Разрешается брать пробу из швов образцов, сваренных для определения механических свойств.

Перед взятием пробы поверхность металла должна быть тщательно очищена от противокоррозионных покрытий, масла, ржавчины, окалины и других загрязнений.

На шве керном намечаются границы для взятия пробы. Они должны отстоять от линии сплавления на расстоянии 2,5 - 3 мм. Для установления контура при взятии пробы торцы вырезанных швов шлифуют и протравливают.

Пробы для химического анализа (стружку) можно отбирать сверлением, строганием или фрезерованием. При этом следует пользоваться сухим и чистым инструментом, который не должен выкрошиваться. Стружка при отборе проб должна быть как можно мельче; брать ее надо в количестве 50 г.

Химический анализ металла сварных швов производится спектральным анализом по ГОСТ 22536.0-87.

Вместе с данными по химическому составу металла швов следует указывать химический состав стали, а также марки флюса и сварочной проволоки, применяемые при сварке контрольных соединений.

Н2. ОРГАНИЗАЦИЯ НЕРАЗРУШАЮЩЕГО КОНТРОЛЯ КАЧЕСТВА ШВОВ

Н.2.1. Приемочный контроль качества сварных швов неразрушающими методами контроля выполняют специалисты лаборатории контроля качества (ЛКК). Она подчиняется непосредственно главному инженеру завода и в своей деятельности должна быть независима от руководства цехов и участков, осуществляющих сборочно-сварочные работы.

Лаборатория должна быть аккредитована ЛКМ в системе Госстандарта России на право выполнения неразрушающего контроля в соответствии с требованиями к компетентности лабораторий, изложенными в ПМГ 15-96 Госстандарта России.

Н.2.2. ЛКК организуется и действует на основании «Положения о ЛКК», утвержденного главным инженером предприятия.

В «Положении о ЛКК» должны быть, в частности, оговорены:

задачи и функции ЛКК;

права, обязанности, функции, ответственность работников ЛКК;

перечень закрепленных за ЛКК методов контроля;

перечень нормативной документации, которой руководствуется ЛКК в своей деятельности;

порядок эксплуатации, поверки (калибровки) и хранения средств неразрушающего контроля и другого оборудования ЛКК;

порядок оформления результатов контроля и передачи их для выработки решений об устранении выявленных дефектов;

порядок ведения и хранения архива результатов контроля;

порядок представления ведомостей (заявок) на ультразвуковой и радиографический контроль сварных швов.

Н.2.3. Администрация завода должна выделить для ЛКК соответствующее помещение для хранения, ревизии и текущего ремонта измерительного инструмента, дефектоскопов и преобразователей, проведения подготовительных к контролю работ, оформления документации. Персоналу ЛКК должна выдаваться спецодежда.

Помещение ЛКК должно быть оборудовано:

проводкой сети переменного тока;

стабилизатором питающего напряжения;

шиной заземления;

шкафами для повседневной и рабочей одежды и обуви;

стеллажами и шкафами для размещения и хранения измерительного инструмента, аппаратуры, образцов, запасных частей, документации.

Помещение должно быть оснащено:

ультразвуковыми дефектоскопами и, при необходимости, рентгено- и гаммаграфической аппаратурой;

комплектами стандартных образцов;

вспомогательными приспособлениями для сканирования сварных соединений и измерения характеристик выявленных дефектов;

специальной справочной литературой и технической документацией;

электроизмерительной и радиотехнической аппаратурой, запасными частями и комплектующими изделиями для текущего ремонта и проверки дефектоскопов;

слесарным и радиомонтажным инструментом;

емкостями для приготовления и хранения контактирующей жидкости;

тележками для установки и транспортировки дефектоскопической аппаратуры;

канцелярскими принадлежностями;

обтирочным материалом и контактирующими жидкостями.

Н.2.4. Необходимое в ЛКК число дефектоскопов обуславливается количеством бригад, функционирующих в ЛКК, и выбирается по табл. Н4.

Таблица Н4

Число бригад

1

2

3

4

5

Число дефектоскопов

2

3

5

6

8

При наличии в подразделении более пяти дефектоскопов рекомендуется организовать участок текущего ремонта дефектоскопов и преобразователей.

Н.2.5. При контроле в условиях завода:

температура воздуха в зоне контроля должна быть не ниже +5 °С;

вблизи места контроля не должно быть ярких источников света (работ по электросварке, резке и т.п.);

контроль не должен проводиться одновременно с работами, загрязняющими воздух и вызывающими вибрацию контролируемого соединения;

должны быть приняты меры к защите экрана дефектоскопа при работе в дневное время или при основном искусственном освещении от попадания прямого света;

при необходимости должны быть оборудованы леса и подмости, обеспечивающие удобное взаимное расположение дефектоскописта, аппаратуры и контролируемого соединения.

Требования представителей ЛКК по созданию условий, необходимых для обеспечения надежности контроля, являются обязательными для исполнения.

Н.2.6. Ультразвуковой контроль сварных соединений должен проводиться звеном из двух дефектоскопистов. Допускается выполнение контроля одним дефектоскопистом, если при этом гарантируется безопасность работы и достоверность результатов контроля.

Н.2.7. Швы, проверенные каждым звеном (дефектоскопистом) за смену, должны подвергаться выборочному инспекционному ультразвуковому контролю в объеме 5 %, но не менее одного соединения. Инспекционный контроль выполняется дефектоскопистом более высокого разряда или уровня квалификации. В случае обнаружения при инспекционном контроле неправильной оценки качества сварные швы, проверенные данным звеном (дефектоскопистом), должны быть подвергнуты этим звеном повторному контролю с выдачей новых заключений.

Н.3 СПОСОБЫ ПРОЗВУЧИВАНИЯ И ЧУВСТВИТЕЛЬНОСТИ ОЦЕНКИ ПРИ КОНТРОЛЕ СТЫКОВЫХ СОЕДИНЕНИЙ ЛИСТОВ ТОЛЩИНОЙ d = 10...20 мм

Способы прозвучивания преобразователями, выпускаемыми промышленностью (n = 15 мм)

Примечания: 1. Контролю подлежат соединения при условии, что b1 + b2 £ 4,3d - 36; при невыполнении данного условия следует применять преобразователи с меньшей стрелой n и большим углом ввода луча a.

2. Контроль ведут с двух сторон одной плоскости.

Испытательные образцы для настройки чувствительности вида

1. Изготавливается из образца контролируемого соединения

2. Изготавливается из материала контролируемого соединения

Порядок настройки чувствительности оценки, которой соответствует показание аттенюатора

:

1. Измерить амплитуду эхо-сигнала от соответствующего цилиндрического отражателя в испытательном образце |No|, отр.дБ.

2. Уменьшить показание аттенюатора на величину поправки чувствительности Кq, определяемой по таблице:

d, мм

10

12

14

16

18

20

Kq

m = 0

4

5

5

6

7

8

m = 1

8

8

9

9

9

10

3. Уменьшить показание аттенюатора на величину DN.

4. Убедиться, что мертвая зона М £ 3 мм.

Примечание. При использовании испытательного образца первого вида DN = 0, а если испытательный образец второго вида, то DN определяется по Приложению Г.

Н.4. СПОСОБЫ ПРОЗВУЧИВАНИЯ И ЧУВСТВИТЕЛЬНОСТИ ОЦЕНКИ ПРИ КОНТРОЛЕ СТЫКОВЫХ СОЕДИНЕНИЙ ЛИСТОВ d = 21...50 мм

Способы прозвучивания преобразователями, выпускаемыми промышленность (n = 15 мм)

d, мм

a1, град

a2, град

z, мм

L1

L2

L3

Условия прозвучивания

20 - 30

65±2

65±2

3

2,15d

2,15d+3

4,3d

b1 + b2 £ 4,3d - 36

30 - 50

65±2

50+2

5

2,15d

1,19d+5

2,4d

0,47b1 + 0,84b2 £ 2d - 22,5

Приложения. 1. Контролю подлежат соединения при соблюдении условия прозвучиваемости.

2. Контроль вести с двух сторон одной плоскости.

Порядок настройки чувствительности оценки, которой соответствует показание аттенюатора

:

1. Измерить амплитуду эхо-сигнала от цилиндрического отражателя на глубине 44 мм в стандартном образце ГСО-2 или ОСО-2Р |No|, дБ.

2. Определить по соответствующей SKH-диаграмме значение Kq для So = 3 мм2 и Но = 0,75d при m = 0 и Нo = 1,75d при m = 1.

3. Уменьшить показание аттенюатора на значение Kq, если величина Kq отрицательная, или увеличить показание аттенюатора на значение Kq, если величина его положительная.

4. Уменьшить показание аттенюатора на величину DN.

5. Убедиться, что мертвая зона М £ 3 мм при a = 65° ± 2° и М £ 8 мм при a = 50° + 2°.

Примечание. DN определяется по Приложению Г.

Н.5. МЕТОДИКА ОЦЕНКИ ОТНОШЕНИЯ КОЭФФИЦИЕНТОВ ПРОЗРАЧНОСТИ

Отношение DN, дБ, коэффициентов прозрачности границы призмы преобразователя - металл контролируемого соединения и границы призмы преобразователя - металл образца, может быть оценено как разность между амплитудой эхо-сигнала от двугранного угла контролируемого соединения Nс и амплитудой эхо-сигнала от двугранного угла образца No, если толщина контролируемого соединения и толщина образца не отличаются более чем на ±10 %, т.е. |DN| = |Nc - No|.

Если контролируемое соединение и стандартный образец СО-2 (или СО-3Р) имеют различную толщину, то в образце контролируемого соединения на глубине 15 или 44 мм высверливают цилиндрическое отверстие диаметром 6 мм.

При различной толщине контролируемого соединения и испытательного образца второго вида в образце контролируемого соединения высверливают цилиндрическое отверстие диаметром 2 мм на глубине, равной глубине расположения одного из отверстий в испытательном образце. Отношение DN коэффициентов прозрачности оценивают как разность амплитуд эхо-сигналов от цилиндрического отражателя, выполненного в образце контролируемого соединения Nс, и цилиндрического отражателя в стандартном или испытательном образце No, т.е. |DN| = |Nc - No|.

Измерения Nc и No выполняют не менее трех раз.

Если по каким-либо причинам нельзя оценить отношение коэффициентов прозрачности, то для поверхности проката принимают |DN| = 6 дБ.

Н.6. СПОСОБЫ ПРОЗВУЧИВАНИЯ И ЧУВСТВИТЕЛЬНОСТЬ ОЦЕНКИ ПРИ КОНТРОЛЕ КРЕСТОВЫХ И ТАВРОВЫХ СОЕДИНЕНИЙ С ПОЛНЫМ ПРОВАРОМ КОРНЯ ШВА

d = 10 - 20 мм a1 = 65°±2°, a2 = 50°±2°, L1 = К1 + 2,15d; L2 = К1 + 1,19d + 5; L3 = К1 = 2,4d.

d = 22 - 40 мм a1 = 50±2°, L1 = K1 + 1,19d.

Контроль соединения выполняют в два этапа:

этап 1 - контроль корня шва на отсутствие непровара;

этап 2 - контроль сечений, прилегающих к валику прямым и однократно отраженным лучом.

Чувствительность оценки и мертвую зону определяют в зависимости от толщины d привариваемого листа с учетом Приложений Б и В.

Примечания: 1. При d £ 20 мм следует использовать испытательный образец второго вида с расположением отражателей на глубине Н01 = 0,75d + 0,5К2; Н02 = 1,5d; Н03 = 1,75d + 0,5К2; ориентировочные значения Кд приведены в таблице

d, мм

m

10

12

14

16

18

20

|K2|

К2 = 0,5

a1 = 65°

0

6

6

8

8

8

8

aср = 65°

1

8

8

10

10

10

10

a2 = 50°

1

6

8

8

8

10

10

К2 = 0,9

a1 = 65°

0

6

8

8

8

10

10

aср = 65°

1

8

8

10

10

10

10

a2 = 50°

1

6

8

8

8

10

10

2. При d ³ 22 мм следует использовать образцы СО-2 или СО-2Р с соответствующими SKH-диаграммами; значения Кд определяют по SKH-диаграмме для S0 = 3 мм2 и Н0 = 0,75d + 0,5Кд; Н0 = 1,5d; Н0 = 1,75d = 0,5Кд в зависимости от этапа контроля и способа прозвучивания.

Приложение О

Справочное

Форма

СЕРТИФИКАТ №
на стальные конструкции по заказу №

1. Заказчик _________________________________________________________________

2. Наименование объекта _____________________________________________________

3. Дата начала изготовления __________________________________________________

4. Дата окончания изготовления _______________________________________________

5. Организация, выполнившая черт. КМ, шифр проекта, номера чертежей ____________

___________________________________________________________________________

6. Организация, выполнившая деталировочные черт. КМД, шифры и номера чертежей ___________________________________________________________________________

7. Нормы проектирования ____________________________________________________

8. Нормы на изготовление ____________________________________________________

9. Организация, утвердившая проект ___________________________________________

10. Общая масса конструкций _________________________________________________

     в том числе:

     10.1. Основные несущие конструкции ____________________________________

     10.2. Монтажные элементы соединений ___________________________________

     10.3. Высокопрочные метизы ___________________________________________

     10.4. Вспомогательные конструкции _____________________________________

     10.5. Обычные метизы _________________________________________________

11. Объем контрольной (или общей) сборки _____________________________________

12. Конструкции изготовлены из материала следующих заводов

Завод-поставщик

Марка стали

№№ сертификатов

 

 

 

 

 

 

 

 

 

 

 

 

 

 

 

 

 

 

 

 

 

 

 

 

13. Для сварки применены:

       а) сварочная проволока ___________________________________________________

       б) флюс ________________________________________________________________

       в) защитные газы ________________________________________________________

       г) электроды ____________________________________________________________

14. Сварщики испытаны согласно _____________________________________________

15. Сварные швы проверены __________________________________________________

16. Ведомость отгрузки конструкций

№№ пп

Наименование конструкции

Масса, т

Дата отгрузки

Номера вагонов

Номера заводских накладных

 

 

 

 

 

 

 

 

 

 

 

 

 

 

 

 

 

 

 

 

 

 

 

 

 

 

 

 

 

 

 

 

 

 

 

 

 

 

 

 

 

 

 

 

 

 

 

 

17. Приложения

1. Исполнительные чертежи КМД

2. Сводная ведомость сертификатов на материалы

3. Описи удостоверений сварщиков, газорезчиков и поставщиков высокопрочных болтов

4. Ведомость результатов контроля качества сварных соединений

Примечание: сертификаты на сталь, сварные и лакокрасочные материалы, а также протоколы испытаний электросварщиков хранятся на заводе.

Представитель контролирующей                                                 Начальник ОТК

организации                                                                                   завода-изготовителя

Приложение П

Справочное

Припуски при разметке деталей

Назначение припуска

Наименование, характеристика

Размер припуска, мм

Ширина реза при термической резке, замеряемая по середине толщины проката

Ручная и машинная, газокислородная и плазменно-дуговая резка при толщине стали, мм:

 

8...14

4

16...32

5

40...60

6

Фрезерование торцов

На каждый фрезеруемый торец

5

Строгание и фрезерование кромок

На каждую обрабатываемую кромку после резки на ножницах и ручной термической резки

³2

Усадка от сварки

Укорочение сварного полотнища от каждого поперечного стыкового шва при толщине стали, мм:

 

до 16

1

20...40

2

50...60

3

Укорочение сварного двутавра от четырех продольных поясных швов катетом 8 мм:

 

а) при высоте стенки до 1 м и толщине поясов до 25 мм

0,1 мм/м

б) при высоте стенки более 1 м и толщине поясов более 25 мм

0,05 мм/м

Укорочение балок от приварки пары поперечных ребер с двух сторон четырьмя угловыми швами:

 

а) при высоте стенки до 1 м и толщине поясов до 25 мм

1

б) при высоте стенки более 1 м и толщине поясов более 25 мм

0,5

 




Яндекс цитирования



   Copyright © 2007-2026,  www.tehlit.ru.

[ ѓосты, стандарты, нормативы, инструкции, правила, строительные нормы ]