//
ТехЛит.ру
- крупнейшая бесплатная электронная интернет библиотека для "технически умных" людей.
WWW.TEHLIT.RU - ТЕХНИЧЕСКАЯ ЛИТЕРАТУРА

:: Алготрейдинг::


АЛГОТРЕЙДИНГ
шаг за шагом
с нуля по урокам!

Торговые роботы на PYTHON, BackTrader,
Pandas, Pine Script для TradingView. Связка с брокерами, телеграм и легкими приложениями.


ОТРАСЛЕВОЙ ДОРОЖНЫЙ МЕТОДИЧЕСКИЙ ДОКУМЕНТ

Введены в действие

распоряжением

Минтранса России

от 31.07.2002ИС-643-р

МЕТОДИЧЕСКИЕ РЕКОМЕНДАЦИИ
ПО УСТРОЙСТВУ РУ
ЛОННО-МАСТИЧНОЙ
ГИДРОИЗОЛЯЦИИ «ПОЛИКРОВ»
НА АВТОДОРОЖНЫХ МОСТАХ

МИНИСТЕРСТВО ТРАНСПОРТА РОССИЙСКОЙ ФЕДЕРАЦИИ

ГОСУДАРСТВЕННАЯ СЛУЖБА ДОРОЖНОГО ХОЗЯЙСТВА
(РОСАВТОДОР)

Москва 2002

В «Методических рекомендациях по устройству рулонно-мастичной гидроизоляции «ПОЛИКРОВ» на автодорожных мостах» приведены технические характеристики новых материалов системы гидроизоляции «ПОЛИКРОВ» и даны указания по технологии устройства ее на металлической ортотропной и железобетонной плитах проезжей части автодорожных мостов.

ПРЕДИСЛОВИЕ

1. Отраслевые Методические рекомендации разработаны Центральным научно-исследовательским институтом транспортного строительства (ЦНИИСом) (кандидатами техн. наук А. С. Платоновым, К. М. Акимовой, инж. А. В. Кручинкиным) с участием специалистов «Поликров-ЧРЗ» (кандидатов техн. наук Ю. Г. Москалева, И. Ф. Москвичева, инж. С. Ю. Самбурова).

Внесены Государственной службой дорожного хозяйства (Росавтодором).

2. Приняты и введены в действие распоряжением Министерства транспорта Российской Федерации от «31» 07. 2002 г. № ИС-643-р.

3. Вводятся впервые.

4. Настоящие отраслевые Методические рекомендации не могут быть полностью или частично воспроизведены, тиражированы и распространены в качестве официального издания без разрешения Государственной службы дорожного хозяйства.

1. ОБЛАСТЬ ПРИМЕНЕНИЯ

1.1. Настоящие Методические рекомендации необходимо соблюдать при устройстве рулонно-мастичной гидроизоляции «Поликров» по ортотропной металлической и железобетонной плитам проезжей части автодорожных, пешеходных и совмещенных мостов, путепроводов, виадуков, эстакад, сооружаемых и эксплуатируемых в любых климатических зонах Российской Федерации.

1.2. Методические рекомендации разработаны в развитие раздела 10 СНиП 3.06.04-91 и раздела 3 СНиП 2.05.03-84* и соответствуют основным требованиям данных нормативных документов.

2. НОРМАТИВНЫЕ ССЫЛКИ

В настоящих Методических рекомендациях использованы ссылки на следующие действующие нормативные документы.

СНиП 2.05.03-84.     Мосты и трубы. Нормы проектирования.

СНиП 3.06.04-91.     Мосты и трубы. Правила производства и приемки работ.

ВСН 32-81.                Инструкция по устройству гидроизоляции конструкций мостов и труб на железных, автомобильных и городских дорогах.

СНиП 23-01-99.        Строительная климатология.

СНиП 2.03.11-85.     Защита строительных конструкций от коррозии.

СНиП 3.01.01-85*.   Организация строительного производства.

СНиП 3.04.03-85.     Защита строительных конструкций и сооружений от коррозии.

СНиП 3.06.03-85.     Автомобильные дороги. Правила производства и приемки работ.

СНиП III-4-80.          Техника безопасности в строительстве.

СТП 001-95*.            Защита металлических конструкций мостов от коррозии методом окрашивания.

ГОСТ 9128-97.         Смеси асфальтобетонные дорожные, аэродромные и асфальтобетон. Технические условия.

ГОСТ 22245-76.       Битумы нефтяные дорожные вязкие. Технические условия.

ГОСТ 19007-73.       Материалы лакокрасочные. Метод определения времени и степени высыхания.

ГОСТ 9.402-80.        Покрытия лакокрасочные. Подготовка металлических поверхностей перед окрашиванием.

ГОСТ 26589-94.       Мастики кровельные и гидроизоляционные. Методы испытаний.

ГОСТ 12.4.011-89.   ССБТ. Средства защиты работающих. Общие требования и классификация.

ГОСТ 12.4.041-89.   ССБТ. Средства индивидуальной защиты органов дыхания фильтрующие. Общие технические требования.

ГОСТ 12.4.068-79.   Средства дерматологические защитные. Классификация. Общие технологические требования.

ТУ 5774-002-11313564-96.     Материал рулонный полимерный «Поликров».

ТУ 5775-003-11313564-96.     Мастика полимерная кровельная «Поликров-М».

ТУ 5775-004-11313564-96.     Праймер (резино-битумная мастика) «Полибит».

ТУ 5775-001-11313564-96.     Полимерная защитная мастика «Поликров-Л210».

ТУ 400-24-158-89*.                 Смеси асфальтобетонные литые и литой асфальтобетон.

Методические рекомендации по содержанию мостовых сооружений на автомобильных дорогах. «Росавтодор», 1999.

3. ТЕРМИНЫ И ОПРЕДЕЛЕНИЯ

В настоящих Методических рекомендациях применяют следующие термины с соответствующими определениями.

Мостовое сооружение        - дорожное инженерное сооружение, состоящее из одного или нескольких пролетных строений и опор, предназначенное для перевода транспортного пути через препятствие (мосты, путепроводы, виадуки, эстакады, акведуки).

Ширина моста                      - расстояние между перилами в свету.

Пролетное строение            - несущая конструкция мостового сооружения, перекрывающая все пространство или часть его между двумя или несколькими опорами, воспринимающая нагрузку от элементов мостового полотна, транспортных средств и пешеходов и передающая ее на опоры.

Плита ортотропная             - плита проезжей части стального пролетного строения моста, состоящая из настильного листа и набора продольных и поперечных ребер жесткости.

Полотно мостовое               - совокупность всех элементов, расположенных на пролетном строении, предназначенных для обеспечения нормальных условий безопасности движения транспортных средств и пешеходов, а также для отвода воды с поверхности покрытия моста и в сопряжениях с подходами. Включает одежду ездового полотна, тротуары, ограждающие устройства, устройства водоотвода, обогрева, освещения, деформационные швы и сопряжения моста с подходами.

Перила моста                       - ограждающее устройство на тротуарах.

Ограждение                          - конструктивный элемент мостового полотна, устанавливаемый на границах ездового полотна, предназначенный для предотвращения съезда транспортных средств за его пределы и исправления траектории движения автомобиля при наезде на ограждение.

Ограждение барьерное      - ограждение, состоящее из металлических стоек и горизонтального бруса, профиля, трубы.

Ограждение парапетное    - ограждение, выполненное в виде железобетонной стенки различной конфигурации.

Гидроизоляция                    - элемент мостового полотна, защищающий конструкцию пролетного строения от проникания воды с проезжей части.

Гидроизоляция мастичная   - гидроизоляция, выполняемая из мастик на основе битумно-полимерных или других полимерных материалов, образующих на защищаемых поверхностях водонепроницаемое эластичное покрытие.

Мастика                                - многокомпонентная вязкая композиция, состоящая из связующего вещества и технологических добавок.

Жизнеспособность

технологическая                 - время, в течение которого мастика сохраняет способность к нанесению.

Гидроизоляция рулонная  - гидроизоляция из рулонных, как правило, самоклеящихся водонепроницаемых материалов заводского изготовления.

Гидроизоляция

рулонно-мастичная            - гидроизоляция из рулонов заводского изготовления, приклеиваемая к защищаемым поверхностям мастиками.

Адгезия                                  - сцепление приведенных в контакт разнородных твердых или жидких тел (фаз). Может быть обусловлена как межмолекулярным взаимодействием, так и химической связью. Одна из важнейших характеристик адгезии - адгезионная прочность, характеризующая удельное усилие разрушения адгезионного контакта.

Когезия                                 - сцепление частиц вещества (молекул, ионов, атомов), составляющих одну фазу.

Шов деформационный      - конструктивная часть мостового полотна, перекрывающая зазор между торцами пролетных строений над промежуточными опорами моста либо между торцом пролетного строения и шкафной стенкой устоя.

Окаймление

деформационного шва       - элементы конструкции деформационного шва, окаймляющие концы сопрягаемых конструкций, заанкеренные в них и предназначенные для восприятия с перекрывающих шов элементов и предохранения окаймляемых конструкций от разрушения при воздействии транспортных средств.

Надежность                          - свойство объекта выполнять заданные функции, сохраняя во времени значения установленных в проекте сооружения эксплуатационных показателей в заданных пределах. Надежность является основным признаком качества несущих конструкций сооружения, комплексно объединяющим такие свойства, как долговечность, безотказность, ремонтопригодность.

Долговечность                     - свойство объекта сохранять работоспособность на период до наступления предельного состояния при установленной системе технического обслуживания.

Безотказность                      - способность объекта непрерывно сохранять работоспособность в определенных условиях эксплуатации в течение некоторого времени. Безотказность включает требования обеспечения прочности, жесткости и устойчивости как всей системы, так и ее элементов.

Ремонтопригодность

сооружения                           - способность его к предупреждению, обнаружению и устранению отказов путем проведения ремонта.

Отказ                                     - событие, заключающееся в частичном или полном нарушении работоспособности отдельных элементов сооружения или его в целом.

Дефект                                   - каждое отдельное несоответствие продукции установленным требованиям. Изделие имеет дефект, если по меньшей мере один из показателей его качества или параметров вышел за предельное значение или не выполняется одно из требований нормативной документации к признакам продукции. Термин «дефект» применяется при контроле качества продукции при изготовлении.

Дефект явный                     - обнаруживаемый визуально или специальными приборами и средствами измерений, предусмотренными в нормативной документации и обязательными для контроля качества данной продукции.

Дефект скрытый                 - дефект, для выявления которого в нормативной документации, обязательной для данного вида контроля, не предусмотрены соответствующие правила, методы и средства.

Неисправность                     - состояние объекта, при котором он не соответствует хотя бы одному из требований нормативно-технической и(или) конструкторской документации. Находясь в неисправном состоянии, изделие может иметь один или несколько дефектов.

4. КОНСТРУКЦИЯ ГИДРОИЗОЛЯЦИИ «ПОЛИКРОВ» В СОСТАВЕ МОСТОВОГО ПОЛОТНА. ДЕТАЛИ КОНСТРУКЦИИ

4.1. Система гидроизоляции «Поликров» используется как конструктивный элемент мостового полотна, в состав которого входят:

одежда ездового полотна, включающая систему гидроизоляции «Поликров», защитный слой по ней и рабочее покрытие;

тротуары с гидроизоляцией и покрытием;

перила, барьерные (или парапетные) ограждения проезжей части;

водоотводные устройства (трубки, лотки, дренажи и дренажные перфорированные трубки, слезники, козырьки);

деформационные швы;

опоры освещения;

переходные плиты с выведенной на них гидроизоляцией и дренажами за ними.

4.2. К конструкции, устройству и эксплуатации гидроизоляции «Поликров» и в целом мостового полотна предъявляются следующие требования:

обеспечение безопасного пропуска транспортных средств с заданной для дороги скоростью без каких-либо ограничений;

надежная защита несущих конструкций моста от механических повреждений и коррозионных воздействий агрессивных сред в виде водных растворов солей-антиобледенителей или кислот, образующихся растворением выхлопных или содержащихся в промышленной атмосфере газов при выпадении дождя, а также нефтепродуктов;

обеспечение качественного и механизированного производства работ по устройству основных элементов мостового полотна;

ремонтопригодность, т.е. возможность замены быстроизнашивающихся или часто повреждаемых элементов без длительного закрытия движения транспортных средств по мосту;

обеспечение механизированной очистки проезжей части и тротуаров от грязи, льда и снега.

4.3. При проектировании мостового полотна необходимо предусматривать меры по быстрому и полному, организованному или свободному стоку ливневых и снеговых вод с проезжей части и тротуаров за пределы мостового сооружения.

Ездовое полотно и поверхности плит проезжей части следует проектировать с поперечными уклонами 20 и продольными, как правило, не менее 5 . При продольных уклонах свыше 10 ‰ допускается уменьшение поперечных уклонов при условии, что их общая геометрическая сумма будет не менее 20 .

Воду с ездового полотна следует отводить, как правило, через водоотводные трубки и лотки.

4.4. Система гидроизоляции «Поликров», предназначенная для металлической ортотропной плиты со сварными стыковыми соединениями (рис. 1) и железобетонной плиты (рис. 3), состоит из трех слоев:

1-й слой - мастика «Поликров-М140» (поз. 5 на рис. 1 и 3), наносимая на рулонный материал и на поверхность металлической ортотропной или железобетонной плиты;

2-й слой - рулон «Поликров-Р200» (поз. 4);

3-й слой - мастика (праймер) «Полибит» (поз. 3), увеличивающая сцепление гидроизоляции с асфальтобетонным покрытием.

Рис. 1. Одежда ездового полотна по сварной ортотропной плите:

1 - рабочий слой асфальтобетонного покрытия; 2 - защитный слой из асфальтобетона; 3 - мастика «Полибит»; 4 - рулон «Поликров-Р200»; 5 - мастика «Поликров-М14; 6 - грунтовка; 7 - настильный лист ортотропной плиты

Примечание. Если поверхность ортотропной плиты не загрунтована на заводе, позиция «6» отсутствует.

Рис. 2. Одежда ездового полотна по стальной ортотропной плите с соединениями на высокопрочных болтах:

1 - рабочий слой асфальтобетонного покрытия; 2 - защитный слой асфальтобетона; 3 - мастика «Полибит»; 4 - рулон «Поликров-Р200»; 5 - мастика «Полибит-М14; 6 - мастика «Полибит»; 7 - выравнивающий слой из литого или плотного мелкозернистого асфальтобетона; 8 - грунтовка; 9 - настильный лист ортотропной плиты.

Примечание. Если поверхность ортотропной плиты не загрунтована на заводе, позиция «8» отсутствует.

4.5. Система гидроизоляции по ортотропной плите с нахлестанными соединениями на высокопрочных болтах (рис. 2) состоит из пяти слоев:

1-й слой - выравнивающий из литого асфальтобетона ТУ 400-24-158-89* или плотного мелкозернистого асфальтобетона ГОСТ 9128-97 (поз. 7);

2-й слой - мастика «Полибит» (6);

3-й слой - мастика «Поликров-М 140» (5);

4-й слой - рулон «Поликров-Р200» (4);

5-й слой - мастика «Полибит» (3).

Выравнивающий слой из асфальтобетона укладывают по ортотропной плите, покрытой грунтовкой.

Рис. 3. Одежда ездового полотна по железобетонной плите:

1 - рабочий слой асфальтобетонного покрытия; 2 - защитный слой из асфальтобетона; 3 - мастика «Полибит»; 4 - рулон «Поликров-Р200»; 5 - мастика «Поликров-М140»; 6 - железобетонная плита

4.6. В местах, труднодоступных для качественного наклеивания рулонного материала «Поликров-Р200» - у стоек барьерных ограждений (рис. 4), в примыканиях к деформационным швам (рис. 5 и 6), у стоек перил (рис. 7) и вокруг водоотводных трубок (рис. 8), - следует применять композиционную полимерную мастику, состоящую из мастик «Поликров-М140» и «Поликров-Л210» с наполнителями (см. табл. 2). Допускается применение бутиловых герметиков вместо композиционной мастики.

В местах примыкания гидроизоляции к деформационным швам (см. рис. 5) необходимо устройство дренажей из перфорированных оцинкованных трубок.

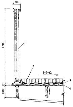
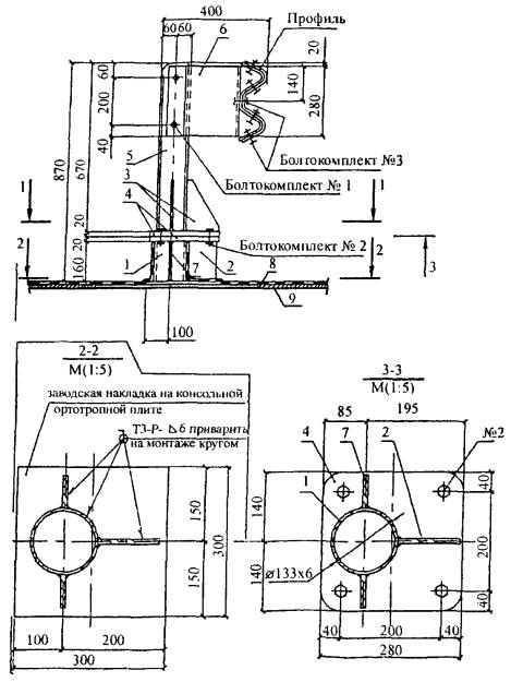
Рис. 4. Гидроизоляция у стойки барьерного ограждения:

1 - цоколь из трубы диаметром 133 × 6 мм; 2, 3, 7 - ребра жесткости; 4 - фланцы; 5 - стойка; 6 - амортизатор; 8 - гидроизоляция; 9 - настильный лист ортотропной плиты

Рис. 5. Гидроизоляция в примыкании к деформационному шву:

1 - дренажная перфорированная трубка; 2 - штрабы, заполненные эластичной мастикой; 3 - упругий пористый заполнитель; 4 - резиновый компенсатор К-8; 5 - высокопрочный болт

Рис. 6. Гидроизоляция над деформационным швом с перемещением до 10 мм

Рис. 7. Гидроизоляция у стоек перил:

1 - перила; 2 - асфальтобетонное покрытие толщиной 40 мм; 3 - гидроизоляция «Поликров»; 4 - настильный лист ортотропной плиты

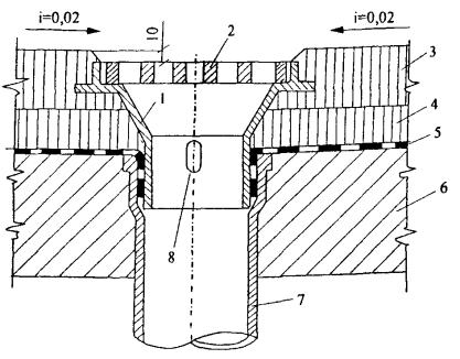
Рис. 8. Сопряжение гидроизоляции с водоотводной трубкой:

1 - воронка; 2 - решетка; 3 - покрытие; 4 - защитный слой; 5 - гидроизоляция; 6 - железобетонная плита пролетного строения; 7 - водоотводная трубка; 8 - отверстия для стока воды с гидроизоляции

5. ТЕХНИЧЕСКИЕ ТРЕБОВАНИЯ К ГИДРОИЗОЛЯЦИИ МОСТОВ

5.1. Гидроизоляция металлических и железобетонных плит пролетных строений, как составная часть мостового полотна, предназначена для защиты конструкций от коррозии при воздействии агрессивных сред. Гидроизоляция должна быть водостойкой, водонепроницаемой, химически стойкой, биостойкой и не содержать компонентов, вызывающих коррозионное разрушение металла ортотропной плиты или железобетона (см. табл. 1, п.п. 1, 2, 7, 8, 9).

5.2. Гидроизоляционный материал должен быть в достаточной степени эластичным, чтобы сохранять сплошность и прочность при деформациях настильного листа ортотропной плиты от динамических знакопеременных воздействий движущегося по мосту транспорта, а также в растянутых зонах железобетонной плиты проезжей части (см. табл. 1, п.п. 3, 4).

5.3. Гидроизоляция должна быть морозостойкой, не растрескиваться и не разрушаться при отрицательных температурах, характерных для заданного района строительства и определяемых расчетной температурой, равной средней температуре наиболее холодной пятидневки с обеспеченностью 0,92 (табл. 1, п. 5).

5.4. Гидроизоляция должна быть термостойкой и сохранять свою работоспособность при высоких положительных температурах наружного воздуха и материала покрытия проезжей части с учетом нагрева его солнцем до +70 °С.

Материал гидроизоляции должен выдерживать высокие температуры укладываемых на нее горячих асфальтобетонных смесей (табл. 1, п. 6).

5.5. Основной материал гидроизоляции и все ее связующие и защитные слои должны иметь сцепление с изолируемой поверхностью и вышележащими слоями покрытия мостового полотна, обеспечивающее стойкость против разрушения и деформаций сдвига от горизонтальных усилий, создаваемых торможением транспорта или при трогании его с места (табл. 1, п.п. 10, 11, 12).

5.6. Изолируемые поверхности и сама гидроизоляция не должны создавать обратных уклонов и застоев влаги. В проекте мостового сооружения должен быть продуман полный и быстрый, свободный или организованный сток ливневых и снеговых вод. На покрытии мостового полотна также не должно оставаться застоев воды.

Если материал гидроизоляции требует защиты от механических повреждений дорожными машинами или вышележащим покрытием, то необходимо по ней устраивать защитный слой номинальной толщиной 40 мм из мелкозернистого горячего асфальтобетона.

Ниже приведена таблица нормативных требований и соответствующих показателей гидроизоляции «Поликров».

Таблица 1

Нормативные требования к гидроизоляции мостового полотна и соответствующие показатели гидроизоляции «Поликров»

№№ п.п.

Наименование показателей

Значение нормативного показателя

Значение показателей гидроизоляции «Поликров»

1

Водопоглощение за 24 ч, % по массе

Не более 0,5

Не более 0,15

2

Водонепроницаемость за 24 ч, МПа (кгс/см2)

Не менее 0,1 (1)

Не менее 0,1 (1)

3

Условная прочность при разрыве, МПа (кгс/см2)

Не менее 0,3 (3)

Не менее 0,5 (5)

4

Относительное удлинение при разрыве, %

Не менее 50

300-400

5

Морозостойкость - гибкость без образования трещин на стержне диаметром, мм/при температуре, °С:

 

 

- для конструкций обычного исполнения

20/до -40

5/-60

- для конструкций северного исполнения

20/до -60

 

6

Термостойкость, °С

130-140

+ 140

7

Устойчивость к жидким агрессивным средам

Устойчивость к действию кислых, щелочных и солевых растворов

Устойчив в средах:

10 % H2SO4

10 % NaOH (рН 12-13)

3 % NaCl

8

Биостойкость

Устойчивость к действию органических микроорганизмов

Стоек

9

Стойкость к воздействию агрессивных климатических факторов. Ускоренные испытания, циклы

Не менее 30

Более 50

10

Адгезия на отрыв, кгс/см2:

 

 

от поверхности железобетонной плиты

Не менее 3

Более 5

от поверхности металлической ортотропной плиты

Не менее 2

Более 5

11

Адгезия на отдир, кгс/см

Не менее 2

Более 2

12

Расчетное сопротивление сдвигу Rs по контактам гидроизоляции с плитой и покрытием проезжей части, МПа (кгс/см2)

Не менее 0,15 (1,5)

0,69 (6,9)

6. МАТЕРИАЛЫ СИСТЕМЫ ГИДРОИЗОЛЯЦИИ «ПОЛИКРОВ»

6.1. Система рулонно-мастичной гидроизоляции включает в себя следующие материалы:

рулонный полимерный резиноподобный материал марки «ПОЛИКРОВ-Р200» ТУ 5774-002-11313564-96;

клеящую полимерную мастику «ПОЛИКРОВ-М140» ТУ 5775-003-11313564-96;

резинобитумную мастику «ПОЛИБИТ» (праймер) ТУ 5775-004-11313564-96;

полимерную защитную мастику «ПОЛИКРОВ-Л210» ТУ 5775-001-11313564-96.

6.2. Рулон «ПОЛИКРОВ-Р200» составляет основу гидроизоляционной защитной системы. Эластичный материал, обладающий водо-, био-, химстойкостью, выпускается в виде рулонов номинальной длиной 11,1 м, 16,7 м или 22,2 м, соответственно площадью 10, 15 или 20 м2 по согласованию с заказчиком. Номинальная ширина рулонов 90 см, толщина материала - 2,0 ± 0,1 мм. Рулоны упаковываются в полиэтиленовую пленку ГОСТ 10354.

6.3. Клеящая полимерная мастика «ПОЛИКРОВ-М140» по внешнему виду представляет собой однородную вязкотекучую массу светлого цвета без видимых посторонних включений с условной вязкостью не менее 50 с по вискозиметру В3-246 (с диаметром сопла 4 мм).

Применяется для приклеивания рулонного материала к изолируемой поверхности и одновременно для защиты ее от коррозии.

6.4. Мастика «ПОЛИБИТ» представляет собой композицию, состоящую из синтетического каучука, наполнителей, битума и растворителя. По внешнему виду - однородная вязкотекучая масса черного цвета без видимых посторонних включений с условной вязкостью 50-60 с по вискозиметру В3-246 (Ø = 4 мм).

Применяется как промежуточный слой (праймер):

для улучшения сцепления асфальтобетонного покрытия с рулонным материалом «ПОЛИКРОВ-Р200».

6.5. Мастика «ПОЛИКРОВ-Л210» по внешнему виду представляет собой однородную бесцветную вязкотекучую массу без видимых посторонних включений с условной вязкостью не менее 30 с по вискозиметру В3-246 (Ø = 4 мм). Желтоватый или другие однотонные оттенки не являются браковочным признаком. Применяется как составная часть для приготовления композиционной полимерной мастики с наполнителями, используемой для защиты от коррозии элементов мостового полотна, расположенных в труднодоступных для наклеивания рулонного материала местах (см. рис. 4-8).

6.6. Технологическая жизнеспособность мастик, входящих в систему гидроизоляции «Поликров», соответствует гарантийному сроку их хранения (в соответствии с ТУ - 6 мес.). В случае загустевания мастики в пределах гарантийного срока «жизнеспособность» восстанавливается разбавлением мастики соответствующим растворителем. Дополнительных анализов не требуется.

6.7. Композиционная полимерная мастика приготавливается на месте работ по рецептуре, приведенной в табл. 2.

Таблица 2

Соотношение компонентов композиционной мастики

Компоненты

Нормативный документ

Соотношение компонентов, % по массе

Мастика «Поликров-140»

ТУ 5775-003-11313564-96

15

Мастика «Поликров-Л210»

ТУ 5775-001-11313564-96

15

Портландцемент

ГОСТ 10178-85

20

Песок

ГОСТ 8736-85

50

Приготовление композиционной мастики рекомендуется производить в серийно выпускаемых промышленностью растворосмесителях марок СО-23Б или СО-46Б. Технические характеристики растворосмесителей представлены в табл. 3.

Таблица 3

Технические характеристики растворосмесителей

№№ п.п.

Технические характеристики

Марка растворосмесителя

СО-23Б

СО-46Б

1.

Объем готового замеса

65

65

2.

Тип электродвигателя

Трехфазный асинхронный

Трехфазный асинхронный

3.

Мощность, кВт

1,5

1,5

4.

Напряжение, В

220/380

220/380

5.

Частота вращения смесителя, с

1,36(82)

1,7(24)

6.

Время перемешивания, с

40

105

7.

Габарит, мм

1435´706´989

1535´570´1140

8.

Масса, кг

170

200

Технология приготовления композиционной мастики состоит из следующих операций:

загрузки в смеситель мастик «Поликров-М140 и Л210» и их перемешивания в течение 3-5 мин;

порционного добавления цемента и перемешивания до получения однородной массы;

порционной загрузки просушенного и просеянного песка с модулем крупности Мкр от 1,5 до 2 и перемешивания до получения однородной массы.

Расстояние от поверхности перемешиваемой массы до вала вращения должно быть не менее 5 см.

Композиционная мастика должна представлять собой однородную массу вязкотекучей консистенции. Контроль визуальный. Критерий густоты мастики - возможность заполнения (герметизации) труднодоступных для наклеивания рулонного материала мест.

Технологическая жизнеспособность мастики - 12 ч.

В случае чрезмерного загустевания композиционной мастики к ней добавляют растворитель (толуол, ксилол, Р645, Р647) в количестве от 5 до 15 % от массы мастики (в зависимости от температуры воздуха) и перемешивают в течение 3-5 мин до получения однородной массы вязкотекучей консистенции.

При небольшом объеме работ допускается приготовление мастики вручную в металлической или пластмассовой емкости.

6.8. Мастичные материалы упакованы на заводе в герметически закрывающиеся стандартные фляги или металлические бочки. Допускается упаковка мастик в другую тару, обеспечивающую сохранность свойств мастик и выполнение требований безопасности. Объем заполнения тары должен быть не более 90 %.

Гарантийный срок хранения мастик - 6 мес. со дня изготовления.

По истечении гарантийного срока хранения мастики перед применением должны быть проверены в лаборатории завода-изготовителя на соответствие ТУ и при его установлении могут быть использованы по назначению.

6.9. Материалы гидроизоляционной системы «ПОЛИКРОВ» изготавливаются и поставляются на объекты строительства комплектно.

7. ТЕХНОЛОГИЯ УСТРОЙСТВА РУЛОННО-МАСТИЧНОЙ ГИДРОИЗОЛЯЦИИ «ПОЛИКРОВ» НА МЕТАЛЛИЧЕСКОЙ И ЖЕЛЕЗОБЕТОННОЙ ПЛИТАХ

7.1. К гидроизоляционным работам на мостовых сооружениях надлежит приступать после окончания всех строительно-монтажных работ (на изолируемой поверхности), включая устройство деформационных швов, оформление стыковых соединений, монтаж барьерных ограждений, перил, мачт освещения и водоотводных устройств.

Подготовка поверхности

7.2. Поверхность металлической или железобетонной плиты перед укладкой гидроизоляции должна быть чистой, сухой и ровной. На изолируемой поверхности не должно быть углублений, неровностей с острогранными кромками, острых выступов, борозд, набрызгов металла от сварки и т.д.

Усиление заводских и монтажных сварных швов (выпуклость наплавленного металла с плавными переходами к основному металлу ортотропной плиты) не является браковочным признаком подготовленной поверхности, если сварные соединения соответствуют требованиям стандартов.

Ровность поверхности железобетонной плиты проверяют рейкой длиной 3 м. При этом просветы не должны превышать 5 мм вдоль проектного уклона и 10 мм в направлении поперек уклона.

Местные острогранные неровности (выступы, борозды и т.п.) высотой более 2 мм на железобетонной плите рекомендуется сглаживать, например посредством нанесения на поверхность полимерцементных растворов на основе латекса СКС-65ГПБ или поливинилацетатной дисперсии ПВАД по рекомендациям ЦНИИС или удалять.

7.3. Лицевую металлическую поверхность ортотропной плиты следует, как правило, грунтовать на заводе-изготовителе конструкций двумя слоями грунтовок, указанных в СТП 001-95* (кроме грунтовок ФЛ-03К и ГФ-0119). В данном случае подготовка поверхности перед укладкой гидроизоляции заключается только в ее обезжиривании до степени 1 и удалении пыли, влаги и случайных загрязнений продувкой сухим сжатым воздухом. При контроле методом протирки на чистой ветоши не должно быть следов жировых загрязнений1.

1 Регламентируется ГОСТ 9.402-80.

Не грунтуются на заводе только зоны монтажных стыков. После оформления монтажных стыков их зоны подгрунтовываются теми же грунтовками, которые применял завод-изготовитель.

7.4. Поверхность плит, не загрунтованных на заводе, перед укладкой гидроизоляции должна быть обезжирена и очищена от загрязнений, рыхлой, отслаивающейся ржавчины, брызг металла после сварки и других наплывов металла, остающихся от приварки монтажных приспособлений.

Степень обезжиривания поверхности - первая1.

1 Регламентируется ГОСТ 9.402-80.

Степень очистки (ГОСТ 9.402-80, табл. 3) - вторая. При осмотре невооруженным глазом не обнаруживаются отслаивающаяся окалина, ржавчина, пригар, остатки формовочной смеси и другие неметаллические слои. Отслаивающуюся рыхлую ржавчину и обычные загрязнения удаляют механизированными металлическими щетками (пескоструйная очистка необязательна). Целесообразно производить очистку металла высокопроизводительными дорожными машинами, например подметально-уборочной машиной КО-309 (ПУМ-1) на базе автомобиля ГАЗ-53-14 с пневматическим отсосом пыли и с металлическими щетками - одной цилиндрической горизонтальной и двумя торцевыми диаметром по 800 мм. Наибольшая ширина захвата 2800 мм.

Могут применяться и другие малогабаритные дорожные машины с металлическими или, в порядке исключения, капроновыми щетками. В местах, недоступных для прохода уборочных машин, например, вокруг оснований барьерных и перильных ограждений, необходимо применять механизированные металлические щетки с электроприводом марок ИЭ-2106 (угловая), ИЭ-2009 (прямая) или с пневмоприводом ИП-2014А, П-22 (прямые), ИП-2104 (угловая). Не воспрещается также пескоструйная очистка труднодоступных мест с последующим тщательным удалением песка и пыли продувкой сжатым воздухом.

Наплывы и брызги металла от сварки удаляют абразивным инструментом.

Непосредственно перед наклейкой рулонов поверхность просушивают и очищают от пыли продувкой сжатым воздухом.

7.5. Поверхность железобетонной плиты проезжей части должна иметь проектные уклоны для стока воды - продольные и поперечные, устраиваемые в соответствии с требованиями п.п. 1.74-1.78 СНиП 2.05.03-84*. Бетонная поверхность не должна иметь обратных уклонов, карманов и пазух, где может образоваться скопление и застой влаги. Как правило, уклоны следует предусматривать в самой конструкции железобетонной плиты. На пролетных строениях из сборных железобетонных балок, устанавливаемых ступенчато, допускается устройство выравнивающего слоя под гидроизоляцию из мелкозернистого полимерцементного бетона толщиной не менее 30 мм. Бетонную смесь укладывают при положительной температуре воздуха и основного бетона плиты на чистую, слегка увлажненную поверхность. Класс прочности на сжатие бетона выравнивающего слоя должен соответствовать классу прочности бетона плиты. Уложенную бетонную смесь выравнивающего слоя следует уплотнять виброрейками или площадочными вибраторами, а затем заглаживать для удаления неровностей. Для обеспечения условий нормального твердения бетона его накрывают полиэтиленовой пленкой. Работы по устройству гидроизоляции допускается начинать по достижении бетоном прочности не менее 5 МПа (50 кгс/см2) и поверхностной влажности не более 2,5 %.

Влажность поверхности бетона измеряют гигрометром для материалов, например:

- фирмы «TECSA»;

- фирмы «SURVEY MASTER»;

- фирмы «PROTTMETR MINI».

7.6. Поверхность железобетонной плиты без выравнивающего слоя и с выравнивающим слоем из полимерцементного бетона перед наклейкой рулонов очищают от различного рода загрязнений и обезжиривают органическими растворителями. Цементную пленку с поверхности бетона следует удалять механическим путем.

Укладка гидроизоляции

7.7. Работы по укладке гидроизоляции «ПОЛИКРОВ» следует выполнять, как правило, при положительной температуре. Допускается устройство гидроизоляции «ПОЛИКРОВ» при отрицательных температурах воздуха до минус 20 °С.

Технология укладки гидроизоляции при отрицательных температурах аналогична технологии укладки гидроизоляции при положительных температурах. Однако необходимо соблюдать некоторые требования к материалам и изолируемой поверхности, поскольку технические показатели материалов «Поликров» при отрицательных температурах отличаются от показателей при положительных температурах (см. табл. 4).

Таблица 4

Сравнительные показатели свойств гидроизоляционных материалов «Поликров» при их использовании в условиях отрицательных (-20 °С) и положительных температур (+20 °С)

Наименование показателей

Значение показателя при +20 °С

Значение показателя при -20 °С

Мастика «Поликров М-140»

 

 

Условная вязкость, с, не менее

50

190

Массовая доля нелетучих веществ, %

17

17

Прочность сцепления с бетоном, МПа (кгс/см2)

0,4 (4,0)

0,9 (9,0)

Относительное удлинение при разрыве, %

300

150

Прочность сцепления между слоями, МПа (кгс/см2):

 

 

рулонный материал - рулонный материал

0,5 (5,0)

1,0 (10,0)

рулонный материал - углеродистая сталь

0,5 (5,0)

1,0 (10,0)

рулонный материал - бетон

0,5 (5,0)

1,0 (10,0)

Прочность на сдвиг клеевого соединения, МПа (кгс/см2)

0,5 (5,0)

1,0 (10,0)

Рулонный резиновый материал «Поликров Р-200»

 

 

Условная прочность при растяжении, МПа (кгс/см2)

0,5 (5,0)

1,0 (10,0)

Относительное удлинение при разрыве, %

300

150

Гибкость на брусе с R закругления 5 мм

отсутств. трещ.

отсутств. трещ.

Мастика «Полибит»

 

 

Условная вязкость, с, не менее

30

160

Массовая доля нелетучих веществ, %

28

28

Прочность сцепления с бетоном, МПа (кгс/см2)

0,4 (4,0)

0,6 (6,0)

Мастичные материалы при отрицательных температурах имеют повышенную вязкость, в связи с чем расход мастики на 1 м2 будет увеличиваться на 200-300 г.

Время высыхания нанесенного мастичного покрытия также будет увеличиваться (в зависимости от температуры воздуха и скорости ветра в зоне производства работ) до 30 мин.

Рулонный гидроизоляционный материал «Поликров-Р200» при отрицательных температурах становится более жестким и при укладке требуется более тщательная прикатка его к подготовленной поверхности.

Подготовка поверхности основания под гидроизоляцию при отрицательных температурах состоит в очистке ее от снега, льда или инея и просушке до степени влажности 2,5 % широкозахватными газовыми горелками типа ГВПЛ или специальными тепловоздушными агрегатами.

В случае непогоды (дождь, снег) для продолжения работ используют легкие складные переносные каркасы, обтянутые полиэтиленовой пленкой, брезентом или другим подобным материалом.

7.8. Устройство гидроизоляции на проезжей части, имеющей двухсторонний поперечный уклон, начинают с обеих кромок к середине с общим потоком работ вдоль моста. Все необходимые материалы подают навстречу потоку гидроизоляционных работ. При одностороннем поперечном уклоне гидроизоляцию наклеивают от нижней кромки к верхней (в направлении, обратном уклону).

Рулонный материал раскатывают на поверхности плиты и раскраивают на полотнища (отрезки) длиной по 4-5 м для удобства наклеивания. Рекомендуется, по возможности, предварительное выдерживание полотнищ материала в раскатанном состоянии в течение 1,5-2 ч; высота волны не должна превышать 20 мм.

7.9. Наклейку рулонного материала выполняют в нижеприведенной последовательности.

Раскатанное и раскроенное полотнище рулонного материала «Поликров-Р200» складывают пополам (радиус перегиба не менее 10 мм) и наносят вручную капроновыми щетками или валиком мастику «Поликров-М140» на основание плиты и 1/2 части полотнища с суммарным расходом 0,7-1,0 кг/м2 (толщина пленки не менее 0,1 мм). Нанесенную мастику подсушивают «до отлипа»* в течение 3-10 мин в зависимости от температуры воздуха и силы ветра. При солнечной и ветреной погоде время сушки мастики «до отлипа» составляет не более 3-4 мин. Затем часть полотнища с нанесенной мастикой плотно прижимают к основанию и приклеивают, разглаживая вручную или с помощью легких ручных катков, не допуская образования воздушных пузырей под полотном. Далее по той же технологии приклеивают оставшуюся часть полотнища. Наклейку рулонного материала производят с продольной нахлесткой 60 ± 10 мм и поперечной – 100 ± 20 мм (рис. 9). В местах продольной и поперечной нахлесток клеевую мастику также наносят на обе приклеиваемые поверхности «Поликрова-Р200» и соединяют между собой после подсушки «до отлипа». В местах нахлестов рулонного материала «Поликров-Р200» кистью (щеткой) наносят мастику «Поликров-М140» на расстояние не менее 100 мм в обоих направлениях шва. Поверхность уложенной гидроизоляции должна быть ровной, с проектными продольными и поперечными уклонами без обратных уклонов и застоев воды.

* При легком прикосновении пальцев к поверхности нанесенной мастики липкость ощущается без следов мастики на пальцах.

Рис. 9. Схема наклейки рулонного материала на плиту проезжей части

7.10. Вслед за наклейкой рулонного материала «Поликров-Р200» производят заделку всех труднодоступных для наклеивания участков мостового полотна (основания стоек барьерных ограждений и перил, примыкания к деформационным швам и др.) полимерной композиционной мастикой с наполнителями (см. табл. 2, рис. 4-8) толщиной не менее 3-4 мм или бутиловым герметиком такой же толщины.

Подготовка поверхности для нанесения композиционной мастики такая же, как и для укладки рулонной гидроизоляции.

Приготовление композиционной мастики производят в растворосмесителях (см. п. 6.6). Наносят ее вручную, кистями в два слоя при толщине каждого слоя не более 1,5-2 мм. Время сушки каждого слоя до степени 3* (отсутствие липкости) назначают в зависимости от погодных условий в пределах 1,5-3 ч. После нанесения окончательного слоя полимерной композиционной мастики с наполнителями время выдержки составляет не менее 36 ч. Затем ее покрывают двумя слоями смеси двух мастик - «Поликров-М140» и «Поликров-Л210» в соотношении 1:1. Время сушки до степени 3* первого слоя 2 ч, второго до степени 7 (полное отверждение) - не менее 24 ч. Расход смеси мастик на один слой не менее 0,4 кг/м2 (толщина пленки не менее 40 мкм).

* Степень высыхания регламентируется ГОСТ 19007-73.

7.11. По стальной ортотропной плите с нахлесточными соединениями на высокопрочных болтах (см. рис. 2) требуется укладка выравнивающего слоя, как правило, из литого асфальтобетона по ТУ 400-24-158-89* типов Б; В марки II по ГОСТ 9128-97 (п. 4.5).

* Степень высыхания регламентируется ГОСТ 19007-73.

После остывания асфальтобетона по нему наносят тонкий слой праймера «Полибит» с расходом не более 0,15 кг/м2 (передозировка праймера может вызвать размягчение поверхности асфальтобетона и вспучивание гидроизоляции).

Затем, после высыхания праймера до степени 3 в течение 1,5-2 ч, по нему наносят клеящую мастику «Поликров-М140» тонким слоем с расходом не более 0,3 кг2. При этом, параллельно, мастику «Поликров-М140» наносят и на рулонный материал. После подсушки мастики «до отлила» рулонный материал «Поликров-Р200» приклеивают к поверхности асфальтобетона.

После наклеивания гидроизоляции места нахлеста обрабатывают мастикой «Поликров-М140».

7.12. Через сутки после наклеивания рулонного материала и нанесения композиционной мастики на их поверхности (сухие и чистые) наносят вручную капроновыми щетками или валиком два слоя праймера «Полибит» для обеспечения надежного сцепления гидроизоляции с асфальтобетонным покрытием. Расход на два слоя праймера - 0,7 кг/м2 (толщина пленки - 0,1 мм). Первый слой высушивают до степени 3 (отсутствие липкости) по ГОСТ 19007-73 в течение 2-6 ч в зависимости от температуры воздуха и силы ветра. Затем наносят второй слой и выдерживают до полного отверждения праймера - не менее 24 ч (до степени 7 по ГОСТ 19007-73).

7.13. Укладку асфальтобетонного покрытия с заездом на гидроизоляцию асфальтоукладчика и дорожных машин на резиновом ходу производят не менее чем через одни сутки после нанесения праймера «Полибит». Максимальный промежуток времени между нанесением праймера и устройством асфальтобетонного покрытия не лимитируется, так как при укладке горячей асфальтобетонной смеси (температура 120-140 °С) происходит термическая активация верхнего покрытия «Полибит», вследствие чего образуется высокопрочное сцепление покрытия с асфальтобетоном за счет взаимного проникновения компонентов. При длительном промежутке времени между нанесением «Полибита» и укладкой асфальтобетона (более 1 месяца) необходимо произвести освидетельствование поверхности и, при необходимости, очистить ее от случайных загрязнений и покрыть дополнительным слоем «Полибита».

Для покрытия применяют мелкозернистый плотный асфальтобетон типов Б; В марки II ГОСТ 9128-97. Горячую асфальтобетонную смесь приготовляют на дорожных битумах (ГОСТ 22245-76) и укладывают на гидроизоляцию «Поликров» с температурой 120-140 °С в соответствии с требованиями СНиП 3.06.03-85.

Первый (защитный) слой асфальтобетона толщиной 40 мм должен быть уплотнен легкими или средними дорожными катками до Купл = 0,98.

Второй (рабочий) слой покрытия номинальной толщиной 70 мм уплотняют средними и тяжелыми дорожными катками до Купл ³ 0,98.

8. КОНТРОЛЬ КАЧЕСТВА, ПРИЕМКА РАБОТ, ИСПОЛНИТЕЛЬНАЯ ДОКУМЕНТАЦИЯ

8.1. Контроль качества гидроизоляции и приемку работ осуществляют технические службы подрядной мостостроительной организации с участием представителя заказчика, с составлением исполнительной документации, в том числе актов на скрытые работы по формам, приведенным в приложении А.

Контроль качества по устройству гидроизоляции разделяют на входной, операционный и приемочный.

8.2. Входному контролю подлежат:

- проектная и исполнительная документация на изготовление и монтаж конструкций, требующих нанесения системы гидроизоляции;

- все используемые для гидроизоляции материалы (п. 6.1), на которые поставщики должны выдавать сертификаты или паспорта качества. Технические характеристики материалов по данным сертификатов должны соответствовать действующим стандартам и техническим условиям;

- готовность оборудования и приспособлений к производству работ, в том числе при неблагоприятных погодных условиях и в холодный период.

Необходимо предусмотреть проверку знаний ИТР и рабочих по гидроизоляционным работам на основе системы «Поликров».

8.3. При операционном контроле проверяют качество:

подготовки поверхности металлической и железобетонной плит (п. 7.2);

нанесения мастик (п. 7.10);

укладки гидроизоляционного материала (п.п. 7.10, 7.11, 7.12).

Поверхность плит должна быть чистой, сухой, без следов масляных и жировых загрязнений. Проверяется по ГОСТ 9.402-80 (п. 7.4).

Приемку поверхности, подготовленной к укладке гидроизоляции, оформляют актом освидетельствования скрытых работ по форме, приведенной в приложении А.

Мастика «Поликров-М140» перед наклеиванием гидроизоляционного полотна должна быть проверена на степень высыхания «до отлипа» по ГОСТ 19007-73.

При нанесении нескольких слоев композиционной мастики с наполнителями (для герметизации труднодоступных мест) проверяют степень высыхания каждого слоя перед нанесением последующего (7.11).

При приемке укладки гидроизоляционного полотна проверяют непрерывность слоев и правильность соединения полотнищ в стыках; отсутствие дефектов: воздушных пузырей, отслоений, складок, проколов, острых перегибов, оползаний.

При нанесении на поверхность гидроизоляции двух слоев праймера «Полибит» проверяют сплошность нанесения и высыхание праймера до степени 3 по ГОСТ 19007-73 перед нанесением второго слоя, а также сушку всего покрытия перед укладкой асфальтобетона не менее 1-2 суток.

8.4. Приемочный контроль гидроизоляции производят до укладки защитного слоя асфальтобетона.

При приемочном контроле готового гидроизоляционного покрытия проверяют:

- сплошность покрытия и сопряжения его с элементами мостового полотна - визуально;

- отсутствие обратных уклонов и застоев воды;

- отсутствие дефектов, указанных в п. 8.3, или дефектов, появившихся в результате неблагоприятного воздействия погодных факторов (см. ниже) или механических повреждений - визуально;

- соответствие конструкции гидроизоляции требованиям проекта и настоящих Методических рекомендаций (способом вырезки контрольных образцов гидроизоляционного покрытия);

- адгезию материала гидроизоляции к поверхности металлической ортотропной или железобетонной плиты (методом отрыва и отдира).

Оптимальный объем контроля - по три пробы отрыва и отдира на каждые 1000 м2 площади гидроизоляционного покрытия или на объект в целом, если его площадь меньше 1000 м2.

Следует отметить, что при повышении температуры воздуха до +30 ± 5 °С и температуры гидроизоляционного покрытия до +45 ± 5 °С могут образовываться отдельные вздутия (пузыри) вследствие интенсивного выделения паров растворителя из мастики в местах ее завышенного скопления. Устранение этих дефектов производится путем прокалывания пузырей (вздутий) шилом под углом 30-45° с последующим прикатыванием рулонного материала, выдавливанием паров растворителя и обработкой места прокола мастикой «Поликров-М140» в один слой, а после просушки - нанесением двух слоев праймера «Полибит». Производить эту операцию необходимо в часы наибольшего прогрева гидроизоляционного полотна, когда образуется максимальное давление паров растворителя под рулонным материалом.

Адгезию определяют двумя способами: на отрыв и на отдир по ГОСТ 26589-94.

Для определения адгезии на отрыв в нескольких точках мостового полотна к поверхности гидроизоляции наклеивают с помощью эпоксидного клея металлические пластинки площадью от 5 до 20 см2; обрезают гидроизоляцию по периметру пластины и производят отрыв гидроизоляции, фиксируя силу отрыва динамометром.

Средняя адгезионная прочность при +18 ± 5 °С на отрыв должна быть не менее 3 кгс/см2 (0,3 МПа) для бетонной поверхности и 2 кг/см2 (0,2 МПа) для металлической поверхности.

Адгезию на отдир определяют, делая в гидроизоляционном материале П-образный надрез размером 50 × 200 мм. Свободный конец полосы надрывают, крепят к динамометру и тянут под углом 90-120°. Усилие при отрыве должно быть не менее 10 кгс при температуре +18 ± 5 °С.

При определении адгезии отмечают характер отрыва и отдира: если отрыв (отдир) происходит по границе слоев, то разрыв - адгезионный; если же разрыв по материалу - характер разрыва когезионный.

Проколы и надрезы в изоляции, служащие для контроля, допускаются не более шести на каждые 500 м2 площади.

8.5. При механическом повреждении гидроизоляции (надрезы для определения адгезии, повреждения при проведении работ по подвозу и укладке асфальтобетона и др.) ее восстановление (ремонт) необходимо производить следующим образом:

- вырезать поврежденное покрытие по геометрической конфигурации, соответствующей месту повреждения;

- подготовить заплату соответствующей конфигурации;

- промазать подложку места повреждения и заплату мастикой М-140, просушить «до отлипа» и уложить заплату на поврежденное место, тщательно прикатав;

- подготовить дополнительную заплату, превышающую своими размерами контуры поврежденного места на 60-100 мм;

- покрыть поврежденное место и дополнительную заплату мастикой «Поликров-М140», просушить «до отлипа» и наложить заплату на поврежденное место;

- отремонтированное место покрыть двумя слоями праймера «Полибит»;

- укладку асфальтобетона производить после подсушки праймера «Полибит» в течение 10-20 мин.

Движение транспортных средств по гидроизоляции должно быть минимизировано и разрешается только в местах выгрузки асфальта в асфальтоукладчик. Маневры автотранспорта по гидроизоляции производить только в движении без резких поворотов, торможений и троганий с места.

Окончательная приемка готовой гидроизоляции оформляется актом, форма которого приведена в приложении А.

9. ОРГАНИЗАЦИЯ ТРУДА, ТЕХНИКА БЕЗОПАСНОСТИ И ОХРАНА ОКРУЖАЮЩЕЙ СРЕДЫ

9.1. Работы по устройству покрытий мостового полотна следует выполнять после окончания всех предшествующих строительно-монтажных работ, во избежание повреждения покрытий.

Рабочий участок должен быть обеспечен необходимым оборудованием, инструментом и приборами для контроля качества материалов и укладываемых защитных слоев покрытия мостового полотна.

9.2. Работы по устройству гидроизоляции должны выполняться специализированными бригадами под техническим руководством и контролем инженерно-технических работников, имеющих опыт в области устройства гидроизоляции мостов.

К производству гидроизоляционных работ допускаются рабочие, прошедшие медицинский осмотр, а также обученные правилам техники безопасности и методам ведения этих работ.

9.3. Гидроизоляционные работы выполняют с соблюдением правил безопасности, предусмотренных СНиП III-4-80* «Техника безопасности в строительстве», «Правилами по охране труда при сооружении мостов», ЦНИИС, 1991, а также настоящими Методическими рекомендациями.

9.4. Работы по устройству гидроизоляции выполняют с соблюдением требований пожарной безопасности.

Помещения для хранения растворителей и мастик снабжаются противопожарным инвентарем: пенными огнетушителями, ящиками с песком, асбестовыми матами и т.п.

Пожарный инвентарь и приспособления должны быть окрашены в ярко-красный цвет и содержаться в исправности.

Мастики и растворители должны храниться в герметически закрытой таре.

В помещениях для хранения и в местах применения растворителей и мастик запрещается обращаться с открытым огнем и производить работы с искрообразованием.

9.5. Рабочие должны быть обеспечены спецодеждой и средствами индивидуальной защиты в зависимости от характера выполняемых работ в соответствии с требованиями ГОСТ 12.4.011-89.

Для защиты органов дыхания рекомендуется применять фильтрующие средства (респираторы) в соответствии с ГОСТ 12.4.041-89.

Для защиты кожи рук необходимо применять рукавицы, резиновые перчатки или защитные мази и пасты по ГОСТ 12.4.068-79.

9.6. При производстве гидроизоляционных работ необходимо предусматривать утилизацию отходов (полиэтиленовой пленки от упаковки рулонов, обрезков рулонного материала, неиспользованных остатков мастик).

Приложение А

ФОРМЫ ИСПОЛНИТЕЛЬНОЙ ДОКУМЕНТАЦИИ

А1. Акт освидетельствования скрытых работ

Объем и наименование работ _______________________________________________

_________________________________________________________________________

Комиссия в составе:

представителя строительно-монтажной организации ___________________________

_________________________________________________________________________

представителя технического надзора заказчика ________________________________

_________________________________________________________________________

произвела осмотр работ, выполненных _______________________________________

_________________________________________________________________________

и составила настоящий акт о нижеследующем:

1. К освидетельствованию предъявлены следующие работы _____________________

_________________________________________________________________________

2. Работы выполнены по проектно-сметной документации ______________________

_________________________________________________________________________

3. При выполнении работ применены (материалы, сертификаты качества)

________________________________________________________________________

________________________________________________________________________

4. При выполнении работ отсутствуют (или допущены) отклонения от проектно-сметной документации ____________________________________________________

________________________________________________________________________

5. Даты: начало работ ________________ окончание ___________________________

РЕШЕНИЕ КОМИССИИ

Работы выполнены в соответствии с проектно-сметной документацией, стандартами, СНиП и отвечают требованиям их приемки. На основании изложенного разрешается производство последующих работ по устройству _______________________________

_________________________________________________________________________

Представитель технического

надзора заказчика

Представитель строительно-

монтажной организации

А2. ЖУРНАЛ
производства работ по устройству гидроизоляции

Объект __________________________________________________________________

_________________________________________________________________________

Основание для выполнения работ ____________________________________________

_________________________________________________________________________

Производитель работ ______________________________________________________

Начало ______________________ окончание __________________________________

В журнале пронумеровано ______________________ стр.

Место печати                                                                                 Подпись администрации

организации, выдавшей журнал

Дата (число, месяц, год), смена

Наименование работ и применяемых материалов (пооперационно)

Объем работ

Температура окружающего воздуха, °С

Применяемые материалы

Температура, °С и продолжительность сушки мастик, ч

Фамилия и инициалы бригадира (специалиста), выполнявшего защитное покрытие

Дата и номер акта освидетельствования выполненных работ

ГОСТ, ОСТ, ТУ

сертификат, паспорт

 

 

 

 

 

 

 

 

 

A3. АКТ
приемки гидроизоляционного покрытия

г. _________________                                                              «      »                     200__ г.

Объект __________________________________________________________________

_________________________________________________________________________

Комиссия в составе представителей:

строительно-монтажной организации ________________________________________

_________________________________________________________________________

________________________________________________________________________

заказчика ________________________________________________________________

_________________________________________________________________________

генерального подрядчика ___________________________________________________

_________________________________________________________________________

составила настоящий акт о нижеследующем:

произведено устройство гидроизоляционного покрытия по ортотропной плите _________________________________________________________________________

_________________________________________________________________________

_________________________________________________________________________

адгезия на отрыв - кг/см2: адгезия на отдир - кг/см

_________________________________________________________________________

_________________________________________________________________________

Объем выполненных работ _________________________________________________

Начало работ ___________________ окончание ________________________________

Работы выполнены в соответствии с проектно-сметной документацией, стандартами, строительными нормами и правилами и отвечают требованиям их приемки

_________________________________________________________________________

_________________________________________________________________________

Качество выполненных работ _______________________________________________

_________________________________________________________________________

Представитель строительно-

монтажной организации

Представитель Заказчика

Представитель Генподрядчика

Приложение Б

Приложение В

ПОКАЗАТЕЛИ ТРУДОЕМКОСТИ И РАСХОД МАТЕРИАЛОВ

Трудоемкость устройства рулонно-мастичной полимерной гидроизоляции «ПОЛИКРОВ» по металлической ортотропной и железобетонной плитам составляет 0,1-0,2 чел.-ч/м2. Каждое звено из четырех рабочих за смену продолжительностью 8 ч может наклеить до 400 м2 гидроизоляции.

Расход материалов для устройства 1 м2 гидроизоляции составляет:

рулон «Поликров-Р200» = 1,25 ± 0,1 м2;

мастика «Поликров-М140» = 0,7-1,0 кг (в зимних условиях - 1,0-1,5 кг);

мастика «Полибит» = 0,7-1,5 кг;

композиционная мастика для гидроизоляции в труднодоступных местах при толщине 3-4 мм = 4,5-6 кг.

СОДЕРЖАНИЕ

Предисловие. 1

1. Область применения. 1

2. Нормативные ссылки. 1

3. Термины и определения. 2

4. Конструкция гидроизоляции «поликров» в составе мостового полотна. Детали конструкции. 4

5. Технические требования к гидроизоляции мостов. 8

6. Материалы системы гидроизоляции «поликров». 9

7. Технология устройства рулонно-мастичной гидроизоляции «поликров» на металлической и железобетонной плитах. 11

8. Контроль качества, приемка работ, исполнительная документация. 15

9. Организация труда, техника безопасности и охрана окружающей среды.. 16

Приложение а Формы исполнительной документации. 17

Приложение б Сертификат на материал. 18

Приложение в Показатели трудоемкости и расход материалов. 19

 




Яндекс цитирования



   Copyright © 2007-2026,  www.tehlit.ru.

[ ѓосты, стандарты, нормативы, инструкции, правила, строительные нормы ]