//
ТехЛит.ру
- крупнейшая бесплатная электронная интернет библиотека для "технически умных" людей.
WWW.TEHLIT.RU - ТЕХНИЧЕСКАЯ ЛИТЕРАТУРА

:: Алготрейдинг::


АЛГОТРЕЙДИНГ
шаг за шагом
с нуля по урокам!

Торговые роботы на PYTHON, BackTrader,
Pandas, Pine Script для TradingView. Связка с брокерами, телеграм и легкими приложениями.


ДЕПАРТАМЕНТ СТРОИТЕЛЬСТВА

НАУЧНО-ТЕХНИЧЕСКОЕ УПРАВЛЕНИЕ
МОССТРОЙЛИЦЕНЗИЯ

ВЕДОМСТВЕННЫЕ СТРОИТЕЛЬНЫЕ НОРМЫ

УКАЗАНИЯ
ПО УСТРОЙСТВУ СВАЙНЫХ ФУНДАМЕНТОВ
ДЛЯ ДОМОВ ПОВЫШЕННОЙ ЭТАЖНОСТИ

ВСН 32-95

Москва - 1996

«Указания по устройству свайных фундаментов для домов повышенной этажности «разработаны лабораторией оснований и фундаментов НИИМосстроя (зав. лабораторией, канд. техн. наук В.А. Трушков) при участии Мосстройлицензии (кандидаты техн. наук Ю.И. Столяров и В.Д. Фельдман).

В Указаниях учтен производственный опыт строительных организаций Департамента строительства при устройстве свайных фундаментов в жилищном строительстве г. Москвы.

Указания обобщают накопленный за период с 1975 по 1995 гг. опыт испытаний забивных свай, применяемых для уточнения требуемой глубины погружения свай путем пробной забивки.

Указания согласованы с АОХК «Главмосстрой» и ГП трестом Мосстрой-5.

Департамент
строительства

Научно-техническое управление

Ведомственные строительные нормы

УКАЗАНИЯ
по устройству свайных фундаментов для домов повышенной этажности

ВСН 32-95

ДС

1. ОБЩИЕ ПОЛОЖЕНИЯ

1.1. Настоящие указания распространяются на работы по устройству фундаментов из забивных железобетонных свай для домов повышенной этажности, возводимых из типовых жилых секций.

1.2. При устройстве фундаментов из забивных железобетонных свай для домов повышенной этажности надлежит руководствоваться рабочими чертежами, требованиями действующих глав СНиП, нормативных документов, ППР и технологическими картами, а также настоящими Указаниями.

1.3. Массовая забивка свай фундаментов зданий повышенной этажности должна производиться после корректировки рабочих чертежей свайного поля проектной организацией по результатам испытаний пробных свай.

1.4. Для определения необходимой длины свай до начала массовой забивки должны быть выполнены пробная забивка и испытание свай.

1.5. Работы по забивке и испытанию пробных свай производятся в соответствии со СНиП 2.02.03-85 «Свайные фундаменты», ГОСТ 5686-78 «Сваи. Методы полевых испытаний» и настоящими Указаниями.

Внесены
НИИ
Мосстроем

Утверждены Научно-техническим управлением Департамента строительства

«31» октября 1995 г.

Дата введения в действие

« января 1996 г.

1.6. Техническая документация на забивку и испытания пробных свай с указанием их типов, длины и несущей способности разрабатывается проектной организацией в 3 экземплярах и выдается заказчику - 1 экз. и 2 экз. - организации, выполняющей пробную забивку. Указанная документация должна содержать:

а) свайное поле с указанием и привязкой на нем местоположения геологических скважин (шурфов), пробных свай, подлежащих испытанию, подземных коммуникаций (газопровод, канализация, водосток, теплосеть, водопровод, кабели и др.), существующих строений и т.д.;

б) техническое заключение об инженерно-геологических условиях участка строительства;

в) техническое задание на испытание пробных свай в грунте динамической и статической нагрузками со сроками выполнения работ.

1.7. Количество свай, подлежащих испытанию динамическими нагрузками, назначается в зависимости от инженерно-геологических условий в объеме до 1 % от общего количества свай, но не менее 5 шт. на объект.

1.8. Необходимость проведения статического испытания свай определяется проектной организацией в зависимости от результатов инженерно-геологических изысканий или результатов испытаний свай динамическими нагрузками.

1.9. Строительная организация на основании технической документации на забивку и испытание пробных свай на стадии предпроектного выполнения работ и разрешения, полученного Москапстроем на отвод участка и право производства работ (в управлении Госархстройконтроля), оформляет в соответствующих административных инспекциях ордер на производство работ.

1.10. При невозможности выполнения предпроектной забивки и испытания пробных свай из-за наличия на площадке инженерных коммуникаций, зданий, сооружений и пр. проектная организация на основании данных инженерно-геологических изысканий выпускает техническую документацию.

2. ЗАБИВКА ПРОБНЫХ СВАЙ

2.1. Проектная организация, разрабатывающая проект свайного фундамента, наблюдает за ходом работ в период испытаний пробных свай и на основании материалов испытаний и рекомендаций, полученных от строительной организации, а также других имеющихся у нее данных принимает окончательное решение о конструкции свайного фундамента.

2.2. В качестве пробных свай могут применяться как железобетонные, так и инвентарные сваи.

2.3. Пробные железобетонные и инвентарные сваи в открытом котловане следует забивать после разбивки свайного поля с таким расчетом, чтобы использовать их в качестве рабочих свай фундамента. При этом несущая способность пробных свай должна быть не менее проектной. В нешироких котлованах пробные сваи целесообразно размещать преимущественно по периметру свайного поля, чтобы в последующем они не препятствовали перемещению копрового агрегата при массовой забивке.

2.5. Пробные сваи следует забивать с расстоянием между точками забивки не более 30 м. В местах погружения пробных свай высотная отметка поверхности грунта или дна лидирующего отверстия по возможности не должна превышать проектную отметку дна котлована более чем на 0,5 м. При большем превышении полученное в результате испытаний сопротивление сваи должно быть соответственно уменьшено на величину силы трения грунта, действующей по боковой поверхности сваи выше проектной отметки дна котлована.

Величина силы трения, приходящейся на 1 м2 боковой поверхности сваи, может быть определена по результатам испытаний сваи или ориентировочно, по соответствующим таблицам СНиП 2.02.03-85.

2.6. Забивка железобетонных пробных свай производится обычными или специальными сваебойными самоходными установками. Забивка пробных стальных складывающихся свай конструкции НИИМосстроя производится специальными самоходными установками.

В наголовнике сваи при пробной забивке должна быть упругая деревянная прокладка из двух слоев досок общей толщиной 10 - 12 см. Разрешается применение прокладок и из других материалов, например упругой войлочной прокладки толщиной 50 ÷ 60 мм.

2.7. Перед забивкой железобетонные и стальные инвентарные пробные сваи следует очистить от грязи и льда. Железобетонные сваи следует разметить несмываемой краской на метры по длине от острия к голове. Острие в длину сваи не включается.

Перед забивкой складывающуюся инвентарную стальную сваю надо очистить от наледи и грунта, смазать трущиеся поверхности внутренних расклинивающихся выступов солидолом и собрать в рабочее положение. После сборки свая стягивается двумя хомутами. Внутренняя труба до закрепления на свае наголовника должна свободно выдвигаться из сердечника.

Применение неисправных или неправильно собранных стальных пробных свай не разрешается.

2.8. Пробная свая забивается на необходимую глубину до получения отказа (осадки от одного удара молота), не превышающего расчетную величину при трех последних последовательных залогах. При дизельных, гидравлических, подвесных и паровоздушных молотах одиночного действия залог следует принимать равным 10 ударам.

3. СТАТИЧЕСКИЕ ИСПЫТАНИЯ ЖЕЛЕЗОБЕТОННЫХ И СТАЛЬНЫХ СКЛАДЫВАЮЩИХСЯ СВАЙ

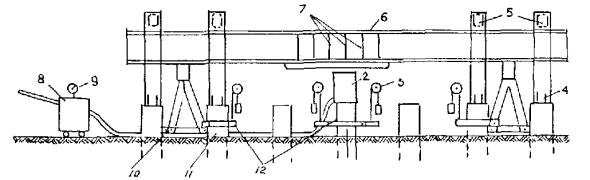
3.1. Испытания свай статическими осевыми вдавливающими нагрузками для определения несущей способности выполняются по заданию проектной организации. Статические испытания железобетонных свай производят установками с гидравлическим домкратом ДГ-200 или ДГ-100, упором для которого служит система стальных балок, прикрепленных к анкерным сваям (рис. 1).

3.2. Испытания статической нагрузкой забивных свай следует проводить после «отдыха» свай в грунте, определяемого согласно п. 3.3 настоящих Указаний. Испытания должны проводиться в соответствии с ГОСТ 5686-78*. По заданию проектной организации для контроля правильности результатов динамических испытаний могут быть проведены ускоренные испытания свай статической нагрузкой в соответствии с тем же ГОСТом.

Рис. 1. Схема испытания свай статической нагрузкой в фундаменте дома при однорядном расположении свай:

1 - испытываемая свая; 2 - гидравлический домкрат; 3 - прогибомер; 4 - анкерные тяжи; 5 - поперечные балки; 6 - балки для упора домкрата; 7 - ребра жесткости; 8 - насосная станция; 9 - манометр; 10 - козлы; 11 - анкерная свая; 12 - хомуты

3.3. Продолжительность «отдыха» устанавливается программой полевых испытаний в зависимости от состава, свойств и состояния грунтов, а также грунтов под нижним концом свай, но не менее:

3 сут. - при песчаных грунтах, кроме водонасыщенных мелких и пылеватых;

6 сут. - при глинистых или разнородных грунтах;

20 сут. - при глинистых грунтах мягко- и текучепластичной консистенции;

10 сут. - при водонасыщенных мелких и пылеватых песках.

3.4. Количество анкерных свай должно быть достаточным для восприятия максимальной нагрузки при испытании как по сопротивлению их выдергиванию, так и по прочности материалов. При использовании рабочих свай фундамента в качестве анкерных остаточное перемещение анкерных свай в грунте под действием выдергивающей нагрузки недопустимо.

3.5. Глубина погружения анкерных свай должна быть не больше глубины погружения испытываемой сваи. Расстояние в осях от испытываемой сваи до анкерной, а также до опор реперной установки должно быть не менее пяти наибольших размеров поперечного сечения сваи.

3.6. Для выявления сопротивления грунта под острием сваи, величины силы трения по ее боковой поверхности и силы возможного негативного трения по указанию проектной организации могут быть испытаны при помощи гидравлического домкрата инвентарные стальные сваи конструкции НИИМосстроя (рис. 2).

3.7. На каждые 5 - 6 пробных забивок стальной складывающейся сваи рекомендуется выполнить одно испытание ее статической нагрузкой.

3.8. Испытания стальной инвентарной сваи конструкции НИИМосстроя проводятся по программе, согласованной с проектной организацией. Нагрузку рекомендуется прилагать к свае ступенями по 1/10 от ожидаемой максимальной величины сопротивления грунта под острием сваи с выдержкой во времени в соответствии с программой испытаний, но не менее 5 мин. после приложения каждой ступени.

Рис. 2. Стальная складывающаяся свая перед статическим испытанием

3.9. Максимальную силу трения грунта по боковой поверхности сваи для вычисления несущей способности сваи следует определять при перемещении оболочки сваи вверх на 7 мм под действием давления домкрата. Если при этом осадка острия сваи еще не достигла требуемой величины, равной 20 мм, то для возможности дальнейшего увеличения нагрузки на острие оболочку следует расклинить в грунте. Для этого удаляются опорные вкладыши, передающие усилие от траверсы на оболочку, траверса поднимается до упора в сердечник, после чего посредством подкачки домкрата сердечник поднимается и скошенными выступами опорных дисков, упирающихся в расклинивающие сухари, расклинивают оболочку с увеличением ее поперечного сечения к низу. Это увеличивает сопротивление извлечению оболочки из грунта, позволяет повысить давление на острие и определить сопротивление его погружению. Нагрузку следует повышать как и до расклинки ступенями по 1/10 от наибольшей ожидаемой с выдержкой во времени в соответствии с программой испытаний. Острие следует вдавливать на величину не более 20 мм.

3.10. Сила вдавливания острия, деленная на площадь его поперечного сечения, дает сопротивление грунта под нижним концом сваи для определения несущей способности ее по формуле 8 СНиП 2.02.03-85 «Свайные фундаменты». Разгрузку сваи рекомендуется производить ступенями по 1/5 максимально достигнутого давления с выдержкой каждой ступени по 2 мин. (рис. 3).

3.11. После испытания стальная складывающаяся свая извлекается из грунта специальным тяговым устройством. Если сила этого устройства оказывается недостаточной, производится складывание сваи путем смещения сердечника вниз относительно оболочки ударами молота.

После складывания пробная свая должна быть тотчас же извлечена, пока грунт не охватил ее вновь. Перед складыванием после «отдыха» рекомендуется добить сваю на 5 - 6 см для уменьшения сцепления ее с грунтом.

Отверстие, оставшееся в грунте после извлечения сваи, должно быть немедленно засыпано, утрамбовано и ограждено.

3.12. НИИМосстроем создана конструкция для статического испытания свай с автоматическим поддержанием заданного давления рабочей жидкости в гидравлическом домкрате при каждой ступени нагрузки и с дистанционной регистрацией результатов для определения несущей способности свай (УИС-1).

Рис. 3. Статическое испытание стальной складывающейся сваи

3.13. Устройство УИС-1 состоит из гидравлического домкрата с насосной станцией, приводимой в действие электромотором, преобразователя давления и измерителя перемещения свай, передающих сигналы регистрирующему устройству. Электромотор, приводящий в действие насосную станцию, включается и выключается по командам, посылаемым электроконтактным манометром, контролирующим давление в гидродомкрате, что обеспечивает поддержание заданной величины давления на сваю при каждой ступени нагрузки.

3.14. Работа автоматизированного устройства осуществляется через гидравлический домкрат, установленный на сваю под анкерный упор; от насосной станции по рукаву высокого давления подается рабочая жидкость до требуемого для данной ступени нагрузки давления.

По достижении этого давления электроконтактный манометр отключает электродвигатель насосной станции. Одновременно срабатывает предохранительный клапан и сбрасывает излишки рабочей жидкости, полученной от вращения по инерции ротора электродвигателя.

При снижении давления в домкрате электроконтактный манометр включает электродвигатель до достижения требуемой нагрузки на сваю. При переходе на следующую ступень нагрузки предохранительный клапан и электроконтактный манометр устанавливают на соответствующее давление. Два прогибомера фиксируют осадку двух противоположных точек сваи посредством закрепленного к ней хомута и присоединенных к нему струн. Другим концом струны прикреплены к торцам груза - коромысла преобразователя перемещений. Этим обеспечивается натяжение струн. Перемещаясь со сваей, струны через барабанчики прогибомеров перемещают коромысло. Середина коромысла передает упругим элементам преобразователя среднюю величину перемещения сваи. Сигналы от преобразователя перемещений сваи и преобразователя жидкости по электрокабелям через тензоусилители подаются на входы графопостроителя, который автоматически строит график зависимости «осадка-нагрузка», по которому определяют несущую способность сваи в соответствии с ГОСТ 5686-78.

4. ПРИЕМКА, ТРАНСПОРТИРОВАНИЕ И ХРАНЕНИЕ ЖЕЛЕЗОБЕТОННЫХ СВАЙ

4.1. Качество железобетонных свай должно соответствовать требованиям ГОСТ 19804-91, ГОСТ 19804.2-79, ГОСТ 19804.4-78.

4.2. Прочность бетона свай при получении их со склада не должна быть ниже 100 % проектной.

4.3. Каждую партию свай предприятие-изготовитель обязано снабдить документом, в котором удостоверяется соответствие свай требованиям действующего стандарта и указывается:

- наименование и адрес предприятия-изготовителя;

- номер партии и дата ее изготовления;

- марка и количество свай;

- прочность бетона свай;

- результаты испытаний свай.

На каждой свае несмываемой краской должна быть обозначена марка сваи, дата изготовления и марка предприятия-изготовителя.

4.4. При приемке сваи надлежит освидетельствовать с целью установления соответствия их качества действующим стандартам.

Отклонения размеров железобетонных свай от проектных не должны превышать величин, предусмотренных СНиПами и ГОСТами.

Поверхность свай должна быть гладкой, без раковин и местных неровностей.

Трещины на участках поверхности свай, подверженных попеременному замораживанию и оттаиванию, а также воздействию агрессивной среды, не допускаются. В остальных местах допускаются только «волосяные» трещины шириной не более 0,2 мм.

Смещение острия сваи от центра не должно превышать 10 мм. Наклон плоскости верхнего торца сваи к плоскости, перпендикулярной ее оси, должен быть не более 1 %.

4.5. Строповку свай при подъеме надлежит производить в местах, предусмотренных проектом.

При укладке изделий на транспортные средства, а также в штабеля при разгрузке, их следует опирать на специальные деревянные прокладки, располагаемые рядом с подъемными петлями по вертикали: одна над другой. Для сохранности подъемных петель толщина прокладок должна быть на 2 см больше высоты петли либо петли должны размещаться в зазоре между изделиями (при шахматном расположении их по высоте).

При перевозке конструкций должны быть приняты меры против их повреждения.

Сваи надлежит укладывать в штабеля горизонтальными рядами так, чтобы была видна маркировка.

Прокладки под нижним рядом штабеля должны иметь размеры, обеспечивающие устойчивость основания под штабелем.

4.6. На стройплощадке сваи рекомендуется укладывать в один ряд по высоте в зоне действия сваебойного агрегата с таким расчетом, чтобы сразу поднимать их на копер.

Перетаскивание свай по земле волоком без специальных приспособлений, обеспечивающих их сохранность, запрещается.

5. ПРОИЗВОДСТВО СВАЙНЫХ РАБОТ

5.1. Производство свайных работ при устройстве фундаментов домов разрешается после корректировки проекта фундамента на основании результатов пробной забивки и испытания свай.

5.2. Производитель работ должен иметь проект производства работ по устройству свайного фундамента, содержащий график их производства; ведомость необходимого оборудования, схему раскладки свай и движения сваебойной установки; технологическую карту на устройство ростверка.

До начала свайных работ следует произвести инструментальную разбивку осей здания, свайных рядов и надежно закрепить их стальными штырями диаметром 6 - 8 мм и длиной 200 - 250 мм. Вне пределов возможных осадок грунта установить временные реперы, привязанные к постоянному реперу.

При необходимости следует заготовить специальные деревянные щиты или железобетонные плиты для укладки их под гусеницы сваебойного агрегата в случаях просадок и перекосов его на слабом грунте.

5.3. Забивку свай рекомендуется производить с применением самоходных полноповоротных установок на базе экскаваторов или кранов с дизельными молотами, а при малых объемах работ - установками на базе автомашин (например, типа КО-8).

Для забивки свай с повышенной точностью следует применять самоходные установки с самоустанавливающимися в вертикальное положение копровыми стрелами конструкции НИИМосстроя.

5.4. В зоне работ сваебойного агрегата должно быть необходимое количество свай, уложенных в местах, предусмотренных проектом производства работ. При этом должна быть обеспечена возможность подъема и установки свай на место забивки без перетаскивания их волоком и без дополнительного перемещения сваебойного агрегата.

5.5. До погружения каждая свая должна быть размечена на метры от острия к голове несмываемой краской. Для последующего контроля длины каждой сваи глубина ее погружения в грунт и абсолютная отметка поверхности грунта у сваи должны быть занесены в журнал забивки свай.

5.6. Для свай квадратного или прямоугольного сечения следует применять круглые в плане или поворотные стальные наголовники, позволяющие повернуть вокруг вертикальной оси установленную для забивки сваю так, чтобы положение ее граней соответствовало проектному. Поворот сваи производится посредством специального ключа. В наголовнике при штанговом дизель-молоте должна быть прокладка из двух слоев досок общей толщиной 10 - 12 см или из других проверенных при производстве работ материалов, предохраняющих голову сваи от разрушения.

5.7. При транспортировании, подъеме и установке свай на место забивки следует предохранять их от ударов и изгиба.

5.8. После установки сваи на точку забивки отклонение острия сваи от проектного положения в плане на величину более 1 см недопустимо.

5.9. Перед началом забивки копровая стрела и свая должны быть приведены в вертикальное положение с соблюдением соосности сваи и молота.

5.10. В начале забивки сваи отклонения ее от вертикали следует своевременно выправлять соответствующими перемещениями копровой стрелы и молота, не допуская при этом повреждения сваи.

5.11. При производстве свайных работ ведется журнал забивки каждой сваи с последующим составлением сводной ведомости.

В конце забивки свай величина среднего отказа, определенного от каждого из трех последних залогов по 10 ударов в каждом, должна быть не более величины контрольного (расчетного) отказа, заданного в рабочих чертежах с учетом результатов испытания свай после «отдыха». При этом должен применяться молот, предусмотренный проектом.

5.12. Отклонения в плане от проектного положения забитых свай квадратного и прямоугольного сечения, полых круглых свай диаметром до 0,5 м не должны превышать:

при однорядном расположении:

поперек оси свайного ряда                                     - 0,2Д

вдоль оси свайного ряда                                          - 0,3Д

для кустов и лент при расположении свай в 2 и 3 ряда:

для крайних свай поперек оси свайного ряда       - 0,2Д

для остальных свай                                                  - 0,3Д

при сплошном свайном поле:

для крайних свай                                                      - 0,2Д

для средних свай                                                      - 0,4Д

для одиночных свай, см                                                        - 5

При отклонении свай от проектного положения расстояние в свету от сваи до края ростверка должно быть не менее 5 см.

Примечания:

1. Д - размер меньшей стороны поперечного сечения сваи или диаметр круглой сваи.

2. Число свай, имеющих максимально допустимые отклонения от проектного положения, не должно превышать при ленточном расположении 25 % общего числа свай.

Отклонение оси сваи от вертикали не должно превышать 1 см на 1 м длины.

Исправление положения сваи после забивки путем горизонтального смещения сваи в грунте каким-либо усилием (копровой стрелой, тросом и т.д.), могущее вызвать излом, категорически запрещается.

5.13. Если забитая свая отклонилась от проектного положения и не может быть использована как полноценная, взамен нее должна быть забита дублирующая свая до перехода сваебойного агрегата на другой ряд. Для этого необходимо проверять правильность положения свай сразу же после забивки каждого ряда.

5.14. В целях контроля за несущей способностью свай забивка каждой рабочей сваи должна производиться до расчетного отказа в соответствии с требованиями проекта, СНиП 2.02.03-85 и ГОСТ 5686-78.

Вопрос об использовании, замене или усилении сваи, забитой с недопустимым отклонением, поврежденной или не имеющей требуемой несущей способности, должен решаться проектной организацией.

5.15. Для контроля достижения сваями несущего слоя грунта при цельных сваях с повышенными расчетными нагрузками 60 - 70 тс и более, а при необходимости и в других случаях должна быть проверена фактическая глубина погружения в грунт забитых свай. Проверка может быть выполнена импульсным методом, основанным на измерении времени прохождения прямого и отраженного электрического импульса по арматуре сваи. В качестве измерительного прибора используется индикатор кабельных неоднородностей марки Р-5-12, фиксирующий время поступления электрического импульса, отраженного от нижнего конца арматуры сваи.

5.16. Срубка голов забитых свай разрешается после приемки свайного поля представителем авторского надзора, оформляемой соответствующим актом.

5.17. Для приемки свайного поля строительная организация представляет следующие документы:

исполнительный план расположения свай с указанием отклонений их от проектного положения и дополнительно забитых (дублирующих) свай;

сводную ведомость погруженных свай;

акты приемки геодезической разбивки свайного поля;

результаты испытания свай.

5.18. В зимнее время устраиваются лидирующие отверстия для свай в мерзлом слое грунта с применением лидирующих желонок или с использованием ямобуров, тенов и других устройств в зависимости от условий производства работ.

5.19. Монтаж и демонтаж сваебойных агрегатов на базе кранов-экскаваторов, ремонт и обслуживание навесного копрового оборудования (копровые стрелы, свайные молоты, инвентарные сваи, наголовники) и оборудования для статического и динамического испытания свай выполняются специализированными организациями.

Ремонт и обслуживание базовых машин копровых установок, перебазировка копровых агрегатов, а также других машин и механизмов, используемых при устройстве свайных фундаментов, производятся организациями, на балансе которых они находятся.

5.20. Ввод копров или навесного копрового оборудования в эксплуатацию разрешается при наличии на них паспортов и соответствующей технической документации, в т.ч. инструкции по эксплуатации, монтажу и демонтажу, карт смазки и технического обслуживания; акта на окончание монтажных работ, имеющих заключение о технической неисправности копра, навесного оборудования и базовой машины, а также при наличии обученного персонала и лиц, ответственных за организацию безопасной работы (последние назначаются приказом по строительной организации из числа инженерно-технических работников, по одному человеку в каждую смену работ).

Копер и свайный молот вводятся в эксплуатацию после их приемки комиссией по акту. Комиссия назначается приказом по строительной организации.

В состав комиссии по приемке копра в эксплуатацию входят: производитель работ (мастер); главный механик строительной организации; бригадир копровщиков (его помощник); лицо, ответственное за техническое состояние базовой машины (крана, экскаватора, трактора); машинист копра (базовой машины).

Акт приемки копра составляется в трех экземплярах: первый хранится на месте работ копра у производителя работ (мастера), второй - у главного механика строительной организации и третий - в управлении механизации владельца копра или базовой машины (крана, экскаватора, трактора).

6. УСТРОЙСТВО МОНОЛИТНОГО ЖЕЛЕЗОБЕТОННОГО РОСТВЕРКА

6.1. Устройство ростверков или монтаж и замоноличивание сборных оголовков производится трестом фундаментостроения или общестроительным трестом, являющимися генеральными подрядчиками. Устройство ростверка разрешается после приемки свайного поля представителем авторского надзора с составлением соответствующего акта. Срубка свай производится после приемки свайного поля.

6.2. Срубка свай и заделка их голов в ростверк должны быть выполнены в соответствии с проектом. Верхние торцы свай, заделываемых в ростверк, должны быть горизонтальными. Бетон свай не должен иметь трещин и околов, уменьшающих защитный слой арматуры в узлах сопряжения свай с ростверками. Сваи должны быть заделаны в ростверк на глубину не менее 50 мм от его низа.

6.3. При устройстве монолитных ростверков надлежит руководствоваться проектом, ППР, СНиП 2.03.01-84 «Бетонные и железобетонные конструкции» и настоящей Инструкцией.

6.4. Основание под монолитный ростверк должно быть тщательно спланировано по проектным отметкам и уплотнено.

6.5. Армирование ростверков следует выполнять преимущественно укрупненными арматурными каркасами и сетками заводского изготовления. При установке арматуры должна быть обеспечена предусмотренная проектом толщина защитного слоя бетона.

6.6. Опалубку ростверка следует применять разборно-переставную, собираемую из инвентарных щитов, допускающих многократную оборачиваемость. Рекомендуется применять опалубку, разработанную трестом Мосоргстрой, - «Опалубка металлическая для устройства ростверков», чертеж № 8866.

Опалубку надлежит надежно закрепить и устранить в ней неплотности, через которые может вытекать при бетонировании цементный раствор.

Размеры и положение опалубки должны соответствовать проекту.

6.7. До начала работ по бетонированию ростверка с представителем авторского надзора должны быть проверены правильность установки опалубки и арматуры, надежность их крепления, обеспечение требуемого защитного слоя бетона с оформлением соответствующих актов на освидетельствование скрытых работ.

Опалубка, основание ростверков и верхние торцы свай должны быть очищены от мусора, снега и льда. Обогрев паром или промывка водой в зимнее время не разрешается.

6.8. При устройстве ростверков должен вестись геодезический контроль за обеспечением правильного положения конструкций в соответствии с требованиями СНиП 3.01.03-84 «Геодезические работы в строительстве».

6.9. Бетонирование ростверков надлежит осуществлять в соответствии с требованиями СНиП 2.03.01-84 «Бетонные и железобетонные конструкции» с тщательным уплотнением бетонной смеси вибратором.

Подача смеси в опалубку бункерами, ковшами, опрокидывающимися бадьями или специальными механизмами, предусмотренными ППР, должна производиться так, чтобы арматура ростверка не была деформирована или смещена с проектного положения и бетонная смесь не расслаивалась на месте укладки.

Высота свободного сбрасывания смеси в момент выгрузки не должна превышать 1 м. Для предотвращения расслаивания бетон следует подавать в опалубку ростверка без образования куч, т.к. скатывание по их наклонным поверхностям приводит к отделению крупного инертного заполнителя.

6.10. Продолжительность перерывов в бетонировании, при которых требуется устройство рабочих швов, должна определяться в зависимости от вида и характеристики применяемого цемента и температуры твердения бетона. Укладка бетонной смеси после таких перерывов допускается после приобретения бетоном прочности не менее 15 кгс/см2.

6.11. Поверхность рабочих швов должна быть перпендикулярна продольной оси бетонируемого элемента ростверка. Для выполнения рабочих швов следует устанавливать стальную сетку из проволоки диаметром 1 - 1,1 мм с размером ячеек не более 5×5 см. Сетка должна быть обезжирена.

6.12. Отделка верха бетона монолитного ростверка производится строго по проектным отметкам. Верх ростверка должен быть выровнен по уровню затиркой цементным раствором.

6.13. Уход за уложенным бетоном должен осуществляться в соответствии со СНиП 2.03.01-84.

6.14. После бетонирования ростверка хождение по бетону, не набравшему прочности 15 кгс/см2, или иное его загружение не разрешается.

6.15. Снятие боковых элементов опалубки, не несущих нагрузки от массы конструкций, допускается только после достижения бетоном прочности, обеспечивающей сохранность поверхности и кромок углов.

6.16. Обнажение арматуры и раковины на поверхностях ростверка, а также в местах сопряжения ростверка со сваями не допускаются.

6.17. Снятие несущей опалубки и возведение на свайном фундаменте вышележащих конструкций разрешается не ранее достижения бетоном ростверка или монолитных стыков 70 % проектной прочности, если в проекте нет иных указаний по этому вопросу.

6.18. Заделка колонн в стаканы ростверков должна быть выполнена с особой тщательностью, с обеспечением 100 %-ной проектной прочности бетона в заделке.

6.19. Полная расчетная нагрузка фундамента должна производиться не ранее достижения бетоном ростверка проектной прочности.

7. ТРЕБОВАНИЯ БЕЗОПАСНОСТИ

7.1. При производстве работ по устройству свайных фундаментов домов повышенной этажности, возводимых из типовых жилых секций, надлежит соблюдать правила техники безопасности, предусмотренные СНиП III-4-80* «Техника безопасности в строительстве», «Временной инструкцией по технике безопасности при выполнении свайных работ с применением стационарных и самоходных установок», «Инструкцией по технике безопасности при монтаже стальных и железобетонных конструкций» (1965 г.), «Правилами устройства и безопасной эксплуатации грузоподъемных кранов» (1981 г.) и настоящей Инструкцией.

7.2. При работе самоходными установками по испытанию стальных инвентарных и железобетонных свай должны систематически проверяться исправность механизмов, надежность болтовых соединений, состояние стальных канатов и правильность их запасовки.

7.3. При монтаже, демонтаже, передвижении копровой установки и при подъеме, забивке, испытании и извлечении свай в опасной зоне не должны находиться люди (в том числе и обслуживающий персонал). При перемещении установки молот должен находиться в нижнем положении.

7.4. При эксплуатации установки и стальной сваи запрещается:

а) работать на неисправной установке и применять неисправные стальные сваи;

б) перемещать установку с поднятой стрелой при уклонах местности более 3 %;

в) использовать установку для погрузочно-разгрузочных работ;

г) оставлять на грузовом крюке груз в подвешенном состоянии;

д) оставлять в поднятом положении ударную часть дизель-молота;

е) извлекать сваи без установки выносных опор или опирания на аутригеры;

ж) смазывать штанги и поршень дизель-молота во время работы;

з) оставлять незасыпанным отверстие в грунте после извлечения сваи;

и) подходить к забиваемой свае во время работы молота; к) подтягивать тросом сваю, расположенную сбоку от установки или находящуюся впереди нее на расстоянии более 5 м.

7.5. До начала строительных работ на объекте инженерно-технический персонал, бригадиры и звеньевые должны подробно ознакомиться со спецификой производства работ и проектами производства работ Рабочие должны быть проинструктированы и обучены безопасным приемам по всем видам выполняемых ими работ.

7.6. К работам, связанным с забивкой свай, срубкой их и монтажом стальных балок допускаются рабочие-мужчины не моложе 18 лет, прошедшие обязательное медицинское освидетельствование, обученные профессиям копровщика и строповщика с правом работы на высоте, прошедшие курсы по технике безопасности работ, сдавшие экзамены квалификационной комиссии и имеющие соответствующие удостоверения.

7.7. При работе сваебойных установок должны систематически проверяться исправность механизмов, надежность болтовых соединений, состояние стальных канатов и правильность их запасовки.

7.8. Производство каких-либо работ, не имеющих непосредственного отношения к выполняемому технологическому процессу, в опасной зоне запрещается (в частности, запрещается осуществлять в опасной зоне при забивке свай их срубку).

Опасной зоной при производстве свайных работ считается зона вблизи размещения копра с границей, проходящей по окружности, центром которой является место забивки очередной сваи, и с радиусом, равным полной длине копровой стрелы (мачты) плюс 5 м с включением линейной зоны шириной 10 м, расположенной вдоль оси троса для подтаскивания свай от места стоянки копра до места раскладки свай.

Площадка, где производится складирование, перемещение и раскладка свай (перед подтаскиванием их к копру), также относится к опасной зоне.

Опасной зоной при срубке голов свай считается круговая зона вблизи срубаемой сваи с радиусом, равным длине выступающей над землей части сваи плюс 5 м.

Все опасные зоны на площадке должны быть обозначены хорошо видимыми предупредительными знаками и надписями.

7.9. Запрещается:

- располагать копровую установку ближе 50 м от места производства работ по выемке котлованов или траншей, а также от мест рыхления грунта (в том числе мерзлого) клин-молотом, шар-бабой, баровыми машинами и другими средствами;

- установка и работа сваебойных агрегатов и кранов на свеженасыпанном грунте, а также на площадках с уклоном более указанного в паспорте, в инструкции по эксплуатации машины или в проекте производства работ;

- в пределах призмы обрушения котлованов траншей и прочих выемок располагать и устанавливать машины, краны, копровые агрегаты, оборудование, а также складировать и штабелировать сваи, панели, строительные детали и материалы.

7.10. Перемещение и установка машин вблизи земляных выемок разрешается при соблюдении величин наименьшего расстояния по горизонтали от подошвы откоса выемки до ближайшей опоры машины (см. таблицу).

Таблица

Глубина выемки

Величина наименьшего расстояния от подошвы откоса до ближайшей опоры машины для ненасыпных грунтов, м

грунт

песчаный или гравелистый

супесчаный

суглинистый

глинистый

1

1,5

1,25

1

1

2

3

2,4

2

1,5

3

4

3,6

3,25

1,75

4

5

4,4

4

3

5

6

5,3

4,75

3,5

При невозможности соблюдения указанных расстояний откос следует надежно укрепить.

Расстояние от крайней опоры машин и оборудования до бровки и крепления выемки должно быть не менее 1 м при всех видах работ.

7.11. Монтаж копра, а также его демонтаж производится по имеющейся в паспорте схеме или по проекту производства работ под непосредственным руководством механика и мастера.

Для выхода из котлована и траншей по откосам должны быть сделаны стремянки или трапы с боковыми ограждениями. В зимнее время их надлежит очищать от снега и наледи и посыпать песком или шлаком.

7.12. Забивка свай должна производиться в последовательности, указанной в проекте производства работ, и в соответствии с рабочими чертежами проекта.

Запрещается вести забивку свай в охранной зоне (например, в охранной зоне воздушных линий электропередачи) без согласования с организацией, эксплуатирующей линии.

7.13. Забивка свай вблизи подземных коммуникаций, а также вблизи проложенных электрокабелей и в охранной зоне воздушных линий электропередач производится при наличии наряда-допуска, подписанного главным инженером строительной организации и в присутствии представителя эксплуатирующей организации. При этом допуск бригады к выполнению работ разрешается только после ознакомления (под расписку) всех ее членов с проектом производства работ, рабочим проектом данного объекта и инструктажа на рабочем месте с выдачей наряда на особо опасные работы.

7.14. Оставлять сваи или молот в подвешенном состоянии на тросе копра запрещается.

Наголовник и молот (или молот, оснащенный наголовником) опускается на сваю после установки ее на точку забивки и разворота граней специальным ключом по заданным осям.

При перемещении копра по строительной площадке молот должен находиться в нижнем положении. Перемещение копра с подвешенной сваей запрещается.

Нахождение людей непосредственно под молотом или подвешенной сваей запрещается.

Перед пуском молота бригадир (звеньевой) обязан предупредить об этом всех находящихся у копра и лично убедиться, что люди находятся на своих рабочих местах. Допуск к рабочим местам посторонних лиц запрещается.

7.15. При погружении железобетонных свай в грунт для предохранения голов свай от разрушения и для предохранения копровщиков от поражения осколками следует применять специальные наголовники с деревянными или войлочными вкладышами-амортизаторами.

7.16. Работа копров на слабых или водонасыщенных грунтах в условиях засасывания грунтом ходовых устройств или перемещения копра по воде не допускается. Для обеспечения перемещений и работы копров на слабых или водонасыщенных грунтах в соответствии с требованиями безопасности и нормальной эксплуатации должны быть разработаны проекты, предусматривающие использование специальных заранее заготовленных деревянных щитов, дорожных плит и др.

7.17. При погружении сваи в процессе ее забивки молотом на величину менее 0,1 см от одного удара работы по забивке сваи следует прекращать, так как такой режим работы копрового и сваебойного оборудования может привести к их поломкам. При необходимости дальнейшей забивки сваи должен быть применен молот с большей погружающей способностью.

7.18. Срубка свай должна выполняться с применением безопасных приемов труда. При срубке забитой сваи должны быть приняты меры, предотвращающие внезапное падение срезанной части сваи (например, страховка палочными приспособлениями, подвешенными на крюк грузоподъемной машины). При срубке с применением отбойного молочка следует, сколов по углам поперечного сечения сваи бетон, обнажить продольную арматуру и перерезать ее автогеном, после чего пикой отбойного молотка отделить срубаемую часть сваи и удалить ее при помощи грузоподъемной машины.

Срубка голов сваи на уровне более 1 м от поверхности грунта выполняется с подмостей (конструкция и состояние подмостей должны удовлетворять требованиям правил техники безопасности). Срубка голов свай с помощью приставных лестниц запрещается.

В зоне срубаемой части и возможного разлета осколков бетона может находиться только рабочий-срубщик.

Одновременная срубка и валка соседних свай в зоне разлета осколков бетона другим рабочим категорически запрещается.

7.19. К работе с пневматическими молотками могут быть допущены лица, прошедшие медицинское освидетельствование, производственное обучение и имеющие соответствующие удостоверения на право работы с пневматическим инструментом применительно к условиям работы по срубке голов свай.

7.20. Производить сварочные работы на открытом воздухе во время грозы, дождя или снегопада запрещается.

В электросварочных установках должны быть предусмотрены надежные ограждения всех элементов, находящихся под напряжением.

7.21. Запрещается установка стальных балок вблизи неизолированных электропроводов, находящихся под напряжением. В случае необходимости указанные работы должны выполняться под руководством мастера.

СПИСОК ЛИТЕРАТУРЫ

1. ГОСТ 19804.2-79. Сваи забивные железобетонные сплошного квадратного сечения с поперечным армированием ствола, с напрягаемой арматурой.

2. ГОСТ 19804.4-78*. Сваи забивные железобетонные квадратного сечения без поперечного армирования ствола.

3. ГОСТ 5686-78*. Сваи и сваи-оболочки. Методы полевых испытаний.

4. СНиП 2.02.03-85. Свайные фундаменты.

5. СНиП 2.02.01-83. Основания зданий и сооружений.

6. Руководство по производству и приемке работ при устройстве оснований и фундаментов. М., Стройиздат, 1977.

7. СНиП 3.02.01-87. Земляные сооружения, основания и фундаменты.

8. СНиП 3.01.03-84. Геодезические работы в строительстве.

9. СНиП 2.03.01-84*. Бетонные и железобетонные конструкции.

10. Ведомственные строительные нормы. Указания по определению несущей способности и необходимой длины свай (ВСН 31-95). НИИМосстрой.

11. СНиП 3.01.01-85*. Организация строительного производства.

12. СНиП III-4-80*. Техника безопасности в строительстве.

СОДЕРЖАНИЕ

 




Яндекс цитирования



   Copyright © 2007-2026,  www.tehlit.ru.

[ ѓосты, стандарты, нормативы, инструкции, правила, строительные нормы ]