//
ТехЛит.ру
- крупнейшая бесплатная электронная интернет библиотека для "технически умных" людей.
WWW.TEHLIT.RU - ТЕХНИЧЕСКАЯ ЛИТЕРАТУРА

:: Алготрейдинг::


АЛГОТРЕЙДИНГ
шаг за шагом
с нуля по урокам!

Торговые роботы на PYTHON, BackTrader,
Pandas, Pine Script для TradingView. Связка с брокерами, телеграм и легкими приложениями.


ГОСУДАРСТВЕННЫЙ СТАНДАРТ СОЮЗА ССР

ИЗДЕЛИЯ ОГНЕУПОРНЫЕ
И ВЫСОКООГНЕУПОРНЫЕ
ДЛЯ КЛАДКИ ВОЗДУХОНАГРЕВАТЕЛЕЙ
И ВОЗДУХОПРОВОДОВ ГОРЯЧЕГО
ДУТЬЯ ДОМЕННЫХ ПЕЧЕЙ

ТЕХНИЧЕСКИЕ УСЛОВИЯ

ГОСТ 20901-75

ИПК ИЗДАТЕЛЬСТВО СТАНДАРТОВ
Москва

ГОСУДАРСТВЕННЫЙ СТАНДАРТ СОЮЗА ССР

ИЗДЕЛИЯ ОГНЕУПОРНЫЕ И ВЫСОКООГНЕУПОРНЫЕ
ДЛЯ КЛАДКИ ВОЗДУХОНАГРЕВАТЕЛЕЙ
И ВОЗДУХОПРОВОДОВ ГОРЯЧЕГО ДУТЬЯ
ДОМЕННЫХ ПЕЧЕЙ

Технические условия

Refractory and high-refractory products for laying
of stoves and hot blast mains of blast furnaces
Specifications

ГОСТ
20901-75

Дата введения 01.01.77

Настоящий стандарт распространяется на огнеупорные динасовые, шамотные и высокоогнеупорные муллитокремнеземистые, муллитокорундовые изделия, предназначенные для кладки воздухонагревателей, воздухопроводов горячего дутья, штуцеров и фурменных приборов доменных печей.

Требования настоящего стандарта являются обязательными.

(Измененная редакция, Изм. № 1, 2, 4, 5).

1. ТИПЫ И МАРКИ

1.1. Огнеупорные изделия в зависимости от химического состава подразделяются на типы и марки, указанные в табл. 1.

Таблица 1

Тип изделия

Марка

Характеристика изделия

Применение

Динасовые

ДВ

Динасовые с массовой долей SiO2 не менее 93 %

В интервале температур 1100-1550 °С: при 1100 °С и нагрузке не более 2 Н/мм2; при 1500 °С и нагрузке не более 0,5 Н/мм2; при 1550 °С и нагрузке до 0,2 Н/мм2 в кладке насадки, стен, купола, верха камеры горения, штуцеров и воздухопроводов горячего дутья

Алюмосиликатные

МКВ-72

Муллитокорундовые с массовой долей Al2O3 не менее 72 %

В интервале температур 1100-1450 °С: при 1100-1200 °С и нагрузке не более 0,6 Н/мм2 в кладке насадки; при 1450 °С и нагрузке не более 0,3 Н/мм2 в кладке стен, купола, камеры горения и тракта горячего дутья

 

То же

В интервале температур 1100-1200 °С и нагрузке не более 0,7 Н/мм2 в кладке насадки

МКРВ-50

Муллитокремнеземистые с массовой долей Al2O3 не менее 50 %

В интервале, температур 1200-1350 °C: при 1200 °С и нагрузке не более 0,5 Н/мм2; при 1350 °С и нагрузке не более 0,1 Н/мм2 в кладке насадки, камеры горения; при 1350 °С и нагрузке не более 0,2 Н/мм2 в кладке стен, штуцеров и воздухопроводов горячего дутья

ШВ-42

Шамотные с массовой долей Al2O3 не менее 42 %

В интервале температур 900-1300 °С: при 900 °С и нагрузке не более 1,5 Н/мм2; при 1200 °С и нагрузке не более 0,5 Н/мм2 в кладке, насадки; при 1300 °С и нагрузке не более 0,2 Н/мм2 в кладке стен, штуцеров и воздухопроводов горячего дутья

ШВ-37

Шамотные с массовой долей Al2O3 не менее 37 %

В интервале температур 700-900 °С: при 700 °С и нагрузке не более 3 Н/мм2; при 900 °С и нагрузке не более 1 Н/мм2 в кладке насадки и стен, штуцеров и воздухопроводов горячего дутья

ШВ-1-37

То же

В интервале температур 700-900 °С: при 700 °С и нагрузке не более 2,5 Н/мм2; при 900 °С и нагрузке не более 0,8 Н/мм2 в кладке насадки, стен, штуцеров и воздухопроводов

ШВ-29

Шамотные с массовой долей Al2O3 не менее 29 %

При температуре не выше 700 °С и нагрузке не более 2,5 Н/мм2 в кладке насадки

ШВ-28

Шамотные с массовой долей Al2O3 не менее 28 %

При температуре не выше 700 °С и нагрузке не более 2 Н/мм2 в кладке насадки и стен

Примечание. Величина нагрузки определяется массой вышележащего кирпича.

(Измененная редакция, Изм. № 2, 3, 4, 5).

2. ФОРМА И РАЗМЕРЫ

2.1. Форма и размеры изделий должны соответствовать указанным на черт. 1-14 и в табл. 2-12.

Изделия для воздухонагревателей

Кирпич стеновой прямой

Черт. 1

Таблица 2

Номер изделия

а

б

в

мм

1

230

150

75

2

345

150

75

3

450

150

75

4

230

150

100

5

345

150

100

6

450

150

100

Кирпич стеновой клиновой симметричный

Черт. 2

Таблица 3

Номер изделия

а

б

б1

в

Номер изделия

а

б

б1

в

мм

мм

7

230

150

135

75

12

230

150

135

100

8

230

150

120

75

13

230

150

125

100

9

345

150

125

75

14

345

150

120

100

10

345

150

110

75

15

345

150

110

100

11

450

150

115

75

16

450

150

115

100

Примечание к табл. 2 и 3. Допускается изготовлять алюмосиликатные изделия толщиной 100 мм по согласованию потребителя с предприятием-изготовителем.

Кирпич купольный

Черт. 3

Таблица 4

Номер изделия

а

б

в

г

д

е

ж

Номер изделия

а

б

в

г

д

е

ж

мм

мм

17

450

150

117

84

84

65

65

39

450

150

136

84

64

76

58

18

450

150

117

84

74

65

57

40

450

150

140

84

84

76

76

19

450

150

117

84

64

65

49

41

450

150

140

84

84

79

79

20

450

150

125

84

84

70

70

42

450

150

140

84

74

79

70

21

450

150

125

84

79

70

66

43

450

150

140

84

64

79

60

22

450

150

125

84

74

70

62

44

450

150

150

84

84

68

68

23

450

150

125

84

69

70

58

45

450

150

150

84

74

68

58

24

450

150

125

84

64

70

53

46

450

150

150

84

84

70

70

25

450

150

129

84

84

73

73

47

450

150

150

84

74

70

67

26

450

150

129

84

79

73

69

48

450

150

150

84

84

79

79

27

450

150

129

84

74

73

64

49

450

150

150

84

74

79

69

28

450

150

129

84

69

73

60

50

450

150

150

84

84

77

77

29

450

150

129

84

64

73

56

51

450

150

150

84

74

77

67

30

450

150

133

84

84

75

75

52

450

150

150

84

84

75

75

31

450

150

133

84

80

75

71

53

450

150

150

84

74

75

65

32

450

150

133

84

74

75

66

54

450

150

150

84

84

73

73

33

450

150

133

84

70

75

63

55

450

150

150

84

74

73

63

34

450

150

133

84

64

75

57

56

450

150

150

110

110

103

103

35

450

150

136

84

84

76

76

57

450

150

150

110

100

103

93

36

450

150

136

84

80

76

72

58

450

150

140

110

110

103

103

37

450

150

136

84

74

76

67

59

450

150

140

110

100

103

94

38

450

150

136

84

70

76

63

60

450

150

140

110

90

103

84

Кирпич опорный

Черт. 4

Таблица 5

Номер изделия

а

б

б1

в

в1

мм

61

450

100

90

129

136

62

450

100

90

147

150

63

450

84

76

143

136

Кирпич для лаза купола

Черт. 5

Таблица 6*

Номер изделия

а

R1

R2

R3

R4

мм

64

450

480

300

400

252

65

450

480

300

412

252

66

450

480

300

425

252

67

450

480

300

429

252

68

450

480

300

433

253

69

450

450

300

420

280

70

450

450

300

390

260

* Таблица 7. (Исключена, Изм. № 3).

Кирпич для пробки купола

Черт. 6

Черт. 7

Черт. 8

Черт. 9

Кирпич насадочный прямой

Черт. 10

Таблица 8*

Номер изделия

а

б

в

мм

75

230

130

40

76

170

150

50

77

230

170

50

78

230

150

50

* Таблица 9, 10. (Исключены, Изм. № 3).

Кирпич насадочный фасонный

Черт. 11

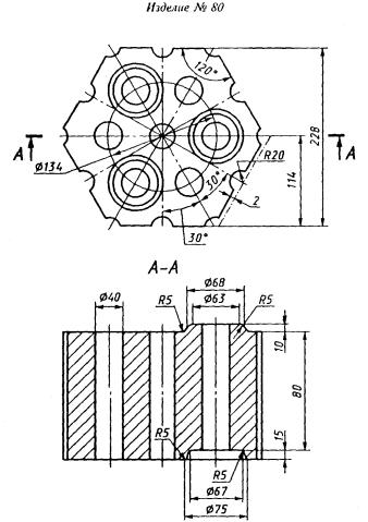
Кирпич насадочный шестигранный

Черт. 12

Изделия для воздухопровода горячего дутья, штуцеров и фурменных приборов

Кирпич прямой

Черт. 13

Таблица 11

Номер изделия

а

б

в

мм

81

230

65

65

82

230

85

65

83

230

113

65

84

250

123

65

Кирпич клиновой ребровый двухсторонний

Черт. 14

Таблица 12

Номер изделия

а

б

в

в1

Номер изделия

а

б

в

в1

мм

мм

85

230

65

65

45

96

250

160

75

70

86

230

85

65

45

97

250

160

75

65

87

230

113

65

55

98

250

160

75

60

88

230

113

65

45

99

250

180

75

55

89

250

123

65

55

100

250

180

75

60

90

250

120

75

70

101

250

180

75

65

91

250

120

75

65

102

250

180

75

70

92

250

120

75

60

103

250

200

75

55

93

250

140

75

70

104

250

200

75

60

94

250

140

75

65

105

250

200

75

65

95

250

140

75

60

106

250

200

75

70

(Измененная редакция, Изм. № 2, 3).

2.2. Допускается изготовлять изделия по чертежам потребителя, согласованным с предприятием-изготовителем.

2.3. Допускается изготовлять шестигранные насадочные изделия толщиной 120, 160 мм и более по согласованию потребителя с предприятием-изготовителем.

2.4. Радиусы закругления R3 (черт. 11), R5 и R20 (черт. 12) и углы (черт. 5-9, 12) контролируются при изготовлении пресс-форм.

Средняя кажущаяся плотность, объем и масса изделий приведены в приложениях 2, 3.

(Измененная редакция, Изм. № 3).

2.5. Предельные отклонения по размерам изделия не должны превышать указанных в табл. 13.

Таблица 13

Размеры

Пред. откл. для изделий, мм

насадочных

стеновых, купольных и для воздухопроводов

Длина и радиус изделий:

 

- до 230 мм

-2

±2

- св. 230 до 350 мм

-

±3

- св. 350 до 450 мм

-

±4

Ширина

-2

±2

Толщина

±1

±1

2.6. Для насадочных шестигранных изделий предельные отклонения по размерам не должны превышать указанных в табл. 14.

Таблица 14

Размеры

Пред. откл., мм

Расстояние между параллельными гранями

-2

Толщина

±2

Диаметр отверстий

±2

2.3. - 2.6. (Измененная редакция, Изм. № 2).

3а. ТРЕБОВАНИЯ БЕЗОПАСНОСТИ

3а.1. При производстве динасовых изделий вредным производственным фактором является неорганическая пыль кварцита, содержащая двуокись кремния, относящуюся к третьему классу опасности. Величина предельно допустимой концентрации (ПДК) пыли кварцита в воздухе рабочей зоны производственных помещений не должна превышать 1 мг/м3 (ГОСТ 12.1.005).

При производстве алюмосиликатных изделий вредным производственным фактором является неорганическая пыль глинозема, глины, каолина, шамота, содержащая свободную SiO2. Неорганическая пыль относится к 4-му классу опасности, ПДК пыли в воздухе рабочей зоны производственных помещений не должна превышать 6 мг/м3 по ГОСТ 12.1.005.

3а.2. При производстве динасовых и алюмосиликатных изделий должна соблюдаться система стандартов по охране окружающей среды по ГОСТ 17.0.0.01 и ГОСТ 17.2.3.02.

3а.1., 3а.2. (Введены дополнительно, Изм. № 3, Измененная редакция, Изм. № 5).

3. ТЕХНИЧЕСКИЕ ТРЕБОВАНИЯ

3.1. Изделия должны изготовляться в соответствии с требованиями настоящего стандарта и по физико-химическим показателям и показателям внешнего вида должны соответствовать требованиям, указанным в табл. 15.

3.2. Изделия по всей поверхности излома должны иметь однородное строение, без трещин, пустот и инородных включений. Отдельные зерна не должны выкрашиваться.

3.1.-3.2. (Измененная редакция, Изм. № 1).

4. ПРАВИЛА ПРИЕМКИ

4.1. Изделия поставляются партиями. Каждая партия должна состоять из изделий одного назначения одной марки.

Масса партии устанавливается не более 225 т.

(Измененная редакция, Изм. № 1, 2, 5).

4.2. Правила приемки - по ГОСТ 8179 по плану контроля 2 с дополнением по пп. 4.2.1-4.2.4.

4.2.1. Для проверки соответствия качества изделий требованиям настоящего стандарта производят выборку от каждой партии по следующим показателям:

- внешний вид и размеры, строение, открытая пористость, предел прочности при сжатии, плотность динасовых изделий;

- массовая доля Аl2О3, SiО2, Fе2О3, дополнительная усадка или рост, температура начала размягчения, огнеупорность изделий всех марок и предел прочности при сжатии для шестигранных насадочных изделий - от каждой третьей партии.

Для партии массой до 75 т включ. подлежат проверке внешнего вида и размеров 10 изделий.

4.2, 4.2.1. (Измененная редакция, Изм. № 5).

4.2.2. Отклонение по толщине шестигранных насадочных изделий в каждой партии допускается в одну сторону (плюс или минус).

Таблица 15

Наименование показателя

Нормы для изделий марок

ШВ-37

МКВ-72

МКВН-72

ДВ

ШВ-28

ШВ-29

ШВ 1-37

ШВ-42

МКРВ-50

1. Массовая доля SiO2, %, свыше

-

-

-

93

-

-

-

-

-

2. Массовая доля Аl2О3, %, не менее

37

72

72

-

28

29

37

42

50

3. Массовая доля Fе2O3, %:

 

- не более

Не нормируется

1,2

1,1

 

Не нормируется

1,7

1,4

- не менее

-

-

-

2,0

-

-

-

-

-

4. Огнеупорность, °С, не ниже

1730

-

-

1690

1670

1670

1730

1750

-

5. Дополнительная линейная усадка при выдержке 2 ч, %, не более, при температуре, °С:

 

1350

0,2

-

-

-

0,5

0,4

0,3

-

-

1450

-

-

-

-

-

-

-

0,4

-

1500

-

-

-

-

-

-

-

-

0,4

1600

-

0,8

0,8

-

-

-

-

-

-

6. Дополнительный рост при выдержке 2 ч и температуре 1450 °С, %, не более

 

 

 

0,4

 

 

 

 

 

7. Температура начала размягчения, °С, не ниже

1330

1550

1580

1620

1270

1300

1320

1500

1540

8. Плотность, г/см3, не более

-

-

-

2,37

-

-

-

-

-

9. Пористость открытая, %, не более, для изделий:

 

- насадочных

23

21

23

22

25

24

24

14-20

21

- стеновых, купольных и для воздухопроводов

25

24

-

24

27

-

26

14-20

23

10. Предел прочности при сжатии, Н/мм2, не менее, для изделий:

 

- насадочных

20,0

50,0

40,0

30,0

15,0

20,0

17,5

40,0

40,0

- стеновых, купольных и для воздухопроводов

20,0

30,0

-

27,5

15,0

-

17,5

30,0

30,0

11. Кривизна изделий, мм, не более:

 

- для кладки насадки, куполов

2

- для кладки стен:

 

при длине изделия до 345 мм

2

при длине изделий св. 345 до 450 мм

3

- для кладки воздухопроводов

1

12. Отбитость на углах и ребрах глубиной, мм, не более, для изделий:

 

- насадочных и для воздухопровода

5

- стеновых и купольных

8

13. Выплавки отдельные диаметром (по впадине), мм, не более

5

14. Посечки шириной св. 0,3 до 0,5 мм

Допускаются длиной не более 50 мм

15. Трещины

Не допускаются

(Измененная редакция, Изм, № 2, 3, 4, 5).

4.2.3. Отклонение по толщине стеновых изделий для воздухонагревателей и изделий для воздухопровода доменных печей вместимостью 5000 м3 и выше в каждой партии допускается в одну сторону (плюс или минус).

4.2.4. Для купольных клиновых изделий, предназначенных для кладки воздухонагревателей доменных печей вместимостью 5000 м3 и выше, отклонения по кривизне допускаются в одной партии в пределах 0-1 или 1-2 мм.

4.3. (Исключен, Изм. № 2).

5. МЕТОДЫ ИСПЫТАНИЙ

5.1. Массовую долю Аl2O3, SiO2, Fе2О3 определяют по ГОСТ 2642.4, ГОСТ 2642.3 и ГОСТ 2642.5. Допускается применять другие методы, утвержденные в установленном порядке, обеспечивающие требуемую точность определения.

(Измененная редакция, Изм. № 5).

5.2. Огнеупорность определяют по ГОСТ 4069.

5.3. Температуру начала размягчения определяют по ГОСТ 4070. Для дырчатых насадочных изделий температуру начала размягчения определяют на цилиндрах высотой (42 ± 1) мм и диаметром (30 ± 1) мм. Образцы для испытания вырезаются из периферийной части шестигранного дырчатого изделия. Образцы из насадочных изделий толщиной 40 мм вырезают со стороны ребра (по ширине) размерами: диаметр - 36 мм и высота - 50 мм.

5.4. Дополнительную усадку или рост определяют по ГОСТ 5402.

5.5. Открытую пористость изделий № 1-63, 75-78, 81-106 определяют по ГОСТ 2409 или ГОСТ 25714; остальных номеров - по ГОСТ 2409.

5.6. Плотность динасовых изделий № 1-63, 75-78, 81-106 определяют по ГОСТ 2211 или ГОСТ 25714, остальных номеров - по ГОСТ 2211.

5.7. Предел прочности при сжатии изделий № 1-63, 75-78, 81-106 определяют по ГОСТ 4071 или ГОСТ 25714, остальных номеров - по ГОСТ 4071. Для шестигранных насадочных изделий предел прочности при сжатии определяют на образцах формы цилиндра (со сквозным отверстием) высотой 65 мм и диаметром 80 мм из изделий толщиной 80 мм и на образцах формы цилиндра (со сквозным отверстием) высотой 80 мм и диаметром 80 мм из изделий толщиной 120, 160 мм и более. Образец для испытания вырезают или высверливают из центра изделия с одним отверстием по центру. При расчете предела прочности при сжатии принимается площадь поперечного сечения образца без отверстия.

Площадь поперечного сечения образца (F), мм2, вычисляют по формуле

,

где D - наружный диаметр испытуемого образца, мм;

d - диаметр отверстия, мм.

5.5.-5.7. (Измененная редакция, Изм. № 3).

5.8. (Исключен, Изм. № 2).

5.9. Размер изделий определяют металлической линейкой (ГОСТ 427) с ценой деления шкалы 1 мм или соответствующими шаблонами, обеспечивающими заданную точность измерения.

Размеры прямых изделий (длину, ширину) измеряют по двум параллельным граням - посередине каждой грани. Толщину изделий измеряют посередине четырех граней. За результат измерений принимают среднее арифметическое результатов. Размеры изделий других конфигурации измеряют посередине каждой грани.

5.10. Кривизну изделий определяют на поверочной плите (ГОСТ 10905) или аттестованной металлической плите при помощи шаблона (щупа) шириной 10 мм и толщиной, превышающей на 0,1 мм установленную норму кривизны. Щуп не должен входить в зазор между плитой и изделием. При определении кривизны изделие слегка прижимают к плите и щуп вводят в зазор скольжением по плите без применения усилия. Кривизну изделий для лаза и пробки купола не определяют.

5.9, 5.10. (Измененная редакция, Изм. № 5).

5.11. Глубину отбитости углов и ребер определяют по ГОСТ 15136.

5.12. Диаметр выплавки замеряют металлической линейкой (ГОСТ 427) с ценой деления шкалы 1 мм.

5.13. Ширину посечек и трещин определяют при помощи измерительной лупы (ГОСТ 25706). Ширину посечек измеряют в месте максимальной величины. Шкала лупы должна быть перпендикулярна посечке или трещине. Между измерительной шкалой и поверхностью изделия помещают полоску белой бумаги, которую располагают вдоль шкалы вплотную к ее делениям.

Длину посечек и трещин измеряют металлической линейкой (ГОСТ 427) с ценой деления 1 мм.

(Измененная редакция, Изм. № 5).

5.14. Строение изделий в изломе определяют визуально.

(Введен дополнительно, Изм. № 5).

6. МАРКИРОВКА, ТРАНСПОРТИРОВАНИЕ И ХРАНЕНИЕ

6.1. (Исключен, Изм. № 5).

6.2. На шестигранных насадочных изделиях в зависимости от допусков по толщине на одну из боковых граней наносят полосу несмываемой краской следующего цвета:

- при допуске от -2 до 0 мм - красного;

- при допуске от 0 до +2 мм - синего.

6.3. Маркировка, упаковка, транспортирование и хранение изделий - по ГОСТ 24717.

Транспортная маркировка - по ГОСТ 14192.

Упаковка в пакеты - по ГОСТ 24717 (черт. 1), ящики типов 1-1, 1-2 по ГОСТ 10198.

Габаритные размеры пакета - по ГОСТ 24597, размеры ящиков - по ГОСТ 21140.

Изделия транспортируют в крытых железнодорожных вагонах, полувагонах и на платформах, водным или автомобильным транспортом в соответствии с правилами перевозки грузов, действующими на транспорте данного вида.

Размещение и крепление грузов - в соответствии с техническими условиями погрузки и крепления грузов, утвержденными МПС СССР.

(Измененная редакция, Изм. № 2, 3).

Приложение 1. (Исключено, Изм. № 4).

ПРИЛОЖЕНИЕ 2
Справочное

Средняя кажущаяся плотность при расчете массы изделий должна соответствовать указанной в таблице.

Марка изделия

Средняя кажущаяся плотность, г/см3

ШВ-29, ШВ-28

2,0

ШВ-37, ШВ 1-37

2,1

ШВ-42

2,3

МКРВ-50

2,4

МКВ-72, МКВН-72

2,7

ДВ

1,9

(Введено дополнительно, Изм. № 2).

ПРИЛОЖЕНИЕ 3
Справочное

Номер изделия

Объем, см3

Масса, кг, для измерения марок

ШВ-29

ШВ-37

ШВ-42

МКВ-72

МКВН-72

ДВ

ШВ-28

ШВ 1-37

МКРВ-50

1

2590

-

5,4

5,9

7,0

-

4,9

5,2

5,4

6,2

2

3880

-

8,1

8,9

10,5

-

7,4

7,7

8,1

9,3

3

5060

-

10,6

11,6

13,6

-

9,6

10,1

10,6

12,1

4

3450

-

-

-

-

-

6,6

-

-

-

5

5175

-

-

-

-

-

9,8

-

-

-

6

6750

-

-

-

-

-

12,8

-

-

-

7

2460

-

5,2

5,6

6,6

-

4,7

4,9

5,2

5,9

8

2330

-

4,9

5,4

6,3

-

4,4

4,7

4,9

5,6

9

3560

-

7,5

8,2

9,6

-

6,8

7,1

7,5

8,5

10

3360

-

7,0

7,7

9,1

-

6,4

6,7

7,0

8,0

11

4470

-

9,3

10,5

12,1

-

8,5

8,9

9,3

10,7

12

3280

-

-

-

-

-

6,2

-

-

-

13

3160

-

-

-

-

-

6,0

-

-

-

14

4660

-

-

-

-

-

8,9

-

-

-

15

4480

-

-

-

-

-

8,5

-

-

-

16

5960

-

-

-

-

-

11,3

-

-

-

17

4480

-

-

-

12,1

-

8,5

-

-

-

18

4190

-

-

-

11,3

-

8,0

-

-

-

19

3900

-

-

-

10,5

-

7,4

-

-

-

20

4760

-

-

-

12,8

-

9,1

-

-

-

21

4630

-

-

-

12,5

-

8,9

-

-

-

22

4490

-

-

-

12,1

-

8,5

-

-

-

23

4330

-

-

-

11,7

-

8,2

-

-

-

24

4190

-

-

-

11,3

-

8,0

-

-

-

25

4930

-

-

-

13,3

-

9,5

-

-

-

26

4770

-

-

-

12,9

-

9,1

-

-

-

27

4630

-

-

-

12,5

-

8,9

-

-

-

28

4470

-

-

-

12,1

-

8,2

-

-

-

29

4330

-

-

-

11,7

-

8,2

-

-

-

30

5060

-

-

-

13,6

-

9,7

-

-

-

31

4960

-

-

-

13,4

-

9,5

-

-

-

32

4760

-

-

-

12,8

-

9,1

-

-

-

33

4660

-

-

-

12,6

-

8,9

-

-

-

34

4460

-

-

-

12,0

-

8,5

-

-

-

35

5150

-

-

-

13,9

-

9,8

-

-

-

36

5020

-

-

-

13,5

-

9,6

-

-

-

37

4840

-

-

-

13,1

-

9,2

-

-

-

38

4710

-

-

-

12,7

-

8,9

-

-

-

39

4540

-

-

-

12,3

-

8,6

-

-

-

40

5260

-

-

-

14,2

-

10,0

-

-

-

41

5320

-

-

-

14,3

-

10,1

-

-

-

42

5000

-

-

-

13,5

-

9,5

-

-

-

43

4700

-

-

-

12,7

-

8,9

-

-

-

44

5130

-

-

-

13,9

-

9,8

-

-

-

45

4800

-

-

-

13,0

-

9,2

-

-

-

46

5200

-

-

-

14,0

-

9,9

-

-

-

47

4890

-

-

-

13,3

-

9,3

-

-

-

48

5500

-

-

-

14,8

-

10,5

-

-

-

49

5180

-

-

-

14,0

-

9,9

-

-

-

50

5430

-

-

-

14,7

-

10,3

-

-

-

51

5110

-

-

-

13,8

-

9,7

-

-

-

52

5370

-

-

-

14,5

-

10,2

-

-

-

53

5050

-

-

-

13,6

-

9,6

-

-

-

54

5300

-

-

-

14,3

-

10,1

-

-

-

55

4980

-

-

-

13,5

-

9,5

-

-

-

56

7190

-

-

-

20,0

-

13,7

-

-

-

57

6850

-

-

-

18,5

-

13,0

-

-

-

58

6950

-

-

-

18,7

-

13,2

-

-

-

59

6630

-

-

-

17,6

-

12,6

-

-

-

60

6320

-

-

-

15,7

-

12,0

-

-

-

61

5660

-

-

-

15,3

-

10,8

-

-

-

62

6350

-

-

-

17,1

-

12,1

-

-

-

63

5025

-

-

-

13,5

-

9,5

-

-

-

64

20700

-

-

-

55,8

-

39,3

-

-

-

65

21710

-

-

-

58,5

-

41,2

-

-

-

66

22720

-

-

-

61,0

-

43,2

-

-

-

67

23030

-

-

-

62,0

-

43,8

-

-

-

68

23300

-

-

-

63,0

-

44,3

-

-

-

69

18700

-

-

-

50,5

-

35,5

-

-

-

70

17300

-

-

-

46,7

-

32,9

-

-

-

71

19370

-

-

-

52,0

-

36,8

-

-

-

72

20040

-

-

-

54,0

-

38,1

-

-

-

73

17050

-

-

-

45,9

-

32,4

-

-

-

74

29700

-

-

-

80,0

-

56,4

-

-

-

75

1200

2,4

2,5

2,8

3,0

3,0

2,3

2,4

2,5

2,9

76

1275

2,5

2,7

2,9

3,2

3,2

2,4

2,5

2,7

3,0

77

1950

3,9

4,1

4,5

4,9

4,9

3,7

3,9

4,1

4,7

78

1725

3,5

3,6

4,0

4,3

4,3

3,3

3,5

3,6

4,1

79

1775

3,5

3,7

4,1

4,8

4,8

3,4

3,5

3,7

4,3

80

2450

4,9

5,1

5,6

6,6

6,6

4,7

4,9

5,1

5,9

81

970

-

2,0

2,2

2,6

2,6

1,8

-

2,0

2,3

82

1270

-

2,7

2,9

3,4

3,4

2,4

-

2,7

3,0

83

1680

-

3,5

3,9

4,5

4,5

3,2

-

3,5

4,0

84

1990

-

4,2

4,6

5,4

5,4

3,8

-

4,2

4,8

85

820

-

1,7

1,9

2,2

2,2

1,6

-

1,7

2,0

86

1070

-

2,2

2,4

2,9

2,9

2,0

-

2,2

2,5

87

1560

-

3,3

3,6

4,2

4,2

3,0

-

3,3

3,7

88

1430

-

3,0

3,3

3,8

3,8

2,7

-

3,0

3,4

89

1845

-

3,9

4,2

5,0

5,0

3,5

-

3,9

4,4

90

2175

-

-

-

5,9

5,9

4,1

-

-

-

91

2100

-

-

-

5,7

5,7

4,0

-

-

-

92

2025

-

-

-

5,5

5,5

3,8

-

-

-

93

2540

-

-

-

6,9

6,9

4,8

-

-

-

94

2450

-

-

-

6,6

6,6

4,7

-

-

-

95

2365

-

-

-

6,4

6,4

4,5

-

-

-

96

2900

-

-

-

7,8

7,8

5,5

-

-

-

97

2800

-

-

-

7,6

7,6

5,3

-

-

-

98

2700

-

-

-

7,3

7,3

5,1

-

-

-

99

2925

-

-

-

7,9

7,9

5,6

-

-

-

100

3035

-

-

-

8,2

8,2

5,8

-

-

-

101

3150

-

-

-

8,5

8,5

6,0

-

-

-

102

3260

-

-

-

8,8

8,8

6,2

-

-

-

103

3250

-

-

-

8,8

8,8

6,2

-

-

-

104

3375

-

-

-

4,1

9,1

6,4

-

-

-

105

3500

-

-

-

9,5

9,5

6,6

-

-

-

106

3625

-

-

-

9,8

9,8

6,9

-

-

-

Приложение 3. (Введено дополнительно, Изм. № 3).

(Измененная редакция, Изм. № 4).

ИНФОРМАЦИОННЫЕ ДАННЫЕ

1. РАЗРАБОТАН И ВНЕСЕН Министерством черной металлургии СССР

РАЗРАБОТЧИКИ

А.П. Бакалкин, И.Ф. Усатиков, А.А. Елтышева

2. УТВЕРЖДЕН И ВВЕДЕН В ДЕЙСТВИЕ Постановлением Государственного комитета СССР по стандартам от 5.06.75 г. № 1520

3. ВЗАМЕН ГОСТ 1599-53, ГОСТ 13826-68, ГОСТ 13836-68

4. ССЫЛОЧНЫЕ НОРМАТИВНО-ТЕХНИЧЕСКИЕ ДОКУМЕНТЫ

Обозначение НТД, на которые дана ссылка

Номер пункта

Обозначение НТД, на которые дана ссылка

Номер пункта

ГОСТ 12.1.005-88

3а.1

ГОСТ 5402-81

5.4

ГОСТ 17.0.0.01-76

3а.2

ГОСТ 8179-85

4.2

ГОСТ 17.2.3.02-78

3а.2

ГОСТ 10198-78

6.3

ГОСТ 427-75

5.9, 5.12, 5.13

ГОСТ 10905-86

5.10

ГОСТ 2211-65

56

ГОСТ 14192-77

6.3

ГОСТ 2409-80

5.5

ГОСТ 15136-78

5.11

ГОСТ 2642.0-86

5.1

ГОСТ 21140-88

6.3

ГОСТ 2642.3-86

5.1

ГОСТ 24597-81

6.3

ГОСТ 2642.5-86

5.1

ГОСТ 24717-81

6.3

ГОСТ 4069-69

5.2

ГОСТ 25706-83

5.13

ГОСТ 4070-83

5.3

ГОСТ 25714-83

5.5-5.7

ГОСТ 4071-80

5.7

 

 

5. Ограничение срока действия снято Постановлением Госстандарта СССР от 29.12.91 № 2300

6. ПЕРЕИЗДАНИЕ (июль 1996 г.) с Изменениями № 1, 2, 3, 4, 5, утвержденными в марте 1981 г., ноябре 1983 г., октябре 1986 г., октябре 1988 г., декабре 1991 г. (ИУС 7-81, 2-84, 1-87, 1-89, 5-92)

СОДЕРЖАНИЕ

 




Яндекс цитирования



   Copyright © 2007-2026,  www.tehlit.ru.

[ ѓосты, стандарты, нормативы, инструкции, правила, строительные нормы ]