//
ТехЛит.ру
- крупнейшая бесплатная электронная интернет библиотека для "технически умных" людей.
WWW.TEHLIT.RU - ТЕХНИЧЕСКАЯ ЛИТЕРАТУРА

:: Алготрейдинг::


АЛГОТРЕЙДИНГ
шаг за шагом
с нуля по урокам!

Торговые роботы на PYTHON, BackTrader,
Pandas, Pine Script для TradingView. Связка с брокерами, телеграм и легкими приложениями.


ГОСУДАРСТВЕННЫЙ СТАНДАРТ СОЮЗА ССР

ТРУБЫ ЧУГУННЫЕ

КАНАЛИЗАЦИОННЫЕ И ФАСОННЫЕ

ЧАСТИ К НИМ.

ТРОЙНИКИ ПРЯМЫЕ ПЕРЕХОДНЫЕ НИЗКИЕ

КОНСТРУКЦИЯ И РАЗМЕРЫ

ГОСТ 6942.16-80

ГОСУДАРСТВЕННЫЙ КОМИТЕТ СССР ПО ДЕЛАМ СТРОИТЕЛЬСТВА

Москва

РАЗРАБОТАНЫ Министерством промышленности строительных материалов СССР

ИСПОЛНИТЕЛИ

О.П. Михеев, канд. техн. наук (руководитель темы); В.И. Фельдман, канд. техн. наук; В.Н. Бехалов, канд. техн. наук

ВНЕСЕНЫ Министерством промышленности строительных материалов СССР

Зам. министра Н.П. Кабанов

УТВЕРЖДЕНЫ И ВВЕДЕНЫ В ДЕЙСТВИЕ Постановлением Государственного комитета СССР по делам строительства от 4 сентября 1980 г. № 137

ГОСУДАРСТВЕННЫЙ СТАНДАРТ СОЮЗА ССР

ТРУБЫ ЧУГУННЫЕ КАНАЛИЗАЦИОННЫЕ

И ФАСОННЫЕ ЧАСТИ К НИМ

ТРОЙНИКИ ПРЯМЫЕ ПЕРЕХОДНЫЕ НИЗКИЕ

Конструкция и размеры

Cast iron waste pipes and fittings.

Low T-branches, unequal.

Construction and dimensions

ГОСТ

6942.16-80

Взамен

ГОСТ 6942.21-69

Постановлением Государственного комитета СССР по делам строительства от 4 сентября 1980 г. №137 срок введения установлен

с 01.01.1982 г.

Несоблюдение стандарта преследуется по закону

1. Настоящий стандарт распространяется на прямые переходные низкие тройники к чугунным трубам, предназначенным для систем внутренней канализации зданий.

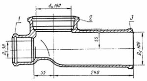
2. Конструкция и размеры прямых переходных низких тройников должны соответствовать указанным на чертеже.

Масса тройника - 4,9 кг

1 - раструб типа I по ГОСТ 6942.2-80; 2 - раструб типа IV по ГОСТ 6942.2-80; 3 - хвостовик по ГОСТ 6942.2-80

Примечание. Размеры и масса даны без учета антикоррозионного покрытия.

Условное обозначение прямого переходного низкого тройника:

Тройник ТПРН-50/100´100 ГОСТ 6942.16-80

3 Технические требования, правила приемки, методы контроля, маркировка, упаковка, транспортирование, хранение, гарантии изготовителя - по ГОСТ 6942.0-80.




Яндекс цитирования



   Copyright © 2007-2026,  www.tehlit.ru.

[ ѓосты, стандарты, нормативы, инструкции, правила, строительные нормы ]