//
ТехЛит.ру
- крупнейшая бесплатная электронная интернет библиотека для "технически умных" людей.
WWW.TEHLIT.RU - ТЕХНИЧЕСКАЯ ЛИТЕРАТУРА

:: Алготрейдинг::


АЛГОТРЕЙДИНГ
шаг за шагом
с нуля по урокам!

Торговые роботы на PYTHON, BackTrader,
Pandas, Pine Script для TradingView. Связка с брокерами, телеграм и легкими приложениями.


ГОСУДАРСТВЕННЫЙ СТАНДАРТ СОЮЗА ССР

ТРУБЫ ЧУГУННЫЕ
КАНАЛИЗАЦИОННЫЕ И ФАСОННЫЕ
ЧАСТИ К НИМ

ТРОЙНИКИ КОСЫЕ

КОНСТРУКЦИЯ И РАЗМЕРЫ

ГОСТ 6942.17-80

ГОСУДАРСТВЕННЫЙ КОМИТЕТ СССР ПО ДЕЛАМ СТРОИТЕЛЬСТВА

Москва

РАЗРАБОТАНЫ Министерством промышленности строительных материалов СССР

ИСПОЛНИТЕЛИ

О. П. Михеев, канд. техн. наук (руководитель темы); В. И. Фельдман, канд. техн. наук; В. Н. Бехалов, канд. техн. наук

ВНЕСЕНЫ Министерством промышленности строительных материалов СССР

Зам. министра Н. П. Кабанов

УТВЕРЖДЕНЫ И ВВЕДЕНЫ В ДЕЙСТВИЕ Постановлением Государственного комитета СССР по делам строительства от 4 сентября 1980 г. № 137

ГОСУДАРСТВЕННЫЙ СТАНДАРТ СОЮЗА ССР

ТРУБЫ ЧУГУННЫЕ КАНАЛИЗАЦИОННЫЕ
И ФАСОННЫЕ ЧАСТИ К НИМ

ТРОЙНИКИ КОСЫЕ

Конструкция и размеры

Cast iron waste pipes and fittings.

V-branclies. Construction and dimensions

ГОСТ
6942.17-80

Взамен
ГОСТ 6942.22-69
и
ГОСТ 6942.23-69

Постановлением Государственного комитета СССР по делам строительства от 4 сентября 1980 г. №137 срок введения установлен

с 01.01.1982 г.

Несоблюдение стандарта преследуется по закону

1. Настоящий стандарт распространяется на косые тройники к чугунным трубам, предназначенным для систем внутренней канализации зданий.

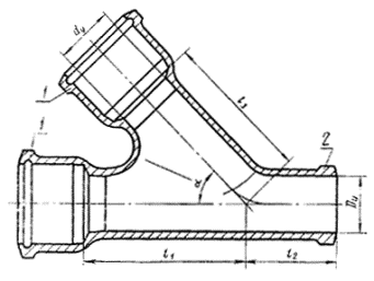
2. Конструкция и размеры косых тройников должны соответствовать указанным на чертеже и в таблице.

1 - раструбы типа I по ГОСТ 6942.2-80; 2 - хвостовик по ГОСТ 6942.2-80

Размеры в мм

Условный проход

Dу

Код ОКП

l1

l2

l3

Масса, кг

Код ОКП

l1

l2

l3

Масса, кг

при a = 45°

при a = 60°

50

50

49 2521 3711

135

100

135

3,1

49 2521 3811

100

110

105

3,0

100

50

100

49 2522 3711

49 2522 3712

165

205

120

125

170

205

6,0

3,4

49 2522 3811

49 2522 3812

120

150

115

140

120

150

5,3

7,7

150

50

100

150

49 2523 3711

49 2523 3712

49 2523 3713

145

185

220

80

110

150

170

195

220

6,9

9,2

13,2

49 2523 3811

49 2523 3812

49 2523 3813

100

130

160

115

140

170

130

145

160

6,7

8,6

13

Примечание. Размеры и масса даны без учета антикоррозионного покрытия.

Пример условного обозначения косого тройника с a = 45°, Dy = 100 мм и dy = 50 мм:

Тройник ТК 45° - 100´50 ГОСТ 6942.17-80

То же, с a = 60°, Dy = 150 мм и dy = 100 мм:

Тройник ТК 60° - 150´100 ГОСТ 6942.17-80

3. Технические требования, правила приемки, методы контроля, маркировка, упаковка, транспортирование, хранение, гарантии изготовителя - по ГОСТ 6942.0-80.




Яндекс цитирования



   Copyright © 2007-2026,  www.tehlit.ru.

[ ѓосты, стандарты, нормативы, инструкции, правила, строительные нормы ]