//
ТехЛит.ру
- крупнейшая бесплатная электронная интернет библиотека для "технически умных" людей.
WWW.TEHLIT.RU - ТЕХНИЧЕСКАЯ ЛИТЕРАТУРА

:: Алготрейдинг::


АЛГОТРЕЙДИНГ
шаг за шагом
с нуля по урокам!

Торговые роботы на PYTHON, BackTrader,
Pandas, Pine Script для TradingView. Связка с брокерами, телеграм и легкими приложениями.


ГОСУДАРСТВЕННЫЙ СТАНДАРТ СОЮЗА ССР

ТРУБЫ ЧУГУННЫЕ

КАНАЛИЗАЦИОННЫЕ И ФАСОННЫЕ

ЧАСТИ К НИМ.

РЕВИЗИИ

КОНСТРУКЦИЯ И РАЗМЕРЫ

ГОСТ 6942.24-80

ГОСУДАРСТВЕННЫЙ КОМИТЕТ СССР ПО ДЕЛАМ СТРОИТЕЛЬСТВА

Москва

РАЗРАБОТАНЫ Министерством промышленности строительных материалов СССР

ИСПОЛНИТЕЛИ

О.П. Михеев, канд. техн. наук (руководитель темы); В.И. Фельдман, канд. техн. наук; В.Н. Бехалов, канд. техн. наук

ВНЕСЕНЫ Министерством промышленности строительных материалов СССР

Зам. министра Н.П. Кабанов

УТВЕРЖДЕНЫ И ВВЕДЕНЫ В ДЕЙСТВИЕ Постановлением Государственного комитета СССР по делам строительства от 4 сентября 1980 г. № 137

ГОСУДАРСТВЕННЫЙ СТАНДАРТ СОЮЗА ССР

ТРУБЫ ЧУГУННЫЕ КАНАЛИЗАЦИОННЫЕ

И ФАСОННЫЕ ЧАСТИ К НИМ

РЕВИЗИИ

Конструкция и размеры

Cast iron waste pipes and fittings.

Branch pipes with acces.

Construction and dimensions

ГОСТ

6942.24-80

Взамен

ГОСТ 6942.30-69

Постановлением Государственного комитета СССР по делам строительства от 4 сентября 1980 г. №137 срок введения установлен

с 01.01 1982 г.

Несоблюдение стандарта преследуется по закону

1. Настоящий стандарт распространяется на ревизии к чугунным трубам, предназначенным для систем внутренней канализации зданий.

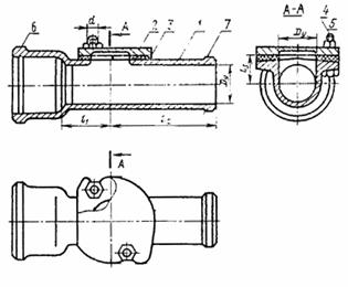
2. Конструкция и размеры ревизий должны соответствовать указанным на чертеже и в таблице.

1 - корпус; 2 - крышка; 3 - прокладка по ГОСТ 7338-77; 4 - гайка по ГОСТ 5915-70; 5 - болт по ГОСТ 7798-70; 6 - раструб типа I по ГОСТ 6942.2-80; 7 - хвостовик по ГОСТ 6942.2-80

Примечание. В ревизиях с условными проходами Dу = 50 мм и Dу = 100 мм допускается размещение болтов в плоскости А-А.

Размеры в мм

Условный проход Dy

Код ОКП

l1

l2

l3

d

Масса, кг

Число болтов

50

49 2521 4811

60

140

32

10

3,2

2

100

49 2522 4811

95

210

56

12

8,0

2

150

49 2523 4811

120

220

82

12

14,2

4

Примечание. Размеры и масса даны без учета антикоррозионного покрытия.

Пример условного обозначения ревизии Dy = 100 мм:

Ревизия Р-100 ГОСТ 6942.24-80

3. Технические требования, правила приемки, методы контроля, маркировка, упаковка, транспортирование, хранение, гарантия изготовителя - по ГОСТ 6942.0-80.

4. Ревизии должны поставляться комплектно со всеми деталями, указанными на чертеже, и в собранном виде.




Яндекс цитирования



   Copyright © 2007-2026,  www.tehlit.ru.

[ ѓосты, стандарты, нормативы, инструкции, правила, строительные нормы ]