//
ТехЛит.ру
- крупнейшая бесплатная электронная интернет библиотека для "технически умных" людей.
WWW.TEHLIT.RU - ТЕХНИЧЕСКАЯ ЛИТЕРАТУРА

:: Алготрейдинг::


АЛГОТРЕЙДИНГ
шаг за шагом
с нуля по урокам!

Торговые роботы на PYTHON, BackTrader,
Pandas, Pine Script для TradingView. Связка с брокерами, телеграм и легкими приложениями.


ГОСТ 23695-94

МЕЖГОСУДАРСТВЕННЫЙ СТАНДАРТ

ПРИБОРЫ
САНИТАРНО-ТЕХНИЧЕСКИЕ
СТАЛЬНЫЕ
ЭМАЛИРОВАННЫЕ

Технические условия

МЕЖГОСУДАРСТВЕННАЯ НАУЧНО-ТЕХНИЧЕСКАЯ КОМИССИЯ
ПО СТАНДАРТИЗАЦИИ И ТЕХНИЧЕСКОМУ НОРМИРОВАНИЮ
В СТРОИТЕЛЬСТВЕ (МНТКС)

Москва

Предисловие

1 РАЗРАБОТАН Научно-исследовательским институтом санитарной техники (НИИсантехники) Российской Федерации

ВНЕСЕН Госстроем России

2 ПРИНЯТ Межгосударственной научно-технической комиссией по стандартизации и техническому нормированию в строительстве (МНТКС) от 17 марта 1994 г.

За принятие проголосовали:

Наименование государства

Наименование органа государственного управления строительством

Азербайджанская республика

Госстрой Азербайджанской республики

Республика Армения

Госупрархитектуры Республики Армения

Республика Казахстан

Минстрой Республики Казахстан

Киргизская Республика

Госстрой Киргизской Республики

Республика Молдова

Минархстрой Республики Молдова

Российская Федерация

Госстрой России

Республика Таджикистан

Госстрой Республики Таджикистан

Республика Узбекистан

Госкомархитектстрой Республики Узбекистан

3 ВЗАМЕН ГОСТ 23695-79, ГОСТ 24843-81

МЕЖГОСУДАРСТВЕННЫЙ СТАНДАРТ

ПРИБОРЫ САНИТАРНО-ТЕХНИЧЕСКИЕ СТАЛЬНЫЕ ЭМАЛИРОВАННЫЕ

Технические условия

Enamelled steel sanitary appliances.

Specifications

Дата введения 1995-01-01

1. ОБЛАСТЬ ПРИМЕНЕНИЯ

Настоящий стандарт распространяется на санитарно-технические стальные эмалированные приборы (далее - приборы): ванны, душевые поддоны, мойки, раковины, устанавливаемые в зданиях различного назначения.

Стандарт не распространяется на приборы специального назначения, подвергаемые воздействию морской или минеральной воды, а также других агрессивных сред.

Обязательные требования к качеству продукции изложены в 3.2 (в части предельных отклонений и высоты), 3.3 - 3.6, 4.2.5, 4.2.13, 4.2.16 - 4.2.21.

2. НОРМАТИВНЫЕ ССЫЛКИ

В настоящем стандарте использованы ссылки на следующие стандарты:

ГОСТ 427-75 Линейки измерительные металлические. Технические условия

ГОСТ 503-81 Лента холоднокатаная из низкоуглеродистой стали. Технические условия

ГОСТ 1145-80 Шурупы с потайной головкой. Конструкция и размеры

ГОСТ 2405-88 Манометры, вакуумметры, мановакуумметры, напоромеры, тягомеры и тягонапоромеры. Общие технические условия

ГОСТ 4404-78. Графит для производства карандашных стержней. Технические условия

ГОСТ 4470-79 Марганца (IV) окись. Технические условия

ГОСТ 5915-70 Гайки шестигранные класса точности В. Конструкция и размеры

ГОСТ 6613-86 Сетки проволочные тканые с квадратными ячейками. Технические условия

ГОСТ 7798-70 Болты с шестигранной головкой класса точности В. Конструкция и размеры

ГОСТ 10905-86 Плиты поверочные и разметочные. Технические условия

ГОСТ 11371-78 Шайбы. Технические условия

ГОСТ 12026-76 Бумага фильтровальная. Технические условия

ГОСТ 13451-77 Материалы полевошпатные и кварц-полевошпатные для стекольной промышленности. Технические условия

ГОСТ 14192-77 Маркировка грузов

ГОСТ 15150-69 Машины, приборы и другие технические изделия. Исполнения для различных климатических районов. Категории, условия эксплуатации, хранения и транспортирования в части воздействия климатических факторов внешней среды

ГОСТ 15846-79 Продукция, отправляемая в районы Крайнего Севера и труднодоступные районы. Упаковка, маркировка, транспортирование и хранение

ГОСТ 16523-89 Прокат тонколистовой из углеродистой стали качественной и обыкновенного качества общего назначения. Технические условия

ГОСТ 23932-90 Посуда и оборудование лабораторные стеклянные. Общие технические требования

3. КЛАССИФИКАЦИЯ И ОСНОВНЫЕ РАЗМЕРЫ

3.1. По своему функциональному назначению приборы подразделяют на ванны, душевые поддоны, мойки и раковины.

3.2. Типы и основные размеры ванн, душевых поддонов, моек и раковин должны соответствовать указанным на рисунках 1 - 11 и в таблице 1.

Таблица 1                            В миллиметрах

Тип прибора

Длина А

Ширина В

Глубина Н, не менее

Высота Н1, не более

Номин.

Пред. откл.

Номин.

Пред. откл.

Ванны

ВСт 1500

1500

± 5

700

± 5

380

600

ВСт 1600

1600

ВСт 1700

1700

750

Поддоны

ПДСм 800

800

± 5

800

± 5

130

315

ПДСм 900

900

900

ПДСг 800

800

800

280

445

Мойки

МСУ

500

+6

600

+6

160

-

МСУП

800

МСУ-2

800

МСВ

450

± 3

505

± 3

МСВП, МСВ-2

750

520

Раковины

РСВ-1, РСВ-2

500

± 3

400

± 3

145

520

3.3. Конструкция ванн и глубоких душевых поддонов должна предусматривать наличие выпускного и переливного отверстий, а моек и раковин - выпускного отверстия и отверстий для установки водоразборной арматуры.

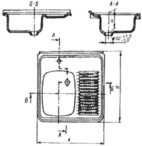
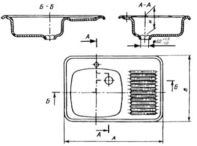
3.4. Диаметры выпускного и переливного отверстий для установки выпуска и перелива водосливной арматуры на приборах всех типов должны быть 52 мм с отклонениями +1,5 … -1,0 мм.

3.5. Размеры и расположение отверстий в мойках для установки смесителей должны соответствовать указанным на рисунке 12 с отклонениями ± 1 мм.

По требованию потребителя мойки могут изготовляться без отверстий для смесителей.

Рисунок 1 - Ванна стальная эмалированная (ВСт)

Рисунок 2 - Поддон мелкий стальной эмалированный (ПДСм)

Рисунок 3 - Поддон глубокий стальной эмалированный (ПДСг)

Рисунок 4 - Схема установки ванн и поддонов на опоры

Рисунок 5 - Мойка стальная эмалированная унифицированная с одной чашей (тип МСУ)

Рисунок 6 - Мойка стальная эмалированная унифицированная с одной чашей, со сливной полкой (тип МСУП)

Рисунок 7 - Мойка стальная эмалированная унифицированная с двумя чашами (тип МСУ-2)

Рисунок 8 - Мойка стальная эмалированная с одной чашей встраиваемая (тип МСВ)

Рисунок 9 - Мойка стальная эмалированная с одной чашей со сливной полкой встраиваемая (МСВП)

Рисунок 10 - Мойка стальная эмалированная с двумя чашами встраиваемая (тип МСВ-2)

Рисунок 11 - Раковина стальная эмалированная (типы РСВ-1 и РСВ-2)

* Обязательные размеры

3.6. Расстояние между центрами отверстий для установки водосливной арматуры моек с двумя чашами должно быть (300 ± 5) мм.

3.7. Ванны и глубокие душевые поддоны должны устанавливаться на опоры (ножки, подставки или др. приспособления).

Конструкция моек типов МСУ, МСУП и МСУ-2 должна обеспечивать возможность их установки как на кронштейнах, так и на подстолье (шкафу кухонной мебели).

3.8. Конструкция приборов настоящим стандартом не регламентируется, а определяется рабочими чертежами, утвержденными в установленном порядке.

3.9. Условное обозначение приборов в технической документации и при заказе должно состоять из слова, обозначающего вид изделия: ванна, душевой поддон, мойка или раковина; обозначения типа прибора и обозначения настоящего стандарта.

Для моек после обозначения типа прибора указывают буквы:

Ц - для моек с отверстиями для установки центрального смесителя;

Щ - для моек с отверстиями для установки смесителя со щеткой (в случае применения смесителя с нижним присоединением шланга щетки);

Р - для моек с отверстиями для установки смесителя с одной рукояткой;

Н - для моек с отверстиями для установки смесителями с нижней камерой смешения;

Бо - для моек без отверстия под смеситель;

Л - для моек типов МСУП, МСВП, изготовленных в левом исполнении (чаша расположена слева при взгляде на мойку спереди);

К - для моек, устанавливаемых на кронштейнах.

Пример условного обозначения ванны стальной эмалированной длиной 1500 мм:

Ванна ВСт 1500 ГОСТ 23695-94

То же, мойки стальной унифицированной эмалированной с одной чашей, с отверстиями для смесителя со щеткой, для установки на подстолье (шкафу кухонной мебели):

Мойка МСУЩ ГОСТ 23695-94

Для центрального смесителя

Для смесителя со щеткой

Для смесителя с нижней камерой смешения

Примечание - Допускается вместо отверстия 28 ´ 28 мм выполнять круглое отверстие диаметром 34 мм.

Рисунок 12 - Расположение и размеры отверстий на мойках или водоразборной арматуры

* Обязательные размеры.

** Для моек типов МСУ, МСУП, МСУ-2.

*** Для моек типов МСВ, МСВП, МСВ-2.

4. ТЕХНИЧЕСКИЕ ТРЕБОВАНИЯ

4.1. Приборы следует изготовлять в соответствии с требованиями настоящего стандарта, конструкторской и технологической документации, утвержденной предприятием-изготовителем. При разработке конструкторской и технологической документации на изделия конкретных видов необходимо применять показатели качества, указанные в приложении А.

4.2. Характеристики

4.2.1. Приборы должны быть покрыты слоем белой или цветной стекловидной силикатной эмали в соответствии с утвержденной в установленном порядке технологической документацией.

4.2.2. Поверхности приборов подразделяют на функциональную (А), видимую (Б), невидимую наружную (В) и монтажную (Г), указанные в приложении Б.

4.2.3. Эмалевое покрытие поверхностей А и Б приборов должно быть термически стойким, химически стойким по отношению к щелочам, стойким к истиранию и воздействию красящих веществ.

4.2.4. Эмалевое покрытие поверхностей А и Б моек и раковин должно быть химически стойким к кислотам.

4.2.5. Ударная прочность эмалевого покрытия поверхностей А и Б приборов должна быть не менее 0,6 Дж (0,06 кгс×м).

4.2.6. Эмалевое покрытие поверхностей А и Б приборов должно удовлетворять требованиям: толщина эмалевого покрытия должна быть не более 0,6 мм, неравномерность толщины эмалевого покрытия не должна превышать 25 %.

Коэффициент диффузного отражения эмалевого покрытия должен быть не менее 78 %.

Блеск поверхности эмалевого покрытия приборов должен быть не менее 45 %.

4.2.7. В зависимости от показателей внешнего вида, качества эмалевого покрытия поверхностей А и Б приборы подразделяют на сорта: первый, второй и третий в соответствии с таблицей 2.

Сортность приборов принимают по качеству эмалевого покрытия поверхностей А и В и по допускам плоскостности и формы этих поверхностей, по низшей из двух оценок.

Таблица 2

Наименование дефекта

Норма на 1 м2 эмалированной поверхности прибора

Первого сорта

Второго сорта

Третьего сорта

Темные разрозненные точки диаметром от 1 до 2 мм

Не допускаются в количестве более:

2

4

8

Местное просвечивание грунтовой эмали на выступах и бортах

Не допускается общей площадью более, см2:

5

10

20

Булавочные уколы размером до 2 мм

Не допускаются в количестве более:

2

4

8

Пузыри без обнажения металла размером до 2 мм

Не допускаются в количестве более:

-

4

6

Обнажение грунтовой эмали размером до 15 мм (только для ванн)

Не допускается общей площадью более, см2:

-

2

3

Волосные линии заплавленные

Не допускаются

Допускаются малозаметные

Прогары

Не допускаются

Наплывы эмали

Не допускаются

4.2.8. Поверхность В приборов, кроме моек и раковин, устанавливаемых на кронштейнах, допускается покрывать силикатной грунтовой эмалью толщиной не менее 0,1 мм.

4.2.9. На поверхности В приборов, покрытой силикатной грунтовой эмалью, допускаются участки, покрытые белой или цветной эмалью, применяемой для нанесения на поверхности А и Б приборов.

4.2.10. В мойках, раковинах, ваннах и поддонах третьего сорта допускается откол эмали на поверхности В общей площадью до 2 см с заделкой поврежденных мест защитным покрытием.

4.2.11. Эмалевое покрытие поверхности Г приборов должно быть ровным, без наплывов эмали.

4.2.12. На бортах моек и раковин и на кромках стенок раковин допускается заварка незначительных трещин, образующихся при штамповке стального листа, с тщательной зачисткой заваренных мест.

Зачистке подлежат также сварные швы в местах приварки деталей к мойкам и раковинам.

4.2.13. Допуски плоскостности и формы заданной поверхности приборов не должны превышать значений, указанных ниже:

- допуск плоскостности продольных и поперечных бортов приборов и спинки раковины - 1,5 мм на 500 мм длины;

- допуск плоскостности поверхности кронштейна, прилегающей к стене, для комплектации моек - 2,0 мм;

- допуск формы заданной поверхности (гофры) для стенок, бортов, днища и радиусов перехода борта к стенкам: для первого и второго сорта 0,5 мм, для третьего - 0,8 мм.

4.2.14. Приборы на поверхности В должны иметь дополнительное шумопоглощающее покрытие.

4.2.15. Приборы, установленные на опоры (ножки, подставки, кронштейны и другие приспособления), должны выдерживать механическую нагрузку, быть устойчивы (ванна, поддон) и прочно закреплены (ванна, мойка, раковина).

Ванны и поддоны должны иметь горизонтальное положение бортов; отклонение не должно превышать 4 мм.

4.2.16. Приборы должны иметь уклон днища к выпускному отверстию, обеспечивающий полный слив воды через выпуск.

4.2.17. Ванны и поддоны должны иметь уравнитель электрических потенциалов (для соединения с металлической водопроводной трубой). Длину проводника уравнителя электрических потенциалов указывают при заказе, при отсутствии указаний проводник изготовляют длиной 1000 мм.

4.2.18. Уравнитель электрических потенциалов изготовляют из стальной проволоки диаметром не менее 5 мм или стальной ленты толщиной не менее 2 мм и сечением не менее 24 мм. Конструкция уравнителя потенциалов приведена в приложении В.

4.2.19. Уравнитель электрических потенциалов должен иметь защитное покрытие, соответствующее месту размещения при эксплуатации категории 4.2 по ГОСТ 15150.

4.2.20. Для крепления уравнителя электрических потенциалов ванны и поддоны должны иметь приваренную стальную пластину толщиной не менее 2 мм и сечением не менее 24 мм.

4.2.21. Контактные поверхности пластин для крепления уравнителя электрических потенциалов и самих проводников должны быть зачищены, не иметь следов эмали, краски и коррозии и покрыты консервирующей смазкой.

4.3. Требования к сырью, материалам и комплектующим изделиям

4.3.1. Приборы должны изготовляться из стали, пригодной для штамповки и эмалирования, в соответствии с утвержденной технической документацией.

4.3.2. Поверхности кронштейнов должны быть покрыты силикатной эмалью такого же цвета, что и мойка. Поверхности кронштейнов, прилегающие к стене, могут иметь силикатное грунтовое покрытие. Эмалевое покрытие должно иметь ровную, гладкую, блестящую поверхность и прочное сцепление с металлом кронштейна.

4.3.3. Подставки или ножки для ванн и глубоких душевых поддонов должны иметь покрытие, соответствующее месту размещения при эксплуатации по категории 4.2. по ГОСТ 15150

4.4. Комплектность

4.4.1. Приборы должны поставляться предприятием-изготовителем комплектно.

4.4.2. В состав комплекта ванн и поддонов душевых глубоких входят:

- ванна, поддон;

- опоры (подставки или ножки);

- уравнитель электрических потенциалов (в комплекте);

- водосливная арматура.

4.4.3. В состав комплекта поддонов душевых мелких входят:

- поддон;

- уравнитель электрических потенциалов (в комплекте);

- водосливная арматура.

4.4.4. В состав комплекта моек входят:

- мойка;

- водосливная арматура;

- водоразборная арматура.

4.4.5. В состав комплекта встраиваемых моек должны дополнительно входить детали крепления мойки к подстолью и детали для обеспечения водонепроницаемых мест соединения мойки с подстольем, а в состав комплекта моек, устанавливаемых на кронштейнах, - 2 кронштейна и детали крепления мойки к ним, а по требованию потребителя и детали крепления кронштейнов к стене.

4.4.6. По согласованию потребителя и изготовителя приборы могут поставляться частично или полностью без комплектующих изделий.

4.4.7. Приборы, отгружаемые потребителю в одной транспортной единице по одному сопроводительному документу, должны сопровождаться паспортом.

4.4.8. В паспорте должны быть указаны:

- наименование предприятия-изготовителя, его товарный знак и адрес;

- условное обозначение прибора;

- комплектность и количество;

- гарантии предприятия-изготовителя;

- дата выпуска или отгрузки;

- штамп ОТК.

4.4.9. Допускается совмещать паспорт с инструкцией по монтажу и эксплуатации.

4.4.10. При поставке в торговую сеть паспорт должен прикладываться к каждому прибору.

4.5. Маркировка

4.5.1. На наружной поверхности прибора должен быть нанесен цветной эмалью или несмываемой водой краской товарный знак предприятия-изготовителя и наклеен ярлык технического контроля, в котором указывают сорт и дату выпуска.

4.5.2. Маркировка должна быть четкой, сохраняющейся в течение всего срока службы приборов.

4.5.3. Место и способ нанесения маркировки определяет предприятие-изготовитель.

4.5.4. Упакованные изделия должны иметь транспортную маркировку в соответствии с ГОСТ 14192.

4.6. Упаковка

4.6.1. Приборы должны быть упакованы.

4.6.2. Упаковка должна обеспечивать сохранность изделий при транспортировании и хранении.

5. ПРАВИЛА ПРИЕМКИ

5.1. Приборы принимают партиями. В состав партии входят приборы одного типа. Объем партии устанавливается предприятием-изготовителем, но не более сменной выработки.

5.2. Приборы должны быть приняты техническим контролем предприятия-изготовителя.

5.3. Для проверки соответствия приборов требованиям настоящего стандарта должны проводиться приемосдаточные, периодические и типовые испытания.

5.4. Приемосдаточные испытания

5.4.1. При приемо-сдаточных испытаниях каждый прибор проверяют на соответствие требованиям 3.3, 3.7, 4.2.1, 4.2.7 (таблица 2), 4.2.8 - 4.2.12, 4.2.14, 4.2.19, 4.2.21, 4.3.2, 4.3.3, 4.5.

5.4.2. Проверке на соответствие требованиям 3.2, 3.4, 3.5, 4.2.3 - 4.2.6, 4.2.13, 4.2.15 - 4.2.17, 4.2.20 подвергают 1 % от количества приборов каждой партии, но не менее 3 приборов.

5.4.3. Проверке на соответствие требованиям 4.3.1 подвергают каждую партию листов, поступивших на завод.

5.4.4. Проверке на соответствие требованиям 4.4 подвергают партию приборов, подготовленную к отправке и поставляемую по одному сопроводительному документу. Проверку проводят не реже одного раза в квартал.

5.4.5. Прочерку на соответствие требованиям 4.6 проводят согласно нормативно-технической или конструкторской документации на упаковку.

5.4.6. При получении неудовлетворительных результатов проверки хотя бы по одному показателю при выборочном контроле, проводят повторный контроль по этому показателю удвоенного количества приборов, отбирая их от той же партии.

В случае неудовлетворительных результатов повторного контроля партию приборов бракуют или же проводят проверку каждого прибора с контролем показателей, по которым при повторной проверке были получены неудовлетворительные результаты.

5.5. Периодические испытания проводят на соответствие всем требованиям настоящего стандарта.

Проверке подвергают не менее 3 приборов, прошедших приемо-сдаточные испытания, не реже одного раза в год.

5.6. Типовые испытания проводят с целью определения эффективности и целесообразности предполагаемых изменений конструкций и технологии изготовления, которые могут повлиять на технические характеристики продукции.

Типовые испытания проводят на образцах приборов, в конструкцию которых на основании временных документов внесены изменения. Виды и объем испытаний определяет организация-разработчик по согласованию с головной организацией по стандартизации.

6. МЕТОДЫ ИСПЫТАНИЙ

6.1. Внешний вид и качество поверхностей приборов (4.2.1, 4.2.7 (таблица 2), 4.2.9 - 4.2.12, 4.2.17, 4.3.2, 4.3.3) проверяют визуально, сравнивая с образцом-эталоном, без применения увеличительных приборов при естественном или искусственном освещении с расстояния 0,7 м и при освещенности не менее 200 лк.

6.2. Размеры приборов (3.2, 3.4 - 3.6, 4.2.13, 4.2.17, 4.2.18, 4.2.20) определяют универсальными или специальными средствами измерений, обеспечивающими необходимую точность измерений (металлической линейкой, штангенрейсмасом, высотомером) или шаблонами.

6.3. Термическую стойкость эмалевого покрытия приборов (4.2.3) определяют путем четырехкратного обливания внутренней поверхности прибора попеременно холодной и горячий водой, нагретой до температуры (363 ± 5) К [(90 ± 5) °С]. Разность между температурой холодной и горячей воды должна быть не менее 70 К (70 °С). Продолжительность каждой поливки должна быть не менее 30 с и расход воды не менее 0,1 л/с.

Проверку термической стойкости эмалевого покрытия допускается проводить путем четырехкратного попеременного погружения прибора в холодную и горячую воду указанными выше температурой и продолжительностью.

Эмалевое покрытие считают термически стойким, если при осмотре в нем посте испытания не будут обнаружены отколы или трещины.

6.4. Проверка химической стойкости эмалевого покрытия по отношению к щелочам (4.2.3)

6.4.1. Средства контроля и вспомогательные материалы

Безводный углекислый натрий (сода кальцинированная техническая), 10 %-ный раствор.

Порошок графита по ГОСТ 4404 или порошок двуокиси марганца.

Секундомер.

Мягкая хлопчатобумажная ткань.

6.4.2. Порядок проведения контроля

Заполняют объем одного из углов наклоненного прибора 2 л раствора безводного углекислого натрия и выдерживают в приборах первого, второго и третьего сортов в течение 20 мин. После чего раствор удаляют, поверхность, подвергшуюся его воздействию, протирают насухо мягкой хлопчатобумажной тканью и затем в нее втирают порошок графита или двуокиси марганца.

После удаления порошка испытанную поверхность подвергают визуальному осмотру при естественном рассеянном свете.

Испытание проводят при температуре окружающего воздуха не ниже 288 К (15 °С).

6.4.3. Правила определения результатов испытаний

Эмалевое покрытие считают химически стойким по отношению к щелочам, если на нем не будет обнаружено заметного потемнения.

6.5. Проверка химической стойкости эмалевого покрытия моек и раковин по отношению к кислотам (4.2.3)

6.5.1. Средства контроля и вспомогательные материалы

Спирт или ацетон.

Секундомер.

Уксусная кислота, 10 %-ный раствор.

Лабораторная капельница по ГОСТ 23932.

Фильтровальная бумага диаметром 40 мм по ГОСТ 12026.

Карандаш марки ТМ.

Мягкая хлопчатобумажная ткань.

6.5.2. Порядок проведения контроля

На ровный горизонтальный участок эмалированной поверхности прибора, очищенный спиртом или ацетоном, кладут фильтровальную бумагу, на которую при помощи капельницы наносят раствор уксусной кислоты в количестве, необходимом для полного смачивания бумаги, и выдерживают в течение 20 мин на поверхности прибора первого, второго и третьего сортов. После этого фильтровальную бумагу удаляют, участок испытанной поверхности промывают проточной водой, протирают и тщательно высушивают.

Затем на него карандашом наносят (без нажима) штриховку с просветом между линиями не более 1 мм. Штриховку удаляют чистой тканью без нажима.

Испытание проводят при температуре окружающего воздуха не ниже 288 К (15 °С).

6.5.3. Правила определения результатов и испытаний

Эмалевое покрытие считают химически стойким по отношению к кислотам, если на нем не останется следов карандаша.

6.6. Проверка стойкости эмалированной поверхности приборов к истиранию (4.2.3)

6.6.1. Средства контроля и вспомогательные материалы

Порошок № 6 (полевой шпат по ГОСТ 13451) по шкале твердости Мооса с частицами, которые проходят сквозь сито с 320 отверстиями в 1 см2 (сетка № 04 по ГОСТ 6613) и задерживаются ситом с 445 отверстиями в 1 см2 (сетка № 0315 по ГОСТ 6613).

Стальной груз массой, обеспечивающей удельное давление 0,025 МПа (0,25 кгс/см2).

Мягкая хлопчатобумажная ткань.

Лупа, обеспечивающая не менее чем трехкратное увеличение.

6.6.2. Порядок проведения контроля

На испытуемую поверхность прибора площадью не менее 4 см насыпают порошок ровным слоем толщиной 1,5 - 2,0 мм, накрывают его тканью и на нее устанавливают груз. Затем груз без нажима перемещают 10 раз возвратно-поступательным движением вместе с тканью на длину 10 см. После этого груз и ткань снимают, порошок удаляют и при помощи лупы исследуют испытанную поверхность.

6.6.3. Правила определения результатов испытаний

Эмалевое покрытие считают стойким к истиранию, если на его поверхности не будет обнаружено царапин.

6.7. Устойчивость эмалированной поверхности к воздействию красящих веществ (4.2.3)

6.7.1. Средства контроля и вспомогательные материалы

Чернила, растворенные в воде в соотношении 1:50.

Хлопчатобумажная ткань.

6.7.2. Порядок проведения контроля

На внутреннюю поверхность приборов при помощи щетки или хлопчатобумажной ткани наносят тонкий слой раствора чернил. Через 2 мин красящее вещество удаляют хлопчатобумажной тканью с последующей промывкой водой.

6.7.3. Правила определения результатов испытаний

Эмалированную поверхность считают устойчивой к воздействию красящих веществ, если при сравнении с контрольным образцом на нем после испытания визуально не будет обнаружено следов краски.

6.8. Испытание на ударную прочность эмалевого покрытия функциональной поверхности приборов (4.2.5)

6.8.1. Средства контроля и вспомогательные материалы

Стальной шарик массой 350 г.

Металлическая трубка длиной 175 мм внутренним диаметром, обеспечивающим свободное перемещение стального шарика массой 350 г, или устройство с пружинным бойком, обеспечивающим энергию удара 0,6 Дж (0,06 кгс×м).

6.8.2. Порядок проведения контроля

Металлический шарик массой 350 г бросают с высоты 175 м через металлическую трубку на проверяемую поверхность прибора перпендикулярно испытываемой поверхности.

Испытание (по одному удару шарика) проводят в трех местах: на дне, на одной из стенок и на борту прибора.

Допускается проводить испытание при помощи устройства с пружинным бойком с энергией удара 0,6 Дж (0,06 кгс×м).

6.8.3. Правила определения результатов испытаний

Эмалевое покрытие считают выдержавшим испытание, если в нем не появятся трещины или отколы.

6.9. Определение толщины эмалевого покрытия (4.2.6 и 4.2.8)

6.9.1. Средства контроля и вспомогательные материалы

Толщиномер.

6.9.2. Порядок проведения контроля

Толщину эмалевого покрытия определяют при помощи толщиномера по методике, изложенной в инструкции по пользованию прибором, в пяти точках, равномерно расположенных на участке размером 50 ´ 50 мм.

6.9.3. Правила определения результатов испытаний

Неравномерность толщины покрытия Н в процентах вычисляют по формуле

где В - максимальная или минимальная толщина эмалевого покрытия на участке, мм;

 - средняя арифметическая величина, полученная по результатам замеров толщин эмалевого покрытия в пяти точках на выбранном участке, мм;

0,5 - максимальная нормативная толщина эмалевого покрытия, мм.

6.10. Коэффициент диффузного отражений эмалевого покрытия (белизна) и блеск (4.2.6) определяют при помощи фотоэлектрических приборов по методике, изложенной в инструкции по пользованию приборами.

Коэффициент диффузного отражения определяют как процентное отношение количества света, отраженного от поверхности испытуемого прибора, к количеству света, отраженного от поверхности плоского образца сернокислого бария, принятого за эталон.

Блеск поверхности прибора, выраженный в процентах, определяют сравнением с блеском пластин из полированного стекла, принятой за эталон.

6.11. Определение допуска плоскостности приборов и формы заданной поверхности (4.2.13)

6.11.1. Средства контроля и вспомогательные материалы

Поверочная плита по ГОСТ 10905.

Набор щупов.

Линейка измерительная металлическая по ГОСТ 427.

Индикатор рычажно-механического типа.

6.11.2. Порядок проведения контроля

На поверочной плите измеряют наибольший зазор между плитой и проверяемой поверхностью набором щупов.

Отклонение формы заданной поверхности (гофры) определяют при помощи индикатора рычажно-механического типа.

Допускается проводить проверку плоскостности при помощи поверочной линейки и набора щупов.

Допускаются другие методы контроля, обеспечивающие заданную точность.

6.12. Проверку наличия шумопоглощающего материала (4.2.14), комплектности (4.4), маркировки (4.5) осуществляют визуально.

6.13. Определение прочности крепления и установки приборов на опорах (4.2.15)

6.13.1. Средства контроля и вспомогательные материалы

Деревянная доска размером 200 ´ 300 мм и толщиной 40 мм.

Резина листовая размером 250 ´ 400 мм и толщиной 15 мм.

Набор грузов массой 300 кг.

6.13.2. Порядок проведения контроля

Устойчивость ванн и душевых поддонов, установленных на опоры, определяют при помощи нагрузки в 100 кг, приложенной к продольному борту прибора между опорами в любом месте вертикально вниз.

Прочность крепления ножек ванн при статической нагрузке определяют плавным нагруженном дна ванны через деревянную доску и резиновую прокладку грузом до 300 кг в течение 10 мин.

6.13.3. Правила определения результатов испытаний

Прибор считают выдержавшим испытание, если он не будет опрокидываться или не будет обнаружено нарушений крепления петель и ножек, а также нарушения эмалевого покрытия на внутренней поверхности ванны.

6.14. Определение механической прочности приборов (4.2.15)

6.14.1. Средства контроля и вспомогательные материалы

Деревянная доска из мягких пород дерева (липа, сосна), толщиной 30 мм, шириной 100 мм и длиной на 10 мм больше ширины прибора.

То же, длиной не более верхней горизонтальной плоскости прибора.

Гидропресс рычажного типа.

Манометр технический с диапазоном измерений 0 - 2,5 МПа, кл. 2.5, цена деления 0,05 МПа по ГОСТ 2405.

Динамометрический ключ.

6.14.2. Порядок проведения контроля

а) Определение прочности приборов на действие симметрично приложенной нагрузки

Постепенно в течение 10 мин прикладывают нагрузку в 100 кг при помощи гидропресса на середину доски, положенной на верхнюю плоскость боковой стенки прибора на расстоянии не более 20 мм от передней кромки борта.

б) Определение прочности приборов при действии нагрузки, приложенной к боковой стенке прибора

Постепенно в течение 10 мин прикладывают нагрузку в 100 кг при помощи гидропресса на продольную ось доски, положенной на боковой борт прибора вровень с его кромкой. При этом расстояние от привалочной плоскости до точки приложения усилия должно быть в 1,5 раза меньше, чем при испытаниях на симметрично приложенную нагрузку.

6.14.3. Правила определения результатов испытаний

Приборы считают выдержавшими испытание, если:

- после проверки габаритных и присоединительных размеров не обнаружено отклонений, выходящих за пределы допусков;

- после проверки при осмотре при помощи лупы 4-кратного увеличения не обнаружено отколов, трещин, дефектов деталей крепления приборов (деформации крепежных деталей, срыв резьбы, выдавливание прокладок).

6.15. Определение горизонтальности бортов и высоты установки ванн и глубоких душевых поддонов на опорах (4.2.15)

Прибор, смонтированный на опорах, устанавливают на поверочной плите, после чего замеряют расстояние от плоскости поверочной плиты до верха борта ванны в четырех точках по углам ванны. При этом разница между максимальной и минимальной из полученных величин не должна превышать 4 мм.

6.16. Контроль уклона дна к отверстию для выпуска (4.2.16) определяют частичным заполнением прибора водой (10 л).

После слива в приборе не должна оставаться вода.

6.17. Проверку мест присоединения уравнителя электрических потенциалов (4.2.19 - 4.2.21), а также наличия смазки на уравнителе электрических потенциалов осуществляют визуально.

6.18. Контроль применяемых материалов осуществляют по сопроводительной документации на материалы при входном контроле или путем лабораторных анализов.

7. ТРАНСПОРТИРОВАНИЕ И ХРАНЕНИЕ

7.1. Приборы следует перевозить крытым транспортом любого вида согласно правилам перевозки грузов, действующим на данном виде транспорта.

7.2. При транспортировании изделий в районы Крайнего Севера и в труднодоступные районы тара и упаковка должны соответствовать ГОСТ 15846.

7.3. Приборы должны храниться в закрытом помещении или под навесом, исключающим возможность попадания на них атмосферных осадков.

8. УКАЗАНИЯ ПО МОНТАЖУ И ЭКСПЛУАТАЦИИ

8.1. Сведения по монтажу и эксплуатации должны быть изложены в эксплуатационной документации (паспорте).

8.2. Присоединять уравнитель электрических потенциалов необходимо при монтаже ванны.

9. ГАРАНТИИ ИЗГОТОВИТЕЛЯ

9.1. Предприятие-изготовитель должно гарантировать соответствие приборов требованиям настоящего стандарта, стандартов или технических условий на приборы конкретных типов при соблюдении условий транспортирования и хранения, установленных настоящим стандартом.

9.2. Гарантийный срок эксплуатации приборов - полтора года со дня сдачи объекта в эксплуатацию или продажи (при реализации приборов через розничную сеть), но не более двух лет со дня их отгрузки предприятием-изготовителем.

Приложение А

(обязательное)

НОМЕНКЛАТУРА ПОКАЗАТЕЛЕЙ КАЧЕСТВА САНИТАРНО-ТЕХНИЧЕСКИХ СТАЛЬНЫХ ЭМАЛИРОВАННЫХ ПРИБОРОВ

1. Термическая стойкость покрытия

2. Химическая стойкость покрытия

3. Стойкость покрытия к истиранию

4. Ударная прочность покрытия

5. Механическая прочность прибора

6. Присоединительные размеры

7. Габаритные размеры, отклонение от них

8. Отклонение от плоскостности

9. Высота от пола до верха прибора

10. Показатели внешнего вида (литейные дефекты)

11. Сортность

12. Коэффициент диффузного отражения (белизна)

13. Блеск

Приложение Б

(обязательное)

РАСПРЕДЕЛЕНИЕ ПОВЕРХНОСТЕЙ СТАЛЬНЫХ ЭМАЛИРОВАННЫХ ПРИБОРОВ НА ПРИМЕРЕ ВАННЫ ПО НАЗНАЧЕНИЮ, УСЛОВИЯМ МОНТАЖА И ЭКСПЛУАТАЦИИ

Рисунок Б1

А - функциональная поверхность; В - наружная поверхность, видимая после монтажа; В - наружная поверхность, невидимая после монтажа; Г - монтажная поверхность, перекрываемая водосливной или водоразборной арматурой

Приложение В

(обязательное)

УРАВНИТЕЛЬ ЭЛЕКТРИЧЕСКИХ ПОТЕНЦИАЛОВ МЕЖДУ КОРПУСОМ ВАННЫ И ВОДОПРОВОДНОЙ ТРУБОЙ

Рисунок В1

Таблица В1

Номер детали

Наименование детали

Количество

Материал

1

Проводник

1

Проволока стальная диаметром не менее 5 мм по ГОСТ 3282 или лента стальная по ГОСТ 503 или ГОСТ 16523 толщиной не менее 2 мм и сужением не менее 24 мм

2

Болт М6-6g´35.58.019 по ГОСТ 7798

2

Сталь марки не ниже Ст10 по ГОСТ 1050

3

Шайба 6.01.08кп019 по ГОСТ 11371

4

То же

4

Гайка М6-6Н.5.019 по ГОСТ 5915

2

²

Ключевые слова: приборы стальные эмалированные санитарно-технические (ванны, мойки, раковины, поддоны), технические требования, маркировка, упаковка, транспортирование, хранение

СОДЕРЖАНИЕ

1. Область применения. 1

2. Нормативные ссылки. 2

3. Классификация и основные размеры.. 2

4. Технические требования. 9

4.2. Характеристики. 9

4.3. Требования к сырью, материалам и комплектующим изделиям.. 11

4.4. Комплектность. 11

4.5. Маркировка. 12

4.6. Упаковка. 12

5. Правила приемки. 12

6. Методы испытаний. 13

7. Транспортирование и хранение. 17

8. Указания по монтажу и эксплуатации. 17

9. Гарантии изготовителя. 17

Приложение а Номенклатура показателей качества санитарно-технических стальных эмалированных приборов. 18

Приложение б Распределение поверхностей стальных эмалированных приборов на примере ванны по назначению, условиям монтажа и эксплуатации. 18

Приложение в Уравнитель электрических потенциалов между корпусом ванны и водопроводной трубой. 19

 




Яндекс цитирования



   Copyright © 2007-2026,  www.tehlit.ru.

[ ѓосты, стандарты, нормативы, инструкции, правила, строительные нормы ]