//
|
|
ГОСУДАРСТВЕННЫЙ СТАНДАРТ СОЮЗА ССР ТРУБЫ ЖЕЛЕЗОБЕТОННЫЕ ТЕХНИЧЕСКИЕ УСЛОВИЯ ГОСТ 6482-88 ГОСУДАРСТВЕННЫЙ СТРОИТЕЛЬНЫЙ КОМИТЕТ СССР Москва ГОСУДАРСТВЕННЫЙ СТАНДАРТ СОЮЗА ССР
Дата введения 01.01.90 Настоящий стандарт распространяется на железобетонные безнапорные раструбные и фальцевые трубы (далее - трубы) с круглым отверстием, изготовляемые из тяжелого бетона и предназначенные для прокладки подземных трубопроводов, транспортирующих самотеком бытовые жидкости и атмосферные сточные воды, а также подземные воды и производственные жидкости, не агрессивные к железобетону и уплотняющим резиновым кольцам. Если транспортируемая жидкость или грунты являются агрессивными по отношению к железобетону или уплотняющим резиновым кольцам, то трубы и резиновые кольца должны удовлетворять дополнительным требованиям, установленным в проекте трубопровода. Стандарт не распространяется на железобетонные водопропускные трубы, укладываемые под насыпями железных и автомобильных дорог. 1. ТЕХНИЧЕСКИЕ ТРЕБОВАНИЯ1.1. Трубы следует изготовлять в соответствии с требованиями настоящего стандарта по технологической документации, утвержденной в установленном порядке. 1.2. Основные параметры и размеры 1.2.1. Трубы подразделяются на типы: Т - цилиндрические раструбные со стыковыми соединениями, уплотняемыми герметиками или другими материалами; ТП - то же, с подошвой; ТБ - цилиндрические раструбные с упорным буртиком на стыковой поверхности втулочного конца трубы и стыковыми соединениями, уплотняемыми резиновыми кольцами; ТБП - то же, с подошвой; ТС - цилиндрические раструбные со ступенчатой стыковой поверхностью втулочного конца трубы и стыковыми соединениями, уплотняемыми резиновыми кольцами; ТСП - то же, с подошвой; ТФП - цилиндрические фальцевые с подошвой и стыковыми соединениями, уплотняемыми герметиками или другими материалами. 1.2.2. Форма, размеры и показатели материалоемкости труб должны соответствовать указанным в приложении 1. 1.2.3. Трубы подразделяют на три группы по несущей способности: первую - при расчетной высоте засыпки грунтом 2 м; вторую » » » » » 4 м; третью » » » » » 6 м. Допускается для конкретных условий строительства трубопровода применять трубы при другой расчетной высоте засыпки грунтом. 1.2.4. Прочностные характеристики труб должны обеспечивать их эксплуатацию при расчетной высоте засыпки грунтом в усредненных условиях, которым соответствуют: основание под трубой - грунтовое плоское для труб без подошвы диаметрами условного прохода (Dу) до 500 мм включ. и труб с подошвой всех диаметров или грунтовое профилированное с углом охвата 90° для труб без подошвы Dу более 500 мм; засыпка - грунтом плотностью 1,8 т/м3 с нормальным уплотнением для труб без подошвы Dу до 800 мм включ. и труб с подошвой всех диаметров или повышенным уплотнением для труб без подошвы Dу более 800 мм; временная нагрузка на поверхности земли НГ-60. 1.2.5. Армирование труб, в зависимости от их несущей способности, а также арматурные изделия труб приведены в приложении 2. 1.2.6. Резиновые кольца круглого сечения, применяемые для стыковых соединений, изготовляют в соответствии с требованиями нормативно-технической документации (НТД) на эти кольца. Размеры колец в нерастянутом состоянии должны соответствовать указанным в табл. 1. мм
1.2.7. Трубы обозначают марками в соответствии с требованиями ГОСТ 23009. Марка труб состоит из буквенно-цифровых групп, разделенных дефисом. Первая группа содержит обозначение типа трубы, ее диаметр условного прохода в сантиметрах и полезную длину в дециметрах. Во второй группе указывают несущую способность, обозначаемую арабской цифрой. Пример условного обозначения (марки трубы типа Т, Dу 600 мм, полезной длиной 5000 мм, третьей группы по несущей способности: Т60.50-3 То же, трубы типа ТС, Dу 1000 мм, полезной длиной 3500 мм, второй группы по несущей способности: ТС100.35-2 1.3. характеристики 1.3.1. Трубы должны быть прочными и трещиностойкими и при испытании их нагружением выдерживать контрольные нагрузки, указанные в табл. 2.
1.3.2. Трубы должны быть водонепроницаемыми и выдерживать внутреннее испытательное гидростатическое давление, равное 0,05 МПа (0,5 кгс/см2). 1.3.3. Трубы должны удовлетворять требованиям ГОСТ 13015.0: по показателям фактической прочности бетона (в проектном возрасте и отпускной); по морозостойкости; по отклонению от толщины защитного слоя бетона до арматуры; к маркам стали для арматурных изделий. 1.3.4. Трубы следует изготовлять из тяжелого бетона по ГОСТ 26633 класса по прочности на сжатие В25. 1.3.5. Нормируемую отпускную прочность бетона труб принимают равной 70 % класса бетона по прочности на сжатие. Указанную нормируемую отпускную прочность бетона на сжатие допускается уменьшать или увеличивать в соответствии с требованиями ГОСТ 13015.0. 1.3.6. Водонепроницаемость бетона труб должна соответствовать марке по водонепроницаемости W4. 1.3.7. Водопоглощение бетона труб не должно быть более 6 % по массе. 1.3.8. Для армирования труб следует применять: стержневую горячекатаную арматурную сталь классов A-I и A-III по ГОСТ 5781; проволоку класса Вр-I по ГОСТ 6727. 1.3.9. Форма и размеры арматурных изделий и их положение в трубах должны соответствовать указанным в приложении 2. 1.3.10. Сварные арматурные изделия должны удовлетворять требованиям ГОСТ 10922 и настоящего стандарта. 1.3.11. Отклонения от номинального диаметра и длины каркаса, шаг спиральной арматуры не должны превышать ±5 мм. Отклонения по числу шагов спиральной арматуры каркасов не должны превышать: ±2 - для труб полезной длины 5 м; ±1 » » » » 2,5 или 3,5 м. 1.3.12. Значения действительных отклонений геометрических параметров труб не должны превышать предельных, указанных в табл. 3. мм
Примечания: 1. Размеры труб, которые не приведены в табл. 3, являются справочными для изготовления форм. 2. Для груб типа Т, Dу 1600 мм допускается принимать предельные отклонения геометрических параметров, отличные от указанных в табл. 3, на основании расчета точности стыкового соединения по ГОСТ 21780-83 и при обеспечении выполнения требований настоящего стандарта по прочности и трещиностойкости труб. 1.3.13. Отклонения от перпендикулярности торцевой поверхности к продольной оси фальцевых труб не должны превышать, мм: 10 - для труб диаметрами условного прохода 1000-1600 мм; 12 » » » » » 2000-2400 мм. 1.3.14. Размеры раковин, местных наплывов и впадин на поверхности труб и их торцах, а также околов бетона не должны превышать указанных в табл. 4. мм
Примечание. Раковины на трубах, размеры которых превышают указанные в табл. 4, устраняют путем заделки раствором состава по массе 1:2 (цемент : песок). 1.3.16. Трещины на поверхностях труб не допускают, за исключением усадочных шириной не более 0,05 мм. 1.4. Комплектность 1.4.1. Трубы типов ТБ, ТБП, ТС и ТСП поставляют потребителю в комплекте с резиновыми уплотняющими кольцами. 1.5. Маркировка 1.5.1 Маркировка труб - по ГОСТ 13015.2. Маркировочные надписи следует наносить на наружную поверхность раструба или одного из концов фальцевой трубы. 2. ПРИЕМКА2.1. Приемка труб - по ГОСТ 13015.1 и настоящему стандарту. При этом трубы принимают: по результатам периодических испытаний - по показателям прочности трещиностойкости и водонепроницаемости труб, а также морозостойкости, водонепроницаемости и водопоглощения бетона; по результатам приемо-сдаточных испытаний - по показателям прочности бетона (классу бетона по прочности на сжатие и отпускной прочности), соответствия арматурных изделий рабочим чертежам, прочности сварных соединений, точности геометрических параметров, толщины защитного слоя бетона до арматуры, качества бетонной поверхности, ширины усадочных трещин. В процессе серийного производства периодические испытания труб нагружением для контроля их прочности и трещиностойкости могут не проводиться, если осуществляется неразрушающий контроль этих показателей по ГОСТ 13015.1. 2.2. Периодические испытания труб по прочности и трещиностойкости проводят: Dу 400 - 1600 мм - раз в 3 мес, Dу 2000 и 2400 мм - раз в 6 мес. 2.3. Периодические испытания труб на водонепроницаемость, а также бетона труб на водонепроницаемость и водопоглощение проводят раз в 3 мес. 2.4. Трубы по показателям точности геометрических параметров, качества поверхностей (кроме стыковой поверхности раструба и втулочной части труб типов ТБ, ТС, ТБП и ТСП) и толщины защитного слоя бетона до арматуры следует принимать по результатам выборочного контроля. Трубы типов ТБ, ТС, ТБП и ТСП по размерам и качеству стыковой поверхности раструба и втулочной части следует принимать по результатам сплошного контроля. Допускается осуществлять приемку этих труб по размерам стыковой поверхности раструба и втулочной части по результатам выборочного контроля, если осуществляется операционный контроль соответствующих размеров собранных форм перед формованием. 3. МЕТОДЫ КОНТРОЛЯ3.1. Испытания труб нагружением для контроля их прочности и трещиностойкости проводят в соответствии с требованиями ГОСТ 8829 и настоящего стандарта. 3.1.1. Испытанию подвергают целую трубу или вырезанный из ее цилиндрической части отрезок длиной не менее 1 м. Для испытания может быть использована труба, прошедшая гидростатическое испытание на водонепроницаемость. 3.1.2 Схемы опирания и нагружения труб приведены: раструбных - на черт 1; фальцевых - на черт. 2. Трубу устанавливают горизонтально на два деревянных бруса, уложенных параллельно продольной оси трубы на неподвижное основание. Сверху на трубу устанавливают деревянный брус вдоль верхней образующей цилиндрической части, на него ставят стальную траверсу. Схема испытания раструбной трубы
1 - резиновая прокладка или цементный раствор; 2 - деревянные бруски; 3 - стальная траверса Схема испытания фальцевой трубы
1 - резиновая прокладка или цементный раствор; 2 - деревянные бруски; 3 - стальная траверса С целью равномерной передачи нагрузки на трубу под верхний брус и на нижние бруски укладывают выравнивающий слой цементного раствора или полосы листовой резины толщиной 20 - 30 мм. Резиновые полосы должны иметь твердость по Шopy от 45 до 60. Деревянные бруски должны быть сечением 100´100 мм. Жесткость траверсы должна быть такой, чтобы ее прогиб при максимальном нагружении не превышал 1/720 длины испытываемой трубы. 3.1.3. Испытательное оборудование должно обеспечивать погрешность измерения нагрузки не более 3 %. 3.1.4. Нагружение при испытании проводят ступенями равномерно, наращивая нагрузку в течение 2-3 мин до достижения 0,1 контрольной (по проверке прочности), указанной в табл. 2, и поддерживая ее в течение 10 мин. При достижении нагрузки, равной контрольной (по проверке трещиностойкости), измеряют наибольшую ширину раскрытия трещин измерительными лупами по ГОСТ 25706-83 или микроскопами по ГОСТ 14968. 3.1.5. Прочность труб оценивают значением нагрузки, вызывающей одно из нижеследующих состояний, которые свидетельствуют, что сопротивление трубы действию этой нагрузки исчерпано: 1) текучесть спиральной арматуры, что в трубах с двойным каркасом характеризуется шириной раскрытия трещин более 1,5 мм; в трубах с одинарным каркасом - шириной раскрытия трещин более 2,0 мм; 2) раздробление бетона от сжатия; 3) разрыв спиральной арматуры; 4) отрыв арматуры в шелыге или лотке трубы. 3.1.6. Трубу считают выдержавшей испытание на прочность, если разрушение ее не произошло при контрольной нагрузке, указанной в табл. 2. 3.1.7. Трубу считают выдержавшей испытание на трещиностойкость, если наибольшая ширина раскрытия трещин на поверхности трубы при нагрузке, указанной в табл. 2, окажется не более 0,2 мм. 3.2. Гидростатическое испытание труб типов ТБ, ТБП, ТС, ТСП на водонепроницаемость следует проводить на установках, имеющих заглушки со стыками, конструкция которых аналогична конструкции стыкового соединения, принятого для труб указанных типов. Испытание труб типов Т, ТП и ТФП следует проводить, на установках с плоскими заглушками. 3.2.1. Для испытания на водонепроницаемость отобранную трубу герметически закрывают с обоих концов заглушками и наполняют водой, не допуская образования «воздушных мешков», затем в течение 1 мин, равномерно повышают давление до 0,05 МПа (0,5 кгс/см2) и выдерживают трубу под этим давлением 10 мин. Значение давления определяют на уровне шелыги трубы манометром по ГОСТ 2405. Допускается перед испытанием замачивать трубы в течение 48 ч в ванне или на испытательном стенде путем заполнения их водой. 3.2.2. Трубы считают выдержавшими испытание на водонепроницаемость, если к моменту его окончания не будет обнаружено просачивание воды сквозь стенку в виде течи или отдельных капель. Появление сырых пятен на наружной поверхности трубы не может служить основанием для браковки трубы. 3.3. Прочность бетона на сжатие следует определять по ГОСТ 10180. При испытании труб неразрушающими методами фактическую отпускную прочность бетона на сжатие следует определять ультразвуковым методом по ГОСТ 17624 или приборами механического действия по ГОСТ 22690.0 - ГОСТ 22690.4. 3.4. Для оценки прочности бетона труб результаты испытаний вибрированных образцов-кубов умножают на переводной коэффициент, значение которого устанавливают опытным путем, в зависимости от технологии изготовления труб. 3.5. Водонепроницаемость бетона следует определять по ГОСТ 12730.0 и ГОСТ 12730.5 на образцах, изготовленных вибрированием из бетонной смеси рабочего состава. 3.6. Водопоглощение бетона труб следует определять по ГОСТ 12730.0 и ГОСТ 12730.3 на образцах, отобранных из разных мест трубы. Допускается использовать образцы трубы, испытанной на прочность. Образцы должны быть без видимых трещин. 3.7. Морозостойкость бетона следует определять по ГОСТ 10060 на образцах, изготовленных вибрированием из бетонной смеси рабочего состава. 3.8. Сварные арматурные изделия следует контролировать по ГОСТ 10922. 3.9. Размеры и положение арматурных каркасов, а также толщину защитного слоя бетона до арматуры следует определять по ГОСТ 17625 и ГОСТ 22904. 3.10. Размеры, отклонения от перпендикулярности торцевых плоскостей и качество поверхностей труб проверяют методами, установленными ГОСТ 26433.0 и ГОСТ 26433.1. 3.11. Геометрические размеры контролируют металлическими рулетками по ГОСТ 7502, штангенциркулем по ГОСТ 166, нутромером по ГОСТ 868. Все применяемые средства измерения должны быть не ниже 2-го класса точности, Допускается применять специальные нестандартизованные средства измерения геометрических размеров, прошедшие метрологическую аттестацию в соответствии с ГОСТ 8.326. 3.12. Размеры труб проверяют следующим образом: толщину стенок на концах труб измеряют в четырех местах по двум взаимно перпендикулярным диаметрам; наружные диаметры втулочного конца раструбных труб и их буртика, внутренний диаметр и глубину раструба измеряют по двум взаимно перпендикулярным диаметрам (максимальному и минимальному). Внутренний диаметр раструба следует измерять в средней части его глубины (l2); внутренний диаметр цилиндрической части труб измеряют по двум взаимно перпендикулярным диаметрам - максимальному и минимальному - на расстоянии 0,2-0,4 м от торца трубы. диаметры и глубину фальцев в фальцевых трубах измеряет по двум взаимно перпендикулярным диаметрам. Диаметры фальцев измеряют в середине глубины фальцев (l2, l3); высоту буртика труб измеряют в четырех местах по двум взаимно перпендикулярным диаметрам; длину трубы измеряют по четырем образующим в двух диаметрально противоположных сечениях. 4. ТРАНСПОРТИРОВАНИЕ И ХРАНЕНИЕ4.1. Транспортирование и храпение труб - по ГОСТ 13015.4. 4.2. Трубы следует хранить на складе готовой продукции в штабелях рассортированными по маркам. Примечание. Трубы полезной длиной менее 5 м допускается хранить в вертикальном положении при обеспечении их устойчивости. 4.2.1. Число рядов труб по высоте должно быть не более указанного в табл. 5.
4.2.2. Под нижний ряд труб штабеля должны быть уложены параллельно друг другу две подкладки на расстоянии 0,2 м длины трубы от ее торцов. Конструкция подкладок не должна позволять раскатываться нижнему ряду труб. ПРИЛОЖЕНИЕ
1
| ||||||||||||||||||||||||||||||||||||||||||||||||||||||||||||||||||||||||||||||||||||||||||||||||||||||||||||||||||||||||||||||||||||||||||||||||||||||||||||||||||||||||||||||||||||||||||||||||||||||||||||||||||||||||||||||||||||||||||||||||||||||||||||||||||||||||||||||||||||||||||||||||||||||||||||||||||||||||||||||||||||||||||||||||||||||||||||||||||||||||||||||||||||||||||||||||||||||||||||||||||||||||||||||||||||||||||||||||||||||||||||||||||||||||||||||||||||||||||||||||||||||||||||||||||||||||||||||||||||||||||||||||||||||||||||||||||||||||||||||||||||||||||||||||||||||||||||||||||||||||||||||||||||||||||||||||||||||||||||||||||||||||||||||||||||||||||||||||||||||||||||||||||||||||||||||||||||||||||||||||||||||||||||||||||||||||||||||||||||||||||||||||||||||||||||||||||||||||||||||||||||||||||||||||||||||||||||||||||||||||||||||||||||||||||||||||||||||||||||||||||||||||||||||||||||||||||||||||||||||||||||||||||||||||||||||||||||||||||||||||||||||||||||||||||||||||||||||||||||||
|
Dу, мм |
Типоразмер трубы |
Размеры труб, мм |
Справочная масса трубы, т |
|||||||||
|
di |
de |
d1 |
d2 |
t |
l |
l1 |
l2 |
l3 |
l4 |
|||
|
400 |
Т40.50 |
400 |
500 |
530 |
650 |
50 |
5000 |
5100 |
100 |
150 |
75 |
0,95 |
|
500 |
T50.50 |
500 |
620 |
650 |
790 |
60 |
85 |
1,4 |
||||
|
600 |
T60.50 |
600 |
720 |
750 |
890 |
1,7 |
||||||
|
800 |
T80.50 |
800 |
960 |
990 |
1170 |
80 |
5110 |
110 |
200 |
105 |
3,0 |
|
|
1000 |
T100.50 |
1000 |
1200 |
1230 |
1450 |
100 |
125 |
4,8 |
||||
|
1200 |
Т120.50 |
1200 |
1420 |
1450 |
1690 |
110 |
135 |
6,0 |
||||
|
1400 |
T140.50 |
1400 |
1620 |
1650 |
1890 |
7,0 |
||||||
|
1600 |
Т160.50 |
1600 |
1840 |
1870 |
2130 |
120 |
145 |
8,7 |
||||
Трубы типа ТБ
|
Dу, мм |
Типоразмер трубы |
Размеры труб, мм |
Справочная масса трубы, т |
||||||||||||||
|
di |
de |
d1 |
d2 |
t |
t1 |
а |
l |
l1 |
l2 |
l3 |
l4 |
h |
h1 |
h2 |
|||
|
400 |
ТБ40.50 |
400 |
500 |
531 |
684 |
50 |
76,5 |
44 |
5000 |
5145 |
145 |
365 |
102 |
92 |
11 |
6 |
0,95 |
|
500 |
TБ50.50 |
500 |
620 |
651 |
834 |
60 |
91,5 |
59 |
5160 |
160 |
425 |
105 |
107 |
1,5 |
|||
|
600 |
TБ60.50 |
600 |
720 |
751 |
934 |
1,7 |
|||||||||||
|
800 |
TБ80.50 |
800 |
960 |
991 |
1210 |
80 |
109,5 |
482 |
125 |
3,0 |
|||||||
|
1000 |
TБ100.50 |
1000 |
1200 |
1231 |
1498 |
100 |
133,5 |
590 |
149 |
7 |
4,8 |
||||||
|
1200 |
ТБ120.50 |
1200 |
1420 |
1451 |
1740 |
110 |
144,5 |
69 |
5170 |
170 |
634 |
115 |
160 |
6,3 |
|||
|
1400 |
TБ140.50 |
1400 |
1620 |
1651 |
1946 |
147,5 |
74 |
5175 |
175 |
163 |
13 |
7,3 |
|||||
|
1600 |
ТБ160.50 |
1600 |
1840 |
1871 |
2196 |
120 |
159 |
84 |
5185 |
185 |
654 |
125 |
178 |
9,0 |
|||
Трубы типа ТС

Трубы типа TC
|
Dу, мм |
Типоразмер трубы |
Размеры труб, мм |
Справочная масса трубы, т |
||||||||||||||||||||
|
di |
de |
d1 |
d2 |
d3 |
d4 |
d5 |
d6 |
t |
t1 |
l |
l1 |
l2 |
l3 |
l4 |
l5 |
h |
a |
r1 |
r2 |
r3 |
|||
|
400 |
ТС40.25 |
400 |
500 |
510 |
687 |
501 |
477 |
470 |
465 |
50 |
88,5 |
2500 |
2650 |
150 |
365 |
70 |
25 |
93,5 |
15 |
4 |
2 |
4 |
0,52 |
|
TC40.50 |
5000 |
5150 |
0,95 |
||||||||||||||||||||
|
500 |
ТС50.25 |
500 |
620 |
631 |
837 |
621 |
596 |
589 |
584 |
60 |
103 |
2500 |
2660 |
160 |
425 |
108,5 |
5 |
0,78 |
|||||
|
TC50.50 |
5000 |
5160 |
1,5 |
||||||||||||||||||||
|
600 |
ТС60.25 |
600 |
720 |
731 |
937 |
721 |
696 |
689 |
684 |
2500 |
2660 |
5 |
0,92 |
||||||||||
|
TC60.50 |
5000 |
5160 |
126,5 |
1,7 |
|||||||||||||||||||
|
800 |
ТС80.35 |
800 |
960 |
971 |
1213 |
961 |
936 |
929 |
924 |
80 |
121 |
3500 |
3660 |
482 |
2,2 |
||||||||
|
TC80.50 |
5000 |
5160 |
3,0 |
||||||||||||||||||||
|
1000 |
ТС100.35 |
1000 |
1200 |
1212 |
1499 |
1202 |
1176 |
1169 |
1164 |
100 |
143,5 |
3500 |
3670 |
170 |
590 |
30 |
149,5 |
20 |
3,5 |
||||
|
TC100.50 |
5000 |
5170 |
4,8 |
||||||||||||||||||||
|
1200 |
ТС120.35 |
1200 |
1420 |
1433 |
1742 |
1422 |
1397 |
1390 |
1385 |
110 |
154,5 |
3500 |
3675 |
175 |
634 |
161 |
6 |
3 |
4,5 |
||||
|
TC120.50 |
5000 |
5175 |
6,3 |
||||||||||||||||||||
|
1400 |
ТС140.35 |
1400 |
1620 |
1633 |
1948 |
1621 |
1597 |
1591 |
1577 |
157,5 |
3500 |
3690 |
190 |
75 |
164 |
- |
5,3 |
||||||
|
TC140.50 |
5000 |
5190 |
7,3 |
||||||||||||||||||||
|
1600 |
ТС160.35 |
1600 |
1840 |
1854 |
2172 |
1842 |
1811 |
1805 |
1791 |
120 |
159 |
3500 |
3690 |
654 |
166 |
6,5 |
|||||||
|
TC160.50 |
5000 |
5190 |
9,0 |
||||||||||||||||||||
Трубы типа ТП

Трубы типа ТП
|
Dу, мм |
Типоразмер трубы |
Размеры труб, мм |
Справочная масса трубы, т |
|||||||||||||||||
|
di |
de |
d1 |
d2 |
t |
l |
l1 |
l2 |
l3 |
l4 |
l5 |
l6 |
h |
h1 |
h2 |
b |
b1 |
b2 |
|||
|
1000 |
TП100.50 |
1000 |
1200 |
1230 |
1450 |
100 |
5000 |
5110 |
110 |
200 |
125 |
210 |
120 |
1230 |
440 |
30 |
800 |
160 |
30 |
5,5 |
|
1200 |
ТП120.50 |
1200 |
1420 |
1450 |
1690 |
110 |
135 |
1450 |
520 |
960 |
190 |
7,3 |
||||||||
|
1400 |
ТП140.50 |
1400 |
1620 |
1650 |
1890 |
1660 |
650 |
40 |
1200 |
240 |
40 |
8,8 |
||||||||
|
1600 |
ТП160.50 |
1600 |
1840 |
1870 |
2130 |
120 |
145 |
1880 |
660 |
10,5 |
||||||||||
|
2000 |
TП200.45 |
2000 |
2260 |
2300 |
2580 |
130 |
4500 |
4630 |
130 |
220 |
160 |
230 |
150 |
2310 |
730 |
50 |
1300 |
260 |
50 |
12,5 |
|
2400 |
ТП240.30 |
2400 |
2700 |
2740 |
3060 |
150 |
3000 |
3140 |
140 |
240 |
180 |
240 |
2750 |
880 |
1600 |
320 |
12,0 |
|||
Трубы типа ТБП

Трубы типа ТБП
|
Dу, мм |
Типоразмер трубы |
Размеры труб, мм |
Справочная масса трубы, т |
|||||||||||||||||||||
|
di |
de |
d1 |
d2 |
d3 |
t |
t1 |
a |
l |
l1 |
l2 |
l3 |
l4 |
l5 |
h |
h1 |
h2 |
h3 |
h4 |
b |
b1 |
b2 |
|||
|
1000 |
ТБП100.50 |
1000 |
1200 |
1231 |
1430 |
1220 |
100 |
99,5 |
59 |
5000 |
5160 |
160 |
220 |
105 |
210 |
1230 |
440 |
30 |
115 |
10 |
800 |
160 |
30 |
5,3 |
|
1200 |
ТБП120.50 |
1200 |
1420 |
1451 |
1670 |
1440 |
110 |
109,5 |
69 |
5170 |
170 |
115 |
220 |
1450 |
520 |
125 |
960 |
190 |
6,8 |
|||||
|
1400 |
ТБП140.50 |
1400 |
1620 |
1651 |
1876 |
1646 |
112,5 |
74 |
5175 |
175 |
1660 |
650 |
40 |
128 |
13 |
1200 |
240 |
40 |
8,5 |
|||||
|
1600 |
ТБП160.50 |
1600 |
1840 |
1878 |
2116 |
1866 |
120 |
119 |
84 |
5185 |
185 |
230 |
125 |
230 |
1880 |
660 |
138 |
10,0 |
||||||
Трубы типа ТСП

Таблица 11
Трубы типа ТСП
|
Dу, мм |
Типоразмер трубы |
Размеры труб, мм |
Суммарная масса трубы, т |
||||||||||||||||||||||||||
|
di |
de |
d1 |
d2 |
d3 |
d4 |
d5 |
d6 |
t |
t1 |
l |
l1 |
l2 |
l3 |
l4 |
l5 |
l6 |
h |
h1 |
h2 |
h3 |
b |
b1 |
b2 |
r1 |
r2 |
r3 |
|||
|
1000 |
ТСП100.35 |
1000 |
1200 |
1212 |
1430 |
1202 |
1176 |
1169 |
1164 |
100 |
109 |
3500 |
3670 |
170 |
220 |
70 |
30 |
180 |
1230 |
440 |
30 |
115 |
800 |
160 |
30 |
5 |
2 |
5 |
4,0 |
|
ТСП100.50 |
5000 |
5170 |
5,5 |
||||||||||||||||||||||||||
|
1200 |
ТСП120.35 |
1200 |
1420 |
1433 |
1670 |
1422 |
1397 |
1390 |
1385 |
110 |
118,5 |
3500 |
3675 |
175 |
1450 |
520 |
125 |
960 |
190 |
6 |
3 |
5,0 |
|||||||
|
ТСП120.50 |
5000 |
5175 |
7,0 |
||||||||||||||||||||||||||
|
1400 |
ТСП140.35 |
1400 |
1620 |
1633 |
1876 |
1621 |
1597 |
1591 |
1577 |
121,5 |
3500 |
3690 |
190 |
75 |
195 |
1660 |
650 |
40 |
128 |
1200 |
240 |
40 |
- |
- |
6,3 |
||||
|
ТСП140.50 |
5000 |
5190 |
9,0 |
||||||||||||||||||||||||||
|
1600 |
ТСП160.35 |
1600 |
1840 |
1854 |
2116 |
1842 |
1811 |
1805 |
1791 |
120 |
131 |
3500 |
3690 |
230 |
1880 |
660 |
138 |
7,5 |
|||||||||||
|
ТСП160 50 |
5000 |
5190 |
10,5 |
||||||||||||||||||||||||||
Трубы типа ТФП

Таблица 12
Трубы типа ТФП
|
Dу, мм |
Типоразмер трубы |
Размеры труб, мм |
Справочная масса трубы, т |
||||||||||||||||||||
|
di |
de |
d1 |
d2 |
d3 |
d4 |
t |
l |
l1 |
l2 |
l3 |
h |
h1 |
h2 |
h3 |
h4 |
h5 |
h6 |
b |
b1 |
b2 |
|||
|
1000 |
ТФП100.50 |
1000 |
1200 |
1078 |
1118 |
1074 |
1126 |
100 |
5000 |
5070 |
55 |
80 |
1230 |
440 |
30 |
41 |
39 |
37 |
37 |
800 |
160 |
30 |
5,3 |
|
1200 |
ТФП120.50 |
1200 |
1420 |
1280 |
1324 |
1280 |
1334 |
110 |
5090 |
75 |
100 |
1450 |
520 |
48 |
40 |
43 |
40 |
960 |
190 |
6,8 |
|||
|
1400 |
ТФП140.50 |
1400 |
1620 |
1480 |
1524 |
1480 |
1534 |
1660 |
650 |
40 |
1200 |
240 |
40 |
8,5 |
|||||||||
|
1600 |
ТФП160.50 |
1600 |
1840 |
1700 |
1740 |
1690 |
1750 |
120 |
1880 |
660 |
50 |
50 |
45 |
45 |
10,0 |
||||||||
|
2000 |
ТФП200.45 |
2000 |
2260 |
2108 |
2160 |
2100 |
2170 |
130 |
4500 |
4590 |
2310 |
730 |
50 |
54 |
50 |
1300 |
260 |
50 |
11,8 |
||||
|
2400 |
ТФП240.30 |
2400 |
2700 |
2510 |
2570 |
2514 |
2590 |
150 |
3000 |
3110 |
95 |
120 |
2750 |
880 |
65 |
55 |
55 |
57 |
1600 |
320 |
11,0 |
||


Марки и показатели материалоемкости
|
Марка трубы |
Расход материалов |
|
|
Бетон, м3 |
Сталь, кг |
|
|
Т40.50-2 |
0,38 |
20,0 |
|
Т40.50-3 |
25,6 |
|
|
Т50.50-2 |
0,56 |
27,3 |
|
Т50.50-3 |
32,3 |
|
|
Т60.50-2 |
0,66 |
36,7 |
|
Т60.50-3 |
43,2 |
|
|
Т80.50-2 |
1,2 |
68,6 |
|
Т80.50-3 |
84,7 |
|
|
Т100.50-2 |
1,9 |
88,6 |
|
Т100.50-3 |
125,6 |
|
|
Т120.50-1 |
2,4 |
132,3 |
|
Т120.50-2 |
189,4 |
|
|
Т120.50-3 |
273,7 |
|
|
Т140.50-1 |
2,8 |
194,3 |
|
Т140.50-2 |
278,2 |
|
|
Т140.50-3 |
379,3 |
|
|
Т160.50-1 |
3,5 |
251,6 |
|
T160.50-2 |
342,2 |
|
|
Т160.50-3 |
497,3 |
|
|
ТБ40.50-2 |
0,38 |
19,9 |
|
ТБ40.50-3 |
25,4 |
|
|
ТБ50.50-2 |
0,58 |
26,9 |
|
ТБ50.50-3 |
32,3 |
|
|
ТБ60.50-2 |
0,68 |
36,6 |
|
ТБ60.50-3 |
43,6 |
|
|
ТБ80.50-2 |
1,2 |
68,3 |
|
ТБ80.50-3 |
85,6 |
|
|
ТБ100.50-2 |
1,9 |
88,2 |
|
ТБ100.30-3 |
123,7 |
|
|
ТБ120.50-1 |
2,5 |
132,5 |
|
ТБ120.50-2 |
188,4 |
|
|
ТБ120.50-3 |
278,4 |
|
|
ТБ140.50-1 |
2,9 |
197,2 |
|
ТБ140.50-2 |
280,5 |
|
|
ТБ140.50-3 |
388,6 |
|
|
ТБ160.50-1 |
3,6 |
256,3 |
|
ТБ160.50-2 |
346,9 |
|
|
ТБ160.50-3 |
513,1 |
|
|
ТС40.25-2 |
0,21 |
10,4 |
|
ТС40.25-3 |
13,3 |
|
|
ТС40.50-2 |
0,38 |
19,9 |
|
ТС40.50-3 |
25,4 |
|
|
ТС50.25-2 |
0,31 |
14,2 |
|
ТС50.25-3 |
16,9 |
|
|
ТС50.50-2 |
0,58 |
26,9 |
|
ТС50.50-3 |
32,3 |
|
|
ТС60.25-2 |
0,37 |
19,1 |
|
ТС60.25-3 |
22,7 |
|
|
ТС60.50-2 |
0,68 |
36,6 |
|
ТС60.50-3 |
43,6 |
|
|
ТС80.35-2 |
0,88 |
48,8 |
|
ТС80.35-3 |
61,1 |
|
|
ТС80.50-2 |
1,2 |
68,3 |
|
ТС80.50-3 |
85,6 |
|
|
ТС100.35-2 |
1,4 |
63,2 |
|
ТС100.35-3 |
88,8 |
|
|
ТС100.50-2 |
1,9 |
88,4 |
|
ТC100.50-3 |
123,9 |
|
|
TC120.35-1 |
1,8 |
104,5 |
|
ТС120.35-2 |
144,7 |
|
|
ТС 120.35-3 |
207,5 |
|
|
ТC120.50-1 |
2,5 |
141,5 |
|
ТС120.50-2 |
196,8 |
|
|
ТC120.50-3 |
286,1 |
|
|
ТС140.35-1 |
2,1 |
151,5 |
|
ТС140.35-2 |
210,9 |
|
|
ТC140.35-3 |
286,5 |
|
|
ТС.140.50-1 |
2,9 |
207,8 |
|
ТС.140.50-2 |
289,4 |
|
|
ТС.140.50-3 |
396,5 |
|
|
ТС160.35-1 |
2,6 |
195,4 |
|
ТС160.35-2 |
259,3 |
|
|
ТС160.35-3 |
375,5 |
|
|
ТС160.50-1 |
3,6 |
269,5 |
|
ТС160.50-2 |
356,8 |
|
|
ТС160.50-3 |
521,2 |
|
|
ТП100.50-2 |
2,2 |
88,6 |
|
ТП100.50-3 |
125,6 |
|
|
ТП120.50-1 |
2,9 |
132,3 |
|
ТП120.50-2 |
189,4 |
|
|
ТП120.50-3 |
273,4 |
|
|
ТП140.50-1 |
3,5 |
194,3 |
|
TП140.50-2 |
278,2 |
|
|
TП140.50-3 |
379,3 |
|
|
ТП160.50-1 |
4,2 |
251,6 |
|
ТП160.50-2 |
342,2 |
|
|
ТП160.50-3 |
497,3 |
|
|
ТП200.45-1 |
5,0 |
450,9 |
|
ТП200.45-2 |
562,5 |
|
|
ТП240.30-1 |
4,8 |
456,4 |
|
ТП240.30-2 |
547,0 |
|
|
ТБП100.50-2 |
2,1 |
89,4 |
|
ТБП100.50-3 |
126,7 |
|
|
ТБП120.50-1 |
2,7 |
133,5 |
|
ТБП120.50-2 |
191,3 |
|
|
ТБII120.50-3 |
276,2 |
|
|
ТБП140.50-1 |
3,4 |
196,1 |
|
ТБП140.50-2 |
279,9 |
|
|
ТБП140.50-3 |
381,8 |
|
|
ТБП160.50-1 |
4,0 |
253,6 |
|
ТБП160.50-2 |
344,8 |
|
|
ТБП160.50-3 |
501,4 |
|
|
ТСП100.35-2 |
1,6 |
64,3 |
|
ТСП100.35-3 |
91,8 |
|
|
ТСП100.50-2 |
2,2 |
89,5 |
|
ТСП100.50-3 |
126,9 |
|
|
ТСП120.35-1 |
2,0 |
105,6 |
|
ТСП120.35-2 |
147,5 |
|
|
ТСП120.35-3 |
205,3 |
|
|
ТСП120.50-1 |
2,8 |
142,5 |
|
ТСП120.50-2 |
199,8 |
|
|
ТСП120.50-3 |
283,9 |
|
|
ТСП140.35-1 |
2,5 |
150,0 |
|
ТСП140.35-2 |
210,4 |
|
|
TCП140.35-3 |
280,0 |
|
|
ТСП140.50-1 |
3,6 |
205,4 |
|
ТСП140.50-2 |
289,1 |
|
|
ТСП140.50-3 |
390,0 |
|
|
ТСП160.35-1 |
3,0 |
191,7 |
|
ТСП160.35-2 |
257,1 |
|
|
ТСП160.35-3 |
363,9 |
|
|
ТСП160.50-1 |
4,2 |
264,3 |
|
ТСП160.50-2 |
354,7 |
|
|
ТСП160.50-3 |
509,6 |
|
|
ТФП100.50-2 |
2,1 |
84,2 |
|
ТФП100.50-3 |
117,9 |
|
|
ТФП120.50-1 |
2,8 |
126,9 |
|
ТФП120.50-2 |
180,1 |
|
|
ТФП120.50-3 |
266,0 |
|
|
ТФП140.50-1 |
3,4 |
188,6 |
|
ТФП140.50-2 |
268,0 |
|
|
ТФП140.50-3 |
371,1 |
|
|
ТФП160.50-1 |
4,0 |
246,0 |
|
ТФП160.50-2 |
331,5 |
|
|
ТФП160.50-3 |
490,0 |
|
|
ТФП200.45-1 |
4,7 |
438,1 |
|
ТФП200.45-2 |
552,4 |
|
|
ТФП240.30-1 |
4,4 |
442,8 |
|
ТФП240.30-2 |
537,5 |
|
1. Армирование труб приведено:
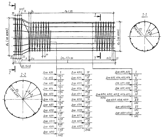
Примечания: 1. При формовании труб в вертикальном положении допускается опирать цилиндрические арматурные каркасы на поддон форм.
2. Для раструбных труб допускается раздельное армирование раструба и цилиндрической части трубы, при этом цилиндрический каркас должен устанавливаться на всю длину трубы.
3. В трубах типов ТС и ТСП с двойными каркасами допускается армирование втулочной части выполнять по черт. 28.
4. Допускается при соответствующем технико-экономическом обосновании армирование труб Dy 1200 мм по другим, утвержденным в установленном порядке рабочим чертежам, которое обеспечивает выполнение требований настоящего стандарт по трещиностойкости, прочности и водонепроницаемости труб без увеличения материалоемкости, в том числе расхода стали.
2 Спецификация арматурных изделий и расход стали на одну трубу диаметром условного прохода до 1000 мм включ. приведены в табл. 14, а диаметром условного прохода 1200 и более - в табл. 15.
3. Форма и размеры арматурных каркасов приведены на черт. 29 - 37 и табл. 16, 17.
Спецификация и расход стали на арматурные изделия приведены в табл. 18.
Примечания: 1. Допускается изготовление двухзаходной спирали при условии обеспечения замкнутого витка на концах каркаса.
2. Допускается по согласованию с институтом «Мосинжпроект» Главмосархитектуры Мосгорисполкома изменение арматуры каркасов труб при условии сохранения формы, диаметра и длины каркаса и без увеличения расхода стали.
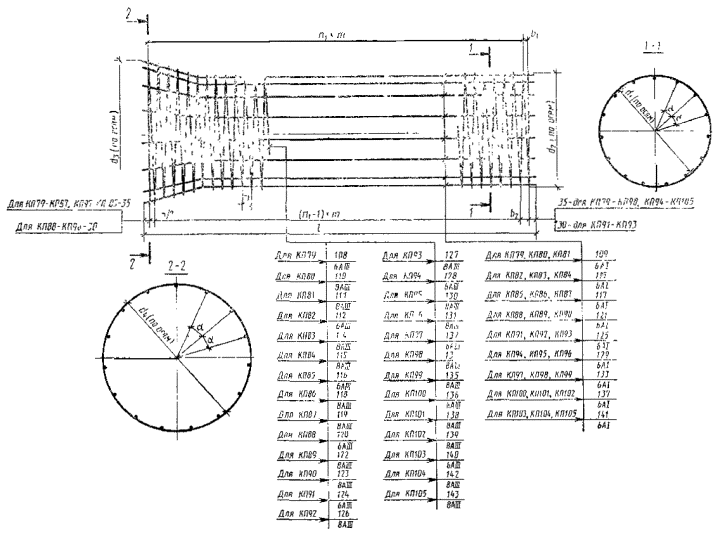
4. Каркасы К4 и К5, устанавливаемые в лотке и шелыге труб Dy 2000 и 2400 мм, должны быть равномерно распределены по длине трубы.
5. Для обеспечения проектной толщины защитного слоя бетона до арматуры к каркасу следует прикреплять пластмассовые или бетонные фиксаторы.
Фиксаторы следует устанавливать по периметру каркаса на расстоянии 500-600 мм, но не менее 4 шт. под углом 90° друг к другу, а по длине - не реже чем через 1000 мм.
Допускается применение фиксаторов из отходов арматурной стали.
6. Изготовление арматурных изделий следует производить контактной точечной сваркой в соответствии с требованиями ГОСТ 14098-85.
7 Спиральную и продольную арматуру цилиндрических каркасов следует сваривать между собой в каждом пересечении или через одно пересечение при обязательном шахматном расположении сварных соединений.
8. Фиксаторы Ф1-Ф3, предназначенные для соединения арматурных цилиндрических каркасов между собой, следует устанавливать по периметру каркасов через два шага продольных стержней, а по длине:
в 6 рядов - для труб полезной длиной 4,5 и 5 м;
в 5 рядов » » » » 3,5 м;
в 4 ряда » » » » 3 м.
Допускается применение других фиксаторов, обеспечивающих взаимную фиксацию каркасов без увеличения расхода стали.
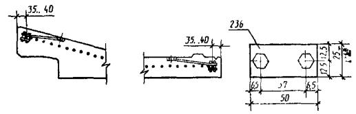
9. По требованию потребителя в трубах устанавливают два закладных изделия марки М1, предназначенных для защиты трубопроводов от электрокоррозии.
Конструкция закладного изделия и его положение в трубе приведены на черт. 38. При этом закладные изделия должны располагаться по одной образующей наружной поверхности трубы, а в трубах с подошвой эта образующая должна быть в верхней части трубы.
Спецификация и расход стали на одно закладное изделие M1 приведены в табл. 19. При изготовлении труб с этими закладными изделиями общий расход стали на одну трубу, указанный в табл. 13, должен быть увеличен на 0,3 кг.
10. На наружной и внутренней поверхностях труб Dy 2000 и 2400 мм без подошвы (см. п. 1 приложения 1) вдоль образующих цилиндрической части труб, проходящих посередине зон установки каркасов поперечного армирования, должны быть нанесены несмываемой краской фиксирующие полосы с надписями «лоток» и на диаметрально противоположной стороне - «шелыга».
АРМИРОВАНИЕ ТРУБ ТИПА Т
Dy = 400 - 1000 мм

Dy = 1200 - 1600 мм

АРМИРОВАНИЕ ТРУБ ТИПА ТБ
Dy = 400 - 1000 мм

Dy = 1200 - 1600 мм

АРМИРОВАНИЕ ТРУБ ТИПА ТС
Dy = 400- 1000 мм

Dy = 1200 - 1600 мм

АРМИРОВАНИЕ ТРУБ ТИПА ТП
Dy = 1000 мм

Dy = 1200 - 1600 мм

Dy = 2000 - 2400 мм

АРМИРОВАНИЕ ТРУБ ТИПА ТБП
Dy = 1000 мм

Dy = 1200 - 1600 мм

АРМИРОВАНИЕ ТРУБ ТИПА ТСП
Dy = 1000 мм

Dy = 1200 - 1600 мм

АРМИРОВАНИЕ ТРУБ ТИПА ТФП
Dy = 1000 мм

Dy = 1200 - 1600 мм

Dy = 2000 - 2400 мм


Вариант армирования труб типов ТС и ТСП

Спецификация арматурных изделий и расход стали (кг) на одну трубу Dy до 1000 мм включ.
|
Марка трубы |
Каркас |
Изделия арматурные |
|||||||||
|
Марка |
Количество |
Арматура класса |
Всего |
||||||||
|
A-III |
А-I |
Bp-I |
|||||||||
|
Æ6 |
Æ8 |
Итого |
Æ6 |
Итого |
Æ4 |
Æ5 |
Итого |
||||
|
Т40.50-2 |
КП1 |
1 |
- |
- |
- |
10,2 |
10,2 |
9,8 |
- |
9,8 |
20,0 |
|
Т40.50-3 |
КП2 |
1 |
- |
- |
- |
10,2 |
10,2 |
- |
15,4 |
15,4 |
25,6 |
|
Т50.50-2 |
КП3 |
1 |
- |
- |
- |
10,3 |
10,3 |
- |
17,0 |
17,0 |
27,3 |
|
Т50.50-3 |
КП4 |
1 |
- |
- |
- |
10,3 |
10,3 |
- |
22,0 |
22,0 |
32,3 |
|
Т60.50-2 |
КП5 |
1 |
- |
- |
- |
12,5 |
12,5 |
- |
24,2 |
24,2 |
36,7 |
|
Т60.50-3 |
КП6 |
1 |
- |
- |
- |
12,5 |
12,5 |
- |
30,7 |
30,7 |
43,2 |
|
Т80.50-2 |
КП7 |
1 |
53,7 |
- |
53,7 |
14,9 |
14,9 |
- |
- |
- |
68,6 |
|
Т80.50-3 |
КП8 |
1 |
69,8 |
- |
69,8 |
14,9 |
14,9 |
- |
- |
- |
84,7 |
|
Т100.50-2 |
КП9 |
1 |
66,8 |
- |
66,8 |
21,8 |
21,8 |
- |
- |
- |
88,6 |
|
T100.50-3 |
КП10 |
1 |
- |
103,8 |
103,8 |
21,8 |
21,8 |
- |
- |
- |
125,6 |
|
ТБ40.50-2 |
КП59 |
1 |
- |
- |
- |
10,3 |
10,3 |
9,6 |
- |
9,6 |
19,9 |
|
ТБ40.50-3 |
КП60 |
1 |
- |
- |
- |
10,3 |
10,3 |
- |
15,1 |
15,1 |
25,4 |
|
ТБ50.50-2 |
КП63 |
1 |
- |
- |
- |
10,3 |
10,3 |
- |
16,6 |
16,6 |
26,9 |
|
ТБ50.50-3 |
КП64 |
1 |
- |
- |
- |
10,3 |
10,3 |
- |
22,0 |
22,0 |
32,3 |
|
ТБ60.50-2 |
КП67 |
1 |
- |
- |
- |
12,6 |
12,6 |
- |
24,0 |
24,0 |
36,6 |
|
TБ60.50-3 |
КП68 |
1 |
- |
- |
- |
12,6 |
12,6 |
- |
31,0 |
31,0 |
43,6 |
|
ТБ80.50-2 |
КП71 |
1 |
53,4 |
- |
53,4 |
14,9 |
14,9 |
- |
- |
- |
68,3 |
|
ТБ80.50-3 |
КП72 |
1 |
70,7 |
- |
70,7 |
14,9 |
14,9 |
- |
- |
- |
85,6 |
|
ТБ100.50-2 |
КП75 |
1 |
66,4 |
- |
66,4 |
21,8 |
21,8 |
- |
- |
- |
88,2 |
|
ТБ100.50-3 |
КП76 |
1 |
- |
101,9 |
101,9 |
21,8 |
21,8 |
- |
- |
- |
123,7 |
|
TC40.25-2 |
КП57 |
1 |
- |
- |
- |
5,3 |
5,3 |
5,1 |
- |
5,1 |
10,4 |
|
TC40.25-3 |
КП58 |
1 |
- |
- |
- |
5,3 |
5,3 |
- |
8,0 |
8,0 |
13,3 |
|
TC40.50-2 |
КП59 |
1 |
- |
- |
- |
10,3 |
10,3 |
9,6 |
- |
9,6 |
19,9 |
|
TC40.50-3 |
КП60 |
1 |
- |
- |
- |
10,3 |
10,3 |
- |
15,1 |
15,1 |
25,4 |
|
TC50.25-2 |
КП61 |
1 |
- |
- |
- |
5,3 |
5,3 |
- |
8,9 |
8,9 |
14,2 |
|
TC50.25-3 |
КП62 |
1 |
- |
- |
- |
5,3 |
5,3 |
- |
11,6 |
11,6 |
16,9 |
|
TC50.50-2 |
КП63 |
1 |
- |
- |
- |
10,3 |
10,3 |
- |
16,6 |
16,6 |
26,9 |
|
TC50.50-3 |
КП64 |
1 |
- |
- |
- |
10,3 |
10,3 |
- |
22,0 |
22,0 |
32,3 |
|
TC60.25-2 |
КП65 |
1 |
- |
- |
- |
6,5 |
6,5 |
- |
12,6 |
12,6 |
19,1 |
|
TC60.25-3 |
КП66 |
1 |
- |
- |
- |
6,5 |
6,5 |
- |
16,2 |
16,2 |
22,7 |
|
TC60.50-2 |
КП67 |
1 |
- |
- |
- |
12,6 |
12,6 |
- |
24,0 |
24,0 |
36,6 |
|
TC60.50-3 |
КП68 |
1 |
- |
- |
- |
12,6 |
12,6 |
- |
31,0 |
31,0 |
43,6 |
|
TC80.35-2 |
КП69 |
1 |
38,2 |
- |
38,2 |
10,6 |
10,6 |
- |
- |
- |
48,8 |
|
TC80.35-3 |
КП70 |
1 |
50,5 |
- |
50,5 |
10,6 |
10,6 |
- |
- |
- |
61,1 |
|
TC80.50-2 |
КП71 |
1 |
53,4 |
- |
53,4 |
14,9 |
14,9 |
- |
- |
- |
68,3 |
|
TC80.50-3 |
КП72 |
1 |
70,7 |
- |
70,7 |
14,9 |
14,9 |
- |
- |
- |
85,6 |
|
TC100.35-2 |
КП73 |
1 |
47,7 |
- |
47,7 |
15,5 |
15,5 |
- |
- |
- |
63,2 |
|
TC100.35-3 |
КП74 |
1 |
- |
73,3 |
73,3 |
15,5 |
15,5 |
- |
- |
- |
88,8 |
|
TC100.50-2 |
КП77 |
1 |
66,6 |
- |
66,6 |
21,8 |
21,8 |
- |
- |
- |
88,4 |
|
TC100.50-3 |
КП78 |
1 |
- |
102,1 |
102,1 |
21,8 |
21,8 |
- |
- |
- |
123,9 |
|
ТП100.50-2 |
КП9 |
1 |
66,8 |
- |
66,8 |
21,8 |
21,8 |
- |
- |
- |
88,6 |
|
ТП100.50-3 |
КП10 |
1 |
- |
103,8 |
103,8 |
21,8 |
21,8 |
- |
- |
- |
125,6 |
|
ТБП100.50-2 |
КП24 |
1 |
67,4 |
- |
67,4 |
22,0 |
22,0 |
- |
- |
- |
89,4 |
|
ТБП100.50-3 |
КП25 |
1 |
- |
104,7 |
104,7 |
22,0 |
22,0 |
- |
- |
- |
126,7 |
|
ТСП100.35-2 |
КП35 |
1 |
48,6 |
- |
48,6 |
15,7 |
15,7 |
- |
- |
- |
64,3 |
|
ТСП100.35-3 |
КП36 |
1 |
- |
76,1 |
76,1 |
15,7 |
15,7 |
- |
- |
- |
91,8 |
|
ТСП100.50-2 |
КП37 |
1 |
67,5 |
- |
67,5 |
22,0 |
22,0 |
- |
- |
- |
89,6 |
|
ТСП100.50-3 |
КП38 |
1 |
- |
104,9 |
104,9 |
22,0 |
22,0 |
- |
- |
- |
126,9 |
|
ТФП100.50-2 |
КП146 |
1 |
63,2 |
- |
63,2 |
21,0 |
21,0 |
- |
- |
- |
84,2 |
|
ТФП100.50-3 |
КП147 |
1 |
- |
96,9 |
96,9 |
21,0 |
21,0 |
- |
- |
- |
117,9 |
Спецификация арматурных изделий и расход стали (кг) на одну трубу D, 1200 мм и более
|
Марка трубы |
Основной каркас |
Каркас |
Фиксатор |
Изделия арматурные |
|||||||||||||||
|
наружный |
внутренний |
втулочной части |
поперечного армирования |
Арматура класса |
Всего |
||||||||||||||
|
Марка |
Количество |
Марка |
Количество |
А-III |
A-I |
Вр-I |
|||||||||||||
|
Марка |
Количество |
Марка |
Количество |
Марка |
Количество |
||||||||||||||
|
Æ6 |
Æ8 |
Итого |
Æ6 |
Æ8 |
Итого |
Æ8 |
Итого |
||||||||||||
|
Т120.50-1 |
КП11 |
1 |
КП127 |
1 |
- |
- |
- |
- |
Ф1 |
60 |
87,0 |
- |
87,0 |
42,9 |
- |
42,9 |
2,4 |
2,4 |
132,3 |
|
Т120.50-2 |
КП12 |
1 |
КП128 |
1 |
- |
- |
- |
- |
Ф1 |
60 |
- |
144,1 |
144,1 |
42,9 |
- |
42,9 |
2,4 |
2,4 |
189,4 |
|
Т120.50-3 |
КП13 |
1 |
КП129 |
1 |
- |
- |
- |
- |
Ф1 |
60 |
- |
228,4 |
228,4 |
42,9 |
- |
42,9 |
2,4 |
2,4 |
273,7 |
|
Т140.50-1 |
КП14 |
1 |
КП133 |
1 |
- |
- |
- |
- |
Ф1 |
72 |
139,5 |
- |
139,5 |
51,9 |
- |
51,9 |
2,9 |
2,9 |
194,3 |
|
Т140.50-2 |
КП15 |
1 |
КП134 |
1 |
- |
- |
- |
- |
Ф1 |
72 |
- |
223,4 |
223,4 |
51,9 |
- |
51,9 |
2,9 |
2,9 |
278,2 |
|
T140.50-3 |
КП16 |
1 |
КП135 |
1 |
- |
- |
- |
- |
Ф1 |
72 |
- |
324,5 |
324,5 |
51,9 |
- |
51,9 |
2,9 |
2,9 |
379,3 |
|
T160.50-1 |
КП17 |
1 |
КП139 |
1 |
- |
- |
- |
- |
Ф2 |
78 |
192,1 |
- |
192,1 |
56,4 |
- |
56,4 |
3,1 |
3,1 |
251,6 |
|
T160.50-2 |
КП18 |
1 |
КП140 |
1 |
- |
- |
- |
- |
Ф2 |
78 |
- |
282,7 |
282,7 |
56,4 |
- |
56,4 |
3,1 |
3,1 |
342,2 |
|
T160.50-3 |
КП19 |
1 |
KП141 |
1 |
- |
- |
- |
- |
Ф2 |
78 |
- |
437,8 |
437,8 |
56,4 |
- |
56,4 |
3,1 |
3,1 |
497,3 |
|
ТБ120.50-1 |
КП82 |
1 |
КП109 |
1 |
- |
- |
- |
- |
Ф1 |
60 |
86,5 |
- |
86,5 |
43,6 |
- |
43,6 |
2,4 |
2,4 |
132,5 |
|
ТБ120.50-2 |
KII83 |
1 |
КП110 |
1 |
- |
- |
- |
- |
Ф1 |
60 |
- |
142,4 |
142,4 |
43,6 |
- |
43,6 |
2,4 |
2,4 |
188,4 |
|
ТБ120.50-3 |
КП84 |
1 |
KП111 |
1 |
- |
- |
- |
- |
Ф1 |
60 |
- |
232,4 |
232,4 |
43,6 |
- |
43,6 |
2,4 |
2,4 |
278,4 |
|
ТБ140.50-1 |
КП91 |
1 |
КП115 |
1 |
- |
- |
- |
- |
Ф1 |
72 |
141,3 |
- |
141,3 |
53,0 |
- |
53,0 |
2,9 |
2,9 |
197,2 |
|
ТБ140.50-2 |
КП92 |
1 |
КП116 |
1 |
- |
- |
- |
- |
Ф1 |
72 |
- |
224,6 |
224,6 |
53,0 |
- |
53,0 |
2,9 |
2,9 |
280,5 |
|
ТБ140.50-3 |
КП93 |
1 |
КП117 |
1 |
- |
- |
- |
- |
Ф1 |
72 |
- |
332,7 |
332,7 |
53,0 |
- |
53,0 |
2,9 |
2,9 |
388,6 |
|
ТБ160.50-1 |
кп100 |
1 |
КП121 |
1 |
- |
- |
- |
- |
Ф2 |
78 |
195,6 |
- |
195,6 |
57,6 |
- |
57,6 |
3,1 |
3,1 |
256,3 |
|
TБ160.50-2 |
КП101 |
1 |
КП122 |
1 |
- |
- |
- |
- |
Ф2 |
78 |
- |
286,2 |
286,2 |
57,6 |
- |
57,6 |
3,1 |
3,1 |
346,9 |
|
ТБ160.50-3 |
КП102 |
1 |
КП123 |
1 |
- |
- |
- |
- |
ф2 |
78 |
- |
452,4 |
452,4 |
57,6 |
- |
57,6 |
3,1 |
3,1 |
513,1 |
|
ТС120.35-1 |
КП79 |
1 |
КП106 |
1 |
К1 |
1 |
- |
- |
Ф1 |
50 |
61,7 |
8,8 |
70,5 |
32,0 |
- |
32,0 |
2,0 |
2,0 |
104,5 |
|
ТС120.35-2 |
КП80 |
1 |
KП107 |
1 |
К1 |
1 |
- |
- |
Ф1 |
50 |
- |
110,7 |
110,7 |
32,0 |
- |
32,0 |
2,0 |
2,0 |
144,7 |
|
ТС120.35-3 |
КП81 |
1 |
КП108 |
1 |
К1 |
1 |
- |
- |
Ф1 |
50 |
- |
173,5 |
173,5 |
32,0 |
- |
32,0 |
2,0 |
2,0 |
207,5 |
|
ТС120.50-1 |
КП85 |
1 |
КП109 |
1 |
К1 |
1 |
- |
- |
Ф1 |
60 |
85,7 |
8,8 |
94,5 |
44,6 |
- |
44,6 |
2,4 |
2,4 |
141,5 |
|
ТС120.50-2 |
КП86 |
1 |
КП110 |
1 |
К1 |
1 |
- |
- |
Ф1 |
60 |
- |
149,8 |
149,8 |
44,6 |
- |
44,6 |
2,4 |
2,4 |
196,8 |
|
ТС120.50-3 |
КП87 |
1 |
КП111 |
1 |
К1 |
1 |
- |
- |
Ф1 |
60 |
- |
239,1 |
239,1 |
44,6 |
- |
44,6 |
2,4 |
2,4 |
286,1 |
|
ТС140.35-1 |
КП88 |
1 |
КП112 |
1 |
К2 |
1 |
- |
- |
Ф1 |
60 |
100,3 |
10,0 |
110,3 |
38,8 |
- |
38,8 |
2,4 |
2,4 |
151,5 |
|
ТС140.35-2 |
КП89 |
1 |
КП113 |
1 |
К2 |
1 |
- |
- |
Ф1 |
60 |
- |
169,7 |
169,7 |
38,8 |
- |
38,8 |
2,4 |
2,4 |
210,9 |
|
ТС140.35-3 |
КП90 |
1 |
КП114 |
1 |
К2 |
1 |
- |
- |
Ф1 |
60 |
- |
245,3 |
245,3 |
38,8 |
- |
38,8 |
2,4 |
2,4 |
286,5 |
|
TС140.50-1 |
КП94 |
1 |
КП115 |
1 |
К2 |
1 |
- |
- |
Ф1 |
72 |
140,8 |
10,0 |
150,8 |
54,1 |
- |
54,1 |
2,9 |
2,9 |
207,8 |
|
ТС140.50-2 |
КП95 |
1 |
КП116 |
1 |
К2 |
1 |
- |
- |
Ф1 |
72 |
- |
232,4 |
232,4 |
54,1 |
- |
54,1 |
2,9 |
2,9 |
289,4 |
|
ТС140.50-3 |
КП96 |
1 |
КП117 |
1 |
К2 |
1 |
- |
- |
Ф1 |
72 |
- |
339,5 |
339,5 |
54,1 |
- |
54,1 |
2,9 |
2,9 |
396,5 |
|
ТС160.35-1 |
КП97 |
1 |
КП118 |
1 |
К3 |
1 |
- |
- |
Ф3 |
65 |
139,1 |
11,4 |
150,5 |
42,3 |
- |
42,3 |
2,6 |
2,6 |
195,4 |
|
TC160.35-2 |
КП98 |
1 |
КП119 |
1 |
К3 |
1 |
- |
- |
Ф2 |
65 |
- |
214,4 |
214,4 |
42,3 |
- |
42,3 |
2,6 |
2,6 |
259,3 |
|
ТС160.35-3 |
КП99 |
1 |
КП120 |
1 |
К3 |
1 |
- |
- |
Ф2 |
65 |
- |
330,6 |
330,6 |
42,3 |
- |
42,3 |
2,6 |
2,6 |
375,5 |
|
ТС160.50-1 |
КП103 |
1 |
КП121 |
1 |
К3 |
1 |
- |
- |
Ф2 |
78 |
196,1 |
11,4 |
207,5 |
58,9 |
- |
58,9 |
3,1 |
3,1 |
269,5 |
|
TC160-50-2 |
КП104 |
1 |
КП122 |
1 |
К3 |
1 |
- |
- |
Ф2 |
78 |
- |
294,8 |
294,8 |
58,9 |
- |
58,9 |
3,1 |
3,1 |
356,8 |
|
ТС160.50-3 |
КП105 |
1 |
КП123 |
1 |
К3 |
1 |
- |
- |
Ф2 |
78 |
- |
459,2 |
459,2 |
58,9 |
- |
58,9 |
3,1 |
3,1 |
521,2 |
|
ТП120.50-1 |
КП11 |
1 |
КП127 |
1 |
- |
- |
- |
- |
Ф1 |
60 |
87,0 |
- |
87,0 |
42,9 |
- |
42,9 |
2,4 |
2,4 |
132,3 |
|
ТП120.50-2 |
КП12 |
1 |
КП128 |
1 |
- |
- |
- |
- |
Ф1 |
60 |
- |
144,1 |
144,1 |
42,9 |
- |
42,9 |
2,4 |
2,4 |
189,4 |
|
ТП120.50-3 |
КП13 |
1 |
КП129 |
1 |
- |
- |
- |
- |
Ф1 |
60 |
- |
228,4 |
228,4 |
42,9 |
- |
42,9 |
2,4 |
2,4 |
273,4 |
|
ТП140.50-1 |
КП14 |
1 |
KП133 |
1 |
- |
- |
- |
- |
Ф1 |
72 |
139,5 |
- |
139,5 |
51,9 |
- |
51,9 |
2,9 |
2,9 |
194,3 |
|
ТП140.50-2 |
КП15 |
1 |
КП134 |
1 |
- |
- |
- |
- |
Ф1 |
72 |
- |
223,4 |
223,4 |
51,9 |
- |
51,9 |
2,9 |
2,9 |
278,2 |
|
ТП140.50-3 |
кп16 |
1 |
КП135 |
1 |
- |
- |
- |
- |
Ф1 |
72 |
- |
324,5 |
324,5 |
51,9 |
- |
51,9 |
2,9 |
2,9 |
379,3 |
|
ТП160.50-1 |
КП17 |
1 |
КП139 |
1 |
- |
- |
- |
- |
Ф2 |
78 |
192,1 |
- |
192,1 |
56,4 |
- |
56,4 |
3,1 |
3,1 |
251,6 |
|
ТП160.50-2 |
КП18 |
1 |
КП140 |
1 |
- |
- |
- |
- |
Ф2 |
78 |
- |
282,7 |
282,7 |
56,4 |
- |
56,4 |
3,1 |
3,1 |
342,2 |
|
ТП160.50-3 |
КП19 |
1 |
КП141 |
1 |
- |
- |
- |
- |
Ф2 |
78 |
- |
437,8 |
437,8 |
56,4 |
- |
56,4 |
3,1 |
3,1 |
497,3 |
|
ТП200.45-1 |
КП20 |
1 |
КП142 |
1 |
- |
- |
К4 |
40 |
Ф2 |
96 |
- |
336,3 |
336,3 |
72,8 |
38,0 |
110,8 |
3,8 |
3,8 |
450,9 |
|
ТП200.45-2 |
КП21 |
1 |
КП143 |
1 |
- |
- |
К4 |
40 |
Ф2 |
96 |
- |
447,9 |
447,9 |
72,8 |
38,0 |
110,8 |
3,8 |
3,8 |
562,5 |
|
ТП240.30-1 |
КП22 |
1 |
КП144 |
1 |
- |
- |
К5 |
28 |
Ф3 |
76 |
- |
363,3 |
363,3 |
57,7 |
31,6 |
89,3 |
3,8 |
3,8 |
456,4 |
|
ТП240.30-2 |
КП23 |
1 |
КП145 |
1 |
- |
- |
К5 |
28 |
Ф3 |
76 |
- |
453,9 |
453,9 |
57,7 |
31,6 |
89,3 |
3,8 |
3,8 |
547,0 |
|
ТБП120.50-1 |
КП26 |
1 |
КП127 |
1 |
- |
- |
- |
- |
Ф1 |
60 |
88,0 |
- |
88,0 |
43,1 |
- |
43,1 |
2,4 |
2,4 |
133,5 |
|
ТБП120.50-2 |
КП27 |
1 |
КП128 |
1 |
- |
- |
- |
- |
Ф1 |
60 |
- |
145,8 |
145,8 |
43,1 |
- |
43,1 |
2,4 |
2,4 |
191,3 |
|
ТБП120.50-3 |
КП28 |
1 |
КП129 |
1 |
- |
- |
- |
- |
Ф1 |
60 |
- |
230,7 |
230,7 |
43,1 |
- |
43,1 |
2,4 |
2,4 |
276,2 |
|
ТБП140.50-1 |
КП29 |
1 |
КП133 |
1 |
- |
- |
- |
- |
Ф1 |
72 |
141,0 |
- |
141,0 |
52,2 |
- |
52,2 |
2,9 |
2,9 |
196,1 |
|
ТБП140.50-2 |
KП30 |
1 |
КП134 |
1 |
- |
- |
- |
- |
Ф1 |
72 |
- |
224,8 |
224,8 |
52,2 |
- |
52,2 |
2,9 |
2,9 |
279,9 |
|
ТБП140.50-3 |
КП31 |
1 |
КП135 |
1 |
- |
- |
- |
- |
Ф1 |
72 |
- |
326,7 |
326,7 |
52,2 |
- |
52,2 |
2,9 |
2,9 |
381,8 |
|
ТБП160.50-1 |
КП32 |
1 |
КП139 |
1 |
- |
- |
- |
- |
ф2 |
78 |
193,7 |
- |
193,7 |
56,8 |
- |
56,8 |
3,1 |
3,1 |
253,6 |
|
ТБП160.50-2 |
кп33 |
1 |
КП140 |
1 |
- |
- |
- |
- |
Ф2 |
78 |
- |
284,9 |
293,9 |
56,8 |
- |
56,8 |
3,1 |
3,1 |
344,8 |
|
ТБП160.50-3 |
КП34 |
1 |
КП141 |
1 |
- |
- |
- |
- |
Ф2 |
78 |
- |
441,5 |
441,5 |
56,8 |
- |
56,8 |
3,1 |
3,1 |
501,4 |
|
ТСП120.35-1 |
КП39 |
1 |
КП124 |
1 |
К1 |
1 |
- |
- |
Ф1 |
50 |
63,4 |
8,8 |
72,2 |
31,4 |
- |
31,4 |
2,0 |
2,0 |
105,6 |
|
ТСП120.35-2 |
КП40 |
1 |
КП125 |
1 |
К1 |
1 |
- |
- |
Ф1 |
50 |
- |
114,1 |
114,1 |
31,4 |
- |
31,4 |
2,0 |
2,0 |
147,5 |
|
ТСП120.35-3 |
KП41 |
1 |
КП126 |
1 |
К1 |
1 |
- |
- |
Ф1 |
50 |
- |
171,9 |
171,9 |
31,4 |
- |
31,4 |
2,0 |
2,0 |
205,3 |
|
ТСП120.50-1 |
КП42 |
1 |
КП127 |
1 |
К1 |
1 |
- |
- |
Ф1 |
60 |
87,2 |
8,8 |
96,0 |
44,1 |
- |
44,1 |
2,4 |
2,4 |
142,5 |
|
ТСП120.50-2 |
КП43 |
1 |
КП128 |
1 |
К1 |
1 |
- |
- |
Ф1 |
60 |
- |
153,3 |
153,3 |
44,1 |
- |
44,1 |
2,4 |
2,4 |
199,8 |
|
ТСП120.50-3 |
КП44 |
1 |
КП129 |
1 |
К1 |
1 |
- |
- |
Ф1 |
60 |
- |
237,4 |
237,4 |
44,1 |
- |
44,1 |
2,4 |
2,4 |
283,9 |
|
ТСП140.35-1 |
КП45 |
1 |
КП130 |
1 |
K2 |
1 |
- |
- |
Ф1 |
60 |
99,6 |
10,0 |
109,6 |
38,0 |
- |
38,0 |
2,4 |
2,4 |
150,0 |
|
ТСП140.35-2 |
KП46 |
1 |
KII131 |
1 |
K2 |
1 |
- |
- |
Ф1 |
60 |
- |
170,0 |
170,0 |
38,0 |
- |
38,0 |
2,4 |
2,4 |
210,4 |
|
ТСП140.35-3 |
КП47 |
1 |
КП132 |
1 |
К2 |
1 |
- |
|
Ф1 |
60 |
- |
239,6 |
239,6 |
38,0 |
- |
38,0 |
2,4 |
2,4 |
280,0 |
|
ТСП140.50-1 |
КП48 |
1 |
КП133 |
1 |
K2 |
1 |
- |
- |
Ф1 |
72 |
139,2 |
10,0 |
149,2 |
53,3 |
- |
53,3 |
2,9 |
2,9 |
205,4 |
|
ТСП140.50-2 |
КП49 |
1 |
КП134 |
1 |
K2 |
1 |
- |
- |
Ф1 |
72 |
- |
232,9 |
232,9 |
53,3 |
- |
53,3 |
2,9 |
2,9 |
289,1 |
|
ТСП140.50-3 |
КП50 |
1 |
КП135 |
1 |
К3 |
1 |
- |
- |
Ф1 |
72 |
- |
333,8 |
333,8 |
53,3 |
- |
53,3 |
2,9 |
2,9 |
390,0 |
|
ТСП160.35-1 |
КП51 |
1 |
КП136 |
1 |
К3 |
1 |
- |
- |
Ф2 |
65 |
136,3 |
11,4 |
147,7 |
41,4 |
- |
41,4 |
2,6 |
2,6 |
191,7 |
|
ТСП160.35-2 |
КП52 |
1 |
КП137 |
1 |
К3 |
1 |
- |
- |
Ф2 |
65 |
- |
213,1 |
213,1 |
41,4 |
- |
41,4 |
2,6 |
2,6 |
257,1 |
|
ТСП160.35-3 |
КП53 |
1 |
КП138 |
1 |
К3 |
1 |
- |
- |
Ф2 |
65 |
- |
319,9 |
319,9 |
41,4 |
- |
41,4 |
2,6 |
2,6 |
363,9 |
|
ТСП160.50-1 |
КП54 |
1 |
КП139 |
1 |
К3 |
1 |
- |
- |
Ф2 |
78 |
191,8 |
11,4 |
203,2 |
58,0 |
- |
58,0 |
3,1 |
3,1 |
264,3 |
|
ТСП160.50-2 |
КП55 |
1 |
КП140 |
1 |
К3 |
1 |
- |
- |
Ф2 |
78 |
- |
293,6 |
293,6 |
58,0 |
- |
58,0 |
3,1 |
3,1 |
354,7 |
|
ТСП160.50-3 |
KП56 |
1 |
КП141 |
1 |
К3 |
1 |
- |
- |
Ф2 |
78 |
- |
448,5 |
448,5 |
58,0 |
- |
58,0 |
3,1 |
3,1 |
509,6 |
|
ТФП120.50-1 |
КП148 |
1 |
КП161 |
1 |
- |
- |
- |
- |
Ф1 |
60 |
82,4 |
- |
82,4 |
42,1 |
- |
42,1 |
2,4 |
2,4 |
126,9 |
|
ТФП120.50-2 |
КП149 |
1 |
КП162 |
1 |
- |
- |
- |
- |
Ф1 |
60 |
- |
135,6 |
135,6 |
42,1 |
- |
42,1 |
2,4 |
2,4 |
180,1 |
|
ТФП120.50-3 |
КП150 |
1 |
КП163 |
1 |
- |
- |
- |
- |
Ф1 |
60 |
- |
221,5 |
221,5 |
42,1 |
- |
42,1 |
2,4 |
2,4 |
266,0 |
|
ТФП140.50-1 |
KП151 |
1 |
КП164 |
1 |
- |
- |
- |
- |
Ф1 |
72 |
134,6 |
- |
134,6 |
51,1 |
- |
51,1 |
2,9 |
2,9 |
188,6 |
|
ТФП140.50-2 |
КП152 |
1 |
КП165 |
1 |
- |
- |
- |
- |
Ф1 |
72 |
- |
214,0 |
214,0 |
51,1 |
- |
51,1 |
2,9 |
2,9 |
268,0 |
|
ТФП140.50-3 |
КП153 |
1 |
КП166 |
1 |
- |
- |
- |
- |
Ф1 |
72 |
- |
317,1 |
317,1 |
51,1 |
- |
51,1 |
2,9 |
2,9 |
371,1 |
|
ТФП160.50-1 |
КП154 |
1 |
КП167 |
1 |
- |
- |
- |
- |
Ф2 |
78 |
187,4 |
- |
187,4 |
55,5 |
- |
55,5 |
3,1 |
3,1 |
246,0 |
|
ТФП160.50-2 |
KП155 |
1 |
КП168 |
1 |
- |
- |
- |
- |
Ф2 |
78 |
- |
272,9 |
272,9 |
55,5 |
- |
55,5 |
3,1 |
3,1 |
331,5 |
|
ТФП160.50-3 |
КП156 |
1 |
КП169 |
1 |
- |
- |
- |
- |
Ф2 |
78 |
- |
431,4 |
431,4 |
55,5 |
- |
55,5 |
3,1 |
3,1 |
490,0 |
|
ТФП200.45-1 |
КП157 |
1 |
КП170 |
1 |
- |
- |
К4 |
40 |
Ф2 |
96 |
- |
324,8 |
324,8 |
71,5 |
38,0 |
109,5 |
3,8 |
3,8 |
438,1 |
|
ТФП200.45-2 |
КП158 |
1 |
КП171 |
1 |
- |
- |
К4 |
40 |
Ф2 |
96 |
- |
439,1 |
439,1 |
71,5 |
38,0 |
109,5 |
3,8 |
3,8 |
552,4 |
|
ТФП240.30-1 |
КП159 |
1 |
КП172 |
1 |
- |
- |
К5 |
28 |
Ф3 |
76 |
- |
351,5 |
351,5 |
55,9 |
31,6 |
87,5 |
3,8 |
3,8 |
442,8 |
|
ТФП240.30-2 |
КП160 |
1 |
КП173 |
1 |
- |
- |
К5 |
28 |
Ф3 |
76 |
- |
446,2 |
446,2 |
55,9 |
31,6 |
87,5 |
3,8 |
3,8 |
537,5 |
Каркасы КП1-КП23

Каркасы КП24-КП56

Каркасы КП57-КП78

Каркасы КП79-КП105

Каркасы КП106-КП123

Каркасы КП124-КП145

Каркасы КП146-КП173

Размеры арматурных каркасов КП1-КП173
Размеры, мм
|
Марка каркаса |
d1 |
d2 |
d3 |
d4 |
m |
b |
b1 |
b2 |
l |
Число шагов спиральной арматуры |
a |
||
|
п |
n1 |
||||||||||||
|
КП1 |
430 |
440 |
580 |
590 |
70 |
90 |
15 |
50 |
5095 |
2 |
69 |
40° |
|
|
КП2 |
441 |
591 |
|||||||||||
|
КП3 |
540 |
551 |
710 |
721 |
80 |
100 |
35 |
75 |
60 |
||||
|
КП4 |
60 |
65 |
80 |
||||||||||
|
КП5 |
640 |
651 |
810 |
821 |
65 |
95 |
30 |
63 |
74 |
32°44¢ |
|||
|
КП6 |
50 |
40 |
65 |
96 |
|||||||||
|
КП7 |
858 |
870 |
1068 |
1080 |
60 |
120 |
40 |
70 |
5105 |
3 |
79 |
27°42¢ |
|
|
КП8 |
45 |
10 |
33 |
106 |
|||||||||
|
КП9 |
1068 |
1080 |
1318 |
1330 |
60 |
135 |
25 |
55 |
79 |
24° |
|||
|
КП10 |
1082 |
1332 |
70 |
75 |
110 |
67 |
|||||||
|
КП11 |
1358 |
1370 |
1628 |
1640 |
115 |
155 |
30 |
88 |
41 |
l8°57¢ |
|||
|
КП12 |
1372 |
1642 |
125 |
120 |
183 |
37 |
|||||||
|
КП13 |
75 |
20 |
57 |
63 |
|||||||||
|
КП14 |
1558 |
1570 |
1828 |
1840 |
80 |
155 |
25 |
65 |
59 |
15°39¢ |
|
||
|
КП15 |
1572 |
1842 |
90 |
65 |
110 |
52 |
|
||||||
|
КП16 |
60 |
|
95 |
78 |
|
||||||||
|
КП17 |
1778 |
1790 |
2068 |
2080 |
65 |
165 |
55 |
88 |
72 |
14°24¢ |
|
||
|
КП18 |
1792 |
2082 |
80 |
15 |
55 |
59 |
|
||||||
|
КП19 |
50 |
35 |
60 |
94 |
|
||||||||
|
КП20 |
2194 |
2208 |
2514 |
2528 |
75 |
185 |
35 |
73 |
4625 |
56 |
11°37¢ |
|
|
|
КП21 |
55 |
- |
28 |
77 |
|
||||||||
|
КП22 |
2634 |
2648 |
2994 |
3008 |
55 |
190 |
- |
28 |
3135 |
4 |
49 |
9°44¢ |
|
|
КП23 |
43 |
29 |
51 |
62 |
|
||||||||
|
КП24 |
1068 |
1080 |
1298 |
1310 |
60 |
135 |
15 |
45 |
5155 |
3 |
80 |
24° |
|
|
КП25 |
1082 |
1312 |
70 |
55 |
90 |
68 |
|
||||||
|
КП26 |
1358 |
1370 |
1608 |
1620 |
115 |
145 |
100 |
158 |
5165 |
41 |
18°57¢ |
|
|
|
КП27 |
1372 |
1622 |
125 |
65 |
128 |
38 |
|
||||||
|
кп28 |
75 |
15 |
53 |
64 |
|
||||||||
|
КП29 |
1558 |
1570 |
1814 |
1826 |
80 |
150 |
15 |
55 |
5170 |
60 |
15°39¢ |
|
|
|
кп30 |
1572 |
1828 |
90 |
45 |
90 |
53 |
|
||||||
|
КП31 |
60 |
15 |
45 |
80 |
|
||||||||
|
КП32 |
1778 |
1790 |
2054 |
2066 |
65 |
155 |
10 |
43 |
5180 |
74 |
14°24¢ |
|
|
|
КП33 |
1792 |
2068 |
80 |
20 |
60 |
60 |
|
||||||
|
КП34 |
50 |
45 |
96 |
|
|||||||||
|
КП35 |
1068 |
1080 |
1298 |
1310 |
60 |
135 |
25 |
55 |
3665 |
55 |
24° |
|
|
|
КП36 |
1082 |
1312 |
70 |
35 |
70 |
47 |
|
||||||
|
КП37 |
1080 |
1310 |
60 |
25 |
55 |
5165 |
80 |
|
|||||
|
кп38 |
1082 |
1312 |
70 |
65 |
100 |
68 |
|
||||||
|
КП39 |
1358 |
1370 |
1608 |
1620 |
115 |
145 |
- |
58 |
3570 |
28 |
18°57¢ |
|
|
|
КП40 |
1372 |
1622 |
125 |
95 |
158 |
25 |
|
||||||
|
КП41 |
75 |
70 |
108 |
42 |
|
||||||||
|
КП42 |
1370 |
1620 |
115 |
120 |
178 |
5070 |
40 |
|
|||||
|
КП43 |
1372 |
1622 |
125 |
95 |
158 |
37 |
|
||||||
|
КП44 |
75 |
70 |
108 |
62 |
|
||||||||
|
КП45 |
1558 |
1570 |
1814 |
1826 |
80 |
150 |
25 |
65 |
3580 |
40 |
15°39¢ |
|
|
|
КП46 |
1572 |
1828 |
90 |
75 |
120 |
35 |
|
||||||
|
КП47 |
60 |
45 |
75 |
53 |
|
||||||||
|
КП48 |
1570 |
1826 |
80 |
85 |
125 |
5080 |
58 |
|
|||||
|
КП49 |
1572 |
1828 |
90 |
45 |
90 |
52 |
|
||||||
|
КП50 |
60 |
75 |
78 |
|
|||||||||
|
КП51 |
1778 |
1790 |
2054 |
2066 |
65 |
155 |
35 |
88 |
3580 |
49 |
14°24¢ |
|
|
|
КП52 |
1792 |
2068 |
80 |
20 |
60 |
40 |
|
||||||
|
КП53 |
50 |
45 |
64 |
|
|||||||||
|
КП54 |
1790 |
2066 |
65 |
40 |
73 |
5080 |
72 |
|
|||||
|
КП55 |
430 |
1792 |
622 |
2068 |
80 |
- |
40 |
59 |
|
||||
|
КП56 |
50 |
20 |
45 |
94 |
|
||||||||
|
КП57 |
440 |
614 |
70 |
- |
47 |
85 |
2637 |
- |
36 |
40° |
|
||
|
КП58 |
441 |
615 |
|
||||||||||
|
КП59 |
440 |
614 |
25 |
60 |
5135 |
72 |
|
||||||
|
КП60 |
441 |
615 |
|
||||||||||
|
КП61 |
540 |
551 |
762 |
755 |
80 |
20 |
2650 |
32 |
|
||||
|
КП62 |
60 |
- |
30 |
43 |
|
||||||||
|
КП63 |
80 |
40 |
80 |
5150 |
63 |
|
|||||||
|
КП64 |
60 |
70 |
84 |
|
|||||||||
|
КП65 |
640 |
651 |
862 |
855 |
65 |
45 |
78 |
2650 |
39 |
32°44¢ |
|
||
|
КП66 |
50 |
30 |
55 |
51 |
|
||||||||
|
KП67 |
65 |
10 |
43 |
5150 |
78 |
|
|||||||
|
КП68 |
50 |
30 |
55 |
101 |
|
||||||||
|
КП69 |
858 |
870 |
1108 |
1102 |
60 |
40 |
70 |
3650 |
59 |
27°42¢ |
|
||
|
КП70 |
45 |
25 |
48 |
79 |
|
||||||||
|
КП71 |
60 |
40 |
70 |
5150 |
84 |
|
|||||||
|
КП72 |
45 |
63 |
112 |
|
|||||||||
|
КП73 |
1068 |
1080 |
1374 |
1366 |
60 |
50 |
80 |
3660 |
59 |
24° |
|
||
|
КП74 |
1082 |
1368 |
70 |
20 |
55 |
51 |
|
||||||
|
КП75 |
1080 |
1366 |
60 |
40 |
70 |
5150 |
84 |
|
|||||
|
КП76 |
1082 |
1368 |
70 |
40 |
75 |
72 |
|
||||||
|
КП77 |
1080 |
1366 |
60 |
50 |
58 |
5160 |
84 |
|
|||||
|
КП78 |
1082 |
1368 |
70 |
85 |
72 |
|
|||||||
|
КП79 |
1358 |
1370 |
1686 |
1680 |
115 |
42 |
100 |
3562 |
30 |
18°57¢ |
|
||
|
КП80 |
1372 |
1682 |
125 |
117 |
180 |
27 |
|
||||||
|
КП81 |
75 |
42 |
80 |
46 |
|
||||||||
|
КП82 |
1370 |
1680 |
115 |
30 |
88 |
5160 |
44 |
|
|||||
|
КП83 |
1372 |
1682 |
125 |
90 |
153 |
40 |
|
||||||
|
КП84 |
75 |
65 |
103 |
67 |
|
||||||||
|
KII85 |
1370 |
1680 |
115 |
47 |
105 |
5062 |
43 |
|
|||||
|
КП86 |
1372 |
1682 |
125 |
117 |
180 |
39 |
|
||||||
|
КП87 |
75 |
42 |
80 |
66 |
|
||||||||
|
КП88 |
1558 |
1570 |
1883 |
1880 |
80 |
62 |
102 |
3567 |
43 |
15°39¢ |
|
||
|
КП89 |
1572 |
1882 |
90 |
82 |
127 |
38 |
|
||||||
|
КП90 |
60 |
22 |
52 |
58 |
|
||||||||
|
КП91 |
1570 |
1880 |
80 |
65 |
105 |
5165 |
63 |
|
|||||
|
КП92 |
1572 |
1882 |
90 |
110 |
56 |
|
|||||||
|
КП93 |
60 |
95 |
84 |
|
|||||||||
|
КП94 |
1570 |
2116 |
1880 |
80 |
42 |
82 |
5067 |
62 |
|
||||
|
КП95 |
1572 |
1882 |
90 |
52 |
97 |
55 |
|
||||||
|
КП96 |
60 |
22 |
52 |
83 |
|
||||||||
|
КП97 |
1778 |
1790 |
2110 |
65 |
57 |
90 |
3572 |
53 |
14°24¢ |
|
|||
|
КП98 |
1792 |
2112 |
80 |
62 |
102 |
43 |
|
||||||
|
КП99 |
50 |
52 |
77 |
69 |
|
||||||||
|
КП100 |
1790 |
2110 |
65 |
35 |
68 |
5175 |
78 |
|
|||||
|
КП101 |
1792 |
2112 |
80 |
65 |
105 |
63 |
|
||||||
|
КП102 |
50 |
55 |
80 |
101 |
|
||||||||
|
КП103 |
1790 |
2110 |
65 |
35 |
68 |
5072 |
78 |
|
|||||
|
КП104 |
1792 |
2112 |
80 |
42 |
82 |
62 |
|
||||||
|
КП105 |
50 |
52 |
77 |
99 |
|
||||||||
|
кп106 |
1250 |
1262 |
1578 |
1572 |
115 |
27 |
85 |
3662 |
31 |
18°57¢ |
|
||
|
КП107 |
1264 |
1574 |
125 |
92 |
155 |
28 |
|
||||||
|
кп108 |
75 |
67 |
105 |
47 |
|
||||||||
|
кП109 |
1262 |
1572 |
115 |
30 |
88 |
5160 |
44 |
|
|||||
|
кп110 |
1264 |
1574 |
125 |
90 |
153 |
40 |
|
||||||
|
КП111 |
75 |
65 |
103 |
67 |
|
||||||||
|
КП112 |
1450 |
1462 |
1778 |
1772 |
80 |
87 |
127 |
3672 |
44 |
15°39¢ |
|
||
|
КП113 |
1464 |
1774 |
90 |
97 |
142 |
39 |
|
||||||
|
КП114 |
60 |
67 |
97 |
59 |
|
||||||||
|
КП115 |
1462 |
1772 |
80 |
65 |
105 |
5165 |
63 |
|
|||||
|
КП116 |
1464 |
1774 |
90 |
110 |
56 |
|
|||||||
|
КП117 |
60 |
95 |
84 |
|
|||||||||
|
КП118 |
1650 |
1662 |
1988 |
1982 |
65 |
32 |
65 |
3677 |
55 |
14°24¢ |
|
||
|
КП119 |
1664 |
1984 |
80 |
87 |
127 |
44 |
|
||||||
|
КП120 |
50 |
57 |
82 |
71 |
|
||||||||
|
КП121 |
1662 |
1982 |
65 |
35 |
68 |
5175 |
78 |
|
|||||
|
КП122 |
1664 |
1984 |
80 |
65 |
105 |
63 |
|
||||||
|
КП123 |
50 |
55 |
80 |
101 |
|
||||||||
|
КП124 |
1250 |
1262 |
- |
- |
115 |
90 |
148 |
3495 |
29 |
18°57¢ |
|
||
|
КП125 |
1264 |
125 |
50 |
113 |
27 |
|
|||||||
|
КП126 |
75 |
88 |
45 |
|
|||||||||
|
КП127 |
1262 |
115 |
95 |
153 |
4995 |
42 |
|
||||||
|
КП128 |
1264 |
125 |
50 |
113 |
39 |
|
|||||||
|
КП129 |
75 |
88 |
65 |
|
|||||||||
|
КП130 |
1450 |
1462 |
80 |
65 |
105 |
3495 |
42 |
15°39¢ |
|
||||
|
КП131 |
1464 |
90 |
95 |
140 |
37 |
|
|||||||
|
КП132 |
60 |
65 |
95 |
56 |
|
||||||||
|
КП133 |
1462 |
80 |
45 |
85 |
4995 |
61 |
|
||||||
|
КП134 |
1464 |
- |
- |
90 |
- |
65 |
110 |
54 |
|
||||
|
КП135 |
60 |
95 |
81 |
|
|||||||||
|
КП136 |
1650 |
1662 |
65 |
45 |
78 |
3495 |
52 |
14°24¢ |
|
||||
|
КП137 |
1664 |
80 |
105 |
42 |
|
||||||||
|
КП138 |
50 |
25 |
50 |
68 |
|
||||||||
|
КП139 |
1662 |
65 |
50 |
83 |
4995 |
75 |
|
||||||
|
КП140 |
1664 |
80 |
45 |
85 |
61 |
|
|||||||
|
КП141 |
50 |
25 |
50 |
98 |
|
||||||||
|
КП142 |
2066 |
2080 |
75 |
- |
38 |
4495 |
59 |
11°37¢ |
|
||||
|
КП143 |
55 |
25 |
53 |
80 |
|
||||||||
|
КП144 |
2466 |
2480 |
|
65 |
93 |
2995 |
52 |
9°44¢ |
|
||||
|
КП145 |
43 |
- |
22 |
68 |
|
||||||||
|
КП146 |
1068 |
1080 |
60 |
55 |
85 |
4985 |
81 |
24° |
|
||||
|
КП147 |
1082 |
70 |
15 |
50 |
70 |
|
|||||||
|
КП148 |
1358 |
1370 |
115 |
110 |
168 |
5010 |
42 |
18°57¢ |
|
||||
|
КП149 |
1372 |
125 |
65 |
190 |
39 |
|
|||||||
|
КП150 |
75 |
103 |
65 |
|
|||||||||
|
КП151 |
1558 |
1570 |
80 |
60 |
100 |
61 |
15°39¢ |
|
|||||
|
КП152 |
1572 |
90 |
80 |
125 |
54 |
|
|||||||
|
КП153 |
60 |
20 |
50 |
82 |
|
||||||||
|
КП154 |
1778 |
1790 |
65 |
- |
33 |
76 |
14°24¢ |
|
|||||
|
КП155 |
1792 |
80 |
60 |
100 |
61 |
|
|||||||
|
КП156 |
50 |
40 |
65 |
98 |
|
||||||||
|
КП157 |
2194 |
2208 |
75 |
15 |
53 |
4510 |
59 |
11°37¢ |
|
||||
|
КП158 |
55 |
40 |
67 |
80 |
|
||||||||
|
КП159 |
2634 |
2648 |
25 |
53 |
3010 |
53 |
9°44¢ |
|
|||||
|
КП160 |
43 |
16 |
37 |
68 |
|
||||||||
|
КП161 |
1250 |
1262 |
115 |
90 |
148 |
4990 |
42 |
18°57¢ |
|
||||
|
КП162 |
1264 |
125 |
45 |
107 |
39 |
|
|||||||
|
КП163 |
75 |
82 |
65 |
|
|||||||||
|
КП164 |
1450 |
1462 |
80 |
40 |
80 |
61 |
15°39¢ |
|
|||||
|
КП165 |
1464 |
90 |
60 |
105 |
54 |
|
|||||||
|
КП166 |
60 |
- |
30 |
82 |
|
||||||||
|
KП167 |
1650 |
1662 |
65 |
45 |
78 |
75 |
14°24¢ |
|
|||||
|
КП168 |
1664 |
80 |
40 |
80 |
61 |
|
|||||||
|
КП169 |
50 |
20 |
45 |
98 |
|
||||||||
|
КП170 |
2066 |
2080 |
75 |
65 |
103 |
4485 |
58 |
11°37¢ |
|
||||
|
КП171 |
55 |
15 |
42 |
80 |
|
||||||||
|
KП172 |
2466 |
2480 |
- |
28 |
2985 |
53 |
9°44¢ |
|
|||||
|
КП173 |
43 |
34 |
55 |
67 |
|
||||||||
Каркасы К1-К3

Размеры, мм
|
Марка каркаса |
с |
l |
Число шагов n |
|
К1 |
25 |
4450 |
22 |
|
К2 |
40 |
5080 |
25 |
|
К3 |
85 |
5770 |
28 |
Каркасы К4, К5

Спецификация и расход стали на одно арматурное изделие
|
Марка изделия |
Позиция |
Эскиз стержня (размеры в мм) |
Диаметр, мм |
Длина, мм |
Количество |
Общая длина, м |
Расход стали |
|||||||||
|
Диаметр, мм |
Масса позиции, кг |
Масса изделия, кг |
||||||||||||||
|
КП1 |
1 |
¾¾¾¾¾¾¾ |
4BpI |
106660 |
1 |
106,7 |
4BpI |
9,8 |
20,0 |
|||||||
|
2 |
|
6A1 |
5126 |
9 |
46,1 |
6A1 |
10,2 |
|||||||||
|
КП2 |
3 |
¾¾¾¾¾¾¾ |
5BpI |
106900 |
1 |
106,9 |
5BpI |
15,4 |
25,6 |
|||||||
|
2 |
См. КП1 |
6A1 |
5126 |
9 |
46,1 |
6A1 |
10,2 |
|||||||||
|
КП3 |
4 |
¾¾¾¾¾¾¾ |
5BpI |
118140 |
1 |
118,1 |
5BpI |
17,0 |
27,3 |
|||||||
|
5 |
|
6A1 |
5131 |
9 |
46,2 |
6A1 |
10,3 |
|||||||||
|
КП4 |
6 |
¾¾¾¾¾¾¾ |
5BpI |
153010 |
1 |
153,0 |
5BpI |
22,0 |
32,3 |
|||||||
|
5 |
См. КП3 |
6AI |
5131 |
9 |
46,2 |
6AI |
10,3 |
|||||||||
|
КП5 |
7 |
¾¾¾¾¾¾¾ |
5BpI |
167850 |
1 |
167,8 |
5BpI |
24,2 |
36,7 |
|||||||
|
5 |
См. КП3 |
6A1 |
5131 |
11 |
56,4 |
6AI |
12,5 |
|||||||||
|
КП6 |
8 |
¾¾¾¾¾¾¾ |
5BpI |
213540 |
1 |
213,5 |
5BpI |
30,7 |
43,2 |
|||||||
|
5 |
См. КП3 |
6АI |
5131 |
11 |
56,4 |
6AI |
12,5 |
|||||||||
|
9 |
¾¾¾¾¾¾¾ |
6AIII |
241710 |
1 |
241,7 |
6AIII |
53,7 |
68,7 |
||||||||
|
10 |
|
6A1 |
5148 |
13 |
66,9 |
6AI |
14,9 |
|||||||||
|
КП8 |
11 |
¾¾¾¾¾¾¾ |
6AIII |
314290 |
1 |
314,3 |
6AIII |
69,8 |
84,7 |
|||||||
|
10 |
См. КП7 |
6A1 |
5148 |
13 |
66,9 |
6AI |
14,9 |
|||||||||
|
КП9 |
12 |
¾¾¾¾¾¾¾ |
6AIII |
300930 |
1 |
300,9 |
6AIII |
66,8 |
88,6 |
|||||||
|
13 |
|
6A1 |
5157 |
19 |
98,0 |
6AI |
21,8 |
|||||||||
|
КП10 |
14 |
¾¾¾¾¾¾¾ |
8АIII |
262870 |
1 |
262,9 |
8АIII |
103,8 |
125,6 |
|||||||
|
13 |
См. КП9 |
6AI |
5157 |
19 |
98,0 |
6AI |
21,8 |
|||||||||
|
КП11 |
15 |
¾¾¾¾¾¾¾ |
6AIII |
214320 |
1 |
214,3 |
6AIII |
47,6 |
69,4 |
|||||||
|
16 |
|
6A1 |
5161 |
19 |
98,1 |
6A1 |
21,8 |
|||||||||
|
КП12 |
17 |
¾¾¾¾¾¾¾ |
8АIII |
200385 |
1 |
200,4 |
8АIII |
79,2 |
101,0 |
|||||||
|
16 |
См. КП11 |
6AI |
5161 |
19 |
98,1 |
6AI |
21,8 |
|||||||||
|
КП13 |
18 |
¾¾¾¾¾¾¾ |
8АIII |
309455 |
1 |
309,5 |
8АIII |
122,3 |
144,1 |
|||||||
|
16 |
См. КП11 |
6AI |
5161 |
19 |
98,1 |
6AI |
21,8 |
|||||||||
|
КП14 |
19 |
¾¾¾¾¾¾¾ |
6AIII |
336660 |
1 |
336,7 |
6AIII |
74,7 |
101,1 |
|||||||
|
16 |
См. КП11 |
6AI |
5161 |
23 |
118,7 |
6AI |
26,4 |
|||||||||
|
КП15 |
20 |
¾¾¾¾¾¾¾ |
8АIII |
304505 |
1 |
304,5 |
8АIII |
120,3 |
146,7 |
|||||||
|
16 |
См. КП11 |
6AI |
5161 |
23 |
118,7 |
6AI |
26,4 |
|||||||||
|
КП16 |
21 |
¾¾¾¾¾¾¾ |
8АIII |
434770 |
1 |
434,6 |
8АIII |
171,7 |
198,1 |
|||||||
|
16 |
См. КП11 |
6AI |
5161 |
23 |
118,7 |
6AI |
26,4 |
|||||||||
|
КП17 |
22 |
¾¾¾¾¾¾¾ |
6AIII |
459610 |
1 |
459,6 |
6AIII |
102,0 |
130,7 |
|||||||
|
23 |
|
6AI |
5165 |
25 |
129,1 |
6AI |
28,7 |
|||||||||
|
КП18 |
24 |
¾¾¾¾¾¾¾ |
8АIII |
383285 |
1 |
383,3 |
8АIII |
151,4 |
180,1 |
|||||||
|
23 |
См. КП17 |
6AI |
5165 |
25 |
129,1 |
6AI |
28,7 |
|||||||||
|
КП19 |
25 |
¾¾¾¾¾¾¾ |
8АШ |
583115 |
1 |
583,1 |
8АШ |
230,3 |
259,0 |
|||||||
|
23 |
См. КП17 |
6AI |
5165 |
25 |
129,1 |
6AI |
28,7 |
|||||||||
|
КП20 |
26 |
¾¾¾¾¾¾¾ |
8АШ |
452820 |
1 |
452,8 |
8АШ |
178,9 |
211,2 |
|||||||
|
27 |
|
6AI |
4691 |
31 |
145,4 |
6AI |
32,3 |
|||||||||
|
КП21 |
28 |
¾¾¾¾¾¾¾ |
8АШ |
595255 |
1 |
595,3 |
8АШ |
235,1 |
267,4 |
|||||||
|
27 |
См. КП20 |
6AI |
4691 |
31 |
145,4 |
6AI |
32,3 |
|||||||||
|
КП22 |
29 |
¾¾¾¾¾¾¾ |
8АШ |
489910 |
1 |
489,9 |
8АШ |
193,5 |
219,9 |
|||||||
|
30 |
|
6AI |
3210 |
37 |
118,8 |
6AI |
26,4 |
|||||||||
|
КП23 |
31 |
¾¾¾¾¾¾¾ |
8АШ |
603895 |
1 |
603,9 |
8АШ |
238,5 |
264,9 |
|||||||
|
30 |
См. КП22 |
6AI |
3210 |
37 |
118,8 |
6AI |
26,4 |
|||||||||
|
КП24 |
32 |
¾¾¾¾¾¾¾ |
6AIII |
303400 |
1 |
303,4 |
6AIII |
67,4 |
89,4 |
|||||||
|
33 |
|
6AI |
5203 |
19 |
98,9 |
6AI |
22,0 |
|||||||||
|
КП25 |
34 |
¾¾¾¾¾¾¾ |
8АШ |
264980 |
1 |
265,0 |
8АШ |
104,7 |
126,7 |
|||||||
|
33 |
См. КП24 |
6AI |
5203 |
19 |
98,9 |
6AI |
22,0 |
|||||||||
|
КП26 |
35 |
¾¾¾¾¾¾¾ |
6AIII |
218960 |
1 |
219,0 |
6AIII |
48,6 |
70,6 |
|||||||
|
36 |
|
6AI |
5217 |
19 |
99,1 |
6AI |
22,0 |
|||||||||
|
КП27 |
37 |
¾¾¾¾¾¾¾ |
8AIII |
204820 |
1 |
204,8 |
8AIII |
80,9 |
102,9 |
|||||||
|
36 |
См. КП26 |
6AI |
5217 |
19 |
99,1 |
6AI |
22,0 |
|||||||||
|
КП28 |
38 |
¾¾¾¾¾¾¾ |
8AIII |
315500 |
1 |
315,5 |
8AIII |
124,6 |
146,6 |
|||||||
|
36 |
См. КП26 |
6AI |
5217 |
19 |
99,1 |
6AI |
22,0 |
|||||||||
|
КП29 |
39 |
¾¾¾¾¾¾¾ |
6AIII |
343190 |
1 |
343,2 |
6AIII |
76,2 |
102,9 |
|||||||
|
40 |
|
6AI |
5223 |
23 |
120,1 |
6AI |
26,7 |
|||||||||
|
КП30 |
41 |
¾¾¾¾¾¾¾ |
8AIII |
308115 |
1 |
308,1 |
8AIII |
121,7 |
148,4 |
|||||||
|
40 |
См. КП29 |
6AI |
5223 |
23 |
120,1 |
6AI |
26,7 |
|||||||||
|
КП31 |
42 |
¾¾¾¾¾¾¾ |
8AIII |
440210 |
1 |
440,2 |
8AIII |
173,9 |
200,6 |
|||||||
|
40 |
См. КП29 |
6AI |
5223 |
23 |
120,1 |
6AI |
26,7 |
|||||||||
|
КП32 |
43 |
¾¾¾¾¾¾¾ |
6AIII |
466720 |
1 |
466,7 |
6AIII |
103,6 |
132,7 |
|||||||
|
44 |
|
6AI |
5237 |
25 |
130,9 |
6AI |
29,1 |
|||||||||
|
КП33 |
45 |
¾¾¾¾¾¾¾ |
8AIII |
388955 |
1 |
318,9 |
8AIII |
153,6 |
182,7 |
|||||||
|
44 |
См. КП32 |
6AI |
5237 |
25 |
130,9 |
6AI |
29,1 |
|||||||||
|
КП34 |
46 |
¾¾¾¾¾¾¾ |
8AIII |
592440 |
1 |
592,4 |
8AIII |
234,0 |
263,1 |
|||||||
|
44 |
См. КП32 |
6AI |
5237 |
25 |
130,9 |
6AI |
29,1 |
|||||||||
|
КП35 |
47 |
¾¾¾¾¾¾¾ |
6AIII |
219145 |
1 |
219,1 |
6AIII |
48,6 |
64,3 |
|||||||
|
48 |
|
6AI |
3713 |
19 |
70,5 |
6AI |
15,7 |
|||||||||
|
КП36 |
49 |
¾¾¾¾¾¾¾ |
8AIII |
192620 |
1 |
192,6 |
8AIII |
76,1 |
91,8 |
|||||||
|
48 |
См. КП35 |
6AI |
3713 |
19 |
70,5 |
6AI |
15,7 |
|||||||||
|
КП37 |
50 |
¾¾¾¾¾¾¾ |
6AIII |
303970 |
1 |
304,0 |
6AIII |
67,5 |
89,5 |
|||||||
|
51 |
|
6AI |
5213 |
19 |
99,1 |
6AI |
22,0 |
|||||||||
|
КП38 |
52 |
¾¾¾¾¾¾¾ |
8AIII |
265460 |
1 |
265,5 |
8AIII |
104,9 |
126,9 |
|||||||
|
51 |
См. КП37 |
6AI |
5213 |
19 |
99,1 |
6AI |
22,0 |
|||||||||
|
КП39 |
53 |
¾¾¾¾¾¾¾ |
6АIII |
159260 |
1 |
159,3 |
6АIII |
35,4 |
50,7 |
|||||||
|
54 |
|
6AI |
3622 |
19 |
68,8 |
6AI |
15,3 |
|||||||||
|
КП40 |
55 |
¾¾¾¾¾¾¾ |
8AIII |
149825 |
1 |
149,8 |
8AIII |
59,2 |
74,5 |
|||||||
|
54 |
См. КП32 |
6AI |
3622 |
19 |
68,8 |
6AI |
15,3 |
|||||||||
|
КП41 |
56 |
¾¾¾¾¾¾¾ |
8AIII |
223825 |
1 |
223,8 |
8AIII |
88,4 |
103,7 |
|||||||
|
54 |
См. КП32 |
6AI |
3622 |
19 |
68,8 |
6AI |
15,3 |
|||||||||
|
КП42 |
57 |
¾¾¾¾¾¾¾ |
6AIII |
215385 |
1 |
215,4 |
6AIII |
47,8 |
69,4 |
|||||||
|
58 |
|
6AI |
5122 |
19 |
97,3 |
6AI |
21,6 |
|||||||||
|
КП43 |
59 |
¾¾¾¾¾¾¾ |
8AIII |
201545 |
1 |
201,5 |
8AIII |
79,6 |
101,2 |
|||||||
|
58 |
См. КП42 |
6AI |
5122 |
19 |
97,3 |
6AI |
21,6 |
|||||||||
|
КП44 |
60 |
¾¾¾¾¾¾¾ |
8AIII |
310025 |
1 |
310,0 |
8AIII |
122,5 |
144,1 |
|||||||
|
58 |
См. КП42 |
6AI |
5122 |
19 |
97,3 |
6AI |
21,6 |
|||||||||
|
КП45 |
61 |
¾¾¾¾¾¾¾ |
6AIII |
242700 |
1 |
242,7 |
6AIII |
53,9 |
72,5 |
|||||||
|
62 |
|
6AI |
3633 |
23 |
83,6 |
6AI |
18,6 |
|||||||||
|
КП46 |
63 |
¾¾¾¾¾¾¾ |
8AIII |
220860 |
1 |
220,9 |
8AIII |
87,3 |
105,9 |
|||||||
|
62 |
См. КП45 |
6AI |
3633 |
23 |
83,6 |
6AI |
18,6 |
|||||||||
|
КП47 |
64 |
¾¾¾¾¾¾¾ |
8AIII |
309335 |
1 |
309,3 |
8AIII |
122,2 |
140,8 |
|||||||
|
62 |
См. КП45 |
6AI |
3633 |
23 |
83,6 |
6AI |
18,6 |
|||||||||
|
КП48 |
65 |
¾¾¾¾¾¾¾ |
6AIII |
335175 |
1 |
335,2 |
6AIII |
74,4 |
100,6 |
|||||||
|
66 |
|
6AI |
5133 |
23 |
118,1 |
6AI |
26,2 |
|||||||||
|
КП49 |
67 |
¾¾¾¾¾¾¾ |
8AIII |
303175 |
1 |
303,2 |
8AIII |
119,8 |
146,0 |
|||||||
|
66 |
См. КП48 |
6AI |
5133 |
23 |
118,1 |
6AI |
26,2 |
|||||||||
|
КП50 |
68 |
¾¾¾¾¾¾¾ |
8AIII |
432805 |
1 |
432,8 |
8AIII |
171,0 |
197,2 |
|||||||
|
66 |
См. КП48 |
6AI |
5133 |
23 |
118,1 |
6AI |
26,2 |
|||||||||
|
КП51 |
69 |
¾¾¾¾¾¾¾ |
6AIII |
328305 |
1 |
328,3 |
6AIII |
72,9 |
93,1 |
|||||||
|
70 |
|
6AI |
3637 |
25 |
90,9 |
6AI |
20,2 |
|||||||||
|
КП52 |
71 |
¾¾¾¾¾¾¾ |
8AIII |
276380 |
1 |
276,4 |
8AIII |
109,2 |
129,4 |
|||||||
|
70 |
См. КП51 |
6AI |
3637 |
25 |
90,9 |
6AI |
20,2 |
|||||||||
|
КП53 |
72 |
¾¾¾¾¾¾¾ |
8AIII |
412320 |
1 |
412,3 |
8AIII |
162,9 |
183,1 |
|||||||
|
70 |
См. КП51 |
6AI |
3637 |
25 |
90,9 |
6AI |
20,2 |
|||||||||
|
КП54 |
73 |
¾¾¾¾¾¾¾ |
6AIII |
458070 |
1 |
458,1 |
6AIII |
101,7 |
130,2 |
|||||||
|
74 |
|
6AI |
5137 |
25 |
128,4 |
6AI |
28,5 |
|||||||||
|
КП55 |
75 |
¾¾¾¾¾¾¾ |
8AIII |
381920 |
1 |
381,9 |
8AIII |
150,9 |
179,4 |
|||||||
|
74 |
См. КП54 |
6AI |
5137 |
25 |
128,4 |
6AI |
28,5 |
|||||||||
|
КП56 |
76 |
¾¾¾¾¾¾¾ |
8AIII |
581190 |
1 |
581,2 |
8AIII |
229,6 |
258,1 |
|||||||
|
74 |
См. КП54 |
6AI |
5137 |
25 |
128,4 |
6AI |
28,5 |
|||||||||
|
КП57 |
77 |
¾¾¾¾¾¾¾ |
4BpI |
55410 |
1 |
55,4 |
4BpI |
5,1 |
10,4 |
|||||||
|
78 |
|
6AI |
2652 |
9 |
23,9 |
6AI |
5,3 |
|||||||||
|
КП58 |
79 |
¾¾¾¾¾¾¾ |
5BpI |
55530 |
1 |
55,5 |
5BpI |
8,0 |
13,3 |
|||||||
|
78 |
См. КП57 |
6AI |
2652 |
9 |
23,9 |
6AI |
5,3 |
|||||||||
|
КП59 |
80 |
¾¾¾¾¾¾¾ |
4BpI |
104680 |
1 |
104,7 |
4BpI |
9,6 |
19,9 |
|||||||
|
81 |
|
6AI |
5147 |
9 |
46,3 |
6AI |
10,3 |
|||||||||
|
КП60 |
82 |
¾¾¾¾¾¾¾ |
5BpI |
104915 |
1 |
104,9 |
5BpI |
15,1 |
25,4 |
|||||||
|
81 |
См. КП59 |
6AI |
5147 |
9 |
46,3 |
6AI |
10,3 |
|||||||||
|
КП61 |
83 |
¾¾¾¾¾¾¾ |
5BpI |
61550 |
1 |
61,6 |
5BpI |
8,9 |
14,2 |
|||||||
|
84 |
|
6AI |
2664 |
9 |
24,0 |
6AI |
5,3 |
|||||||||
|
КП62 |
85 |
¾¾¾¾¾¾¾ |
5BpI |
80780 |
1 |
80,8 |
5BpI |
11,6 |
16,9 |
|||||||
|
84 |
См. КП61 |
6AI |
2664 |
9 |
24,0 |
6AI |
5,3 |
|||||||||
|
КП63 |
86 |
¾¾¾¾¾¾¾ |
5BpI |
115640 |
1 |
115,6 |
5BpI |
16,6 |
26,9 |
|||||||
|
87 |
|
6AI |
5164 |
9 |
46,5 |
6AI |
10,3 |
|||||||||
|
КП64 |
88 |
¾¾¾¾¾¾¾ |
5BpI |
152820 |
1 |
152,8 |
5BpI |
22,0 |
32,3 |
|||||||
|
87 |
См. КП63 |
6AI |
5164 |
9 |
46,5 |
6AI |
10,3 |
|||||||||
|
КП65 |
89 |
¾¾¾¾¾¾¾ |
5BpI |
87830 |
1 |
87,8 |
5BpI |
12,6 |
19,1 |
|||||||
|
84 |
См. КП61 |
6AI |
2664 |
11 |
29,3 |
6AI |
6,5 |
|||||||||
|
КП66 |
90 |
¾¾¾¾¾¾¾ |
5BpI |
112830 |
1 |
112,8 |
5BpI |
16,2 |
22,7 |
|||||||
|
84 |
См. КП61 |
6AI |
2664 |
11 |
29,3 |
6AI |
6,5 |
|||||||||
|
КП67 |
91 |
¾¾¾¾¾¾¾ |
5BpI |
166490 |
1 |
166,5 |
5BpI |
24,0 |
36,6 |
|||||||
|
87 |
См. КП63 |
6AI |
5164 |
11 |
56,8 |
6AI |
12,6 |
|||||||||
|
КП68 |
92 |
¾¾¾¾¾¾¾ |
5BpI |
215090 |
1 |
215,1 |
5BpI |
31,0 |
43,6 |
|||||||
|
87 |
См. КП63 |
6AI |
5164 |
11 |
56,8 |
6AI |
12,6 |
|||||||||
|
КП69 |
93 |
¾¾¾¾¾¾¾ |
6АIII |
172190 |
1 |
172,2 |
6АIII |
38,2 |
48,8 |
|||||||
|
94 |
|
6АI |
3666 |
13 |
47,7 |
6АI |
10,6 |
|||||||||
|
КП70 |
95 |
¾¾¾¾¾¾¾ |
6АIII |
227280 |
1 |
227,3 |
6АIII |
50,5 |
61,1 |
|||||||
|
94 |
См. КП69 |
6АI |
3666 |
13 |
47,7 |
6АI |
10,6 |
|||||||||
|
96 |
¾¾¾¾¾¾¾ |
6АIII |
240520 |
1 |
240,5 |
6АIII |
53,4 |
68,3 |
||||||||
|
97 |
|
6АI |
5166 |
13 |
67,2 |
6АI |
14,9 |
|||||||||
|
КП72 |
98 |
¾¾¾¾¾¾¾ |
6АIII |
318390 |
1 |
318,4 |
6АIII |
70,7 |
85,6 |
|||||||
|
97 |
См. КП71 |
6АI |
5166 |
13 |
67,2 |
6АI |
14,9 |
|||||||||
|
99 |
¾¾¾¾¾¾¾ |
6АIII |
214955 |
1 |
215,0 |
6АIII |
47,7 |
63,2 |
||||||||
|
100 |
|
6АI |
3679 |
19 |
69,9 |
6АI |
15,5 |
|||||||||
|
КП74 |
101 |
¾¾¾¾¾¾¾ |
8АIII |
185620 |
1 |
185,6 |
8АIII |
73,3 |
88,8 |
|||||||
|
100 |
См. КП73 |
6АI |
3679 |
19 |
69,9 |
6АI |
15,5 |
|||||||||
|
102 |
¾¾¾¾¾¾¾ |
6АIII |
299235 |
1 |
299,2 |
6АIII |
66,4 |
88,2 |
||||||||
|
103 |
|
6АI |
5169 |
19 |
98,2 |
6АI |
21,8 |
|||||||||
|
КП76 |
104 |
¾¾¾¾¾¾¾ |
8АIII |
257960 |
1 |
258,0 |
8АIII |
101,9 |
123,7 |
|||||||
|
103 |
См. КП75 |
6АI |
5169 |
19 |
98,2 |
6АI |
21,8 |
|||||||||
|
105 |
¾¾¾¾¾¾¾ |
6AIII |
299780 |
1 |
299,8 |
6AIII |
66,6 |
88,4 |
||||||||
|
106 |
|
6A1 |
5179 |
19 |
98,4 |
6A1 |
21,8 |
|||||||||
|
КП78 |
107 |
¾¾¾¾¾¾¾ |
8АIII |
258455 |
1 |
258,5 |
8АIII |
102,1 |
123,9 |
|||||||
|
106 |
См. КП77 |
6АI |
5179 |
19 |
98,4 |
6АI |
21,8 |
|||||||||
|
108 |
¾¾¾¾¾¾¾ |
6AIII |
142730 |
1 |
142,7 |
6AIII |
31,7 |
46,8 |
||||||||
|
109 |
|
6АI |
3582 |
19 |
68,1 |
6АI |
15,1 |
|||||||||
|
КП80 |
110 |
¾¾¾¾¾¾¾ |
8АIII |
132405 |
1 |
132,4 |
8АIII |
52,3 |
67,4 |
|||||||
|
109 |
См. КП79 |
6АI |
3582 |
19 |
68,1 |
6АI |
15,1 |
|||||||||
|
КП81 |
111 |
¾¾¾¾¾¾¾ |
8АIII |
214250 |
1 |
214,3 |
8АIII |
84,6 |
99,7 |
|||||||
|
109 |
См. КП79 |
6АI |
3582 |
19 |
68,1 |
6АI |
15,1 |
|||||||||
|
112 |
¾¾¾¾¾¾¾ |
6AIII |
202500 |
1 |
202,5 |
6AIII |
45,0 |
66,8 |
||||||||
|
113 |
|
6АI |
5180 |
19 |
98,4 |
6АI |
21,8 |
|||||||||
|
КП83 |
114 |
¾¾¾¾¾¾¾ |
8АIII |
187490 |
1 |
187,5 |
8АIII |
74,1 |
95,9 |
|||||||
|
113 |
См. КП82 |
6АI |
5180 |
19 |
98,4 |
6АI |
21,8 |
|||||||||
|
КП84 |
115 |
¾¾¾¾¾¾¾ |
8АIII |
306095 |
1 |
306,1 |
8АIII |
120,9 |
142,7 |
|||||||
|
113 |
См. КП82 |
6АI |
5180 |
19 |
98,4 |
6АI |
21,8 |
|||||||||
|
116 |
¾¾¾¾¾¾¾ |
6АШ |
198855 |
1 |
198,9 |
6АШ |
44,2 |
65,6 |
||||||||
|
117 |
|
6AI |
5082 |
19 |
96,6 |
6AI |
21,4 |
|||||||||
|
КП86 |
118 |
¾¾¾¾¾¾¾ |
8АIII |
184125 |
1 |
184,1 |
8АIII |
72,7 |
94,1 |
|||||||
|
117 |
См. КП85 |
6АI |
5082 |
19 |
96,6 |
6АI |
21,4 |
|||||||||
|
КП87 |
119 |
¾¾¾¾¾¾¾ |
8АIII |
300450 |
1 |
300,5 |
8АIII |
118,7 |
140,1 |
|||||||
|
117 |
См. КП85 |
6АI |
5082 |
19 |
96,6 |
6АI |
21,4 |
|||||||||
|
120 |
¾¾¾¾¾¾¾ |
6АШ |
230640 |
1 |
230,6 |
6АШ |
51,2 |
69,5 |
||||||||
|
121 |
|
6AI |
3587 |
23 |
82,5 |
6AI |
18,3 |
|||||||||
|
КП89 |
122 |
¾¾¾¾¾¾¾ |
8АIII |
206340 |
1 |
206,3 |
8АIII |
81,5 |
99,8 |
|||||||
|
121 |
См. КП88 |
6АI |
3587 |
23 |
82,5 |
6АI |
18,3 |
|||||||||
|
КП90 |
123 |
¾¾¾¾¾¾¾ |
8АIII |
304110 |
1 |
304,1 |
8АIII |
120,1 |
138,4 |
|||||||
|
121 |
См. КП88 |
6АI |
3587 |
23 |
82,5 |
6АI |
18,3 |
|||||||||
|
124 |
¾¾¾¾¾¾¾ |
6АШ |
329465 |
1 |
329,5 |
6АШ |
73,1 |
99,6 |
||||||||
|
125 |
|
6AI |
5185 |
23 |
119,3 |
6AI |
26,5 |
|||||||||
|
КП92 |
126 |
¾¾¾¾¾¾¾ |
8АIII |
294285 |
1 |
294,3 |
8АIII |
116,2 |
142,7 |
|||||||
|
115 |
См. КП91 |
6АI |
5185 |
23 |
1193 |
6АI |
26,5 |
|||||||||
|
КП93 |
127 |
¾¾¾¾¾¾¾ |
8AIII |
436000 |
1 |
436,0 |
8AIII |
172,2 |
198,7 |
|||||||
|
125 |
См. КП91 |
6AI |
5185 |
23 |
119,3 |
6AI |
26,5 |
|||||||||
|
КП94 |
125 |
¾¾¾¾¾¾¾ |
6АШ |
327115 |
1 |
327,1 |
6АШ |
72,6 |
98,6 |
|||||||
|
129 |
|
6AI |
5087 |
23 |
117,0 |
6AI |
26,0 |
|||||||||
|
КП95 |
130 |
¾¾¾¾¾¾¾ |
8AIII |
288655 |
1 |
288,7 |
8AIII |
114,0 |
140,0 |
|||||||
|
129 |
См. КП94 |
6AI |
5087 |
23 |
117,0 |
6AI |
26,0 |
|||||||||
|
КП96 |
131 |
¾¾¾¾¾¾¾ |
8AIII |
427555 |
1 |
4270 |
8AIII |
168,9 |
194,9 |
|||||||
|
129 |
См. КП94 |
6AI |
5087 |
23 |
117,0 |
6AI |
26,0 |
|||||||||
|
КП97 |
132 |
¾¾¾¾¾¾¾ |
6АШ |
320230 |
1 |
320,2 |
6АШ |
71,1 |
91,1 |
|||||||
|
133 |
|
6AI |
3593 |
25 |
89,8 |
6AI |
20,0 |
|||||||||
|
КП98 |
134 |
¾¾¾¾¾¾¾ |
8AIII |
262695 |
1 |
262,7 |
8AIII |
103,8 |
123,8 |
|||||||
|
133 |
См. КП97 |
6AI |
3593 |
25 |
89,8 |
6AI |
20,0 |
|||||||||
|
КП99 |
135 |
¾¾¾¾¾¾¾ |
8AIII |
412905 |
1 |
412,9 |
8AIII |
163,1 |
183,1 |
|||||||
|
133 |
См. КП97 |
6AI |
3593 |
25 |
89,8 |
6AI |
20,0 |
|||||||||
|
КП100 |
136 |
¾¾¾¾¾¾¾ |
6АШ |
456895 |
1 |
456,9 |
6АШ |
101,4 |
130,2 |
|||||||
|
137 |
|
6AI |
5196 |
25 |
129,9 |
6AI |
28,8 |
|||||||||
|
КП101 |
138 |
¾¾¾¾¾¾¾ |
8AIII |
375445 |
1 |
375,4 |
8AIII |
148,3 |
177,1 |
|||||||
|
137 |
См. КП100 |
6AI |
5196 |
25 |
129,9 |
6AI |
28,8 |
|||||||||
|
КП102 |
139 |
¾¾¾¾¾¾¾ |
8AIII |
593373 |
1 |
593,4 |
8AIII |
234,4 |
263,2 |
|||||||
|
137 |
См. КП100 |
6AI |
5196 |
25 |
129,9 |
6AI |
28,8 |
|||||||||
|
КП103 |
140 |
¾¾¾¾¾¾¾ |
6AIII |
458910 |
1 |
458,9 |
6AIII |
101,9 |
130,2 |
|||||||
|
141 |
|
6AI |
5093 |
25 |
127,3 |
6AI |
28,3 |
|||||||||
|
КП104 |
142 |
¾¾¾¾¾¾¾ |
8AIII |
368240 |
1 |
308,2 |
8AIII |
145,5 |
173,8 |
|||||||
|
|
141 |
См. КП103 |
6AI |
5093 |
25 |
127,3 |
6AI |
28,3 |
||||||||
|
КП105 |
143 |
¾¾¾¾¾¾¾ |
8AIII |
581775 |
1 |
581,8 |
8AIII |
229,8 |
258,1 |
|||||||
|
141 |
См. КП103 |
6AI |
5093 |
25 |
127,3 |
6AI |
28,3 |
|||||||||
|
КП106 |
144 |
¾¾¾¾¾¾¾ |
6AIII |
135160 |
1 |
135,2 |
6AIII |
30,0 |
45,5 |
|||||||
|
145 |
|
6AI |
3682 |
19 |
70,0 |
6AI |
15,5 |
|||||||||
|
КП107 |
146 |
¾¾¾¾¾¾¾ |
8AIII |
125435 |
1 |
125,4 |
8AIII |
49,6 |
65,1 |
|||||||
|
145 |
Cм. КП106 |
6AI |
3682 |
19 |
70,0 |
6AI |
15,5 |
|
||||||||
|
КП108 |
147 |
¾¾¾¾¾¾¾ |
8AIII |
203000 |
1 |
203,0 |
8AIII |
80,2 |
95,7 |
|||||||
|
145 |
Cм. КП106 |
6AI |
3682 |
19 |
70,0 |
6AI |
15,5 |
|||||||||
|
КП109 |
148 |
¾¾¾¾¾¾¾ |
6AIII |
186800 |
1 |
186,8 |
6AIII |
41,5 |
63,3 |
|||||||
|
113 |
См. КП82 |
6AI |
5180 |
19 |
98,4 |
6AI |
21,8 |
|||||||||
|
КП110 |
149 |
¾¾¾¾¾¾¾ |
8AIII |
173010 |
1 |
173,1 |
8AIII |
68,3 |
90,1 |
|||||||
|
113 |
См. КП82 |
6AI |
5180 |
19 |
98,4 |
6AI |
21,8 |
|||||||||
|
КП111 |
150 |
¾¾¾¾¾¾¾ |
8AIII |
282410 |
1 |
282,4 |
8AIII |
111,6 |
133,4 |
|||||||
|
113 |
См. КП82 |
6AI |
5180 |
19 |
98,4 |
6AI |
21,8 |
|||||||||
|
КП112 |
151 |
¾¾¾¾¾¾¾ |
6AIII |
221145 |
1 |
221,1 |
6AIII |
49,1 |
68,0 |
|||||||
|
152 |
|
6AI |
3692 |
23 |
84,9 |
6AI |
18,9 |
|||||||||
|
КП113 |
153 |
¾¾¾¾¾¾¾ |
8AIII |
197895 |
1 |
197,9 |
8AIII |
78,2 |
97,1 |
|||||||
|
152 |
См. КП112 |
6AI |
3692 |
23 |
84,9 |
6AI |
18,9 |
|||||||||
|
КП114 |
154 |
¾¾¾¾¾¾¾ |
8AIII |
291750 |
1 |
291,8 |
8AIII |
115,2 |
134,1 |
|||||||
|
152 |
См. КП112 |
6AI |
3692 |
23 |
84,9 |
6AI |
18,9 |
|||||||||
|
КП115 |
155 |
¾¾¾¾¾¾¾ |
6AIII |
307145 |
1 |
307,1 |
6AIII |
68,2 |
94,7 |
|||||||
|
125 |
См. КП91 |
6AI |
5185 |
23 |
119,3 |
6AI |
26,5 |
|||||||||
|
КП116 |
156 |
¾¾¾¾¾¾¾ |
8AIII |
274440 |
1 |
274,4 |
8AIII |
108,4 |
134,9 |
|||||||
|
125 |
См. КП91 |
6AI |
5185 |
23 |
119,3 |
6AI |
26,5 |
|||||||||
|
КП116 |
157 |
¾¾¾¾¾¾¾ |
8AIII |
406570 |
1 |
406,6 |
8AIII |
160,6 |
187,1 |
|||||||
|
125 |
См. КП91 |
6AI |
5185 |
23 |
119,3 |
6AI |
26,5 |
|||||||||
|
КП118 |
158 |
¾¾¾¾¾¾¾ |
6AIII |
306200 |
1 |
306,2 |
6AIII |
68,0 |
88,5 |
|||||||
|
159 |
|
6AI |
3698 |
25 |
92,5 |
6AI |
20,5 |
|||||||||
|
КП119 |
160 |
¾¾¾¾¾¾¾ |
8AIII |
251180 |
1 |
251,2 |
8AIII |
99,2 |
119,7 |
|||||||
|
159 |
См. КП118 |
6AI |
3698 |
25 |
92,5 |
6AI |
20,5 |
|||||||||
|
КП120 |
161 |
¾¾¾¾¾¾¾ |
8AIII |
394990 |
1 |
395,0 |
8AIII |
156,0 |
176,5 |
|||||||
|
159 |
См. КП118 |
6AI |
3698 |
25 |
92,5 |
6AI |
20,5 |
|||||||||
|
КП121 |
162 |
¾¾¾¾¾¾¾ |
6AIII |
424520 |
1 |
424,5 |
6AIII |
94,2 |
123,0 |
|||||||
|
137 |
См. КП100 |
6AI |
5196 |
25 |
129,9 |
6AI |
28,8 |
|||||||||
|
КП122 |
163 |
¾¾¾¾¾¾¾ |
8AIII |
349050 |
1 |
349,1 |
8AIII |
137,9 |
166,7 |
|||||||
|
137 |
См. КП100 |
6AI |
5196 |
25 |
12,9 |
6AI |
28,8 |
|||||||||
|
КП123 |
164 |
¾¾¾¾¾¾¾ |
8AIII |
551620 |
1 |
551,6 |
8AIII |
217,9 |
246,7 |
|||||||
|
137 |
См. КП100 |
6AI |
5196 |
25 |
129,9 |
6AI |
28,8 |
|||||||||
|
КП124 |
165 |
¾¾¾¾¾¾¾ |
6AIII |
125975 |
1 |
126,0 |
6AIII |
28,0 |
42,7 |
|||||||
|
166 |
3495 ¾¾¾¾¾ |
6AI |
3495 |
19 |
66,4 |
6AI |
14,7 |
|||||||||
|
КП125 |
167 |
¾¾¾¾¾¾¾ |
8AIII |
116750 |
1 |
116,8 |
8AIII |
46,1 |
60,8 |
|||||||
|
166 |
4995 ¾¾¾¾¾ |
6AI |
3495 |
19 |
66,4 |
6AI |
14,7 |
|||||||||
|
КП126 |
168 |
¾¾¾¾¾¾¾ |
8AIII |
189300 |
1 |
189,3 |
8AIII |
74,8 |
89,5 |
|||||||
|
166 |
3495 ¾¾¾¾¾ |
6AI |
3495 |
19 |
66,4 |
6AI |
14,7 |
|||||||||
|
КП127 |
169 |
¾¾¾¾¾¾¾ |
6AIII |
177710 |
1 |
177,7 |
6AIII |
39,4 |
60,5 |
|||||||
|
170 |
4995 ¾¾¾¾¾ |
6AI |
4995 |
19 |
94,9 |
6А1 |
21,1 |
|||||||||
|
КП128 |
171 |
¾¾¾¾¾¾¾ |
8AIII |
164400 |
1 |
164,4 |
8AIII |
64,9 |
86,0 |
|||||||
|
170 |
4995 ¾¾¾¾¾ |
6AI |
4995 |
19 |
94,9 |
6AI |
21,1 |
|||||||||
|
КП129 |
172 |
¾¾¾¾¾¾¾ |
8AIII |
268705 |
1 |
268,7 |
8AIII |
106,1 |
127,2 |
|||||||
|
170 |
4995 ¾¾¾¾¾ |
6AI |
4995 |
19 |
94,9 |
6AI |
21,1 |
|||||||||
|
КП130 |
173 |
¾¾¾¾¾¾¾ |
6AIII |
205820 |
1 |
205,8 |
6AIII |
45,7 |
63,5 |
|||||||
|
166 |
3495 ¾¾¾¾¾ |
6AI |
3495 |
23 |
80,4 |
6AI |
17,8 |
|||||||||
|
КП131 |
174 |
¾¾¾¾¾¾¾ |
8AIII |
184275 |
1 |
184,3 |
8AIII |
72,8 |
90,6 |
|||||||
|
166 |
3495 ¾¾¾¾¾ |
6AI |
3495 |
23 |
80,4 |
6AI |
17,8 |
|||||||||
|
КП132 |
175 |
¾¾¾¾¾¾¾ |
8AIII |
271785 |
1 |
271,8 |
8AIII |
107,4 |
125,2 |
|||||||
|
166 |
3495 ¾¾¾¾¾ |
6AI |
3495 |
23 |
80,4 |
6AI |
17,8 |
|||||||||
|
КП133 |
176 |
¾¾¾¾¾¾¾ |
6AIII |
291945 |
1 |
291,9 |
6AIII |
64,8 |
90,3 |
|||||||
|
170 |
4995 ¾¾¾¾¾ |
6AI |
4995 |
23 |
114,9 |
6AI |
25,5 |
|||||||||
|
КП134 |
177 |
¾¾¾¾¾¾¾ |
8AIII |
260910 |
1 |
260,9 |
8AIII |
103,1 |
128,6 |
|||||||
|
170 |
4995 ¾¾¾¾¾ |
6AI |
4995 |
23 |
114,9 |
6AI |
25,5 |
|||||||||
|
КП135 |
178 |
¾¾¾¾¾¾¾ |
8AIII |
386860 |
1 |
386,9 |
8AIII |
152,8 |
178,3 |
|||||||
|
170 |
4995 ¾¾¾¾¾ |
6AI |
4995 |
23 |
114,9 |
6AI |
25,5 |
|||||||||
|
КП136 |
179 |
¾¾¾¾¾¾¾ |
6AIII |
285545 |
1 |
385,5 |
6AIII |
63,4 |
82,8 |
|||||||
|
166 |
3495 ¾¾¾¾¾ |
6AI |
3495 |
25 |
87,4 |
6AI |
19,4 |
|||||||||
|
КП137 |
180 |
¾¾¾¾¾¾¾ |
8AIII |
234265 |
1 |
234,3 |
8AIII |
92,5 |
111,9 |
|||||||
|
166 |
3495 ¾¾¾¾¾ |
6AI |
3495 |
25 |
87,4 |
6AI |
19,4 |
|||||||||
|
КП138 |
181 |
¾¾¾¾¾¾¾ |
8AIII |
368580 |
1 |
368,6 |
8AIII |
145,6 |
165,0 |
|||||||
|
166 |
3495 ¾¾¾¾¾ |
6AI |
3495 |
25 |
87,4 |
6AI |
19,4 |
|||||||||
|
КП139 |
182 |
¾¾¾¾¾¾¾ |
6AIII |
406030 |
1 |
406,0 |
6AIII |
90,1 |
117,8 |
|||||||
|
170 |
4995 ¾¾¾¾¾ |
6AI |
4995 |
25 |
124,9 |
6AI |
27,7 |
|||||||||
|
КП140 |
183 |
¾¾¾¾¾¾¾ |
8AIII |
332500 |
1 |
332,5 |
8AIII |
131,3 |
159,0 |
|||||||
|
170 |
4995 ¾¾¾¾¾ |
6AI |
4995 |
25 |
124,9 |
6AI |
27,7 |
|||||||||
|
КП141 |
184 |
¾¾¾¾¾¾¾ |
8AIII |
525415 |
1 |
525,4 |
8AIII |
207,5 |
235,2 |
|||||||
|
170 |
¾¾¾¾¾ |
6AI |
4995 |
25 |
124,9 |
6AI |
27,7 |
|||||||||
|
КП142 |
185 |
¾¾¾¾¾¾¾ |
8AIII |
398635 |
1 |
398,6 |
8AIII |
157,4 |
188,3 |
|||||||
|
186 |
4495 ¾¾¾¾¾ |
6AI |
4495 |
31 |
139,3 |
6AI |
30,9 |
|||||||||
|
КП143 |
187 |
¾¾¾¾¾¾¾ |
8AIII |
538810 |
1 |
538,8 |
8AIII |
212,8 |
243,7 |
|||||||
|
186 |
4495 ¾¾¾¾¾ |
6AI |
4495 |
31 |
139,3 |
6AI |
30,9 |
|||||||||
|
КП144 |
188 |
¾¾¾¾¾¾¾ |
8AIII |
429910 |
1 |
429,9 |
8AIII |
169,8 |
194,4 |
|||||||
|
189 |
2995 ¾¾¾¾¾ |
6AI |
2995 |
37 |
110,8 |
6AI |
24,6 |
|||||||||
|
КП145 |
190 |
¾¾¾¾¾¾¾ |
8AIII |
545370 |
1 |
545,4 |
8AIII |
215,4 |
240,0 |
|||||||
|
189 |
2995 ¾¾¾¾¾ |
6AI |
2995 |
37 |
110,8 |
6AI |
24,6 |
|||||||||
|
КП146 |
191 |
¾¾¾¾¾¾¾ |
6AIII |
284730 |
1 |
284,7 |
6AIII |
63,2 |
84,2 |
|||||||
|
192 |
4985 ¾¾¾¾¾ |
6AI |
4985 |
19 |
94,7 |
6AI |
21,0 |
|||||||||
|
КП147 |
193 |
¾¾¾¾¾¾¾ |
8AIII |
245440 |
1 |
245,4 |
8AIII |
96,9 |
117,9 |
|||||||
|
192 |
4985 ¾¾¾¾¾ |
6AI |
4985 |
19 |
94,7 |
6AI |
21,0 |
|||||||||
|
КП148 |
194 |
¾¾¾¾¾¾¾ |
6AIII |
193510 |
1 |
193,5 |
6AIII |
43,0 |
64,1 |
|||||||
|
195 |
5010 ¾¾¾¾¾ |
6AI |
5010 |
19 |
95,2 |
6AI |
21,1 |
|||||||||
|
КП149 |
196 |
¾¾¾¾¾¾¾ |
8AIII |
178870 |
1 |
178,9 |
8AIII |
70,7 |
91,8 |
|||||||
|
195 |
5010 ¾¾¾¾¾ |
6AI |
5010 |
19 |
95,2 |
6AI |
21,1 |
|||||||||
|
КП150 |
197 |
¾¾¾¾¾¾¾ |
8AIII |
292520 |
1 |
292,5 |
8AIII |
115,5 |
136,6 |
|||||||
|
195 |
5010 ¾¾¾¾¾ |
6AI |
5010 |
19 |
95,2 |
6AI |
21,1 |
|||||||||
|
КП151 |
198 |
¾¾¾¾¾¾¾ |
6AIII |
314415 |
1 |
314,4 |
6AIII |
69,8 |
95,4 |
|||||||
|
195 |
5010 ¾¾¾¾¾ |
6AI |
5010 |
23 |
115,2 |
6AI |
25,6 |
|||||||||
|
КП152 |
199 |
¾¾¾¾¾¾¾ |
8AIII |
280920 |
1 |
280,9 |
8AIII |
111,0 |
136,6 |
|||||||
|
195 |
5010 ¾¾¾¾¾ |
6AI |
5010 |
23 |
115,2 |
6AI |
25,6 |
|||||||||
|
КП153 |
200 |
¾¾¾¾¾¾¾ |
8AIII |
416440 |
1 |
416,4 |
8AIII |
164,5 |
190,1 |
|||||||
|
195 |
5010 ¾¾¾¾¾ |
6AI |
5010 |
23 |
115,2 |
6AI |
25,6 |
|||||||||
|
КП154 |
201 |
¾¾¾¾¾¾¾ |
6AIII |
438595 |
1 |
438,6 |
6AIII |
97,4 |
125,2 |
|||||||
|
195 |
5010 ¾¾¾¾¾ |
6AI |
5010 |
25 |
125,3 |
6AI |
27,8 |
|||||||||
|
КП155 |
202 |
¾¾¾¾¾¾¾ |
8AIII |
358850 |
1 |
358,9 |
8AIII |
141,8 |
169,6 |
|||||||
|
195 |
5010 ¾¾¾¾¾ |
6AI |
5010 |
25 |
125,3 |
6AI |
27,8 |
|||||||||
|
КП156 |
203 |
¾¾¾¾¾¾¾ |
8AIII |
567405 |
1 |
567,4 |
8AIII |
224,1 |
251,9 |
|||||||
|
195 |
5010 ¾¾¾¾¾ |
6AI |
5010 |
25 |
125,3 |
6AI |
27,8 |
|||||||||
|
КП157 |
204 |
¾¾¾¾¾¾¾ |
8AIII |
424605 |
1 |
424,6 |
8AIII |
167,7 |
198,7 |
|||||||
|
205 |
4510 ¾¾¾¾¾ |
6AI |
4510 |
31 |
139,8 |
6AI |
31,0 |
|||||||||
|
КП158 |
206 |
¾¾¾¾¾¾¾ |
8AIII |
573980 |
1 |
574,0 |
8AIII |
226,7 |
257,7 |
|||||||
|
205 |
4510 ¾¾¾¾¾ |
6AI |
4510 |
31 |
139,8 |
6AI |
31,0 |
|||||||||
|
КП159 |
207 |
¾¾¾¾¾¾¾ |
8AIII |
461345 |
1 |
461,3 |
8AIII |
182,2 |
206,9 |
|||||||
|
208 |
3010 ¾¾¾¾¾ |
6AI |
3010 |
37 |
111,4 |
6AI |
24,7 |
|||||||||
|
КП160 |
209 |
¾¾¾¾¾¾¾ |
8AIII |
585730 |
1 |
585,7 |
8АШ |
231,4 |
256,1 |
|||||||
|
208 |
3010 ¾¾¾¾¾ |
6AI |
3010 |
37 |
111,4 |
6AI |
24,7 |
|||||||||
|
КП161 |
210 |
¾¾¾¾¾¾¾ |
6AIII |
177510 |
1 |
177,5 |
6AIII |
39,4 |
60,4 |
|||||||
|
211 |
4990 ¾¾¾¾¾ |
6AI |
4990 |
19 |
94,8 |
6AI |
21,0 |
|||||||||
|
КП162 |
212 |
¾¾¾¾¾¾¾ |
8AIII |
164240 |
1 |
164,2 |
8AIII |
64,9 |
85,9 |
|||||||
|
211 |
4990 ¾¾¾¾¾ |
6AI |
4990 |
19 |
94,8 |
6AI |
21,0 |
|||||||||
|
КП163 |
213 |
¾¾¾¾¾¾¾ |
8AIII |
268440 |
1 |
268,4 |
8AIII |
106,0 |
127,0 |
|||||||
|
211 |
4990 ¾¾¾¾¾ |
6AI |
4990 |
19 |
94,8 |
6AI |
21,0 |
|||||||||
|
КП164 |
214 |
¾¾¾¾¾¾¾ |
6AIII |
291655 |
1 |
291,7 |
6AIII |
64,8 |
90,3 |
|||||||
|
211 |
4990 ¾¾¾¾¾ |
6AI |
4990 |
23 |
114,8 |
6AI |
25,5 |
|||||||||
|
КП165 |
215 |
¾¾¾¾¾¾¾ |
8AIII |
260820 |
1 |
260,8 |
8AIII |
103,0 |
128,5 |
|||||||
|
211 |
4990 ¾¾¾¾¾ |
6AI |
4990 |
23 |
114,8 |
6AI |
25,5 |
|||||||||
|
КП166 |
216 |
¾¾¾¾¾¾¾ |
8AIII |
386400 |
1 |
386,4 |
8AIII |
152,6 |
178,1 |
|||||||
|
211 |
4990 ¾¾¾¾¾ |
6AI |
4990 |
23 |
114,8 |
6AI |
25,5 |
|||||||||
|
КП167 |
217 |
¾¾¾¾¾¾¾ |
6AIII |
405630 |
1 |
405,6 |
6AIII |
90,0 |
117,7 |
|||||||
|
|
211 |
4990 ¾¾¾¾¾ |
6AI |
4990 |
25 |
124,8 |
6AI |
27,7 |
||||||||
|
КП168 |
218 |
¾¾¾¾¾¾¾ |
8АШ |
332000 |
1 |
332,0 |
8АШ |
131,1 |
158,8 |
|||||||
|
211 |
4990 ¾¾¾¾¾ |
6AI |
4990 |
25 |
124,8 |
6AI |
27,7 |
|||||||||
|
КП169 |
219 |
¾¾¾¾¾¾¾ |
8AIII |
524890 |
1 |
524,9 |
8AIII |
207,3 |
235,0 |
|||||||
|
211 |
4990 ¾¾¾¾¾ |
6AI |
4990 |
25 |
124,8 |
6AI |
27,7 |
|||||||||
|
КП170 |
220 |
¾¾¾¾¾¾¾ |
8AIII |
397785 |
1 |
397,8 |
8AIII |
157,1 |
188,0 |
|||||||
|
221 |
4485 ¾¾¾¾¾ |
6AI |
4485 |
31 |
139,0 |
6AI |
30,9 |
|||||||||
|
КП171 |
222 |
¾¾¾¾¾¾¾ |
8AIII |
537830 |
1 |
537,8 |
8AIII |
212,4 |
243,3 |
|||||||
|
221 |
4485 ¾¾¾¾¾ |
6AI |
4485 |
31 |
139,0 |
6AI |
30,9 |
|||||||||
|
КП172 |
223 |
¾¾¾¾¾¾¾ |
8AIII |
428505 |
1 |
428,5 |
8AIII |
169,3 |
193,8 |
|||||||
|
224 |
2985 ¾¾¾¾¾ |
6AI |
2985 |
37 |
110,4 |
6AI |
24,5 |
|||||||||
|
КП173 |
225 |
¾¾¾¾¾¾¾ |
8AIII |
543810 |
1 |
543,8 |
8AIII |
214,8 |
239,3 |
|||||||
|
224 |
2985 ¾¾¾¾¾ |
6AI |
2985 |
37 |
110,4 |
6AI |
24,5 |
|||||||||
|
К1 |
226 |
4450 ¾¾¾¾¾¾¾ |
8AIII |
4450 |
5 |
22,3 |
8AIII |
8,8 |
10,2 |
|||||||
|
227 |
280 ¾¾¾¾¾ |
6AI |
280 |
23 |
16,4 |
6AI |
1,4 |
|||||||||
|
К2 |
228 |
5080 ¾¾¾¾¾¾¾ |
8AIII |
5080 |
5 |
25,4 |
8AIII |
10,0 |
11,6 |
|||||||
|
227 |
280 ¾¾¾¾¾ |
6AI |
280 |
26 |
7,3 |
6AI |
1,6 |
|||||||||
|
К3 |
229 |
5770 ¾¾¾¾¾¾¾ |
8AIII |
5770 |
5 |
28,9 |
8AIII |
11,4 |
13,2 |
|||||||
|
227 |
280 ¾¾¾¾¾ |
6AI |
280 |
29 |
8,1 |
6AI |
1,8 |
|||||||||
|
К4 |
230 |
|
8AI |
220 |
11 |
2,4 |
8AI |
0,95 |
1,19 |
|||||||
|
231 |
1100 ¾¾¾¾¾¾¾ |
6AI |
1100 |
1 |
1,1 |
6AI |
0,24 |
|||||||||
|
К5 |
232 |
|
8AI |
260 |
11 |
2,9 |
8AI |
1,13 |
1,37 |
|||||||
|
231 |
1100 ¾¾¾¾¾¾¾ |
6AI |
1100 |
1 |
1,1 |
6AI |
0,24 |
|||||||||
|
Ф1 |
233 |
|
5ВрI |
235 |
1 |
0,24 |
5ВрI |
0,04 |
0,04 |
|||||||
|
Ф2 |
234 |
|
5ВрI |
255 |
1 |
0,26 |
5ВрI |
0,04 |
0,04 |
|||||||
|
Ф3 |
235 |
|
5ВрI |
295 |
1 |
0,30 |
5ВрI |
0,05 |
0,05 |
|||||||
Закладное изделие M1

Пример установки закладного изделия M1 в трубах типа ТБ

Таблица 19
Спецификация и выборка стали на одно закладное изделие
|
Позиция |
Эскиз |
Диаметр или сечение, мм |
Длина, мм |
Количество |
Общая длина, м |
Выборка стали |
||
|
Диаметр или сечение, мм |
Масса, кг |
Масса изделия, кг |
||||||
|
236 |
|
25´5 |
50 |
2 |
0,1 |
25´5 |
0,1 |
0,16 |
|
237 |
Болт М5´25 по ГОСТ 7805 |
- |
- |
2 |
- |
Метизы |
0,02 |
|
|
238 |
Гайка М5 по ГОСТ 5927 |
- |
- |
2 |
- |
- |
- |
|
|
239 |
Шайба М5 по ГОСТ 11371 |
- |
- |
2 |
- |
- |
- |
|
|
240 |
¾¾¾¾¾¾ |
3ВрI |
350 |
1 |
0,35 |
3BpI |
0,02 |
|
|
241 |
Гайка М16 по ГОСТ 5916 |
- |
- |
1 |
- |
Гайка |
0,02 |
|
ИНФОРМАЦИОННЫЕ ДАННЫЕ
1. РАЗРАБОТАН И ВНЕСЕН Всесоюзным научно-исследовательским институтом заводской технологии сборных железобетонных конструкций и изделий (ВНИИжелезобетон) Госстроя СССР
ИСПОЛНИТЕЛИ
В. И. Мелихов, канд. техн. наук; К. А. Маврин, канд. техн. наук (руководители темы); Ю. А. Куприков; Э. И. Гомзина; Н. К. Козеева; Л. П.Фомичева; А. Л. Ционский, канд. техн. наук; А. Е. Шмурнов. канд. техн. наук; В. С. Широков, канд. техн. наук; М. Г. Коревицкая, канд. техн. наук; М. И. Токарь, канд. техн. наук; Т. А. Клейман; А. Г. Зорич; Л. П. Хлюпин; Н. Л. Рипс; В. П. Пономарев; В. М. Варешкин; Г. А. Хау; П. И. Кривошеев; В. Я. Бачинский; Д. Г. Вальчук; Е. В. Рудемино-Дусятский; Р. М. Колтовская; В. И. Пименова; В. И. Деньщиков
2. УТВЕРЖДЕН И ВВЕДЕН В ДЕЙСТВИЕ Постановлением Государственного строительного комитета СССР от 30.09.88 № 200
3. Взамен ГОСТ 6482.0-79, ГОСТ 6482.1-79
4. ССЫЛОЧНЫЕ НОРМАТИВНО-ТЕХНИЧЕСКИЕ ДОКУМЕНТЫ
|
Обозначение НТД, на который дана ссылка |
Номер пункта, подпункта, приложения |
|
ГОСТ 8.326-78 |
|
|
ГОСТ 166-80 |
|
|
ГОСТ 868-82 |
|
|
ГОСТ 2405-80 |
|
|
ГОСТ 7502-80 |
|
|
ГОСТ 8829-85 |
|
|
ГОСТ 10060-87 |
|
|
ГОСТ 10180-78 |
|
|
ГОСТ 10922-75 |
|
|
ГОСТ 13015.2-83 |
|
|
ГОСТ 14098-85 |
|
|
ГОСТ 14968-69 |
|
|
ГОСТ 22690.0-77 - ГОСТ 22690.4-77 |
|
|
ГОСТ 22904-78 |
|
|
ГОСТ 25706-83 |
|
|
ГОСТ 26633-85 |
СОДЕРЖАНИЕ
|
4. Транспортирование и хранение. 8 Приложение 1 Форма, размеры и показатели материалоемкости труб. 9 |
|
|
|
|