//
|
|
ГОСУДАРСТВЕННЫЙ СТАНДАРТ СОЮЗА ССР БОЛТЫ ФУНДАМЕНТНЫЕ ОБЩИЕ ТЕХНИЧЕСКИЕ УСЛОВИЯ. КОНСТРУКЦИЯ И РАЗМЕРЫ ГОСТ 24379.1-80 ГОСУДАРСТВЕННЫЙ КОМИТЕТ СССР ПО ДЕЛАМ СТРОИТЕЛЬСТВА Москва ГОСУДАРСТВЕННЫЙ СТАНДАРТ СОЮЗА ССР
Постановлением Государственного комитета СССР по делам строительства от 25 августа 1980 г. № 133 срок введения установлен с 01.01 1982 г. РАЗРАБОТАНЫ Центральным научно-исследовательским и проектно-экспериментальным институтом промышленных зданий и сооружений (ЦНИИпромзданий) Госстроя СССР Центральным ордена Трудового Красного Знамени научно-исследовательским и проектным институтом строительных металлоконструкций (ЦНИИпроектстальконструкция) Госстроя СССР Центральным научно-исследовательским институтом строительных конструкций имени В. А. Кучеренко (ЦНИИСК им. Кучеренко) Госстроя СССР Научно-исследовательским институтом бетона и железобетона (НИИЖБ) Госстроя СССР Министерством монтажных и специальных строительных работ СССР ИСПОЛНИТЕЛИ А. М. Туголуков, канд. техн. наук (руководитель темы); Е. В. Потапкин; О. Л. Кузина; Ю. В. Фролов; Г. Г. Михайленко; Л. А. Пескова; Л. И. Цыбакова; В. Н. Потапов, канд. техн. наук; В. И. Шарстук, канд. техн. наук; П. П. Алексеенко, канд. техн. наук; В. Ф, Беляев, канд. техн. наук; Л. И. Гладштейн, канд. техн. наук; К. В. Шишокина, канд. техн; наук; Л. Е. Темкин ВНЕСЕНЫ Центральным научно-исследовательским и проектно-экспериментальным институтом промышленных .зданий и сооружений Госстроя СССР Гл. инженер И. А. Петров УТВЕРЖДЕНЫ И ВВЕДЕНЫ В ДЕЙСТВИЕ Постановлением Государственного комитета СССР по делам строительства от 25 августа 1980 г. № 133. Настоящий стандарт распространяется на фундаментные болты (в дальнейшем болты) диаметром резьбы от 12 до 140 мм по ГОСТ 24379.0-80, предназначенные для крепления строительных конструкций и оборудования. Стандарт соответствует СТ СЭВ 144-75 и СТ СЭВ 177-75 в части, касающейся предельных отклонений размеров, и СТ СЭВ 181-75 и СТ СЭВ 182-75 в части, касающейся основных размеров, диаметров и шагов метрической резьбы. 1. КОНСТРУКЦИЯ И ОСНОВНЫЕ РАЗМЕРЫ1.1. Типы, конструкция и основные размеры болтов должны соответствовать указанным в табл. 1 и на черт. 1. Таблица 1
ТИПЫ И КОНСТРУКЦИЯ ФУНДАМЕНТНЫХ БОЛТОВ Тип 1 Болты фундаментные изогнутые Исполнение 1 Исполнение 2
Тип 2 Болты фундаментные с анкерной плитой Исполнение 1 Исполнение 2 Исполнение 3
Тип 3 Болты фундаментные составные Исполнение 1 Исполнение 2
Тип 4 Болты фундаментные съемные Исполнение 1 Исполнение 2 Исполнение 3
Тип 5 Болт фундаментный прямой
Тип 6 Болты фундаментные с коническим концом Исполнение 1 Исполнение 2 Исполнение 3
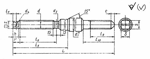
Размеры для справок. 1-10 - шпилька; 11, 12 - плита анкерная; 13 - муфта; 14 - анкерная арматура; 15 - цанга разжимная; 16 - втулка коническая; 17 - шайба; 18 - гайка по ГОСТ 5915-70; 19 - гайка по ГОСТ 10605-72 1.2. Длина болтов L и диаметр резьбы d назначаются в зависимости от длины шпилек и диаметра их резьбы. Пример условного обозначения болта типа 1, исполнения 1, диаметром резьбы d = 20 мм, длиной L = 800 мм, со шпилькой из стали марки ВСт3пс2: БОЛТ 1.1.М20´800. ВСт3пс2 ГОСТ 24379.1-80 То же, болта типа 4, исполнения 2, диаметром резьбы d = 100 мм, с мелким шагом резьбы 6 мм, длиной L = 1900 мм, со шпилькой из стали марки 09Г2С-6: БОЛТ 4.2.М100´6´1900 09Г2С-6 ГОСТ 24379.1-80 1.3. Общие технические условия - по ГОСТ 24379.0-80. 1.4. Теоретическая масса болтов в сборе типов 1, 2, 5 и 6 дана в справочном приложении 1. Теоретическая масса болтов типов 3 и 4 указывается в рабочих чертежах. 1.5. Примеры установки болтов в фундаменты приведены в рекомендуемом приложении 4. 2. КОНСТРУКЦИЯ И РАЗМЕРЫ ШПИЛЕК2.1. Конструкция и размеры шпилек должны соответствовать указанным на черт. 2 и в табл. 2. ШПИЛЬКИ (поз. 1-10 по черт. 1) Поз. 1 (d = 12-48 мм)
Поз. 2 (d = 12-48 мм)
Поз. 3 (d = 16-48 мм)
Поз. 4 (d = 56-140 мм)
Поз. 5 (d = 24-64 мм)
Поз. 6 (d = 56-125 мм)
Поз. 7 (d = 12-48 мм)
Поз. 8 (d = 12-48 мм)
Поз. 9 (d = 12-48 мм)
Поз. 10 (d = 12-48 мм)
__________ * Размер для cправок. мм
Продолжение табл. 2 мм
Пример условного обозначения шпильки поз. 1, диаметром резьбы d = 20 мм, длиной L = 800 мм, из стали марки ВСт3пс2: ШПИЛЬКА 1.М20´800 ВСт3пс2 ГОСТ 24379.1-80 То же, поз. 4, диаметром резьбы d = 100 мм, с мелким шагом резьбы 6 мм, длиной L = 3150 мм, из стали марки 09Г2С-6: ШПИЛЬКА 4.М100´6´3150.09Г2С-6 ГОСТ 24379.1-80 2.2. Предельные отклонения размеров - по СТ СЭВ 144-75 и СТ СЭВ 177-75. 2.3. Резьба - по СТ СЭВ 182-75, поле допуска 8g - по ГОСТ 16093-70. 2.4. Размеры сбегов резьбы и фасок - по ГОСТ 10549-80. 2.5. Длина шпилек L (кроме поз. 5 и 6) и их теоретическая масса приведены в справочном приложении 2. Для шпилек (поз. 5 и 6) длина и теоретическая масса указываются в рабочих чертежах. 2.6. Допускается по соглашению между потребителем и предприятием-изготовителем изготовление шпилек другой длины. 3. КОНСТРУКЦИЯ И РАЗМЕРЫ АНКЕРНЫХ ПЛИТ3.1. Конструкция и размеры анкерных плит (поз. 11) должны соответствовать указанным на черт. 3 и в табл. 3, плит (поз. 12) - на черт. 4 и в табл. 4. ПЛИТА АНКЕРНАЯ (поз. 11 по черт. 1)
___________ * Размер для справок. Размеры в мм
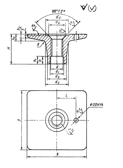
ПЛИТА АНКЕРНАЯ (поз. 12 по черт. 1)
Размеры в мм
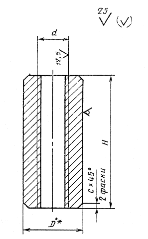
Пример условного обозначения анкерной плиты (поз. 11), размером B = 150 мм: ПЛИТА 150 ГОСТ 24379.1-80 То же, поз. 12, наружным диаметром D1 = 625 мм: ПЛИТА 625 ГОСТ 24379.1-80 3.2. Предельные отклонения размеров - по СТ СЭВ 144-75. 3.3. Отливку выполнять по III классу точности ГОСТ 1855-55. 3.4. Формовочные уклоны - по ГОСТ 3212-57. 3.5. Литейные радиусы - 5 мм. 3.6. Параметры шероховатости поверхностей литых анкерных плит должны быть не более Ra = 50 мкм по ГОСТ 2789-73. 4. КОНСТРУКЦИЯ И РАЗМЕРЫ МУФТЫ4.1. Конструкция и размеры муфты должны соответствовать указанным на черт. 5 и в табл. 5. МУФТА (поз. 13 по черт. 1)
___________ * Размер для справок. Размеры в мм
Пример условного обозначения муфты из стали марки ВСт3пс2 для шпильки d = 24 мм: МУФТА М24.ВСт3пс2 ГОСТ 24379.1-80 4.2. Муфты должны изготовляться из круглой стали по ГОСТ 2590-71, обычной точности прокатки. 4.3. Предельные отклонения размеров - по СТ СЭВ 144-75. 4.4. Резьба - по СТ СЭВ 182-75 с крупным шагом, поле допуска 7Н - по ГОСТ 16093-70. 4.5. Размеры фасок резьбы – по ГОСТ 10549-80. 5. КОНСТРУКЦИЯ И РАЗМЕРЫ АНКЕРНОЙ АРМАТУРЫ5.1. Конструкция анкерной арматуры должна соответствовать указанной на черт. 6. АРМАТУРА АНКЕРНАЯ (поз. 14 по черт. 1)
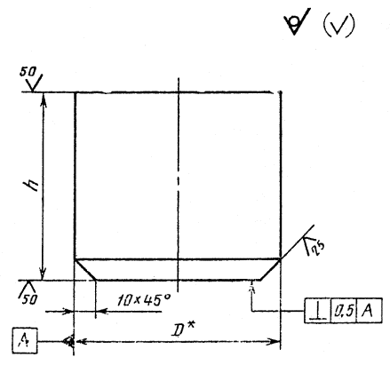
_________ * Размеры для справок. 1 - труба(черт. 7); 2 - составная анкерная плита (черт. 3); 3 - литая анкерная плита (черт. 9), 4 - сварная анкерная плита (черт. 10); 5 - заглушка (черт. 13). 5.2. Длина L1 анкерной арматуры назначается по длине трубы, диаметр резьбы отверстия d - по диаметру резьбы шпильки. 5.3. Конструкция и размеры трубы (поз. 1) должны соответствовать указанным на черт. 7 и в табл. 6. Трубы должны приниматься по ГОСТ 10704-76. 5.4. Конструкция и размеры составной анкерной плиты (поз. 2) должны соответствовать указанным на черт. 8, и в табл. 7. ТРУБА (поз. 1 по черт. 6)
ПЛИТА АНКЕРНАЯ СОСТАВНАЯ (поз. 2 по черт. 6)
___________ * Размеры для справок. 1 - гайка по ГОСТ 5915-70 Размеры в мм
Примечание к черт. 6 и 8. С 01.07 1981 г. действует ГОСТ 5264-80. Конструкция и размеры литой анкерной плиты (поз. 3) должны соответствовать указанным на черт. 9 и в табл. 8. ПЛИТА АНКЕРНАЯ ЛИТАЯ (поз. 3 по черт. 6)
Таблица 8 Размеры в мм
5.6. Конструкция и размеры сварной анкерной плиты (поз. 4) должны соответствовать указанным на черт. 10 и в табл. 9. Сверление отверстия в анкерной плите производится после приварки втулки и ребер. ПЛИТА АНКЕРНАЯ СВАРНАЯ (поз. 4 по черт. 6)
___________ * Размеры для справок. 1 - ребро (черт. 11); 2 - втулка (черт. 12) Таблица 9 Размеры в мм
Примечание. С 01.07 1981 г. действует ГОСТ 5264-80. 5.6.1. Конструкция и размеры ребра должны соответствовать указанным на черт. 11 и в табл. 10. РЕБРО (поз. 1 по черт. 10)
___________ * Размер для справок. Черт. 11Таблица 10 Размеры в мм
5.6.2. Конструкция и размеры втулки должны соответствовать указанным на черт. 12 и в табл. 11. ВТУЛКА (поз. 2 по черт. 10)
__________ * Размер для справок. Таблица 11 мм
5.7. Конструкция и размеры заглушки (поз. 5) должны соответствовать, указанным на черт. 13 и в табл. 12 для трубы и в табл. 13 для анкерной плиты. ЗАГЛУШКА (поз. 5 по черт. 6)
Таблица 12 Размеры в мм
Размеры в мм
Пример условного обозначения анкерной арматуры, исполнения 1, под шпильку d = 24 мм, длиной L1 = 400 мм: АРМАТУРА АНКЕРНАЯ 1.М24´400 ГОСТ 24379.1-80 То же, исполнения 2, под шпильку d = 64 мм, длиной L1 = 2000 мм: АРМАТУРА АНКЕРНАЯ 2.М64´2000 ГОСТ 24379.1-80 То же, исполнения 3, под шпильку d = 100 мм с мелким шагом резьбы 6 мм, длиной L1 = 3150 мм: АРМАТУРА АНКЕРНАЯ 3.М100´6´3150 ГОСТ 24379.1-80 5.8. Предельные отклонения размеров по СТ СЭВ 144-75 и СТ СЭВ 177-75. 5.9. Резьба - по СТ СЭВ 182-75, поле допуска 7Н - по ГОСТ 16093-70. 5.10. Предельные отклонения размеров литой плиты по 3-му классу точности ГОСТ 2009-55. 5.11. Размеры фасок резьбы - по ГОСТ 10549-80. 5.12. Неуказанные литейные радиусы R 5 мм. 5.13. Теоретическая масса анкерной арматуры и труб приведена в справочном приложении 3. 6. КОНСТРУКЦИЯ И РАЗМЕРЫ РАЗЖИМНОЙ ЦАНГИ6.1. Конструкция и размеры разжимной цанги должны соответствовать указанным на черт. 14 и в табл. 14. ЦАНГА РАЗЖИМНАЯ (поз. 15 по черт. 1]
Таблица 14 Размеры в мм
6.2. Предельные отклонения размеров - по СТ СЭВ 144-75. Пример условного обозначения разжимной цанги для шпильки d = 24 мм: ЦАНГА М24 ГОСТ 24379.1-80 7. КОНСТРУКЦИЯ И РАЗМЕРЫ КОНИЧЕСКОЙ ВТУЛКИ7.1. Конструкция и размеры конической втулки должны соответствовать указанным на черт. 15 в табл. 15. ВТУЛКА КОНИЧЕСКАЯ (поз. 16 по черт. 1)
Таблица 15 Размеры в мм
Пример условного обозначения конической втулки под шпильку d = 24 мм: ВТУЛКА М24 ГОСТ 24379.1-80 7.2. Предельные отклонения размеров - по СТ СЭВ 144-75. 7.3. Резьба - по СТ СЭВ 182-75, поле допуска 7Н - по ГОСТ 16093-70. 7.4. Размеры фасок резьбы - по ГОСТ 10549-80. 8. КОНСТРУКЦИЯ И РАЗМЕРЫ ШАЙБЫ8.1. Шайбы при нормальных отверстиях в приливах оборудования следует применять по СТ СЭВ 281-76, при увеличенных отверстиях, в приливах оборудования - по настоящему стандарту. 8.2. Конструкция и размеры шайб должны соответствовать указанным на черт. 16 и в табл. 16. ШАЙБА (поз. 17 по черт. 1)
Таблица 16 Размеры в мм
Пример условного обозначения шайбы, для шпильки диаметром резьбы d = 12 мм: ШАЙБА М12 ГОСТ 24379.1-80 ПРИЛОЖЕНИЕ
1
| ||||||||||||||||||||||||||||||||||||||||||||||||||||||||||||||||||||||||||||||||||||||||||||||||||||||||||||||||||||||||||||||||||||||||||||||||||||||||||||||||||||||||||||||||||||||||||||||||||||||||||||||||||||||||||||||||||||||||||||||||||||||||||||||||||||||||||||||||||||||||||||||||||||||||||||||||||||||||||||||||||||||||||||||||||||||||||||||||||||||||||||||||||||||||||||||||||||||||||||||||||||||||||||||||||||||||||||||||||||||||||||||||||||||||||||||||||||||||||||||||||||||||||||||||||||||||||||||||||||||||||||||||||||||||||||||||||||||||||||||||||||||||||||||||||||||||||||||||||||||||||||||||||||||||||||||||||||||||||||||||||||||||||||||||||||||||||||||||||||||||||||||||||||||||||||||||||||||||||||||||||||||||||||||||||||||||||||||||||||||||||||||||||||||||||||||||||||||||||||||||||||||||||||||||||||||||||||||||||||||||||||||||||||||||||||||||||||||||||||||||||||||||||||||||||||||||||||||||||||||||||||||||||||||||||||||||||||||||||||||||||||||||||||||||||||||||||||||||||||||
|
Длина* болта L, мм |
Теоретическая масса болта типа 1, кг, при номинальном диаметре резьбы d, мм |
|||||||
|
12 |
16 |
20 |
24 |
30 |
36 |
42 |
48 |
|
|
300 |
0,35 |
0,66 |
- |
- |
- |
- |
- |
- |
|
400 |
0,44 |
0,82 |
1,32 |
- |
- |
- |
- |
- |
|
500 |
0,52 |
0,97 |
1,57 |
2,35 |
- |
- |
- |
- |
|
600 |
0,61 |
1,13 |
1,81 |
2,71 |
4,55 |
- |
- |
- |
|
710 |
0,71 |
1,31 |
2,09 |
3,10 |
5,16 |
7,59 |
- |
- |
|
800 |
0,79 |
1,45 |
2,31 |
3,42 |
5,66 |
8,31 |
11,81 |
- |
|
900 |
0,88 |
1,60 |
2,55 |
3,77 |
6,22 |
9,10 |
12,89 |
17,41 |
|
1000 |
0,97 |
1,77 |
2,80 |
4,13 |
6,77 |
9,91 |
13,98 |
18,83 |
|
1120 |
- |
1,95 |
3,10 |
4,56 |
7,43 |
10,85 |
15,29 |
20,53 |
|
1250 |
- |
2,15 |
3,43 |
5,03 |
8,15 |
11,88 |
16,71 |
22,38 |
|
1320 |
- |
- |
3,60 |
5,28 |
8,53 |
12,43 |
17,47 |
23,37 |
|
1400 |
- |
- |
3,79 |
5,55 |
8,99 |
13,10 |
18,33 |
24,51 |
|
1500 |
- |
- |
- |
5,90 |
9,54 |
13,90 |
19,42 |
2,5,93 |
|
1600 |
- |
- |
- |
6,26 |
10,10 |
14,70 |
20,50 |
27,35 |
|
1700 |
- |
- |
- |
6,61 |
10,65 |
15,50 |
21,59 |
28,77 |
|
1800 |
- |
- |
- |
- |
11,21 |
16,29 |
22,68 |
30,19 |
|
1900 |
- |
- |
- |
- |
11,76 |
17,09 |
23,76 |
31,61 |
|
2000 |
- |
- |
- |
- |
12,32 |
17,89 |
24,85 |
33,03 |
|
2120 |
- |
- |
- |
- |
- |
18,85 |
26,16 |
34,73 |
|
2240 |
- |
- |
- |
- |
- |
19,81 |
27,47 |
36,44 |
|
2300 |
- |
- |
- |
- |
- |
20,29 |
28,11 |
37,29 |
|
2360 |
- |
- |
- |
- |
- |
- |
28,76 |
38,07 |
|
2500 |
- |
- |
- |
- |
- |
- |
30,29 |
40,13 |
|
2650 |
- |
- |
- |
- |
- |
- |
- |
42,26 |
|
2800 |
- |
- |
- |
- |
- |
- |
- |
44,39 |
Таблица 2
|
Длина* болта L, мм
|
Теоретическая масса болта типа 1, кг, исполнении |
|||||||||||||||
|
1 |
2 |
3 |
||||||||||||||
|
Номинальный диаметр резьбы , мм |
||||||||||||||||
|
16 |
20 |
24 |
30 |
36 |
42 |
48 |
56 |
64 |
72 |
80 |
90 |
100 |
110 |
125 |
140 |
|
|
200 |
0,92 |
1,56 |
- |
- |
- |
- |
- |
- |
- |
- |
- |
- |
- |
- |
- |
- |
|
250 |
0,99 |
1,69 |
2,74 |
4,70 |
- |
- |
- |
- |
- |
- |
- |
- |
- |
- |
- |
- |
|
300 |
1,07 |
1,81 |
2,91 |
4,98 |
7,60 |
- |
- |
- |
- |
- |
- |
- |
- |
- |
- |
- |
|
350 |
1,15 |
1,93 |
3,09 |
5,25 |
7,99 |
12,21 |
- |
- |
- |
- |
- |
- |
- |
- |
- |
- |
|
400 |
1,23 |
2,06 |
3,27 |
5,53 |
8,39 |
12,75 |
17,56 |
- |
- |
- |
- |
- |
- |
- |
- |
- |
|
450 |
1,31 |
2,18 |
3,35 |
5,81 |
8,79 |
13,29 |
18,27 |
- |
- |
- |
- |
- |
- |
- |
- |
- |
|
500 |
1,39 |
2,30 |
3,62 |
6,08 |
9,19 |
13,84 |
18,98 |
- |
- |
- |
- |
- |
- |
- |
- |
- |
|
600 |
1,55 |
2,55 |
3,98 |
6,64 |
9,99 |
14,92 |
20,39 |
- |
- |
- |
- |
- |
- |
- |
- |
- |
|
710 |
1,72 |
2,82 |
4,37 |
7,25 |
10,87 |
16,12 |
21,95 |
- |
- |
- |
- |
- |
- |
- |
- |
- |
|
800 |
1,86 |
3,04 |
4,69 |
7,75 |
11,59 |
17,10 |
23,23 |
33,99 |
- |
- |
- |
- |
- |
- |
- |
- |
|
900 |
2,02 |
3,29 |
5,04 |
8,30 |
12,39 |
18,18 |
24,66 |
35,26 |
- |
- |
- |
- |
- |
- |
- |
- |
|
1000 |
2,18 |
3,53 |
5,40 |
8,86 |
13,18 |
19,27 |
26,07 |
38,43 |
53,60 |
71,35 |
- |
- |
- |
- |
- |
- |
|
1120 |
2,37 |
3,84 |
5,83 |
9,53 |
14,14 |
20,57 |
27,79 |
40,14 |
56,52 |
74,66 |
- |
- |
- |
- |
- |
- |
|
1250 |
2,57 |
4,15 |
6,29 |
10,25 |
15,19 |
21,99 |
29,63 |
43,98 |
59,20 |
79,16 |
98,8 |
- |
- |
- |
- |
- |
|
1320 |
- |
4,32 |
6,54 |
10,64 |
15,75 |
22,75 |
30,63 |
44,58 |
62,56 |
80,92 |
101,9 |
- |
- |
- |
- |
- |
|
1400 |
- |
4,52 |
6,82 |
11,07 |
16,38 |
23,62 |
31,75 |
47,30 |
65,63 |
85,22 |
107,7 |
141,9 |
- |
- |
- |
- |
|
1500 |
- |
4,77 |
7,10 |
11,63 |
17,18 |
24,71 |
33,17 |
48,57 |
67,58 |
87,16 |
109,4 |
144,6 |
- |
- |
- |
- |
|
1600 |
- |
- |
7,53 |
12,18 |
17,98 |
25,79 |
34,59 |
51,74 |
71,71 |
92,1 |
116,7 |
153,0 |
219,1 |
252,6 |
- |
- |
|
1700 |
- |
- |
7,88 |
12,74 |
18,77 |
26,88 |
36,17 |
53,96 |
75,48 |
95,6 |
121,1 |
158,6 |
225,8 |
261,5 |
- |
- |
|
1800 |
- |
- |
- |
13,29 |
19,57 |
27,97 |
37,42 |
56,18 |
77,75 |
99,0 |
125,6 |
164,1 |
232,6 |
270,3 |
329,3 |
408,3 |
|
1900 |
- |
- |
- |
13,85 |
20,57 |
29,05 |
38,84 |
58,40 |
81,52 |
102,5 |
130,0 |
169,6 |
239,4 |
280,3 |
339,8 |
421,3 |
|
2000 |
- |
- |
- |
- |
21,17 |
30,14 |
40,26 |
60,61 |
83,79 |
106,0 |
134,5 |
175,3 |
246,2 |
288,1 |
350,1 |
434,2 |
|
2120 |
- |
- |
- |
- |
22,13 |
31,44 |
41,98 |
63,11 |
87,25 |
109,6 |
139,3 |
181,3 |
254,3 |
298,7 |
362,6 |
449,7 |
|
2240 |
- |
- |
- |
- |
23,09 |
32,75 |
43,68 |
65,69 |
91,7 |
114,3 |
145,2 |
188,6 |
262,5 |
310,3 |
375,3 |
465,3 |
|
2500 |
- |
- |
- |
- |
- |
35,57 |
47,37 |
71,71 |
98,9 |
123,3 |
156,7 |
203,1 |
280,2 |
332,5 |
402,2 |
499,0 |
|
2800 |
- |
- |
- |
- |
- |
- |
51,63 |
78,36 |
108,0 |
133,7 |
170,1 |
219,8 |
300,6 |
359,1 |
433,4 |
537,8 |
|
3150 |
- |
- |
- |
- |
- |
- |
- |
86,02 |
118,5 |
145,9 |
185,7 |
242,0 |
324,4 |
391,1 |
470,1 |
583,2 |
|
3350 |
- |
- |
- |
- |
- |
- |
- |
- |
- |
159,2 |
203,5 |
261,4 |
351,6 |
426,6 |
511,9 |
636,0 |
|
4000 |
- |
- |
- |
- |
- |
- |
- |
- |
- |
- |
- |
286,5 |
382,1 |
465,6 |
558,4 |
693,3 |
|
4500 |
- |
- |
- |
- |
- |
- |
- |
- |
- |
- |
- |
- |
416,1 |
509,9 |
610,5 |
758,1 |
|
5000 |
- |
- |
- |
- |
- |
- |
- |
- |
- |
- |
- |
- |
- |
- |
662,5 |
822,9 |
Таблица 3
|
Длина* болта L, мм |
Теоретическая масса болта типа 5, кг, при номинальном диаметре резьбы d, мм |
|||||||
|
12 |
16 |
20 |
24 |
30 |
36 |
42 |
48 |
|
|
150 |
0,18 |
0,36 |
0,57 |
- |
- |
- |
- |
- |
|
200 |
0,23 |
0,44 |
0,69 |
1,04 |
- |
- |
- |
- |
|
250 |
0,27 |
0,51 |
0,82 |
1,22 |
2,17 |
- |
- |
- |
|
300 |
0,32 |
0,59 |
0,94 |
1,39 |
2,44 |
3,56 |
- |
- |
|
350 |
0,36 |
0,67 |
1,06 |
1,57 |
2,72 |
3,96 |
5,66 |
- |
|
400 |
0,40 |
0,75 |
1,19 |
1,75 |
3,00 |
4,35 |
6,21 |
8,33 |
|
450 |
0,45 |
0,83 |
1,31 |
1,93 |
3,28 |
4,75 |
6,75 |
9,04 |
|
500 |
- |
0,91 |
1,43 |
2,10 |
3,55 |
5,15 |
7,30 |
9,75 |
|
600 |
- |
1,07 |
1,68 |
2,46 |
4,11 |
5,95 |
8,38 |
11,17 |
|
710 |
- |
- |
1,95 |
2,85 |
4,72 |
6,83 |
9,54 |
12,73 |
|
800 |
- |
- |
2,17 |
3,17 |
5,22 |
7,55 |
10,56 |
13,98 |
|
900 |
- |
- |
- |
3,52 |
5,77 |
8,35 |
11,64 |
15,43 |
|
1000 |
- |
- |
- |
- |
6,33 |
9,15 |
12,73 |
16,85 |
|
1120 |
- |
- |
- |
- |
6,99 |
10,11 |
14,04 |
18,55 |
|
1250 |
- |
- |
- |
- |
- |
11,14 |
15,45 |
20,40 |
|
1320 |
- |
- |
- |
- |
- |
- |
16,21 |
21,39 |
|
1400 |
- |
- |
- |
- |
- |
- |
- |
22,53 |
Таблица 4
|
Длина* болта L, мм |
Теоретическая масса болта типа 6, кг, исполнений |
|||||||||||
|
1 |
2 |
3 |
1 |
2 |
3 |
1 |
2 |
3 |
1 |
2 |
3 |
|
|
Номинальный диаметр резьбы d, мм |
||||||||||||
|
12 |
16 |
20 |
24 |
|||||||||
|
150 |
0,23 |
0,21 |
0,20 |
0,47 |
0,42 |
0,39 |
- |
- |
- |
- |
- |
- |
|
200 |
0,27 |
0,26 |
0,24 |
0,55 |
0,50 |
0,47 |
0,92 |
0,80 |
0,75 |
- |
- |
- |
|
250 |
0,32 |
0,30 |
0,29 |
0,63 |
0,57 |
0,55 |
1,04 |
0,93 |
0,87 |
1,57 |
1,42 |
1,32 |
|
300 |
0,36 |
0,35 |
0,33 |
0,71 |
0,65 |
0,63 |
1,17 |
1,05 |
1,00 |
1,75 |
1,59 |
1,50 |
|
350 |
0,40 |
0,39 |
0,37 |
0,78 |
0,73 |
0,70 |
1,29 |
1,17 |
1,12 |
1,93 |
1,77 |
1,68 |
|
400 |
0,45 |
0,43 |
0,42 |
0,86 |
0,81 |
0,73 |
1,41 |
1,30 |
1,24 |
2,11 |
1,97 |
1,86 |
|
450 |
0,49 |
0,48 |
0,46 |
0,94 |
0,89 |
0,86 |
1,54 |
1,42 |
1,37 |
2,28 |
2,13 |
2,03 |
|
500 |
0,54 |
0,52 |
0,51 |
1,02 |
0,97 |
0,94 |
1,66 |
1,54 |
1,49 |
2,46 |
2,30 |
2,21 |
|
600 |
0,63 |
0,61 |
0,60 |
1,18 |
1,13 |
1,10 |
1,91 |
1,79 |
1,74 |
2,82 |
2,63 |
2,57 |
|
710 |
- |
- |
- |
1,35 |
1,30 |
1,27 |
2,18 |
2,06 |
2,01 |
3,21 |
3,05 |
2,95 |
|
800 |
- |
- |
- |
- |
- |
- |
2,40 |
2,28 |
2,23 |
3,53 |
3,37 |
3,28 |
|
900 |
- |
- |
- |
- |
- |
- |
- |
- |
- |
3,88 |
3,72 |
3,63 |
Продолжение табл. 4
|
Длина* болта L, мм |
Теоретическая масса болта типа 6, кг, исполнений |
||||||||||||||
|
1 |
2 |
3 |
1 |
2 |
3 |
1 |
2 |
3 |
1 |
2 |
3 |
||||
|
Номинальный диаметр резьбы d, мм |
|||||||||||||||
|
30 |
36 |
42 |
48 |
||||||||||||
|
250 |
2,77 |
2,53 |
2,36 |
- |
- |
- |
- |
- |
- |
- |
- |
- |
|||
|
300 |
3,05 |
2,81 |
2,64 |
4,58 |
4,23 |
3,90 |
- |
- |
- |
- |
- |
- |
|||
|
350 |
3,33 |
3,03 |
2,92 |
4,98 |
4,62 |
4,30 |
7,27 |
6,61 |
6,21 |
- |
- |
- |
|||
|
400 |
3,60 |
3,36 |
3,19 |
5,97 |
5,02 |
4,69 |
7,82 |
7,15 |
6,76 |
11,14 |
9,74 |
9,18 |
|||
|
450 |
3,83 |
3,64 |
3,47 |
5,77 |
5,42 |
5,09 |
8,36 |
7,69 |
7,30 |
11,35 |
10,45 |
9,89 |
|||
|
500 |
4,16 |
3,91 |
3,75 |
6,17 |
5,82 |
5,49 |
8,90 |
8,24 |
7,84 |
12,51 |
11,16 |
10,55 |
|||
|
600 |
4,71 |
4,47 |
4,30 |
6,96 |
6,62 |
6,28 |
9,99 |
9,32 |
8,93 |
13,98 |
12,53 |
12,02 |
|||
|
710 |
5,33 |
5,08 |
4,92 |
7,85 |
7,50 |
7,17 |
11,19 |
10,52 |
10,13 |
15,54 |
14,14 |
13,58 |
|||
|
800 |
5,82 |
5,58 |
5,41 |
8,56 |
8,22 |
7,88 |
12,17 |
11,50 |
11,11 |
16,82 |
15,42 |
14,86 |
|||
|
900 |
6,38 |
6,13 |
5,97 |
9,36 |
9,02 |
8,68 |
13,25 |
12,58 |
12,19 |
18,24 |
16,85 |
16,28 |
|||
|
1000 |
6,93 |
6,69 |
6,52 |
10,16 |
9,81 |
9,48 |
14,34 |
13,67 |
13,28 |
19,65 |
18,26 |
17,70 |
|||
|
1120 |
7,59 |
7,36 |
7,18 |
11,12 |
10,77 |
10,44 |
15,64 |
14,97 |
14,58 |
21,36 |
19,98 |
19,40 |
|||
|
1250 |
- |
- |
- |
12,16 |
11,82 |
11,48 |
17,06 |
16,39 |
16,00 |
23,21 |
21,82 |
21,25 |
|||
|
1320 |
- |
- |
- |
- |
- |
- |
17,82 |
17,15 |
16,76 |
24,20 |
22,82 |
22,24 |
|||
|
1400 |
- |
- |
- |
- |
- |
- |
- |
- |
- |
25,34 |
23,94 |
23,38 |
|||
_________
* Длина принята в соответствии с ГОСТ 6636-69.
Таблица 1
Теоретическая масса шпилек (поз. 1-4; 7-10)
|
Длина* шпильки L, мм |
Теоретическая масса шпильки (поз. 1 и 2), кг, при номинальном диаметре резьбы d, мм |
|||||||
|
12 |
16 |
20 |
24 |
30 |
36 |
42 |
48 |
|
|
300 |
0,30 |
0,54 |
- |
- |
- |
- |
- |
- |
|
400 |
0,39 |
0,70 |
1,12 |
- |
- |
- |
- |
- |
|
500 |
0,47 |
0,85 |
1,37 |
2,02 |
- |
- |
- |
- |
|
600 |
0,56 |
1,01 |
1,61 |
2,38 |
3,77 |
- |
- |
- |
|
710 |
0,66 |
1,19 |
1,89 |
2,77 |
4,38 |
6,43 |
- |
- |
|
800 |
0,74 |
1,33 |
2,11 |
3,09 |
4,88 |
7,15 |
9,95 |
- |
|
900 |
0,83 |
1,48 |
2,35 |
3,44 |
5,44 |
7,95 |
11,03 |
14,76 |
|
1000 |
0,92 |
1,65 |
2,60 |
3,80 |
5,99 |
8,74 |
12,12 |
16,18 |
|
1120 |
- |
1,8 |
2,90 |
4,23 |
6,65 |
9,69 |
13,43 |
17,63 |
|
1250 |
- |
2,05 |
3,23 |
4,70 |
7,37 |
10,72 |
14,35 |
19,73 |
|
1320 |
- |
- |
3,40 |
4,95 |
7,75 |
11,27 |
15,61 |
20,72 |
|
1400 |
- |
- |
3,59 |
5,22 |
8,21 |
11,94 |
16,47 |
21,36 |
|
1500 |
- |
- |
- |
5,57 |
8,76 |
12,74 |
17,56 |
23,28 |
|
1600 |
- |
- |
- |
5,93 |
9,32 |
13,54 |
18,64 |
24,70 |
|
1700 |
- |
- |
- |
6,28 |
9,87 |
14,34 |
19,73 |
26,12 |
|
1800 |
- |
- |
- |
- |
10,43 |
15,13 |
20,82 |
27,54 |
|
1900 |
- |
- |
- |
- |
10,96 |
15,93 |
21,90 |
28,96 |
|
2000 |
- |
- |
- |
- |
11,54 |
16,73 |
22,99 |
30,38 |
|
2120 |
- |
- |
- |
- |
- |
17,69 |
24,30 |
32,08 |
|
2240 |
- |
- |
- |
- |
- |
18,64 |
25,61 |
33,79 |
|
2300 |
- |
- |
- |
- |
- |
19,13 |
26,25 |
34,64 |
|
2360 |
- |
- |
- |
- |
- |
- |
26,90 |
35,45 |
|
2500 |
- |
- |
- |
- |
- |
- |
28,43 |
37,48 |
|
2650 |
- |
- |
- |
- |
- |
- |
- |
38,61 |
|
2800 |
- |
- |
- |
- |
- |
- |
- |
41,71 |
Таблица 2
|
Длина* шпильки L, мм |
Теоретическая масса шпильки (поз. 3, 4, 7 и 9), кг, при номинальном диаметре резьбы d, мм |
||||||||||||||||
|
12 |
16 |
20 |
24 |
30 |
36 |
42 |
48 |
56 |
64 |
72 |
80 |
90 |
100 |
110 |
125 |
140 |
|
|
150 |
0,13 |
0,24 |
- |
- |
- |
- |
- |
- |
- |
- |
- |
- |
- |
- |
- |
- |
- |
|
200 |
0,18 |
0,32 |
0,49 |
- |
- |
- |
- |
- |
- |
- |
- |
- |
- |
- |
- |
- |
- |
|
250 |
0,22 |
0,39 |
0,62 |
0,89 |
1,39 |
- |
- |
- |
- |
- |
- |
- |
- |
- |
- |
- |
- |
|
300 |
0,27 |
0,47 |
0,74 |
1,06 |
1,67 |
2,40 |
- |
- |
- |
- |
- |
- |
- |
- |
- |
- |
- |
|
350 |
0,31 |
0,55 |
0,86 |
1,24 |
1,94 |
2,79 |
3,81 |
- |
- |
- |
- |
- |
- |
- |
- |
- |
- |
|
400 |
0,35 |
0,63 |
0,99 |
1,42 |
2,22 |
3,19 |
4,35 |
5,68 |
- |
- |
- |
- |
- |
- |
- |
- |
- |
|
450 |
0,40 |
0,71 |
1,11 |
1,60 |
2,50 |
3,59 |
4,89 |
6,39 |
- |
- |
- |
- |
- |
- |
- |
- |
- |
|
500 |
0,44 |
0,79 |
1,23 |
1,77 |
2,77 |
3,99 |
5,44 |
7,10 |
- |
- |
- |
- |
- |
- |
- |
- |
- |
|
600 |
0,53 |
0,95 |
1,48 |
2,13 |
3,33 |
4,79 |
6,52 |
8,52 |
- |
- |
- |
- |
- |
- |
- |
- |
- |
|
710 |
- |
1,12 |
1,75 |
2,52 |
3,94 |
5,67 |
7,72 |
10,08 |
- |
- |
- |
- |
- |
- |
- |
- |
- |
|
800 |
- |
1,26 |
1,97 |
2,84 |
4,44 |
6,39 |
8,70 |
11,36 |
16,03 |
- |
- |
- |
- |
- |
- |
- |
- |
|
900 |
- |
1,42 |
2,22 |
3,19 |
4,99 |
7,19 |
9,78 |
12,79 |
18,25 |
- |
- |
- |
- |
- |
- |
- |
- |
|
1000 |
- |
1,58 |
2,46 |
3,55 |
5,55 |
7,98 |
10,87 |
14,20 |
20,47 |
26,63 |
33,33 |
- |
- |
- |
- |
- |
- |
|
1120 |
- |
1,77 |
2,76 |
3,98 |
6,22 |
8,94 |
12,17 |
15,92 |
23,13 |
30,67 |
37,49 |
- |
- |
- |
- |
- |
- |
|
1250 |
- |
1,97 |
3,08 |
4,44 |
6,94 |
9,99 |
13,59 |
17,76 |
26,02 |
33,35 |
41,99 |
51,23 |
- |
- |
- |
- |
- |
|
1320 |
- |
- |
3,25 |
4,69 |
7,33 |
10,55 |
14,35 |
18,76 |
27,57 |
36,71 |
43,75 |
54,35 |
- |
- |
- |
- |
- |
|
1400 |
- |
- |
3,45 |
4,97 |
7,76 |
11,18 |
15,22 |
19,88 |
29,34 |
38,71 |
46,52 |
57,91 |
71,5 |
- |
- |
- |
- |
|
1500 |
- |
- |
3,70 |
5,32 |
8,32 |
11,98 |
16,31 |
21,30 |
31,56 |
41,73 |
49,99 |
62,36 |
77,1 |
- |
- |
- |
- |
|
1600 |
- |
- |
- |
5,68 |
8,87 |
12,78 |
17,39 |
22,72 |
33,78 |
44,74 |
53,45 |
66,81 |
82,7 |
100,7 |
123,8 |
- |
- |
|
1700 |
- |
- |
- |
6,03 |
9,43 |
13,57 |
18,48 |
24,13 |
36,00 |
47,76 |
56,91 |
71,26 |
88,3 |
107,5 |
132,7 |
- |
- |
|
1800 |
- |
- |
- |
- |
9,98 |
14,37 |
19,57 |
25,55 |
38,22 |
50,78 |
60,38 |
75,72 |
93,8 |
114,3 |
141,6 |
177,3 |
221,8 |
|
1900 |
- |
- |
- |
- |
10,54 |
15,17 |
20,65 |
26,97 |
40,44 |
53,80 |
63,84 |
80,17 |
99,3 |
121,1 |
150,5 |
187,8 |
234,8 |
|
2000 |
- |
- |
- |
- |
- |
15,97 |
21,74 |
28,39 |
42,65 |
56,82 |
67,31 |
84,62 |
104,9 |
127,9 |
159,3 |
198,2 |
247,7 |
|
2120 |
- |
- |
- |
- |
- |
16,93 |
23,04 |
30,10 |
45,31 |
60,44 |
71,47 |
89,96 |
111,6 |
136,0 |
169,9 |
210,7 |
263,2 |
|
2240 |
- |
- |
- |
- |
- |
17,89 |
24,35 |
31,80 |
47,98 |
64,07 |
75,63 |
95,30 |
118,3 |
144,2 |
180,5 |
223,3 |
278,8 |
|
2500 |
- |
- |
- |
- |
- |
- |
27,17 |
35,49 |
53,75 |
71,92 |
84,64 |
106,90 |
132,8 |
161,9 |
203,7 |
250,2 |
312,5 |
|
2800 |
- |
- |
- |
- |
- |
- |
- |
39,75 |
60,40 |
80,98 |
95,04 |
120,20 |
149,5 |
182,3 |
230,3 |
281,5 |
351,4 |
|
3150 |
- |
- |
- |
- |
- |
- |
- |
- |
68,22 |
91,70 |
107,20 |
135,80 |
171,7 |
206;1 |
261,3 |
318,1 |
396,7 |
|
3550 |
- |
- |
- |
- |
- |
- |
- |
- |
- |
- |
121,15 |
153,60 |
191,1 |
233,3 |
296,7 |
359,9 |
448,5 |
|
4000 |
- |
- |
- |
- |
- |
- |
- |
- |
- |
- |
- |
- |
216,2 |
263,8 |
336,8 |
406,4 |
506,9 |
|
4500 |
- |
- |
- |
- |
- |
- |
- |
- |
- |
- |
- |
- |
- |
297,8 |
381,2 |
458,5 |
571,6 |
|
5000 |
- |
- |
- |
- |
- |
- |
- |
- |
- |
- |
- |
- |
- |
- |
- |
510,6 |
636,4 |
Таблица 3
|
Длина* шпильки L, мм |
Теоретическая масса шпильки (поз. 8 и 10), кг, при номинальном диаметре резьбы d, мм |
|||||||||
|
12 |
16 |
20 |
24 |
30 |
36 |
42 |
48 |
|||
|
150 |
0,15 |
0,27 |
- |
- |
- |
- |
- |
- |
||
|
200 |
0,19 |
0,35 |
0,55 |
- |
- |
- |
- |
- |
||
|
250 |
0,24 |
0,43 |
0,67 |
0,99 |
1,58 |
- |
- |
- |
||
|
300 |
0,28 |
0,51 |
0,80 |
1,17 |
1,86 |
2,74 |
- |
- |
||
|
350 |
0,32 |
0,58 |
0,92 |
1,35 |
2,14 |
3,14 |
4,35 |
- |
||
|
400 |
0,37 |
0,66 |
1,04 |
1,53 |
2,41 |
3,53 |
4,90 |
6,53 |
||
|
450 |
0,41 |
0,74 |
1,17 |
1,70 |
2,69 |
3,93 |
5,44 |
7,24 |
||
|
500 |
0,46 |
0,82 |
1,29 |
1,88 |
2,97 |
4,33 |
5,98 |
7,90 |
||
|
600 |
0,55 |
0,98 |
1,54 |
2,24 |
3,53 |
5,12 |
7,07 |
9,37 |
||
|
710 |
- |
1,15 |
1,81 |
2,63 |
4,14 |
6,01 |
8,26 |
10,93 |
||
|
800 |
- |
- |
2,03 |
2,95 |
4,63 |
6,72 |
9,25 |
12,21 |
||
|
900 |
- |
- |
- |
3,30 |
5,19 |
7,52 |
10,33 |
13,63 |
||
|
1000 |
- |
- |
- |
- |
5,74 |
8,32 |
11,42 |
15,05 |
||
|
1120 |
- |
- |
- |
- |
6,40 |
9,28 |
12,72 |
16,75 |
||
|
1250 |
- |
- |
- |
- |
- |
10,32 |
14,14 |
18,60 |
||
|
1320 |
- |
- |
- |
- |
- |
- |
14,90 |
19,59 |
||
|
1400 |
- |
- |
- |
- |
- |
- |
- |
20,73 |
||
___________
* Длина принята в соответствии с ГОСТ 6636-69.
Теоретическая масса анкерной арматуры
Таблица 1
|
Длина* анкерной арматуры L1, мм |
Теоретическая масса анкерной арматуры, кг, исполнений |
||||||||||||||||||
|
1 |
2 |
3 |
2 |
3 |
2 |
3 |
2 |
3 |
2 |
3 |
2 |
3 |
2 |
||||||
|
Номинальный диаметр резьбы d, мм |
|||||||||||||||||||
|
24 |
30 |
36 |
42 |
48 |
56 |
64 |
72 |
80 |
90 |
100 |
110 |
125 |
|||||||
|
400 |
4,76 |
- |
- |
- |
- |
- |
- |
- |
- |
- |
- |
- |
- |
- |
- |
- |
- |
- |
- |
|
500 |
5,24 |
6,02 |
- |
- |
- |
- |
- |
- |
- |
- |
- |
- |
- |
- |
- |
- |
- |
- |
- |
|
600 |
5,73 |
6,51 |
10,57 |
- |
- |
- |
- |
- |
- |
- |
- |
- |
- |
- |
- |
- |
- |
- |
- |
|
710 |
6,27 |
7,05 |
11,48 |
14,41 |
- |
- |
- |
- |
- |
- |
- |
- |
- |
- |
- |
- |
- |
- |
- |
|
800 |
6,70 |
7,48 |
12,25 |
15,18 |
19,94 |
- |
- |
- |
- |
- |
- |
- |
- |
- |
- |
- |
- |
- |
- |
|
900 |
7,19 |
7,97 |
13,09 |
16,02 |
20,90 |
- |
- |
- |
- |
- |
- |
- |
- |
- |
- |
- |
- |
- |
- |
|
1000 |
7,68 |
8,46 |
13,92 |
16,85 |
21,87 |
- |
- |
- |
- |
- |
- |
- |
- |
- |
- |
- |
- |
- |
- |
|
1120 |
8,17 |
9,05 |
14,93 |
17,85 |
23,03 |
- |
- |
- |
- |
- |
- |
- |
- |
- |
- |
- |
- |
- |
- |
|
1250 |
8,90 |
9,68 |
16,02 |
18,94 |
24,29 |
- |
- |
- |
- |
- |
- |
- |
- |
- |
- |
- |
- |
- |
- |
|
1320 |
9,25 |
10,03 |
16,63 |
19,53 |
24,95 |
- |
- |
- |
- |
- |
- |
- |
- |
- |
- |
- |
- |
- |
- |
|
1400 |
- |
10,42 |
17,30 |
20,20 |
25,73 |
- |
- |
- |
- |
- |
- |
- |
- |
- |
- |
- |
- |
- |
- |
|
1500 |
- |
- |
18,14 |
21,04 |
26,70 |
- |
- |
- |
- |
- |
- |
- |
- |
- |
- |
- |
- |
- |
- |
|
1600 |
- |
- |
- |
21,88 |
27,66 |
- |
- |
- |
- |
- |
- |
- |
- |
- |
- |
- |
- |
- |
- |
|
1700 |
- |
- |
- |
- |
28,63 |
- |
- |
- |
- |
- |
- |
- |
- |
- |
- |
- |
- |
- |
- |
|
1800 |
- |
- |
- |
- |
- |
43,85 |
34,14 |
- |
- |
- |
- |
- |
- |
- |
- |
- |
- |
- |
- |
|
2000 |
- |
- |
- |
- |
- |
45,78 |
36,07 |
62,82 |
44,13 |
- |
- |
- |
- |
- |
- |
- |
- |
- |
- |
|
2240 |
- |
- |
- |
- |
- |
48,10 |
38,39 |
65,72 |
47,05 |
87,01 |
61,8 |
- |
- |
- |
- |
- |
- |
- |
- |
|
2500 |
- |
- |
- |
- |
- |
50,62 |
40,91 |
68,90 |
50,21 |
90,66 |
65,33 |
94,37 |
80,73 |
- |
- |
- |
- |
- |
- |
|
2800 |
- |
- |
- |
- |
- |
- |
- |
72,54 |
53,85 |
94,32 |
69,41 |
99,88 |
85,24 |
140,7 |
110,0 |
- |
- |
- |
- |
|
3150 |
- |
- |
- |
- |
- |
- |
- |
- |
- |
98,90 |
74,17 |
104,15 |
90,51 |
147,0 |
116,4 |
181,5 |
134,6 |
- |
- |
|
3550 |
- |
- |
- |
- |
- |
- |
- |
- |
- |
- |
- |
110,16 |
96,52 |
154,3 |
123,6 |
189,5 |
142,6 |
236,0 |
|
|
4000 |
- |
- |
- |
- |
- |
- |
- |
- |
- |
- |
- |
- |
- |
162,4 |
131,8 |
198,6 |
151,7 |
245,7 |
313,20 |
|
4500 |
- |
- |
- |
- |
- |
- |
- |
- |
- |
- |
- |
- |
- |
- |
- |
208,6 |
161,7 |
256,4 |
337,7 |
Таблица 2
|
Длина* трубы L1, мм |
Теоретическая масса трубы, кг при номинальном наружном диаметре D и толщине стенки s (D´s), мм |
|||||||||
|
60´3,5 |
89´4 |
102´4 |
114´4,5 |
127´4,5 |
140´4,5 |
152´5 |
168´5 |
180´5 |
203´6 |
|
|
400 |
1,95 |
- |
- |
- |
- |
- |
- |
- |
- |
- |
|
500 |
2,44 |
- |
- |
- |
- |
- |
- |
- |
- |
- |
|
600 |
2,93 |
5,03 |
- |
- |
- |
- |
- |
- |
- |
- |
|
710 |
3,47 |
5,95 |
- |
- |
- |
- |
- |
- |
- |
- |
|
800 |
3,90 |
6,71 |
7,74 |
- |
- |
- |
- |
- |
- |
- |
|
900 |
4,39 |
7,55 |
8,70 |
- |
- |
- |
- |
- |
- |
- |
|
1000 |
4,88 |
8,38 |
9,67 |
- |
- |
- |
- |
- |
- |
- |
|
1120 |
5,47 |
9,38 |
10,83 |
- |
- |
- |
- |
- |
- |
- |
|
1250 |
6,10 |
10,47 |
12,09 |
- |
- |
- |
- |
- |
- |
- |
|
1320 |
6,44 |
11,07 |
12,76 |
- |
- |
- |
- |
- |
- |
- |
|
1400 |
6,83 |
11,73 |
13,54 |
- |
- |
- |
- |
- |
- |
- |
|
1500 |
- |
12,58 |
14,50 |
- |
- |
- |
- |
- |
- |
- |
|
1600 |
- |
13,41 |
15,48 |
- |
- |
- |
- |
- |
- |
- |
|
1700 |
- |
- |
16,43 |
- |
- |
- |
- |
- |
- |
- |
|
1800 |
- |
- |
17,41 |
- |
- |
- |
- |
- |
- |
- |
|
2000 |
- |
- |
19,34 |
24,30 |
- |
- |
- |
- |
- |
- |
|
2240 |
- |
- |
21,66 |
27,22 |
30,44 |
- |
- |
- |
- |
- |
|
2500 |
- |
- |
24,18 |
30,38 |
33,97 |
37,60 |
- |
- |
- |
- |
|
2800 |
- |
- |
- |
30,02 |
38,05 |
42,11 |
50,76 |
- |
- |
- |
|
3150 |
- |
- |
- |
- |
42,81 |
47,38 |
57,11 |
63,32 |
- |
- |
|
3550 |
- |
- |
- |
- |
- |
53,39 |
64,36 |
71,35 |
76,64 |
- |
|
4000 |
- |
- |
- |
- |
- |
- |
72,52 |
80,40 |
86,36 |
116,56 |
|
4500 |
- |
- |
- |
- |
- |
- |
- |
90,45 |
97,15 |
131,13 |
________
* Длина принята в соответствии с ГОСТ 6636-69.
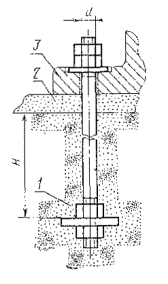
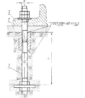
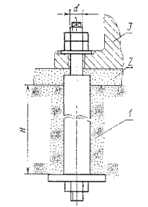
ПРИМЕРЫ УСТАНОВКИ БОЛТОВ В ФУНДАМЕНТ
1. Болты изогнутые исполнения 1 устанавливаются до бетонирования фундаментов (пример 1).
2. Болты изогнутые исполнения 2 устанавливаются в колодцах готовых фундаментов с последующим заполнением колодцев бетоном (пример 2).
3. Болты с анкерной плитой исполнений 1-3 устанавливаются до бетонирования фундаментов (примеры 3, 4 и 5).
4. При установке составных болтов исполнений 1 и 2 нижняя шпилька совместно с муфтой и анкерной плитой устанавливается до бетонирования фундамента. Верхняя шпилька ввертывается в муфту и прихватывается сваркой после установки оборудования (пример 6), которое монтируется методом поворота или надвижки.
5. При установке съемных болтов исполнений 1-3 анкерная арматура устанавливается до бетонирования фундаментов, а шпильки - после устройства фундамента (примеры 7-9).
6. Болты прямые и с коническим концом исполнения 1-3 устанавливаются в просверленные скважины готовых фундаментов.
Болты прямые закрепляются с помощью эпоксидного или силоксанового клеев (пример 10) или виброзачеканкой цементно-песчаной смесью (пример 11).
Болты с коническим концом закрепляются с помощью разжимной цанги (пример 12) или цементным раствором при вибропогружении в него шпильки болта (пример 13).
7. Глубина заделки болтов в бетон (размер Н), состав и марка бетона фундаментов, цементно-песчаной смеси, цементного раствора и клея назначаются в соответствии с действующими нормативными документами, утвержденными в установленном порядке.
Пример 1

Пример 2

Пример 3

Пример 4

Пример 5

Пример 6

Пример 7

Примечание. С 01.07 1981 г. действует ГОСТ 5264-80.
Пример 8

Пример 9

Пример 10

Пример 11

Пример 12

Пример 13

1 - фундамент; 2 - подливка; 3 - оборудование или строительная конструкция; 4 - колодец; 5 - бетон на мелком заполнителе; 6 - скважина; 7 - клеевой состав; 8 - цементно-песчаная смесь; 9 - цементный раствор
СОДЕРЖАНИЕ
|
|
|
|