//
ТехЛит.ру
- крупнейшая бесплатная электронная интернет библиотека для "технически умных" людей.
WWW.TEHLIT.RU - ТЕХНИЧЕСКАЯ ЛИТЕРАТУРА

:: Алготрейдинг::


АЛГОТРЕЙДИНГ
шаг за шагом
с нуля по урокам!

Торговые роботы на PYTHON, BackTrader,
Pandas, Pine Script для TradingView. Связка с брокерами, телеграм и легкими приложениями.


ГОСУДАРСТВЕННЫЙ СТАНДАРТ СОЮЗА ССР

МАТЫ ТЕПЛОИЗОЛЯЦИОННЫЕ
ИЗ МИНЕРАЛЬНОЙ ВАТЫ ВЕРТИКАЛЬНО-СЛОИСТЫЕ

ТЕХНИЧЕСКИЕ УСЛОВИЯ

ГОСТ 23307-78

(СТ СЭВ 5850-86)

КОМИТЕТ СТАНДАРТИЗАЦИИ И МЕТРОЛОГИИ СССР

Москва

ГОСУДАРСТВЕННЫЙ СТАНДАРТ СОЮЗА ССР

МАТЫ ТЕПЛОИЗОЛЯЦИОННЫЕ
ИЗ МИНЕРАЛЬНОЙ ВАТЫ
ВЕРТИКАЛЬНО-СЛОИСТЫЕ

Технические условия

Thermoinsulating mineral wool
vertically-layered mats.
Specifications

ГОСТ
23307-78

(СТ СЭВ 5850-86)

Дата введения с 01.07.79

Настоящий стандарт распространяется на теплоизоляционные минераловатные вертикально-слоистые маты, состоящие из полос, нарезанных из минераловатных плит и наклеенных на защитно-покровный материал в положении, при котором слои минеральной ваты располагаются перпендикулярно защитно-покровному материалу.

Теплоизоляционные вертикально-слоистые маты предназначаются для тепловой изоляции трубопроводов диаметром свыше 108 мм и аппаратов при температуре изолируемых поверхностей от минус 120 до плюс 300°С.

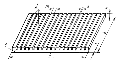
1. МАРКИ И РАЗМЕРЫ

1.1. Маты в зависимости от плотности (объемной массы) подразделяются на марки 75 и 125.

(Измененная редакция, Изм. № 1).

1.2. Размеры матов должны соответствовать приведенным в табл. 1 и на чертеже.

1.3. Условное обозначение мата должно состоять из его сокращенного наименования, марки мата, марки покровного материала, указанной в стандартах или технических условиях, размеров по длине, ширине и толщине мата в миллиметрах, разделяемых точками, и номера настоящего стандарта.

Пример условного обозначения мата марки 75 на стеклорубероиде марки С-РК, длиной 3000 мм, шириной 1000 мм и толщиной 60 мм:

МВС-75-С-РК-3000.1000.60 ГОСТ 23307-78

Таблица 1

Наименование основных размеров

Номинальные размеры, мм

Длина l

600-8000

Ширина b

750-1260

Толщина h

40-100 с интервалом 10

Ширина минераловатной полосы m (равная толщине плит) для марок:

 

75

60-100 с интервалом 10

125

50-80 с интервалом 10

Ширина продольной кромки (разница между шириной покровного материала и длиной минераловатной полосы) к, не менее

От 40 до 50

(Измененная редакция, Изм. № 1, 2).

1 - покровный материал; 2 - минераловатные полосы.

2. ТЕХНИЧЕСКИЕ ТРЕБОВАНИЯ

2.1. Маты должны изготовляться в соответствии с требованиями настоящего стандарта по технологическому регламенту, утвержденному в установленном порядке.

2.2. Для изготовления матов должны применяться плиты из минеральной ваты на синтетическом связующем марок 75 и 125 по ГОСТ 9573-82.

(Измененная редакция, Изм. № 1).

2.3. В качестве защитно-покровных материалов должны применяться: рубероид по ГОСТ 10923-82, стеклорубероид по ГОСТ 15879-70, фольга алюминиевая дублированная, стеклопластик рулонный для теплоизоляции и фольгорубероид по техническим условиям предприятия-изготовителя.

В качестве клеящего вещества применяется битум марок БН70/30 и БН90/10 по ГОСТ 6617-76, полиэтиленовая пленка по ГОСТ 10354-82.

Примечание. Допускается по согласованию изготовителя с потребителем применять другие покровные и клеящие материалы.

2.4. Предельные отклонения размеров матов не должны превышать:

по длине

+ 3 %; -1 %

по ширине

± 10 мм

по толщине

+ 3; 0 мм (для 40, 50)

 

+ 5; 0 мм (для 60, 70, 80, 90, 100).

Разнотолщинность мата не должна превышать 5 мм.

2.3; 2.4. (Измененная редакция, Изм. № 2).

2.5. Зазор между составляющими мат минераловатными полосами s не должен превышать 2 мм.

2.6. По физико-механическим показателям маты должны удовлетворять требованиям, указанным в табл. 2.

Таблица 2

Наименование показателя

Значение для матов марки

75

125

Плотность, кг/м3

От 50 до 75

Св. 75 до 125

Сжимаемость под удельной нагрузкой 2000 Па (0,02 кгс/см2, %, не более

3

2

Теплопроводность, Вт/(м×К), не более, при температуре;

 

 

а) (298±5)К

0,048

0,046

б) (398±5)К

0,083

0,081

2.7. Маты должны выдерживать испытание на прочность приклеивания минераловатных полос к покровному материалу, предусмотренное в п. 4.10.

2.6; 2.7. (Измененная редакция, Изм. № 2).

3. ПРАВИЛА ПРИЕМКИ

3.1. Приемку матов следует проводить в соответствии с требованиями ГОСТ 26281-84 и настоящего стандарта.

3.2. Объем партии матов устанавливают в количестве не более сменной выработки.

3.3. Размеры матов, разнотолщинность, зазор между минераловатными полосами, ширину продольной кромки, плотность, сжимаемость, влажность, прочность приклеивания минераловатных полос к покровному материалу каждого мата, включенного в выборку, определяют для каждой партии.

Теплопроводность определяют один раз в квартал и при каждом изменении сырья и технологии производства на трех матах, прошедших приемо-сдаточные испытания.

3.4. Партию матов, не принятую по результатам контроля размеров, разнотолщинности, зазора между минераловатными полосами, ширины продольной кромки, прочности приклеивания, подвергают сплошному контролю по показателю, по которому не была принята партия.

3.5. При забраковании партии матов по результатам определения теплопроводности проводят повторную проверку. При получении неудовлетворительных результатов повторной проверки поставка матов потребителю должна быть прекращена. После устранения причин выпуска некачественных матов контролю подвергают каждую партию.

При получении удовлетворительных результатов для трех последовательных партий допускается проводить периодический контроль по п. 3.3.

Разд. 3. (Измененная редакция, Изм. № 2).

4. МЕТОДЫ ИСПЫТАНИЙ

4.1, 4.2. (Исключен, Изм.№ 1).

4.3. Длину, ширину и толщину матов измеряют по ГОСТ 17177-87 на мате, уложенном минераловатными полосами вверх. Толщину мата измеряют при удельной нагрузке 500 Па (0,005 кгс/см2). Величину зазоров между минераловатными полосами определяют после каждой пятой полосы измеряемого изделия.

(Измененная редакция, Изм. № 1, 2).

4.4. Разнотолщинность определяют по результатам измерения толщины матов по п. 4.3. Разнотолщинность вычисляют как разность между наибольшим и наименьшим значениями толщины мата.

4.5. Ширину продольной кромки измеряют с погрешностью до 1 мм в шести местах и вычисляют как среднее арифметическое произведенных замеров.

4.6. Плотность определяют без учета покровного материала по ГОСТ 17177-87.

(Измененная редакция, Изм. № 1, 2).

4.7. Сжимаемость мата определяют по ГОСТ 17177-87.

Из каждого мата, попавшего в выборку по п. 3.1, вырезают по два образца вместе с покровным материалом.

4.8. Теплопроводность мата определяют по ГОСТ 7076-87. Из каждого мата, отобранного по п. 3.3, вырезают по одному образцу без покровного материала.

4.9. Влажность мата определяют по ГОСТ 17177-87.

Пробу для испытания составляют из пяти точечных проб, взятых в четырех местах по диагонали на расстоянии не менее 250 мм от углов и в центре каждого мата, попавшего в выборку по п. 3.1.

4.10. Прочность приклеивания минераловатных полос к покровному материалу определяют осмотром мата после двухкратного свертывания его в рулон и последующего развертывания на плоской поверхности.

Мат считают выдержавшим испытание, если после второго развертывания и поворота мата полосами вниз от покровного материала не отделится полностью ни одна полоса.

4.7 - 4.10. (Измененная редакция, Изм. № 2).

5. УПАКОВКА, МАРКИРОВКА, ТРАНСПОРТИРОВАНИЕ И ХРАНЕНИЕ

5.1. Упаковку, маркировку, транспортирование и хранение матов производят в соответствии с требованиями ГОСТ 25880-83 и настоящего стандарта.

(Измененная редакция, Изм. № 2).

5.l a. Маты должны быть свернуты в рулоны. Масса рулона - не более 50 кг, диаметр рулона - не более 400 мм.

Маты длиной до 1500 мм могут поставляться в развернутом виде стопами. Стопу обертывают полосой бумаги, конец полотна бумаги заклеивают. Масса стопы - не более 50 кг, высота стопы - не более 500 мм.

Транспортные пакеты формируют в соответствии с правилами перевозки грузов, размеры пакетов и средства пакетирования - по ГОСТ 24597-81.

(Введен дополнительно, Изм. № 2).

5.2. Допускается транспортирование матов в открытых автомашинах на расстоянии до 200 км с обязательным покрытием их брезентом или другим влагозащитным материалом.

Транспортирование матов по железной дороге осуществляют повагонными отправками.

Транспортную маркировку производят с нанесением манипуляционного знака «Боится сырости» по ГОСТ 14192-77.

5.3. Высота штабеля при хранении не должна быть более 2 м.

5.4. Время выдержки матов на складе перед отгрузкой потребителю должно быть не менее одних суток.

5.2 - 5.4. (Измененная редакция, Изм. № 1, 2).

6. ГАРАНТИИ ИЗГОТОВИТЕЛЯ

6.1. Предприятие-изготовитель гарантирует соответствие матов требованиям настоящего стандарта при соблюдении условий транспортирования и хранения, установленных настоящим стандартом.

Гарантийный срок хранения матов - 6 мес с момента их изготовления.

Разд. 6. (Введен дополнительно, Изм. № 1).

ИНФОРМАЦИОННЫЕ ДАННЫЕ

1. РАЗРАБОТАН И ВНЕСЕН Министерством монтажных и специальных строительных работ СССР

РАЗРАБОТЧИКИ

Н. И. Мелентьев, канд. техн. наук (руководитель темы); Л. М. Шаронова; Л. Н. Пономарева; В. В. Еремеева; М. П. Кораблик

2. УТВЕРЖДЕН И ВВЕДЕН В ДЕЙСТВИЕ Постановлением Государственного комитета СССР по делам строительства от 09.10.78 № 195.

3. Стандарт полностью соответствует СТ СЭВ 5850-86.

4. ССЫЛОЧНЫЕ НОРМАТИВНО-ТЕХНИЧЕСКИЕ ДОКУМЕНТЫ

Обозначение НТД, на который дана ссылка

Номер пункта

ГОСТ 6617-76

2.3

ГОСТ 7076-87

4.8

ГОСТ 9573-82

2.2

ГОСТ 10354-82

2.3

ГОСТ 10923-82

2.3

ГОСТ 14192-77

5.2

ГОСТ 15879-70

2.3

ГОСТ 17177-87

4.3, 4.6, 4.7, 4.9

ГОСТ 24597-81

5.1a

ГОСТ 25880-83

5.1

ГОСТ 26281-84

3.1

5. Переиздание (август 1991 г.) с изменениями № 1, 2, утвержденными в феврале 1985 г., июле 1988 г. (ИУС 7-85, 9-88)




Яндекс цитирования



   Copyright © 2007-2026,  www.tehlit.ru.

[ ѓосты, стандарты, нормативы, инструкции, правила, строительные нормы ]