//
ТехЛит.ру
- крупнейшая бесплатная электронная интернет библиотека для "технически умных" людей.
WWW.TEHLIT.RU - ТЕХНИЧЕСКАЯ ЛИТЕРАТУРА

:: Алготрейдинг::


АЛГОТРЕЙДИНГ
шаг за шагом
с нуля по урокам!

Торговые роботы на PYTHON, BackTrader,
Pandas, Pine Script для TradingView. Связка с брокерами, телеграм и легкими приложениями.


ГОСУДАРСТВЕННЫЙ СТАНДАРТ СОЮЗА ССР

ФОРМЫ ДЛЯ ИЗГОТОВЛЕНИЯ
ЖЕЛЕЗОБЕТОННЫХ
ВИБРОГИДРОПРЕССОВАННЫХ
НАПОРНЫХ ТРУБ

Технические условия

ГОСТ 13981-87

ГОСУДАРСТВЕННЫЙ СТРОИТЕЛЬНЫЙ КОМИТЕТ СССР

Москва

ГОСУДАРСТВЕННЫЙ СТАНДАРТ СОЮЗА ССР

ФОРМЫ ДЛЯ ИЗГОТОВЛЕНИЯ ЖЕЛЕЗОБЕТОННЫХ ВИБРОГИДРОПРЕССОВАННЫХ НАПОРНЫХ ТРУБ

Технические условия

Forms for reinforced concrete pressure pipes made by vibrohydropressed method. Specifications

ГОСТ
13981-87

Дата введения 01.01.89

ИНФОРМАЦИОННЫЕ ДАННЫЕ

1. РАЗРАБОТАН И ВНЕСЕН Министерством строительного, дорожного и коммунального машиностроения СССР

ИСПОЛНИТЕЛИ

И.И. Бергер (руководитель темы); В.В. Девятов, канд. техн. наук; А.И. Будников, канд. техн. наук; А.Л. Ционский, канд. техн. наук; Г.С. Гершвальд, канд. техн. наук; Г.С. Митник, канд. техн. наук; Л.Н. Рабинович; Р.М. Колтовская; И.Н. Нагорняк

2. УТВЕРЖДЕН И ВВЕДЕН В ДЕЙСТВИЕ Постановлением Государственного строительного комитета СССР от 11.12.87 № 289

3. Взамен ГОСТ 13981-77

4. ССЫЛОЧНЫЕ НОРМАТИВНО-ТЕХНИЧЕСКИЕ ДОКУМЕНТЫ

Обозначение НТД, на который дана ссылка

Номер пункта, подпункта

ГОСТ 2.610-68

1.4.2

ГОСТ 6.37-79

1.4.3

ГОСТ 8.062-85

1.3.11.2

ГОСТ 8.326-78

3.1

ГОСТ 9.014-78

1.6.9

ГОСТ 9.032-74

1.3.6.1; 3.11

ГОСТ 9.104-79

1.3.6.1

ГОСТ 9.402-80

1.3.6.1

ГОСТ 10-75

3.1

ГОСТ 162-80

3.1

ГОСТ 166-80

3.1

ГОСТ 380-71

1.3.11.1

ГОСТ 427-75

3.1

ГОСТ 882-75

3.1

ГОСТ 1050-74

1.3.11.1

ГОСТ 2246-70

1.3.8.1

ГОСТ 2405-80

3.1

ГОСТ 2789-73

1.3.8.2; 1.3.10.3

ГОСТ 3242-79

3.8; 3.9; 3.10

ГОСТ 4543-71

1.3.11.1

ГОСТ 5264-80

1.3.8.1

ГОСТ 7502-80

3.1

ГОСТ 8713-79

1.3.8.1

ГОСТ 9238-83

4.1.1

ГОСТ 9378-75

3.1

ГОСТ 9467-75

1.3.8.1

ГОСТ 10198-78

1.6.3

ГОСТ 12586.0-83

1.1

ГОСТ 12586.1-83

1.1

ГОСТ 12969-67

1.5.1

ГОСТ 12971-67

1.5.1

ГОСТ 13837-79

3.1

ГОСТ 13981-87

1.2.3

ГОСТ 14192-77

1.6.8

ГОСТ 14771-76

1.3.8.1

ГОСТ 14959-79

1.3.11.1

ГОСТ 15150-69

1.1; 4.1.1; 4.2.1

ГОСТ 15151-69

1.1

ГОСТ 16037-80

1.3.8.1

ГОСТ 19300-86

3.1

ГОСТ 23170-78

1.6.6

ГОСТ 23679-79

3.1

ГОСТ 25706-83

3.1

СНиП 3.09.01-85

5.4

(Поправка. ИУС № 6-1990 г.).

Настоящий стандарт распространяется на стальные формы, (далее формы), предназначаемые для изготовления железобетонных виброгидропрессованных напорных труб и поставляемые для нужд народного хозяйства и на экспорт.

1. ТЕХНИЧЕСКИЕ ТРЕБОВАНИЯ

1.1. Формы должны изготовляться в соответствии с требованиями настоящего стандарта и технической документации, утвержденной в установленном порядке. Исполнение форм для климатических районов с умеренным климатом У, категории размещения 5 - по ГОСТ 15150-69.

Формы должны обеспечивать изготовление труб по ГОСТ 12586.0-83 и ГОСТ 12586.1-83.

При изготовлении форм для экспорта, кроме того, должны учитываться требования заказа-наряда внешнеторговой организации, а для стран с тропическим климатом - требования ГОСТ 15151-69.

Комплектующие изделия должны быть изготовлены в том же исполнении, что и форма.

1.2. Основные параметры и размеры

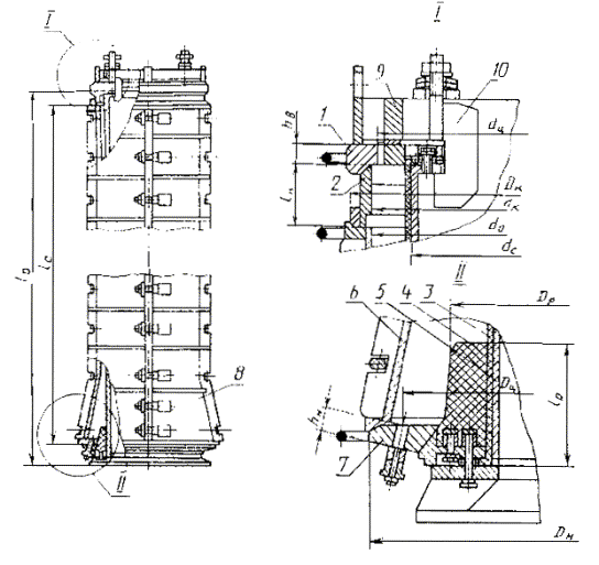
1.2.1. Основные параметры и предельные отклонения от проектных размеров форм должны соответствовать указанным в табл. 1 - 3 и на чертеже.

Таблица 1

Диаметр условного прохода трубы, мм

Число разъемов наружной формы

Максимальное опрессовочное давление, МПа (кгс/см2)

Масса формы, кг, не более

500

2

3,8 (38)

3500

600

2

3,8 (38)

4000

800

4

3,6 (36)

6300

1000

4

3,6 (36)

7900

1200

4

3,6 (36)

9400

1400

4

3,7 (37)

13500

1600

4

3,7 (37)

15500

Примечание. Допускается до 01.01.90 выпуск наружных форм диаметром условного прохода 800 мм с двумя разъемами.

Таблица 2

Наименование размера

Пред. откл. от проектных размеров, мм

Длина наружной формы (секций) lн

±0,7

Длина внутренней формы lвн

±3,00

Длина раструбообразователя lр

±3,00

Длина калибрующего кольца lк

±0,25

Толщина анкерных колец hн; hв

±0,15

Внутренний диаметр наружной формы для труб диаметром условного прохода d0

 

500, 600, 800

+4,00

-2,00

1000, 1200

+6,00

-2,00

1400, 1600

+7,00

-3,00

Наружный диаметр раструбообразователя Dр

-4,00

Внутренний диаметр калибрующего кольца dк

±1,00

Диаметральное расстояние между осями отверстий и выступов пазов анкерный колец Dц; dц

±0,50

Наружный диаметр калибрующего и нижнего анкерного колец Dн, Dк

-1,00

Наружный диаметр внутренней формы Dвн

+1,00

-2,00

Радиальное смещение анкерных и калибрующего колец от внутренней поверхности наружной формы

±1,00

Примечание. На наружной поверхности внутренней формы допускаются черноты в пределах допуска.

Таблица 3

мм

Диаметр условного прохода трубы

Толщины анкерных колец

hн

hв

500

46

45

600

45

800

47

1000

46

1200

45

1400

46

1600

45

1 - верхнее анкерное кольцо; 2 - калибрующее кольцо; 3 - чехол; 4 - раструбообразователь; 5 - внутренняя форма; 6 - наружная форма; 7 - нижнее анкерное кольцо; 8 - пружинный болт; 9 - крестовина; 10 - захват крестовины

Примечание. Чертеж не определяет конструкцию формы.

1.2.2. Формы подразделяют на два типа в зависимости от способа укладки и уплотнения бетонной смеси:

НВП - для работы с навесными вибраторами или на виброплощадке;

НВПС - для работы с навесными вибраторами или на виброплощадке или с вибросердечником.

1.2.3. Условное обозначение форм состоит из типа формы и диаметра условного прохода трубы.

Пример условного обозначения формы, предназначенной для работы с навесными вибраторами или на виброплощадке для изготовления труб диаметром условного прохода 1000 мм:

Форма НВП 1000 ГОСТ 13981-87

1.3. Характеристики

1.3.1. Конструкция форм должна обеспечивать:

сборку и разборку с применением механизированного инструмента;

фиксацию секций наружной формы при помощи специальных штифтов;

плотное соединение стыков формы с применением уплотняющих материалов, не допускающее вытекания цементного молока при формовании трубы;

установку и фиксацию защитных устройств;

установку и фиксацию арматуры в проектном положении;

установку и фиксацию загрузочного конуса;

жесткое крепление навесных вибраторов к наружной форме типа НВП или НВПС;

передачу вибрации на бетонную смесь от вибраторов или виброплощадки, или вибросердечника для форм типа НВПС;

равномерное раскрытие секций наружной формы в процессе гидропрессования;

полный слив воды из подчехольного пространства;

распалубку и съем готовых труб без повреждений;

применение грузозахватных устройств.

1.3.2. Внутренняя форма, трубопроводы и рукав высокого давления должны выдерживать испытание на давление, превышающее не менее чем на 0,4 МПа (4,0 кгс/см2), но не более 0,45 МПа (4,5 кгс/см2) опрессовочное давление, указанное в табл. 1.

1.3.3. Наружная форма должна выдерживать испытание на внутреннее давление не менее на 0,24 МПа (2,40 кгс/см2), но не более чем 0,3 МПа (3,0 кгс/см2).

1.3.4. Число, расположение и тарировка пружинных болтов должны обеспечивать при указанном в п. 1.3.3 давлении работу наружной формы при требуемых значениях раздвижки формы, указанных в технической документации на эти формы.

Параметры тарировки пружинных болтов должны быть указаны в документе о качестве (паспорте) на форму.

Конструкция пружинного болта предусматривает, как правило, применение тарельчатых пружин.

Допускается использовать пружинные болты другой конструкции, обеспечивающие параметры, указанные в документе о качестве на форму.

1.3.5. Требования надежности

1.3.5.1. Гамма-процентный (при g = 80 %) ресурс до первого капитального ремонта - не менее 600 циклов.

1.3.5.2. Установленный ресурс до первого капитального ремонта - не менее 400 циклов.

1.3.5.3. Средняя наработка на отказ - не менее 80 циклов. Под отказом следует понимать неисправность, на устранение которой требуется более 1 ч.

1.3.5.4. Установленная безотказная наработка - не менее 50 циклов.

1.3.5.5. Полный ресурс отдельных элементов форм должен быть в циклах не менее:

1500 - наружной формы;

2000 - внутренней формы;

300 - пружинного болта;

1500 - нижнего анкерного кольца;

750 - калибрующего кольца;

500 - верхнего анкерного кольца;

250 - раструбообразователя;

200 - резинового чехла.

1.3.6. Требования к защитным покрытиям

1.3.6.1. Все нерабочие поверхности форм, сменных элементов и запасных частей должны быть окрашены лакокрасочным материалом, удовлетворяющим условиям эксплуатации группы У2 по ГОСТ 9.104-79.

Лакокрасочные покрытия по показателям внешнего вида должны быть не ниже VI класса по ГОСТ 9.032-74.

Поверхности, подготовленные под окраску, должны быть очищены не ниже 3-й степени очистки от окислов по ГОСТ 9.402-80.

1.3.7. Требования безопасности

1.3.7.1. Конструкция форм должна обеспечивать безопасность ее эксплуатации, технического обслуживания и ремонта.

1.3.7.2. Конструкция форм должна предусматривать применение в процессе эксплуатации защитных устройств для обслуживающего персонала, предохраняющего его в случае обрыва арматуры.

1.3.7.3. Кожухи пружинных болтов должны быть надежно прикреплены к наружной форме гибкой связью, исключающей возможность травматизма персонала при разрыве штока.

1.3.7.4. Сборка секций наружной формы без фиксации их относительно друг друга специальными штифтами категорически запрещается.

1.3.7.5. Соединение секций наружной формы следует производить только пружинными болтами, оттарированными для данного диаметра.

1.3.7.6. При проведении крановых операций строповку формы допускается производить только за устройства, предназначенные для этой цели.

1.3.7.7. При изготовлении и эксплуатации формы должны выполняться требования системы стандартов безопасности труда, инструкций и документов, разработанных и утвержденных в установленном порядке.

1.3.8. Требования к сварке

1.3.8.1. Швы сварных соединений металлоконструкций выполняют по ГОСТ 5264-80, ГОСТ 14771-76 и ГОСТ 8713-79, трубопроводов - по ГОСТ 16037-80. Сварка должна производиться стальной сварочной проволокой по ГОСТ 2246-70 или электродами, физико-механические свойства которых не ниже чем у электродов типа Э46 по ГОСТ 9467-75.

1.3.8.2. Сварные швы на формующих поверхностях элементов формы должны быть зачищены заподлицо с основной поверхностью. Шероховатость зачищенной поверхности Ra£50 мкм по ГОСТ 2789-73.

1.3.8.3. При сварке не допускаются следующие дефекты:

трещины всех видов и направлений, расположенные в металле шва, по границе шва и в околошовной зоне;

подрезы основного металла глубиной более 0,5 мм при толщине металла до 6 мм и более 1 мм при толщине металла св. 6 мм;

скопления мелких пор и включений диаметром более 0,5 мм при числе пор в одном скоплении более 10 на 1 см2 поверхности шва.

1.3.8.4. При сварке прерывистым швом допускается увеличение длин провариваемых участков за счет уменьшения расстояний между ними до 25 % от указанных в технической документации, если это не препятствует дальнейшей сборке формы или ее элементов.

1.3.8.5. Исправление дефектов, кроме подрезов, должно производиться путем удаления сварного шва в месте дефекта, разделки и зачистки кромок и повторной заварки. При этом не допускается исправление дефектов в одном и том же месте более двух раз.

1.3.9. Требования к точности изготовления

1.3.9.1. Борта секций собранной наружной формы с установленными пружинными болтами должны плотно прилегать друг к другу в местах установки пружинных болтов.

Допускаются зазоры в бортах формы между пружинными болтами и по краям разъема бортов до 1,5 мм и длиной до 250 мм.

1.3.9.2. Пазы для пружинных болтов в сопрягаемых бортах секций наружной формы должны совпадать. Смещение пазов не должно превышать 1,5 мм вдоль оси формы.

1.3.9.3. Допуск прямолинейности образующих цилиндрической и конической частей внутренней поверхности наружной формы не должен превышать 2 мм по всей длине.

1.3.10. Требования к рабочим поверхностям

1.3.10.1. На формующих поверхностях формы не допускаются трещины, рябизна, плены, расслоения, заусенцы, продиры, коррозия, а также царапины, отпечатки глубиной более 0,5 мм, шириной более 2 мм и длиной более 20 мм числом более трех на 1 м2.

1.3.10.2. Стенки формующих поверхностей форм следует изготовлять из целого листа. Допускается образование этих поверхностей из нескольких частей со сваркой встык. Перепад листов в месте стыка не должен превышать 1 мм; кромка выступающего листа при этом должна быть зачищена на всей длине стыка на ширину не менее 20 мм.

1.3.10.3. Шероховатость конических посадочных поверхностей калибрующих, анкерных колец и фланцев формы Ra £ 5,0 мкм по ГОСТ 2789-73.

1.3.11. Требования к материалам

1.3.11.1. Для изготовления форм должны применяться стали с физико-механическими свойствами не ниже чем у сталей марок:

ВСт3пс3 по ГОСТ 380-71 - для внутренних и наружных форм, калибрующих колец;

40Х по ГОСТ 4543-71 с последующей термообработкой до твердости 240 ... 280 НВ - для штоков пружинных болтов;

35 по ГОСТ 1050-74 - для анкерных колец, болтов и гаек;

60С2А по ГОСТ 14959-79 - для тарельчатых пружин;

20 по ГОСТ 1050-74 или ВСт3пс5 по ГОСТ 380-71 - для элементов формы, предназначенных для строповки грузозахватными устройствами.

1.3.11.2. Твердость рабочей поверхности верхнего анкерного кольца формы, воспринимающей усилие от натяжения арматуры, должна быть не менее 207 НВ по ГОСТ 8.062-85.

1.3.11.3. Качество металла, предназначенного для изготовления формы, должно быть удостоверено сертификатом предприятия-изготовителя металла или актом специализированной лаборатории.

1.3.11.4. Материал резинового чехла и раструбообразователя должен соответствовать требованиям нормативно-технической документации на эти изделия.

1.4. Комплектность

1.4.1. В комплект формы, поставляемой предприятию-потребителю, должны входить:

внутренняя и наружная форма в сборе с калибрующим кольцом, верхним и нижним анкерными кольцами и крестовиной с захватами;

пружинные болты;

резиновый чехол;

раструбообразователь;

рукав высокого давления;

комплект захватных и фиксирующих втулок;

комплект инструментов для установки и контроля положения арматурного каркаса в форме (по заявке потребителя);

комплект пружинных болтов (5 шт.).

Примечание. По согласованию с предприятием-потребителем форм допускается поставка резиновых чехлов и раструбообразователей с предприятия-изготовителя этих изделий предприятию-потребителю форм.

1.4.2. К комплекту форм должна быть приложена эксплуатационная документация по ГОСТ 2.601-68.

1.4.3. Сопроводительная документация форм, предназначенных для экспорта, - по ГОСТ 6.37-79 и заказу-наряду внешнеторговой организации.

1.5. Маркировка

1.5.1. На каждой форме должна быть укреплена табличка из коррозионно-стойкого материала, изготовленная по ГОСТ 12969-67 и ГОСТ 12971-67.

На табличке должны быть нанесены:

наименование или товарный знак предприятия-изготовителя;

индекс, тип, диаметр формы;

порядковый номер формы по системе нумерации предприятия-изготовителя;

год выпуска;

обозначение настоящего стандарта.

1.5.2. На формах, изготовляемых для экспорта, табличка должна содержать:

наименование или товарный знак предприятия-изготовителя;

порядковый номер формы по системе нумерации предприятия-изготовителя;

надпись «Made in USSR».

1.5.3. Съемные узлы, входящие в комплект формы, должны иметь на нерабочих поверхностях маркировку с указанием диаметра условного прохода трубы, изготавливаемой в форме.

1.6. Упаковка

1.6.1. Формы отправляют потребителю частично упакованными.

1.6.2. Малогабаритные сборочные единицы и детали, пружинные болты и крепежные детали должны быть упакованы в ящик, выложенный внутри водонепроницаемым материалом.

1.6.3. Ящики для упаковки должны изготовляться по ГОСТ 10198-78, тип I, щитовые неразборные сплошные, собранные на четырех планках.

1.6.4. Раструбообразователь и резиновый чехол отправляют потребителю согласно регламенту предприятия-изготовителя резинотехнических изделий.

1.6.5. Основные параметры грузовых мест формы должны соответствовать указанным в табл. 4.

Таблица 4

Наименование и состав грузового места

Значение параметров грузового места, не более

Число мест

Габаритные размеры, мм

Масса, кг

Длина

Ширина

Высота

Форма в сборе без упаковки

1

5800

2400

2400

16000

Деревянный ящик (мелкие сборочные единицы)

1

1600

1000

800

1000

Примечание. Приведенные в таблице параметры грузовых мест даны для наибольшего типоразмера формы и могут меняться в зависимости от конкретного типоразмера.

1.6.6. Эксплуатационная и товаросопроводительная документация должна быть упакована в соответствии с ГОСТ 23170-78 и уложена в ящик с мелкими сборочными единицами.

1.6.7. В наружный пакет с документацией должен быть вложен вкладыш из бумаги или картона с четкой надписью на русском языке и языке, указанном в заказе-наряде внешнеторговой организации (последнее только для экспорта), «Техническая и сопроводительная документация», которую можно прочесть, не вскрывая пакета.

1.6.8. Каждое грузовое место должно иметь транспортную маркировку по ГОСТ 14192-77, содержащую основные, дополнительные и информационные надписи.

Транспортную маркировку грузовых мест, транспортируемых без упаковки, наносят на фанерные ярлыки, а ящиков - на одну из боковых сторон. Способ нанесения маркировки - водостойкая краска, шрифт чертежный.

Ярлыки должны быть надежно прикреплены к сборочным единицам проволокой.

1.6.9. Неокрашенные формующие металлические поверхности форм и ее сборочных единиц, транспортируемых без упаковки, а также мелкие сборочные единицы, запасные части, инструмент и принадлежности перед упаковкой должны быть подвергнуты консервации по группе II-1, вариант защиты ВЗ-4 по ГОСТ 9.014-78.

Срок действия консервации - 3 года.

1.6.10. Консервацию резинотехнических изделий производят согласно нормативно-технической документации на эти изделия.

2. ПРИЕМКА

2.1. Формы должны быть приняты отделом технического контроля предприятия-изготовителя форм по результатам входного, операционного и приемочного контроля.

2.2. При входном контроле материалов и комплектующих изделий устанавливают их соответствие техническим требованиям, изложенным в п. 1.3.11.

2.3. При операционном контроле на технологических постах устанавливают соответствие изготовляемых элементов форм следующим требованиям: длина наружной формы, длина внутренней формы, длина раструбообразователя, длина калибрующего кольца, толщина анкерных колец, наружный диаметр раструбообразователя, внутренний диаметр калибрующего кольца, наружный диаметр калибрующего и нижнего анкерного колец, а также табл. 3 и пп. 1.3.8 - 1.3.10.

2.4. При приемо-сдаточных испытаниях осуществляют приемку каждой формы, устанавливая соответствие ее следующим требованиям: число разъемов наружной формы, внутренний диаметр наружной формы, масса формы, диаметральное расстояние между осями отверстий и выступов пазов анкерных колец, радиальное смещение анкерных и калибрующего колец, сборка и разборка формы с применением механизированного инструмента, фиксация секций наружной формы при помощи специальных штифтов, плотное соединение стыков, применение грузозахватных устройств, установка и фиксация защитных устройств и пп. 1.3.6 и 1.3.7.3.

2.5. Периодические испытания форм проводят на предприятии-потребителе форм в процессе их эксплуатации на соответствие требованиям пп. 1.3.1 - 1.3.5, 1.3.7. При этом фактический ресурс форм и ее элементов устанавливают по данным заводских документов, удостоверяющих соответствие его п. 1.3.5.

Периодическим испытаниям подвергают две формы каждого диаметра, проработавших не менее 100 циклов, не реже одного раза в два года.

Кроме того, периодические испытания форм проводят при изменении конструкции или технологии изготовления или вида и качества материалов.

3. МЕТОДЫ КОНТРОЛЯ

3.1. Cредства измерения

Рулетки металлические по ГОСТ 7502-80, 2-го класса точности.

Линейки по ГОСТ 427-75.

Щупы по ГОСТ 882-75, 2-го класса точности.

Штангенциркули по ГОСТ 166-80.

Штангенглубиномеры по ГОСТ 162-80.

Нутромеры по ГОСТ 10-75.

Профилометры-профилографы по ГОСТ 19300-86.

Образцы шероховатости поверхности по ГОСТ 9378-75.

Манометры по ГОСТ 2405-80.

Лупы измерительные 10´ по ГОСТ 25706-83.

Весы для статического взвешивания по ГОСТ 23679-79, 2-го класса точности.

Динамометр по ГОСТ 13837-79.

Нестандартизованные средства измерений линейных размеров, прошедшие метрологическую аттестацию в соответствии с ГОСТ 8.326-78.

3.2. Применяемые средства измерения геометрических размеров должны обеспечивать погрешность измерения не более 1/3 допуска измеряемого параметра формы.

3.3. Длину наружной формы и толщину нижнего анкерного кольца контролируют нестандартизованными средствами измерений, толщину верхнего анкерного кольца - штангенциркулем.

3.4. Длину внутренней формы, диаметры раструбообразователя и калибрующего кольца контролируют металлической рулеткой по образующим в четырех местах через 90°.

3.5. Внутренние диаметры наружной формы, анкерных и калибрующих колец контролируют нутромером дважды через 90°.

Внутренний диаметр наружной формы контролируют в собранной форме на стенде или в вертикальном положении с технологическими прокладками, имитирующими величину раздвижки на расстоянии 0,8 м от ее торцов.

3.6. Наружные диаметры внутренней формы, раструбообразователя контролируют штангенциркулем или нестандартизированными средствами измерений дважды через 90°.

3.7. Диаметральное расстояние между осями отверстий и пазов анкерных колец и радиальное смещение анкерных и калибрующих колец контролируют штангенциркулем.

3.8. Качество сварных швов внутренней формы проверяют по ГОСТ 3242-79 внешним осмотром и капиллярным методом путем смачивания керосином на выявление сквозных дефектов.

3.9. Качество сварных швов соединений продольных бортов секций с остальными элементами наружной формы проверяют в течение всего технологического процесса в соответствии с заводской документацией, согласованной с базовой организацией по формам, а остальных швов формы - внешним осмотром и измерением по ГОСТ 3242-79.

(Поправка. ИУС № 6-1990 г.).

3.10. Испытание внутренней и наружной формы в сборе на прочность и герметичность проводят на посту гидропрессования предприятия-потребителя формы в процессе эксплуатации путем подачи воды под резиновый чехол давлением, превышающим на 0,4 МПа (4,00 кгс/см2) опрессовочное давление, указанное в табл. 1.

3.11. Лакокрасочные покрытия контролируют по ГОСТ 9.032-74.

3.12. Шероховатость поверхности по пп. 1.3.8.2, 1.3.10.3 контролируют профилографом-профилометром или образцами шероховатости поверхности.

3.13. Зазоры по п. 1.3.9.1 проверяют щупом.

3.14. Смещение пазов в продольных бортах контролируют штангенглубиномером.

3.15. Прямолинейность образующих цилиндрической и конической частей внутренней поверхности наружной формы контролируют щупом и нестандартизованными средствами измерения по двум образующим в каждой секции.

3.16. Качество формующих поверхностей по п. 1.2.10.1 контролируют визуально, штангенциркулем и профилографом-профилометром или образцами шероховатости поверхности.

3.17. За результаты измерения линейных размеров принимают измерения, не выходящие за пределы допусков.

4. ТРАНСПОРТИРОВАНИЕ И ХРАНЕНИЕ

4.1. Транспортирование

4.1.1. Перевозку форм производят транспортом любого вида в соответствии с требованиями ГОСТ 9238-83 и «Техническими условиями погрузки и крепления грузов».

Вид транспортных средств - открытый.

Условия транспортирования - по ГОСТ 15150-69, группа ОЖ1.

4.1.2. При установке формы на площадку транспортного средства следует подкладывать деревянные прокладки под цилиндрическую часть формы, не допуская касания раструбом платформы.

Допускается укладка форм на транспортном средстве в два ряда с деревянными прокладками между рядами. На деревянных прокладках в местах опирания форм должны быть сделаны седловидные выемки.

Крепление форм следует производить за узлы, предназначенные для строповки грузозахватными устройствами.

4.2. Хранение

4.2.1. Условия хранения форм у изготовителя и потребителя должны соответствовать группе ОЖ2 по ГОСТ 15150-69. При хранении форм чехлы и раструбообразователи должны быть сняты, формы хранят в вертикальном положении с установкой их на раструбную часть. Допускается хранение форм на открытой площадке с обеспечением защиты от попадания атмосферных осадков внутрь формы.

4.2.2. Хранение резиновых чехлов и раструбообразователей должно производиться в затемненном помещении при температуре от 0 до плюс 35 °С при относительной влажности воздуха не более 85 % и на расстоянии не менее 1,5 м от источника тепла. Резиновые чехлы хранят в горизонтальном положении подвешенными на полуцилиндрах с длиной дуги от 500 до 900 мм, нижняя часть чехла должна касаться опоры.

Раструбообразователи должны быть уложены на опорную поверхность.

При хранении чехлы и раструбообразователи должны быть защищены от воздействия прямых солнечных лучей и не должны подвергаться действию бензина, масел и других разрушающих резину веществ.

5. УКАЗАНИЯ ПО ЭКСПЛУАТАЦИИ

5.1. Перед сборкой формы резиновый чехол и раструбообразователи должны быть смазаны мыльной эмульсией.

5.2. Соединительные поверхности между раструбообразователем и чехлом должны быть проклеены специальной клейкой лентой.

5.3. В период эксплуатации не реже одного раза в 3 мес следует производить разборку и чистку пружинных болтов, после чего их необходимо вновь тарировать.

5.4. При эксплуатации следует руководствоваться требованиями, изложенными в СНиП 3.09.01-85, приложение 2.

6. ГАРАНТИИ ИЗГОТОВИТЕЛЯ

6.1. Изготовитель гарантирует соответствие форм требованиям настоящего стандарта при соблюдении условий транспортирования, хранения и эксплуатации.

6.2. Гарантийный срок эксплуатации форм, а также форм, поставляемых на экспорт, - 12 мес со дня ввода их в эксплуатацию, но не более 18 мес со дня поступления форм на предприятие-потребитель.

6.3. Гарантийный срок эксплуатации резинотехнических изделий - в соответствии с нормативно-технической документацией на эти изделия.

СОДЕРЖАНИЕ

 




Яндекс цитирования



   Copyright © 2007-2026,  www.tehlit.ru.

[ ѓосты, стандарты, нормативы, инструкции, правила, строительные нормы ]