//
ТехЛит.ру
- крупнейшая бесплатная электронная интернет библиотека для "технически умных" людей.
WWW.TEHLIT.RU - ТЕХНИЧЕСКАЯ ЛИТЕРАТУРА

:: Алготрейдинг::


АЛГОТРЕЙДИНГ
шаг за шагом
с нуля по урокам!

Торговые роботы на PYTHON, BackTrader,
Pandas, Pine Script для TradingView. Связка с брокерами, телеграм и легкими приложениями.


ГОСТ 3168-93

(ИСО 647-74)

МЕЖГОСУДАРСТВЕННЫЙ СТАНДАРТ

ТОПЛИВО ТВЕРДОЕ МИНЕРАЛЬНОЕ

МЕТОДЫ ОПРЕДЕЛЕНИЯ ВЫХОДА ПРОДУКТОВ
ПОЛУКОКСОВАНИЯ

МЕЖГОСУДАРСТВЕННЫЙ СОВЕТ
ПО СТАНДАРТИЗАЦИИ, МЕТРОЛОГИИ И СЕРТИФИКАЦИИ

Минск

Предисловие

1 РАЗРАБОТАН Госстандартом России

ВНЕСЕН Техническим секретариатом Межгосударственного Совета по стандартизации, метрологии и сертификации

2 ПРИНЯТ Межгосударственным Советом по стандартизации, метрологии и сертификации 21 октября 1993 г.

За принятие проголосовали

Наименование государства

Наименование национального органа стандартизации

Республика Кыргызстан

Кыргызстандарт

Российская Федерация

Госстандарт России

Республика Таджикистан

Таджикстандарт

Туркменистан

Туркменглавгосинспекция

Украина

Госстандарт Украины

3 Постановлением Комитета Российской Федерации по стандартизации, метрологии и сертификации от 02.06.94 № 160 межгосударственный стандарт ГОСТ 3168-93 введен в действие непосредственно в качестве государственного стандарта Российской Федерации с 1 января 1995 года.

4 ВЗАМЕН ГОСТ 3168-66

МЕЖГОСУДАРСТВЕННЫЙ СТАНДАРТ

ТОПЛИВО ТВЕРДОЕ МИНЕРАЛЬНОЕ

Методы определения выхода продуктов полукоксования

Solid mineral fuels. Methods for determination of the yield of products by low temperature distillation

ГОСТ
3168-93

(ИСО 647-74)

Дата введения 01.01.95

Настоящий стандарт распространяется на бурые и каменные угли, лигниты, горючие сланцы и торф (далее - топливо) и устанавливает два метода определения выхода смолы, пирогенетической воды, полукокса и газа при полукоксовании: медленный и ускоренный.

Медленный метод определения выхода продуктов полукоксования является обязательным при анализе арбитражных проб и при наличии разногласий в определениях.

Ускоренный метод распространяется только на бурые и каменные угли.

Термины, применяемые в настоящем стандарте, и пояснения к ним приведены в приложении.

1. МЕТОД МЕДЛЕННОГО ОПРЕДЕЛЕНИЯ ВЫХОДА ПРОДУКТОВ ПОЛУКОКСОВАНИЯ

ВВЕДЕНИЕ

Выход продуктов полукоксования, особенно выход смолы, положен в основу классификации бурых углей и лигнитов как сырья для процессов низкотемпературной переработки.

Дополнения и изменения, отражающие потребности народного хозяйства, выделены курсивом.

1.1. НАЗНАЧЕНИЕ И ОБЛАСТЬ ПРИМЕНЕНИЯ

Настоящий стандарт устанавливает метод определения выхода смолы, пирогенетической воды, газа и полукокса, полученных при медленном полукоксовании бурых и каменных углей, лигнитов, горючих сланцев и торфа при конечной температуре 520 °С.

1.2. ССЫЛКИ

ГОСТ 27314* «Топливо твердое минеральное. Методы определения влаги».

* Допускается до введения ИСО 1015 в качестве государственного стандарта.

ГОСТ 11022 «Топливо твердое минеральное. Методы определения зольности».

ГОСТ 27313 «Топливо твердое. Обозначения аналитических показателей и формулы пересчета результатов анализа для различных состояний топлива».

ГОСТ 11305 «Торф. Методы определения влаги».

ГОСТ 11306 «Торф и продукты его переработки. Методы определения зольности».

1.3. СУЩНОСТЬ МЕТОДА

Пробу топлива нагревают в алюминиевой реторте до температуры 520 °С в течение 80 мин. Продукты разложения поступают в приемник, охлаждаемый водой; смола и вода конденсируются, а газообразные вещества выделяются в атмосферу. Полукокс, остающийся в реторте, взвешивают. Приемник взвешивают вместе с продуктами конденсации. Массу воды в приемнике определяют объемным методом отгонкой с толуолом, массу смолы вычисляют по разности.

Общая масса воды в приемнике складывается из влаги, содержащейся в пробе, и пирогенетической воды, образующейся при разложении топлива. Отдельно определяют массовую долю влаги в топливе тем же объемным методом отгонки с толуолом, что позволяет рассчитать выход пирогенетической воды.

Выход газа в процентах (плюс ошибки) получают вычитанием из 100 % суммы выходов полукокса, смолы и пирогенетической воды в процентах.

Результаты анализа представляют в расчете на аналитическое и сухое состояние топлива.

1.4. РЕАКТИВЫ

1.4.1. Графитовая паста: измельчают сухой порошкообразный графит и смешивают с водой или густым смазочным маслом до необходимой консистенции.

1.4.2. Толуол с температурой кипения от 109 до 111 °С по ГОСТ 5789.

1.4.3. Вазелин

1.5. АППАРАТУРА

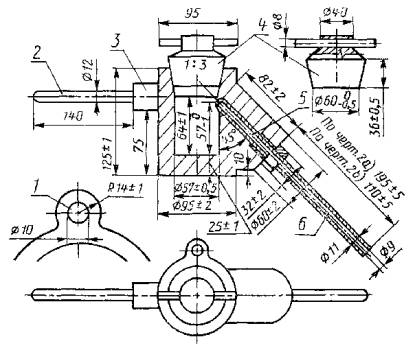
1.5.1. Реторта с притертой крышкой из алюминия по ГОСТ 4784 с содержанием алюминия не менее 99,5 % (черт. 1). Вместимость реторты вместе с выходной трубкой составляет (170 + 10) см3. Отводная трубка изготовлена из латуни, ее внутренние стенки должны быть чистыми и полированными. Латунная отводная трубка может быть соединена с ретортой с помощью резьбы. Новую реторту перед использованием следует прогреть в течение 20 мин при 520 °С.

РЕТОРТА

1 - отверстие для термометра; 2 - рукоятка; 3 - резьбовое соединение (М12); 4 - крышка; 5 - выходная трубка; 6 - отводная трубка

Черт. 1

Если в результате износа верхняя кромка конической части крышки опустится ниже верхней кромки реторты, свободный объем составит менее 160 см2 и крышку следует заменить.

Новая крышка большого размера должна быть притерта так, чтобы верхняя кромка крышки выступала над верхней кромкой реторты не менее чем на 7 мм. В этом случае свободный объем реторты не превысит 180 см3.

1.5.2. Печь с электрическим или газовым обогревом. Для электрического нагрева используют печи с проволокой высокого сопротивления или с карбидно-кремниевыми стержнями. Печь должна обеспечивать нагрев реторты в соответствии с таблицей повышения температуры (п. 1.7).

1.5.3. Термопара и милливольтметр или ртутный термометр, откалиброванные и предназначенные для измерения температуры до 550 °С. Глубина отверстия для термометра (85 ± 1) мм.

Примечание. Перед применением новый термометр следует откалибровать. Повторные калибровки осуществляют с интервалом в один месяц, сравнивая с показаниями стандартного термометра.

1.5.4. Приемник. Стеклянная круглодонная колба вместимостью 750 см3 с коническим шлифом, с длинной или короткой шейкой в зависимости от способа соединения с ретортой (см. черт. 2), снабженная резиновой или стеклянной пробкой.

1.5.5. Баня (сосуд) для охлаждения колбы-приемника такого размера, чтобы расстояние между стенками колбы и сосуда было не менее 20 мм. Поток воды через баню устанавливают таким образом, чтобы поддерживать температуру в бане в пределах 10 - 15 °С.

Допускается применять баню без подвода и отвода воды, но с сохранением вышеуказанных требований.

1.5.6. Прибор перегонный для определения влаги в- топливе объемным методом по ГОСТ 27314.

1.5.7. Экран защитный из жести толщиной 2 мм, со стороны реторты покрыт теплозащитным материалом. Экран располагают между ретортой и баней.

1.5.8. Весы с погрешностью взвешивания не более 0,05 г.

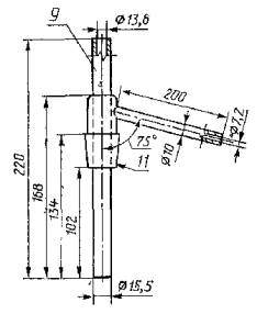
Расположение колбы-приемника в охлаждающей бане

Соединительная трубка

1 - газоотводная трубка; 2 - термостойкая пробка; 3 - уровень охлаждающей воды; 4 - выходное отверстие; 5 - колба-приемник; 6 - баня-сосуд для охлаждения; 7 - нагревательная печь; 8 - реторта с отводной трубкой; 9 - стеклянная соединительная трубка; 10 - холодная вода; 11 - шлиф

Черт. 2

1.6. ПОДГОТОВКА ПРОБЫ

Отбор и подготовка проб - по ГОСТ 10742 и ГОСТ 11303.

Лабораторную пробу помещают на противень и высушивают на воздухе до достижения приблизительного равновесия между влажностью пробы и окружающей атмосферы. Осторожно измельчают пробу так, чтобы не менее 90 % ее проходило через сито с отверстиями размером 1 мм и не более чем 50 % - через сито 0,2 мм. Если массовая доля влаги измельченной пробы составит более 20 %, то пробу продолжают сушить на воздухе до снижения ее до 10 – 20 %.

Анализируемую пробу следует хранить в герметически закупоренной емкости. Допускается хранить пробу в емкости, закрытой крышкой и наполненной более чем на 80 % ее вместимости, но не более одной недели.

Примечание. Если пробу хранят в емкостях, не закрытых герметично или недостаточно заполненных, более недели, то потери выхода смолы могут достичь 0,5 %, а в некоторых случаях стать значительно выше.

1.7. ПРОВЕДЕНИЕ АНАЛИЗА

Проверяют реторту на герметичность. Для этого закрывают реторту крышкой, на отводную трубку реторты надевают резиновую трубку с резиновой грушей на конце. Реторту, закрытую крышкой, погружают в сосуд с водой и с помощью резиновой груши нагнетают в реторту воздух. Отсутствие пузырьков воздуха в воде указывает на герметичное соединение крышки с ретортой и отводной трубки с ретортой.

При обнаружении неплотности соединения отводной трубки с ретортой последнюю заменяют.

При обнаружении неплотности присоединения крышки к реторте поверхность крышки и реторты (в месте соединения) смазывают графитовой пастой или смесью вазелина с графитовым порошком и притирают. Для этого используют стержень, вставленный в крышку реторты. Одной рукой держат стержень, другой - реторту и вращают крышкой вправо и влево, равномерно меняя положение реторты, относительно крышки.

После окончания притирки графитовую пасту или смесь вазелина с графитом снимают мягкой тканью, шлифованные поверхности смазывают вазелином и притирают в течение 10 мин. Снимают вазелин мягкой тканью и снова испытывают реторту на герметичность.

Приблизительно 50 г анализируемой пробы взвешивают с погрешностью не более 0,05 г и полностью переносят в реторту.

При внесении навески в реторту следят за тем, чтобы, топливо не попало в отводную трубку реторты.

Коническую часть крышки слегка смазывают графитовой пастой и закрывают реторту, вращая крышку. Допускается слегка нагреть верхнюю часть реторты с помощью газовой горелки и затем плотно закрыть ее холодной крышкой.

Одновременно определяют массовую долю влаги в анализируемой пробе углей и сланцев объемным методом по ГОСТ 27314 и торфа по ГОСТ 11305, а также зольность углей и сланцев по ГОСТ 11022 и торфа по ГОСТ 11306. Массовую долю диоксида углерода в исходной пробе и полукоксе определяют по ГОСТ 13455.

Колбу-приемник с пробкой взвешивают с погрешностью не более 0,05 г. Приемник присоединяют к отводной трубке реторты с помощью термостойкой пробки (см. черт. 2,а) или стеклянной соединительной трубки (см. черт. 2,б). В последнем случае латунную отводную трубку вставляют в стеклянную трубку приблизительно на 8 мм и герметизируют это соединение с помощью резиновой трубки небольшой длины. Место соединения обматывают ватой, асбестом, льняной тканью, фильтровальной бумагой или подобным материалом и охлаждают струей воды во время нагрева реторты.

Реторту помещают в печь (см. примечание 1), а приемник в охлаждающую баню (см. примечание 2) и убеждаются в газонепроницаемости аппарата. Включают подачу воды в бане и нагревают реторту в соответствии со схемой, приведенной в табл. 1.

Таблица 1

Время от начала нагревания, мин

Температура, °С

10

220

20

310

30

380

40

440

50

480

60

505

70

520

80

520

Скорость нагрева поддерживают в пределах, указанных на черт. 3.

В конце указанного периода выключают нагрев и вынимают из печи реторту, соединенную с приемником, оставляют стоять в течение 10 мин, чтобы остатки смолы из отводной трубки могли стечь в приемник. Отсоединяют приемник от реторты и, если необходимо, очищают отводную трубку от оставшейся смолы с помощью небольшого шпателя, перенося ее в приемник (см. примечание 3). Приемник и отводную трубку реторты закрывают пробками и реторту охлаждают до комнатной температуры.

График нагрева

Общее время полукоксования от 20 до 520 °С - 80 мин. Эффективное время полукоксования от 310 до 520 °С - 60 - мин.

Черт. 3

Допускается проводить операции после окончания полукоксования в следующей последовательности: удаляют баню для охлаждения колбы-приемника, слегка нагревают с помощью газовой горелки отводную трубку реторты и дают стечь остаткам смолы, после этого отсоединяют колбу-приемник от реторты, а реторту вынимают из печи и дают ей охладиться до комнатной температуры, предварительно закрыв колбу-приемник и отводную трубку реторты пробками.

Полукокс тщательно переносят из реторты в предварительно взвешенную бюксу и взвешивают с погрешностью до 0,05 г.

Удаляют воду, прилипшую к поверхности колбы-приемника, и взвешивают колбу, чтобы определить суммарную массу смолы и воды. В приемник добавляют 200 см3 толуола и определяют массовую долю общей влаги с помощью обменного метода по ГОСТ 27314 для углей и сланцев и ГОСТ 11305 - для торфа.

Примечания:

1. Некоторые типы печей следует предварительно нагреть до внесения реторты, чтобы температура внутри достигла 220 °С через 10 мин.

2. Колбу-приемник следует погрузить в баню как можно глубже, но резиновая пробка или шлиф не должны находиться в воде.

3. Только очень небольшое количество смолы можно оставить в чистой полированной латунной трубке.

1.8. ОБРАБОТКА РЕЗУЛЬТАТОВ

Выход продуктов полукоксования из аналитической пробы топлива в процентах вычисляют по формулам:

полукокс

смола

пирогенетическая вода

газ (плюс ошибки) = 100 - (полукокс + смола + общая вода) = ,

где т0 - масса навески, г;

m1 - масса пустой колбы-приемника с пробкой, г;

т2 - масса колбы-приемника с пробкой вместе со смолой и общей водой, г;

т3, - масса общей воды, определенная объемным методом по ГОСТ 27314, г;

m4 - масса полукокса, г;

Wa - массовая доля влаги в пробе, %.

Выход продуктов полукоксования в расчете на сухое топливо получают, умножая приведенные выше результаты на множитель

При массовой доле диоксида углерода в анализируемом топливе более 2 % выход беззольного полукокса (sK)aC,CO2 вычисляют по формуле

где Aа - зольность топлива, %;

(CO2)sK - массовая доля диоксида углерода в полукоксе, %

Примечание. Индекс а относится к анализируемой пробе с крупностью зерен менее 1 мм.

Результат (предпочтительно среднее значение двух определений по п. 1.9) вычисляют с точностью до 0,1 %.

Выход смолы, пирогенетической воды, полукокса и газа представляют в расчете на аналитическое и сухое состояние топлива.

Выход смолы полукоксования может быть пересчитан на сухое беззольное состояние топлива.

Пересчет результатов анализа на другие состояния топлива по ГОСТ 27313.

1.9. ТОЧНОСТЬ МЕТОДА

1.9.1. Сходимость

Расхождение результатов двух определений, проведенных в разное время в одной и той же лаборатории одним лаборантом с применением одной и той же аппаратуры на представительных навесках, взятых из одной и той же пробы, не должно превышать значений, указанных в табл. 2.

Таблица 2

Вид продукта (на сухое состояние)

Максимально допустимое расхождение между результатами, %, абс.

Сходимость

Воспроизводимость

Смола

0,5

0,7

Пирогенетическая вода

0,4

0,8

Полукокс

0,7

1,0

1.9.2. Воспроизводимость

Расхождение результатов двух определений, выполненных в двух разных лабораториях на навесках, взятых из одной и той же лабораторной пробы, не должно превышать значений, указанных в табл. 2.

1.9.3. Если расхождение между результатами двух определений превышает значения, приведенные в табл. 2 проводят третье определение. За результат анализа принимают среднее арифметическое двух наиболее близких результатов в пределах допускаемых расхождений.

Если результат третьего определения находится в пределах допускаемых расхождений по отношению к каждому из двух предыдущих результатов, то за результат анализа принимают среднее арифметическое результатов трех определений.

1.10. ПРОТОКОЛ ИСПЫТАНИЯ

Протокол испытания должен включать следующие данные:

а) ссылку на применяемый метод;

б) результаты и способ их выражения;

в) особенности, замеченные при определении;

г) операции, не включенные в настоящий стандарт или необязательные.

2. МЕТОД УСКОРЕННОГО ОПРЕДЕЛЕНИЯ ВЫХОДА ПРОДУКТОВ ПОЛУКОКСОВАНИЯ

2.1. Сущность метода

Метод заключается в нагревании 1 г аналитической пробы угля в стеклянной реторте до 550 °С без доступа воздуха и раздельном определении выхода, смолы, пирогенетической воды и полукокса по увеличению массы смоло-, водоприемников и реторты соответственно.

2.2. Реактивы

Натрий хлористый, х. ч., по ГОСТ 4233, насыщенный раствор, подкисленный раствором соляной кислоты любой концентрации до перехода индикатора метилового красного или метилового оранжевого в красный цвет.

Кобальт хлористый, х. ч., по ГОСТ 4525.

2.3. Аппаратура

2.3.1. Прибор для полукоксования из термостойкого стекла состоит из реторты, смолоприемника и водоприемника по ГОСТ 8682, соединенных шлифами. Размеры указаны на черт. 4.

Новую реторту прокаливают в муфельной печи при температуре не выше 600 °С, смоло- и водоприемники сушат при 100 °С и взвешивают. Все части прибора хранят в эксикаторе.

2.3.2. Печь трубчатая электрическая, обеспечивает равномерный нагрев реторты до 550 °С.

2.3.3. Печь трубчатая электрическая разъемная обеспечивает нагрев смолоприемника не более чем на 100 °С.

2.3.4. Термопара по п. 1.5.3.

Черт. 4

2.3.5. Весы аналитические с погрешностью взвешивания не более 0,2 мг.

2.4. Подготовка к анализу

2.4.1. Собирают установку для определения выхода продуктов полукоксования ускоренным методом по схеме, изображенной на черт. 5.

Соединяют реторту, смоло- и водоприемник, слегка притирая шлифы.

Прибор должен быть расположен строго горизонтально. Печи 3 и 5 соприкасаются друг с другом торцевыми сторонами, центры отверстий печей совпадают. Шарообразная часть водоприемника плотно прикрывает отверстие в печи 5. Термопара в печи 5 должна находиться под шлифом водоприемника на расстоянии 100 мм от края печи.

Установка для определения выхода продуктов полукоксования ускоренным методом

1 - термопара; 2 - шамотная проба; 3 - трубчатая печь; 4 - реторта для полукоксования; 5 - трубчатая печь разъемная; 6 - смолоприемник; 7 - водоприемник; 8 - резиновая трубка; 9 - водяной манометр; 10 - сборник газа; 11 - стеклянная трубка; 12 - штатив для всей установки; 13 - отвой для воды; 14 - цилиндр мерный; 15 - гальванометр; 16 - лабораторный автотрансформатор на 2 А; 17 - лабораторный автотрансформатор на 9 А

Черт. 5

В сборник газа наливают насыщенный раствор хлористого натрия, высота столба жидкости не менее 50 мм.

2.4.2. Установку для определения выхода продуктов полукоксования ускоренным методом проверяют на герметичность.

2.4.3. Проверяют полноту улавливания водоприемником всей образующейся влаги. Для этого в наиболее узкую часть вкладывают небольшой кусочек ваты, вносят в реторту с помощью пипетки каплю воды массой не более 0,04 г и проводят опыт без подключения газосборника. По окончании опыта определяют увеличение массы всех частей прибора, и составляют баланс распределения воды. Прибор пригоден для применения, если потери воды не превышают 0,001 г. Все части прибора высушивают и взвешивают.

2.5. Проведение анализа

2.5.1. Аналитическую пробу угля, приготовленную по ГОСТ 10742, доводят до воздушно-сухого состояния, тщательно перемешивают, отбирают навеску массой (1 ± 0,01) г с погрешностью не более 0,0002 г и помещают в реторту.

Одновременно с проведением определения выхода продуктов полукоксования в той же пробе угля определяют массовую долю влаги по ГОСТ 27314 и зольность по ГОСТ 11022.

2.5.2. Нагревают печь 5 до температуры конденсации смолы, равной (95 ± 5) °С для бурых, углей и каменных углей марок Д и Г и (75 ± 2) °С - для остальных каменных углей.

После этого начинают нагрев лечи 3 со скоростью 20 °С в 1 мин.

2.5.3. Закрывают кран газосборника после прекращения газовыделения (обычно в середине опыта) и открывают его снова, когда выделяющийся газ вытеснит всю воду из трубки.

2.5.4. С 13-й минуты от начала нагрева печи 3 снижают температуру печи 5 так, чтобы к концу опыта она была на 10 - 20 °С ниже установленной температуры конденсации смолы.

2.5.5. Печь 3 нагревают до температуры 550 °С, после чего ее быстро отодвигают.

2.5.6. После окончания выделения газа из прибора для полукоксования, о чем судят по прекращению вытекания воды из газосборника, кран газосборника закрывают.

2.5.7. Открывают верхнюю часть печи 5 и снимают резиновую трубку с конца водоприемника. Прибор вынимают из печей, закрывают конец водоприемника резиновой трубкой с бусинкой.

Если после опыта обнаружены капли воды в смолоприемнике, опыт считают недействительным.

2.5.8. Через 15 мин после окончания опыта во избежание переброса частиц полукокса в смолоприемник. приоткрывают резиновую трубку с бусинкой у водоприемника и вновь быстро закрывают. После этого отсоединяют реторту, смолоприемник и водоприемник друг от друга и переносят их к весам.

2.5.9. Через 30 мин после окончания опыта все три части прибора взвешивают - сначала смолоприемник, затем водоприемник и, наконец, реторту.

2.5.10. После взвешивания, снова проверяют отсутствие воды в смолоприемнике, пользуясь для этого индикаторной бумагой. При наличии следов воды индикаторная бумага розовеет, что указывает на неполное разделение смолы и воды.

Примечание. Индикаторную бумагу готовят следующим образом: тонкие полоски фильтровальной бумаги смачивают концентрированным раствором хлористого кобальта и высушивают в сушильном шкафу при 100 - 150 °С. Высушенную индикаторную бумагу хранят в эксикаторе.

2.5.11. По окончании испытания реторту и смолоприемник прокаливают в муфельной печи при температуре не выше 600 °С.

2.6. Обработка результатов

2.6.1. Масса смолы полукоксования соответствует увеличению массы смолоприемника. Выход смолы рассчитывают как отношение массы смолы к массе навески в процентах.

2.6.2. Масса пирогенетической воды соответствует увеличению массы водоприемника с учетом массы аналитической влаги в навеске угля. Выход пирогенетической воды (WasK) в процентах вычисляют как отношение массы пирогенетической воды к массе навески по формуле

где т0 - масса навески, г;

т5 - увеличение массы водоприемника, г;

Wa - массовая доля аналитической влаги в угле, %.

2.6.3. Массу полукокса определяют по разности масс реторты с полукоксом и пустой реторты.

Выход полукокса вычисляют как отношение массы полукокса к массе навески в процентах.

2.6.4. Пересчет результатов анализа на другие состояния топлива - по ГОСТ 27313.

2.7. Точность метода - по п. 1.7.

2.8. Протокол испытаний - по п. 1.8.

ПРИЛОЖЕНИЕ

Справочное

Термины и обозначения, применяемые в стандарте, и пояснения к ним

Термин

Обозначение

Эквивалент на английском языке

Пояснение

Полукоксование

 

Lom temperature distillation

Термическое разложение топлива без доступа воздуха при температуре 500 - 550 °С

Выход смолы (полукоксования)

ТsК

The yield of tar by low temperature distillation

Масса жидких органических продуктов разложения единицы массы топлива при его нагревании в установленных стандартом условиях полукоксования

Выход пирогенетической воды

WsK

The yield of water decomposition

Масса воды, образующейся при разложении единицы массы топлива в установленных стандартом условиях коксования

Выход полукокса

sK

The yield do coke residue

Масса твердого нелетучего остатка, полученного при разложении единицы массы топлива в установленных стандартом условиях полукоксования

Выход газа (полукоксования)

GsK

The yield of gas

Масса смеси различных газов, образующихся при разложении единицы массы топлива в установленных стандартом условиях полукоксования

ИНФОРМАЦИОННЫЕ ДАННЫЕ

ССЫЛОЧНЫЕ НОРМАТИВНО ТЕХНИЧЕСКИЕ ДОКУМЕНТЫ

Обозначение НТД, на который дана ссылка

Обозначение соответствующего стандарта ИСО

Номер пункта

ГОСТ 4233-77

 

2.2

ГОСТ 4525-77

2.2

ГОСТ 4784-74

1.5.1

ГОСТ 5789-78

1.4.2

ГОСТ 8682-93

2.3.1

ГОСТ 10742-71

1.6, 2.5.1

ГОСТ 11022-90

1.2; 1.7; 2.5.1

ГОСТ 11303-75

1.6

ГОСТ 11305-83

1.2; 1.7

ГОСТ 11306-83

1.2; 1.7

ГОСТ 13455-91

1.7

ГОСТ 27313-89

ИСО 1015-75

1.2.1.8; 2.6.4

ГОСТ 27314-91

ИСО 589-81

1.2; 1.5.6; 1.7; 2.5.1

СОДЕРЖАНИЕ

 




Яндекс цитирования



   Copyright © 2007-2026,  www.tehlit.ru.

[ ѓосты, стандарты, нормативы, инструкции, правила, строительные нормы ]