//
ТехЛит.ру
- крупнейшая бесплатная электронная интернет библиотека для "технически умных" людей.
WWW.TEHLIT.RU - ТЕХНИЧЕСКАЯ ЛИТЕРАТУРА

:: Алготрейдинг::


АЛГОТРЕЙДИНГ
шаг за шагом
с нуля по урокам!

Торговые роботы на PYTHON, BackTrader,
Pandas, Pine Script для TradingView. Связка с брокерами, телеграм и легкими приложениями.


МЕЖГОСУДАРСТВЕННЫЙ СТАНДАРТ

ЖМЫХ ХЛОПКОВЫЙ

Технические условия

Cotton mill cake.

Specifications

ГОСТ
68-74

Дата введения 01.07.75

Настоящий стандарт распространяется на хлопковый жмых, получаемый при прессовании семян хлопчатника для извлечения из них масла и предназначенный для кормовых целей. (Измененная редакция, Изм. № 3).

Содержание

1. ТЕХНИЧЕСКИЕ ТРЕБОВАНИЯ

1.1. Для выработки жмыха используют семена хлопчатника технические по ГОСТ 5947.

1.2. Жмых должен вырабатываться в соответствии с требованиями настоящего стандарта по технологической инструкции, утвержденной в установленном порядке.

1.3. В зависимости от показателей качества жмых подразделяют на I и II сорта.

1.4. По органолептическим показателям качества жмых должен соответствовать требованиям, указанным в табл. 1.

Таблица 1

Наименование показателя

Характеристика

Метод испытаний

I сорта

ОКП 914612 1329

II сорта

ОКП 91 4612 1339

Цвет

От светло-желтого до желтого

От желтого до темно- коричневого

По ГОСТ 13979.4

Запах

Свойственный хлопковому жмыху, без постороннего запаха, затхлости, плесени

По ГОСТ 13979.4

(Измененная редакция, Изм. № 1).

1.5. По физико-химическим показателям жмых должен соответствовать нормам, указанным в табл. 2.

Таблица 2

Наименование показателя

Норма для

Метод испытаний

I сорта

II сорта

Массовая доля влаги и летучих веществ в пределах, %

6,0-8,0

6,0-8,0

По ГОСТ 13496.15

Массовая доля сырого жира в пересчете на абсолютно сухое вещество, %, не более

7,0

9,0

По ГОСТ 13496.15

Массовая доля сырого протеина в пересчете на абсолютно сухое вещество, %, не менее

38,0

30,0

По ГОСТ 13496.4

Массовая доля сырой клетчатки в пересчете на абсолютно сухое вещество, %, не более

12,0

16,0

По ГОСТ 13496.2

Массовая доля золы, нерастворимая в НС1, в пересчете на абсолютно сухое вещество, %, не более

2,0

2,0

По ГОСТ 13979.6

Посторонние примеси (камешки, стекло, земля и др.)

Не допускаются

По п. 3.2 настоящего стандарта

Металлопримеси, %:

0,01

0,01

- частицы размером до 2 мм включ., не более

По ГОСТ 13979.5

- частицы размером более 2 мм

Не допускаются

Массовая доля свободного госсипола в пересчете на абсолютно сухое вещество, %, не более

0,02

0,02

По ГОСТ 13979.11

Хлорорганические ядохимикаты, млн-1(мг/кг) жмыха, не более:

По п. 3.3

- гексахлорана (сумма изомеров)

0,2

0,2

 

- ДЦТ (сумма изомеров и метаболитов)

0,05

0,05

- гептахлора (эпоксид гептахлора)

Не допускается

Альдрин

Не допускается

По п. 3.3

Токсичность

Не допускается

По п. 3.4

Общая энергетическая питательность, к. е.

1,16

1,09

Расчет см. приложение

Примечание. Показатель «Общая энергетическая питательность» вводится с 01.01.91. Определение обязательно.

(Измененная редакция, Изм. 1, 2, 3).

1.6. Содержание нитратов и нитритов в жмыхе не должно превышать норм, утвержденных Главным управлением ветеринарии Госагропрома СССР.

Показатель «содержание нитритов и нитратов» определяют одновременно с введением указанного показателя в ГОСТ 5947.

(Введен дополнительно, Изм. № 3).

2. ПРАВИЛА ПРИЕМКИ

2.1. Правила приемки - по ГОСТ 13979.0.

2.2. Показатели «массовая доля сырого протеина, сырой клетчатки, золы и свободного госсипола» предприятие-изготовитель определяет периодически не реже одного раза в 10 дней. Хлорорганические пестициды предприятие-изготовитель определяет периодически, не реже одного раза в месяц.

В каждой партии показатели «хлорорганические пестициды» указывают на основании сертификатов на семена.

Разд. 2. (Измененная редакция, Изм. № 3).

3. МЕТОДЫ ИСПЫТАНИЙ

3.1. Метод отбора проб - по ГОСТ 13979.0.

3.2. Определение посторонних примесей (камешки, стекло, земля и др.)-

3.2.1. Аппаратура

Разборная доска - поднос из дюралюминия с вырезом в одной из стенок.

3.2.2. Проведение испытаний

Отобранную по ГОСТ 13979.0 среднюю пробу перед измельчением раскладывают тонким слоем на разборной доске и внимательно просматривают для определения присутствия камешков, стекла, земли.

3.3. Определение содержания хлорорганических ядохимикатов (ДДТ, альдрина, гексахлорана, гексахлорбензола).

3.3.1. Для проведения испытания используют следующие аппаратуру, материалы, реактивы и растворы:

- весы лабораторные по ГОСТ 24104, класс точности 2, с наибольшим пределом взвешивания 200 г;

- электрошкаф сушильный с терморегулятором;

- холодильник;

- термостат;

- прибор для встряхивания;

- ртутно-кварцевая лампа ПРК-2 или ПРК-4;

- реле;

- бани водяные;

- насос вакуумный с электродвигателем;

- термометры контактные;

- микрошприцы вместимостью 0,01 см3;

- капилляры стеклянные или микропипетки вместимостью 0,1 см3;

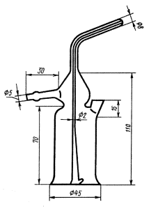
- пульверизаторы стеклянные (черт. 1);

- камера для хроматографирования: стеклянный сосуд с притертой крышкой или эксикатор по ГОСТ 25336 (внутренний диаметр верхней части корпуса 190 мм);

- камера для опрыскивания: стеклянный сосуд цилиндрический или четырехугольный по ГОСТ 25336 (внутренний размер верхней части сосуда 300 мм);

- колонки стеклянные хроматографические: диаметр 15 мм, высота 150 мм (черт. 2);

- пробирки стеклянные с пришлифованными пробками вместимостью 1 см3 (черт. 3);

- колбы круглодонные по ГОСТ 25336 вместимостью 100 и 250 см3;

- колбы конические по ГОСТ 25336 с нормальными шлифами вместимостью 250 и 500 см3;

- колбы для фильтрования под вакуумом по ГОСТ 25336 вместимостью 500 см3;

- воронки Бюхнера по ГОСТ 9147, № 2 или 3;

- пластинки стеклянные размером 90 × 120 × l мм;

- ступки и пестики фарфоровые по ГОСТ 9147 (диаметр ступки 110-140 мм);

- воронки химические по ГОСТ 25336;

- установка для отгонки растворителей - вакуум - ротационный испаритель;

- пипетки с делениями по ГОСТ 1770 вместимостью 1,5 и 10 см3;

- кюветы эмалированные размером 28 x 23 см;

- набор сит 100 (размер отверстий 0,147 мм) и 150 меш (размер отверстий 0,104 мм);

- груша резиновая;

- цилиндры мерные по ГОСТ 1770;

Черт. 1

Черт. 2

Черт. 3

- вата стеклянная длиной волокон не менее 1 см, очищенная концентрированной серной кислотой, промытая дистиллированной водой и высушенная;

- эфир петролейный с температурой кипения 40-70°C или нормальный гексан;

- эфир этиловый по ТУ 7506804-97-90, перегнанный при температуре 34-36°C;

- ацетон по ГОСТ 2603, х.ч., высушенный над MgSO4 и перегнанный при температуре 56°C;

- калий двухромовокислый по ГОСТ 4220;

- натрий сернокислый безводный по ГОСТ 4166, х.ч.;

- кислота серная по ГОСТ 4204 плотностью 1,84 г/см3;

- двуокись кремния для люминофоров (ч.) или окись алюминия для хроматографии (ней тральная) II степени активности (растертая в ступке);

- фракция, оставшаяся на сите в 150 меш последовательного просеивания через сито в 100 и 150 меш;

- фракция, пропитанная концентрированной серной кислотой;

- кальций сернокислый по ТУ 6-09-5316-86, ч.д.а., высушенный при температуре 160°C в течение 48 ч, хранят в банке с притертой пробкой;

- спирт этиловый ректификованный по ГОСТ 5962;

- смесь этилового эфира с гексаном 15:85;

- водорода перекись (пергидроль) по ГОСТ 10929, х.ч.;

- серебро азотнокислое по ГОСТ 1277, свежеперекристаллизованное;

- аммиак водный по ГОСТ 3760;

- дихлордифенилтрихлорметилметан (ДЦТ) технический;

- гексахлоран технический по ТУ 113-04-254-87;

- гептахлор;

- гексахлорбензол;

- мельница лабораторная или электромельница.

3.3.2. Подготовка к испытанию

Для приготовления насыщенного раствора безводного сернокислого натрия в серной кислоте навеску 100 г безводного сернокислого натрия растворяют в 1 дм3 серной кислоты.

Для приготовления окиси алюминия или двуокиси кремния, пропитанной серной кислотой, две весовые части vокиси алюминия или двуокиси кремния помещают в фарфоровую ступку, заливают одной объемной частью серной кислоты и тщательно перемешивают. Смесь готовят непосредственно перед употреблением.

Для приготовления стандартных растворов ДДТ, гексахлорана, гексахлорбензола и гептахлора концентрацией 1 мг/см3 навески указанных веществ по 10 мг (в пересчете на чистое вещество) растворяют в 10 см3 гексана. Раствор хранят в холодильнике в плотно закрытой склянке не более 1 мес.

Для приготовления проявляющего реактива навеску 0,1 г азотнокислого серебра растворяют в 2 см3 аммиака и доводят объем до 50 см3 ацетоном. Затем добавляют 0,1 м пергидроля. На пластинку размером 9 × 12 см расходуется 8-10 см3 раствора. Проявляющий реактив готовят в день испытания.

Для приготовления хромовой смеси навеску 10 г двухромовокислого калия, размельченного в порошок, добавляют в фарфоровую чашку со 100 см3 концентрированной серной кислоты (плотностью 1,84 г/см3), смесь осторожно нагревают на водяной бане до полного растворения порошка.

Для приготовления хроматографической колонки для испытания колонку заполняют на высоту 1 см стеклянной ватой. Затем в колонку вносят на высоту 6 см просеянную окись алюминия или двуокись кремния. После этого колонку заполняют через воронку комочками окиси алюминия или двуокиси кремния, пропитанными серной кислотой, еще на высоту 3 см, не утрамбовывая. При заполнении колонки каждый слой последовательно промывают смесью этилового эфира с гексаном (всего 20-30 см3).

Для приготовления пластинки для хроматографии стеклянную пластинку тщательно промывают раствором кальцинированной соды, хромовой смесью и дистиллированной водой, высушивают, протирают этиловым спиртом и покрывают сорбционной массой.

Сорбционную массу готовят из окиси алюминия или двуокиси кремния следующим образом: 50 г просеянной окиси алюминия или двуокиси кремния смешивают в фарфоровой ступке с 5 г сернокислого кальция, переносят в коническую колбу вместимостью 250 см3 со шлифом, прибавляют 75 см3 дистиллированной воды и встряхивают в течение 30 мин на приборе для встряхивания до образования однородной массы.

10 г сорбционной массы наливают на пластинку и, покачивая, равномерно распределяют по всей поверхности. Сушат пластинку при комнатной температуре 24 ч, а затем 25 мин при температуре 110°C, либо 25 мин на воздухе и 45 мин при температуре 110°C. Перед употреблением пластинку активируют в течение 5 мин при температуре 110°C в сушильном шкафу. Пластинки хранят в эксикаторе.

Пробу жмыха предварительно измельчают в ступке, затем на лабораторной мельнице не более 1 мин.

3.3.3. Проведение испытания

15 г измельченного жмыха делят на две равные части и помещают в конические колбы вместимостью 100-250 см3 с притертыми пробками. Заливают пробы гексаном с помощью цилиндра из расчета трех объемов гексана на 1 весовую часть жмыха, после чего колбы встряхивают на приборе для встряхивания в течение 30 мин. Экстракт фильтруют через воронку Бюхнера, не перенося осадок на воронку. В те же колбы заливают повторно такое же количество гексана, встряхивают еще 30 мин, фильтруют, количественно перенося осадок на воронку Бюхнера, с помощью 30 см3 гексана (три раза по 10 см3). Полученные экстракты упаривают до 30 см3 на вакуум - ротационном испарителе или в токе воздуха при температуре не выше 40°C и помещают в морозильную камеру холодильника на 1 ч, затем каждый экстракт пропускают через отдельную колонку со скоростью 2 см3/мин. После этого промывают колбу и колонку охлажденной смесью (50 см3 этилового эфира с гексаном). Эту операцию необходимо проводить непрерывно.

Очищенные экстракты объединяют и упаривают до объема около 1 см3. Остаток из колбы переносят количественно микропипеткой с помощью резиновой груши в пробирку вместимостью 1 см3, колбу и микропипетку два-три раза промывают небольшим количеством гексана (всего 0,3-0,5 см3), сливая его в ту же пробирку. Затем осторожно выпаривают гексан из пробирки на водяной бане при температуре 50°C почти досуха (конечный объем приблизительно две-три капли). Если общий объем экстракта и промывной жидкости превышает 1 см3, то сначала начинают выпаривать экстракт, постепенно добавляя к нему промывную жидкость. При наличии в упаренном экстракте белого мазеобразного осадка в пробирку добавляют пять-шесть капель гексана и помещают ее на 15-20 мин в морозильную камеру холодильника, а затем декантируют дважды таким же количеством охлажденного гексана и снова упаривают до конечного объема две-три капли.

Параллельно с исследуемыми экстрактами готовят два модельных экстракта, каждый из которых получают из 1 г жмыха, не содержащего пестицидов (при тех же соотношениях сухого вещества и растворителя), в один из которых перед очисткой на колонке вносят с помощью микрошприца (микропипетки) определяемые ядохимикаты в количестве 3 мкг, а в другой - 0,75 мкг. Упаренные экстракты (исследуемые и модельные) с помощью капилляра (микропипетки или микрошприца) количественно наносят на пластинку на расстоянии 2 см от края, трижды обмывая пробирку двумя-тремя каплями гексана. Экстракты наносят в одну точку так, чтобы диаметр пятна не превышал 0,5 см.

Пластинку с нанесенными экстрактами помещают в камеру для хроматографирования, на дно которой не менее чем за 30 мин до начала хроматографирования наливают гексан на высоту 0,5 см. Край пластинки с нанесенными экстрактами должен быть погружен в гексан не более чем на 0,5 см.

После того, как гексан поднимается на 10 см, пластинку вынимают из камеры и помещают в сушильный шкаф на 5 мин при температуре 30°C. Далее пластинку опрыскивают из пульверизатора 8-10 см3 проявляющего раствора и облучают ультрафиолетовым светом с помощью ртутно-кварцевой лампы в течение 10-15 мин. Пластинку следует располагать на расстоянии 20 см от источника света. При наличии в пробах ядохимикатов на пластинке появляются пятна серо-черного цвета. При слабом проявлении пятен пластинку выдерживают 1-2 мин над паром, вторично опрыскивают и облучают.

3.3.4. Для определения ядохимикатов в пробе сравнивают пятна, полученные при анализе исследуемого образца, с пятнами модельных растворов. При этом учитывают, что на модельных пробах ядохимикаты располагаются в следующем порядке (снизу вверх): гексахлоран (α - изомер с Rf = 0,2 и γ - изомер с Rf = 0,27), 4,4'-ДДТ (основное пятно с Rf = 0,38), 2,4-ДДТ (Rf = 0,57), гептахлор (с Rf = 0,76).

Жмых считают пригодным для использования в кормовых целях для откормки животных и птиц, если:

- интенсивность окраски пятен α и γ - изомеров гексахлорциклогексана в исследуемой пробе суммарно не превышает интенсивности окраски модельных пятен этих изомеров, содержащих 3 мкг;

- интенсивность окраски пятен, соответствующих 2,4-ДДТ и 4,4'-ДДТ, в исследуемой пробе суммарно не превышает интенсивности окраски модельных пятен, содержащих 0,75 мкг указанных препаратов;

- интенсивность окраски пятна, соответствующего гептахлору в исследуемой пробе, не превышает интенсивности окраски модельного пятна, содержащего 0,75 мкг указанного препарата.

Жмых пригоден для использования в кормовых целях для молочного скота и яйценоской птицы, если интенсивность окраски пятен, соответствующих изомерам гексахлорциклогексана (ГХЦГ), группе ДДТ и гептахлору в исследуемой пробе, не превышает интенсивности окраски модельных пятен указанных препаратов, содержащих по 0,75 мкг (что соответствует допустимой норме - 0,05 мг/кг).

Чувствительность метода - 0,05 мг/кг.

За окончательный результат испытания принимают среднее арифметическое двух параллельных определений.

3.3.1. - 3.3.4. (Измененная редакция, Изм. 1).

3.4. Токсичность определяют по методам, утвержденным Главным управлением ветеринарии Госагропрома СССР, в соответствии с порядком, установленным Госагропромом СССР и Минхлебопродуктом СССР.

(Измененная редакция, Изм. 2).

3.5. Нитраты и нитриты определяют по методам, утвержденным Главным управлением ветеринарии Госагропрома СССР, в соответствии с порядком, установленным Госагропромом СССР и Минхлебопродуктом СССР.

(Введен дополнительно, Изм. 3).

4. УПАКОВКА, МАРКИРОВКА, ТРАНСПОРТИРОВАНИЕ И ХРАНЕНИЕ

4.1. Жмых упаковывают в целые, чистые, сухие мешки по ГОСТ 2226 массой нетто не более 30 кг или отгружают без тары (насыпью).

4.2. Транспортная маркировка - по ГОСТ 14192. Маркировка, характеризующая упакованную продукцию, должна содержать:

- наименование продукции и ее сорта;

- номер документа о качестве или номер партии;

- дату отгрузки;

- обозначение настоящего стандарта.

При отгрузке продукции насыпью эти данные должны быть указаны в накладной.

4.1, 4.2. (Измененная редакция, Изм. 1).

4.3. Транспортируют жмых в чистых сухих крытых продезинфицированных железнодорожных вагонах, оборудованных щитами, или автомашинах, закрывающихся брезентом.

4.4. Для предотвращения самовозгорания и порчи жмых должен охлаждаться перед хранением и отгрузкой в зимние месяцы до температуры не выше 35°C, а в летние месяцы его температура должна быть не более чем на C выше температуры окружающего воздуха.

4.5. Хранение жмыха производят в чистых помещениях, не зараженных вредителями хлебных запасов, хорошо проветриваемых, защищенных от воздействия прямого солнечного света и источников тепла.

(Измененная редакция, Изм. № 1).

4.6. При хранении жмыха в складских помещениях напольного типа насыпью высота насыпи не должна превышать 5 м.

4.7. Температуру заложенного на хранение жмыха необходимо проверять периодически не реже чем через 2 ч дистанционными термометрами или термоштангами.

ПРИЛОЖЕНИЕ
Справочное
РАСЧЕТ ОБЩЕЙ ЭНЕРГЕТИЧЕСКОЙ ПИТАТЕЛЬНОСТИ

Расчет общей энергетической питательности (ОЭП) в кормовых единицах (к. е.) проводят по формуле

где БЭВ - содержание безазотистых экстрактивных веществ, г/кг, вычисляют по формуле

БЭВ = 1000 - (П + Ж + З + К);

П - содержание сырого протеина, г/кг;

Ж - содержание сырого жира, г/кг;

З - содержание общей золы, г/кг;

К - содержание сырой клетчатки, г/кг;

1,501, 2,492, 1,152 - энергетические коэффициенты сырых питательных веществ.

Для расчета используют данные, получаемые при периодических анализах по соответствующим показателям.

Для выражения этих показателей в г/кг необходимо их массовые доли умножить на 10.

ПРИЛОЖЕНИЕ. (Введено дополнительно, Изм. № 3).

ИНФОРМАЦИОННЫЕ ДАННЫЕ

1. РАЗРАБОТАН И ВНЕСЕН Министерством пищевой промышленности СССР РАЗРАБОТЧИКИ

Белова А.Б., канд. техн. наук; Чудновская А.М.

2. УТВЕРЖДЕН И ВВЕДЕН В ДЕЙСТВИЕ Постановлением Государственного комитета стандартов Совета Министров СССР от 19.06.74 № 1504

3. ВЗАМЕН ГОСТ 68-40

4. ССЫЛОЧНЫЕ НОРМАТИВНО-ТЕХНИЧЕСКИЕ ДОКУМЕНТЫ

Обозначение НТД, на который дана ссылка

Номер пункта

ГОСТ 1277-75

3.3.1

ГОСТ 1770-74

3.3.1

ГОСТ 2226-88

4.1

ГОСТ 2603-79

3.3.1

ГОСТ 3760-79

3.3.1

ГОСТ 4166-76

3.3.1

ГОСТ 4204-77

3.3.1

ГОСТ 4220-75

3.3.1

ГОСТ 5947-68

1.1, 1.6

ГОСТ 5962-67

3.3.1

ГОСТ 9147-80

3.3.1

ГОСТ 10929-76

3.3.1

ГОСТ 13496.2-91

1.5

ГОСТ 13496.4-93

1.5

ГОСТ 13496.15-97

1.5

ГОСТ 13979.0-86

2.1, 3.1, 3.2.2

ГОСТ 13979.4-68

1.4

ГОСТ 13979.5-68

1.5

ГОСТ 13979.6-69

1.5

ГОСТ 13979.11-83

1.5

ГОСТ 14192-96

4.2

ГОСТ 24104-88

3.3.1

ГОСТ 25336-82

3.3.1

ТУ 6-09-5316-86

3.3.1

ТУ 113-04-254-87

3.3.1

ТУ 7506804-97-90

3.3.1

5. Снято ограничение срока действия по Протоколу № 5-94 Межгосударственного Совета по стандартизации, метрологии и сертификации (ИУС 11-1294)

6. ПЕРЕИЗДАНИЕ с Изменениями № 1, 2, 3, утвержденными в мае 1984 г., апреле 1988 г., октябре 1988 г. (ИУС 9-84, 7-88, 1-89)




Яндекс цитирования