//
ТехЛит.ру
- крупнейшая бесплатная электронная интернет библиотека для "технически умных" людей.
WWW.TEHLIT.RU - ТЕХНИЧЕСКАЯ ЛИТЕРАТУРА

:: Алготрейдинг::


АЛГОТРЕЙДИНГ
шаг за шагом
с нуля по урокам!

Торговые роботы на PYTHON, BackTrader,
Pandas, Pine Script для TradingView. Связка с брокерами, телеграм и легкими приложениями.


РОССИЙСКОЕ АКЦИОНЕРНОЕ ОБЩЕСТВО ЭНЕРГЕТИКИ И ЭЛЕКТРИФИКАЦИИ "ЕЭС РОССИИ"

ДЕПАРТАМЕНТ НАУКИ И ТЕХНИКИ

МЕТОДИЧЕСКИЕ УКАЗАНИЯ ПО ОБСЛЕДОВАНИЮ ФУНДАМЕНТОВ ТУРБОАГРЕГАТОВ

РД 34.21.323-95

Москва

ЦПТИиТО ОРГРЭС

2006

СОДЕРЖАНИЕ

1. ОБЩИЕ ПОЛОЖЕНИЯ

2. КОНСТРУКТИВНЫЕ ОСОБЕННОСТИ ЖЕЛЕЗОБЕТОННЫХ КОНСТРУКЦИЙ ФУНДАМЕНТОВ ТУРБОАГРЕГАТОВ

3. ПОДГОТОВИТЕЛЬНЫЕ РАБОТЫ

4. ОСОБЕННОСТИ ОБСЛЕДОВАНИЯ ФУНДАМЕНТОВ ТУРБОАГРЕГАТОВ, ВЫЯВЛЕНИЕ ДЕФЕКТОВ И ПОВРЕЖДЕНИЙ

5. ОЦЕНКА ПРОЧНОСТИ БЕТОНА МЕХАНИЧЕСКИМ И УЛЬТРАЗВУКОВЫМ МЕТОДАМИ

6. ВЫЯВЛЕНИЕ ФАКТИЧЕСКОГО АРМИРОВАНИЯ

7. ВЫЯВЛЕНИЕ И АНАЛИЗ ТРЕЩИН В КОНСТРУКТИВНЫХ ЭЛЕМЕНТАХ ФУНДАМЕНТОВ

8. ВИБРАЦИОННЫЕ ИССЛЕДОВАНИЯ ФУНДАМЕНТОВ

9. МЕРОПРИЯТИЯ ПО ПОДДЕРЖАНИЮ КОНСТРУКЦИЙ ФУНДАМЕНТОВ В ИСПРАВНОМ СОСТОЯНИИ И СПЕЦИАЛЬНЫЕ ВИДЫ РАБОТ ПРИ ИХ РЕКОНСТРУКЦИИ

Приложение УСЛОВНЫЕ ОБОЗНАЧЕНИЯ И ХАРАКТЕРИСТИКА ДЕФЕКТОВ ИЛИ ПОВРЕЖДЕНИЙ ЖЕЛЕЗОБЕТОННЫХ КОНСТРУКЦИИ ФУНДАМЕНТОВ

Список использованной литературы

Разработано Акционерным обществом "Фирма по наладке, совершенствованию технологии и эксплуатации  электростанций и сетей ОРГРЭС"

Исполнители В.В. ДЕТКОВ, В.П. ОСОЛОВСКИЙ

Утверждено Департаментом науки и техники РАО "ЕЭС России" 30.03.95 г.

Начальник А.П. БЕРСЕНЕВ

МЕТОДИЧЕСКИЕ УКАЗАНИЯ
ПО ОБСЛЕДОВАНИЮ ФУНДАМЕНТОВ
ТУРБОАГРЕГАТОВ

РД 34.21.323-95

Введены впервые

Срок действия установлен с 01.01.97

Методические указания содержат основные положения по организации обследования прочностных и вибрационных исследований конструкций фундаментов, оценке пригодности их к дальнейшей эксплуатации и предназначены для инженерно-технических работников специализированных и проектных организаций, энергопредприятий и энергоуправлений.

Методические указания составлены на основе действующих нормативно-технических документов по проектированию, изготовлению и монтажу фундаментов с учетом специфики их эксплуатации. Методическими указаниями следует руководствоваться при обследовании состояния эксплуатируемых строительных конструкций фундаментов турбоагрегатов.

1. ОБЩИЕ ПОЛОЖЕНИЯ

1.1. Главной задачей и целью обследования фундаментов являются выявление действительного состояния и обоснование общей надежности системы турбоагрегат-фундамент-основание (ТФО), включая изучение и анализ проектно-технической и исполнительной документации, паспортов и сертификатов на материалы и изделия, применявшиеся при строительстве фундаментов турбоагрегатов.

1.2. Материалы обследования являются исходными данными для составления заключения о состоянии конструкций или разработки проекта по восстановлению, усилению и реконструкции конструкций.

1.3. Объем и программа обследования фундаментов определяются в каждом конкретном случае техническим заданием на обследование, утвержденным руководством заказчика, и зависят от состояния элементов строительных конструкций (фундаментов).

1.4. Методические указания должны содействовать квалифицированному проведению обследования, выявлению дефектов и повреждений 1) конструкций фундаментов и выбору наиболее эффективного способа восстановления, ремонта и усиления поврежденных элементов фундаментов.

1.5. При выполнении работ по обследованию строительных конструкций фундаментов турбоагрегатов необходимо соблюдать правила техники безопасности.

1) Повреждениями элементов конструкций и их соединений называются разного рода отклонения геометрической формы элементов от первоначальной, возникшие в процессе эксплуатации.

Дефектами элементов конструкций и их соединений называются отклонения геометрической формы и качества выполнения элементов от предусмотренных проектом и нормативами, возникшие в конструкциях при изготовлении и монтаже.

2. КОНСТРУКТИВНЫЕ ОСОБЕННОСТИ ЖЕЛЕЗОБЕТОННЫХ КОНСТРУКЦИЙ ФУНДАМЕНТОВ ТУРБОАГРЕГАТОВ

2.1. Железобетонные фундаменты турбоагрегатов мощностью более 12 МВт представляют собой пространственные стержневые рамные конструкции, опирающиеся на естественное основание через массивные железобетонные плиты или балочный ростверк.

2.2. Первоначально сечения рамных элементов фундаментов задавались конструктивно. С увеличением мощности турбоагрегатов конструкции фундаментов запроектированы более гибкими за счет уменьшения сечений элементов (колонн, продольных и поперечных ригелей верхнего строения фундаментов).

2.3. Железобетонные фундаменты турбоагрегатов ТЭС выполнены как в сборном, так и в монолитном вариантах.

2.4. Решение конструктивных элементов внешне одинаково и отличается только габаритными размерами колонн и ригелей, сечения которых зависят от статических и динамических нагрузок, т.е. от мощности турбин.

2.5. Сечения ригелей верхнего строения фундаментов приняты как прямоугольными, так и тавровыми и двутавровыми.

2.6. Колонны и ригели сборно-монолитных фундаментов отличаются меньшими габаритными размерами, чем соответствующие элементы монолитных фундаментов турбоагрегатов.

2.7. Наиболее напряженными участками фундамента являются середина пролетов нагруженных ригелей, узлы сопряжений ригелей и колонн, а также колонн и нижних плит.

2.8. Состояние конструкций на упомянутых участках в значительной степени определяет эксплуатационную надежность фундамента.

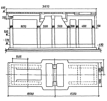
2.9. Конструктивные схемы фундаментов под турбоагрегаты разной мощности приведены на рис. 1-5.

2.10. К фундаментам под турбоагрегаты в процессе эксплуатации предъявляются следующие требования нормативно-технических документов:

фундаменты должны отделяться от смежных фундаментов здания и оборудования сквозным швом. Расстояние между боковыми гранями фундаментов машин и смежных фундаментов конструкций должно быть не менее 100 мм;

элементы верхнего строения не допускается связывать с элементами и конструкциями здания. В виде исключения на элементы верхнего строения фундамента допускается опирать вкладные участки перекрытия и площадки обслуживания;

температура на поверхности теплоизоляции горячих элементов турбоагрегата не должна превышать 45°С, а между поверхностью теплоизоляции и элементами фундамента должен быть оставлен зазор не менее 100 мм;

за межремонтный период эксплуатации турбоагрегата относительный прогиб нижней плиты фундамента (отношение стрелы прогиба к длине плиты) в остывшем состоянии не должен превышать: 0,0001 - при длине турбоагрегата в осях крайних подшипников не более 40 м; 0,00015 - при длине турбоагрегата в осях крайних подшипников 60 - 80 м;

допустимые деформации кручения (уклон верхней грани) ригелей поперечных рам под опорами роторов высокого и среднего давлений от горизонтальных статических нагрузок и крутящих моментов, передаваемых на фундамент при термических расширениях турбины и деформациях трубопроводов, не должны превышать ±0,6 мм;

динамическая податливость элементов фундамента, не нагруженного оборудованием, в зонах опирания подшипников в диапазоне частоты вращения 2800÷3400 об/мин не должна превышать: 0,4 мкм/кН - при массе ротора до 40 т; 0,2 мкм/кН - при массе ротора 80 т и более;

амплитуды горизонтальных и вертикальных вибраций балок и плит верхнего строения фундамента для агрегатов с частотой вращения 3000 об/мин не должны превышать нормативных значений (разд. 8);

Рис. 1. Фундамент турбоагрегата мощностью 25 МВт

Рис. 2. Фундамент турбоагрегата мощностью 5и МВт

Рис. 3. Фундамент турбоагрегата мощностью 100 МВт

Рис. 4. Фундамент турбоагрегата мощностью 200 МВт

Рис. 5. Фундамент турбоагрегата мощностью 300 МВт11

образование трещин в нижней плите фундамента не допускается, а в элементах и узлах верхнего строения фундамента допускается ограниченное по ширине раскрытие трещин, но не более: 0,4 мм

- непродолжительного раскрытия трещин при совместном действии постоянных, длительных и кратковременных нагрузок; 0,3 мм

- продолжительного раскрытия трещин при действии только постоянных и длительных нагрузок;

все поверхности элементов фундаментов, включая нижнюю плиту, которые могут пропитываться минеральными маслами, производственными водами (паром) и другими агрессивными по отношению к бетону веществами в процессе эксплуатации и во время ремонтно-монтажных работ, следует защитить в соответствии с требованиями норм проектирования антикоррозионной защиты строительных конструкций.

3. ПОДГОТОВИТЕЛЬНЫЕ РАБОТЫ

3.1. Работам по обследованию железобетонных конструкций фундаментов турбоагрегатов предшествует подбор и изучение проектно-технической документации и документации, отражающей условия эксплуатации фундаментов и особенности их строительства.

Персонал, проводящий обследование, должен иметь следующую документацию, содержащую:

3.1.1. По фундаментам:

рабочие чертежи, расчетные схемы и результаты статических и динамических расчетов на проектные нагрузки и воздействия;

материалы инженерно-геологических изысканий (литологического разреза, характеристик грунтов, гидрогеологического режима и т.п.);

данные по технологии изготовления элементов конструкций фундаментов и производству строительно-монтажных работ;

сертификаты на материалы, данные о составе бетона и технологии бетонирования, проектные марки бетона и стали арматурных стержней, данные о стыках и сварных соединениях;

акты и протоколы сдачи-приемки фундаментов, акты скрытых работ;

паспорта фундаментов, журналы авторского надзора, сведения о дефектах монтируемых элементов;

данные о выполнявшихся в процессе эксплуатации ремонтах, реконструкциях и переустройствах фундаментов;

акты обследования, сведения о дефектах и повреждениях конструкций фундаментов и причинах, их вызвавших, сведения о фактических воздействиях и нагрузках в процессе эксплуатации;

сведения об инструментальных геодезических наблюдениях за осадками и деформациями фундаментов и уровнем грунтовых вод;

сведения о контроле за вибрациями конструкций фундаментов;

исходные данные по агрессивности среды.

3.1.2. По турбоагрегатам:

типы турбин и генераторов с указанием заводов-изготовителей;

акты приемки турбоагрегатов в эксплуатацию;

вибрационное состояние турбоагрегата во время приемки его в эксплуатацию;

случаи повышения вибрации в эксплуатационный период (номера подшипников, даты, параметры вибрации, режим работы);

перечень остановов турбоагрегатов из-за повышения вибрации (даты, причины);

сведения о детальных виброисследованиях турбоагрегатов (даты, исполнители, название работы, отчет о работе);

сведения о капитальных ремонтах (общее число, даты, продолжительность ремонтов и межремонтных периодов);

сведения об изменениях в конструкциях турбоагрегатов для снижения вибрации;

данные о контроле за вибрационным состоянием;

краткая характеристика текущих вибрационных состояний турбоагрегатов;

данные о расцентровках подшипников турбоагрегата.

3.2. Сведения, которые невозможно установить по документам, выявляются по опросам персонала служб эксплуатации, а также непосредственно при обследовании конструкций.

При отсутствии чертежей конструкций составляются эскизы по измерениям в натуре.

3.3. До начала обследования фундаментов турбоагрегатов необходимо:

произвести предварительный (рекогносцировочный) осмотр с целые ознакомления с конструкцией фундаментов, определением объема, специфики и направленности обследования;

наметить мероприятия по подготовке конструкций к обследованию (изготовление подмостей или других приспособлений для обеспечения доступа к элементам фундамента);

выполнить мероприятия по очистке поверхностей, подлежащих обследованию;

определить вид и места контрольных вскрытий;

выявить необходимость проведения специальных исследований (измерение вибрационных характеристик, геодезических съемок и т.д.).

3.4. На основании информации, полученной при ознакомлении с техническим заданием заказчика, результатов проведения предварительного осмотра и изучения проектной, исполнительной и эксплуатационной документации исполнителем разрабатывается техническая рабочая программа и календарный план работы по обследованию и утверждается заказчиком.

3.5. При составлении рабочей программы обследования конструкций фундаментов следует учитывать полноту представленной проектно-технической документации, а также требования задания, составленного заказчиком.

4. ОСОБЕННОСТИ ОБСЛЕДОВАНИЯ ФУНДАМЕНТОВ ТУРБОАГРЕГАТОВ, ВЫЯВЛЕНИЕ ДЕФЕКТОВ И ПОВРЕЖДЕНИЙ

4.1. В процессе обследования фундаментов турбоагрегатов должны быть учтены их специфические особенности, связанные в первую очередь с тем, что фундаменты являются в той или иной степени частью турбоагрегата, совместно с ним работающего.

Периодические изменения нагрузок на опорные конструкции фундаментов от работающих в разных режимах турбоагрегатов ускоряют процессы накопления повреждений, усталости и других явлений, вызывающих снижение их несущей способности.

4.2. Оценка состояния строительных конструкций фундаментов турбоагрегатов решается путем:

визуального осмотра всех конструктивных элементов;

инструментальной проверки прочностных характеристик и качества бетона (разд. 5) на определенных участках, выявления фактического армирования (разд. 6) и наличия прогибов и деформаций;

анализа документации (пп. 3.1.1 и 3.1.2), отражающей особенности конструкций и условия эксплуатации;

проведения при необходимости вибрационных исследований системы агрегат-фундамент (разд. 8);

анализа сведений о дефекте фундаментов, о ремонтах, реконструкциях и переустройствах фундаментов.

При обследовании фундаментов турбоагрегатов, подлежащих реконструкции, следует руководствоваться требованиями [1], [2].

4.3. При обследовании особое внимание следует обращать на дефекты и повреждения железобетонных фундаментов, которые выявляются в процессе эксплуатации и влияют на снижение эксплуатационной надежности системы турбоагрегат-фундамент-основание.

К недостаткам эксплуатируемых фундаментов следует отнести:

появление трещин с раскрытием более 0,3 мм на поверхности ригелей, колонн и в зоне омоноличивания узлов соединения сборных элементов верхнего строения;

разрушение поверхностного слоя бетона продольных и поперечных ригелей, колонн в результате пропитывания маслом, постоянного воздействия высоких температур и размораживания в период строительства;

наличие пустот в бетоне зон омоноличивания узлов соединений сборных элементов верхнего строения;

наличие каверн, раковин, пустот, необработанных рабочих швов и разрывов в монолитных элементах, сколов, возникающих от механических повреждений;

наличие пустот и деформаций в бетоне подливок омоноличивания закладных деталей и фундаментных рам и, как следствие, ослабление анкерных болтов крепления опорных рам;

неравномерный нагрев противоположных поверхностей ригелей, приводящий к образованию температурных трещин;

жесткое крепление площадок обслуживания и конструкций перекрытий вокруг турбогенератора к элементам конструкций фундамента.

4.4. В процессе непосредственного обследования должна составляться карта дефектов и повреждений с использованием их условных обозначений (см. приложение). Карта дефектов и повреждений составляется на каждую конструкцию (элемент) фундамента, на которую заносятся:

место расположения, характер и размер раскрытия трещин;

место расположения повреждений и дефектов: сколов, оголений арматуры, раковин, участков пористого и рыхлого бетона, неровностей;

фактические геометрические размеры основных характеристик сечений;

места оголения арматуры, диаметры обнаженных стержней;

площади замасливания поверхностей элементов фундамента.

4.5. При проведении обследования необходимо определить состояние арматуры с точки зрения развития коррозионных процессов (характер, вид, интенсивность коррозии), зафиксировать расположение арматуры в сечении, измерить толщину защитных слоев и оценить состояние сцепления арматуры с бетоном.

Коррозионный износ арматуры может определяться по рекомендациям [4] путем измерения толщины слоя продуктов коррозии. При этом глубина коррозионного износа составляет примерно половину общей толщины этого слоя.

4.6. При обнаружении трещин любого вида на поверхностях элементов фундаментов необходимо определить их положение, форму, направление, длину, ширину раскрытия, глубину, время и причину возникновения, а также установить, продолжается или прекратилось их развитие.

Принцип выявлений трещин в элементах конструкций фундамента изложен в разд. 7.

4.7. При выявлении в процессе контрольных геодезических измерений и анализе ранее выполненных измерений очага интенсивных осадок фундаментов необходимо разработать специальную программу для дальнейших наблюдений в зависимости от влияния деформаций на прочность и надежность фундамента или работу оборудования.

Контрольные геодезические измерения осадок и деформаций элементов конструкций фундаментов должны соответствовать [3].

4.8. Особенностью обследования фундаментов и оснований является оценка их состояния по косвенным признакам (вибрационное состояние турбоагрегата, расцентровка валопроводов, сведения о периодическом наблюдении за осадками и деформациями). Не менее важны для оценки состояния фундаментов выборочные вскрытия, имеющиеся на энергопредприятии сведения по инженерной геологии, заключения по предыдущим обследованиям, дополнительные результаты инструментальной проверки прочности бетона и измерений сечений арматуры на вскрытых участках.

4.9. Критериями оценки возможности использования фундаментов при реконструкции и дальнейшей эксплуатации являются:

отсутствие неравномерных осадок, соблюдение их предельных значений по [3];

сохранность тела бетона и его прочностных характеристик.

При наличии неравномерных деформаций оснований или их повышенных по сравнению с нормами значений вопрос о возможности использования оснований и фундаментов при реконструкции независимо от степени износа тела фундаментов должен решаться генпроектировщиком.

5. ОЦЕНКА ПРОЧНОСТИ БЕТОНА МЕХАНИЧЕСКИМ И УЛЬТРАЗВУКОВЫМ МЕТОДАМИ

При обследовании железобетонных конструкций фундамента необходимо убедиться, что бетон конструктивных элементов фундамента (ригели и балки верхнего строения, колонны и нижняя опорная плита) обладает достаточной прочностью.

Прочность бетона может быть определена механическими и ультразвуковыми методами, а в отдельных случаях путем лабораторных испытаний образцов, взятых из эксплуатируемых конструкций.

Правила определения прочности строительных материалов и конструкций установлены государственными стандартами.

5.1. Механический метод определения прочности

5.1.1. При общем обследовании фундамента в случае отсутствия специальных приборов [8] допускается прочность бетона ориентировочно оценивать по следам, оставленным на зачищенной и выравненной поверхности элементов от удара средней силы слесарным молотком массой 400 - 800 г по бетону или зубилу, уставленному заостренным концом перпендикулярно поверхности бетона.

Прочность следует оценивать по минимальным значениям после 10 ударов с учетом примечания к таблице, приведенной ниже.

Результаты одного удара средней силы молотком массой 0,4-0,8 кг

Примерная прочность бетона МПа (кгс/см2)

непосредственно по поверхности бетона

по зубилу, установленному жалом на бетон

На поверхности бетона остается слабо заметный след

Неглубокий след, лещадки не откалываются

Более 20 (более 200*)

На поверхности бетона остается заметный след вокруг которого могут откалываться тонкие лещадки

От поверхности бетона откалываются острые лещадки

20-10 (200-100*)

Бетон крошится и осыпается, при ударе по ребру элемента откалываются большие куски

Зубило проникает в бетон на глубину до 5 мм, бетон крошится

10-7 (100-70)

Остается глубокий след

Зубило забивается в бетон на глубину более 5 мм

Менее 7 (менее 70)

* Прочность бетона уточняется по результатам осмотра образца, отколотого от рассматриваемой конструкции. Размеры образца должны быть такими, чтобы в нем содержались частицы крупного заполнителя (не менее 3). Если скол произошел по телу заполнителя из изверженных пород (гранит и т.п.), прочность бетона составляет 20 МПа (200 кгс/см2) и более; если скол произошел по телу заполнителя из осадочных пород (известняк и т.п.), прочность бетона составляет 15 - 20 МПа (150 - 200 кгс/см2); если скол произошел по поверхности контакта крупного заполнителя и раствора, прочность бетона следует принимать 15 МПа (150 кгс/см2) и ниже.

Прочность бетона в первую очередь следует определять в тех элементах и на тех участках, где согласно схеме работы конструкции прочность бетона имеет наибольшее значение - опорные участки и сжатые зоны продольных и поперечных ригелей, зоны анкеровки арматуры и закладных деталей, колонны и т.д. При простукивании следует обращать внимание на звук: неплотный бетон издает глухой звук, а при наличии отслоений - дребезжащий. При плотном бетоне звук звонкий.

5.1.2. Для оценки прочности бетона конструкций фундамента механическими методами применяются приборы, принцип действия которых основан на гипотезе о связи между прочностью бетона и его твердостью (шариковый молоток физделя, склерометр ОМШ-1 и др.), и приборы, основанные на гипотезе о связи между прочностью бетона и силами сцепления в нем (отрыва со скалыванием с помощью прибора ГПНВ-5). Методики использования упомянутых приборов содержатся в сопроводительной документации к этим приборам.

5.1.3. Из приборов механического действия наибольшее применение при обследовании железобетонных массивов фундаментов находят: шариковый молоток физделя и склерометр ОМШ-1.

Рис. 6. Оценка прочности бетона шариковым молотком

а - движение руки при ударе; б - измерение диаметра лунки штангенциркулем; в - график зависимости диаметра лунки от прочности бетона на сжатие

5.1.3.1. Шариковый молоток физделя (рис. 6) применяется для неразрушающего контроля прочности бетона как в монолитных, так и в сборных железобетонных конструкциях.

Этот метод позволяет осуществлять проверку прочности бетона на труднодоступных участках и в условиях, когда не представляется возможным выполнить обследования другими неразрушающими методами контроля.

Шариковый молоток изготавливается из углеродистой стали, ударный конец молотка оканчивается стальным шариком диаметром 17,463 мм, который свободно закольцован и легко вращается в сферическом гнезде. Противоположный заостренный конец молотка подвергается закалке. Масса молотка вместе с шариком составляет 250 г, ручка молотка деревянная длиной 300 мм, масса 100 г, поверхность молотка хромируется.

При ударе бойком шарикового молотка улавливается также и звук. Менее прочный бетон характеризуется глухим звуком. При испытании бетона следует соблюдать постоянный размах молотка локтевым ударом (локоть руки прижат к поверхности конструкции) средней силы.

Поверхность бетона, подвергаемая испытанию, должна быть сухой и тщательно очищенной. Перед простукиванием бетона намечаются зоны выборочных проверок. В каждой зоне наносится 6 - 8 лунок. Диаметры лунок измеряют штангенциркулем или градуированными лупами с 10-кратным увеличением по двум взаимно перпендикулярным направлениям. Средний диаметр лунок вычисляется как среднеарифметическое значение.

Прочность бетона определяют по среднему измеренному диаметру отпечатка и графику (см. рис. 6).

При повреждениях или разрушениях бетона производится оценка прочности в разных точках обследуемых конструкций, при этом проверка производится на расстоянии 20 - 25 см от мест повреждений.

Кроме шарикового молотка физделя при испытании бетона применяются и другие разновидности эталонных молотков.

5.1.3.2. Определение прочности бетона на сжатие (в диапазоне 5÷40 МПа) железобетонных конструкций фундаментов склерометром ОМШ-1 основано на методе упругого отскока по ГОСТ 22690-88. Принцип действия склерометра основан на ударе с нормированной энергией бойка о поверхность бетона и измерении высоты его отскока (Н) в условных единицах шкалы прибора, являющейся косвенной характеристикой прочности бетона на сжатие.

Места испытания выбираются согласно ГОСТ 22690-88.

Положение склерометра относительно испытуемой поверхности должно быть горизонтальным.

При необходимости испытания горизонтальных или наклонных поверхностей следует зафиксировать угол наклона между продольной осью прибора и горизонтальной плоскостью для введения поправки при обработке результатов.

Обработка результатов измерений проводится согласно указаниям ГОСТ 22690-88.

5.1.4. При определении прочности бетона приборами механического действия на участках элементов конструкций, где бетон достаточно однороден, фактическую прочность бетона можно оценить усредненным значением показания прибора, уменьшенным на погрешность каждого конкретного типа прибора.

Например, если прочность бетона оценивается в 30 МПа, а точность показаний прибора составляет 30%, то следует принять фактическую прочность бетона Rб равной 30×0,7, т.е. 21 МПа.

5.1.5. В отдельных случаях появляется необходимость определения влажности бетона (например, для введения поправочных коэффициентов при определении прочности бетона молотком Кашкарова). При этом пробы отбираются на требуемых участках массой 20 - 30 г в закрывающиеся пробирки с притертыми пробками или полиэтиленовые мешочки и должны быть взвешены в течение 1 сут со времени их отбора из конструкций.

5.2. Ультразвуковой метод определения прочности

5.2.1. Ультразвуковой метод основывается на измерении скорости распространения ультразвукового импульса в конструкции.

5.2.2. Выбор контрольных зон для проведения инструментальных испытаний бетона железобетонных элементов фундаментов турбоагрегатов осуществляется исходя из конструктивных особенностей фундамента и условий доступности к этим зонам.

5.2.3. Перед проведением испытаний в выбранных зонах проводятся подготовительные работы, а именно:

размечается сеть контрольных точек; удаляется штукатурный слой;

обрабатывается абразивным материалом поверхность бетона; наносится контактная смазка на обработанную поверхность в зоне размеченных точек.

5.2.4. Прозвучивание бетона осуществляется акустическими приборами "Бетон-12" и УКБ-1М на различных базах сквозным или диагональным способом.

Натурные испытания бетона с использованием акустических приборов проводятся, как правило, комбинированным методом, основанным на двойной информации о бетоне: скорости распространения ультразвука (УЗ) и показателе отскока склерометра, измеренных на одном и том же участке бетона.

Комбинированный метод определения прочности изложен в [16]

5.2.5. После проведения натурных испытании полученные результаты обрабатываются. Обработка результатов включает в себя следующие этапы:

подсчет скоростей распространения ультразвукового импульса в бетоне;

установление градуировочных зависимостей "скорость-прочность" и "отскок-прочность";

определение значений фактической прочности бетона;

определение показателей изменчивости прочности.

5.2.6. Подсчет скоростей распространения ультразвукового импульса в бетоне производится по формуле

,                                                                                    (1)

где V - скорость распространения импульса, м/с;

К - поправочный коэффициент, зависящий от базы прозвучивания - рис. 22 [14];

l - база прозвучивания, м;

t - время распространения импульса, мкс

5.2.7. Градуировочные зависимости "скорость-прочность" и "отскок-прочность" устанавливаются по формулам 8, 11, 12 приложения 4 к ГОСТ 17624-87 с использованием при этом результатов испытаний бетона комбинированным методом.

5.2.8. Значения фактической прочности бетона определяются с помощью полученных градуировочных зависимостей и представляются в табличной форме.

5.2.9. Показатель изменчивости прочности, характеризующий однородность проконтролированного бетона, вычисляется по формуле

,                                                                    (2)

где α - коэффициент, учитывающий влияние статистического характера тарировочных связей;

β - коэффициент, учитывающий влияние осреднения результатов при прозвучивании бетона толщиной более 0,2 м;

Rcp - средняя прочность бетона в зоне контроля, кгс/см2;

R1 - частные значения прочности в зоне контроля, кгс/см2;

n - число частных значений.

Значения поправочных коэффициентов α и β определялись по графику, приведенному на рис. 38 [14].

6. ВЫЯВЛЕНИЕ ФАКТИЧЕСКОГО АРМИРОВАНИЯ

6.1. Важным и сложным этапом обследования фундаментов является выявление их фактического армирования.

Данный этап заключается в изучении проектной и исполнительной документации, касающейся армирования, и в выборочной проверке фактического армирования путем вскрытия защитного слоя бетона и обнаружения арматуры.

Места вскрытия должны быть выбраны с учетом напряженного состояния элементов конструкций фундаментов. При вскрытии арматуры измеряются фактические диаметры и расстояния между рабочими стержнями. При определении мест вскрытия следует максимально использовать имеющиеся дефектные участки с наличием отслоений защитного слоя, продольных трещин, сколов, участков с механическими повреждениями и т.д.

6.2. Данные о количестве, диаметре и классе установленной арматуры, сведений об ее замене, сведения о стыках стержней и результатах испытаний стыков, результаты предварительного напряжения арматуры, а также сведения об анкерных устройствах и закладных деталях приводятся в заводских паспортах изделий, актах на скрытые работы, журналах арматурных работ.

6.3. Количество арматуры в колоннах устанавливают вскрытием защитного слоя четырьмя поперечными бороздами, расположенными по граням колонн на разных (не ближе 50 см) уровнях. Поскольку пробивка глубоких борозд снижает несущую способность сжатых элементов, вскрытие арматуры в целях наименьшего ослабления сечений целесообразно производить путем осторожной пробивки небольших отверстий на разных отметках (рис. 7.).

6.4. Для определения фактического диаметра и шага хомутов колонн пробивается вертикальная борозда на боковой грани колонны.

6.5. Вскрытие в изгибаемых непреднапряженных элементах (ригелях, балках) верхнего строения фундамента можно выполнить в виде прерывистых борозд, выполненных в разбежку в середине пролета в пределах толщины защитного слоя, а также в верхней зоне опорных узлов неразрезных продольных ригелей.

Рис 7. Расположение и размер отверстий на лицевой грани колонны при вскрытии арматуры

6.6. Для вскрытия поперечной арматуры (вертикальные хомуты и отгибы) на боковой поверхности ригелей или балок пробиваются горизонтальные борозды. Для определения количества и места отгибов делаются три-четыре вскрытия на нижней грани опорных частей ригелей и балок.

6.7. После обследования и необходимых измерений места вскрытия тщательно заделываются с предварительной их очисткой и промывкой водой, восстанавливая несущую способность элементов цементным раствором марки не ниже 200.

6.8. По данным вскрытия и обследования арматуры делается эскиз расположения арматуры в бетонном сечении с указанием количества и диаметров. При необходимости уточнения марки стали можно прибегнуть к химическому и металлографическому анализам и механическим испытаниям образцов по существующим ГОСТ. Образцы арматуры при необходимости вырезаются в тех местах, где оставшихся ненарушенных стержней достаточно для обеспечения работы конструкции. Поврежденный стержень восстанавливается приваркой равнопрочной накладки.

6.9. Для контроля толщины защитного слоя бетона и нахождения в конструкциях стержней арматуры применяют магнитные приборы, например измерители защитного слоя ИЗС-1, ИЗС-2 и ИЗС-3.

6.10. Результаты определения фактического армирования должны найти отражение в ведомостях дефектов, схемах вскрытий, протоколах испытаний и измерений арматуры.

7. ВЫЯВЛЕНИЕ И АНАЛИЗ ТРЕЩИН В КОНСТРУКТИВНЫХ ЭЛЕМЕНТАХ ФУНДАМЕНТОВ

7.1. Трещины выявляются путем осмотра открытых поверхностей и узлов соединения конструктивных элементов фундамента (продольных и поперечных ригелей верхнего строения, колонн рамных конструкций и т.д.).

Более детально обследуются участки, подверженные максимальным вибрационным воздействиям, повышенным температурам, прогибам и перекосам элементов верхнего строения, и участки с повышенными осадками.

7.2. В некоторых случаях необходимо осмотреть конструкции соседнего аналогичного фундамента, чтобы правильно объяснить происхождение трещин обследуемого фундамента.

7.3. При обнаружении трещин любого вида необходимо определить их положение, форму, направление, распространение по длине, ширину раскрытия, глубину, время и причину возникновения, а также установить, продолжается или прекратилось их развитие.

7.4. Во всех случаях необходимо отличать трещины, появившиеся в обследуемых конструкциях фундамента в процессе изготовления и монтажа элементов фундамента, от трещин, появившихся во время эксплуатации. Кроме того, следует различать трещины, практически не влияющие на работу конструкций, и опасные трещины, снижающие несущую способность конструкции.

7.5. Сигналом, свидетельствующим о возникновении опасных трещин в фундаменте, является увеличение амплитуд колебания того или иного подшипника агрегата. Поэтому, как только будет замечено усиление вибрации подшипников, следует внимательно осмотреть при работающем турбоагрегате все наружные поверхности фундамента. При этом необходимо прощупать пальцами все обнаруженные трещины. Особо следует выделить "вибрирующие" трещины, т.е. такие, края которых вибрируют в разных режимах.

7.6. В случае обнаружения при обследовании в фундаменте трещин и сомнительных мест, а также ощутимо больших колебаний следует произвести инструментальное измерение вибрации отдельных частей фундаментов и желательно одновременно подшипников агрегата.

Вибрационные исследования фундамента представлены в разд. 8.

При выполнении виброизмерений фундамента необходимо вдоль трещин по обе стороны от них удалить штукатурку, так как она может вибрировать независимо от основного массива фундамента.

Штукатурку следует удалять и в местах, где по внешним признакам можно предположить наличие трещин, скрытых под слоем штукатурки.

7.7. Величина раскрытия трещин при обследовании измеряется с помощью специальных оптических приборов - трубки Бринеля, отсчетного микроскопа МПБ-2 (с 24-кратным увеличением), градуированных луп Польди, визирных луп, щупов.

7.8. Глубина трещин определяется с помощью щупов или ультразвуковых приборов, например, УКБ-1М, "Бетон-3М", "Бетон-транзистор".

При применении ультразвукового метода глубина трещины устанавливается по изменению времени прохождения импульсов как при сквозном прозвучивании, так и методом продольного профилирования при условии, что плоскость трещинообразования перпендикулярна линии прозвучивания. Глубина трещины (рис. 8) определяется из соотношений:

,                                                                                (3)

                                                                                              (4)

где h - глубина трещины, см;

V - скорость распространения ультразвука на участке без трещин, см/мкс;

tе - время прохождения ультразвука на участке с трещиной, мкс;

tа - время прохождения ультразвука на участке без трещины, мкс;

l - база измерений для обоих участков, см.

7.9. Время появления трещин необходимо установить в процессе анализа эксплуатационной документации или (в случае отсутствия соответствующих записей) путем опроса работников предприятия. Старая трещина обычно загрязнена, новая имеет свежий вид.

Рис. 8. Определение глубины трещин в конструкции:

1 - излучатель; 2 - приемник

7.10. Если в процессе обследования фундаментов возникает предположение, что обнаруженные трещины продолжают развиваться, то за ними необходимо установить длительное наблюдение с помощью маяков (гипсовых из цементно-песчаного раствора, пластинчатых или рычажных).

7.11. Если амплитуды вибрации в парных точках, т.е. в точках, расположенных симметрично по обе стороны трещины, отличаются одна от другой не более чем на 3 - 5 мкм, то данная трещина опасности для эксплуатации фундамента не представляет, т.е. не может служить основанием для вывода о необходимости применения крайних мер - отключения оборудования.

7.12. Состояние фундамента следует считать недостаточно удовлетворительным, если будет обнаружено хотя бы одно из следующих явлений:

размах колебаний какой-либо точки фундамента по одну сторону от трещины отличается от амплитуды соответствующей (парной) точки по другую сторону от трещины на 3 - 5 мкм и более;

колебания парных точек по обе стороны от трещины происходят в разных фазах;

наибольший размах колебаний элементов верхнего строения фундамента превышает 15 - 30 мкм, нижней фундаментной плиты превышает 10 мкм.

Меньшее (15 мкм) из указанных значений относится к агрегатам с частотой вращения 3000 об/мин, большее (30 мкм) - к агрегатам с 1500 об/мин.

7.13. При общем обследовании железобетонных элементов фундамента необходимо фиксировать трещины, оказывающие вредное воздействие на работу фундаментов: трещины, ширина раскрытия которых превышает значения, предусмотренные нормами, в частности нормальные трещины в растянутой зоне поперечных и продольных ригелей, наклонные трещины в растянутой зоне от поперечных сил, поперечные и наклонные трещины по всей высоте сечения элементов, продольные трещины в сжатой зоне ригелей и в сжатых элементах (колоннах), продольные трещины вдоль продольной и поперечной арматуры.

7.14. При анализе трещин следует знать, что по своим свойствам, характеристикам, размерам, геометрической форме и направлениям трещины могут быть стабилизировавшимися и нестабилизировавшимися во времени, раскрытыми и сквозными, волосяными (до 0,1 мм), мелкими (до 0,3 мм), развитыми (0,3 - 0,5 мм), поверхностными, вертикальными и горизонтальными, поперечными и продольными.

7.15. При установлении причин увеличенного раскрытия трещин и образования недопустимых трещин следует исходить из того, что, как правило, они могут являться следствием:

увеличения усилий в элементах фундамента, вызванных различными причинами (динамические перегрузки, температурные деформации, перераспределение усилий в связи с деформациями оснований и пр.);

снижения прочностных характеристик бетона;

несоблюдения требований технологии изготовления железобетонных элементов как заводского изготовления, так и при монолитном исполнении;

потери сцепления арматуры с бетоном.

7.16. Трещины в защитном слое бетона, ориентированные вдоль стержней продольной и поперечной арматуры, образуются вследствие распирания бетона продуктами коррозии арматуры.

7.17. Продольные трещины в колоннах при отсутствии коррозии арматуры могут образоваться вследствие снижения прочности бетона или перегрузки, а также в результате чрезмерного выгиба стержней рабочей арматуры вследствие увеличенного по сравнению с нормами расстояния между хомутами.

7.18. Характерными трещинами являются трещины, образовавшиеся в результате, переармирования железобетонных конструкций фундамента. Усадка бетона в данном случае является причиной появления трещин.

7.19. Идентичные трещины появляются в железобетонных конструкциях от влияния на них температуры.

7.20. В результате неравномерного нагрева до 100 - 130°С конструкций рамных и массивных фундаментов в процессе эксплуатации появляются трещины от неравномерных температурных деформаций.

7.21. Вертикальные трещины в пролетных изгибаемых элементах (ригелях) верхнего строения фундамента, раскрытие выше допустимых пределов (свыше 0,3 - 0,5 мм) могут служить признаком перегрузки конструкции или повышенной ее деформации, или недостаточной несущей способности по изгибающему моменту.

Раскрытие трещины в изгибаемых конструкциях до 0,5 - 1 мм может свидетельствовать об образовании пластических деформаций вследствие перегрузки, а раскрытие трещин до величин, измеряемых несколькими миллиметрами, является признаком аварийного состояния.

7.22. Продольные некоррозионные и неусадочные трещины в сжатых зонах изгибаемых элементов фундамента (верхней зоне ригелей), особенно в сочетании с лещадками и отколами бетона, могут служить признаком разрушения сжатого бетона.

7.23. Усадочные трещины часто появляются в защитных слоях бетона, а также в местах "исправлений" раковин в бетоне, что происходит вследствие высокого содержания в этих слоях цемента влаги и ее последующего быстрого высыхания. Эти трещины не следует смешивать с трещинами в самой конструкции, к несущей способности которой они отношения не имеют.

7.24. Трещины от осадок опор возникают обычно только в неразрезных конструкциях, например в ригелях продольных рам фундаментов под турбоагрегаты. Направление этих трещин всегда показывает изменение статической расчетной схемы конструкции. Трещины эти появляются в сжатых до осадки зонах конструкции. При этом косые трещины около неравномерно осевшей опоры получают направление, обратное обычному. В этих случаях следует выяснить причины осадок и принять меры по их устранению.

7.25. При появлении продольных трещин в растянутых элементах конструкций для установления наличия и степени коррозии арматуры производится вскрытие.

При обнаружении таких трещин в сжатых элементах следует предварительно сделать поверочный расчет элемента и лишь после этого вскрыть арматуру.

8. ВИБРАЦИОННЫЕ ИССЛЕДОВАНИЯ ФУНДАМЕНТОВ

8.1. С целью оценки общего вибрационного состояния фундаментов необходимо выполнить измерения вибраций отдельных элементов и опорных конструкций фундаментов.

8.2. На фундаментах, где наблюдаются повышенные вибрации верхнего строения, необходимо проводить комплексные измерения вибрации системы турбоагрегат-фундамент в эксплуатационных режимах агрегата.

8.3. Оценка вибрационного состояния системы турбоагрегат-фундамент производится путем сопоставления результатов измерений с нормативными значениями соответствующих показателей.

8.4. При проведении вибрационных измерений следует иметь в виду, что в случае выявления резонансных зон на фундаменте отстроиться от резонансной частоты можно путем изменения массы (например, наращиванием размеров поперечных сечений элементов фундамента) или жесткости элементов фундамента.

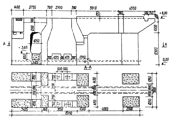
8.5. Перед проведением вибрационных исследований намечаются зоны расположения точек измерений. Пример расположения точек измерений на элементах конструкций фундамента турбоагрегата мощностью 200 МВт приведен на рис. 9, 10.

8.6. Последовательность измерений назначается в соответствии со схемой расположения точек измерений, а также с учетом дополнительных сведений о состоянии фундамента, полученных по результатам визуального осмотра его элементов.

8.7. На начальном этапе определяется вибрационное состояние турбоагрегата и выявляются опоры с повышенным уровнем вибрации. Измерения амплитуд и скорости вибрации подшипников турбоагрегата проводятся в эксплуатационном режиме при максимально возможных нагрузках в момент проведения измерений.

8.8. На следующем этапе определяется вибрационное состояние фундамента, при этом точки измерений располагаются в местах сопряжения конструктивных элементов, в середине пролетов продольных и поперечных ригелей, на колоннах, у нижней фундаментной плиты.

Рис. 9. Пример расположения точек измерений вибрации на элементах конструкции фундамента турбоагрегата мощностью 200 МВт.

Продольный разрез.

• - место измерения вибрации

Рис. 10. Пример расположения точек измерений вибрации на элементах конструкции фундамента турбоагрегата мощностью 200 МВт.

План на отм. 9,0.

• - место измерения вибрации

Амплитуды вибрации измеряются в вертикальном, поперечном и продольном направлениях фундамента.

В зоне повышенных амплитуд - количество точек измерений увеличивается.

8.9. При проведении натурных измерений вибрации опорной системы турбоагрегата и его фундамента используются балансировочные измерительные приборы БИП-5, БИП-6, БИП-7, позволяющие измерять параметры вибрации в пределах 15÷200 Гц.

Используется для проведения измерений вибрации фундаментов и низкочастотная многоканальная аппаратура. Виброизмерительные комплекты включают в себя вибродатчики И-001 и гальванометры МОО2, обеспечивающие синхронную регистрацию виброперемещений в диапазоне от 2 до 200 Гц.

Регистрация виброперемещений производится светолучевыми осциллографами Н-041. Перед началом измерений комплекты виброизмерительной аппаратуры тарируются.

8.10. Вибрационное состояние турбоагрегатов и их фундаментов оценивается согласно [17].

Длительная эксплуатация турбоагрегатов допускается при вибрации подшипниковых опор, не превышающей 4,5 мм/с.

Для обеспечения нормальных условий эксплуатации достаточно, чтобы размах колебаний горизонтальных и вертикальных вибраций ригелей и плит верхнего строения фундаментов для агрегатов с частотой вращения 3000 об/мин не превышали значений: в зонах опирания подшипников - 30 мкм, вне зон опирания подшипников - 50 мкм.

8.11. Элементы фундамента, на который опирается статор генератора, должны проверяться на вибрацию с частотой 100 Гц.

8.12. Для определения вибрационного состояния фундамента следует снимать контурные характеристики, представляющие собой зависимость вибрации от расположения точек измерения на поверхности опоры цилиндра (корпуса генератора, фундаментов и т.п.). Контурная характеристика позволяет выявить нарушения в элементах опорной системы, отрыв фундаментной плиты, ослабление крепления анкерных болтов, появление трещин в фундаменте, выявление зазоров на опорной поверхности корпусов подшипников и т.п.

8.13. При обследовании фундаментов турбоагрегатов с демонтированным оборудованием следует руководствоваться анализами вибрационного состояния оборудования за период эксплуатации.

9. МЕРОПРИЯТИЯ ПО ПОДДЕРЖАНИЮ КОНСТРУКЦИЙ ФУНДАМЕНТОВ В ИСПРАВНОМ СОСТОЯНИИ И СПЕЦИАЛЬНЫЕ ВИДЫ РАБОТ ПРИ ИХ РЕКОНСТРУКЦИИ

9.1. Ремонт и частичная реконструкция фундаментов под турбоагрегаты, как правило, не связаны с выполнением большого объема строительных работ. Между тем эти работы носят ответственный характер и от их качества во многом зависит надежность работы турбоагрегатов.

9.2. Цементация применяется в тех случаях, когда в железобетонных конструкциях обнаружены глубокие раковины, гравелистый и пористый бетон, пустоты, трещины, зазоры, не заполненные бетоном или раствором.

9.3. Торкретирование может быть использовано для работ по защите конструкций от воздействия агрессивных водогазопаровоздушных сред, а также при восстановлении разрушенных защитных слоев железобетонных конструкций, наличии в бетоне глубоких раковин, трещин со значительным раскрытием, ослабляющих последние.

9:4. Защитные штукатурки применяются в тех случаях, когда в конструкциях обнаружены поверхностные раковины, сколы и оголения рабочей арматуры.

9.5. При замене деформированного поверхностного слоя бетона может быть применен сталефибробетон, приготовленный на обычном или напрягающем цементе.

9.6. Работы по реконструкции фундамента приобретают различную степень сложности и ответственности в зависимости от конкретных особенностей вновь устанавливаемого оборудования.

9.7. Реконструкция железобетонных фундаментов, при которой предусматривается только изменение геометрических размеров, связана со срубкой различных объемов старого бетона и наращиванием нового бетона. Наращивание производится посредством устройства бетонных обойм, рубашек или набетонок.

9.8. Реконструкция железобетонных фундаментов, связанная с необходимостью восприятия фундаментом дополнительных нагрузок, также производится путем выполнения обойм, рубашек и набетонок. При этом такое наращивание бетона не всегда обусловлено новыми габаритными размерами оборудования, а чаще всего выполняется только для увеличения несущей способности элементов фундамента.

9.9. Заслуживает внимания ряд вариантов усиления реконструируемых узлов и ригелей фундаментов, связанных с наращиванием, размеров сечений элементов фундаментов железобетонными плитами, снабженными предварительно напряженными хомутами и затяжками и другие способы, разработанные кафедрой железобетонных конструкций Челябинского политехнического института.

Приложение
УСЛОВНЫЕ ОБОЗНАЧЕНИЯ И ХАРАКТЕРИСТИКА ДЕФЕКТОВ ИЛИ ПОВРЕЖДЕНИЙ ЖЕЛЕЗОБЕТОННЫХ КОНСТРУКЦИИ ФУНДАМЕНТОВ

Условное обозначение дефекта или повреждения

Характеристика дефекта или повреждения

Выход арматуры на поверхность (строительный дефект). Обнаженная арматура не погнута. Цифрами показано количество стержней: сверху - вертикальных, сбоку - горизонтальных

Арматура на поверхности бетона. Выгиб или выпучивание отдельных стержней, количество стержней (в одном или двух направлениях) и длина участка

Поверхностное разрушение бетона (на глубину менее защитного слоя) - отслаивание лещадками, шелушение и т.п.

Отслаивание защитного слоя бетона. Количество оголенных стержней и размеры поврежденного участка

Подтеки конденсата без признаков выщелачивания, со значком в скобках - с при знаками выщелачивания

Масляные пятна. Средняя глубина проникновения в бетон (в скобках)

Трещины, средняя ширина раскрытия в мм

Волосяные трещины

Крупнопористый бетон, недостаточно провибрированный в процессе строительства или с малым количеством цементного камня

Участки с низкой прочностью бетона и наличием отслоений крупного заполнителя от цементного камня

Нарушение защитных покрытий закладных деталей (в процентах от общей площади)

Коррозия стали закладной детали (глубина в мм и площадь поражения)

Примечание. Цифрами указаны размеры поврежденных участков в мм.

Список использованной литературы

1. Методические указания по обследованию строительных конструкций производственных зданий и сооружений тепловых электростанций. Ч. 1. Железобетонные и бетонные конструкции. - М.: СПО Союзтехэнерго, 1981.

2. Методические указания по обследованию производственных зданий и сооружений тепловых электростанций, подлежащих реконструкции: МУ 34-70-105-85.- М.: СПО Союзтехэнерго, 1985.

3. Методические указания по наблюдениям за осадками фундаментов, деформациями конструкций зданий и сооружений и режимом грунтовых вод на тепловых и атомных электростанциях: МУ 34-70-084-84. - М.: СПО Союзтехэнерго, 1985.

4. Руководство по проведению натурных обследований промышленных зданий и сооружений. - М.: ЦНИИпромзданий, 1975.

5. СНиП 2.03.01-84*. Бетонные и железобетонные конструкции.

6. СНиП 2.02.05-87. Фундаменты машин с динамическими нагрузками.

7. ГОСТ 17624-87. Бетон. Ультразвуковой метод определения прочности.

8. ГОСТ 22690-88. Бетоны. Определение прочности механическими методами неразрушающего контроля.

9. Руководство по обеспечению долговечности железобетонных конструкций предприятий черной металлургии при их реконструкции и восстановлении. - М.: НИИЖБ Госстроя СССР, 1982.

10. Физдель Н.А. Дефекты в конструкциях, сооружениях и метода их устранения. - М.: Стройиздат, 1987.

11. Динамический расчет специальных инженерных сооружений и конструкции. - М.: Стройиздат, 1986.

12. Справочник по динамике сооружений. - М.: Стройиздат, 1972.

13. Осоловскнй В.П., Венгеровский Д.П., Кранцфельд Я.Л. Эксплуатация фундаментов энергетического оборудования ТЭЦ. М.: Энергия, 1980.

14. Филопидов A.M., Третьяков А.К. Контроль бетона ультразвуком в гидротехническом строительстве.- М.: Энергия, 1969

15. Вославскнй В.Ф., Филопидов A.M. Статический контроль прочности бетона с применением ультразвука. - М.: Информэнерго. 1971.

16. Джонс Р., Фэкэоору И. Неразрушающие методы испытаний бетона (Пер. с румынского). - М.: Стройиздат, 1974.

17. Правила технической эксплуатации электрических станций и сетей Российской Федерации. 15-е изд. - М.: СПО ОРГРЭС, 1996.




Яндекс цитирования