//
ТехЛит.ру
- крупнейшая бесплатная электронная интернет библиотека для "технически умных" людей.
WWW.TEHLIT.RU - ТЕХНИЧЕСКАЯ ЛИТЕРАТУРА

:: Алготрейдинг::


АЛГОТРЕЙДИНГ
шаг за шагом
с нуля по урокам!

Торговые роботы на PYTHON, BackTrader,
Pandas, Pine Script для TradingView. Связка с брокерами, телеграм и легкими приложениями.


ГОСТ 30067-93

МЕЖГОСУДАРСТВЕННЫЙ СТАНДАРТ

ЭКСКАВАТОРЫ ОДНОКОВШОВЫЕ УНИВЕРСАЛЬНЫЕ ПОЛНОПОВОРОТНЫЕ

ОБЩИЕ ТЕХНИЧЕСКИЕ УСЛОВИЯ

МЕЖГОСУДАРСТВЕННЫЙ СОВЕТ
ПО СТАНДАРТИЗАЦИИ, МЕТРОЛОГИИ И СЕРТИФИКАЦИИ

Минск

Предисловие

1 РАЗРАБОТАН Техническим комитетом по стандартизации ТК 295 «Машины землеройные»

2 ВНЕСЕН Госстандартом России

3 ПРИНЯТ Межгосударственным Советом по стандартизации, метрологии и сертификации (протокол № 4-93 от 21.10.93)

За принятие проголосовали:

Наименование государства

Наименование национального органа стандартизации

Республика Азербайджан

Азгосстандарт

Республика Армения

Армгосстандарт

Республика Беларусь

Белстандарт

Республика Казахстан

Казгосстандарт

Республика Кыргызстан

Кыргызстандарт

Республика Молдова

Молдовастандарт

Российская Федерация

Госстандарт России

Таджикистан

Таджикгосстандарт

Республика Туркменистан

Туркменгосстандарт

Республика Узбекистан

Узгосстандарт

Украина

Госстандарт Украины

4 Постановлением Комитета Российской Федерации по стандартизации, метрологии и сертификации от 11.04.95 № 204 межгосударственный стандарт ГОСТ 30067-93 введен в действие непосредственно в качестве государственного стандарта Российской Федерации с 1 января 1996 г.

5 ВВЕДЕН ВЗАМЕН ГОСТ 26959-86, ГОСТ 22894-77, 17343-83, ГОСТ 4.111-84, ГОСТ 12910-79

СОДЕРЖАНИЕ

1 Область применения

2 Нормативные ссылки

3 Термины и определения

4 Типы и основные параметры

5 Технические требования

6 Приемка

7 Методы испытаний

8 Транспортирование и хранение

9 Указания по эксплуатации

10 Гарантии изготовителя

 

Приложение А

Классификация и методика определения категории грунтов

Приложение Б

Термины, применяемые в настоящем стандарте, и их пояснения

Приложение В

Номенклатура технических показателей экскаваторов одноковшовых универсальных, включаемых в технические условия

Приложение Г

Индексация полноповоротных одноковшовых универсальных экскаваторов

Приложение Д

Методика определения давления на опорную поверхность для гусеничных экскаваторов

Приложение Ж

Методика проверки технически достижимых продолжительности рабочего цикла, максимальной производительности и минимального удельного расхода топлива

Приложение К

Хронометражная ведомость наблюдений за работой экскаватора

Приложение Л

Хронометражная ведомость наблюдений за техническим обслуживанием

Приложение М

Сводная ведомость хронометражных наблюдений за работой экскаватора

 

МЕЖГОСУДАРСТВЕННЫЙ СТАНДАРТ

ЭКСКАВАТОРЫ ОДНОКОВШОВЫЕ УНИВЕРСАЛЬНЫЕ ПОЛНОПОВОРОТНЫЕ

Общие технические условия

Universal single-bucket full turning excavator. General specifications

Дата введения 1996-01-01

1 ОБЛАСТЬ ПРИМЕНЕНИЯ

Настоящий стандарт распространяется на одноковшовые универсальные полноповоротные экскаваторы массой до 71 т (далее - экскаваторы), предназначенные в основном для разработки немерзлых грунтов категории I-IV в соответствии с приложением А, а также предварительно разрыхленных скальных и мерзлых грунтов в диапазоне температур от минус 40 °С до плюс 40 °С (для других диапазонов температур экскаваторы изготавливают по специальным требованиям) и устанавливают требования к конструкции, а также к приемке и методам испытаний. Конкретные условия работы экскаваторов указывают в технических условиях на каждую модель.

Стандарт не распространяется на экскаваторы специального назначения (железнодорожные, подземные, туннельные, плавучие и другие), экскаваторы с телескопическим рабочим оборудованием, а также на экскаваторы с прочим рабочим оборудованием, которые в связи с характером работы должны отвечать стандартам и предписаниям организаций технического надзора на экскаваторы на базе тракторов, тягачей, автомобилей и спецшасси автомобильного типа.

Требования 5.1.3; 5.4; 7.1; 7.3.4; 7.3.8-7.3.12; 7.3.14; приложения В (в части подпунктов, обозначенных - *); 5.2; 5.3; 5.6, приложения Г настоящего стандарта являются обязательными. Другие требования настоящего стандарта являются рекомендуемыми.

2 НОРМАТИВНЫЕ ССЫЛКИ

В настоящем стандарте использованы ссылки на следующие стандарты:

ГОСТ 2.601-68

ЕСКД. Эксплуатационные документы

ГОСТ 2.602-68

ЕСКД. Ремонтные документы

ГОСТ 8.326-89

ГСИ. Метрологическая аттестация средств измерений

ГОСТ 8.513-84

ГСИ. Поверка средств измерений. Организация и порядок проведения

ГОСТ 12.1.003-83

ССБТ. Шум. Общие требования безопасности

ГОСТ 12.1.004-91

ССБТ. Пожарная безопасность. Общие требования

ГОСТ 12.1.012-90

ССБТ. Вибрационная безопасность. Общие требования

ГОСТ 12.1.026-80

ССБТ. Шум. Определение шумовых характеристик источников шума в свободном звуковом поле над звукоотражающей плоскостью. Технический метод

ГОСТ 12.2.007.0-75

ССБТ. Изделия электротехнические. Общие требования безопасности

ГОСТ 12.2.011-75

ССБТ. Машины строительные и дорожные. Общие требования безопасности

ГОСТ 12.4.026-76

ССБТ. Цвета сигнальные и знаки безопасности

ГОСТ 17.2.2.01-84

Охрана природы. Атмосфера. Дизели автомобильные. Дымность отработавших газов. Нормы и методы измерений

ГОСТ 17.2.2.02-86

Охрана природы. Атмосфера. Нормы и методы измерения дымности отработавших газов тракторных и комбайновых дизелей

ГОСТ 17.2.2.05-86

Охрана природы. Атмосфера. Нормы и методы измерения выбросов вредных веществ с отработавшими газами тракторных и комбайновых дизелей

ГОСТ 12969-69

Таблички для машин и приборов. Технические требования

ГОСТ 14192-77

Маркировка грузов

ГОСТ 15150-69

Машины, приборы и другие технические изделия. Исполнения для различных климатических районов. Категории, условия эксплуатации, хранения и транспортирования в части воздействия климатических факторов внешней среды

ГОСТ 16812-82

Радиопомехи индустриальные. Методы испытаний источников индустриальных радиопомех

ГОСТ 17257-87

Экскаваторы одноковшовые универсальные. Методы определения вместимости ковша

ГОСТ 17822-91

Совместимость технических средств электромагнитная. Радиопомехи индустриальные от устройств с двигателями внутреннего сгорания. Нормы и методы испытаний

ГОСТ 19853-74

Пресс-масленки. Технические условия

ГОСТ 20245-74

Гидроаппаратура. Правила приемки и методы испытаний

ГОСТ 27251-87

Машины землеройные. Метод испытаний по определению времени перемещения рабочих органов

ГОСТ 27252-87

Машины землеройные. Консервация и хранение

ГОСТ 27253-87

Машины землеройные. Приборы для обслуживания

ГОСТ 27256-87

Машины землеройные. Методы определения размеров машин с рабочим оборудованием

ГОСТ 27533-87

Машины землеройные. Размеры наливных горловин топливных баков

ГОСТ 27534-87

Акустика. Измерение воздушного шума, создаваемого землеройными машинами на рабочем месте оператора. Испытания в стационарном режиме

ГОСТ 27717-88

Акустика. Измерение воздушного шума, излучаемого землеройными машинами. Метод проверки соответствия нормативным требованиям по внешнему шуму. Испытания в стационарном режиме

ГОСТ 27921-88

Машины землеройные. Минимальные размеры смотровых отверстий

ГОСТ 27922-88

Машины землеройные. Методы измерения масс машин в целом, рабочего оборудования и составных частей

ГОСТ 27927-88

Машины землеройные. Определение скорости движения

ГОСТ 28634-90

Машины землеройные. Приборы для эксплуатации

ГОСТ 28983-91

Машины землеройные. Инструмент для технического обслуживания. Часть I. Инструмент для ухода и регулировки

ГОСТ 29292-92

Машины землеройные. Бортовые звуковые сигнализаторы переднего и заднего хода. Методы акустических испытаний

ОСТ 37.001.234-81

Охрана природы. Атмосфера. Дизели автомобильные. Выбросы вредных веществ с отработавшими газами. Нормы и методы измерений

3 ТЕРМИНЫ И ОПРЕДЕЛЕНИЯ

Термины и определения приведены в приложении Б.

4 ТИПЫ И ОСНОВНЫЕ ПАРАМЕТРЫ

4.1 В зависимости от главного параметра (эксплуатационной массы с основным рабочим оборудованием по приложению Б) экскаваторы подразделяют на размерные группы, которые приведены в таблице.

Ряд одноковшовых универсальных экскаваторов

Размерная группа

Масса экскаватора, т

Свыше

До

1

-

6,3

2

6,3

10

3

10

18

4

18

32

5

32

50

6

50

71

4.2 В зависимости от ходового устройства экскаваторы подразделяют на следующие типы: гусеничные, гусеничные с увеличенной опорной поверхностью гусениц и колесные.

4.3 В зависимости от исполнения рабочего оборудовании экскаваторы делят на виды:

- экскаваторы с гибкой подвеской рабочего оборудования;

- экскаваторы с жесткой подвеской рабочего оборудования.

5 ТЕХНИЧЕСКИЕ ТРЕБОВАНИЯ

5.1 Характеристики

5.1.1 Экскаваторы следует изготавливать в соответствии с обязательными требованиями настоящего стандарта и технических условий на экскаваторы конкретных моделей, а также по рабочим чертежам, разработанным в установленном порядке.

В технических условиях на экскаваторы конкретных моделей приводят значения технических показателей качества, номенклатуру которых устанавливают по согласованию с потребителем с учетом приложения В.

5.1.2 Экскаваторы изготавливают в климатическом исполнении и категории размещения по ГОСТ 15150 по согласованию с потребителем. Требования к системам пуска двигателя при низких температурах устанавливают в технических условиях на конкретные модели экскаваторов.

5.1.3 Конструкция экскаватора должна обеспечивать:

- возможность использования не менее 3 видов рабочего оборудования (в т.ч. основного по приложению Б) с различными сменными рабочими органами (например, ковши различного назначения, рыхлитель, отвал, захват и др.);

- движение элементов рабочего оборудования в отдельности и возможное совмещение рабочих движений;

- устойчивость при работе, в том числе с наклоном в любом направлении на угол не менее 0,087 рад (5°) к горизонту с основным рабочим оборудованием *;

- устойчивость при передвижении по твердой сухой поверхности вдоль косогора (конкретные значения поперечного уклона указывают в технических условиях)*;

- стопорение поворотной части относительно неповоротной в транспортном положении *;

- установку буксировочного приспособления и буксирование со скоростью до 40 км/ч (для пневмоколесных экскаваторов массой до 20 тн)*;

- управление колесными тормозами и стоп-сигналами экскаватора от соответствующих систем тягача (при передвижении на буксире для пневмоколесных экскаваторов с электрооборудованием напряжения 12 В)*;

- освещение рабочей зоны собственными источниками света *;

- освещение приборов па пульте управления *.

5.1.4 Топливные баки на экскаваторе должны иметь вместимость, обеспечивающую не менее 9 моточасов непрерывной работы двигателя.

5.1.5 Минимальные размеры смотровых отверстий - по ГОСТ 27921.

5.1.6 Размеры наливных горловин топливных баков - по ГОСТ 27533.

5.1.7 Смазочные масленки ниппельного типа - по ГОСТ 19853.

5.1.8 Приборы для эксплуатации - по ГОСТ 28034.

5.1.9 Конструкция экскаваторов должна обеспечивать безопасность их эксплуатации, технического обслуживания и хранения при соблюдении обслуживающим персоналом требовании эксплуатационной документации.

5.2 Требования эргономики и безопасности

5.2.1 Требования безопасности, предъявляемые к электрооборудованию, - по ГОСТ 12.2.007.0.

5.2.2 Цвета сигнальные и знаки безопасности - по ГОСТ 12.4.026.

5.2.3 Требования эргономики и безопасности - по ГОСТ 12.2.011.

5.2.4 Уровень радиопомех - по ГОСТ 17822.

5.2.5 Требования пожарной безопасности - по ГОСТ 12.1.004.

5.2.6 Шумовые и вибрационные характеристики экскаваторов со специфическими (например, гидромолот) сменными видами рабочего оборудования - по техническим условиям на конкретные модели, разработанные в установленном порядке.

5.3 Требования защиты окружающей среды

5.3.1 Конструкция экскаватора должна обеспечивать возможность заправки топливом и замену смазочных материалов и рабочей жидкости при техническом обслуживании без загрязнения окружающей среды.

5.3.2 При установке на экскаваторах тракторных и автомобильных дизелей и их модификаций дымность отработавших газов:

- тракторных дизелей - по ГОСТ 17.2.2.02;

- автомобильных дизелей - по ГОСТ 17.2.2.01 (принимают по документации предприятия-изготовителя двигателей).

5.3.3 Выбросы вредных веществ с отработавшими газами из системы выпуска двигателей:

- тракторных двигателей и их модификаций - по ГОСТ 17.2.2.05;

- автомобильных дизелей и их модификаций - по ОСТ 37.001.234 (принимают по документации предприятия-изготовителя двигателей).

5.3.4 Среднее давление на опорную поверхность гусеничных экскаваторов не должно быть больше следующих значений для экскаваторов массой:

до 18 т - 50 кПа (0,5 кгс/см2);

до 25 т - 65 кПа (0,65 кгс/см2);

до 32 т - 90 кПа (0,9 кгс/см2);

до 50 т - 120 кПа (1,2 кгс/см2);

св. 50 т - 220 кПа (2,2 кгс/см2);

5.4 Требования к приводу и системам управления

Конструкция привода и систем управления должна обеспечивать:

- герметичность элементов систем гидропривода - по ГОСТ 20245. Вытекание рабочей жидкости через неподвижные и поворотные сопряжения не допускается. Вынос масла в подвижных соединениях (на поверхности штоков гидроцилиндров, во вращающихся соединениях и т.п.) при работе не должен превышать норм, установленных стандартами и техническими условиями на элементы гидропривода *;

- предотвращение вытекания рабочей жидкости из гидробака при замене рабочего оборудования и техническом обслуживании фильтров;

- ограничение скорости опускания стрелы *;

- предотвращение опускания под действием силы тяжести стрелы или рукояти при включении гидроцилиндров на подъем этих элементов рабочего оборудования *;

- возможность свободного перемещения стрелы и поворота платформы при буксировке экскаватора типа ЭП (при буксировке с опиранием ковша на буксирующую машину)*.

5.5 Комплектность

5.5.1 В комплект экскаватора, как правило, входят:

рабочее оборудование и рабочие органы согласно договору на поставку; запасные части, инструмент, принадлежности и материалы согласно ведомости ЗИП - по ГОСТ 2.601;

вентилятор;

переносная электрическая лампа;

огнетушитель;

стеклоочиститель с электрическим или другим механизированным приводом;

устройство для крепления запасного колеса на пневмоколесном экскаваторе в транспортном положении;

запасное колесо и буксировочное устройство для экскаваторов типа ЭП.

К экскаватору, как правило, прикладывают:

каталог деталей и сборочных единиц по ГОСТ 2.602;

ремонтная документация по ГОСТ 2.602;

эксплуатационная документация в соответствии с требованиями ГОСТ 2.601 (формуляр, ведомость ЗИП, техническое описание и инструкция по эксплуатации).

Инструкция по эксплуатации должна содержать схемы:

размещения и крепления гусеничных экскаваторов 3-5-й размерных групп на прицепе тяжеловоза и буксировки тягачом пневмоколесного экскаватора типа ЭП;

строповки экскаватора при подъеме краном;

размещения на железнодорожной платформе.

Конкретный перечень комплектации определяется согласно договору на поставку.

5.6 Маркировка

5.6.1 На каждом экскаваторе должна быть прикреплена маркировочная табличка, содержащая следующие данные:

наименование предприятия изготовителя и (или) его товарный знак;

индекс экскаватора (по приложению Г);

номер по системе нумерации предприятия-изготовителя;

обозначение нормативного документа, по которому изготовлен экскаватор.

5.6.2 На каждое грузовое место наносят транспортную маркировку по ГОСТ 14192.

5.7 Упаковка

Требования к упаковке устанавливают в технических условиях на экскаваторы конкретных моделей в соответствии с ГОСТ 27252.

6 ПРИЕМКА

6.1 Для проверки качества изготовления экскаваторов серийного производства проводят приемо-сдаточные и периодические испытания.

6.2 Приемо-сдаточные испытания экскаватора проводят по техническим условиям на конкретные модели, разработанные с учетом настоящего стандарта.

6.2.1 Приемо-сдаточные испытания, как правило, включают:

визуальный контроль, при котором проверяют комплектность экскаватора, внешний вид (правильность сборки, отсутствие видимых повреждении агрегатов, сборочных единиц и деталей, состояние покрытий, окраски, сварных швов и крепежных соединений), заправку экскаватора топливом, рабочими и охлаждающими жидкостями, смазочными материалами в необходимых количествах, наличие пломб и маркировки;

проверку функционирования механизмов и устройств в отдельности и машины в целом на холостом ходу, движение элементов рабочего оборудования и возможное совмещение операций, вращение поворотной платформы, передвижение машины вперед и назад, развороты, торможение;

проверку работы экскаватора под нагрузкой, при которой контролируют работу механизмов, систем силового привода и управления (эффективность работы стояночного и основного тормозов, отсутствие утечки рабочей жидкости из гидросистемы, отсутствие самопроизвольного опускания (просадки) рабочего оборудовании под действием силы тяжести при включении гидроцилиндров (лебедок) на подъем), давление в гидросистеме на соответствие нормам, установленным в конструкторской и эксплуатационной документации.

6.3 Периодические испытания проводят по программам и методикам, разработанным с учетом требований настоящего стандарта и нормативно-технической документации.

6.3.1 При периодических испытаниях проверяют:

габаритные размеры экскаватора в транспортном положении;

рабочие параметры (например, глубину, радиус копания обратной лопаты и драглайна, высоту копания и радиус выгрузки прямой лопаты);

вместимость ковшей;

эксплуатационную массу экскаватора с одним из видов рабочего оборудования и массу испытуемого сменного рабочего оборудования;

продолжительность рабочего цикла и производительность;

расход топлива (электроэнергии);

оперативную трудоемкость ежесменного технического обслуживания (ЕО) и оперативную трудоемкость технического обслуживания (ТО-1);

выполнение требований безопасности, эргономики и экологии.

6.3.2 Устойчивость, частоту вращения поворотной платформы, проходимость и маневренность экскаватора (углы въезда и съезда, клиренс, минимальный радиус поворота для пневмоколесных экскаваторов), обзорность и освещенность, а также скорость передвижения при периодических испытаниях проверяют в случае, если при серийном производстве проводилось усовершенствование соответствующих механизмов систем.

6.3.3 Проверку уровня радиопомех проводят в случае, если при приемочных испытаниях их значение превышало 1/3 допустимых значений.

7 МЕТОДЫ ИСПЫТАНИЙ

7.1. Требования к средствам испытаний *

7.1.1 Перечень средств испытаний должен быть приведен в программе и методике испытаний конкретной модели экскаватора.

7.1.2 Стандартизованные средства измерений должны быть поверены в соответствии с требованиями ГОСТ 8.513, а нестандартизованные - аттестованы в соответствии с требованиями ГОСТ 8.326.

7.1.3 Погрешности применяемых средств измерений должны быть не более:

±2 % - при измерении массы;

±0,5 мм - при измерении линейных размеров до 1 м;

±5 мм - при измерении линейных размеров до 10 м;

±3° - при измерении угловых размеров;

±1 °С - при измерении температуры окружающей среды;

±5 % -при измерении освещенности;

±5 % - при измерении эргономических показателей;

от 1 до 2,5 % - при измерении частоты вращения.

7.1.4 Для измерения неоговоренных выше физических величин допускается использовать другие средства измерений, которые соответствуют классам точности от 0,6 до 2,5.

7.2 Подготовка к испытаниям

7.2.1 Для проведения приемо-сдаточных испытаний подготавливают документацию в объеме, определяемом предприятием-изготовителем.

7.2.2 Для периодических испытаний, как правило, подготавливают:

программу и методику периодических испытаний;

акт приемо-сдаточных испытаний;

комплект сборочных чертежей серийного производства;

материалы предшествующих периодических испытаний;

материалы основных конструктивных и технологических изменений, внесенных в документацию в период между предшествующими и настоящими периодическими испытаниями;

инструкцию по эксплуатации и формуляр или паспорт;

нормативно-техническую документацию на серийно выпускаемые экскаваторы.

7.3 Проведение испытаний

7.3.1 Испытания экскаватора проводят как в лабораторных условиях, так и в условиях эксплуатации или на специализированных полигонах.

7.3.2 Габаритные размеры экскаватора и линейные параметры рабочего оборудования определяют в соответствии с ГОСТ 27256.

7.3.3 Проверку эксплуатационной массы экскаватора и его составных частей проводят в соответствии с ГОСТ 27922.

7.3.4 Давление на опорную поверхность определяют как отношение эксплуатационной массы экскаватора к площади опорной поверхности его гусеничного хода в соответствии с приложением Д *.

7.3.5 Вместимость ковша - по ГОСТ 17257.

7.3.6 Определение времени и скорости перемещения рабочих органов - по ГОСТ 27251.

7.3.7 Определение скорости движения экскаваторов - по ГОСТ 27927.

7.3.8 Испытание звуковой сигнализации - по ГОСТ 29292 *.

7.3.9 Дымность отработавших газов тракторных и автомобильных двигателей и их модификаций, а также выбросы вредных веществ с отработавшими газами из системы выпуска двигателей принимают по документации на двигатели *.

7.3.10 Проверку уровня радиопомех проводят по ГОСТ 17822 *.

7.3.11 Испытания экскаваторов под нагрузкой с рабочим оборудованием и рабочими органами из числа входящих в комплект экскаватора проводят при выполнении наиболее характерных видов работ. При этом проводят хронометраж и учет наработки экскаватора, фиксируются неисправности и их причины *.

7.3.12 Проверку технически достижимых: продолжительности рабочего цикла, максимальной производительности и минимального удельного расхода топлива проводят в соответствии с приложением *.

7.3.13 Оперативную трудоемкость плановых технических обслуживаний (ЕО, TO-1) проверяют на основании данных хронометража при имитации выполнения всех операций, предусмотренных инструкцией по эксплуатации экскаватора. Повторность выполнения операций - не менее 3 раз.

7.3.14 Проверку выполнения требований безопасности и эргономики проводят в соответствии с ГОСТ 12.2.011, ГОСТ 12.1.003, ГОСТ 12.1.012, ГОСТ 27534, ГОСТ 27717* и нормативной документацией предприятия-изготовителя экскаватора.

7.3.15 Сроки проведения, объем периодических испытаний, а также неустановленные методы испытаний и методы испытаний неоговоренных показателей устанавливают предприятия-изготовители.

7.3.16 Результаты приемосдаточных и периодических испытаний оформляют протоколом.

7.3.17 Результаты хронометрических наблюдений заносят в ведомости (приложения К, Л, М).

8 ТРАНСПОРТИРОВАНИЕ И ХРАНЕНИЕ

8.1 Группа условий хранения и транспортирования экскаваторов - 7 (Ж1) по ГОСТ 15150.

8.2 Экскаваторы при транспортировании с основными видами рабочего оборудования следует вписывать в установленный габарит погрузки в соответствии с «Техническими условиями погрузки и крепления грузов» Министерства путей сообщения, в том числе:

экскаваторы 1-2-х размерных групп и гусеничные экскаваторы 3-4-х размерных групп без разборки;

экскаваторы с увеличенной опорной поверхностью и колесные экскаваторы, а также гусеничные экскаваторы 5-й размерной группы - с частичной разборкой (кабина, рабочее оборудование и гусеничные ленты);

экскаваторы 6-й размерной группы - с разборкой на основные составные части.

8.3 Габариты колесных экскаваторов должны допускать перегон собственным ходом (без разборки) по дорогам общей сети страны под мостами и другими наддорожными сооружениями в соответствии с «Правилами дорожного движения», утвержденными МВД.

9 УКАЗАНИЯ ПО ЭКСПЛУАТАЦИИ

9.1 Эксплуатацию экскаваторов следует осуществлять в соответствии с настоящим стандартом, техническими условиями и эксплуатационном документацией на конкретные модели, утвержденными в установленном порядке.

9.2 К эксплуатации допускаются только полностью укомплектованные и технически исправные машины.

9.3 К управлению экскаваторами допускаются лица, имеющие удостоверение на право управления экскаваторами данной модели.

10 ГАРАНТИИ ИЗГОТОВИТЕЛЯ

10.1 Изготовитель гарантирует соответствие экскаватора требованиям настоящего стандарта и техническим условиям при соблюдении потребителем условий эксплуатации, хранения и монтажа, установленных настоящим стандартом и техническими условиями.

Остальные требования к конкретной продукции должны быть установлены разработчиком в технических условиях, согласованных в установленном порядке.

 

ПРИЛОЖЕНИЕ А

(рекомендуемое)

КЛАССИФИКАЦИЯ И МЕТОДИКА ОПРЕДЕЛЕНИЯ
КАТЕГОРИИ ГРУНТОВ

Классификация немерзлых и мерзлых грунтов в зависимости от числа ударов динамического плотномера приведена в таблице.

Категория грунтов

Немерзлые грунты

Мерзлые грунты

I

II

III

IV

V

VI

VII

VIII

Среднее по глубине копания число ударов Сср динамического плотномера (см. чертеж)

1-4

5-8

9-16

17-35

36-70

71-140

141-280

281-560

 

Среднее по глубине копания число ударов Сср рассчитывают по формуле

где С1 - среднее число ударов на поверхности грунта;

С2 - среднее число ударов на средней глубине промерзшего слоя грунта (или слоя немерзлого грунта, плотность которого отличается от плотности нижележащего слоя грунта);

С3 - среднее число ударов на границе промерзшего и немерзлого грунта, плотность которых отличается друг от друга;

С4 - среднее число ударов на дне траншеи;

h1 - глубина промерзания грунта (или толщина немерзлого грунта, плотность которого отличается от плотности нижележащего слоя грунта), м;

h2 - толщина немерзлого слоя грунта (или толщина немерзлого слоя грунта, плотность которого отличается от плотности вышележащего слоя грунта), м;

Н - глубина копания, м.

Примечание. Среднее число ударов динамического плотномера C1-С2 следует определить как среднеарифметические значения измерений, выполняемых не менее чем в трех точках на поверхности грунта, на равной глубине и на дне траншеи.

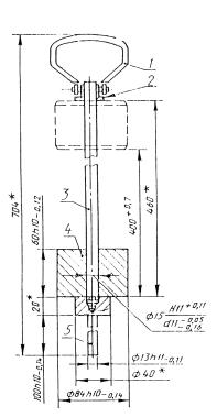
Динамический плотномер

___________

* Размеры для справок

1 - ручка; 2 - втулка в сборе; 3 - шток; 4 - груз; 5 - наконечник

ПРИЛОЖЕНИЕ Б

(рекомендуемое)

Термины, применяемые в настоящем стандарте, и их пояснения

Термин

Пояснение

Эксплуатационная масса экскаватора

Масса готового к функционированию экскаватора с полной заправкой рабочей жидкостью, топливом и смазочными материалами, с инструментом и принадлежностями в соответствии с инструкцией предприятия-изготовителя и массой оператора (75±3) кг по ГОСТ 27922

Рабочее оборудование

Совокупность частей экскаватора (стрела, рукоять, ковш или другие элементы), непосредственно предназначенные для разработки или рыхления грунтов и выполнения других видов работ

Основное рабочее оборудование

Рабочее оборудование (для гидравлических экскаваторов 1-5-й размерных групп обратная лопата, 6-й - прямая лопата; для механических экскаваторов 3-й размерной группы - обратная лопата), 4-й и 5-й - прямая лопата, предназначенные для разработки грунтов I-IV категорий)

Основной (расчетный) ковш

Ковш для разработки грунтов категории III

Вместимость ковша

По ГОСТ 17257

Глубина копания

Наибольшая кинематическая глубина копания, определяемая геометрией рабочего оборудования по режущей кромке зуба ковша

Удельный расход топлива (электроэнергии)

Отношение общего расхода топлива (электроэнергии) к объему вынутого грунта при проверке производительности по методике в соответствии с приложением Ж

Увеличенная опорная поверхность

Опорная поверхность гусеничного хода экскаватора, обеспечивающая пониженное (не менее чем на 25 % относительно значения, устанавливаемого 3.3.3) давление на грунт

ПРИЛОЖЕНИЕ В

(обязательное)

НОМЕНКЛАТУРА
технических показателем экскаваторов одноковшовых универсальных,
включаемых в технические условия

1 Геометрическая и номинальная вместимость ковша

2 Мощность основного двигателя или основной насосной установки

3 Давление на опорную поверхность (для гусеничных машин)*

4 Эксплуатационная масса

5 Рабочие параметры (глубина, радиус копания обратной лопаты и драглайна, высота копания и радиус выгрузки прямой лопаты)

6 Уровень внешнего шума*

7 Уровень шума в кабине машиниста*

8 Уровень вибрации на рабочем месте машиниста*

9 Габаритные размеры

10 Продолжительность рабочего цикла

11 Расход топлива (электроэнергии)

12 Частота вращения поворотной платформы

13 Клиренс

14 Углы въезда и съезда (для пневмоколесных экскаваторов)

15 Минимальный радиус поворота (для пневмоколесных экскаваторов)

16 Скорость передвижения

ПРИЛОЖЕНИЕ Г

(обязательное)

ИНДЕКСАЦИЯ ПОЛНОПОВОРОТНЫХ ОДНОКОВШОВЫХ УНИВЕРСАЛЬНЫХ ЭКСКАВАТОРОВ

 

ЭО

 

Х

 

Х

 

Х

 

Х

 

Х

 

Х

 

 

 

 

 

 

 

 

 

 

 

 

 

 

 

 

 

 

 

 

Буквенное обозначение одноковшового экскаватора

 

 

 

 

 

 

 

 

 

 

 

 

 

 

 

 

 

 

 

 

 

 

 

 

 

 

 

 

 

 

 

 

 

 

 

 

 

 

 

 

Размерная группа

 

 

 

 

 

 

 

 

 

 

 

 

 

 

 

 

 

 

 

 

 

 

 

 

 

 

 

 

 

 

 

 

 

 

 

 

 

Обозначение типа ходового устройства (гусеничного - 1, гусеничного с увеличенной опорной поверхностью гусениц - 2, колесного - 3)

 

 

 

 

 

 

 

 

 

 

 

 

 

 

 

 

 

 

 

 

 

 

 

 

 

 

 

 

 

 

 

 

 

 

Обозначение исполнения рабочего оборудования (с гибкой подвеской - 1, с жесткой - 2)

 

 

 

 

 

 

 

 

 

 

 

 

 

 

 

 

 

 

 

 

 

 

 

 

 

 

 

 

 

 

 

Порядковый номер модели (1, 2, 3 и т.д.)

 

 

 

 

 

 

 

 

 

 

 

 

 

 

 

 

 

 

 

 

 

 

 

 

 

 

 

 

Буквенное обозначение очередной модернизации (А, Б, В и т.д.)

 

 

 

 

 

 

 

 

 

 

 

 

 

 

 

 

 

 

 

 

 

 

 

 

 

Буквенное обозначение климатического исполнения (ХЛ, ТС или ТВ)

 

Примечания

1 Основное исполнение У для макроклиматических районов с умеренным климатом и индексе не указывают.

2 Если модернизация не проводилась, то ее обозначение не указывают.

3 Порядковый номер модификации экскаватора указывают соответствующей арабской цифрой после основного индекса.

4 Индекс присваивают на основе утвержденного техническою задания на проектирование экскаватора (или заменяющего документа) базовой организацией по стандартизации (или техническим комитетом).

Пример условного обозначения индексации одноковшового универсального экскаватора 4-й размерной группы на пневмоколесном ходовом устройстве с жесткой подвеской рабочего оборудования, второй модели, первой модернизации, в исполнении для макроклиматических районов с холодным климатом, первая модификация:

ЭО-4322 АХЛ-1

ПРИЛОЖЕНИЕ Д

(рекомендуемое)

МЕТОДИКА
определения давления на опорную поверхность
для гусеничных экскаваторов

Давление на опорную поверхность Рон, кПа, рассчитывают по формуле

где G - эксплуатационная масса экскаватора с рабочим оборудованием, кг;

g - ускорение земного тяготения, равное 9,81 м/с;

Вг - ширина гусеничной ленты, м;

l - среднее расстояние между ведущим и натяжным колесами гусениц, рассчитанное исходя из шага гусеничной цепи и числа звеньев, м;

d - диаметр окружности, описанный вокруг гусеницы, лежащей на ведущем колесе, м.

ПРИЛОЖЕНИЕ Ж

(рекомендуемое)

МЕТОДИКА ПРОВЕРКИ ТЕХНИЧЕСКИ ДОСТИЖИМЫХ ПРОДОЛЖИТЕЛЬНОСТИ РАБОЧЕГО ЦИКЛА,
МАКСИМАЛЬНОЙ ПРОИЗВОДИТЕЛЬНОСТИ И
МИНИМАЛЬНОГО УДЕЛЬНОГО РАСХОДА ТОПЛИВА

1 Указанные показатели используют для подтверждения данных технической характеристики конкретных моделей экскаваторов.

2 Проверку показателей проводят при соблюдении следующих условий:

- температура воздуха - от 10 °С до 25 °С;

- погода - без осадков;

- регулирование двигателя - на максимальную подачу топлива или на рекомендуемое ПТД предприятия-изготовителя экскаватора;

- нагрев рабочей жидкости в гидросистеме - до плюс (50±10) °С;

- квалифицированное обслуживание и управление экскаватором.

3 Проверку показателей для основных видов оборудования проводят на следующих видах работ:

- для экскаваторов, оборудованных прямой лопатой, - разработка в грунтах III категории траншеи глубиной не более 2/3 наибольшей кинематической глубины копания, но не менее 2,5 м для экскаваторов 3-й размерной группы и 3,0 м для экскаваторов 4-6-й размерных групп и шириной не более двухкратной ширины ковша с выгрузкой в отвал;

- для экскаваторов, оборудованных прямой лопатой - разработка в грунтах III категории забоя высотой не менее половины наибольшей кинематической высоты копания с выгрузкой в отвал;

- для экскаваторов с рабочим оборудованием драглайна - разработка грунта III категории в котловане глубиной не более 2/3, но не менее половины максимальной глубины копания с выгрузкой в отвал.

Условия испытаний и методика проверки технически достижимых показателей экскаваторов с другими видами рабочего оборудования и рабочих органов, а также экскаваторов с увеличенной опорной поверхностью устанавливают в программе и методике испытаний на конкретную модель.

4 Продолжительность рабочего цикла определяют как среднее арифметическое не менее десяти измерений времени при работе со средним углом поворота 1,57 рад (90°), коэффициентом наполнения копта не менее 1,0.

5 Техническую производительность рассчитывают, исходя из фактических данных по продолжительности цикла, коэффициентов наполнения ковша и разрыхления грунта, зафиксированных при проведении испытании по проверке продолжительности рабочего цикла.

6 Производительность экскаватора для определения минимального удельного расхода топлива выявляют по объему грунта, разработанного в течение 30 мин непрерывной работы (включая время на необходимые передвижения и подготовку забоя), исходя из измерений траншеи или выработки.

Допускается определение объема грунта по числу ковшей с соответствующим учетом коэффициентов наполнения ковша и разрыхления грунта.

За производительность принимают среднее арифметическое значение результатов трех испытаний, каждое из которых проводят в течение 30 мин на одной и той же машине квалифицированным машинистом.

Расход топлива при этом следует определять с помощью тарированного бака и градуированного щупа (бак должен быть оттарирован до начала испытаний) или взвешиванием.

Расход электроэнергии контролируют путем регистрации показаний счетчика электроэнергии при проверке производительности.

ПРИЛОЖЕНИЕ К

(рекомендуемое)

ХРОНОМЕТРАЖНАЯ ВЕДОМОСТЬ

наблюдений за работой экскаватора _______________________________________

индекс

______________________________________________________________________

наименование предприятия-изготовителя

Номер по системе нумерации предприятия-изготовителя _____________________

Вид рабочего оборудования ______________________________________________

Вместимость ковша, м3 __________________________________________________

Длина, м: стрелы ______________ вставки _____________ штанги _____________

Категория грунта ______________

Коэффициент разрыхления и наполнения р и Кн) __________________________

Высота (глубина) капания, м _____________________________________________

Характеристика погоды _________________________________________________

Фамилия и инициалы машиниста _________________________________________

Квалификация машиниста _______________________________________________

Дата наблюдений ________________ Смена _______________

 

 

Наименование работы или простоя

Время работы

Число рабочих циклов

Угол поворота платформы

Средняя продолжительность рабочего цикла, с

Примечание

Начало

Конец

 

 

 

 

 

 

 

 

 

 

 

 

 

 

 

 

 

 

 

 

 

Хронометражист __________________________

 

ПРИЛОЖЕНИЕ Л

(рекомендуемое)

ХРОНОМЕТРАЖНАЯ ВЕДОМОСТЬ

наблюдений за техническим обслуживанием ______________________________

Экскаватора ___________________                        (ЕО, ТО-1) _________________

(индекс)

______________________________________________________________________

(предприятия-изготовителя)

Номер по системе нумерации предприятия-изготовителя _____________________

Вид рабочего оборудования ______________________________________________

Вместимость копта, м3 __________________________________________________

Характеристика погоды _________________________________________________

Фамилия и инициалы машиниста _________________________________________

_________________________________________

Фамилия, инициалы и квалификации лиц, проводивших техническое обслуживание _________________________________________________________

______________________________________________________________________

______________________________________________________________________

 

 


Дата наблюдений

Наименование работы

Персонал

Время

Продолжительность операции, мин

Оперативное время, мин

Оперативная трудоемкость, чел.-ч

Квалификация

Количество

Начало

Конец

Пример заполнения

21.10

Регулировка хода золотника

Машинист
6-го разряда

1

13.10

13.19

09

09

 

 

 

 

 

 

 

 

 

14

=0,23

 

 

 

 

 

 

 

 

60

 

 

Слесарь
5-го разряда

1

13.10

13.15

0,5

0,5

 

 

 


Хронометражисты: ___________________________________________________

___________________________________________________

ПРИЛОЖЕНИЕ М

(рекомендуемое)

СВОДНАЯ ВЕДОМОСТЬ

хронометражных наблюдений за работой экскаватора __________________________________________________

(индекс) наименование предприятия-изготовителя

Номер экскаватора по системе нумерации предприятия-изготовителя _____________________________________

с рабочим оборудованием


 

Дата наблюдений

Номер хронометражной ведомости

Смена

Продолжительность хронометражных наблюдений за смену, ч

Общее время работы

Итого

Перерывы в работе

Итого

Полезная работа

Техническое обслуживание и ремонт

Обеденный перерыв и отдых машиниста

По метеорологическим условиям

Из-за отсутствия электроэнергии, топлива, материалов, запасных частей

По прочим причинам (переезды в другой забой, смена рабочего оборудования и др.)

Всего

Чистое время работы

Переезды и передвижки в забое

Подготовка забоя

Всего

Ежесменное (ЕО)

ТО-1

Аварийный ремонт

Необходимые регулировки

1

2

3

4

5

6

7

8

9

10

11

12

13

14

15

16

17

18

 

Условия работы

Результаты работы

Примечание

Категория грунта

Коэффициент разрыхления грунта

Средняя высота (глубина) забоя, м

Средняя температура воздуха, °С

Средний угол поворота платформы, град

Коэффициент наполнения ковша

Количество вытянутых ковшей грунта, шт.

Средняя продолжительность рабочего цикла за чистое время работы, с

Объем разработанного грунта, м3

Производительность, м3/ч, за время работы

Часовой расход топлива электроэнергии) за время испытаний, г/ч (Вт/ч)

Удельный расход топлива (электроэнергии) на м3 разработанного грунта за время испытаний, г/м (Вт/м3)

Расход смазочных материалов на технические обслуживания, а также рабочей жидкости за время испытаний

чистого

полезного

общего

разрыхленного

в плотном теле

При работе в отвал

При работе в транспорт

При работе в отвал

При работе в транспорт

При работе в отвал

При работе в транспорт

при работе в отвал или погрузке в транспорт

19

20

21

22

23

24

25

26

27

28

29

30

31

32

33

34

35

36

37

38

 


 

Ключевые слова: экскаватор, гибкая подвеска рабочего оборудования, жесткая подвеска рабочего оборудования, глубина копания, прямая лопата, обратная лопата, драглайн, вместимость ковша

 




Яндекс цитирования



   Copyright © 2007-2026,  www.tehlit.ru.

[ ѓосты, стандарты, нормативы, инструкции, правила, строительные нормы ]