//
ТехЛит.ру
- крупнейшая бесплатная электронная интернет библиотека для "технически умных" людей.
WWW.TEHLIT.RU - ТЕХНИЧЕСКАЯ ЛИТЕРАТУРА

:: Алготрейдинг::


АЛГОТРЕЙДИНГ
шаг за шагом
с нуля по урокам!

Торговые роботы на PYTHON, BackTrader,
Pandas, Pine Script для TradingView. Связка с брокерами, телеграм и легкими приложениями.


ГОСТ 474-90

МЕЖГОСУДАРСТВЕННЫЙ СТАНДАРТ

КИРПИЧ КИСЛОТОУПОРНЫЙ

ТЕХНИЧЕСКИЕ УСЛОВИЯ

ИПК ИЗДАТЕЛЬСТВО СТАНДАРТОВ

Москва

МЕЖГОСУДАРСТВЕННЫЙ СТАНДАРТ

КИРПИЧ КИСЛОТОУПОРНЫЙ

Технические условия

Acid - proof bricks. Specifications

ГОСТ
474-90

Дата введения 01.01.92

Настоящий стандарт распространяется на кислотоупорный кирпич, применяемый для защиты аппаратов и строительных конструкций, работающих в условиях кислых агрессивных сред и при футеровке дымовых труб, которые служат для отвода газов, содержащих агрессивные вещества.

Термины, применяемые в настоящем стандарте, и пояснения к ним даны в приложении 1.

Содержание

1. ТЕХНИЧЕСКИЕ ТРЕБОВАНИЯ

1.1. Кислотоупорный кирпич должен изготовляться в соответствии с требованиями настоящего стандарта по технологическому регламенту, утвержденному в установленном порядке.

1.2. Основные параметры и размеры

1.2.1. Кирпич изготовляют классов А, Б и В.

1.2.2 Форма и коды ОКП для кирпича приведены в табл. 1.

Таблица 1

Форма кислотоупорного кирпича

Код ОКП

Прямой

57 5321 1000

Клиновой:

 

торцовый

57 5321 2100

ребровый

57 5321 2200

Радиальный:

 

поперечный большой

57 5321 3100

поперечный средний

57 5321 3200

поперечный малый

57 5321 3300

продольный большой

57 5321 4100

продольный малый

57 5321 4200

Фасонный (слезник):

 

большой

57 5322 1100

средний

57 5322 1200

малый

57 5322 1300

прямой

57 5322 1400

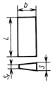
1.2.3. Формы кирпича приведены на черт. 1-6.

Прямой

Клиновой торцовый двусторонний

Клиновой ребровый двусторонний

Радиальный поперечный

Радиальный продольный

Черт. 1

Черт. 2

Черт. 3

Черт. 4

Черт. 5

Фасонный (слезник)

Черт. 6

1.2.4. Размеры кирпича в зависимости от формы приведены в табл. 2 и 3.

Таблица 2

Размеры, мм

Обозначение кирпича

Форма кирпича

L

L1

b

b1

S

S1

Объем, м3

Масса, кг

КП

Прямой

230

-

113

-

65

-

0,0017

3,65

КТ

Клиновой торцовый двусторонний

230

-

113

-

65

55

0,0015

3,35

КР

Клиновой ребровый двустороний

230

-

113

-

65

55

0,0015

3,35

 

Радиальный поперечный:

 

 

 

 

 

 

 

 

КРП-1

большой

230

210

113

-

65

-

0,0016

3,52

КРП-2

средний

205

195

113

-

65

-

0,0015

3,23

КРП-3

малый

205

160

113

-

65

-

0,0014

2,95

 

Радиальный продольный:

 

 

 

 

 

 

 

 

КРПР-4

большой

230

-

113

95

65

-

0,0016

3,52

КРПР-5

малый

230

-

113

70

65

-

0,0014

2,95

Примечание. Масса и объем кирпича являются справочными и не являются браковочным признаком.

Таблица 3

Размеры, мм

Обозначение кирпича

Форма кирпича

R

L

L1

b

b1

S

S1

S2

h

h1

h2

h3

h2

Объем, м3

Масса, кг

 

Фасонный (слез - ник):

 

 

 

 

 

 

 

 

 

 

 

 

 

 

 

КФ6

большой

5

115

210

205

168

40

12

15

56,5

52,5

34

30

25

0,0061

13,0

КФ7

средний

5

115

210

175

168

40

12

15

56,5

52,5

34

30

25

0,0055

11,0

КФ8

малый

5

115

210

175

95

40

12

15

56,5

52,5

34

30

25

0,0031

6,82

КФ9

прямой

5

115

210

175

175

40

12

15

56,5

52,5

34

30

25

0,0057

11,40

Примечание. Масса и объем кирпича являются справочными и не являются браковочным признаком.

1.2.5. Условное обозначение кирпича должно состоять из формы, класса и обозначения настоящего стандарта.

Примеры условных обозначений:

Кирпич прямой класса Б:

КП Кл. Б ГОСТ 474-90

Кирпич радиальный поперечный класса Б:

КРП-1 Кл. Б ГОСТ 474-90

1.2.6. Допускается изготовлять кирпич с тремя рифлеными сторонами (две боковые и одно основание) по требованию потребителя.

1.2.7. Отклонения размеров и формы прямого, клинового и радиального кирпича не должны превышать норм, указанных в табл. 4, фасонного кирпича (слезника) - табл. 5.

Таблица 4

Наименование показателя

Значение для кирпича класса

А

Б

В

Предельные отклонения размеров, мм, не более:

 

 

 

по длине

±3,0

±3,0

±4,0

по ширине

±2,0

±2,0

±2,0

по толщине

±1,0

±2,0

±2,0

Кривизна (отклонение от плоскостности), мм, не более:

 

 

 

по «ложку»

2,0

2,0

2,0

по «постели»

1,0

2,0

2,0

Таблица 5

Наименование показателя

Значение для кирпича класса

А

Б

Предельные отклонения по длине и ширине, %, не более:

 

 

для измерений до 120 мм

±2,0

±2,4

» » свыше 120 мм

±2,2

±2,6

Отклонения по толщине и высоте, мм, не более

±2,5

±4,0

1.3. Характеристики (свойства)

1.3.1. По физико-техническим показателям кирпич должен соответствовать нормам, указанным в табл. 6.

Таблица 6

Наименование показателя

Значение для кирпича

прямого, клинового и радиального, класса

фасонного (слезника), класса

А

Б

В

А

Б

1. Водопоглощение, %, не более

6,0

6,8

8,0

8,0

10,0

2. Кислотостойкость, %, не менее

97,5

97,5

96,0

96,0

95,0

3. Предел прочности при сжатии, МПа (кгс/см2), не менее

55,0
(550)

50,0
(500)

35,0
(350)

40,0
(400)

30,0
300)

4. Водопроницаемость (с обратной стороны не должно быть капель), ч

48

36

24

24

24

5. Термическая стойкость, (количество теплосмен)

3

3

2

2

2

6. Температурный коэффициент линейного расширения, 10-6 К-1

6,0-7,8

-

-

7. Коэффициент теплопроводности, Вт/(м·К)

0,9-1,16

-

-

8. Модуль упругости при 20°С, Е×104, МПа

1,7-3,4

-

-

Примечание. Коэффициент линейного расширения, коэффициент теплопроводности и модуль упругости являются справочными и не являются браковочным признаком.

1.2.3. Условия применения кирпича для оборудования, подвергающегося воздействию фосфорно-кислых и фторсодержащих сред в соответствии с приложением 2.

1.3.3. Дефекты на поверхности кирпича не должны превышать указанных в табл. 7.

Таблица 7

Наименование показателя

Значение для кирпича

прямого, клинового и радиального, класса

фасонного (слезника), класса

А

Б

В

А

Б

Трещины

Не допускаются

Посечки, не более:

 

 

 

 

в количестве, шт.

2

3

3

5

длиной, мм

15

20

20

50

Отбитости углов, не более:

 

 

 

 

в количестве, шт.

2

3

3

3

глубиной, мм

5

6

7

10

Отбитости ребер, не более:

 

 

 

 

в количестве, шт.

2

3

2

3

глубиной, мм

3

3

7

10

Выплавки, выгорки диаметром, мм, не более

5

6

6

8

Поверхностная ошлакованность

Не более чем на 1/3 поверхности

Допускается

Примечание. Общее количество дефектов на поверхности не более двух для кирпича класса А, не более четырех - для классов Б и В.

1.3.4. Кирпич в изломе должен быть мелкозернистым однородным. Не допускаются внутренние трещины.

1.4. Маркировка

1.4.1. На монтажную или боковые стороны каждого кирпича должен быть нанесен товарный знак предприятия-изготовителя и форма кирпича.

1.4.2. Транспортная маркировка груза - по ГОСТ 14192, манипуляционные знаки - по ГОСТ 14192 № 1, черт. 1.

1.4.3. На каждом пакете, ящике и ящичном поддоне должен быть ярлык, на котором указывают:

класс кирпича;

номер партии;

дату изготовления;

количество кирпича.

1.5. Упаковка

1.5.1. Кирпич укладывают в ящичные поддоны по ТУ 21-28-60 или в специальные контейнеры по ГОСТ 19667 или формируют в пакеты на плоских поддонах по ГОСТ 9078 и обвязывают стальной лентой по ГОСТ 503 или ГОСТ 3560.

1.5.2. Технические требования к формированию и скреплению пакетов на плоском поддоне должны соответствовать ГОСТ 26663 и ТУ 21-28-60.

1.5.3. Основные параметры и размеры пакетов - по ГОСТ 24597 и ТУ 21-28-60.

1.5.4. Кирпич, отправляемый в районы Крайнего Севера и труднодоступные районы, упаковывают в соответствии с ГОСТ 15846, п. 108 в деревянные ящики по ГОСТ 10198 или по ТУ 21-28-44.

1.5.5. Масса ящика или пакета не должна превышать 1 т.

2. ПРИЕМКА

2.1. Кирпич принимают партиями. Партией считают кирпич одной формы и класса в количестве не более:

40000 шт. - прямого, клинового и радиального;

5000 шт. - фасонного (слезника).

2.2. Кирпич, отгружаемый потребителю предприятием-изготовителем, должен сопровождаться паспортом, в котором указывают:

наименование предприятия-изготовителя или его товарный знак;

номер партии и дату изготовления;

условное обозначение и количество отгружаемого кирпича;

результаты проведенных испытаний;

обозначение настоящего стандарта.

2.3. Для проверки соответствия кирпича требованиям настоящего стандарта проводят приемосдаточные и периодические испытания.

2.4. Приемосдаточные испытания

2.4.1. Приемосдаточные испытания проводят по показателям и в объеме, указанным в табл. 8.

Таблица 8

Наименование показателя

Объем выборки, шт.

1. Внешний вид

2. Отклонение размеров и формы

3. Физико-технические показатели

4. Поверхность излома

См. табл. 9

20

10

2

2.4.2. Для определения соответствия партии кирпича требованиям к внешнему виду применяют двухступенчатые планы контроля по ГОСТ 18242*.

Партию оценивают по результатам плана контроля (табл. 9).

Таблица 9

Объем партии кирпича, шт.

Ступень контроля

Объем выборки, шт.

Общий объем выборки, шт.

Приемочное число Ас

Браковочное число Rс

От 1201 до 3200

Первая

32

32

2

5

 

Вторая

32

64

6

7

От 3201 до 10000

Первая

50

50

3

7

 

Вторая

50

100

8

9

От 10001 до 35000

Первая

80

80

5

9

 

Вторая

80

160

12

13

Св. 35000

Первая

125

125

7

11

 

Вторая

125

250

18

19

2.4.3. Партию кирпича принимают, если количество дефектного кирпича в первой выборке меньше или равно приемочному числу Ас для первой ступени контроля.

Партию не принимают, если количество дефектного кирпича больше или равно браковочному числу Rс для первой ступени контроля.

Если количество дефектного кирпича в первой выборке больше приемочного числа Ас, но меньше браковочного Rс отбирают вторую выборку.

Партию кирпича принимают, если количество дефектных кирпичей в двух выборках меньше или равно приемочному числу Ас, или не принимают, если количество дефектного кирпича в двух выборках больше или равно браковочному числу Rс для второй ступени контроля.

2.4.4. Если при проверке размеров и формы кирпича, отобранного от партии, один кирпич не соответствует требованиям настоящего стандарта, партию принимают, если два - партия приемке не подлежит.

2.4.5. При несоответствии партии требованиям настоящего стандарта по размерам и форме проводят сплошной контроль.

2.4.6. При проверке кирпича по физико-техническим показателям (водопоглощению, кислотостойкости, пределу прочности при сжатии, термической стойкости) партию принимают, если показатели кирпича соответствуют требованиям п. 1.3.1.

При получении неудовлетворительных результатов испытаний по физико-техническим показателям проводят повторное испытание по показателю, не удовлетворяющему требованиям п. 1.3.1, на удвоенном количестве образцов, взятых из той же партии.

Результаты повторных испытаний распространяются на всю партию.

2.5. Периодические испытания

2.5.1. Водопроницаемость, температурный коэффициент линейного расширения, коэффициент теплопроводности и модуль упругости определяют периодически.

2.5.2. Водопроницаемость определяют один раз в квартал на трех образцах от партии. Температурный коэффициент линейного расширения, коэффициент теплопроводности и модуль упругости определяют один раз в год на трех кирпичах от партии.

2.5.3. При получении неудовлетворительных результатов периодических испытаний (водопроницаемости) изготовитель переводит испытания по данному показателю в категорию приемосдаточных до получения положительных результатов не менее чем на четырех партиях подряд.

3. МЕТОДЫ ИСПЫТАНИЙ

3.1. Для проведения физико-технических испытаний по ГОСТ 473.1 - ГОСТ 473.11 отбирают следующее количество образцов:

3 - на водопоглощение;

2 - на кислотостойкость;

3 - на предел прочности при сжатии;

2 - на термическую стойкость;

2 - на поверхность излома;

3 - на водопроницаемость;

3 - на температурный коэффициент линейного расширения;

3 - на коэффициент теплопроводности;

3 - на модуль упругости.

В качестве образцов для испытаний на водопоглощение, кислотостойкость и для проверки излома допускается использовать куски кирпича после проверки их на прочность.

3.2. Внешний вид кирпича и поверхность излома проверяют при рассеянном искусственном свете и освещенности от 300 до 400 лк или при дневном освещении, близком к указанной интенсивности рассеянного света, при этом:

1) видимые трещины и посечки измеряют металлической линейкой по ГОСТ 427 или щупом по ТУ 2-034-225;

2) отбитость угла кирпича измеряют металлической линейкой по ГОСТ 427 по наибольшей длине отбитости ребра или измеряют по ГОСТ 15136;

3) глубину отбитостей ребер измеряют металлической линейкой по ГОСТ 427 на поверхности кирпича по максимальному перпендикуляру к ребру кирпича или измеряют по ГОСТ 15136;

4) длину отбитости ребер измеряют металлической линейкой по ГОСТ 427 по наибольшей длине дефекта;

поверхностная ошлакованность измеряется металлической линейкой по ГОСТ 427 по наибольшей длине дефекта;

наличие внутренних трещин определяют простукиванием металлическим молотком массой не более 200 г, при отсутствии трещин кирпич должен издавать чистый недребезжащий звук.

3.3. Длину и ширину кирпича измеряют металлической линейкой по ГОСТ 427 по двум граням лицевой поверхности на расстоянии не менее 5 мм от грани.

За результат испытания принимают среднее арифметическое двух измерений (см. табл. 4 и 5).

3.4. Толщину и высоту кирпича измеряют металлической линейкой по ГОСТ 427 или штангенциркулем по ГОСТ 166 по четырем углам на расстоянии не более 15 мм от начала угла изделия.

За результат испытания принимают среднее арифметическое четырех измерений (см. табл. 4 и 5).

3.5. Кривизну граней определяют по двум диагоналям:

при вогнутой поверхности - измеряют наибольший зазор между поверхностью кирпича и ребром металлической линейки по ГОСТ 427, поставленной по диагонали поверхности. Зазор измеряют щупом по ТУ 2-034-225;

при выпуклой поверхности - измеряют зазор между поверхностью кирпича и ребром металлической линейки, поставленной по диагонали кирпича и опирающейся с одного конца на щуп, равный допускаемой величине искривления.

За результат измерения принимают наибольшее значение.

3.6. Водопоглощение определяют по ГОСТ 473.3.

3.7. Кислотостойкость определяют по ГОСТ 473.1.

3.8. Предел прочности при сжатии определяют по ГОСТ 473.6.

3.9. Термическую стойкость кирпича определяют по ГОСТ 473.5.

3.10. Водопроницаемость кирпича определяют по ГОСТ 13993.

3.11. Температурный коэффициент линейного расширения определяют по ГОСТ 10978 в интервале температур 20-600°С.

3.12. Коэффициент теплопроводности определяют по ГОСТ 12170.

3.13. Модуль упругости определяют по ГОСТ 961.

4. ТРАНСПОРТИРОВАНИЕ И ХРАНЕНИЕ

4.1. Транспортирование

4.1.1. Кирпич транспортируют всеми видами транспорта в крытых транспортных средствах в соответствии с правилами перевозок грузов, действующими на данном виде транспорта.

Допускается транспортировать кирпич автомобильным транспортом.

4.1.2. Размещение и крепление грузов в железнодорожных вагонах проводят в соответствии с техническими условиями погрузки и крепления грузов, утвержденными МПС.

4.1.3. Погрузочно-разгрузочные работы должны выполняться в соответствии с требованиями ГОСТ 12.3.009.

4.2. Хранение

4.2.1. Кирпич должен храниться раздельно по классам и формам в крытых складских помещениях или под навесом на площадках с твердым покрытием.

Непосредственно перед погрузкой в вагон допускается складировать кирпич на открытых площадках с твердым покрытием не более пяти дней.

5. ГАРАНТИИ ИЗГОТОВИТЕЛЯ

5.1. Изготовитель гарантирует соответствие кислотоупорного кирпича требованиям настоящего стандарта при соблюдении условий транспортирования и хранения.

5.2. Гарантийный срок эксплуатации кирпича - 1 год со дня ввода в эксплуатацию.

ПРИЛОЖЕНИЕ 1
Справочное

ТЕРМИНЫ, ПРИМЕНЯЕМЫЕ В СТАНДАРТЕ, И ПОЯСНЕНИЯ К НИМ

Термин

Пояснение

Трещина

Щель, узкое углубление,  расположенное на поверхности изделия, шириной более 1 мм

Посечка

Несквозная трещина шириной до 1 мм

Выгорка

Поверхностное углубление, образовавшееся от выгорания инородного тела, попавшего в массу

Выплавка

Пятно темного цвета

Отбитости углов и ребер

Механические повреждения

Площадь по «ложку»

Площадь боковой грани размером ах α × s

Площадь по «постели»

Площадь боковой грани размером ах α × b

ПРИЛОЖЕНИЕ 2
Справочное

УСЛОВИЯ ПРИМЕНЕНИЯ КИРПИЧА ДЛЯ ОБОРУДОВАНИЯ, ПОДВЕРГАЮЩЕГОСЯ ВОЗДЕЙСТВИЮ ФОСФОРНО-КИСЛЫХ И ФТОРСОДЕРЖАЩИХ СРЕД

Основная среда и определяющие компоненты

Концентрация

Температура, °С

1. Ортофосфорная кислота по пятиокиси фосфора (Н3РО4 по Р2О5), не более

54 %

 

Кремнефтористоводородная кислота (H2SiF6), не более

2,2 %

До 85

фтористый водород (HF)

Следы

 

2. Кремнефтористоводородная кислота (H2SiF6), не более

2 %

До 60

3. Парогазовая смесь с содержанием плавиковой кислоты и четырехфтористого кремния HF+SiF4, не более

5 г/нм3

До 100

ИНФОРМАЦИОННЫЕ ДАННЫЕ

1. РАЗРАБОТАН И ВНЕСЕН НПО «Строймашкерамика»

2. УТВЕРЖДЕН И ВВЕДЕН В ДЕЙСТВИЕ Постановлением Государственного комитета СССР по управлению качеством продукции и стандартам от 11.11.90 № 2805

3. ВЗАМЕН ГОСТ 474-80

4. ССЫЛОЧНЫЕ НОРМАТИВНО-ТЕХНИЧЕСКИЕ ДОКУМЕНТЫ

Обозначение НТД, на который дана ссылка

Номер пункта, подпункта

ГОСТ 12.3.009-76

4.1.3

ГОСТ 166-89

3.4

ГОСТ 427-75

3.2; 3.3; 3.4; 3.5

ГОСТ 473.1-81 - ГОСТ 473.11-81

3.1

ГОСТ 473.1-81

3.7

ГОСТ 473.3-81

3.6

ГОСТ 473.5-81

3.9

ГОСТ 473.6-81

3.8

ГОСТ 503-81

1.5.1

ГОСТ 961-89

3.13

ГОСТ 3560-73

1.5.1

ГОСТ 9078-84

1.5.1

ГОСТ 10198-91

1.5.4

ГОСТ 10978-83

3.11

ГОСТ 12170-85

3.12

ГОСТ 13993-78

3.10

ГОСТ 14192-96

1.4.2

ГОСТ 15136-78

3.2

ГОСТ 15846-79

1.5.4

ГОСТ 18242-72

2.4.2

ГОСТ 19667-74

1.5.1

ГОСТ 24597-81

1.5.3

ГОСТ 26663-85

1.5.2

ТУ 21-28-44-83

1.5.4

ТУ 21-28-60-87

1.5.2; 1.5.3

ТУ 2-034-225-87

3.2; 3.5

5. Ограничение срока действия снято по протоколу № 7-95 Межгосударственного Совета по стандартизации, метрологии и сертификации (ИУС 11-95)

6. ПЕРЕИЗДАНИЕ. Май 2002 г.




Яндекс цитирования



   Copyright © 2007-2026,  www.tehlit.ru.

[ ѓосты, стандарты, нормативы, инструкции, правила, строительные нормы ]