//
ТехЛит.ру
- крупнейшая бесплатная электронная интернет библиотека для "технически умных" людей.
WWW.TEHLIT.RU - ТЕХНИЧЕСКАЯ ЛИТЕРАТУРА

:: Алготрейдинг::


АЛГОТРЕЙДИНГ
шаг за шагом
с нуля по урокам!

Торговые роботы на PYTHON, BackTrader,
Pandas, Pine Script для TradingView. Связка с брокерами, телеграм и легкими приложениями.


ГОСТ 12856-96

МЕЖГОСУДАРСТВЕННЫЙ СТАНДАРТ

ЛИСТЫ АСБОСТАЛЬНЫЕ И ПРОКЛАДКИ ИЗ НИХ

ТЕХНИЧЕСКИЕ УСЛОВИЯ

МЕЖГОСУДАРСТВЕННЫЙ СОВЕТ
ПО СТАНДАРТИЗАЦИИ, МЕТРОЛОГИИ И СЕРТИФИКАЦИИ

Минск

Предисловие

1 РАЗРАБОТАН МТК 73 «Асбестовые и безасбестовые фрикционные, уплотнительные, теплоизоляционные материалы и изделия» (АООТ «НИИАТИ фирма ТИИР»

ВНЕСЕН Госстандартом России

2 ПРИНЯТ Межгосударственным Советом по стандартизации, метрологии и сертификации (протокол № 10 от 04.10.96)

За принятие проголосовали:

Наименование государства

Наименование национального органа по стандартизации

Азербайджанская Республика

Азгосстандарт

Республика Белоруссия

Госстандарт Белоруссии

Республика Казахстан

Госстандарт Республики Казахстан

Российская Федерация

Госстандарт России

Республика Таджикистан

Таджикский государственный центр по стандартизации, метрологии и сертификации

Туркменистан

Главная государственная инспекция Туркменистана

3 Постановлением Государственного комитета Российской Федерации по стандартизации, метрологии и сертификации от 3 июля 1997 г. № 240 межгосударственный стандарт ГОСТ 12856-96 введен непосредственно в качестве государственного стандарта Российской Федерации с 1 января 1998 г.

4 ВЗАМЕН ГОСТ 12856-84

СОДЕРЖАНИЕ

ГОСТ 12856-96

МЕЖГОСУДАРСТВЕННЫЙ СТАНДАРТ

ЛИСТЫ АСБОСТАЛЬНЫЕ И ПРОКЛАДКИ ИЗ НИХ

Технические условия

Asbestos-steel sheets and gaskets.

Specifications

Дата введения 1998-01-01

1 ОБЛАСТЬ ПРИМЕНЕНИЯ

Настоящий стандарт распространяется на асбостальные листы и прокладки из них (далее - листы и прокладки), предназначенные для уплотнения стыков головки с блоком цилиндров, головки с выпускным коллектором и других систем двигателей внутреннего сгорания.

Прокладки работоспособны при температуре до минус 60 °С.

Обязательные требования к качеству продукции изложены в 3.2 (толщина), 4.1 (размеры прокладок в соответствии с требованиями чертежей), 4.3 (таблица 3), 4.4, разделе 6, 7.1 - 7.5.

2 НОРМАТИВНЫЕ ССЫЛКИ

В настоящем стандарте использованы ссылки на следующие стандарты:

ГОСТ 12.1.005-88 ССБТ. Общие санитарно-гигиенические требования к воздуху рабочей зоны

ГОСТ 12.4.028-76 ССБТ. Респираторы ШБ-1 «Лепесток». Технические условия

ГОСТ 305-82 Топливо дизельное. Технические условия

ГОСТ 6709-72 Вода дистиллированная. Технические условия

ГОСТ 10541-78 Масла моторные универсальные и для автомобильных карбюраторных двигателей. Технические условия

ГОСТ 14192-96 Маркировка грузов

ГОСТ 14710-78 Толуол нефтяной. Технические условия

ГОСТ 23677-79 Твердомеры для металлов. Общие технические требования

ГОСТ 24037-90 Материалы асбестополимерные листовые уплотнительные. Метод определения стойкости к воздействию жидкостей

ГОСТ 24038-90 Материалы асбестополимерные листовые уплотнительные. Метод определения сжимаемости и восстанавливаемости

ГОСТ 24039-80 Материалы асбестополимерные листовые уплотнительные. Метод определения размеров и плотности.

3 ОСНОВНЫЕ ПАРАМЕТРЫ И РАЗМЕРЫ

3.1 Марки асбостальных листов и основные параметры приведены в таблице 1.

Таблица 1

Марка листа

Группа

Подгруппа

Степень сжимаемости

Арматура

Связующее вещество

Рабочая среда

Максимальная температура, °С

Максимальное допустимое давление, МПа

Расчетное давление сжатия прокладок в двигателе, МПа*

ЛА-1, ЛА-1Б, ЛА-1М, ЛА-5Б

1

А

Высокая

Перфорированная листовая сталь

Латексы синтетические или жидкий нитрильный каучук

Бензин и дизельное топливо

90

-

10 - 14

ЛА-1А, ЛА-3Б, ЛА-5А

 

Б

Средняя

 

Масло

150

1,0

10 - 22

 

Продукты сгорания топлива

300**

-

ЛА-2, ЛА-2А, ЛА-2М, ЛА-3А

 

В

Низкая

 

15 - 36

 

Вода или охлаждающая жидкость

125

0,35

 

ЛА-АС

2

В

Низкая

Стальная сетка саржевого переплетения

Нитрильный каучук

Бензин и дизельное топливо

90

-

21 - 25

Масло

150

0,6

Продукты сгорания топлива

400

-

Вода или охлаждающая жидкость

125

0,35

* Рекомендуемое.

** Для листов марок ЛА-2, ЛА-2А и ЛА-2М 400 °С.

Примечание - Листы марки ЛА-3Б не должны применяться для изготовления прокладок к автомобильным двигателям.

3.2. Размеры листов приведены в табл. 2.

Таблица 2

В миллиметрах

Марка листа

Код ОКП

Длина

Ширина

Толщина

Допускаемые отклонения толщины в пределах одного листа

Номин.

Пред. откл.

Номин.

Пред. откл.

Номин.

Пред. откл.

ЛА-1,

ЛА-1М

25 7711 0116

600

+10

-5

500

±5

1,75

±0,1

0,10

25 7711 0122

625

+ 10

-5

25 7711 0127

675

±10

25 7711 0133

830

±10

25 7711 0138

875

±10

ЛА-1А,

ЛА-5А

25 7711 0219

625

+10

-5

500

±5

1,60

±0,1

0,10

25 7711 0225

675

±10

25 7711 0231

830

±10

25 7711 0236

875

±10

ЛА-1Б,

ЛА-5Б

25 7711 0616

600

+10

500

±5

1,75

±0,1

0,20

 

 

-5

25 7711 0622

625

+10

-5

ЛА-2,

ЛА-2А,

ЛА-2М

25 7711 0318

625

+10

-5

500

±5

1,50

±0,1

0,10

25 7711 0324

675

±10

25 7711 0328

735

±10

25 7711 0329

830

±10

25 7711 0335

875

±10

ЛА-3А

25 7711 0473

650

±10

510

+6

-4

1,40

±0,1

0,10

25 7711 0476

675

±10

25 7711 0491

875

±10

25 7711 0488

850

±10

ЛА-3Б

25 7711 0571

 

625

 

+10

-5

510

 

+6

-4

1,60

 

±0,1

 

0,10

 

25 7711 0579

675

±10

25 7711 0586

875

±10

510

+6

- 4

1,70

±0,1

0,10

25 7711 0594

830

±10

ЛА-АС

25 7711 5151

 

 

280

 

 

 

 

25 7711 5157

580

±10

810

±10

1,20

±0,1

0,10

25 7711 5161

 

 

260

 

 

 

 

25 7711 5169

660

±10

990

±10

1,20

±0,1

0,10

25 7711 5174

 

 

260

 

 

 

 

25 7711 5181

860

±10

760

±10

1,20

±0,1

0,10

25 7711 5152

 

 

280

 

 

 

 

25 7711 5158

580

±10

810

±10

1,40

±0,1

0,10

25 7711 5162

 

 

260

 

 

 

 

25 7711 5172

660

±10

990

±10

1,40

±0,1

0,10

25 7711 5175

 

 

260

 

 

 

 

25 7711 5182

860

±10

760

±10

1,40

±0,1

0,10

Примечание - По согласованию с потребителем допускается изготовлять листы других размеров, кратных целому числу прокладок

Пример условного обозначения асбостальных листов марки ЛА-АС толщиной 1,20 мм, шириной 280 мм и длиной 580 мм:

Листы асбостальные ЛА-АС 1,2´280´580 ГОСТ 12856-96.

То же, для прокладки из асбостальных листов марки ЛА-2:

Прокладка

 

ЛА-2 ГОСТ 12856-96

 

обозначение детали по чертежу

 

4 ТЕХНИЧЕСКИЕ ТРЕБОВАНИЯ

4.1 Листы и прокладки должны изготовляться в соответствии с требованиями настоящего стандарта по технологическому регламенту, утвержденному в установленном порядке. Прокладки должны соответствовать чертежам, согласованным между изготовителем и потребителем.

4.2 Листы и прокладки должны иметь ровную поверхность с равномерно нанесенным графитовым покрытием без трещин, складок, вздутий, раковин, наплывов промазочной пасты и посторонних включений, без отслоения от каркаса асболатексной бумаги и асбокаучуковой смеси.

Поверхность листов и прокладок не должна иметь оголенного каркаса и выступов материала, покрывающего каркас.

Края листов должны быть ровно обрезаны.

По согласованию изготовителя с потребителем допускается изготовлять листы с необрезанными краями, при этом допускаются оголенный каркас и выступы материала, покрывающего каркас, шириной до 5 мм по периметру листа.

Допускается согласовывать контрольный образец внешнего вида.

4.3 По физико-механическим показателям листы должны соответствовать значениям, указанным в таблице 3.

Таблица 3

Наименование показателя

Значение для марки

ЛА-1

ЛА-1Б

ЛА-1М

ЛА-5Б

ЛА-1А

ЛА-3Б

ЛА-5А

ЛА-2

ЛА-2А

ЛА-2М

ЛА-3А

ЛА-АС

1 Сжимаемость, %, при давлении, МПа:

 

 

 

 

 

 

 

 

 

 

 

 

25

-

19 - 31

-

18 - 27

-

-

-

-

-

-

-

-

35

15 - 32

-

12 - 25

-

9 - 24

10 - 22

13 - 24

6 - 20

10 - 18

10 - 18

8 - 20

-

50

-

-

-

-

-

-

-

-

10 - 20

-

-

8 - 15

100

-

-

-

-

-

-

-

-

-

-

-

11 - 19

2 Восстанавливаемость после снятия давления, %, не менее, при давлении, МПа:

 

 

 

 

 

 

 

 

 

 

 

 

25

-

25

-

40

-

-

-

-

-

-

-

-

35

10

-

25

-

18

9

34

15

30

40

14

-

50

-

-

-

-

-

-

-

-

30

-

-

45

100

-

-

-

-

-

-

-

-

-

-

-

40

3 Увеличение толщины при воздействии жидкостей, %, не более:

 

 

 

 

 

 

 

 

 

 

 

 

 

 

 

 

 

 

 

 

 

 

 

 

 

 

 

 

 

 

 

 

 

 

 

 

 

 

 

 

 

 

 

 

 

 

 

 

 

 

 

 

 

 

 

 

 

 

 

 

охлаждающей жидкости (тосол А 50 % и вода - 50 %)

13,0

-

-

-

7,0

9,0

-

10,0

-

6,0

7,0

-

топливной смеси (70 % изооктана и 30 % толуола)

27,0

-

-

-

14,0

7,0

-

28,0

-

-

6,0

-

моторного масла

30,0

-

-

-

18,0

9,0

-

34,0

-

6,0

9,0

5,0

дистиллированной воды

-

-

-

 

-

-

-

 

-

6,0

-

5,0

бензина

-

-

-

-

-

-

-

-

-

-

-

2,0

дизельного топлива

-

-

-

-

-

-

-

-

-

6,0

-

2,0

4 Увеличение

массы при воздействии жидкостей, %, не более:

 

 

 

 

 

 

 

 

 

 

 

 

охлаждающей жидкости (тосол А - 50 % и вода - 50 %)

 

 

 

 

 

 

 

 

 

 

 

 

 

 

 

 

 

 

 

 

 

 

 

 

23,0

-

16,0

-

18,0

9,0

5,0

18,0

-

-

10,0

-

топливной смеси (70 % изооктана и 30 % толуола)

25,0

-

15,0

-

20,0

10,0

5,0

18,0

-

-

12,0

-

дистиллированной воды

-

11,0

-

5,0

-

-

-

-

12,0

-

-

-

бензина

-

17,0

-

5,0

-

-

-

-

-

-

-

-

моторного масла

-

19,0

-

8,0

-

-

-

-

-

-

-

-

дизельного топлива

 

-

-

-

-

-

-

-

14,0

-

-

-

Примечания

1 Дополнительные показатели приведены в приложении А.

2 По согласованию с потребителем для показателей 3 и 4 перечень жидкостей, в которых проводят испытания, может быть сокращен

4.4 Листы марок ЛА-1Б и ЛА-5Б должны обеспечивать герметичность при давлении в приспособлении (0,1 ± 0,01) МПа.

4.5 Листы одной марки и одного размера по 300 или 600 шт. укладывают на деревянный поддон, сверху листов укладывают деревянную решетку или поддон и обвязывают упаковочной лентой.

Допускается упаковывать листы в металлическую производственную тару (контейнеры).

Прокладки одного обозначения по 50 шт. связывают в пачки шпагатом, заворачивают в упаковочную бумагу и снова обвязывают шпагатом. Прокладки наружным размером менее 120 мм неувязанными в пачки и прокладки, связанные в пачки по 50 шт., допускается упаковывать в картонные коробки или полиэтиленовую пленку. Масса брутто одной упаковки должна быть не более 60 кг.

По согласованию с предприятием-потребителем допускаются другие виды упаковки, обеспечивающие сохранность листов и прокладок при транспортировании и хранении.

4.6 Каждое грузовое место маркируют по ГОСТ 14192 с нанесением манипуляционного знака «Боится сырости» и дополнительных обозначений:

товарного знака и (или) наименования предприятия-изготовителя;

наименования и марки листов или обозначения прокладок;

размера (толщина, ширина, длина);

даты изготовления;

номера партии;

обозначения настоящего стандарта.

Для сертифицированной продукции на тару или упаковку или сопроводительную техническую документацию наносят изображение знака соответствия.

5 ТРЕБОВАНИЯ БЕЗОПАСНОСТИ

5.1 Асбостальные листы и прокладки из них не взрывоопасны, трудногорючи, не токсичны и при непосредственном контакте не оказывают вредного воздействия на организм человека.

5.2 При вырубании прокладок и их окантовке возможно выделение асбесторезиновой (композиционной) и графитовой пыли.

При демонстрировании прокладок поверхность разъема необходимо обильно смазывать машинным маслом с целью исключения выделения композиционной пыли.

Асбесторезиновая пыль обладает фиброгенным действием и относится к III классу опасности. Предельно допустимая концентрация (ПДК) асбесторезиновой пыли в воздухе рабочей зоны производственных помещений 10 мг/м3 (максимально разовая) и 4 мг/м3 (среднесменная). Пыль не обладает раздражающим сенсибилизирующим, канцерогенным действием и способностью к кумуляции в организме человека в соответствии с ГОСТ 12.1.005.

5.3 Контроль за содержанием пыли в воздухе рабочей зоны осуществляют в соответствии с требованиями ГОСТ 12.1.005 и методическими указаниями «Измерения концентрации аэрозолей преимущественно фиброгенного действия» № 4436-87 от 18.11.87.

5.4 Работающие с асбостальными листами и прокладками должны быть обеспечены средствами индивидуальной защиты в соответствии с «Типовыми отраслевыми нормами бесплатной выдачи рабочим и служащим специальной одежды, специальной обуви и других средств индивидуальной защиты», для защиты органов дыхания от пыли - респираторами типа «Лепесток» по ГОСТ 12.4.028.

5.5 Участки обработки асбостальных листов должны быть оборудованы приточно-вытяжной вентиляцией.

5.6 Отходы асбостальных листов (класс опасности IV) собирают в бумажные или полиэтиленовые мешки и вывозят на полигон захоронения.

Транспортирование и захоронение отходов - в соответствии с санитарными нормами «Порядок накопления, транспортирования, обезвреживания и захоронения токсичных промышленных отходов» № 3183 от 29.12.84.

6 ПРАВИЛА ПРИЕМКИ

6.1 Листы и прокладки принимают партиями. Партией считают листы одной марки и одного размера в количестве не более 15000 м2 или прокладки одного обозначения не более 10000 шт. Для прокладок с наружным размером менее 120 мм объем партии не более 100000 шт. Каждая партия листов и прокладок должна сопровождаться документом о качестве, содержащим:

товарный знак и (или) наименование предприятия-изготовителя;

наименование и марку листов или обозначение прокладок;

размеры (толщина, ширина, длина);

дату изготовления;

номер партии;

обозначение настоящего стандарта;

результаты проведенных испытаний.

6.2 Каждая партия прокладок должна сопровождаться тремя образцами размером не менее 200×200 мм, вырезанными из листов, из которых были вырублены прокладки.

6.3 Каждую партию листов и прокладок подвергают приемосдаточным испытаниям в следующем объеме:

по внешнему виду - 100 %;

по размерам - 5 %, но не менее 10 листов или прокладок;

по 4.3 и 4.4 - 3 листа.

6.4 При получении неудовлетворительных результатов испытаний хотя бы по одному из показателей по нему проводят повторные испытания на удвоенной выборке от той же партии.

Результаты повторных испытаний распространяют на всю партию.

При получении неудовлетворительных результатов повторных испытаний допускается изготовителю проводить сплошной контроль.

7 МЕТОДЫ ИСПЫТАНИЙ

7.1 Внешний вид листов и прокладок контролируют визуально.

7.2 Размеры листов определяют по ГОСТ 24039 в соответствии с таблицей 2. Размеры прокладок определяют в соответствии с рабочим чертежом.

7.3 Для каждого вида испытаний по физико-механическим показателям из каждого отобранного листа вырубают по одному образцу.

7.4 Сжимаемость и восстанавливаемость определяют по ГОСТ 24038, при этом образцы листов марок ЛА-3А и ЛА-3Б перед испытанием в сушильном шкафу не выдерживают.

7.4.1 Сжимаемость и восстанавливаемость при давлении 25, 50 и 100 МПа допускается определять на твердомере ТШ-2 или ТШ-2М по ГОСТ 23677 с приставкой типа ПТШ-3-76, схема которой приведена в приложении Б.

Приставку ПТШ-3-76 устанавливают на предметный столик твердомера. Вращением циферблата индикатора совмещают его стрелку с нулевым положением.

Испытуемый образец помещают под индентор твердомера и измеряют начальную толщину образца h0 индикатором приставки при отведенном шарике твердомера от индентора твердомера. Вращением маховика поджимают индентор приставки к шарику твердомера до тех пор, пока пружина не будет сжата. Включают твердомер и задают нагрузку. Через (60 ± 6) с записывают показание индикатора, определяющее толщину образца под нагрузкой h1, затем нагрузку с индентора снимают и индентор отводят от шарика твердомера. По истечении (30 ± 2) с определяют толщину образца после снятия нагрузки h2.

Результаты испытаний обрабатывают по ГОСТ 24038. В формулах h0 принимают начальную толщину образца и h2 - толщину образца после снятия нагрузки.

При подсчете результатов испытаний каждое определение должно быть в пределах значений, указанных в таблице 3.

7.5 Увеличение толщины и массы образца под воздействием жидкостей определяют по ГОСТ 24037, при этом образцы для испытаний должны иметь форму диска диаметром 75 мм или квадратной пластины со стороной 75 мм и предельным отклонением ±2 мм.

Испытательные жидкости:

тосол А;

изооктан;

толуол по ГОСТ 14710;

моторное масло вязкостью 9,5 - 11,0 мм2/с при температуре 100 °С по ГОСТ 10541;

дистиллированная вода по ГОСТ 6709;

бензин;

дизельное топливо по ГОСТ 305.

Испытания проводят при следующих температурах:

охлаждающая жидкость, антифриз при температуре 100 °С;

топливная смесь, бензин, дизельное топливо при температуре 20 °С;

моторное масло при температуре 150 °С, 20 °С для листов марок ЛА-1Б, ЛА-5Б и 100 °С для листов марок ЛА-2, ЛА-2А, ЛА-2М, ЛА-АС;

дистиллированная вода при температуре 20 °С для листов марок ЛА-1Б, ЛА-5Б и 100 °С для листов марок ЛА-2, ЛА-2А, ЛА-2М и ЛА-АС.

Время выдержки образцов в указанных жидкостях 5 ч.

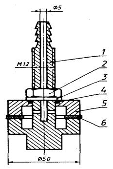
7.6 Проверку на герметичность проводят на приспособлении, схема которого приведена в приложении Б.

Образцы для испытания должны иметь форму кольцевых прокладок диаметром 50 и 30 мм с предельным отклонением ±0,5 мм.

Образцы устанавливают в приспособление и сжимают при помощи резьбового соединения с моментом затяжки 30 Н · м. В камеру приспособления заливают воду и подают сжатый воздух.

Проверку на герметичность проводят при плавном повышении давления воздуха до 0,1 МПа с предельным отклонением ±0,01 МПа и выдержкой в течение 5 мин при данном давлении. Находящийся под давлением образец осматривают

Соединение считается герметичным, если между образцом и приспособлением отсутствуют капли воды.

8 ТРАНСПОРТИРОВАНИЕ И ХРАНЕНИЕ

8.1 Листы и прокладки транспортируют любым видом транспорта в крытых транспортных средствах в соответствии с правилами перевозки грузов, действующими на данном виде транспорта.

8.2 Листы и прокладки должны храниться в закрытых помещениях при температуре не выше 30 °С, должны быть защищены от прямого воздействия солнечных лучей и находиться на расстоянии не менее 1 м от отопительных приборов.

8.3 При хранении и транспортировании листов и прокладок при температуре ниже 0 °С перед использованием они должны быть выдержаны в течение не менее 24 ч при температуре (20 ± 5) °С.

9 ГАРАНТИИ ИЗГОТОВИТЕЛЯ

9.1 Изготовитель гарантирует соответствие листов и прокладок требованиям настоящего стандарта при соблюдении условий транспортирования и хранения.

9.2 Гарантийный срок хранения листов и прокладок - 5 лет со дня изготовления.

ПРИЛОЖЕНИЕ А

(рекомендуемое)

ДОПОЛНИТЕЛЬНЫЕ ПОКАЗАТЕЛИ АСБОСТАЛЬНЫХ ЛИСТОВ

Марка листа

Потеря массовой доли вещества при прокаливании, %, не более

Поверхностная плотность, г/м2

ЛА-1

32

4200

ЛА-1А, ЛА-1М, ЛА-5А, ЛА-2М

32

4600

ЛА-1Б, ЛА-5Б

29

4600

ЛА-2, ЛА-2А

32

4800

ЛА-3А

25

6600

ЛА-3Б при толщине:

 

 

1,6 мм

25

7200

1,7 мм

25

7650

ЛА-АС при толщине:

 

 

1,2 мм

27

3500

1,4 мм

27

3700

ПРИЛОЖЕНИЕ Б

(рекомендуемое)

СХЕМЫ ПРИСТАВКИ И ПРИСПОСОБЛЕНИЯ ДЛЯ ПРОВЕРКИ НА ГЕРМЕТИЧНОСТЬ

1 - корпус; 2 - индикатор часового типа; 3 - индентор; 4 - образец

Рисунок 1 - Приставка ПТШ-3-76

1 - корпус; 2 - гайка M12; 3 - шайба; 4 - уплотнительное резиновое кольцо; 5 - крышка; 6 - прокладка

Рисунок 2 - Приспособление для проверки на герметичность

Ключевые слова: листы абостостальные и прокладки, уплотнения, двигатели внутреннего сгорания.




Яндекс цитирования



   Copyright © 2007-2026,  www.tehlit.ru.

[ ѓосты, стандарты, нормативы, инструкции, правила, строительные нормы ]