//
ТехЛит.ру
- крупнейшая бесплатная электронная интернет библиотека для "технически умных" людей.
WWW.TEHLIT.RU - ТЕХНИЧЕСКАЯ ЛИТЕРАТУРА

:: Алготрейдинг::


АЛГОТРЕЙДИНГ
шаг за шагом
с нуля по урокам!

Торговые роботы на PYTHON, BackTrader,
Pandas, Pine Script для TradingView. Связка с брокерами, телеграм и легкими приложениями.


ОСТ 24.125.157-01

СТАНДАРТ ОТРАСЛИ

ПЛИТЫ НАПРАВЛЯЮЩИЕ
ОПОР ТРУБОПРОВОДОВ ТЭС И АЭС

КОНСТРУКЦИЯ И РАЗМЕРЫ

Предисловие

1 РАЗРАБОТАН открытым акционерным обществом «Научно-производственное объединение по исследованию и проектированию энергетического оборудования им. И. И. Ползунова» (ОАО «НПО ЦКТИ») и открытым акционерным обществом «Белгородский завод энергетического машиностроения» (ОАО «Белэнергомаш»)

ИСПОЛНИТЕЛИ: от ОАО «Белэнергомаш» ЗАВГОРОДНИЙ Ю.В., СЕРГЕЕВ О.А., РОГОВ В.А.; от ОАО «НПО ЦКТИ» ПЕТРЕНЯ Ю.К., д-р физ.-мат. наук; СУДАКОВ А.В., д-р техн. наук; ДАНЮШЕВСКИЙ И.А., канд. техн. наук; ИВАНОВ Б.Н., канд. техн. наук; ТАБАКМАН М.Л.; ГЕОРГИЕВСКИЙ Н.

2 ПРИНЯТ И ВВЕДЕН В ДЕЙСТВИЕ Департаментом промышленной и инновационной политики в машиностроении Министерства промышленности, науки и технологий Российской Федерации письмом № 10-1984 от 31.10.2001 г.

3 ВЗАМЕН ОСТ 108.275.41-80

СТАНДАРТ ОТРАСЛИ

ПЛИТЫ НАПРАВЛЯЮЩИЕ ОПОР ТРУБОПРОВОДОВ ТЭС И АЭС

Конструкция и размеры

Дата введения 2002-01-01

1 Область применения

Настоящий стандарт распространяется на плиты направляющие для скользящих направляющих опор трубопроводов ТЭС и АЭС, изготавливаемых по ОСТ 24.125.156 и ОСТ 24.125.158.

Стандарт устанавливает конструкцию и размеры направляющих плит опор трубопроводов.

2 Нормативные ссылки

В настоящем стандарте использованы ссылки на следующие стандарты:

ГОСТ 535-88 Прокат сортовой и фасонный из стали углеродистой обыкновенного качества. Общие технические условия

ГОСТ 2590-88 Прокат стальной горячекатаный круглый. Сортамент

ГОСТ 5264-80 Ручная дуговая сварка. Соединения сварные. Основные типы, конструктивные элементы и размеры

ГОСТ 8509-93 Уголки стальные горячекатаные равнополочные. Сортамент

ГОСТ 14637-89 Прокат толстолистовой из углеродистой стали обыкновенного качества. Технические условия

ОСТ 24.125.156-01 Опоры скользящие направляющие хомутовые трубопроводов ТЭС и АЭС. Конструкция и размеры

ОСТ 24.125.158-01 Опоры скользящие направляющие приварные трубопроводов ТЭС и АЭС. Конструкция и размеры

ОСТ 24.125.170-01 Детали и сборочные единицы опор, подвесок, стяжек для линзовых компенсаторов и приводов дистанционного управления арматурой трубопроводов ТЭС и АЭС. Общие технические условия

3 Конструкция и размеры

3.1 Конструкция и основные размеры плит должны соответствовать указанным на рисунках 1, 2 и в таблице 1.

3.2 Маркировка и остальные технические требования по ОСТ 24.125.170.

3.3 Пример условного обозначения направляющей плиты исполнения 05:

ПЛИТА 05 ОСТ 24.125.157

3.4 Пример маркировки: 05 ОСТ 24.125.157

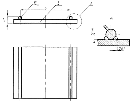
* Размеры для справок.

1 - основание; 2 - направляющая

Рисунок 1.

* Размеры для справок.

Остальное - см. рисунок 1

Рисунок 2.

Таблица 1

Основные размеры и спецификация направляющих плит

Размеры в миллиметрах

Исполнение

Наружный диаметр трубопровода Da

Рисунок

B*

b ± 2

H*

L*

s*

Масса наплавленного металла, кг

Масса, кг

Основание, поз. 1, 1 шт.

Направляющая, поз. 2, 2 шт.

Материал

Масса, кг

Материал

Масса, кг

1 шт.

общая

01

57

1

175

65

56

250

6

0,030

3,930

Ст3пс3 ГОСТ 14637

2,1

Уголок

0,9

1,8

76

02

89

215

105

4,330

2,5

108

133

159

03

194

265

155

4,930

3,1

219

04

245

315

205

58

300

8

0,036

8,136

5,9

1,1

2,2

273

Ст3пс5 ГОСТ 14637

05

325

395

285

400

0,050

12.950

9,9

1,5

3,0

06

377

475

365

14,950

11,9

426

465

07

530

595

485

60

500

10

0,062

27,062

23,4

1,8

3,6

08

630

645

545

28,962

11,9

09

720

735

625

32,462

28,8

820

920

10

530**

2

340

305

28

400

8

0,080

12,780

10.7

Круг

1,0

2,0

11

630**

390

355

30

10

14,280

12,2

720**

12

820**

450

415

30

500

0,100

20,200

17,7

1,2

2,4

920**

13

1020**

520

485

22,900

20,4

14

1220**

600

565

26,100

23,6

15

1420**

725

690

31,000

28,5

16

1620**

855

820

36,100

33,6

* Размеры для справок.

** Электросварные трубы.

Ключевые слова: направляющие плиты, опоры трубопроводов, конструкция, размеры.

СОДЕРЖАНИЕ

 




Яндекс цитирования



   Copyright © 2007-2026,  www.tehlit.ru.

[ ѓосты, стандарты, нормативы, инструкции, правила, строительные нормы ]