ТехЛит.ру
- крупнейшая бесплатная электронная интернет библиотека для "технически умных" людей.
WWW.TEHLIT.RU - ТЕХНИЧЕСКАЯ ЛИТЕРАТУРА

:: Алготрейдинг::


АЛГОТРЕЙДИНГ
шаг за шагом
с нуля по урокам!

Торговые роботы на PYTHON, BackTrader,
Pandas, Pine Script для TradingView. Связка с брокерами, телеграм и легкими приложениями.


Министерство топлива и энергетики
Российской Федерации

АК «Транснефть»

Согласовано:

Госгортехнадзором
России

письмо № 03-35/277

от 12.05.1999 г.

Утверждено:

Приказом Министерства
то
плива и энергетики
Российской Федерации

от 12.08.1999 г. № 274

РУКОВОДЯЩИЙ ДОКУМЕНТ

Нормы проектирования
электрохимической защиты
магистральных трубопроводов
и площадок
МН

РД 153-39.4-039-99

Москва 1999

Предисловие

1 РАЗРАБОТАН АО «ВНИИСТ», ТОО «КоррОлл» и ОАО «Гипротрубопровод»

ВНЕСЕН АК «Транснефть»

2 УТВЕРЖДЕН И ВВЕДЕН В ДЕЙСТВИЕ Приказом Министерства топлива и энергетики Российской федерации от 12.08.1999 г. № 274.

3 ВВЕДЕН ВПЕРВЫЕ

Редакционная комиссия: Н.П. Глазов, К. Шамшетдинов, Н.Н. Глазов (АО «ВНИИСТ»), О.Н. Насонов (ОАО «Гипротрубопровод»), В. Миронов, В. Радченко (АК «Транснефть»), Ю.А. Додонов, С. Мокроусов, Н.Е. Пашков, Р. Стандрик, А.И. Соваренко, (Госгортехнадзор России), В. Полшков, Р. Поспелов (Минтопэнерго Российской Федерации).

Замечания и предложения направлять по адресу: 105187, Москва, Окружной пр., 19, АО ВНИИСТ, Центр противокоррозионной защиты и диагностики, проф. Глазову Н.П.

СОДЕРЖАНИЕ

1 Область применения. 2

2 Нормативные ссылки. 2

3 Основные требования к проектированию установок электрохимической защиты.. 2

4 Расчет электрических характеристик защищаемых объектов. 5

5 Расчет параметров установок катодной защиты трубопроводов. 10

6 Расчет параметров анодных заземлений. 16

7 Протекторная защита. 26

8 Расчет параметров дренажной защиты.. 32

9 Расчет и проектирование совместной защиты многониточных трубопроводов. 36

10 Особенности проектирования электрохимической защиты трубопроводов и площадок магистральных нефтепроводов. 38

11 Особенности проектирования электрохимической защиты переходов магистральных нефтепроводов через водные преграды, железные и автомобильные дороги. 40

Приложение А. Термины и понятия, используемые в Нормах. 42

Приложение Б. Обозначения основных величин, используемых при расчете и проектировании электрохимической защиты.. 43

Приложение В. Принятые сокращения терминов. 46

Приложение Г. Перечень типовых проектов по электрохимической защите подземных трубопроводов от коррозии. 46

Приложение Д. Методика расчета коэффициентов экранирования заземлителей. 47

РУКОВОДЯЩИЙ ДОКУМЕНТ

Нормы проектирования
электрохимической защиты
магистральных трубопроводов и площадок
МН

Дата введения 1999-10-01

1 Область применения

1.1 Настоящий руководящий документ устанавливает требования к проектированию и расчету параметров электрохимической защиты магистральных нефтепроводов, подземных металлических сооружений насосных станций и других сооружений, входящих в состав магистрального нефтепровода.

2 Нормативные ссылки

2.1 В настоящих нормах использованы ссылки на следующие документы:

ГОСТ 9.602-89. ЕСЗКС. Сооружения подземные. Общие требования к защите от коррозии.

ГОСТ 25812-83. Трубопроводы стальные магистральные. Общие требования к защите от коррозии.

ГОСТ Р 51164-98. Трубопроводы стальные магистральные. Общие требования к защите от коррозии.

СНиП 11-01-95. Инструкция о порядке разработки, согласования, утверждения и составе проектной документации на строительство предприятий, зданий и сооружений.

СНиП 2.05.06-85*. Магистральные трубопроводы.

СНиП III-42-80*. Трубопроводы магистральные. Правила производства и приемки работ.

СП 11-101-95. Порядок разработки, согласования, утверждения и состава обоснований инвестиций строительства предприятий, зданий и сооружений.

ПУЭ-76. Правила устройства электроустановок.

При разработке «Норм» были использованы следующие НТД:

·       Инструкция по проектированию и расчету электрохимической защиты магистральных трубопроводов и промысловых объектов ВСН 2-106-78 / Миннефтегазстрой.

·       Рекомендации по электрохимической защите многониточных магистральных трубопроводов от подземной коррозии. Р 550-84. - ВНИИСТ.

3 Основные требования к проектированию установок электрохимической защиты

3.1 Проектирование электрохимической защиты (ЭХЗ) от коррозии магистральных трубопроводов осуществляется в соответствии с требованиями:

·       ГОСТ Р 51164-98. Трубопроводы стальные магистральные. Общие требования к защите от коррозии.

·       ГОСТ 9.602. ЕС ЗКС. Сооружения подземные. Общие требования к защите от коррозии.

·       Действующих строительных норм и правил.

·       Настоящих Норм.

3.2 При разработке и реализации проекта ЭХЗ необходимо учитывать следующие основные положения:

·       Разработка проекта ЭХЗ для вновь строящихся трубопроводов и подземных коммуникаций выполняется одновременно с проектированием всего объекта. Этапы проектирования определяются СНиП 11-01-95 и СП 11-101-95. Для существующих трубопроводов допускается выполнение проектных работ по реконструкции и техническому перевооружению действующей системы ЭХЗ в одну стадию - рабочий проект.

·       Проектная организация должна иметь лицензию Госгортехнадзора России на право проектирования магистральных трубопроводных систем.

·       Проектная организация обязана осуществлять авторский надзор в период строительства.

·       Защита от коррозии должна быть выполнена комплексно: изоляционными покрытиями и катодной поляризацией независимо от коррозионной агрессивности грунтов.

·       При параллельной прокладке действующих и проектируемых трубопроводов одного назначения или трубопроводов, принадлежащих одному ведомству, а также для коммуникаций площадок применяется, как правило, совместная электрохимическая защита. Совместная ЭХЗ осуществляется также в случаях, когда имеется вредное влияния катодной поляризации одних сооружений на другие. Схему совместной защиты выбирает проектная организация, на основе технических, электрических и коррозионных характеристик объектов.

·       Расчет параметров работы установок ЭХЗ выполняется с учетом прогнозирования их изменений во времени по сметодикам, изложенными в настоящих Нормах. Расчет параметров ЭХЗ действующих трубопроводов следует производить с учетом результатов комплексного обследования этих трубопроводов.

·       При разработке ТЭО (проекта) электрохимической защиты от коррозии необходимо предусматривать резерв (до 10 %) оборудования, кабельной продукции и основных материалов.

·       Проектная организация должна выбрать тип, конструкцию и материалы изоляционных покрытий, средства ЭХЗ, изолирующие соединения, контрольно-измерительные пункты (КИП), шунтирующие перемычки и другое противокоррозионное оборудование с учетом наличия на них сертификатов качества или технических условий, согласованных с Госгортехнадзором России.

3.3 Проектная организация в соответствии с техническим заданием определяет комплекс изыскательских работ и электрометрических исследований для получения исходных данных для проектирования.

3.4 В состав комплекса изыскательских работ и электрометрических исследований для вновь строящихся трубопроводов включаются следующие основные виды работ:

·       Выбор мест размещения установок ЭХЗ.

·       Инструментальная или визуальная съемка на местности площадок для размещения элементов установок электрохимической защиты (станции катодной и дренажной защиты, протекторы, анодные заземления, трассы кабельных и воздушных ЛЭП).

·       Измерения удельного электрического сопротивления грунтов вдоль трассы трубопровода с шагом 100 м.

·       Геофизические исследования (в том числе, при необходимости, вертикальные электрические зондирования) на площадках размещения анодных заземлений.

·       Определение наличия и параметров блуждающих токов в земле по трассе проектируемого трубопровода или на площадке проектируемого объекта.

·       Обследование источника блуждающих токов (замеры потенциалов «рельс-земля», сбор материалов по размещению дроссель-трансформаторов, тяговых подстанций, тяговых нагрузок и т.д.).

·       Выбор источников электроснабжения установок ЭХЗ и получение технических условий на подключение к ним.

·       Согласование конструкции и мест размещения глубинных анодных заземлении (территориальными органами Госсанэпиднадзора, Гидрогеологическое управление и др.).

·       Согласования со службами эксплуатации железной дороги подключения средств дренажной защиты.

·       Сбор статистических данных о коррозионных повреждений на соседних стальных подземных трубопроводах.

3.5 При разработке проектной документации на реконструкцию или техническое перевооружение действующих систем ЭХЗ в объем электрометрических исследований, кроме работ, перечисленных в п. 3.4, следует включать следующие работы:

·       Измерение параметров работы существующих средств ЭХЗ (станций катодной и дренажной защиты, протекторных установок).

·       Измерение разности потенциалов «сооружение - земля» при включенных и выключенных установках ЭХЗ во всех КИП-ах.

·       Определение протяженности защитных зон катодных станций при различных режимах их работы.

·       Определение защищенности трубопровода, включая сплошные измерения по трассе методом выносного электрода.

·       Установка опытных средств ЭХЗ.

·       Определение возможного вредного влияния катодной поляризации на смежные сооружения.

·       Поиск дефектов в изоляционном покрытии.

·       Оценка качества изоляционного покрытия на различных участках трубопровода и разработка рекомендаций по его ремонту.

3.6 На предпроектных стадиях (Декларация о намерениях, Обоснования инвестиций) должны быть решены следующие задачи:

·       Выбор конструкции и материалов изоляционного покрытия трубопровода.

·       Выбор типа и определение количества средств ЭХЗ.

·       Рекомендация наиболее рационального варианта системы ЭХЗ в целом, включая отдельные элементы (анодные заземлители, контрольно-измерительные пункты, блоки совместной защиты и др.).

·       Определение источника электроснабжения средств ЭХЗ.

3.7 В состав ТЭО (проект) должна быть включена следующая документация:

·       Сокращенный план трассы проектируемого трубопровода или план проектируемых подземных коммуникаций с размещением устройств ЭХЗ и источников блуждающих токов.

·       Принципиальные установочные схемы устройств, принятых для электрохимической защиты от коррозии.

·       Пояснительная записка и ведомость потребности в оборудовании и материалах (Выбор системы ЭХЗ и ее комплектация должны проводиться на основе расчетов с оптимизацией затрат).

3.8 Рабочая документация должна содержать:

·       Сокращенный план трассы проектируемого трубопровода с нанесенными линейными сооружениями (трубопроводами, кабелями, линиями электропередачи и др.), с проектируемыми и существующими устройствами ЭХЗ.

·       Планы размещения проектируемых устройств ЭХЗ с привязкой мест расположения УКЗ, УДЗ, протекторов, анодных заземлений, соединительных дренажных линий и линий электроснабжения.

·       Пункты подключения кабеля к подземным трубопроводам и источникам блуждающих токов должны быть привязаны к постоянным ориентирам и к пикетам.

·       План инженерных сетей подземных коммуникаций с размещением проектируемых устройств ЭХЗ.

·       Ведомость размещения контрольно-измерительных пунктов.

·       Принципиальные монтажные схемы средств ЭХЗ.

·       Установочные чертежи.

·       Спецификацию оборудования и ведомость материалов.

При разработке рабочей документации рекомендуется использовать типовые проекты, перечень которых приведен в приложении Г.

4 Расчет электрических характеристик защищаемых объектов

4.1 Электрические характеристики защищаемых объектов являются основными параметрами, определяющими величину и распределение защитного тока. К ним относятся следующие первичные электрические параметры:

·       переходное сопротивление, Rп, Ом·м2 и

·       продольное сопротивление, Rт, Ом/м.

4.2 Исходные данные длят определения электрических характеристик защищаемых объектов:

·       диаметр трубопровода, Dт, м;

·       толщина стенки трубы, δт, мм;

·       марка стали трубы;

·       сопротивление изоляции, Rиз, Ом·м2;

·       удельное электрическое сопротивление грунта, ρг, Ом·м;

·       глубина укладки трубопровода, Hт, м.

4.2.1 Диаметр трубопровода, толщину стенки трубы, марку стали трубы и глубину ее укладки определяют по проектной документации.

4.2.2 Сопротивление изоляции для вновь строящихся и реконструируемых трубопроводов определяют в зависимости от типа изоляции по таблице 4.1.

Указанные в данной таблице значения сопротивления изоляции могут приниматься в расчет электрических параметров защищаемых объектов только при условии введения в проект процедуры контроля состояния изоляции законченных строительством участков трубопроводов катодной поляризацией с соответствии с методикой ГОСТ Р 51164.

4.2.3 Сопротивление изоляции эксплуатируемых трубопроводов определяют по параметрам электрохимической защиты.

4.2.4 Удельное электрическое сопротивление грунта на глубине укладки трубопровода определяется по данным изысканий. Измерения проводят через каждые 100 м и дополнительно во всех местах понижения рельефа (овраги, реки, ручьи, заболоченные участки и тому подобное).

4.3 Основными вторичными электрическими параметрами трубопровода являются постоянная распространения тока и входное или характеристическое сопротивление, которые вычисляют через переходное и продольное сопротивления.

Таблица 4.1

Сопротивление изоляции на законченных строительством участках трубопровода при температуре выше 273 К (0 °С)

Тип покрытия

Сопротивление изоляции, Ом·м2, не менее

Покрытия усиленного типа

 

Трех-, двухслойное полимерное покрытие на основе термореактивных смол и полиолефина; покрытие на основе термоусаживающихся материалов

3·105

Все остальные покрытия усиленного типа кроме мастичных и полимерно-битумных

1·105

Мастичные и полимерно-битумные покрытия

5·104

Все покрытия нормального типа

5·104

4.3.1 Продольное сопротивление

4.3.1.1 Продольное сопротивление трубопровода рассчитывают по формуле:

 [Ом/м],                                           (4.1)

где ρт  - удельное сопротивление материала трубы, Ом·мм2/м (определяется в зависимости от марки стали по таблице 4.4);

Dт - диаметр трубопровода, м;

δт  - толщина стенки трубопровода, мм.

4.3.1.2 Продольное сопротивление стальных трубопроводов (Rт), имеющих стандартные размеры в практике строительства магистральных трубопроводов и удельное электрическое сопротивление трубной стали, равное 0,245 Ом·мм2/м, определяют по таблицам 4.2 и 4.3.

4.3.1.3 При изменении толщины стенки трубы в зоне действия установки электрохимической защиты расчет продольного сопротивления производят по средней ее величине, определяемой по формуле:

 [мм],                                           (4.2)

где l1 - длина участка трубопровода с толщиной стенки δт1, м;

l2 - то же с толщиной стенки δт2, м.

Таблица 4.2

Продольное сопротивление трубопровода

Диаметр трубы

Продольное сопротивление трубопровода (Rт·10-6, Ом/м) при различной толщине стенки трубы (δт, мм))

(Dт), м

4

5

5,5

6

6,5

7

7,5

8

8,5

9

9,5

0,146

137

111

101

92,6

86,1

82,0

75,1

70,7

 

 

 

0,152

132

106

98,8

89,1

82,5

76,9

72,0

67,7

 

 

 

0,159

126

101

92,4

85,0

78,7

73,3

68,7

64,6

 

 

 

0,168

119

95,7

87,3

80,3

74,3

69,2

64,8

61,0

 

 

 

0,180

111

89,2

81,3

74,7

69,2

64,4

60,3

56,7

 

 

 

0,194

103

82,6

75,3

69,2

64,0

59,6

55,8

52,4

 

 

 

0,219

90,7

73,2

66,5

61,1

56,5

52,6

49,2

46,2

 

 

 

0,245

80,9

65,0

59,2

54,4

50,3

46,8

43,8

41,1

 

 

 

0,273

72,5

58,2

53,0

48,7

45,0

41,9

39,2

36,8

 

 

 

0,299

66,1

53,1

48,3

44,4

41,0

38,2

35,7

35,5

 

 

 

0,325

60,8

48,8

44,4

40,8

37,7

35,1

32,8

30,8

 

 

 

0,377

52,3

41,9

38,2

35,1

32,4

30,1

28,2

26,4

24,9

 

 

0,426

46,2

37,1

33,7

31,0

28,6

26,6

24,9

23,3

22,0

20,8

 

0,530

 

29,7

27,1

24,8

22,9

21,3

19,9

18,7

17,6

16,6

 

0,720

 

 

 

 

16,8

15,6

14,6

13,7

12,9

12,2

11,6

0,820

 

 

 

 

 

 

12,8

12,0

11,3

10,7

10,1

1,020

 

 

 

 

 

 

 

 

 

8,58

8,13

В расчет принимается величина, указанная в таблице и умноженная на 10. Например, для труб диаметром 0,82 м и толщиной стенки 8 мм продольное сопротивление равно: Rт = 12,0 × 10-6 = 12·10-6 Ом/м.

4.3.1.4 Если температура данного участка трубопровода отличается от 20 °С, то ранее вычисленное значение продольного сопротивления корректируют на максимальную эксплуатационную температуру стенки трубы по формуле:

Rт = Rт.20°[1 + βc.20°(t° - 20)] [Ом/м],                                    (4.3)

где Rт.20°  - продольное сопротивление трубопровода при 20 °С, Ом/м;

βc.20°  - температурный коэффициент электрического сопротивления стали при 20 °С (βc.20° = 0,0093 1/°С);

t°  - максимальная эксплуатационная температура стенки трубы, °С.

4.3.2 Переходное сопротивление.

4.3.2.1 Переходное сопротивление Rп представляет собой сумму сопротивления изоляции Rиз, сопротивления окружающего трубу грунта Rp:

Rп = Rиз + Rp [Ом·м2].                                              (4.4)

Таблица 4.3

Продольное сопротивление трубопровода

Диаметр трубы

Продольное сопротивление трубопровода (Rт·106, Ом/м) при различной толщине стенки -трубы (δт, мм)

Dт, м

10

10,5

11

11,5

12

12,5

14

15

16

17

20

0,72

11,0

10,5

10,0

 

 

 

 

 

 

 

 

0,82

9,63

9,18

8,77

8,39

 

 

 

 

 

 

 

1,02

7,72

7,36

7,03

6,73

6,45

6,20

5,54

5,18

4,86

 

 

1,22

 

 

5,87

5,61

5,38

5,17

4,62

4,32

4,05

3,82

3,25

1,42

 

 

 

 

 

 

3,96

3,70

3,47

3,27

2,79

1,62

 

 

 

 

 

 

3,47

3,24

3,00

2,86

2,44

В расчет принимается величина, указанная в таблице и умноженная на 10-6. Например, для труб диаметром 1,02 м и толщиной стенки 12 мм продольное сопротивление равно: Rт = 6,45 × 10-6 = 6,45·10-6 Ом/м.

4.3.2.2 Сопротивление окружающего трубу грунта (сопротивление растеканию трубопровода) определяют по следующему приближенному выражению:

 [Ом·м2],                                 (4.5)

где Dт - диаметр трубопровода, м;

Hт - глубина залегания трубопровода, м;

Rт - продольное сопротивление трубопровода, Ом/м;

ρг   - среднее удельное электрическое сопротивление грунта [Ом·м], вычисляемое по формуле:

 [Ом·м],                                         (4.6)

где Li     - длина i-го участка с удельным электрическим сопротивлением (ρгi, (Ом·м), м;

n - количество участков с удельным электрическим сопротивлением ρгi.

4.3.2.3 Выражение (4.5) является трансцендентным. Решение задачи определения сопротивления растеканию трубопровода производится с помощью персонального компьютера.

Таблица 4.4

Удельное электрическое сопротивление различных марок трубной стали

Марка трубной стали

Удельное электрическое сопротивление трубной стали при температуре 20 °С, Ом·мм2

17ГС, 17Г2СФ, 08Г2СФ

0,245 ± 0,002

18Г2, СТ3

0,218

18Г2САФ, 18ХГ2САФ

0,263 ± 0,003

15ГСТЮ

0,281

4.3.2.4 Для вновь строящихся и реконструируемых трубопроводов, сопротивление изоляции которых соответствует значениям таблицы 4.1, при удельном электрическом сопротивлении грунта менее 50 Ом·м, сопротивление растеканию трубопровода может быть принято равным нулю.

4.3.2.5 Прогнозирование изменения переходного сопротивления трубопровода на срок до 20 лет осуществляют по формуле:

R'п(t) = Rр + Rиз0·е·t [Ом·м2],                                    (4.7)

где R'п(t)  - значение переходного сопротивления в момент времени эксплуатации t, Ом·м2;

Rиз0  - начальное значение сопротивления изоляции трубопровода, Ом·м2;

γ  - коэффициент, характеризующий скорость изменения сопротивления изоляции во времени, 1/год.

4.3.2.6 Для определения переходного сопротивления на единицу длины сооружения следует пользоваться формулой

Rп(t) = R'п(t)/(πDт) [Ом·м].                                          (4.8)

4.3.3 Постоянную распространения тока вдоль трубопровода определяют по формуле:

 [1/м].                                                  (4.9)

Постоянная распространения тока вдоль трубопровода является основным параметром, характеризующим длину защитной зоны. С уменьшением величины α длина защитной зоны увеличивается.

4.3.3.1 Постоянную распространения тока вдоль трубопровода как функцию времени α(t) следует определять из выражения:

 [1/м]                                              (4.10)

или приближенно по формуле:

α(t) = αн·eγ·t/2 [1/м],                                            (4.11)

где αн  - значение постоянной распространения в начальный период эксплуатации трубопровода, 1/м:

 [1/м].                                                 (4.12)

4.3.4 Характеристическое сопротивление трубопровода определяют по формуле:

·       для трубопровода, длина которого превышает длину защитной зоны единичной установки электрохимической защиты:

 [Ом];                                           (4.13)

·       для трубопровода, длина которого меньше длины защитной зоны единичной установки электрохимической защиты:

 [Ом],                               (4.14)

где L - длина трубопровода, м.

При определении характеристического сопротивления трубопровода конечной длины (4.14) следует руководствоваться следующим правилом: за длину трубопровода необходимо принимать расстояние между предполагаемой точкой дренажа и концом трубопровода.

4.3.4.1 Если точка дренажа разделяет трубопровод на плечи с различными электрическими параметрами, то характеристическое сопротивление правого (Zп) и левого (Zл) плеча трубопровода будут соответственно равны:

 [Ом];                                          (4.15)

 [Ом],                                          (4.16)

где Rтп и Rтл  - продольное сопротивление, соответственно, правого и левого плеч трубопровода, Ом·м;

Rпп и Rпл - переходное сопротивление, соответственно, правого и левого плеч трубопровода, Ом·м.

4.3.4.2 Входное сопротивление трубопровода Zвт в случае по п. 4.3.4.1 определяют выражением:

 [Ом].                                         (4.17)

4.3.4.3 Если характеристическое сопротивление правого и левого плеч трубопровода одинаково, то входное сопротивление будет равно:

 [Ом].                                        (4.18)

4.3.4.4 Величина входного сопротивления в значительной степени определяет силу тока катодной установки. С увеличением величины этих сопротивлений сила тока катодной установки уменьшается.

4.3.4.5 Входное сопротивление трубопровода как функцию времени эксплуатации Zвт(t) следует определять из выражения:

 [Ом]                                    (4.19)

или приближенно по формуле:

Zвт(t) = Zвтн·е·t/2 [Ом],                                         (4.20)

где Zвтн  - входное сопротивление трубопровода в начальный период эксплуатации, Ом;

 [Ом].                                       (4.21)

4.3.5 Коэффициент, характеризующий скорость изменения сопротивления изоляции во времени, для реконструируемых и вновь строящихся трубопроводов определяют из таблицы 4.5.

Таблица 4.5

Коэффициент, характеризующий скорость изменения сопротивления изоляции во времени

Тип изоляционного покрытия

Коэффициент, γ, 1/год

Трех-, двухслойное полимерное покрытие на основе термореактивных смол и полиолефина; покрытие на основе термоусаживающихся материалов

0,05 - 0,06

Все остальные покрытия кроме мастичных и полимерно-битумных

0,07 - 0,09

Мастичные и полимерно-битумные покрытия

0,1 - 0,125

4.3.6 Коэффициент, характеризующий скорость изменения сопротивления изоляции во времени, для действующих трубопроводов определяют по параметрам катодной защиты. При этом строят график ln I(t) = f(t) в полулогарифмическом масштабе (рисунок 4.1).

После нанесения данных измерений силы тока установки катодной защиты за весь период эксплуатации ЭХЗ на график проводится усредняющая эти данные прямая линия. Расчет коэффициента γ проводится по формуле:

.                                                      (4.22)

Если график ln i(t) = f(t) строится для суммарного значения силы тока нескольких установок катодной защиты, то полученный коэффициент γ распространяется на весь участок, защищаемый этими катодными установками.

Рисунок 4.1

График зависимости защитной силы тока от времени (к определению коэффициента старения изоляции трубопроводов)

5 Расчет параметров установок катодной защиты трубопроводов

5.1 Исходными данными для расчета и проектирования установок катодной защиты, кроме данных, указанных в разделе 4, являются:

·       удельное электрическое сопротивление грунта в поле токов катодной защиты;

·       удельное электрическое сопротивление грунта в месте установки анодного заземления;

·       наличие и место расположения относительно трассы источников энергоснабжения с целью выбора месторасположения установок катодной защиты.

5.2 Основными параметрами катодной защиты являются сила тока установки катодной защиты (УКЗ) и длина защитной зоны, создаваемая этой установкой.

5.3 На основании рассчитанных электрических параметров трубопровода определяют тип и мощность катодных преобразователей, тип и количество анодных заземлений, их удаление от защищаемых объектов, а также выбирают месторасположение УКЗ.

5.4 При расчете параметров УКЗ необходимо учитывать изменение переходного сопротивления труба-земля во времени. При этом расчет выполняют на начальный и конечный (10 или 15 лет) срок службы УКЗ.

5.5 Расчет параметров УКЗ сводится к определению количества и мощности катодных станций на трубопроводе.

Мощность катодных станций зависит, в основном, от величины силы защитного тока и сопротивления анодного заземления, количество определяется длиной защитной зоны этих станций.

5.6 Длину защитной зоны катодной установки на конечный период эксплуатации находят по формуле:

 [м],                        (5.1)

где Uтзм   - минимальное смещение (по абсолютной величине) разности потенциалов труба-земля, В;

Uтзо   - смещение разности потенциалов в точке дренажа, В;

kв  - коэффициент, учитывающий взаимовлияние соседних катодных установок (для одиночной УКЗ kв = 1; для УКЗ, работающей рядом с соседними kв = 0,5);

y   - расстояние между трубопроводом и анодным заземлением, м;

ρз  - удельное электрическое сопротивление земли в поле токов катодной защиты, Ом·м.

Уравнение (5.1) решают методом последовательного приближения. Начальное значение определяют без учета члена .

Длина защитной зоны (с точностью до третьей значащей цифры) может быть рассчитана с помощью двух итераций.

5.7 Для определения величины y целесообразно пользоваться кривой, приведенной на рисунке 5.1. По оси абсцисс отложено произведение входного сопротивления трубопровода Zв на расстояние между трубопроводом и анодным заземлением (y), условно обозначенное через P (P = Zв·y).

Зная ρз, находят по номограмме величину P. Затем расстояние между трубопроводом и анодным заземлением определяют по формуле:

y = P/Zв, м.                                                         (5.2)

При этом расстояние между трубопроводом и анодным заземлением определяют на конечный период работы данной катодной установки, то есть на 10 год ее эксплуатации. Поэтому в формулу (5.2) подставляют значение Zв, определенное на 10 год (или больший по требованию заказчика) эксплуатации.

5.8 Силу тока катодной установки определяют на начальный и конечный период эксплуатации из выражения:

, А.                                               (5.3)

5.8 Значения минимального и максимального потенциала выбирают по таблицам 5.1 и 5.2.

5.8.1 Для кожухов на переходах в грунтах средней и низкой коррозионной агрессивности (ГОСТ 9.602) допускается минимальный поляризационный защитный потенциал более положительный, чем минус 0,85 В (с омической составляющей - минус 0,90 В) при условии обеспечения нормативного срока их службы, что должно быть подтверждено технико-экономическим обоснованием.

Рисунок 5

Номограмма для определения параметра Р

5.8.2 Для трубопроводов, имеющих сопротивление изоляции менее 200 Ом·м2 и находящихся в грунтах средней и низкой коррозионной агрессивности допускается применять в качестве критериев защиты катодное смещение поляризационного потенциала (поляризацию) на 100 мВ или смещение разности потенциалов труба-земля (потенциала с омической составляющей) на 300 мВ при технико-экономическом обосновании и положительном заключении экспертизы Госгортехнадзора России.

5.8.3 При осуществлении электрохимической защиты участка трубопровода, поврежденного коррозией (более 10 % толщины стенки), минимальные защитные потенциалы должны быть на 50 мВ отрицательнее величин, указанных в таблице 5.1.

5.9 Напряжение на выходе катодной станции (V, В) вычисляют по формуле:

V = [Zв + Rпр + Rз],                                                 (5.4)

где Rпр - сопротивление дренажных проводов, соединяющих катодную станцию с трубопроводом и анодным заземлением, Ом;

rз   - переходное сопротивление анодного заземления, Ом.

Величина силы тока (i) в данной формуле должна быть вычислена на конечный период эксплуатации катодной установки.

Таблица 5.1

Минимальные защитные потенциалы

Условия прокладки и эксплуатации трубопровода

Минимальный защитный потенциал (В) относительно насыщенного медно-сульфатного электрода сравнения

Поляризационный

С омической составляющей

Грунты с удельным электрическим сопротивлением не менее 10 Ом·м или содержанием водо-растворимых солей не более 1 г на 1 кг грунта или при температуре транспортируемого продукта не более 293 К (20 °С)

Минус 0,85

Минус 0,90

Грунты с удельным электрическим сопротивлением менее 10 Ом·м, или содержанием водорастворимых солей более 1 г на 1 кг грунта, или опасном влиянии блуждающих токов промышленной частоты (50 Гц) и постоянных токов, или при возможной микробиологической коррозии, или при температуре транспортируемого продукта более 293 К (20 °С)

Минус 0,95

Минус 1,05

Примечания

1 Для трубопроводов с температурой транспортируемого продукта не более 278 К (5 °С) минимальный поляризационный занятный потенциал равен минус 0,80 В относительно насыщенного медно-сульфатного электрода сравнения.

2 Минимальный защитный потенциал с омической составляющей при температуре транспортируемого продукта от 323 К (50 °С) до 343 К (70 °С) - минус 1,10 В; от 343 К (70 °С) до 373 К (100 °С) - минус 1,15 В.

Таблица 5.2

Максимальные защитные потенциалы

Условия прокладки и эксплуатации трубопровода

Максимальный защитный потенциал (В) относительно насыщенного медно-сульфатного электрода сравнения

Поляризационный

С омической составляющей

При прокладке трубопровода с температурой транспортируемого продукта выше 333 К (60 °С) в грунтах с удельным электрическом сопротивлением менее 10 Ом·м или при подводной прокладке трубопровода с температурой транспортируемого продукта выше 333 К (60 °С)

Минус 1,10

Минус 1,50

При других условиях прокладки трубопроводов:

- с битумной изоляцией

Минус 1,15

Минус 2,50

- с полимерной изоляцией

Минус 1,15

Минус 3,50

Примечания:

1 Для трубопроводов из упрочненных сталей с пределом прочности 0,6 МПа (6 кгс/см2) и более не допускаются поляризационные потенциалы более отрицательные чем минус 1,10 В.

2 В грунтах с высоким удельным электрическим сопротивлением (более 100 Ом·м) допускаются более отрицательные потеть/алы с омической составляющей, установленные экспериментально или расчетным путем в соответствии с НД.

5.10 Сопротивление проводов находят из выражения:

, Ом,                                             (5.5)

где yc - длина спусков провода с опор к катодной станции, анодному заземлению и трубопроводу, м;

S  - сечение провода дренажной линии, мм2;

ρм  - удельное электрическое сопротивление провода, Ом·мм2/м.

5.11 Величина Rз зависит от конструкции заземления, числа электродов в нем, удельного сопротивления грунта и других факторов. Расчет Rз выполняют по методикам, приведенным в разделе 6 настоящих Норм.

5.12 Мощность на выходе катодной станции определяют по формуле:

W = i·V = i2·[Zв + Rпр + Rз], Вт.                                     (5.6)

5.13. Выбор средств катодной защиты производится в соответствии с результатами расчета силы тока, напряжения на выходе и мощности. При этом рекомендуется увеличить силу тока на 30 % при прокладке трубопровода в грунтах высокой коррозионной агрессивности и на 50 % при необходимости резервирования катодных установок.

В соответствии с рассчитанными силой тока, напряжением и мощностью выбирают тип катодной станции.

5.14. Особенности расчета параметров установок катодной защиты при контроле поляризационного потенциала.

5.14.1. Длина защитной зоны катодной установки, работающей рядом с соседними, определяют из выражения:

,                                    (5.7)

где αп     - коэффициент распространения тока вдоль трубопровода, равный

;                                                        (5.8)

Rо   - омическое сопротивление дефекта в изоляции, Ом·м2;

Rпо  - поляризационное сопротивление дефекта в изоляции, Ом·м2;

Uо   - максимальный поляризационный потенциал в точке дренажа, В;

Uм   - минимальный поляризационный потенциал, В;

U, k1, k2    - коэффициенты, равные

;                                                    (5.9)

,                                                      (5.10)

                                                     (5.11)

где jд - предельная плотность тока по кислороду, А/м2;

а  - коэффициент нелинейности катодной поляризации, м2/А.

5.14.2. Сила тока катодной установки определяют из выражения:

,                                               (5.12)

где Zп  - характеристическое сопротивление трубопровода, Ом, определяемое по формуле:

.                                                (5.13)

5.14.3. Для определения поляризационных характеристик на трассе трубопровода выполняют измерения разности потенциалов вспомогательный электрод-земля, поляризационного потенциала и силы поляризующего вспомогательный электрод тока.

Необходимое оборудование для измерений:

·           мультиметр типа 43313.1 или другой прибор с аналогичными характеристиками;

·           электрод сравнения с датчиком потенциала типа ЭНЕС;

·           источник постоянного тока - аккумулятор (12 - 24 В, 40 - 50 А·ч);

·           миллиамперметр с пределами измерения 0,1 - 10 мА;

·           временное анодное заземление (винтовые заземлители или заземлители другого типа);

·           регулируемый резистор.

Электрическая схема измерений приведена на рисунке 5.2.

Анодное заземление располагается на удалении 10 - 15 м от погруженного в грунт электрода сравнения с датчиком потенциала.

Измерения проводятся на трех режимах установившегося потенциала: 0,85 - 0,9 В, 0,95 - 1,0 В и 1,05 - 1,1 В по медно-сульфатному электроду сравнения.

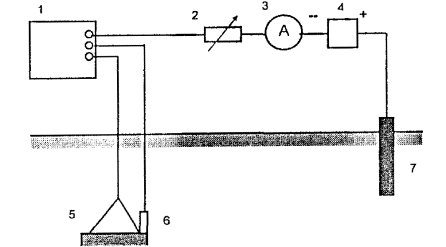
Рисунок 5.2

Электрическая схема измерений поляризационных характеристик:

1 - мультиметр типа 43313.1; 2 - регулируемый резистор; 3 - миллиамперметр; 4 - источник постоянного тока; 5 - электрод сравнения; 6 - датчик потенциала; 7 - временное анодное заземление

Точки для измерений выбирают в характерных для данного участка трубопровода грунтах. Количество точек - не менее 5 на одну катодную установку.

Для определения поляризационных характеристик необходимо по данным измерений вычислить следующие величины:

поляризационное сопротивление для каждого измерения:

,                                                            (5.14)

где Uпi - поляризационный потенциал i-того измерения, В;

ji  - плотность тока поляризации вспомогательного электрода (датчика потенциала) при i-том измерении, А/м2.

Плотность тока поляризации вспомогательного электрода (датчика потенциала) вычисляют по формуле:

,                                                              (5.15)

где Iвэi - сила тока поляризации вспомогательного электрода (датчика потенциала) при i-том измерении, А;

Sвэ - площадь поверхности датчика потенциала, м2.

Обработку измерений производят по формулам:

Коэффициент нелинейности катодной поляризации:

.                                                (5.16)

Поляризационное сопротивление:

.                                                     (5.17)

По полученным значениям a и Rпо вычисляют среднее арифметическое с исключением минимального и максимального значений.

Предельная плотность тока по кислороду принимается равной плотности тока при достижении минимального защитного потенциала.

6 Расчет параметров анодных заземлений

6.1 Анодное заземление является одним из основных узлов установки катодной защиты, от надежной работы которого во многом зависит эффективность электрохимической защиты в целом.

6.2 Основными требованиями к анодному заземлению являются:

·       Срок службы анодного заземления должен быть не менее 10 лет, а для северных условий - не менее 15 лет. Срок службы по требованию заказчика может быть увеличен на 50 %.

·       Сопротивление анодного заземления должно обеспечивать протекание необходимого защитного тока в течение всего планируемого срока службы заземления.

·       Анодное заземление должно удовлетворять требованиями ПУЭ в части техники безопасности (напряжение прикосновения и шаговое напряжение).

6.3 По конструктивному исполнению и глубине заложения анодные заземления можно разделить на следующие группы:

подпочвенное заземление, устанавливаемое в грунтах с глубиной погружения до 10 м и ниже поверхности земли с горизонтальным, вертикальным и комбинированным расположением электродов;

глубинное заземление, устанавливаемое в специально пробуренные скважины, например, свайные анодные заземления и используемые в качестве анодного заземления обсадные колонны скважин, глубинные заземления с выходом рабочей части на поверхность земли, а также свайные с выходом торца на поверхность (допускается использовать в качестве глубинных анодных заземлений ликвидированные скважины при согласовании с СЭС и Гидрогеологическим управлением);

протяженное заземление, прокладываемое, как правило, вдоль защищаемого сооружения (допускается использовать в качестве протяженных горизонтальных анодных заземлений выведенные из эксплуатации подземные стальные сооружения).

6.4 Выбор анодного заземления осуществляется на основе расчета, исходя из капитальных затрат на сооружение заземления и эксплуатационных расходов, с учетом следующих основных факторов:

·       силы защитного тока;

·       параметров грунта в месте размещения заземления (удельное сопротивление грунта, влажность, глубина промерзания);

·       схемы расположения защищаемых объектов и других подземных металлических сооружений вблизи размещения анодного заземления.

При выборе типа анодного заземления необходимо учитывать возможность подъезда к площадке размещения анодного заземления для измерений и ремонта, при этом не рекомендуется размещение анодного заземления и прокладка анодной линии электропередачи на землях сельскохозяйственных угодий.

6.5 Материал электрода для анодного заземления выбирается с учетом условий, приведенных в таблице 6.1.

6.6 Потери массы электрода при расчете анодного заземления можно принимать по усредненным значениям (для условий, приведенных в таблице 6.2).

Таблица 6.1

Рекомендации по выбору анодных материалов

Анодный материал

Удельное электрическое сопротивление грунта, Ом·м

Конструкция анодного заземления

Высококремнистый чугун

Менее 20

Подпочвенное

Графит, графитизированные и графитосодержащие материалы

15 - 40

Глубинное со сроком службы не более 10 лет

Высококремнистый чугун в коксовой засыпке

15 - 40

Глубинное, подпочвенное

Графит, графитизированные и графитосодержащие материалы в коксовой засыпке

10 - 60

Все типы

Сталь иизкоуглеродистая

Более 60

Свайное, подпочвенное

Сталь низкоуглеродистая в коксовой засыпке

Более 40

Подпочвенное

6.7 Рекомендуемое расстояние между электродами равно тройной длине электрода.

6.8 Переходное сопротивление одного заземлителя Rз1 (Ом) зависит от конструкции заземления, удельного электрического сопротивления грунта и геометрических параметров электродов. Приближенно значение переходного сопротивления одного электрода-заземлителя можно считать равной величине его сопротивления растеканию.

Таблица 6.2

Параметры анодных заземлителей

Название, тип

Анодный материал

Габаритные размеры, м

Масса, кг

Скорость растворения, кг/А·год

Максимальная плотность тока, А/м2

Длина, м

Диаметр, мм

АК423М

Высококремнистый чугун

0,8

Æ 110

50

0,20 - 0,25

30

«Менделеевец-S»

Высококремнистый чугун

1,2

Æ 50

18

0,20 - 0,25

35

«Менделеевец 1М»

Высококремнистый чугун

1,5

Æ 70

40

0,2 - 0,3

30

«Менделеевец ММ»

Высококремнистый

чугун

1,5

Æ 50

25

0,2 - 0,3

30

АЗМ-3 (АЗМ-3Л)

Высококремнистый чугун

1,5

Æ 50

33

0,2

30

ЭГТ

Графитопласт

1,00

Æ 114

7,46

0,2 - 0,6

0,45 - 1,5 (в зависимости от грунтовых условий)

ЭГТ

Графитопласт

1,45

Æ 114

10,82

0,2 - 0,6

ЭГТ

Графитопласт

2,00

Æ 114

14,92

0,2 - 0,6

ЭГТ

Графитопласт

2,50

Æ 114

18,65

0,2 - 0,6

ЭГТ

Графитопласт

2,90

Æ 114

21,63

0,2 - 0,6

ЭР-1 «штыревые»

Графит

1,67

Æ 47

5,0

0,5

0,2 (0,5) А/м***)

ЭР-2 «протяженные»

Графит

*)

Æ 22

Æ 32

Æ 36

0,45

0,85

0,90

0,5

0,02 (0,1) А/м

0,05 (0,25)***)

ЭР-5 «протяженные»

Графит

**)

Æ 47

4,5

0,5

0,3 (0,5) А/м***)

Заземления из конструкционной стали

Сталь низкоуглеродистая

Размеры выбираются проектной организацией

9,8

Не ограничивается

*) - 50 (в бухте), для ЭР-2 1200 (на барабане); для ЭР-2.1 и ЭР-2.1/2 600.

**) - 25 - 200 (на барабане), 25 (в бухте).

***) - в скобках указана анодная плотность тока при коксовой засыпке.

Для протяженных заземлений необходимо учитывать продольное сопротивление.

6.9 При расчете выходного напряжения катодной станции (преобразователя) необходимо учитывать отличие электродного потенциала заземлителя от естественного потенциала трубопровода.

Если выходное напряжение катодной станции менее 10 В, то его необходимо изменить на величину разности электродного потенциала анодного материала заземления и естественного потенциала трубопровода (с учетом знака этой разности).

При отсутствии в технической документации на анодный заземлитель данных об электродном потенциале анодного материала рекомендуется использовать значения, приведенные в таблице 6.3.

Таблица 6.3

Электродные потенциалы анодных материалов

Материал анода

Электродный потенциал по медно-сульфатному электроду сравнения, В

Сталь низкоуглеродистая

Минус 0,55

Графит, графитопласт

Плюс 0,30

Высококремнистый чугун

Минус 0,50

Естественный потенциала трубопровода определяется по данным изысканий или принимается равным минус 0,55 В по МСЭ.

Подпочвенные анодные заземления

6.10 Сопротивление растеканию одного заземлителя рассчитывается по следующим формулам в зависимости от положения заземлителя и наличия среды с низким удельным электрическим сопротивлением вокруг электрода:

для вертикального расположения электрода заземлителя (Rр1):

 [Ом],                          (6.1)

где ρг  - удельное электрическое сопротивление грунта, Ом·м;

lэ   - длина электрода заземлителя, м;

dэ  - диаметр электрода заземлителя, м;

h   - глубина (до середины заземлителя) заложения электрода заземлителя, м;

·       для горизонтального расположения электрода заземлителя (Rp1) при lэ > h и lэ >> dэ

 [Ом];                           (6.2)

·       для горизонтального расположения электрода заземлителя при lэ < h, то есть для короткого электрода:

 [Ом];                                           (6.3)

·       для горизонтального расположения электрода анодного заземлителя при lэ > 12h, то есть для протяженного электрода:

 [Ом];                                        (6.4)

·       для горизонтального расположения электрода при lэ > h и lа >> dэ в коксовой засыпке:

 [Ом];               (6.5)

·       для горизонтального расположения электрода при lэ > 12h в коксовой засыпке:

 [Ом];                              (6.6)

·       Для электродов прямоугольного сечения (например, полосовой заземлитель) в формулы (6.1 - 6.6) вместо dэ подставляют значение 2b/π (где b - ширина полосы, м).

·       При прямоугольном сечении коксовой засыпки в формулы вместо dа подставляют (где аа, bа - соответственно, глубина и ширина коксовой засыпки, м).

6.11 Количество электродов в подпочвенном заземлении определяют по формуле:

 [Ом],                                    (6.7)

где iз   - сила тока, стекающего с заземления на конечный период его эксплуатации, А;

Rэ1  - переходное сопротивление одиночного электрода, Ом;

Сэ   - стоимость электроэнергии, руб./кВт·ч;

Са   - стоимость сооружения одного заземлителя, руб.;

η   - коэффициент полезного действия катодной станции (преобразователя) принимают в расчет по паспортным данным устройства;

 - коэффициент приведения эксплуатационных затрат будущих лет к базисному году (таблица 6.4).

где Т  - планируемый срок эксплуатации установки катодной защиты, годы;

Е - нормативный коэффициент эффективности;

t   - текущее время, годы.

6.12 Сопротивление растеканию заземления, составленного из Nэ электродов, определяют по формуле:;

 [Ом],                                                          (6.8)

где Rэ1 - сопротивление растеканию одного электрода, Ом;

ηэ - коэффициент экранирования, зависящий от размеров электрода, от числа электродов и расстояния между ними и конструктивного исполнения анодного заземления.

Таблица 6.4 - Значения коэффициента приведения затрат будущих лет к базисному году (за 10 лет)

Величина Е

0,08

0,09

0,10

0,11

0,12

0,15

0,17

0,20

Величина f(t), год

8,90

8,14

7,71

7,25

6,75

6,21

5,62

4,99

6.13 Значение коэффициента ηэ выбирают по графикам (рисунки 6.1 - 6.4).

Если в проекте применяются заземлители, отличающиеся по конструкции и размерам более чем на 20 % от размеров, указанных на этих рисунках, то вычисление коэффициента экранирования производится по методике, приведенной в приложении Г.

6.14 Для комбинированного заземления из вертикальных электродов, соединенных горизонтальным электродом, сопротивление растеканию определяют но формуле:

 [Ом],                                       (6.9)

где Rв1  - сопротивление растеканию единичного вертикального электрода, Ом;

Rг1  - сопротивление растеканию горизонтального электрода (магистрали), Ом;

ηв  - коэффициент экранирования вертикальных электродов;

ηвг - коэффициент экранирования вертикальных электродов горизонтальным электродом-·магистралью;

ηгв - коэффициент экранирования горизонтального электрода вертикальным.

Коэффициенты экранирования ηвг и ηгв для приближенных расчетов принимаются равными 0,85.

Длина заземлений 1,4 м, диаметр 0,185, глубина установки 1,7 м

Рис. 6.1

Зависимость коэффициента экранирования вертикальных заземлителей в коксовой засыпке от количества заземлителей при различных отношениях расстояния между ними к их длине [а/lз]

Длина заземлителей 1,4 м, диаметр с коксовой засыпкой 0,185 м, глубина установки 1,7 м

Рисунок 6.2

Зависимость коэффициент экранирования горизонтальных заземлителей в коксовой засыпке от количества заземлителей при различных отношениях расстояния между заземлителями к их длине [а/lз]

Длина заземлителя 3,0 м, диаметр 0,1 м, глубина установки 1,5 м

Рис. 6.3

Зависимость коэффициента экранирования вертикальных заземлителей от их количества при различных отношениях расстояния между заземлителями к их длине [а/lз]

Длина заземлителей 3 м, диаметр 0,1 м, глубина установки 1,5 м

Рисунок 6.4

Зависимость коэффициента экранирования горизонтальных заземлителей от их количества при различных отношениях расстояния между заземлителями к их длине [а/lз]

Глубинное анодное заземление

6.15 Глубинные анодные заземления рекомендуется устанавливать в следующих случаях:

·       при удельном электрическом сопротивлении верхнего слоя грунта в 2 раза более высоком, чем сопротивление подстилающего слоя;

·       при недостаточной площади для размещения подпочвенного анодного заземления;

·       при затруднениях с прокладкой кабельной или воздушной анодной дренажной линии;

·       при отсутствии возможности удаления анодного заземления на расчетное расстояние от защищаемого объекта.

6.16 Исходными данными для проектирования глубинного анодного заземления являются данные, указанные в п. 6.4, и дополнительно данные о геоэлектрическом разрезе: мощность и удельное электрическое сопротивление верхних пластов земли на глубину не менее глубины установки заземления.

6.17 Сопротивление растеканию глубинного анодного заземления из электродов, погруженных в высоко проводящий наполнитель (например, коксовую мелочь) определяют по формуле:

,                                          (6.10)

где Рср   - габаритный коэффициент, определяемый по рисунку 6.6 или по таблице 6.5;

lзi    - длина части рабочей части заземления, находящаяся в i-ом слое грунта, м;

ρi    - удельное электрическое сопротивление i-го слоя земли, Ом·м;

da   - диаметр наполнителя, м;

dэ   - диаметр электрода, м;

ρа   - удельное сопротивление наполнителя, Ом·м.

6.18 Сопротивление растеканию глубинного анодного заземления из электродов без наполнителя определяют по формуле:

, Ом.                                                    (6.11)

6.18 При использовании данных таблицы 6.5 для определения габаритного коэффициента необходимо вычислить значение отношения H/lз, где H - расстояние от поверхности земли до начала (верхней точки) глубинного заземления.

6.19 Определение габаритного коэффициента по графику (рисунок 6.6) вносит погрешность в вычисленные параметры глубинного анодного заземления до 20 %.

6.20 Оптимальную длину рабочей части глубинного заземления lз следует определять по формуле:

, м,                                          (6.12)

где Сг  - стоимость строительства 1 м глубинного заземления, руб./м;

Сэ - стоимость электроэнергии, руб./кВт·ч;

iз   - сила защитного тока, А.

6.19 Сопротивление растеканию глубинного заземлителя (Rгл) с выходом торца на поверхность земли в коксовой засыпке (или в другом наполнителе) определяют по формуле:

, ом,                            (6.13)

где ρп  - средняя величина удельного сопротивления пород по глубине скважины, Ом·м;

lз   - длина рабочей части глубинного заземления, м;

ρа  - удельное электрическое сопротивление наполнителя (засыпки низкого удельного электрического сопротивления, например, коксовой), Ом·м;

ρэ  - удельное электрическое сопротивление анодного материала заземления, Ом·м;

dэ  - диаметр электродов глубинного анодного заземления, м;

dа  - диаметр наполнителя (засыпки низкого удельного электрического сопротивления), Ом·м;

Sэ  - площадь сечения электродов глубинного анодного заземления, м2.

Таблица 6.5

Габаритный коэффициент для расчета глубинных анодных заземлений

dэ/lз

Значение коэффициента Pср при отношении H/lз

0

0,10

0,25

0,50

0,70

1,0

2,0

3,0

0,001

8,99

8,78

8,64

8,56

8,51

8,45

8,40

8,35

0,0015

8,58

8,37

8,25

8,15

8,10

7,99

7,96

7,93

0,002

8,29

8,09

7,97

7,86

7,82

7,77

7,70

7,64

0,003

7,89

7,68

7,56

7,44

7,36

7,29

7,26

7,23

0,004

7,43

7,29

7,15

7,03

7,00

6,96

6,89

6,84

0,006

7,20

6,99

6,87

6,76

6,72

6,66

6,60

6,54

0,009

6,7

6,58

6,46

6,37

6,30

6,27

6,20

6,13

0,015

6,28

6,07

5,95

5,88

5,80

5,77

5,68

5,64

0,020

5,99

5,79

5,67

5,56

5,51

5,46

5,39

5,33

0,040

5,23

5,09

4,97

4,87

4,82

4,77

4,71

4,66

0,070

4,74

4,68

4,41

4,31

4,26

4,21

4,15

4,10

6.20. Сопротивление растеканию без выхода на поверхность земли торца глубинного заземлителя любой длины в коксовом наполнителе рассчитывают по формуле:

, Ом,                  (6.14)

где h  - расстояние от поверхности земли до середины заземлителя, м;

lа - длина глубинного заземления, включая наполнитель, м.

Первое слагаемое выражения (6.13) и (6.14) учитывается при расчете сопротивления глубинного и заглубленного заземлителей с графитизированными электродами, при подключении анодных проводов с одной верхней части заземлителя и при lэ > 20 м.

Рисунок 6.5

График для определения габаритного коэффициента Рср

6.21. Срок службы анодного заземления (Т, лет) проверяют по следующим формулам.

·       Для однородного грунта:

, лет,                                             (6.15)

где Gз  - масса материала электродов заземления (без наполнителя), кг;

qз    - электрохимический эквивалент материала заземления, кг/А·г;

ки    - коэффициент использования массы заземлителя (принимается равным 0,77);

iз.ср  - средняя сила тока (А), стекающего с заземления, за планируемый период эксплуатации заземления равна:

                                                       (6.16)

где iн и iк  - сила тока, соответственно, в начальный и конечный периоды планируемого срока работы анодного заземления, А;

·       Для неоднородных грунтов:

,                                                    (6.17)

где Gзk   - масса рабочей части заземления в k-ом слое грунта, кг;

kг    - коэффициент неоднородности грунта, определяемый по формуле:

,                                                         (6.18)

где lзi - длина рабочей части заземления, находящейся в i-ом слое грунта, м;

lзk   - длина рабочей части заземления, находящейся в k-ом слое грунта, м;

ρk - удельное электрическое сопротивление k-го слоя грунта, имеющего минимальное удельное электрическое сопротивление из всех n слоев, Ом·м;

ρi - удельное электрическое сопротивление i-го слоя грунта, Ом·м;

n  - число слоев грунта пересекаемых рабочей части заземления.

По формуле (6.17) проверяют срок службы глубинных и протяженных анодных заземлений.

6.22. Если срок службы по данным расчета окажется менее указанного в п. 6.2, то необходимо увеличить либо количество электродов, либо их массу, либо рабочую длину заземления на величину kT, которая равна:

,                                                      (6.19)

где Т - планируемый срок службы, лет;

Тр - расчетный срок службы, лет.

7 Протекторная защита

7.1 Протекторную защиту от подземной коррозии следует осуществлять в следующих случаях:

·       на трубопроводах при сопротивлении изоляции не менее 3·102 Ом·м2;

·       на трубопроводах в комплексе с установками катодной защиты (УКЗ) для обеспечения защитного потенциала на участке между УКЗ;

·       для защиты кожухов на переходах через железные и автомобильные дороги;

·       для защиты днищ отдельных резервуаров.

7.2 Сосредоточенные протекторы следует применять в грунтах с удельным электрическим сопротивлением не более 50 Ом·м.

Допускается использовать искусственное снижение удельного электрического сопротивления грунта в местах установки протекторов при исключении вредного воздействия на окружающую среду и технико-экономическом обосновании.

7.3 Протяженные протекторы следует использовать в грунтах с удельным электрическим сопротивлением не выше 500 Ом·м.

7.4 Защита сосредоточенными протекторами должна осуществляться, как правило, групповыми установками комплектных протекторов.

7.5 Одиночные протекторы целесообразно применять при организации временной электрохимической защиты трубопроводов.

7.6 Для установки протекторов необходимо выбирать места с наименьшим удельным электрическим сопротивлением грунта.

7.7 Протекторы следует размещать не ближе 3 м от оси трубопровода. Для групповой установки протекторов расстояние между группой и трубопроводом определяют расчетом.

7.8 При применении искусственного снижения удельного сопротивления грунта расстояние между трубопроводом и протектором должно быть не менее 9 м, при неровной поверхности земли протекторы должны быть размещены на стороне с меньшими альтитудами.

7.9 Глубина установки протекторов должна быть не менее глубины сезонного промерзания грунта.

7.10 Одиночные протекторы или их группы должны быть соединены с трубопроводом только через маркированный контрольно-измерительный пункт.

7.11 Комплектные протекторы представляет собой магниевые аноды ПМ5, ПМ10, ПМ20 (размеры и масса аноды приведены в таблице 7.1), помещенные вместе с порошкообразным активатором в хлопчатобумажные мешки. Комплектные протекторы выпускают трех типов. Размеры и масса комплектных протекторов представлены в таблице 7.2.

Таблица 7.1

Геометрические размеры магниевых анодов

Тип анода

Размеры, мм

Масса, кг

Рабочая поверхность, м2

Условный диаметр

Длина

ПМ5

95

500

5

0,16

ПМ10

123

600

10

0,23

ПМ20

181

610

20

0,35

Таблица 7.2

Геометрические размеры комплектных протекторов

Тип комплектных протекторов

Размеры, мм

Масса, кг

Диаметр

Длина

ПМ5У

165

580

16

ПМ10У

200

700

30

ПМ20У

270

710

60

7.12 Исходными данными для проектирования протекторной защиты являются:

·       сопротивление изоляционного покрытия;

·       удельное электрическое сопротивление грунта вдоль сооружения;

·       электрохимические характеристики протекторов;

·       диаметр трубопровода.

7.13 Расчет протекторных установок заключается в определении:

·       силы тока в цепи протектор-труба;

·       длины участка трубопровода, защищаемого протектором (протек торами);

·       срока службы протектора.

Таблица 7.3

Электрохимические характеристики протекторов

Наименование характеристик

Единица измерения

Величина

Стационарный потенциал по медно-сульфатному электроду сравнения

В

Минус 1,6

Теоретическая токоотдача

А·ч/кг

2330

Коэффициент полезного действия:

Б/р

 

·    для сплава МП1

 

0,65

·    для сплава МП2

 

0,60

Удельное электрическое сопротивление активатора

Ом·м

1,6

7.14 Сила тока в цепи протектор-трубопровод (iп, А) равна:

,                                              (7.1)

где k  - коэффициент, учитывающий неравномерность распределения разности потенциалов труба-земля вдоль трубопровода, принимают k = 1,15;

Sп  - рабочая поверхность протектора (анода), м2, (таблица 7.1);

Rпт  - сопротивление цепи протектор-трубопровод, Ом;

с    - коэффициент, учитывающий поляризацию протектора (с = 0,064 В/м2);

Uп - стационарный потенциал протектора, В;

Uтзм - минимальная защитная наложенная разность потенциалов труба-земля, В, определяется по формуле:

Uтзм = Uм - Uе,                                                           (7.2)

где Uм  - минимальная защитная разность потенциалов труба-земля, В;

Uе  - естественная разность потенциалов труба-земля, В.

Значения Uп, Uм и Uе подставляют в формулы (7.1 и 7.2) по одноименному (медно-сульфатному) электроду сравнения.

Если значения Uп и Uе не известны, то разность потенциалов (Uп - Uе) принимать равной 1 В.

7.15 Сопротивление цепи протектор-трубопровод равно:

Rпт = Rпр + Rрп,                                                         (7.3)

где Rпр   - сопротивление провода, соединяющего протектор с трубопроводом, Ом.

Rрп = ρм·lп/Sп,                                                          (7.4)

где ρм - удельное электрическое сопротивление провода, Ом·мм2, (для меди ρм = 0,0175, для алюминия - 0,028),

lп - длина соединительного провода, м;

Sп - сечение провода, мм2;

Rрп - сопротивление растеканию одного протектора, Ом.

При том условии, что lа >> dа/2 и 4h > lа, сопротивление растеканию протектора равно:

,                                  (7.5)

где ρг - удельное электрическое сопротивление грунта на участке, на котором установлен протектор, Ом·м;

ρа - удельное электрическое сопротивление активатора, Ом·м;

dа - диаметр комплектного протектора, м;

la - длина комплектного протектора, м;

dэ - диаметр протектора, м;

h  - глубина установки протектора (расстояние от поверхности земли до середины протектора), м.

Для комплектных протекторов типа ПМ5У, ПМ10У, ПМ20У можно пользоваться упрощенной формулой:

Rрп = А·ρг + Б,                                                             (7.6)

где А и Б - коэффициенты, зависящие от размеров протекторов.

В таблице 7.3 приведены усредненные значения коэффициентов А и Б при установке протекторов на глубину до 2,5 м.

Таблица 7.3

Коэффициенты для расчета сопротивления растеканию комплектных протекторов

Тип протектора

Коэффициент А, м-1

Коэффициент Б, Ом

ПМ5У

0,57

0,24

ПМ10У

0,47

0,18

ПМ20У

0,41

0,15

7.16 Длина участка трубопровода, защищаемого одним протектором на конец планируемого периода защиты

,                                                      (7.7)

где Тп    - планируемый период работы протектора, годы;

Rпн     - начальное значение переходного сопротивления трубопровода, Ом·м2.

7.17 Количество протекторов, необходимое для защиты участка трубопровода, определяют по формулам:

·       для протекторов распределенных по всему защищаемому участку трубопровода:

Nп = lз/lзп;                                                               (7.8)

·       при групповой установке протекторов:

Nпг = lз/(ηэlзп),                                                       (7.9)

где lз - длина участка трубопровода, которую необходимо защитить протекторами;

ηэ  - коэффициент экранирования, определяемый по графикам рисунка 7.1.

7.18 Срок службы протекторов вычисляют по формуле:

,                                                  (7.10)

где mп - масса протектора, кг;

q  - теоретическая токоотдача материала протектора, А·ч/кг;

ηи - коэффициент использования материала протектора (ηи = 0,90);

ηп - коэффициент полезного действия протектора. (Величину ηп протектора принимают равным 0,6 или в соответствии с расчетной анодной плотностью тока протектора определяют его значение по технической документации на применяемый протектор).

iп.ср - средняя сила тока в цепи протектор-труба за планируемый период времени (Tп), А.

7.19 Среднюю силу тока группы протекторов определяют по формуле:

.                        (7.11)

Если при расчете срок службы Tп получается меньше запланированного срока, то нужно длину участка трубопровода lзп, защищаемого одним протектором, пересчитать в соответствии с расчетным Tп. Протекторы на трассе трубопровода необходимо устанавливать согласно вновь полученной длине lзп.

7.20 При расчете групповых протекторных установок определяют следующие параметры:

·       количество протекторов в группе;

·       расстояние между протекторами в группе;

·       расстояние между групповой протекторной установкой и трубопроводом.

7.21 Количество протекторов в группе для обеспечения защиты трубопровода должно быть:

,                                                     (7.12)

где

.                                 (7.13)

7.22 Для определения количества протекторов Nп для обеспечения защиты 1 км трубопровода рекомендуется пользоваться номограммой, приведенной на рисунке 7.2.

В номограмме по оси ординат отложено: слева - переходное сопротивление трубопровода Rпн [Ом·м2] и справа - сопротивление растеканию одного протектора Rрп, [Ом].

При пользовании номограммой необходимо знать:

·       начальное переходное сопротивление трубопровода Rпн в Ом·м2;

·       сопротивление растеканию одного протектора Rрп в Ом;

·       диаметр трубопровода Dт в м;

·       длину защищаемого участка трубопровода lз в м;

·       планируемый срок службы протекторов Tп в годах.

7.23 Расстояние между групповыми протекторами и трубопроводом определяют из выражения:

,                                          (7.14)

где iпг  - сила тока групповой протекторной установки в начальный период, А. В данном случае силу тока рассчитывают по формуле:

iпг = iпNпг·ηэ;                                                         (7.15)

R'пт   - переходное сопротивление трубопровода в начальный период, Ом·м2;

lз  - длина участка трубопровода, защищаемая групповой протекторной установкой, м;

Uтзо   - максимально допустимое смещение потенциала труба-земля, В.

Минимальное удаление протекторов от трубопровода должно соответствовать требованию п. 7.7.

7.24 Расчет параметров протекторной защиты кожухов выполняют по методике аналогичной выше приведенной.

7.24.1 Сила тока в цепи протектор-кожух (iпк, А) равна:

,                                         (7.16)

где k - коэффициент, учитывающий неравномерность распределения разности потенциалов кожух-земля, принимают k = 1,1;

Rпк - сопротивление цепи протектор-кожух, Ом;

Для протекторов ПМ5У, ПМ10У и ПМ20У, установленных на глубине 1,6 м

Рисунок 7.1

Коэффициент экранирования протекторов в группе при различных отношениях расстояния между протекторами к их длине [a/la]

uкзм  - минимальная защитная наложенная разность потенциалов кожух-земля, В, определяется по формуле:

uкзм = uм - Uек,                                                     (7.17)

где uм    - минимальная защитная разность потенциалов кожух-земля, В;

Uек    - естественная разность потенциалов кожух-земля, В.

Если значения uп и Uек не известны, то разность потенциалов (uп - Uек) следует принимать равной 1 В.

7.23.2 Длина участка кожуха, защищаемого одним протектором на конец планируемого периода (lзкп, м), равна:

,                                               (7.18)

где Tп  - планируемый период работы протектора, годы;

Dк - диаметр кожуха, м;

Rпнк - начальное значение переходного сопротивления кожуха, Ом·м2.

7.24.3 Количество протекторов, необходимое для защиты кожуха, определяют по формуле (7.8), в которую подставляют длину защищаемого кожуха и длину защитной зоны одного протектора, полученную по п. 7.24.2.

7.24.4 Количество протекторов, полученное по п. 7.24.3 необходимо распределить между двумя группами, устанавливаемых по концам кожуха.

7.25 Параметры протекторной защиты, применяемой для обеспечения требуемых защитных потенциалов между катодными установками, рассчитывают по методике п. 7.13 - 7.23, однако вместо естественного потенциала трубопровода следует подставлять значение средней величины наложенной разности потенциалов труба-земля, вызванной установками катодной защиты.

Рисунок 7.2.

Номограмма для определения количества протекторов в группе:

Tп - планируемый срок службы протекторов, годы; lз - длина защищаемого участка трубопровода, м; Dт - диаметр трубопровода; Rр - сопротивление растеканию одиночного протектора, Ом; Nп - количество протекторов в группе, шт.; Rпн - начальное значение переходного сопротивления, Ом м2

8 Расчет параметров дренажной защиты

8.1 При проектировании дренажной защиты трубопровода от коррозии выполняются работы, связанные с:

·       определением исходных данных;

·       выбором схемы защиты и места установки защитных устройств;

·       определением силы тока дренажных установок и выбор типа дренажа;

·       расчетом сечения дренажного кабеля.

8.2 Определение исходных данных

8.2.1 При проектировании должны быть выявлены следующие исходные данные по источникам блуждающих токов:

·       схема питания контактной сети электрифицированного транспорта;

·       длина участка сближения электрифицированного рельсового транспорта с проектируемым подземным сооружением;

·       расположение тяговых подстанций и отсасывающих пунктов вдоль электрифицированной железной дороги или трамвайной линии;

·       максимальная сила тока нагрузки каждой тяговой подстанции и отсасывающих кабелей;

·       падение напряжения в отсасывающем фидере определяется по данным Управления электрифицированных железных дорог.

8.2.1 По защищаемому трубопроводу необходимо иметь следующие данные:

·       тип и конструкцию изоляционного покрытия трубопровода;

·       количество параллельных ниток трубопровода;

·       срок эксплуатации трубопровода;

·       расстояние между трубопроводом и тяговыми подстанциями или путевыми дросселями.

8.3 Выбор схемы защиты и места установки защитных устройств.

8.3.1 Защиту трубопроводов от коррозии блуждающими токами осуществляется дренажами и автоматическими катодными установками.

Дренажи следует применять поляризованные или с автоматическим регулированием сопротивления дренажной цепи, а также усиленные, с подсоединением их к рельсам, путевым дросселям или сборкам отсасывающих фидеров.

8.3.2 Электрические дренажи устанавливают в анодных и знакопеременных зонах преимущественно в местах сближения железных дорог с трубопроводами, так как при значительных расстояниях увеличивается сечение и длина дренажного кабеля, что экономически нецелесообразно. Место подключения электрического дренажа наиболее эффективно в зонах с наиболее отрицательными потенциалами рельс-земля. Особое внимание следует уделять пересечениям с электрифицированными транспортными линиями.

8.3.3 Автоматические катодные станции (преобразователи) следует использовать при удалении на расстояние более 2 км от источников блуждающих токов. Эти станции должны автоматически поддерживать заданное значение поляризационного потенциала.

Место установки автоматических катодных станций следует выбирать с учетом расположения катодных зон на рельсах электрифицированного транспорта и наличия участков грунтов с относительно малым удельным электрическим сопротивлением, которые пересекают трубопровод и линию электрифицированного транспорта.

8.3.4 Усиленный дренаж необходим в следующих случаях:

·       при наличии нескольких источников блуждающих токов;

·       при знакопеременных потенциалах на подземных коммуникациях;

·       при значительных (более 3 - 5 км) расстояниях между защищаемым объектом и источником блуждающих токов.

8.3.5 Для защиты трубопровода от коррозии блуждающими токами могут быть применены поляризованные протекторы. Наиболее целесообразно применение этих протекторов в качестве временной защиты на строящихся трубопроводах.

8.3.6 Поляризованные и усиленные дренажи следует подключать только к отсасывающим фидерам или к средним точкам путевых дросселей.

8.4 Определение силы тока дренажных установок и выбор типа дренажа.

8.4.1 Дренажная защита подземных металлических сооружений должна осуществляться при минимальном значении средней силы защитного дренажного тока.

8.4.2 Для определения силы тока в дренажной установке необходимо знать среднемесячную силу тока нагрузки тяговой подстанции iтп и расчетные коэффициенты корреляции К1, К2, К3, К4 и К5, характеризующие систему «подземное сооружение - электрифицированная железная дорога».

8.4.3 Сила тока через электрический дренаж (iд) определяется исходя из условия, что ток утечки из рельсов электрифицированной железной дороги в грунт составляет не более 20 % от токов нагрузки тяговой подстанции:

iд = 0,2·iтп·К1·К2·К3·К4·К5 [А],                                         (8.1)

где К1   - коэффициент, учитывающий расстояние между трубопроводом и электрифицированной железной дорогой;

К2  -    коэффициент, учитывающий расстояние от трубопровода до тяговой подстанции;

К3  -   коэффициент, учитывающий тип изоляционного покрытия трубопроводов;

К4  -   коэффициент, учитывающий срок службы трубопровода;

К5  -   коэффициент, учитывающий количество параллельно уложенных трубопроводов.

Значения коэффициентов К1, К2, К3, К4 и К5 приведены в таблицах 8.1 - 8.5.

Таблица 8.1

Значение коэффициента К1

Расстояние между трубопроводом и электрифицированной железной дорогой, км

Величина коэффициента К1

До 0,5

0,9

0,5 - 1

0,7

1 - 2

0,4

2 - 3

0,2

Более 3

0,1

8.5 Расчет сечения дренажного кабеля.

8.5.1 Независимо от способа подключения дренажного кабеля его сечение определяется из условия, что сумма падения напряжения в кабеле и наложенной разности потенциалов труба-земля не должна превышать разности потенциалов между трубопроводом и рельсом.

8.5.2 Сечение дренажного кабеля Sд (в мм2) рассчитывается по формуле:

 [А],                                                  (8.2)

где lк  - длина дренажного кабеля, м;

ρм  - удельное электрическое сопротивление материала кабеля, Ом·мм2/м;

Uд - допустимое падение напряжения в дренажной цепи, В.

Таблица 8.2

Значение коэффициента К2

Расстояние от трубопровода до тяговой подстанции электрифицированной железной дорогой, км

Величина коэффициента К2

До 0,5

0,9

0,5 - 1

0,6

1 - 2

0,35

2 - 3

0,2

Более 3

0,1

Таблица 8.3

Значение коэффициента К3

Тип изоляционного покрытия трубопровода

Величина коэффициента К3

Трех-, двухслойное полимерное покрытие на основе термореактивных смол и полиолефина; покрытие на основе термоусаживающихся материалов

0,3

Все остальные покрытия усиленного типа кроме мастичных и полимерно-битумных

0,5

Мастичные и полимерно-битумные покрытия

0,8

Все покрытия нормального типа

0,9

8.5.3 При подключении дренажного кабеля непосредственно к минусовой шине тяговой подстанции допустимое падение напряжения в дренажной цепи равно допустимому падению напряжения в дренажном кабеле, которое определяется из таблицы 8.6, а при подключении дренажного кабеля к рельсам через среднюю точку путевых дросселей - из таблицы 8.7.

Таблица 8.4

Значение коэффициента К4

Срок службы трубопровода, годы

Величина коэффициента К4

Менее 3

0,5

5 - 7

0,6

7 - 10

0,8

10 - 15

0,9

Более 15

1,0

Таблица 8.5

Значение коэффициента К5

Количество параллельных трубопроводов

Величина коэффициента К5

1

0,75

2

0,85

3

0,93

4

0,97

Более 4

1,00

Таблица 8.6

Допустимые значения падения напряжения в дренажном кабеле при подключении его к минусовой шине тяговой подстанции

Расстояние между отсасывающим пунктом и трубопроводов, км

0,2

0,5

1,0

2,0

3,0

Допустимое падение напряжения в дренажном кабеле, В

10

11

12

13

14

Таблица 8.7

Допустимое значения падения напряжения в дренажном кабеле при подключении его к средней точке путевого дросселя

Расстояние между трубопроводом и электрифицированной железной дорогой, км

0,5

1,0

2,0

3,0

Допустимое падение напряжения в дренажном кабеле, В

3

5

6

7

8.5.4 Падение напряжения в фидере Uд при подключении дренажного кабеля к отсасывающим фидерам определяется по формуле:

Uд = Uк + Uф, А,                                                   (8.3)

где Uф - падение напряжения в отсасывающем фидере определяется по данным Управления электрифицированных железных дорог, В.

8.5.6 Сопротивление дренажного кабеля при применении усиленного дренажа определяется по формуле:

, Ом,                            (8.4)

где ∆U'т-р - средняя величина разности потенциалов между точками присоединения дренажа к подземному сооружению и рельсами при отключенном дренаже, В;

iуд   - средняя сила тока усиленного дренажа за время опытного дренирования, А;

eд   - напряжение на выходе вольтодобавочного устройства усиленного дренажа, В;

Rуд - сопротивление установки усиленного дренажа (без добавочного сопротивления), Ом;

Zвт - входное сопротивление трубопровода, Ом.

Величина Rуд определяется по вольтамперной характеристике проектируемого дренажа или по формуле:

, В,                                                   (8.5)

где Uхх - напряжение холостого хода усиленного дренажа, В;

Uн  - напряжение на зажимах проектируемого дренажного устройства при токе нагрузки iн = iд, В.

Величина Zвт определяется по методике раздела 3 или рассчитывается по результатам измерений по формуле:

, Ом,                                         (8.6)

где Uпт-р  - средняя разность потенциалов между точками присоединения дренажа к трубопроводу и к рельсам в режиме поляризованного дренажа (при отключенном вольтодобавочном устройстве), В;

iпд   - средняя сила тока, протекающего через устройство усиленного дренажа, работающего в режиме поляризованного дренажа.

9 Расчет и проектирование совместной защиты многониточных трубопроводов

9.1 Катодная поляризация подземных металлических сооружений (подземных трубопроводов) не должна оказывать вредного влияния на соседние подземные металлические сооружения.

9.2 Вредным влиянием катодной поляризации защищаемого сооружения на соседние металлические сооружения считается:

·       уменьшение по абсолютной величине минимального или увеличение по абсолютной величине максимального защитного потенциала, установленного ГОСТ 9.602-89 на соседних металлических сооружениях, имеющих катодную поляризацию;

·       появление опасности коррозии на соседних сооружениях, ранее не требовавших защиты от нее.

9.3 Установки катодной защиты могут оказывать вредное влияние в случаях:

·       параллельного пролегания защищаемого трубопровода другому подземному металлическому сооружению;

·       расположения анодного заземления катодной установки одного трубопровода вблизи другого трубопровода;

·       пересечения защищаемого трубопровода с незащищенным.

9.4 Влияние катодной защиты выражается в смещении в отрицательную сторону разности потенциалов труба-земля на участке трубопровода, расположенном вблизи анодного заземления; на остальных участках трубопровода в зоне защиты катодной установки наблюдается смещение разности потенциалов в положительную сторону; как правило, это смещение невелико. Также в положительную сторону смещается разность потенциалов на незащищенном трубопроводе при пересечении с защищенным сооружением.

9.5 Полное устранение или уменьшение до безопасных пределов вредного влияния катодной поляризации защищенного сооружения на смежные (параллельные) сооружения, не имеющие электрохимической защиты, может быть обеспечено следующими способами:

·       устройством раздельной или совместной защиты;

·       удалением анодного заземления катодной установки, являющегося источником вредного влияния, от незащищенного сооружения на расстояние не менее 3y (y - расстояние между анодным заземлением и защищаемым трубопроводом);

·       устройством перемычки в точке дренажа или на некотором расстоянии от нее между защищенной и защищаемой коммуникациями (сечение перемычки определяют расчетом);

·       установкой группы протекторов на смежном подземном сооружении.

9.6 При раздельной электрохимической защите смежных сооружений или при относе анодного заземления от незащищенного сооружения степень вредного влияния устанавливается при наладке запроектированных средств электрохимической защиты. При наличии вредного влияния разрабатываются меры по его устранению. Исключение вредного влияния достигается путем устройства электрической перемычки.

9.7 Параллельные магистральные трубопроводы должны быть совместно защищены от коррозии с целью исключения возможного вредного влияния и резервирования средств защиты.

9.8 Расчет параметров установок совместной катодной защиты выполняется так же как и для одиночных трубопроводов.

9.9 Сила тока установок совместной катодной защиты определяется из выражения:

, А,                                                           (9.1)

где ii  - величина тока, необходимая для защиты iо трубопровода, А;

n   - количество совместно защищаемых трубопроводов.

9.10 Размещение катодных станций на параллельных трубопроводах производится через интервалы, равные или меньшие длины защитной зоны на период через 10 лет эксплуатации проектируемой совместной катодной защиты.

9.11 В точке дренажа всех параллельных трубопроводов используется электрическая перемычка для резервирования катодной защиты на случай отказа в работе одной из защитных установок.

9.12 Точка дренажа установки совместной катодной защиты выбирается, исходя из состояния изоляционного покрытия на трубопроводах.

Как правило, точка дренажа оборудуется на трубопроводе с наибольшей постоянной распространения тока (наименьшей длиной защитной зоны установки катодной защиты. В частном случае, точка дренажа оборудуется на трубопроводе с наихудшей изоляцией, то есть требующего большую силу защитного тока.

9.13 Сопротивление перемычки для двух трубопроводов определяют по формуле:

, Ом,                                       (9.2)

где α1 и α2   - постоянные распространения соответственно первого и второго трубопровода 1 < α2);

z2  - характеристическое сопротивление второго трубопровода, Ом;

l    - плечо защитной зоны, м.

При электрическом соединении нескольких трубопроводов сопротивление перемычки определяют попарно (на одном трубопроводе из них оборудована точка дренажа).

9.14 Сечение перемычки определяется по формуле:

, мм2,                                                      (9.3)

где ρпм   - удельное сопротивление перемычки, Ом·мм2/м;

lпм    - длина перемычки, м.

9.15 Перемычки должны размыкаться с целью контроля величины тока в перемычке и для наладки электрохимической защиты.

9.16 Если трубопроводы имеют технологическую перемычку на расстоянии от точки дренажа менее 1/4 длины защитного плеча, то электрические перемычки в точках дренажа допускается не устанавливать.

9.17 Рекомендуемые схемы совместной катодной защиты параллельных трубопроводов:

·       Одна катодная установка на несколько параллельных трубопроводов при общей силе тока защиты на 10-ый год эксплуатации не более 40 А. Анодное заземление может быть расположено по любую сторону от трубопроводов. Размещение точки дренажа катодной установки производится в соответствии с п. 9.12.

·       Две катодных установки на несколько параллельных трубопроводов при общей силе тока защиты на 10-ый год эксплуатации не более 60 А. Анодные заземления катодных установок могут быть расположены как по одну сторону от трубопроводов, так и по разные стороны. При размещении анодных заземлений по одну сторону от трубопроводов расстояние между ними должно быть не менее 3 их линейных размеров, но не менее 200 м. Размещение точек дренажа катодных установок производится в соответствии с п. 9.12.

·       При силе тока защиты каждого трубопровода более 25 А катодные установки должны быть оборудованы на каждом трубопроводе, а точки дренажа соединяют перемычками.

·       При расстоянии между параллельными трубопроводами более 50 м независимо от силы защитного тока целесообразна установка катодных станций на каждом трубопроводе.

9.18 Включение нескольких катодных станций с разными точками дренажа на одно анодное заземление не допускается.

9.19 В случаях, когда напряжения катодной станции недостаточно для обеспечения необходимого защитного тока допускается последовательное соединение двух катодных станций (преобразователей).

9.20 Электрические перемычки должны выполняться только с применением контрольно-измерительных пунктов.

9.21 В местах сближения или пересечения трубопроводов устанавливают контрольно-измерительные колонки, в которые вводят проводники от этих трубопроводов с соответствующей маркировкой. Сечение проводников должно быть не менее 10 мм2 по алюминию. Необходимость установки перемычки определяется по результатам наладки средств электрохимической защиты при выявлении вредного влияния системы ЭХЗ одного трубопровода на другой.

9.22 Электрические перемычки между трубопроводами должны быть установлены только в точках дренажа (кроме участков сближения или пересечения трубопроводов).

9.23 При проектировании совместной дренажной защиты нескольких параллельных трубопроводов сила дренажного тока определяется в соответствии с разделом 8.

9.24 Дренажи обязательно должны иметь точку дренажа на трубопроводе, отвечающего условиям п. 9.12.

9.25 Сопротивление и сечение электрической перемычки необходимо определять по требованиям п. 9.12 и п. 9.13.

10 Особенности проектирования электрохимической защиты трубопроводов и площадок магистральных нефтепроводов

10.1 Исходными данными для проектирования электрохимической защиты являются следующие данные:

·       план площадки с указанием размещения оборудования и трубопроводов;

·       перечень всех подземных трубопроводов с указанием их длины и диаметра;

·       удельное электрическое сопротивление грунтов на площадке и за ее пределами на расстоянии не менее 50 м, а также результаты вертикального электрического зондирования грунтов на глубину до 100 м;

·       максимальная температура перекачиваемого продукта;

·       оценка влияния блуждающих токов от источников постоянного и переменного тока.

10.2 Задачей проектирования является определение количества средств электрохимической защиты, их мощности и размещения.

10.3 Общая сила защитного тока определяется по формуле:

, А,                                                   (10.1)

где jз.пл - защитная плотность тока коммуникаций площадки, А/м2;

Si     - площадь поверхности i-того трубопровода, м2;

Nпл   - общее количество подземных трубопроводов на площадке.

10.4 Защитная плотность тока коммуникаций площадки определяется из таблицы 8.1.

10.5 Оценка влияния блуждающих токов от источников постоянного и переменного тока производится в соответствии с требованиями ГОСТ 9.602.

10.6 За максимальную температуру перекачиваемого продукта принимается максимальная среднесуточная температура этого продукта.

10.7 За величину удельного электрического сопротивления грунта принимается ее минимальное значение, полученное на площадке при инженерных изысканиях.

Таблица 10.1

Минимальная плотность защитного тока трубопроводов площадок МН

№ пп

Удельное электрическое сопротивление грунтов, Ом·м

Наличие опасного влияния блуждающих токов

Максимальная температура перекачиваемого продукта, °С

Минимальная плотность защитного тока, мА/м2

1

Менее 10

Имеется

Более 20

35

2

Не имеется

Менее 20

25

3

10 - 40

Имеется

Более 20

25

4

Не имеется

Менее 20

17

5

Более 40

Имеется

Более 20

17

6

Не имеется

Менее 20

12

10.8 Количество установок катодной защиты коммуникаций площадки МН (Nукз) определяется по формуле:

,                                                                                          (10.2)

где Iпл - общая сила защитного тока подземных коммуникаций площадки, А;

Iн   - номинальная сила тока катодной станции (преобразователя), определяемая по технической документации, А;

kпл - коэффициент защиты от перегрузки катодных станций (для проектируемых площадок принимается равным 0,7, для существующих площадок - 0,85).

10.9 Тип анодных заземлений выбирается в соответствии с разделом 6.

10.10 Анодные заземления распределяются вокруг площадки на примерно равных расстояниях между ними.

10.11 Анодные заземления размещаются в грунтах наименьшего удельного электрического сопротивления на расстоянии от границ площадки и других подземных металлических сооружений не менее чем на 40 м.

10.12 Размещение катодных станций и анодных заземлений следует предусматривать за пределами взрывоопасной и пожароопасной зон.

10.13 На территории площадки необходимо устанавливать контрольно-измерительные пункты для контроля поляризационного потенциала по ГОСТ 9.602 в количестве, определяемом по ГОСТ 2581201.07.1999 г. - по ГОСТ Р 51164-98).

10.14 При наличии блуждающих токов выбор и расчет параметров средств электрохимической защиты следует производить по указаниям разделов 4 и 8.

Если на нефтепроводе предусматривается установка электрических дренажей на расстоянии от площадки до 10 км, то защита от блуждающих токов должна быть осуществлена катодными станциями с автоматическим поддержанием защитного потенциала.

11 Особенности проектирования электрохимической защиты переходов магистральных нефтепроводов через водные преграды, железные и автомобильные дороги

11.1 На переходах через водные преграды при их длине более 500 м на одном из берегов на расстоянии не более 1 км от водной преграды должна быть предусмотрена установка катодной защиты.

11.2 На всех водных переходах длиною более 500 м необходимо устанавливать контрольно-измерительные пункты для контроля потенциала и силы тока в трубопроводе (по падению напряжения на участке длиной не менее 50 м). Допускается использовать отдельно-стоящие контрольно-измерительные пункты (рисунок 11.1 А) или контрольно-измерительные пункты с двумя клеммами от катодных выводов (рисунок 11.1 Б). Второй вариант является более предпочтительным для условий затрудненности подъезда к береговой линии.

11.3 На действующем трубопроводе проектирование и реконструкция катодной защиты должна производиться на основании комплексного обследования, в которое должны включаться измерения смещения потенциала на одном из берегов при включении и выключении установки катодной защиты на другом берегу.

11.4 Если при комплексном обследовании установлено, что изоляционное покрытие перехода не соответствует требованиям действующих норм, то для обеспечения требуемого остаточного ресурса перехода могут быть применены нетрадиционные схемы катодной защиты согласованные с Госгортехнадзором РФ.

11.5 Для кожухов в грунтах средней и низкой коррозионной агрессивности (по ГОСТ 9.602) допускается минимальный поляризационный потенциал более положительный, чем минус 0,85 В по МСЭ (с омической составляющей - минус 0,90 В по МСЭ).

11.6 Для кожухов в грунтах средней и низкой коррозионной агрессивности и с изоляцией, не соответствующей требованиям ГОСТ 51164, допускается применение в качестве критерия защиты катодного смещения поляризационного потенциала (поляризации) на 100 мВ или смещения разности потенциалов труба-земля (потенциала с омической составляющей) на 300 мВ.

11.7 Электрохимическая защита кожухов от подземной коррозии осуществляется, в основном, протекторами.

Рисунок 11.1

Схема расположения контрольно-измерительных пунктов на переходе через водные преграды

А - четыре контрольно-измерительных пункта; Б - два контрольно-измерительных пункта с двумя катодными выводами; 1 - трубопровод; 2 -водная преграда; 3 - контрольно-измерительные пункты.

11.8 Методика расчета параметров протекторной защиты приведена в разделе 7. В данном случае сопротивление цепи протектор-трубопровод Rпт определяется по формуле:

Rпт = Rпк + Rпр + Rрп, Ом,                                         (11.1)

где Rпк  - сопротивление кожуха, Ом;

Rпр - сопротивление проводов, Ом;

Rрп - сопротивление протекторов, Ом.

11.8.1 Сопротивление протекторов рассчитывается по методикам раздела 7.

11.8.2 Сопротивление кожуха определяется по формуле:

, Ом,                                       (11.2)

где R'изм  - сопротивление изоляции кожуха, Ом·м2;

ρг  - удельное сопротивление грунта, Ом·м;

Dк - диаметр кожуха, м;

lк   - длина кожуха, м.

11.9 На действующем переходе:

·       измеряется естественный потенциал трубопровода и кожуха;

·       измеряется переходное сопротивление кожуха;

·       определяется по формуле (11.3) сила тока, необходимого для защиты кожуха;

·       определяется количество протекторов, необходимое для обеспечения защиты кожуха на переходе.

Приложение А

Термины и понятия, используемые в Нормах

Анодное заземление - устройство, обеспечивающее стекание защитного тока в землю.

Блок совместной защиты - устройство, обеспечивающее распределение защитного тока между несколькими сооружениями.

Блуждающие токи - токи в земле, возникающие вследствие работы посторонних источников тока постоянного или переменного напряжения (электрифицированный транспорт, сварочные агрегаты, устройства электрохимической защиты посторонних сооружений и пр.).

Временная защита - электрохимическая защита, осуществляемая, как правило, протекторами или автономными установками катодной защиты для защиты трубопровода до момента времени пуска в эксплуатацию основных средств защиты.

Вспомогательный электрод (датчик потенциала) - электрод, выполненный из материала трубопровода и имеющий изоляцию такую же, как и на трубопроводе со сквозным дефектом, площадь которого определена по нормативно-технической документации.

Датчик потенциала - см. вспомогательный электрод.

Длина защитной зоны - протяженность трубопровода, на котором обеспечены защитные потенциалы от установки электрохимической защиты.

Дренажная линия - проводники, соединяющие минусовую клемму источника постоянного тока с трубопроводом (катодная дренажная линия) и плюсовую клемму - с анодным заземлением (анодная дренажная линия).

Защитная зона - участок трубопровода, на котором обеспечены защитные потенциалы.

Защитное заземление - заземление, предназначенное для отвода тока в землю в случае нарушения изоляции электрооборудования устройств электрохимической защиты.

Защитный потенциал - катодный потенциал, обеспечивающий требуемое торможение коррозионного процесса.

Изолирующее соединение - вставка между двумя участками трубопровода, нарушающая его электрическую непрерывность.

Контактное соединение - соединение двух или более проводников.

Катодный вывод - устройство, обеспечивающее электрический контакт металлической стенки трубопровода с измерительным прибором, расположенным на поверхности земли.

Катодная защита - торможение скорости коррозионного процесса посредством сдвига потенциала оголенных участков трубопровода в сторону более отрицательных значений, чем потенциал свободной коррозии этих участков.

Катодная станция (катодный преобразователь) - источник постоянного тока или устройство, преобразующее переменный ток в постоянный или любую энергию (ветровую, солнечную, тепловую, химическую и т.д.) в постоянный ток.

Контрольно-измерительный пункт - устройство, позволяющее выполнение измерений параметров электрохимической защиты, параметров, связанных с коррозионным состоянием трубопровода, или параметров окружающей трубопровод среды.

Минимальный защитный потенциал - минимальный (по абсолютной величине) катодный потенциал, обеспечивающий требуемую защиту от коррозии и уменьшение которого ведет к снижению уровня защиты и защитной зоны.

Максимальный защитный потенциал - максимальный (по абсолютной величине) катодный потенциал, обеспечивающий защиту от коррозии, но увеличение которого не допускается государственными стандартами.

Поляризационный потенциал - потенциал без омической составляющей (падения напряжения в грунте и изоляции).

Протектор - электрод, выполненный из материала или сплава, имеющего более отрицательный потенциал, чем защищаемый трубопровод (в практике противокоррозионной защиты стальных трубопроводов применяются сплавы на основе магния, реже на основе алюминия или цинка).

Протекторная защита - защита трубопровода с помощью протекторов.

Сопротивление заземления - сопротивление заземленного электрода (электродов), включающее в себя сопротивление растеканию токов в земле и контактное сопротивление на границе раздела электрод-грунт.

Точка дренажа - место отвода тока из трубопровода при электрохимической защите.

Установка дренажной защиты - комплекс устройств, состоящий из дренажа и дренажной линии, обеспечивающий отвод (дренаж) токов из трубопровода в землю или к источнику блуждающих токов.

Установка катодной защиты - комплекс устройств, состоящий из катодной станции, дренажной линии и анодного заземления (а также понижающий трансформатор), обеспечивающий смещение потенциалов на трубопроводе в отрицательную сторону.

Установка протекторной защиты - установка, состоящая из нескольких параллельно работающих протекторов.

Электрод сравнения - электрод, имеющий постоянный электродный потенциал в данных условиях применения; в практике трубопроводного транспорта чаще всего применяется медно-сульфатный насыщенный электрод сравнения.

Приложение Б

Обозначения основных величин, используемых при расчете и проектировании электрохимической защиты

Наименование величин

Размерность

Обозначение

Параметры трубопровода

 

 

·                входное сопротивление

Ом

Zвт

·                диаметр

м

Dт

·                глубина залегания

м

Hт

·                коэффициент, характеризующий скорость изменения сопротивления изоляции во времени

1/год

γ

·                естественная разность потенциалов труба-земля

В

Uе

·                начальное значение сопротивления изоляции

Ом·м2

Rиз0

·                начальное значение переходного сопротивления

Ом·м2

R'пт

·                постоянная распространения тока

1

α

·                продольное сопротивление

Ом/м

Rт

·                сопротивление изоляции

Ом·м2

Rиз

·                сопротивление растеканию

Ом·м2

Rр

·                толщина стенки

мм

δт

·                удельное электрическое сопротивление грунта

Ом·м

ρг

·                удельное электрическое сопротивление материала трубы

Ом·мм2

ρт

·                характеристическое сопротивление

Ом

Z

Параметры катодной защиты

 

 

·                длина защитной зоны

 

L

·                длина соединительного провода

м

lп

·                коэффициент полезного действия катодной станции

б/р

η

·                коэффициент защиты от перегрузки катодных станций

б/р

kпл

·                коэффициент, учитывающий неравномерность распределения разности потенциалов труба-земля вдоль трубопровода

б/р

к

·                коэффициент, учитывающий взаимовлияние соседних катодных установок

б/р

кв

·                коэффициент нелинейности катодной поляризации

м2

а

·                максимальный защитный поляризационный потенциал

В

Uo

·                минимальное смещение (по абсолютной величине) разности потенциалов труба-земля

В

Uтзм

·                минимальный защитный поляризационный потенциал

В

Uм

·                мощность на выходе катодной станции

Вт

W

·                напряжение на выходе катодной станции

В

V

·                номинальная сила тока

А

iк

·                планируемый срок эксплуатации

годы

T

·                омическое сопротивление дефекта в изоляции

Ом·м2

Rо

·                плечо защиты

м

l

·                поляризационное сопротивление дефекта в изоляции

Ом·м2

Rпо

·                предельная плотность тока по кислороду

А/м2

jд

·                площадь поверхности датчика потенциала

м2

Sвэ

·                расстояние между трубопроводом и анодным заземлением

м

y

·                сечение провода дренажной линии

мм2

S

·                сила защитного тока

А

i

·                сопротивление дренажных проводов, соединяющих катодную станцию с трубопроводом и анодным заземлением

Ом

Rпр

·                смещение разности потенциалов в точке дренажа

В

Uтзо

·                удельное электрическое сопротивление провода

Ом·мм2

ρм

Анодное заземление

 

 

·                длина электрода

м

lэ

·                диаметр электрода

м

dэ

·                диаметр наполнителя

м

dа

·                глубина установки - расстояние от уровня земли до середины электрода

м

h

·                коэффициент экранирования заземлителей

б/р

ηэ

·                коэффициент экранирования вертикальных электродов

б/р

ηв

·                коэффициент экранирования горизонтальных электродов

б/р

ηг

·                коэффициент экранирования вертикальных электродов горизонтальным электродом·магистралью

б/р

ηвг

·                коэффициент экранирования горизонтального электрода вертикальным

б/р

ηгв

·                коэффициент использования материала электрода

б/р

ηи

·                масса материала электродов заземления (без наполнителя)

кг

Gз

·                планируемый срок службы

год

Тп

·                переходное сопротивление анодного заземления

Ом

Rз

·                переходное сопротивление одиночного электрода

Ом

Rэ1

·                электрохимический эквивалент материала заземления

кг/А·г

qз

·                сила тока, стекающего с заземления

А

iз

·                сопротивление растеканию вертикального электрода

Ом

Rв

·                сопротивление растеканию горизонтального электрода

Ом

Rг

·                сопротивление растеканию одиночного вертикального электрода

Ом

Rв1

·                сопротивление растеканию одиночного горизонтального электрода (магистрали)

Ом

Rг1

·                расчетный срок службы

год

Tр

·                удельное сопротивление наполнителя

Ом·м

ρa

Глубинное анодное заземление

 

 

·                габаритный коэффициент

б/р

Pср

·                диаметр электродов глубинного анодного заземления

м

dз

·                длина рабочей части глубинного заземления

м

lз

·                длина глубинного заземления, включая наполнитель

м

lа

·                длина рабочей части заземления, находящейся в i-ом слое грунта

м

lзi

·                длина части рабочей части заземления, находящаяся в i-ом слое грунта

м

lзi

·                длина части рабочей части заземления, находящаяся в k-ом слое грунта, имеющего минимальное удельное электрическое сопротивление

м

lзk

·                коэффициент неоднородности грунта

б/р

kг

·                масса рабочей части заземления в i-ом слое грунта

кг

Gзi

·                площадь сечения электродов заземления

м2

sэ

·                средняя сила тока, стекающего с заземления, за планируемый период его работы

А

iз.ср

·                средняя величина удельного сопротивления пород по глубине скважины

Ом·м

ρп

·                удельное электрическое сопротивление анодного материала заземления

Ом·м

ρэ

·                удельное электрическое сопротивление i-го слоя грунта

Ом·м

ρi

·                удельное электрическое сопротивление k-го слоя грунта (минимальное сопротивление из всех пересекаемых заземлением слоев земли)

Ом·м

ρk

·                число слоев грунта пересекаемых рабочей части заземления

б/р

n

Параметры дренажной защиты

 

 

·                длина дренажного кабеля

м

lк

·                допустимое падение напряжения и дренажной цепи

В

Uд

·                коэффициент, учитывающий расстояние между трубопроводом и электрифицированной железной дорогой

б/р

К1

·                коэффициент, учитывающий расстояние от трубопровода до тяговой подстанции

б/р

К2

·                коэффициент, учитывающий тип изоляционного покрытия трубопроводов

б/р

К3

·                коэффициент, учитывающий срок службы трубопровода

б/р

К4

·                коэффициент, учитывающий количество параллельно уложенных трубопроводов

б/р

К5

·                напряжение на выходе вольтодобавочного устройства усиленного дренажа

В

Ед

·                напряжение холостого хода усиленного дренажа

В

Uхх

·                напряжение на зажимах проектируемого дренажного устройства при токе нагрузки

в

Uн

·                падение напряжения в отсасывающем фидере

в

Uф

·                сечение дренажного кабеля

мм2

Sд

·                сила тока через электрический дренаж

А

iд

·                средняя величина разности потенциалов между точками присоединения дренажа к подземному сооружению и рельсами при отключенном дренаже

В

U'т-р

·                средняя сила тока усиленного дренажа за время опытного дренирования

А

iуд

·                сопротивление установки усиленного дренажа (без добавочного сопротивления)

Ом

Rуд

·                средняя разность потенциалов между точками присоединения дренажа к трубопроводу и к рельсам в режиме поляризованного дренажа (при отключенном вольтодобавочном устройстве)

В

Uпт-р

·                средняя сила тока, протекающего через устройство усиленного дренажа, работающего в режиме поляризованного дренажа

А

iПД

Протекторная защита

 

 

·                глубина установки протектора (расстояние от поверхности земли до середины протектора),

м

h

·                диаметр комплектного протектора

м

da

·                диаметр протектора

м

dэ

·                длина комплектного протектора

м

lа

·                длина участка трубопровода, защищаемая групповой протекторной установкой

м

lз

·                коэффициент использования материала протектора

б/р

ηи

·                коэффициент полезного действия протектора

б/р

ηп

·                коэффициент, учитывающий поляризацию протектора

В2

с

·                масса протектора

кг

mп

·                планируемый период работы протектора

годы

Tп

·                рабочая поверхность протектора

м2

Sп

·                сила тока групповой протекторной установки в начальный период

А

iпг

·                сопротивление растеканию одного протектора

Ом

Rрп

·                сопротивление цепи протекторрубопровод

Ом

Rпт

·                стационарный потенциал протектора

В

Uп

·                теоретическая токоотдача материала протектора

А·ч/кг

q

·                удельное электрическое сопротивление активатора

Ом·м

ρа

Параметры кожуха

 

 

·                диаметр кожуха

м

Dк

·                естественная разность потенциалов кожух-земля

В

Uек

·                минимальная защитная наложенная разность потенциалов кожух-земля

В

Uкзм

·                сопротивление цепи протектор-кожух

Ом

Rпк

·                начальное переходное сопротивление кожуха

Ом

Rпнк

Площадка

 

 

·                защитная плотность тока коммуникаций площадки

А/м2

jз.пл

·                общее количество подземных трубопроводов на площадке

 

Nпл

·                общая сила защитного тока подземных коммуникаций площадки

А

iпл

·                площадь поверхности i-того трубопровода

м2

Si

Экономические показатели

 

 

·                коэффициент приведения эксплуатационных затрат будущих лет к базисному году

год

f(t)

·                нормативный коэффициент эффективности

 

E

·                стоимость электроэнергии

руб./кВт·ч

Сэ

·                стоимость сооружения одного заземлителя

руб.

ca

·                стоимость монтажа 1 м глубинного заземления

руб./м

Cr

Приложение В

Принятые сокращения терминов

Наименование терминов

Буквенное сокращение

Контрольно-измерительный пункт

КИП

Линия электропередачи

ЛЭП

Медно-сульфатный электрод сравнения

мсэ

Магистральный нефтепровод

МНП

Правила эксплуатации электроустановок

ПУЭ

Технико-экономическое обоснование

тэо

Установка дренажной защиты

УДЗ

Установка катодной защиты

УКЗ

Электрохимическая защита

эхз

Приложение Г

Перечень типовых проектов по электрохимической защите подземных трубопроводов от коррозии

1. Типовая документация на конструкции, изделия и узлы зданий и сооружений.

Серия 7.402-5. Узлы и детали установок ЭХЗ подземных трубопроводов от коррозии.

Выпуск 1. Монтажные схемы и узлы.

Выпуск 2. Изделия. Рабочие чертежи.

Разработана: ВНИПИТрансгаз, г. Киев, 1987 г.

2. Типовая документация на конструкции, изделия и узлы зданий и сооружений.

Серия 5.905-6. Узлы и детали электрохимзащиты подземных инженерных сетей от коррозии. Рабочие чертежи.

3. Унифицированные технические решения по ЭХЗ от коррозии подземных металлических сооружений.

Глубинный анодный заземлитель для объектов, сооруженных в Западной Сибири.

Рабочий проект П3.37 03.

Разработаны: ЮжНИИгипрогаз, г. Донецк, 1983 г.

4. Типовой проект 402-2-25.

Станция катодной защиты трубопроводов (СКЗТ) с питанием от воздушной линии 220 В и 10 кВ.

Альбом 1. Электрическая и механическая части.

Разработан: Гипротрубопровод, г. Москва, 1974 г.

5. Типовой проект 402-12-52.

Электрический дренаж для магистральных трубопроводов и кабельной связи от блуждающих токов.

Альбом 1. Электрическая и механическая части.

Разработан: Гипротрубопровод, г. Москва.

6. Типовой проект 402-11-62.

Проектная установка для защиты магистральных трубопроводов от почвенной коррозии.

Альбом 1. Электрическая и механическая части.

Разработан: Гипротрубопровод, г. Москва, 1973 г.

Приложение Д

Методика расчета коэффициентов экранирования заземлителей

Д1. Для заземления, электроды которого расположены вертикально или горизонтально, коэффициент экранирования рассчитывают по формуле:

где Rц    - сопротивление растеканию центрального электрода, Ом;

rк    - сопротивление растеканию крайнего электрода, Ом.

Д2. Сопротивление растеканию центрального вертикального электродов определяют по формуле:

,

где Rв1 - сопротивление растеканию одиночного вертикального электрода, Ом;

lз  - длина рабочей части электрода, м;

a  - расстояние между серединами электродов-заземлителей, м;

ρг - удельное электрическое сопротивление грунта, Ом·м;

N - количество электродов в анодном заземлении;

h  - глубина установки электродов (расстояние от поверхности земли до середины электрода), м.

Д3. Сопротивление растеканию крайнего вертикального электрода определяют по формуле:

.

Д4. Сопротивление растеканию центрального горизонтального электрода заземления определяют по формуле:

,

где Rг1   - сопротивление растеканию одиночного горизонтального электрода, Ом.

Д5. Сопротивление растеканию крайнего горизонтального электрода заземления определяют по формуле:

.




Яндекс цитирования



   Copyright © 2007-2025,  www.tehlit.ru.

[ ѓосты, стандарты, нормативы, инструкции, правила, строительные нормы ]