//
ТехЛит.ру
- крупнейшая бесплатная электронная интернет библиотека для "технически умных" людей.
WWW.TEHLIT.RU - ТЕХНИЧЕСКАЯ ЛИТЕРАТУРА

:: Алготрейдинг::


АЛГОТРЕЙДИНГ
шаг за шагом
с нуля по урокам!

Торговые роботы на PYTHON, BackTrader,
Pandas, Pine Script для TradingView. Связка с брокерами, телеграм и легкими приложениями.


МИНИСТЕРСТВО ТРАНСПОРТНОГО СТРОИТЕЛЬСТВА

ГОСУДАРСТВЕННЫЙ ВСЕСОЮЗНЫЙ ДОРОЖНЫЙ
НАУЧНО-ИССЛЕДОВАТЕЛЬСКИЙ ИНСТИТУТ
(СОЮЗДОРНИИ)

МЕТОДИЧЕСКИЕ РЕКОМЕНДАЦИИ
ПО СООРУЖЕНИЮ НАСЫПЕЙ
ЗЕМЛЯНОГО ПОЛОТНА
АВТОМОБИЛЬНЫХ ДОРОГ
ИЗ КРУПНООБЛОМОЧНЫХ ГРУНТОВ

Одобрены Минтрансстроем

Москва 1977

МЕТОДИЧЕСКИЕ РЕКОМЕНДАЦИИ ПО СООРУЖЕНИЮ НАСЫПЕЙ ЗЕМЛЯНОГО ПОЛОТНА АВТОМОБИЛЬНЫХ ДОРОГ ИЗ КРУПНООБЛОМОЧНЫХ ГРУНТОВ. Союздорнии. М., 1977.

Даны определение и классификация крупнообломочных грунтов. Изложены особенности физико-механических свойств крупнообломочных грунтов различной степени водостойкости. Предложены конструктивные и технологические мероприятия, обеспечивающие необходимую устойчивость насыпей автомобильных дорог из указанных грунтов. Приведены методы оценки степени уплотнения насыпей из крупнообломочных грунтов.

Табл. 3, рис. 9.

Предисловие

Строительство автомобильных дорог в горных и предгорных районах (Восточная Сибирь, Южный Урал, Дальний Восток, Карпаты, Кавказ, Крым и т.п.) связано с широким использованием крупнообломочных грунтов для сооружения земляного полотна.

Вместе с тем в действующих нормативных документах по проектированию и сооружению земляного полотна фактически отсутствуют нормы и требования, относящиеся к возведению насыпей из указанных грунтов, которые согласно СНиП II-Д.5-72 и «Указаниям по проектированию земляного полотна железных и автомобильных дорог» СН 449-72 допускаются для этой цели без каких-либо ограничений.

Многие разновидности крупнообломочных грунтов, например грунты, содержащие существенное количество глинистого мелкозема или неводостойкую скелетную часть, характеризуются значительным снижением прочностных свойств при увлажнении, что отрицательно сказывается на условиях их работы в дорожных насыпях.

Опыт строительства насыпей из крупнообломочных грунтов свидетельствует о том, что недостаточное знание или недоучет их особенностей в ряде случаев приводили к значительным деформациям и разрушениям земляного полотна и дорожных одежд, включая одежды капитального типа. Кроме того, значительные трудности возникают при сооружении земляного полотна ввиду отсутствия рациональной технологии уплотнения крупнообломочных грунтов в теле насыпи.

Выполненные Союздорнии в последние годы полевые и лабораторные исследования, а также анализ отечественного и зарубежного опыта строительства автомобильных дорог позволили разработать настоящие «Методические рекомендации по сооружению насыпей земляного полотна автомобильных дорог из крупнообломочных грунтов».

В «Методических рекомендациях» дана оценка строительных свойств крупнообломочных грунтов в зависимости от их гранулометрического состава, степени увлажнения, плотности, а также водостойкости обломочной фракции. Установлены требования к рассматриваемым грунтам, и определен комплекс мероприятий по рациональному их использованию в конструкциях насыпей автомобильных дорог.

Настоящие «Методические рекомендации» дополняют «Методические рекомендации по обеспечению устойчивости насыпей автомобильных дорог из неводостойких сланцевых отложений Карпат» (Союздорнии. М., 1975).

«Методические рекомендации» составили кандидаты технических наук Э.М. Добров и Л.Б. Каменецкая.

Замечания и пожелания просьба направлять по адресу, 143900 Московская обл., Балашиха-6, Союздорнии.

Общие положения

1. Настоящие «Методические рекомендации» предназначены для выбора и назначения конструкций, а также технологии производства работ по сооружению насыпей из крупнообломочных грунтов различной степени водостойкости.

2. Грунты, укладываемые в насыпь, могут содержать различное количество заполнителя, состоящего из глинистых или песчаных грунтов, а также обломочной фракции (крупнее 2 мм), представленной скальным материалом. Обломки скального грунта могут быть водостойкими (коэффициент размягчаемости выше 0,75) или неводостойкими (коэффициент размягчаемости ниже 0,75). К неводостойким, размягчаемым разновидностям обломков относятся такие легковыветривающиеся породы, как мергель, опока, аргиллит, алевролит, сланцевые глины и др. (приложение 1).

3. При проектировании и сооружении земляного полотна из крупнообломочных грунтов надлежит руководствоваться настоящими «Методическими рекомендациями», а также общими правилами, предусмотренными СНиП II-Д.5-72 и СН 449-72.

Классификация крупнообломочных грунтов

4. Крупнообломочные грунты, представляющие собой несцементированные продукты искусственного или естественного смешения исходных горных пород различного генезиса и минералогического состава и отличающиеся повышенным (более 10 %) содержанием обломочных (скелетных) частиц крупнее 2 мм, делятся на три класса в соответствии с классификацией Союздорнии (рис. 1).

1 класс - грунты бескаркасные, содержащие обломочных частиц до 10 % (по массе).

Дресва (гравий), если фракции 2 - 10 мм > 50 %;

щебень (галька), если фракции 10 - 200 мм > 50 %;

глыбы (валуны), если фракции > 200 мм > 50 %

Рис. 1. График-треугольник для определения класса крупнообломочного грунта

Свойства грунтов 1 класса определяются свойствами мелкоземной части (песка, глины, пыли).

II класс - грунты с несовершенным каркасом, содержащие обломочных частиц от 10 до 65 %.

Свойства крупнообломочных грунтов II класса определяются как свойствами содержащегося в них мелкозема, так и свойствами обломочных частиц. В таких грунтах влияние обломочных частиц тем больше, чем выше их содержание. При небольшом количестве обломков последние не соприкасаются и «плавают» в мелкоземе, а при увеличении их содержания обломочные частицы, соприкасаясь друг с другом, образуют структуры, приближающиеся к контактным.

III класс - грунты каркасные, содержащие обломочных частиц более 65 %.

Грунты этого класса характеризуются наличием контактов между обломочными частицами, что предопределяет их доминирующее влияние на физико-механические свойства грунтов.

Каркасность структуры грунтов этого класса в значительной степени зависит от состояния глинистого мелкозема.

5. Крупнообломочные грунты II класса следует подразделять (см. рис. 1) на две категории: связные, если заполнитель (размером мельче 2 мм) - глинистая или суглинистая порода, и сыпучие, если заполнитель - песчаный грунт.

6. Рассматриваемые грунты классифицируются также по свойствам скелетных фракций:

грунты с водостойкой скелетной частью (коэффициент размягчаемости выше 0,78), которая может быть представлена обломками изверженных и метаморфических пород, не изменяющих свои прочностные свойства при увлажнении, - гранит, базальт, диорит и др.;

грунты с неводостойкой скелетной частью (коэффициент размягчаемости ниже 0,75), включающей обломки легковыветривающихся, размягчающихся при увлажнении горных пород, - мел, опока, мергель, алевролит, аргиллит и др.

Свойства крупнообломочных грунтов

7. Физико-механические свойства крупнообломочных грунтов определяются их гранулометрическим составом и показателями плотности-влажности.

8. Повышение содержания глинистого заполнителя в составе крупнообломочного грунта приводит к снижению его прочностных (угол внутреннего трения j, сцепление С) и деформативных (модуль упругости Е) характеристик (табл. 1, 2).

9. Модуль упругости исследуемых грунтов, содержащих более 25 % глинистого мелкозема, практически не зависит от прочности обломочной составляющей и определяется их гранулометрическим составом и консистенцией мелкозема, находящегося в контакте с обломочными частицами.

Таблица 1

Состав грунта, %

Свойства грунта при консистенции глинистого мелкозема В

0

0,3

0,6

j, град.

С, кгс/см2

j, град.

С, кгс/см2

j, град.

С, кгс/см2

Глина - 100

11

1,14

2

0,32

0

0,20

Глина - 75

Щебень - 25

17

1,02

14

0,36

14

0,03

Глина - 50

Щебень - 50

31

0,88

30

0,04

28

0

Глина - 25

Щебень - 75

43

0,42

42

0,34

41

0,30

Глина - 50

Песок - 25

Щебень - 25

28

0,86

18

0,10

21

0

Щебень - 50

Песок- 25

Глина - 25

41

0,20

37

0,32

36

0,34

Песок - 50

Щебень - 25

Глина - 25

31

0

34

0,24

38

0,16

Глина - 33

Песок - 33

Щебень - 33

34

0,50

33

0,50

31

0,50

Глина - 50

Песок - 50

24

0,70

18

0,58

21

0,40

Песок - 75

Глина - 25

30

0.24

27

0,30

25

0,14

Глина - 75

Песок - 25

16

1,36

5

0,14

5

0,075

Таблица 2

Грунт

Содержание мелкозема, %

Модуль упругости грунта Е, кгс/см2

не содержащего мелкозема

при относительной влажности мелкозема, доли границы текучести

0,25

0,5

0,7

0,8

Щебень гранитный

0

2600 х)

4900

-

-

-

-

Щебень известняковый

0

1450

3250

-

-

-

-

Крупнообломочный грунт с глинистым заполнителем

25

-

1500

3150

1190

1750

1000

1300

550

800

50

-

900

1600

-

470

700

-

х) В числителе - статический модуль упругости, в знаменателе - динамический.

10. Высокие значения модуля упругости крупнообломочных грунтов, получаемые при относительно низкой влажности содержащегося в них мелкозема, снижаются при повышении влажности и увеличении количества мелкозема и не могут вследствие этого служить надежной характеристикой для рассматриваемых грунтов.

11. Динамические модули упругости для крупнообломочных грунтов превосходят по величине статические - Ест. Однако с увеличением влажности грунта разница в значениях указанных модулей упругости уменьшается и при влажности глинистой составляющей 0,7 - 0,8 Wт отношение  приближается к 1 (см. табл. 2).

12. Крупнообломочные грунты обладают высокой водопоглощающей способностью, интенсивность которой уменьшается с увеличением начальной влажности глинистого заполнителя. Наибольшей скоростью водопоглощения обладают крупнообломочные грунты с каркасной структурой и с несовершенным каркасом, содержащие менее 40 - 50 % мелкозема.

13. Крупнообломочные грунты II и III классов, содержащие при уплотнении глинистый мелкозем (размером мельче 0,05 мм) в твердой и полутвердой консистенции, обнаруживают склонность к просадочным явлениям и снижению первоначальной прочности при увлажнении.

14. Степень снижения прочностных свойств крупнообломочных грунтов оценивается коэффициентом сдвигоустойчивости, определяемым по отношению сопротивляемости грунта сдвигу после увлажнения и его начальной (до увлажнения) сдвиговой прочности (приложение 2).

Крупнообломочные грунты, содержащие глинистый мелкозем в твердой или полутвердой консистенции, характеризуются наименьшим коэффициентом сдвигоустойчивости, причем его величина снижается в процессе водонасыщения по мере увеличения в смеси содержания глинистого мелкозема (рис. 2).

15. Наибольшей просадочностью характеризуются крупнообломочные грунты, содержащие от 15 до 40 % глинистого мелкозема в твердой или полутвердой консистенции (рис. 3).

Просадочность крупнообломочного грунта выражается через модуль просадки lпр (мм/м) (приложение 3).

16. Снижение просадочных деформаций насыпей, сооружаемых из крупнообломочных грунтов с каркасной или несовершенной каркасной структурой, достигается путем эффективного уплотнения грунтов при повышенных нагрузках и влажности глинистого мелкозема.

Рис. 2. Коэффициент сдвигоустойчивости крупнообломочного грунта при различной консистенции глинистого мелкозема:

а) полутвердой (В = 0); б) тугопластичной (В = 0,3)

Рис. 3. Модуль просадки крупнообломочного грунта lпр (мм/м) при различной консистенции глинистого мелкозема:

а) полутвердой (В = 0); б) тугопластичной (В = 0,3)

17. Дополнительное увлажнение в процессе предварительного уплотнения исследуемых грунтов способствует отжатию глинистого мелкозема из контактных зон и образованию устойчивых во времени каркасных структур.

18. Особой разновидностью крупнообломочных грунтов являются грунты, скелетная часть которых представлена неводостойкими породами (аргиллитами). Последние подвержены интенсивному разрушению при увлажнении, а также при циклически повторяющихся увлажнении и просыхании, промерзании и оттаивании.

19. Максимальное снижение сдвигоустойчивости при увлажнении происходит в обломочных аргиллитовых грунтах, не содержащих мелкозема. Сдвигоустойчивость аргиллитовых грунтов повышается при содержании в них 25 - 30 % глинистого мелкозема тугопластичной консистенции (рис. 4).

20. Крупнообломочные грунты, содержащие более 50 % обломочных частиц, представленных аргиллитами, при увлажнении обнаруживают под действием нагрузок значительные просадочные деформации.

Величина просадочной деформации достигает максимального значения (220 - 250 мм/м) в аргиллитовых грунтах, не содержащих глинистого или суглинистого материала (рис. 6).

Отмеченные недостатки указанных грунтов (большая склонность к просадочным деформациям, значительное снижение сопротивляемости сдвигу при увлажнении уплотненного грунта) обусловлены тем, что в процессе уплотнений не удается создать в них плотную и устойчивую структуру.

21. Снижение просадочности крупнообломочных грунтов, содержащих обломки аргиллита, достигается их уплотнением при повышенной влажности. Наиболее оптимальной для этой цели является влажность, при которой мелкозернистая фракция приобретает тугопластичную консистенцию.

Рис. 4. Коэффициент сдвигоустойчивости аргиллитовых крупнообломочных грунтов при различной консистенции глинистого заполнителя:

а) полутвердой (В = 0); б) тугопластичной (В = 0,3); в) мягкопластичной (В = 0,8)

Рис. 5. Модуль просадки аргиллитовых крупнообломочных грунтов lпр (мм/м) при различной консистенции глинистого заполнителя:

а) полутвердой (В = 0); б) тугопластичной (В = 0,3); в) мягкопластичной (В = 0,8)

22. Для наиболее устойчивой структуры уплотненного крупнообломочного аргиллитового грунта характерно наличие равномерно распределенных мелких пор. Пустоты, образующиеся в грунте вследствие недостаточного количества мелких фракций, неправильной отсыпки и режима уплотнения, при заполнении водой становятся очагами быстрого размокания грунта, что может привести к неравномерным осадкам и потере устойчивости насыпи.

Требования к крупнообломочным грунтам

23. Выполнение основных требований, предъявляемых к крупнообломочным грунтам как материалам для сооружения насыпей автомобильных дорог, должно обеспечить создание в них однородной плотной (монолитной) структуры, устойчивой к воздействию атмосферных агентов в условиях эксплуатации.

24. Условиями формирования оптимальной структуры крупнообломочных грунтов, способствующими повышению устойчивости возводимых насыпей в изменяющемся влажностном режиме, являются: гранулометрический состав, обеспечивающий получение плотной грунтовой смеси; возможно большее количество контактов между скелетными частицами; оптимальная (или близкая к ней) влажность мелкозема в процессе уплотнения; надлежащая степень уплотнения грунта при возведении насыпей.

25. Плотность и устойчивость исследуемого грунта повышаются при содержании мелкозема в количестве, достаточном для заполнения пространств между более крупными обломками. Оптимальным является состав крупнообломочного грунта с содержанием 65 - 70 % обломочной составляющей.

26. Условием создания плотной и однородной структуры крупнообломочного грунта является равномерное распределение обломочной составляющей во всем объеме материала. Максимальный размер фракции не должен превышать 2/3 толщины уплотняемого слоя. Это предотвращает образование крупных пустот в теле насыпи и создает условия для образования необходимых контактов между скелетными частицами.

27. Устойчивость насыпей, сооружаемых из крупнообломочных грунтов с каркасной структурой, содержащих менее 30 % суглинка, достигается путем эффективного уплотнения грунтов при влажности глинистого мелкозема, равной 1,3 оптимальной (Wопт). Грунты, уплотненные при влажности мелкозема ниже этих значений (твердая консистенция), склонны к проявлению просадочных деформаций.

28. Крупнообломочные грунты, содержащие более 30 % суглинка, следует уплотнять при влажности мелкозема не выше Wопт. В противном случае они не поддаются эффективному уплотнению.

29. Наиболее неблагоприятными, с точки зрения обеспечения длительной устойчивости насыпей автомобильных дорог (в условиях возможного увлажнения атмосферными водами), являются крупнообломочные грунты, содержащие обломки легковыветривающихся размягчаемых скальных пород (например, аргиллитов).

30. При устройстве насыпей из аргиллитовых крупнообломочных грунтов предпочтение следует отдавать грунтам, содержащим 30 - 40 % (по массе) мелких фракций (размером мельче 2 мм).

Образование достаточного количества мелкозема достигается уплотнением предварительно увлажненного и размягченного аргиллитового грунта.

31. Степень увлажнения следует считать достаточной, если мелкозернистая фракция аргиллитового крупнообломочного грунта находится в тугопластичной консистенции. Ориентировочно влажность мелкозема в аргиллитовых грунтах до уплотнения должна составлять от 18 до 20 %. Укладка в насыпь переувлажненнего аргиллитового грунта не допускается.

Особенности конструкции насыпей из крупнообломочных грунтов

32. Конструкция насыпей земляного полотна из скальных и крупнообломочных грунтов зависит от свойств этих грунтов.

33. Для возведения дорожных насыпей без ограничения допускаются морозо- и водостойкие крупнообломочные грунты. В случае применения пород, не обладающих морозо- и водостойкостью, необходимо предусматривать специальные защитные мероприятия, предохраняющие грунт от воздействия отрицательных температур и воды.

34. Верхняя часть насыпей (переходный слой) должна отсыпаться высотой до 1 м из крупнообломочных грунтов, включающих фракции не крупнее 250 мм. Если при устройстве переходного слоя не обеспечивается необходимая ровность земляного полотна, следует предусмотреть выравнивающий слой из щебенисто-дресвяных грунтов толщиной 15 - 20 см.

При отсутствии крупнообломочного грунта требуемой фракции для переходного слоя его целесообразно отсыпать целиком из щебенисто-дресвяных или гравийно-песчаных грунтов толщиной не менее 0,5 м. Такой слой одновременно будет служить в качестве выравнивающего.

35. Максимальная фракция грунта, используемого для сооружения остальной части насыпи, не должна превышать 2/3 толщины уплотняемого слоя. В связи с тем, что максимальная толщина слоя грунта, уплотняемого катками на пневматических шинах, составляет 40 - 50 см, крупнообломочный грунт не должен содержать обломки крупнее 350 мм.

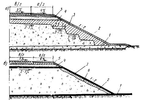
36. При уплотнении крупнообломочных грунтов тяжелыми вибрационными катками массой 10 - 15 т в теле насыпи попускаются включения по 500 - 600 мм. При необходимости в верхней части насыпи следует предусмотреть отсыпку слоя крупнообломочного грунта с включениями меньшего размера (толщиной 30 - 40 см), позволяющими обеспечить необходимую ровность поверхности земляного полотна (рис. 6).

Рис. 6. Конструкция насыпи из крупнообломочных грунтов с водостойкой скелетной частью:

1 - выравнивающий слой; 2 - переходный слой; 3 - земляное полотно из крупнообломочных грунтов; 4 - выравнивающий слой на откосе

37. Крутизна откосов насыпей из крупнообломочных грунтов высотой до 12 м назначается по табл. 3, при высоте насыпей более 12 м - по расчету.

38. Для защиты насыпей из материалов, не обладающих морозо- и водостойкостью, необходимо предусматривать защитные слои на откосах. В верхней части насыпи из неморозостойких грунтов устраивается морозозащитный слой, функцию которого может выполнять переходный слой. В этом случае материал переходного слоя должен обладать достаточной морозостойкостью.

Таблица 3

Тип крупнообломочного грунта

Содержание мелкозема, %

Максимальная крутизна откосов при высоте насыпи,

м

до 6

до 12

Слабовыветривающийся с водостойкой скелетной частью

До 10

1:1,3

1:1,5

10 - 30

1:1,5

1:1,75

Песчаный > 30

1:1,5

1:1,75

Глинистый > 30

1:1,5

1:1,75 х)

В верхней части (высотой 6 м) 1:1,5

1:1,75х)

В нижней части (высотой до 6 м)

1:1,75

1:2х)

Легковыветривающийся с неводостойкой скелетной частью

-

1:1,75

В верхней части (высотой 6 м) 1:1,75

 

 

В нижней части (высотой до 6 м)

1:2

х) При содержании пылеватых частиц в мелкоземе более 30 %.

Толщина морозозащитного слоя (включая слои дорожной одежды) должна соответствовать расчетной глубине промерзания грунта.

39. При наличии «рваной» поверхности откоса насыпи из крупнообломочных грунтов следует устраивать на откосах выравнивающий слой из связных грунтов с последующей плакировкой его поверхности растительным грунтом или засевом трав.

40. Насыпи из легковыветривающихся размягчаемых пород (аргиллитов) проектируют в соответствии с требованиями СНиП II-Д.5-72 с учетом особенностей, изложенных ниже.

Рис. 7. Конструкция насыпи из аргиллитовых грунтов:

а - с защитными элементами из глинистых грунтов;

б - с защитными элементами из грунтов, укрепленных органическими вяжущими

1 - капилляропрерывающий слой; 2 - ядро насыпи из аргиллитового грунта; 3 - защитный слой на откосе; 4 - морозозащитный слой; 5 - слой укрепления на поверхности откоса; 6 - выравнивающая присыпка из глинистого грунта

41. Из аргиллитового крупнообломочного грунта сооружается лишь ядро насыпи, охватывающее ее нижнюю и среднюю части.

42. Верхняя часть насыпи толщиной 1,0 - 1,2 м является защитным слоем по отношению к ядру насыпи; ее устраивают из глинистых или несвязных грунтов слоем 0,15 - 0,20 м, обработанных органическими вяжущими материалами (3 - 6 %).

43. На поверхности откосов основного ядра насыпи (из аргиллитового грунта) устраивают защитные слои (см. п. 42), предохраняющие ядро насыпи от увлажнения (рис. 7).

44. Откосы ядра насыпи при использовании в качестве защитного элемента глинистых грунтов выполняют в виде уступов. Крутизна откосов всей насыпи принимается 1:2 (см. рис. 7).

45. В целях предотвращения увлажнения ядра насыпи за счет капиллярного поднятия при близком залегании уровня грунтовых вод (или возможного застоя поверхностных вод) в основании возводимой насыпи устраивают капилляропрерывающие или водоизолирующие слои. Последние представляют собой нижние слои насыпи, устраиваемые из крупнозернистых песков, или гравийно-песчаных и гравелистых грунтов (толщиной не менее 0,5 м), или связных грунтов, укрепленных вяжущими материалами (толщиной 0,2 м). Ширина капилляропрерывающих слоев принимается на 1 м больше основания земляного полотна.

Технология сооружения насыпей из крупнообломочных грунтов

46. Работы по сооружению насыпей из крупнообломочных грунтов организовывают с учетом природных условий, а также степени выветрелости и склонности пород к дальнейшему выветриванию.

47. При использовании неводостойких размягчаемых крупнообломочных грунтов, склонных к быстрому размоканию, работы следует проводить только в сухую погоду с минимальными разрывами во времени между отдельными технологическими операциями. Особое внимание должно быть уделено сокращению периода времени между отсыпкой очередного слоя насыпи и его уплотнением с тем, чтобы в дождливую погоду избежать переувлажнения грунта.

48. При разработке выемок размельчение крупнообломочных грунтов должно проводиться по технологии буровзрывных работ. Дробление крупных негабаритных обломков до требуемых размеров осуществляется накладными зарядами. Буровзрывные работы должны выполниться в соответствии с «Техническими указаниями по проектированию и производству буровзрывных работ при сооружении земляного полотна» ВСН 178-74.

49. Разработку крупнообломочных грунтов после взрывных работ целесообразно производить экскаватором с ковшом емкостью 0,65 - 1 м3 для погрузки на транспортные средства. При необходимости для окучивания грунта и отвала негабаритов применяют бульдозеры.

50. Отсыпку крупнообломочного грунта на подготовленное основание (или уложенный ранее слой) осуществляют по схеме «от себя».

51. Для получения слоя насыпи толщиной 0,4 - 0,5 м в рыхлом теле отсыпанный грунт разравнивают бульдозерами, втапливая негабаритные обломки в толщу уплотняемого слоя.

52. Уплотнение крупнообломочных грунтов, содержащих более 30 % суглинка, следует осуществлять при влажности мелкозема не выше оптимальной (Wопт), а при содержании мелкозема менее 30 %, его влажность должна составлять 1,2 - 1,3Wопт.

53. Крупнообломочные грунты, содержащие мелкозем с влажностью выше 1,3Wопт, не поддаются эффективному уплотнению, вследствие чего вопрос их использования для возведения насыпей следует рассматривать особо.

54. При уплотнении аргиллитовых крупнообломочных грунтов влажность раздробленной мелкоземной части аргиллита должна соответствовать тугопластичной консистенции (В = 0,3).

55. Уплотнение малопрочных и частично раздавливающихся под воздействием транспортных и уплотняющих средств крупнообломочных грунтов следует осуществлять в два этапа: на первом этапе (непосредственно после разравнивания и увлажнения) применяют решетчатые катки, при этом происходит дополнительное дробление грунта; на втором этапе - тяжелые катки на пневматических шинах. Толщина уплотняемых слоев не должна превышать 0,3 - 0,4 м.

56. Уплотнение более прочных крупнообломочных грунтов целесообразно проводить трамбующими машинами. Применение трамбующих машин позволяет вести работы при толщине слоев 0,6 - 0,8 м.

57. Для уплотнения насыпей из крупнообломочных грунтов применяют тяжелые катки на пневматических шинах. Требуемая степень уплотнения крупнообломочных грунтов, содержащих менее 40 % глинистого мелкозема (при влажности 0,9 - 1,3Wопт), достигается при 10 - 12 проходах по одному следу катка массой 25 - 30 т.

58. При уплотнении несвязных крупнообломочных грунтов наиболее эффективно применение вибрационных и вибротрамбующих машин, а также вибрационных катков массой 10 - 15 т.

59. При ступенчатой конструкции ядра насыпи, сооружаемой из неводостойкой разновидности крупнообломочных грунтов (рис. 8), защитный слой из глинистого грунта на откосах устраивают в процессе сооружения основной части насыпи. В этом случае по мере возведения каждой ступени ядра насыпи из неводостойких крупнообломочных грунтов досыпается слой глинистого грунта со стороны откоса с приданием его поверхности крутизны 1:2. Глинистый грунт следует разравнивать бульдозером с последующим уплотнением катками на пневматических шинах.

60. Уплотняют защитные слои на откосах (после планировки) одновальцовыми вибрационными катками, подвесными к стреле экскаватора-драглайна.

61. При укреплении откосов насыпи растительным грунтом следует руководствоваться правилами, изложенными в «Инструкции по сооружению земляного полотна автомобильных дорог» ВСН 97-63. Для засева трав можно использовать посевной агрегат, подвесной к стреле экскаватора-драглайна.

62. При устройстве защитного слоя (толщиной 15 - 20 см) из грунтов, укрепленных органическими вяжущими, грунт предварительно смешивают с вяжущим материалом в стационарных или передвижных установках типа Д-370 и вывозят самосвалами к месту укладки.

Для распределения смеси на уплотненной и спланированной поверхности откосов рекомендуется применять бульдозеры или экскаваторы-планировщики типа Э-4010. В качестве уплотняющих средств могут быть применены площадочные вибраторы типа Э-414 или виброрейки, перемещаемые по откосу сверху вниз и обратно.

Уход за уложенными смесями на поверхности откосов может осуществляться путем распределения битумной эмульсии автогудронатором с выносной трубой - распределителем или выносными форсунками на гибких шлангах.

63. Капилляропрерывающие слои, сооружаемые из дренирующих грунтов, устраивают после подготовительных работ, предусмотренных ВСН 97-63. Грунт перевозят на подготовленное основание будущего земляного полотна, разравнивают бульдозерами и уплотняют.

64. При устройстве водоизолирующих слоев из связных грунтов, укрепленных вяжущими материалами, рекомендуется соблюдать следующую технологию. Бульдозером снимают растительный слой грунта на 0,6 м больше ширины земляного полотна в каждую сторону. На глубину 0,15 - 0,20 м грунт рыхлят и размельчают с помощью фрезы Д-530, после чего разливают жидкий битум из расчета 3 - 5 % по массе грунта и производится перемешивание до получения однородной массы. После окончания перемешивания поверхность слоя планируется с уклоном 2 % от оси дороги и уплотняется.


Рис. 8. Технологическая схема возведения насыпей из аргиллитов с устройством на откосах защитного слоя их глинистых грунтов:

а - отсыпка слоя ядра насыпи их аргиллита и планировка бульдозером; б - уплотнение аргиллитового грунта ядра насыпи с поливкой водой (первый этап - решетчатыми 25-тонными катками; второй этап - 25-тонным катком на пневматических шинах); в - отсыпка, планировка и уплотнение глинистого грунта, замыкающего ядро насыпи их аргиллита

1 - автомобиль-самосвал; 2 - бульдозер; 3 - поливомоечная машина; 4 - решетчатый каток; 5 - самоходый каток на пневматических шинах


Оценка степени уплотнения крупнообломочных грунтовх)

х) В основу раздела положены «Методические рекомендации по оценке степени уплотнения насыпей, возведенных из крупнообломочных грунтов» (Союздорнии. М., 1972).

65. При выборе способа оценки степени уплотнения крупнообломочных грунтов следует учитывать класс и разновидность грунта (см. рис. 1).

66. Степень уплотнения крупнообломочных грунтов II и III классов всех разновидностей следует оценивать методом пробного динамического нагружения через жесткий штамп путем сравнения полученной остаточной деформации осадки с допустимой.

67. Степень уплотнения грунтов II класса дресвяных (или гравийных), а также щебенистых (или галечниковых) до максимального размера частиц 60 мм можно оценивать по объемному весу скелета грунта, отнесенному к максимальной плотности при стандартном уплотнении.

68. При отсутствии штампового оборудования (см. пп. 66, 67) степень уплотнения крупнообломочных грунтов II и III классов следует устанавливать методом пробной укатки, регистрируя при этом либо величину осадки поверхности уплотняемого слоя грунта после каждого прохода уплотняющего механизма, либо объемный вес скелета грунта.

69. Степень уплотнения крупнообломочного грунта оценивают по величине осадки h штампа диаметром 40 - 50 см, полученной при его 20-кратном нагружении динамической нагрузкой интенсивностью 0,5 кгс/см2 путем сравнения ее с допустимой осадкой hдоп.

70. Уплотнение считается достаточным, если в процессе динамических многократных нагружений остаточная деформация осадки штампа для верхнего слоя насыпи не превышает 0,004Дшт (где Дшт - диаметр штампа) и 0,006Дшт - для остальной части насыпи. При этом толщина уплотняемого слоя грунта не должна превышать диаметра штампа.

71. Среднее значение осадки штампа, полученное по результатам всех пробных многократных динамических нагружений по всему участку, не должно превосходить попускаемых величин в соответствии с требованиями п. 70.

72. Общее количество пробных штамповых испытаний на участке следует назначать из расчета три испытания на поперечник. При этом расстояния между поперечниками следует назначать не более 100 м, а количество поперечников на участке должно быть не менее трех.

73. Качество уплотнения крупнообломочного грунта следует считать:

отличным, если полная осадка штампа у 90 % всех пробных динамических нагружении по участку не отличается от средней величины более чем на 10 %;

хорошим, если полная осадка штампа у 90 % всех пробных динамических нагружений по участку не отличается от средней величины более чем на 15 %;

удовлетворительным, если полная осадка штампа у 90 % пробных динамических нагружений не отличается от средней величины более чем на 20 %.

74. Оборудование для оценки степени уплотнения крупнообломочных грунтов методом динамического нагружения состоит из нагружающего и контрольно-измерительного устройства (рис. 8).

Нагружающее устройство служит для создания многократной динамической нагрузки на поверхности и глубине контролируемого слоя грунта с заданными значениями по величине и времени действия.

Нагружающее устройство состоит из штампа диаметром 40 - 50 см, падающего груза массой 35 - 45 кг, направляющих штанг и подъемно-сбрасывающего механизма.

Контрольно-измерительное устройство служит для регистрации вертикальной деформации испытываемого грунта в процессе многократного его нагружения.

75. Оборудование применяется следующим образом. Штамп нагружающего устройства устанавливают на поверхность слоя грунта с помощью быстро твердеющего раствора.

Груз, скользящий по направляющим, поднимается вместе с траверсой до упора, обеспечивающего падение с заданной высоты. Подъем производится с помощью ручного воротка, закрепленного на направляющих штампах. Груз сбрасывается на оголовник штампа, который передает возникающее усилие на испытываемую поверхность.

Конструкция нагружающего устройства позволяет получить необходимую величину и длительность динамического воздействия без применения упругого амортизатора, что способствует более полной передаче энергии удара штампу и практически исключает подскок и повторные удары.

Рис. 9. Прибор для оценки степени уплотнения крупнообломочных грунтов:

1 - штамп; 2 - оголовник; 3 - штанги; 4 - падающий груз; 5 - подвижная траверса; 6 - вороток; 7 - опорная рейка; 8 - регистрирующий прибор; 9 - двуплечий рычаг

Достигается это за счет того, что падающий груз состоит из отдельных элементов, установленных относительно друг друга с зазором и соединенных между собой с возможностью взаимного перемещения.

76. Степень уплотнения грунта методом лунок оценивают с помощью баллонного плотномера, состоящего из собственно баллонного плотномера и устройства для стандартного уплотнения (см. рис. 8). Баллонный плотномер предназначен для определения плотности крупнообломочных грунтов по методу замещения вынутого из лунки грунта резиновым баллоном, наполненным жидкостью.

Плотномер представляет собой заполненный жидкостью цилиндр, внутри которого смонтирован поршень со штоком, а к нижней части крепится резиновый баллон.

77. Для оценки степени уплотнения грунта методом лунок используют также мембранный плотномер. Плотномер устанавливают на отрытую в теле насыпи лунку и опускают в нее резиновый баллон. Заполнение лунки жидкостью осуществляется за счет перемещения поршня в цилиндре. Объем лунки измеряется по положению градуированного штока поршня. Масса вынутого из лунки грунта определяется взвешиванием на технических весах.

78. Требуемую плотность крупнообломочного грунта gск назначают по максимальной плотности, устанавливаемой методом стандартного уплотнения и по заданному коэффициенту уплотнения К.

79. Стандартное уплотнение производится в разборной форме увеличенных (по сравнению с прибором стандартного уплотнения Союздорнии) размеров с таким расчетом, чтобы диаметр цилиндра превышал не менее чем в 4 - 5 раз размер крупной фракции.

Частицы крупнее 50 мм отсеивают, и в значения максимальной плотности и оптимальной влажности вводят поправки через экспериментально найденные коэффициенты, как это делается с обычным грунтом, содержащим до 30 % частиц крупнее 5 мм.

80. Для оценки степени уплотнения крупнообломочных грунтов методом пробной укатки могут быть использованы любые тяжелые уплотняющие машины, имеющиеся в распоряжении строительной организации (катки на пневматических шинах, вибрационные катки, трамбующие и вибротрамбующие машины).

81. Степень уплотнения каркасного грунта следует считать достаточной, если полная величина осадки поверхности слоя грунта, накопленная в результате действия уплотняющего механизма, составляет 10 - 12 % его первоначальной мощности для переходного слоя и 8 - 10 % - для остальной части насыпи.

82. Пробную укатку выполняют следующим образом. После отсыпки и разравнивания некоторого слоя крупнообломочного грунта нивелируют его поверхность по металлическим маркам или по отдельным обломкам. После этого грунт укатывают уплотняющим механизмом. Нивелирование поверхности осуществляют после каждого прохода машины. Полученные данные обрабатывают и рассчитывают величину полной осадки поверхности слоя грунта.

Число требуемых проходов уплотняющей машины устанавливают из условия достижения требуемой средней осадки поверхности слоя грунта в соответствии с положениями п. 81.

В случае, если требуемая величина осадки поверхности не достигается при уплотнении данным механизмом, его заменяют более эффективным.

Приложения

Приложение 1

Определение размягчаемости и устойчивости пород в условиях изменяющегося влажностного режима

1. Способность пород с твердыми кристаллизационными связями снижать свою прочность под действием воды обычно оценивается коэффициентом размягчаемости

где  - временное сопротивление сжатию после насыщения водой;

 - временное сопротивление сжатию в сухом состоянии.

2. При высокой степени выветрелости пород, когда изготовление образцов правильной формы практически невозможно, прочность пород на одноосное сжатие не определяется. Для характеристики изменения прочностных свойств аргиллита при сжатии в цилиндре до и после его водонасыщения. Подобное испытание применяется для оценки прочностных свойств щебня и гравия (ГОСТ 8269-76). Методика проведения испытания заключается в следующем. Отбирается проба аргиллита (фракция 5 - 10 мм) массой 400 г и высыпается в цилиндр диаметром 75 мм с высотой 5 см. Затем в цилиндр вставляется плунжер и цилиндр помещается на нижнюю плиту гидравлического пресса. Повышая давление пресса на 100 - 200 кгс в секунду, доводят его при испытании материала в цилиндре до 5 тс. Раздробленная проба просеивается сквозь сито размером 1,25 мм.

При испытании аргиллита в насыщенном водой состоянии пробу грунта погружают на 2 час в воду и затем тщательно промывают водой.

Остаток щебня на сите после сухого и мокрого просеивания и определяет показатель дробимости Др по формуле

где q1 - испытываемая навеска щебня, г;

q2 - масса остатка на контрольном сите после просеивания раздробленной в цилиндре пробы, г.

3. Устойчивость аргиллитовых пород следует оценивать по способности выдерживать то или иное количество циклов высушивания-увлажнения. Для этого проба грунта подвергается увлажнению от 16 до 24 час и высушиванию в течение 6 - 12 час.

Приложение 2

Оценка сдвигоустойчивости крупнообломочных грунтов

Образцы для оценки изменяемости прочностных свойств крупнооблооомочных грунтов в условиях водонасыщения готовят путем прессования в кольце при заданной удельной нагрузке и влажности мелкозема в период возведения насыпи. Сопротивляемость крупнообломочных грунтов сдвигу до и после водонасыщения определяется в зависимости от размера обломочной фракции на приборе Маслова-Лурье (максимальный размер фракции не превышает 7 - 10 мм) или на сдвиговых приборах больших размеров. Водонасыщение образцов грунта осуществляется при ограничении возможности набухания в процессе увлажнения.

Сдвиговые испытания образцов крупнообломочного грунта производят после того, как их водопоглощающая способность в процессе увлажнения полностью исчерпана. Полученные данные сравниваются с данными по сопротивляемости сдвигу грунтов до увлажнения.

В качестве характеристики сдвигоустойчивости крупнообломочных грунтов используют коэффициент сдвигоустойчивости, определяемый по соотношению сопротивляемости грунта сдвигу после увлажнения и его начальной сдвиговой прочности.

Приложение 3

Испытание крупнообломочных грунтов на просадочность

Под просадкой понимают существенное уменьшение объема грунтов при замачивании их водой при определенном давлении. Для оценки стабильности деформативных свойств крупнообломочных грунтов кольцо с образцом грунта, уплотненного при определенной вертикальной нагрузке, помещается в ванну прибора предварительного уплотнения и к грунту прикладывается нагрузка, равная (или меньшая) по величине уплотняющей. Образцы выдерживают до стабилизации деформаций осадки. Затем ванну заполняют водой, которая поступает в образец грунта с его нижнего торца. Возникающие при увлажнении грунтов деформации фиксируются индикаторами часового типа.

Величину просадки выражают через модуль просадки lпр (мм/м), который характеризует просадку в миллиметрах метрового пласта породы под действием на него дополнительной нагрузки Р (кгс/см2).

СОДЕРЖАНИЕ

Предисловие. 1

Общие положения. 2

Классификация крупнообломочных грунтов. 2

Свойства крупнообломочных грунтов. 3

Требования к крупнообломочным грунтам.. 8

Особенности конструкции насыпей из крупнообломочных грунтов. 8

Технология сооружения насыпей из крупнообломочных грунтов. 11

Оценка степени уплотнения крупнообломочных грунтов. 14

Приложение 1. Определение размягчаемости и устойчивости пород в условиях изменяющегося влажностного режима. 16

Приложение 2. Оценка сдвигоустойчивости крупнообломочных грунтов. 17

Приложение 3. Испытание крупнообломочных грунтов на просадочность. 17

 




Яндекс цитирования



   Copyright © 2007-2026,  www.tehlit.ru.

[ ѓосты, стандарты, нормативы, инструкции, правила, строительные нормы ]