//
ÒåõËèò.ðó
- êðóïíåéøàÿ áåñïëàòíàÿ ýëåêòðîííàÿ èíòåðíåò áèáëèîòåêà äëÿ "òåõíè÷åñêè óìíûõ" ëþäåé.
WWW.TEHLIT.RU - ÒÅÕÍÈ×ÅÑÊÀß ËÈÒÅÐÀÒÓÐÀ

:: Àëãîòðåéäèíã::


ÀËÃÎÒÐÅÉÄÈÍÃ
øàã çà øàãîì
ñ íóëÿ ïî óðîêàì!

Òîðãîâûå ðîáîòû íà PYTHON, BackTrader,
Pandas, Pine Script äëÿ TradingView. Ñâÿçêà ñ áðîêåðàìè, òåëåãðàì è ëåãêèìè ïðèëîæåíèÿìè.


ÌÈÍÈÑÒÅÐÑÒÂÎ ÒÐÀÍÑÏÎÐÒÍÎÃÎ ÑÒÐÎÈÒÅËÜÑÒÂÀ

ÃÎÑÓÄÀÐÑÒÂÅÍÍÛÉ ÂÑÅÑÎÞÇÍÛÉ ÄÎÐÎÆÍÛÉ
ÍÀÓ×Í
Î-ÈÑÑËÅÄÎÂÀÒÅËÜÑÊÈÉ ÈÍÑÒÈÒÓÒ
(ÑÎÞÇÄÎÐÍÈÈ)

ÌÅÒÎÄÈ×ÅÑÊÈÅ ÐÅÊÎÌÅÍÄÀÖÈÈ
ÏÎ ÒÅÕÍÎËÎÃÈÈ ÎÒÅÏËÅÍÈß ÃÐÓÍÒÀ
ÏÅÍÈÑÒÛÌÈ ÌÀÒÅÐÈÀËÀÌÈ
ÏÐÈ ÅÃÎ ÇÈÌÍÅÉ ÐÀÇÐÀÁÎÒÊÅ

Îäîáðåíû Ìèíòðàíññòðîåì

Ìîñêâà 1979

Èçëîæåíû ïðèíöèïû ðàöèîíàëüíîãî èñïîëüçîâàíèÿ áûñòðîòâåðäåþùèõ ñèíòåòè÷åñêèõ ïåí (ÁÒÏ) è ïåíîëüäà äëÿ çàùèòû ãðóíòà â êàðüåðàõ îò ïðîìåðçàíèÿ â çèìíåå âðåìÿ. Ïðèâåäåíû äàííûå ïî âûáîðó ðåöåïòóðû, ìåõàíèçàöèè è òåõíîëîãèè èçãîòîâëåíèÿ ïåíèñòûõ ïîêðûòèé, à òàêæå ïðåäëîæåí ðàñ÷åò òîëùèíû îòåïëÿþùèõ ñëîåâ. Äàíî ýêîíîìè÷åñêîå îáîñíîâàíèå ïðèìåíåíèÿ îòåïëåíèÿ ãðóíòà ïðè åãî ðàçðàáîòêå â çèìíèõ óñëîâèÿõ ñòðîèòåëüñòâà.

Ïðåäèñëîâèå

«Ìåòîäè÷åñêèå ðåêîìåíäàöèè ïî òåõíîëîãèè îòåïëåíèÿ ãðóíòà ïåíèñòûìè ìàòåðèàëàìè ïðè åãî çèìíåé ðàçðàáîòêå» ðàçâèâàþò ïîëîæåíèÿ äåéñòâóþùèõ íîðìàòèâíûõ äîêóìåíòîâ ÑÍèÏ III-Ä.5-73 è ÑÍ 449-72, êàñàþùèåñÿ ïðîâåäåíèÿ çåìëÿíûõ ðàáîò â çèìíèõ óñëîâèÿõ.

 îñíîâó íàñòîÿùèõ «Ìåòîäè÷åñêèõ ðåêîìåíäàöèé» ïîëîæåíû èññëåäîâàíèÿ Ëåíèíãðàäñêîãî ôèëèàëà Ñîþçäîðíèè. Èñïîëüçîâàíû òàêæå ìàòåðèàëû, ïîëó÷åííûå âî ÂÍÈÈà èì. Á. Å. Âåäåíååâà, ÑèáÍÈÈÃèÌå, ÂÍÈÈÍÅÐÓÄå, ÈÐÃÈÐÅÄÌÅÒå, ÖÍÈÈÑå è äðóãèõ îðãàíèçàöèÿõ ïî èçãîòîâëåíèþ è ïðèìåíåíèþ ñèíòåòè÷åñêèõ áûñòðîòâåðäåþùèõ ïåí (ÁÒÏ) äëÿ çàùèòû ãðóíòà îò ïðîìåðçàíèÿ â çèìíèõ óñëîâèÿõ.  ðàáîòå ó÷òåí îïûò ËÈÑÈ ïî îòåïëåíèþ ãðóíòà çàìåðçàþùèìè âîäîâîçäóøíûìè ïåíàìè (ïåíîëüäîì).

Íàñòîÿùèå ««Ìåòîäè÷åñêèå ðåêîìåíäàöèè» ñîñòàâëåíû êàíä. òåõí. íàóê Â. Ì. Èåâëåâûì ïðè ó÷àñòèè êàíäèäàòîâ òåõíè÷åñêèõ íàóê Þ. ß. Àíäðåé÷åíêî àçä. 5, ïðèëîæåíèÿ 3, 4) è Ì. Ï. Êîñòåëüîâà (ðàçä. 6).

1 Îáùèå ïîëîæåíèÿ

1.1. «Ìåòîäè÷åñêèå ðåêîìåíäàöèè ïî òåõíîëîãèè îòåïëåíèÿ ãðóíòà ïåíèñòûìè ìàòåðèàëàìè ïðè åãî çèìíåé ðàçðàáîòêå» ïðåäíàçíà÷åíû äëÿ âîçâåäåíèÿ íàñûïåé èç ãðóíòîâ êàðüåðîâ è âûåìîê, ðàçðàáàòûâàåìûõ ýêñêàâàòîðàìè â çèìíåå âðåìÿ. Ïðè ýòîì äîïóñêàåòñÿ íåêîòîðîå ïðîìåðçàíèå ãðóíòà, îáóñëîâëåííîå ìîùíîñòüþ ïðèìåíÿåìîãî ýêñêàâàòîðà (20 - 25 ñì ïðè åìêîñòè êîâøà ýêñêàâàòîðà áîëåå 0,65 ì3).

1.2. Äëÿ çàùèòû ãðóíòîâ îò ïðîìåðçàíèÿ â êà÷åñòâå îñíîâíîãî òåïëîèçîëèðóþùåãî ñëîÿ ðåêîìåíäóåòñÿ ïðèìåíÿòü ñèíòåòè÷åñêóþ áûñòðîòâåðäåþùóþ ïåíó (ÁÒÏ), èçãîòîâëåííóþ èç ìî÷åâèíî-ôîðìàëüäåãèäíûõ (êàðáàìèäíûõ) ñìîë. Äëÿ îòåïëåíèÿ íåáîëüøèõ ïëîùàäåé ìîæíî èñïîëüçîâàòü äåøåâûé òîâàðíûé ïåíîïëàñò è åãî îòõîäû ðàçëè÷íîãî âèäà.

1.3. Âîäîâîçäóøíûå çàìåðçàþùèå ïåíû (ïåíîëåä) ïðèìåíÿþò äëÿ óñèëåíèÿ îòåïëÿþùåãî äåéñòâèÿ ïåíîïëàñòà: â ðàéîíàõ ñ ñóðîâûì è õîëîäíûì êëèìàòîì - îáÿçàòåëüíî; ïðè äåôèöèòå ñíåãîâîãî ïîêðîâà â ðàéîíàõ ñ óìåðåííûì êëèìàòîì - âî âòîðîé ïîëîâèíå çèìû.

1.4. Ñèíòåòè÷åñêóþ ïåíó ñëåäóåò óêëàäûâàòü â ïðåäçèìíèé ïåðèîä ïðè ïîëîæèòåëüíîé òåìïåðàòóðå âîçäóõà.  óñëîâèÿõ ìîðñêîãî êëèìàòà, ñ ÷àñòûìè îòòåïåëÿìè â çèìíèé ïåðèîä, ïåíîïîêðûòèå íàäëåæèò èçîëèðîâàòü ñ ïîâåðõíîñòè âîäîíåïðîíèöàåìîé ïëåíêîé.

Ïîëó÷åíèå ïåíîëüäà èç âîäîâîçäóøíîé ïåíû âîçìîæíî ïðè óñòîé÷èâîé òåìïåðàòóðå âîçäóõà íèæå -7 ÷ -8 °Ñ.

1.5. Ïåíîïëàñò, èçãîòîâëåííûé èç êàðáàìèäíîé ñìîëû, ìîæíî âïîñëåäñòâèè èñïîëüçîâàòü äëÿ óëó÷øåíèÿ ñòðóêòóðû, ïî÷âû â ñåëüñêîì õîçÿéñòâå, â ÷àñòíîñòè äëÿ ïîâûøåíèÿ âîäîóäåðæèâàþùåé ñïîñîáíîñòè ïåñ÷àíûõ ãðóíòîâ, äðåíàæà áîëîòèñòûõ ïî÷â, çàùèòû ïî÷âû îò ýðîçèè ïîä äåéñòâèåì àòìîñôåðíûõ îñàäêîâ. Âíåñåíèå ïåíû îáîãàùàåò ïî÷âó àçîòîì, ÷òî ïîâûøàåò óðîæàéíîñòü îâîùíûõ êóëüòóð.

2. Èñõîäíûå ìàòåðèàëû è ñîñòàâ ïåí

2.1. Äëÿ ïîëó÷åíèÿ ÁÒÏ â ïîëåâûõ óñëîâèÿõ ïðèãîäíû ëþáûå òèïû ìî÷åâèíî-ôîðìàëüäåãèäíûõ (êàðáàìèäíûõ) ñìîë, âûïóñêàåìûõ îòå÷åñòâåííîé ïðîìûøëåííîñòüþ. Êðîìå ñìîëû, â ñîñòàâ ÁÒÏ äîëæíû âõîäèòü ïîâåðõíîñòíî-àêòèâíûå âåùåñòâà (ÏÀÂ), êàòàëèçàòîð îòâåðæäåíèÿ (êðåïèòåëü) è âîäà. Äëÿ èçãîòîâëåíèÿ ïåíîëüäà íåîáõîäèìû ÏÀ è âîäà.

2.2. Ñòîèìîñòü è ñâîéñòâà ðàçëè÷íûõ òèïîâ ñìîëû âåñüìà áëèçêè (ïðèëîæåíèå 1 íàñòîÿùèõ «Ìåòîäè÷åñêèõ ðåêîìåíäàöèé»), ïîýòîìó ïðè ñòðîèòåëüñòâå ìîæíî èñïîëüçîâàòü èõ ëþáûå ìàðêè. Íî åñëè åñòü âîçìîæíîñòü âûáîðà, ïðåäïî÷òåíèå ñëåäóåò îòäàâàòü ñìîëàì, èìåþùèì áîëüøèé ñðîê õðàíåíèÿ è ìåíüøóþ òîêñè÷íîñòü (Ì-48, Ì19-62, Ê-2).

2.3. Äëÿ îòâåðæäåíèÿ ÁÒÏ ñëåäóåò èñïîëüçîâàòü áûñòðîäåéñòâóþùèå êàòàëèçàòîðû. Íàèáîëüøåå ðàñïðîñòðàíåíèå èç íèõ ïîëó÷èëè ñîëÿíàÿ, ùàâåëåâàÿ è îðòîôîñôîðíàÿ êèñëîòû. Ïîñêîëüêó êàæäûé òèï ñìîëû ðåàãèðóåò ñ îäíîé èëè äâóìÿ êèñëîòàìè, êàòàëèçàòîð ïðèîáðåòàþò òîëüêî ïîñëå åãî ïðîâåðêè íà ðåàêòèâíîñòü ñ èìåþùåéñÿ ñìîëîé ì. ïðèëîæåíèå 1).

2.4. Äëÿ âñïåíèâàíèÿ ÁÒÏ ìîæíî ïðèìåíÿòü ñàìûå ðàçëè÷íûå òèïû ÏÀÂ, íî íàèáîëåå óäîáíû æèäêèå ïîæàðíûå ïåíîîáðàçîâàòåëè (ïðèëîæåíèå 2).

Âûáîð òèïà ïåíîîáðàçîâàòåëÿ äèêòóåòñÿ âîçìîæíîñòüþ ïðèîáðåòåíèÿ, îòïóñêíîé ñòîèìîñòüþ, äàëüíîñòüþ âîçêè è ò.ä.

2.5. Îïòèìàëüíûé ñîñòàâ ÁÒÏ (%) ñëåäóþùèé.

Ìî÷åâèíî-ôîðìàëüäåãèäíàÿ ñìîëà................................................................................. 35

Ñëàáîêîíöåíòðèðîâàííàÿ êèñëîòà (4 5 %)................................................................... 16

Æèäêèé ïåíîîáðàçîâàòåëü............................................................................................ 2 - 4

Âîäà..................................................................................................................................... 45

Íàïðèìåð, äëÿ èçãîòîâëåíèÿ 100 ì3 ÁÒÏ êðàòíîñòüþ 20 òðåáóåòñÿ 1700 êã ñìîëû Ì19-62, 40 êã ñóõîé ùàâåëåâîé êèñëîòû, 200 ë ïåíîîáðàçîâàòåëÿ ÏÎ- è 4800 ë âîäû.

Îáû÷íî ñìîëó èñïîëüçóþò â ïåíîãåíåðàòîðå â âèäå ýìóëüñèè ñ âîäîé è ïåíîîáðàçîâàòåëåì, à êèñëîòó - â âèäå ñëàáîãî 4 - 5 %-íîãî ðàñòâîðà.

2.6. Äëÿ îòåïëåíèÿ íåáîëüøèõ ãðóíòîâûõ ïëîùàäîê è êàðüåðîâ ìîæíî èñïîëüçîâàòü íàèáîëåå äåøåâûå ïåíîïëàñòû ôàáðè÷íîãî èçãîòîâëåíèÿ, îñíîâíûå õàðàêòåðèñòèêè êîòîðûõ ïðèâåäåíû â òàáë. 2.1. Áîëåå ýêîíîìè÷íî îòåïëÿòü ãðóíò îòõîäàìè ðàçëè÷íûõ ïåíîïëàñòîâ (îáû÷íî ñòîèìîñòüþ 8 - 9 ðóá./ì3,), ðàâíîìåðíî ðàñïðåäåëåííûìè ïî ïîâåðõíîñòè ãðóíòà è îáëèòûìè ÁÒÏ, ÷òîáû çàêðåïèòü èõ è òåì ñàìûì ïðåäîõðàíèòü îò ðàçäóâàíèÿ âåòðîì.

Òàáëèöà 2.1

Îñíîâíûå õàðàêòåðèñòèêè ôàáðè÷íîãî ïåíîïëàñòà

Ïîëèñòèðîëüíûé ïåíîïëàñò

Ôòîðîïëàñòîâûé ïåíîïëàñò ÔÐÏ-1, ÔÐÏ-2

Êàðáàìèäíûé ïåíîïëàñò ÌÔÏ

ÏÑÁ

ÏÑÁÑ

Ïëîòíîñòü, êã/ì3............................................................

20 - 30

25 - 30

30 - 100

10 - 25

Êîýôôèöèåíò òåïëîïðîâîäíîñòè, êêàë/ì · ÷ · ãðàä. 

0,030 - 0,034

0,030 - 0,034

0,030 - 0,045

0,024 - 0,030

Óäåëüíàÿ òåïëîïðîâîäíîñòü, êêàë/êã · ãðàä.............

0,32

0,35

0,35

0,30

Ñåáåñòîèìîñòü 1 ì3, ðóá.............................................

20.67

20,67

39,73

8,10

2.7. Äëÿ èçãîòîâëåíèÿ ïåíîëüäà ïîæàðíûå ïåíîîáðàçîâàòåëè ÏÎ-1 è ÏÎ-3 íåïðèãîäíû. Íàèáîëåå óñòîé÷èâûé ïåíîëåä äàþò ñëåäóþùèå ñîñòàâû âîçäóøíûõ ïåí:

à) 0,2 %ûé âîäíûé ðàñòâîð ñðåäñòâà «Âîëãîíàò» (ÌÐÒÓ 6-01″39-65) ñ äîáàâêîé 0,05 êàðáîêñèëìåòèëöåëëþëîçû (ÊÌÖ);

á) 0,2 %-íûé âîäíûé ðàñòâîð ýìóëüãàòîðà Å-30 (ïðîèçâîäñòâî ÃÄÐ) ñ äîáàâêîé 0,05 ÊÌÖ èëè õîçÿéñòâåííîãî ìûëà.

3. Ñðåäñòâà ìåõàíèçàöèè

3.1. Ñòàíäàðòíûå ïåíîãåíåðàòîðû, ïðåäíàçíà÷åííûå äëÿ èçãîòîâëåíèÿ ïåíîïëàñòîâ â ïîëåâûõ óñëîâèÿõ, îòå÷åñòâåííîé ïðîìûøëåííîñòüþ íå âûïóñêàþòñÿ. Ñëåäóåò èñïîëüçîâàòü ëèáî íàèáîëåå óäà÷íûå ìîäåëè, ðàçðàáîòàííûå îòäåëüíûìè îðãàíèçàöèÿìè, ëèáî ïðèñïîñîáèòü äëÿ èçãîòîâëåíèÿ ñèíòåòè÷åñêîé ïåíû ìåõàíèçìû, èìåþùèåñÿ â äîðîæíî-ñòðîèòåëüíûõ îðãàíèçàöèÿõ.

3.2. Äëÿ ïîäãîòîâêè ê çèìå îáû÷íûõ è êðóïíûõ äîðîæíûõ êàðüåðîâ ìîæíî ïðèìåíÿòü ìîäåðíèçèðîâàííóþ óñòàíîâêó äëÿ îòåïëåíèÿ ãðóíòà áûñòðîòâåðäåþùåé ïåíîé*) (ðèñ. 3.1).

*) Óñòàíîâêà ðàçðàáîòàíà ÑèáÍÈÈÃèÌîì, ã. Êðàñíîÿðñê.

Îñíîâíûå õàðàêòåðèñòèêè ìàøèíû.

Åìêîñòü áàêà äëÿ ýìóëüñèè.......................................................................................... 120 ë

Åìêîñòü áàêà äëÿ êèñëîòû............................................................................................ 200 ë

Äàâëåíèå âîçäóõà äëÿ âñïåíèâàíèÿ

ýìóëüñèè............................................................................................................... 5 - 7 êã/ñì2

Äàâëåíèå âîçäóõà â áàêå äëÿ êèñëîòû............................................................... 2 - 3 êã/ñì2

Ðàñõîä ñæàòîãî âîçäóõà........................................................................................... 5 ì3/ìèí

Ïðîèçâîäèòåëüíîñòü ïî ïåíå......................................................................... 70 - 80 ì3/÷àñ

Ìàøèíó çàïðàâëÿþò ïîëíîñòüþ ðàáî÷èìè ðàñòâîðàìè çà 30 - 35 ìèí íàñîñàìè, ñìîíòèðîâàííûìè íà ðàìå àâòîìîáèëÿ. Âñå óçëû ïåíîãåíåðàòîðà âìåñòå ñ ïóëüòîì óïðàâëåíèÿ çàêðåïëåíû íà ïëàòôîðìå, êîòîðàÿ óñòàíîâëåíà íà àâòîìîáèëå ÇÈË-157Ê. Ñèëîâîé óñòàíîâêîé ìàøèíû ñëóæèò äâèãàòåëü àâòîìîáèëÿ è ïðèöåïíîé êîìïðåññîð ÇÈÔ-55. Ïåíîãåíåðàòîð ïîçâîëÿåò ïîëó÷àòü êîìïðåññîð ïåíó êðàòíîñòüþ îò 10 äî 40 - 60 è áîëåå.

Ðèñ. 3.1. Ñõåìà ïåíîãåíåðèðóþùåé óñòàíîâêè ÑèáÍÈÈÃèÌà:

1 - êîìïðåññîð; 2 - óêàçàòåëè óðîâíÿ; 3 - ðåäóêòîð; 4 - áàê äëÿ ýìóëüñèè; 5 - áàê äëÿ êèñëîòû; 6 - ðàñõîäîìåðû; 7 - îáðàòíûå êëàïàíû; 8 - íàñîñû; 9 - òàðà ñ êèñëîòîé; 10 - ñìåñèòåëü; 11 - òàðà ñî ñìîëîé åíîîáðàçîâàòåëåì); 12 - ïåðåïóñêíîé êëàïàí; - âåíòèëè;  - êðàíû; ˜ - ñ÷åò÷èêè-ëèòðîìåðû

3.3 Ñèíòåòè÷åñêóþ ïåíó â íåáîëüøèõ îáúåìàõ ìîæíî èçãîòîâëÿòü ïîðòàòèâíûìè ýæåêöèîííûìè ïåíîãåíåðàòîðàìè*). Ïîäîáíûå àïïàðàòû ñîáèðàþò ïî äâóì îñíîâíûì ñõåìàì èñ. 3.2).

*) Ïåíîãåíåðàòîð ðàçðàáîòàí âî ÂÍÈÈÃ èì. Á. Å. Âåäåíååâà, ã. Ëåíèíãðàä.

Ñõåìà À. Ðàñòâîð ñìîëû è ïåíîîáðàçîâàòåëÿ ïîäàþò íàñîñîì â ñìåñèòåëü, ãäå îïðûñêèâàþò êèñëîòîé. Çäåñü ïðîèñõîäèò ïðåäâàðèòåëüíîå âñïåíèâàíèå ðàáî÷åé ñìåñè, à îêîí÷àòåëüíî ñòðóêòóðà ïåíû ôîðìèðóåòñÿ â âîçäóõîñìåñèòåëå.

Ñõåìà Á. Âñå ðàñòâîðû ïîäàþò ñæàòûì âîçäóõîì ñ ïîìîùüþ êîìïðåññîðà èëè áàëëîíà â ñìåñèòåëè, ãäå ðàáî÷óþ ñìåñü âñïåíèâàþò, à ïåíó îïðûñêèâàþò â êîíöå ñèñòåìû, íà âûõîäå. Ïðåèìóùåñòâî îïèñàííîé ñõåìû â òîì, ÷òî íå ïðîèñõîäèò ïðåæäåâðåìåííîãî ñõâàòûâàíèÿ ñìåñè, áëàãîäàðÿ ÷åìó óìåíüøàåòñÿ îïàñíîñòü çàêóïîðêè íàïîðíîé ëèíèè è øòóöåðîâ çàòâåðäåâøèìè êóñêàìè ïåíû. Ýòî ñïîñîáñòâóåò áîëåå êà÷åñòâåííîìó ôîðìèðîâàíèþ ñòðóêòóðû è ïîëó÷åíèþ ïåíû âûñîêîé êðàòíîñòè.

Ïåíîãåíåðàòîðû äëÿ óäîáñòâà ïîëüçîâàíèÿ ñëåäóåò ìîíòèðîâàòü íà ïðèöåïíûõ ê àâòîìîáèëÿì èëè òðàêòîðàì êîëåñíûõ òåëåæêàõ.

3.4. Îñíîâíûì ýëåìåíòîì ïåíîãåíåðàòîðîâ ïîäîáíîãî òèïà ÿâëÿåòñÿ ïåíîñìåñèòåëü ýæåêöèîííîãî äåéñòâèÿ. Íàèáîëåå ïðîñòàÿ ìîäåëü ïðåäëîæåíà ÂÍÈÈÃ èì. Á. Å. Âåäåíååâà. Îïòèìàëüíûå ïàðàìåòðû ïåíîñìåñèòåëÿ ïðèâåäåíû â òàáë. 3.1.

Âûõîäíóþ ÷àñòü íàñàäêè è âõîäíóþ äèôôóçîðà ïðè èçãîòîâëåíèè ïåíîñìåñèòåëÿ ðàççåíêîâûâàþò ïîä óãëîì 45°, à âíóòðåííþþ êàìåðó ïîëèðóþò. Îñè íàñàäêè è äèôôóçîðà äîëæíû ñòðîãî ñîâïàäàòü. Âî èçáåæàíèå áûñòðîé êîððîçèè ïåíîñìåñèòåëü ðåêîìåíäóåòñÿ èçãîòîâëÿòü èç íåðæàâåþùåé ñòàëè.

Òàáëèöà 3.1

Îñíîâíûå ïàðàìåòðû ïåíîñìåñèòåëÿ

Âåëè÷èíû ïàðàìåòðîâ

Ïðîèçâîäèòåëüíîñòü ïî ïåíå, ì3/ìèí.................................

1 - 1,5

5

10

Äèàìåòð îòâåðñòèÿ íàñàäêè d, ìì......................................

5,5

9

15

Óãîë êîíóñíîñòè íàñàäêè Lê..............................................

13

13

13

Äèàìåòð ãîðëîâèíû äèôôóçîðà dã, ìì...............................

5,8

11

18

Óãîë êîíóñíîñòè äèôôóçîðà Lê.........................................

6

6

6

Äëèíà ãîðëîâèíû l, ìì.....................................................

30

50

90

3.5. Âîçäóõîñìåñèòåëü ìîæåò áûòü çàèìñòâîâàí èç ïðîòèâîïîæàðíûõ óñòðîéñòâ ëèáî èçãîòîâëåí ïî àíàëîãèè, íàïðèìåð, ñ âîçäóõîñìåñèòåëåì 3 (ñì. ðèñ. 3.2), ãäå ñìåñü âñïåíèâàåòñÿ â êîíóñíîé êàìåðå (Lê = 8,5°), âîçäóõ â êîòîðóþ ïîäàåòñÿ èç îòâåðñòèé, ïðîñâåðëåííûõ â ñòåíêàõ äèôôóçîðà ïîä óãëîì 45° ê åãî îñè.

3.6. Îñòàëüíûå ýëåìåíòû ïåíîãåíåðèðóþùåé óñòàíîâêè âûáèðàþò â ñîîòâåòñòâèè ñ ïàðàìåòðàìè èçãîòîâëåííîãî ïåíîñìåñèòåëÿ. Äëÿ òîãî ÷òîáû îáåñïå÷èòü ïðîèçâîäèòåëüíîñòü ïåíîãåíåðàòîðà ïî ïåíå 1 - 2 ì3/ìèí, íåîáõîäèìû êîìïðåññîðû ñ ðàñõîäîì âîçäóõà 1,5 - 3 ì3/ìèí è äàâëåíèåì áîëåå 6 êã/ñì2, ãèäðàâëè÷åñêèå íàñîñû ñî ñêîðîñòüþ ïîäà÷è æèäêîñòè áîëåå 2 - 3 ì3/÷àñ è ò.ä. Êðîìå êðàíîâ, ìàíîìåòðîâ, ðåñèâåðîâ, æåëàòåëüíî ñíàáäèòü ïåíîãåíåðàòîðû äâóìÿ äîçàòîðàìè-ðàñõîäîìåðàìè, ïîääåðæèâàþùèìè îïòèìàëüíóþ äîçèðîâêó êîìïîíåíòîâ â ñìåñèòåëå. Áàê äëÿ êèñëîòû ïî îáúåìó äîëæåí áûòü â 5 - 6 ðàç ìåíüøå áîëüøîãî áàêà è èìåòü âíóòðåííþþ ôóòåðîâêó, çàùèùàþùóþ ìåòàëë îò êîððîçèè.

Ðèñ. 3.2. Îñíîâíûå ñõåìû (À, Á) ýæåêöèîííûõ ïåíîãåíåðàòîðîâ:

1 - ãèäðàâëè÷åñêèé íàñîñ; 2 - ïåíîñìåñèòåëü; 3 - âîçäóõîñìåñèòåëü; 4 - êîìïðåññîð (áàëëîí); 5 - áàê ñ ðàñòâîðîì ñìîëû è ÏÎ; 6 - áàê ñ êèñëîòîé; 7 - êðàí ñ ìàíîìåòðîì (è ðåñèâåðîì); 8 - îáðàòíûé êëàïàí, d1, d2 - äèàìåòðû íàñàäêè è ãîðëîâèíû (ñì. òàáë. 3.1)

3.7. Ïðè ñáîðêå ïåíîãåíåðàòîðà âñå ñîåäèíåíèÿ íåîáõîäèìî òùàòåëüíî ïîäãîíÿòü, à ãåðìåòè÷íîñòü ñèñòåìû ïðîâåðÿòü ñïåöèàëüíûìè ãèäðàâëè÷åñêèìè èñïûòàíèÿìè ïîä äàâëåíèåì, íà 30 - 50 % ïðåâûøàþùèì ðàáî÷åå äàâëåíèå íàïîðíîé ëèíèè ïåíîãåíåðàòîðà.

3.8. Äëÿ ïðèãîòîâëåíèÿ âîäîâîçäóøíîé ïåíû ìîæíî èñïîëüçîâàòü ïîæàðíûå ïåíîîáðàçóþùèå óñòðîéñòâà ìàëîé ïðîèçâîäèòåëüíîñòè: ñòâîëû ðó÷íûå âîçäóøíî-ïåííûå (òèïà ÑÂÏ è ÑÂÏÝ), ïåíîãåíåðàòîðû (òèïà ÏÑ), àâòîöèñòåðíû, àâòîïîëèâùèêè ñ ïåíîãåíåðèðóþùèìè íàñàäêàìè è ò.ä. Äëÿ ïîëó÷åíèÿ âîäîâîçäóøíûõ ïåí ïðèãîäíû òàêæå ëþáûå ãåíåðàòîðû ÁÒÏ.  ïîñëåäíåì ñëó÷àå â áîëüøîé áàê çàëèâàþò âîäó ñ ÏÎ, à êèñëîòíóþ ëèíèþ îòêëþ÷àþò.

4. Òåõíîëîãèÿ ðàáîò

4.1. Ïåðåä âûåçäîì íà îáúåêò íà áàçå îòðàáàòûâàþò îïòèìàëüíûé ðåæèì ðàáîòû ïåíîãåíåðàòîðà ñíà÷àëà íà âîäå, çàòåì íà âñåõ êîìïîíåíòàõ. Ïðè èñïûòàíèÿõ ïðîâåðÿþò ïðàâèëüíîñòü ýæåêöèè (ïåíîîáðàçîâàíèÿ) ñ êîíòðîëåì êðàòíîñòè âûõîäÿùåé ïåíû å ìåíüøå 20 - 30), ñêîðîñòè îòâåðæäåíèÿ ïåíû (20 - 30 ìèí), ñòåïåíè óñàäêè ïåíû (íå áîëåå 10 - 15 % òîëùèíû ñëîÿ).

 ïðîöåññå ðàáîò ïðîèçâîäÿò íåîáõîäèìóþ ïîäðåãóëèðîâêó ðàñõîäîìåðîâ è óòî÷íÿþò âåëè÷èíû ðàáî÷èõ äàâëåíèé â îñíîâíûõ óçëàõ ïåíîãåíåðàòîðà.  ïåðâîì ïðèáëèæåíèè èõ ïðèíèìàþò

â ëèíèè ïîäà÷è ýìóëüñèè - 5 - 6 êã/ñì2;

â ëèíèè ïîäà÷è êèñëîòû - 2 - 3 êã/ñì2.

4.2. Áàêè ïåíîãåíåðàòîðà íàïðàâëÿþò ðàáî÷èìè êîìïîíåíòàìè è âìåñòå ñ êîìïðåññîðîì ïåðåìåùàþò ê ìåñòó îòåïëåíèÿ ãðóíòà. Çäåñü ê ïåíîãåíåðàòîðó ïîäêëþ÷àþò íàñîñû, êîìïðåññîð è íà÷èíàþò èçãîòîâëÿòü ïåíó. Ïîðÿäîê ðàáîò ïðè ýòîì ñëåäóþùèé: ïîñëå âêëþ÷åíèÿ ñèëîâîé óñòàíîâêè îòêðûâàþò âïóñêíûå âåíòèëè è äàâëåíèå â áàêàõ äîâîäÿò äî ðàñ÷åòíîãî. Çàòåì îòêðûâàþò âõîäíûå êðàíû, â ðåçóëüòàòå ÷åãî ðàñòâîðû ïîïàäàþò ÷åðåç äîçàòîðû â ñìåñèòåëü (ðåàêòîð) è îáðàçóåòñÿ ïåíà. Ïî âûõîäó ðàáîò äîïóñêàåòñÿ íåêîòîðàÿ ïîäðåãóëèðîâêà ïðèáîðîâ, îáåñïå÷èâàþùàÿ ïîääåðæàíèå ðàñ÷åòíûõ äàâëåíèé è îïòèìàëüíîå äîçèðîâàíèå êîìïîíåíòîâ â ñìåñèòåëÿõ. Ñ ïîìîùüþ øëàíãà ïåíó íàíîñÿò íà îòåïëÿåìóþ ïîâåðõíîñòü.

4.3. Âî âðåìÿ ðàáîòû íåîáõîäèìî ïåðèîäè÷åñêè î÷èùàòü âûâîäíîé ðóêàâ ïåíîãåíåðàòîðà îò êóñêîâ íàëèïøåé è çàòâåðäåâøåé ïåíû. Äëÿ ýòîãî ðóêàâ îòñîåäèíÿþò îò ïåíîñìåñèòåëÿ è ïðîäóâàþò ñæàòûì âîçäóõîì îò êîìïðåññîðà.  êîíöå ñìåíû è ïðè îñòàíîâêå ðàáîò ïî òîé èëè èíîé ïðè÷èíå áàêè ïåíîãåíåðàòîðà îñâîáîæäàþò îò ðàñòâîðîâ, à âñþ ñèñòåìó ïðîìûâàþò ãîðÿ÷åé âîäîé.

4.4. Ðàñ÷åòíóþ òîëùèíó ïåíîïîêðûòèÿ êîíòðîëèðóþò âûñîòíûìè øàáëîíàìè, êîòîðûå ñëåäóåò óñòàíàâëèâàòü íà ïîâåðõíîñòè êàðüåðà äî íà÷àëà ðàáîò. Ïåíó íàíîñÿò íà îòåïëÿåìóþ ïîâåðõíîñòü ñëîÿìè òîëùèíîé 5 - 6 ñì. Ðîçëèâ î÷åðåäíîãî ñëîÿ äîïóñêàåòñÿ òîëüêî ïîñëå çàòâåðäåíèÿ íèæíåãî ñëîÿ ïåíû, ò.å. ÷åðåç 30 - 40 ìèí ïîñëå åãî óêëàäêè.

4.5. Ðîçëèâ ïåíû ðåêîìåíäóåòñÿ âåñòè ïðè ÿñíîé è òèõîé ïîãîäå. Ïðè ñêîðîñòè âåòðà ñâûøå 7 - 10 ì/ñåê ïåíó ñëåäóåò óêëàäûâàòü ïëîòíî, äëÿ ÷åãî ñòðóþ ïåíû íàïðàâëÿþò ïîä óãëîì 45 - 60° ê îòåïëÿåìîé ïîâåðõíîñòè ãðóíòà.  ñëó÷àå âûïàäåíèÿ àòìîñôåðíûõ îñàäêîâ è ïðè ñêîðîñòè âåòðà áîëåå 12 - 15 ì/ñåê ðàáîòû ïî èçãîòîâëåíèþ ÁÒÏ çàïðåùàþòñÿ.

4.6. Ãèäðîèçîëÿöèÿ ñèíòåòè÷åñêîé ïåíû äîñòèãàåòñÿ ëèáî ðîçëèâîì ïî åå ïîâåðõíîñòè êàðáàìèäíîé ñìîëû ñëîåì 3 - 5 ñì, îòâåðæäàåìîé îáû÷íûì ñïîñîáîì, íî áåç âñïåíèâàíèÿ, ëèáî íàáðûçãîì áèòóìíîé ýìóëüñèè èëè äðóãèìè ñïîñîáàìè. Âî âñåõ ñëó÷àÿõ ïåðåä íàíåñåíèåì èçîëÿöèè ïåíó âûñóøèâàþò íà âîçäóõå äî âîçäóøíî-ñóõîãî ñîñòîÿíèÿ.

4.7. Âîäîâîçäóøíóþ ïåíó ðåêîìåíäóåòñÿ íàíîñèòü íà îòåïëÿåìóþ ïîâåðõíîñòü ñëîÿìè òîëùèíîé 5 - 6 ñì ïðè òåìïåðàòóðå âîçäóõà îò -7 äî -15 °Ñ è òîëùèíîé 8 - 10 ñì ïðè òåìïåðàòóðå íèæå -15 °Ñ. Óêëàäêà î÷åðåäíîãî ñëîÿ äîïóñêàåòñÿ òîëüêî ïîñëå çàìåðçàíèÿ ïðåäûäóùåãî. Êðàòíîñòü âîäîâîçäóøíîé ïåíû íåîáõîäèìî ïîääåðæèâàòü â ïðåäåëàõ 20 - 40. Âî èçáåæàíèå ðàçäóâàíèÿ ïåíû ïðè ñêîðîñòè âåòðà áîëåå 6 - 7 ì/ñåê íàìîðàæèâàíèå ïåíîëüäà ñëåäóåò ïðåêðàòèòü. Ðàñòàÿâøèé ïåíîëåä ìîæíî âïîñëåäñòâèè âîññòàíàâëèâàòü âòîðè÷íûì íàìîðàæèâàíèåì ïåíû ïðè ïîíèæåíèè òåìïåðàòóðû âîçäóõà äî -7 °Ñ.

4.8. Î÷èùàòü ïîâåðõíîñòü êàðüåðà îò îòåïëÿþùèõ ñëîåâ âî èçáåæàíèå ïðîìåðçàíèÿ ãðóíòà ñëåäóåò ëèøü íà ïëîùàäè, êîòîðàÿ ìîæåò áûòü ðàçðàáîòàíà ýêñêàâàòîðíûì çâåíîì çà 1 - 2 ñìåíû.

5. Ðàñ÷åò òîëùèíû òåïëîèçîëèðóþùèõ ñëîåâ

5.1. Íåîáõîäèìàÿ òîëùèíà òåïëîèçîëèðóþùåãî ñëîÿ çàâèñèò îò çàêîíîìåðíîñòè èçìåíåíèÿ òåìïåðàòóðû âîçäóõà çà ðàñ÷åòíûé çèìíèé ïåðèîä, íà÷àëüíîãî ðàñïðåäåëåíèÿ òåìïåðàòóðû ïî ãëóáèíå îòåïëÿåìîãî ãðóíòà, òåìïåðàòóðû ñëîÿ ÁÒÏ â ìîìåíò åãî íàíåñåíèÿ, à òàêæå òåïëîôèçè÷åñêèõ õàðàêòåðèñòèê ìàòåðèàëà ñëîÿ è ãðóíòà. Ïîýòîìó äëÿ ðàñ÷åòà òîëùèíû çàùèòíîãî ñëîÿ ÁÒÏ íåîáõîäèìî çíàòü:

êëèìàòè÷åñêóþ õàðàêòåðèñòèêó ìåñòà ñòðîèòåëüñòâà, âêëþ÷àþùóþ õîä èçìåíåíèÿ òåìïåðàòóðû âîçäóõà ïî ìåñÿöàì â òå÷åíèå ãîäà;

âèä è ñîñòîÿíèå ãðóíòà è åãî òåïëîôèçè÷åñêèå ñâîéñòâà;

ðàñïðåäåëåíèå òåìïåðàòóðû â ãðóíòå ïî ãëóáèíå â ìîìåíò åãî îòåïëåíèÿ;

òåïëîôèçè÷åñêèå õàðàêòåðèñòèêè îòåïëÿþùåãî ñëîÿ;

ãðàôèê ðàçðàáîòêè êàðüåðà âî âðåìåíè.

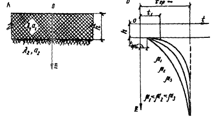
5.2. Òîëùèíó òåïëîèçîëèðóþùåãî ñëîÿ ðàññ÷èòûâàþò ïî ðåçóëüòàòàì òåîðåòè÷åñêîãî ðåøåíèÿ îïåðàöèîííûì ìåòîäîì íåñòàöèîíàðíîé çàäà÷è î äâóõñëîéíîì ïîëóïðîñòðàíñòâå, ïðåäñòàâëÿþùåì ñîáîé ñëîé òåïëîèçîëÿöèè êîíå÷íîé òîëùèíû, óëîæåííûé íà ãðóíòîâîå ïîëóïðîñòðàíñòâî ì. ïðèëîæåíèå 3 è ðèñ. 5.1, À). Ïðè ïîñòàíîâêå çàäà÷è ïðèíÿòî, ÷òî â ñèñòåìå ïðåîáëàäàåò ïåðåíîñ òåïëà çà ñ÷åò òåïëîïðîâîäíîñòè; ìèãðàöèÿ âëàãè â ãðóíòå è íàëè÷èå ñíåãîâîãî ïîêðîâà íà ãëóáèíó ïðîìåðçàíèÿ íå âëèÿþò.

5.3. Íà÷àëüíóþ òåìïåðàòóðó òåïëîèçîëèðóþùåãî ñëîÿ t1 ïðèíèìàþò ïîñòîÿííîé ïî åãî òîëùèíå è ðàâíîé òåìïåðàòóðå âîçäóõà â ìîìåíò óñòðîéñòâà ñëîÿ ÁÒÏ (ðèñ. 5.1, Á).

5.4. Ãîäîâîé õîä òåìïåðàòóðû âîçäóõà ïî ìåñÿöàì ïðèíèìàåòñÿ íà îñíîâå ìíîãîëåòíèõ ñòàòèñòè÷åñêèõ äàííûõ (òàáë. 1 ÑÍèÏ II.6-72) è ïðåäïîëàãàåòñÿ èçìåíÿþùèìñÿ ïî ñëåäóþùåìó çàêîíó (ðèñ. 5.2):

,                                             (5.1)

ãäå tñð -  ñðåäíåãîäîâàÿ òåìïåðàòóðà âîçäóõà, °Ñ;

T -   ïåðèîä èçìåíåíèÿ òåìïåðàòóðû âîçäóõà çà ãîä, ÷àñ; Ò = 8760 ÷àñ;

τ -    ðàñ÷åòíîå âðåìÿ ñ ìîìåíòà íàíåñåíèÿ ñëîÿ ÁÒÏ äî íà÷àëà ðàçðàáîòêè ãðóíòà â êàðüåðå, ÷àñ;

Δτ - âðåìÿ, îòñ÷èòûâàåìîå îò ìîìåíòà ïåðåõîäà êðèâîé òåìïåðàòóðû âîçäóõà ÷åðåç 0 °Ñ äî ìîìåíòà, ñîîòâåòñòâóþùåãî íà÷àëó îòåïëåíèÿ ãðóíòà, ÷àñ; Δτ áåðåòñÿ ñî çíàêîì (+) ïðè ïîëîæèòåëüíîé tñð è ñî çíàêîì (-) - ïðè îòðèöàòåëüíîé tñð;

tm = 0,5 (t+max + t-max),                                                        (5.2)

ãäå t+max - ìàêñèìàëüíîå çíà÷åíèå ñðåäíåìåñÿ÷íîé ïîëîæèòåëüíîé òåìïåðàòóðû;

t+max - ìàêñèìàëüíîå çíà÷åíèå ñðåäíåìåñÿ÷íîé îòðèöàòåëüíîé òåìïåðàòóðû, ïðèíèìàåìîé ïî òàáë. ÑÍèÏ II-À.6-72.

5.5. Ðàñïðåäåëåíèå òåìïåðàòóðû â ãðóíòå â ìîìåíò íàíåñåíèÿ ñëîÿ ÁÒÏ ïðèíèìàåòñÿ ïî ôîðìóëå (ñì. ðèñ. 5.1, Á):

Ðèñ. 5.1. Èñõîäíàÿ ìîäåëü äëÿ ðàñ÷åòà òåïëîèçîëèðóþùåãî ñëîÿ:

À - ãðóíòîâîå ïîëóïðîñòðàíñòâî ñ îòåïëÿþùèì ñëîåì ÁÒÏ; Á - íà÷àëüíîå ðàñïðåäåëåíèå òåìïåðàòóð â ãðóíòå ïîä ÁÒÏ

tzp(Z) = tzp - (tzp - tzp0)e-μZ,                                              (5.3)

ãäå tzp -   ðàâíîâåñíàÿ òåìïåðàòóðà íà ãëóáèíå 3 - 6 ì, °Ñ;

tzp0 -   òåìïåðàòóðà íà ïîâåðõíîñòè ãðóçà â ìîìåíò óêëàäêè ÁÒÏ, °Ñ;

μ -      ïîñòîÿííûé êîýôôèöèåíò; μ ≥ 0;

Z -      ãëóáèíà, ì.

Êîýôôèöèåíò μ ïîäáèðàþò ïî äàííûì ðàñïðåäåëåíèÿ òåìïåðàòóðû ãðóíòà ïî ãëóáèíå.

Ðèñ. 5.2. Êðèâàÿ èçìåíåíèÿ òåìïåðàòóðû âîçäóõà (ã. Âîëãîãðàä)

5.6. Çà ìîìåíò íàíåñåíèÿ ñëîÿ ÁÒÏ íà ïîâåðõíîñòü ãðóíòà â êàðüåðå ðåêîìåíäóåòñÿ ïðèíèìàòü ìîìåíò, ñîîòâåòñòâóþùèé ïåðåõîäó êðèâîé òåìïåðàòóðû âîçäóõà ÷åðåç 0 °Ñ.

5.7. Òîëùèíà òåïëîèçîëèðóþùåãî ñëîÿ äîëæíà îáåñïå÷èâàòü ïîëíóþ çàùèòó ãðóíòà îò ïðîìåðçàíèÿ, â ñâÿçè ñ ÷åì òåìïåðàòóðà ãðóíòà íà êîíòàêòå ñ òåïëîèçîëÿòîðîì [tê] äîïóñêàåòñÿ:

äëÿ ïåñêà îò -0,3 äî -0,6 °Ñ;

äëÿ ñóãëèíêà îò -0,9 äî -1,4 °Ñ;

äëÿ ãëèíû îò -1,8 äî -2,0 °Ñ.

Çäåñü [tê] - òåìïåðàòóðà ëüäîîáðàçîâàíèÿ â ãðóíòå.

5.8. Ïðè íàçíà÷åíèè òîëùèíû òåïëîèçîëèðóþùåãî ñëîÿ èñïîëüçóþò ðàñ÷åòíûå çíà÷åíèÿ ñëåäóþùèõ òåïëîôèçè÷åñêèõ õàðàêòåðèñòèê ÁÒÏ è ãðóíòà:

êîýôôèöèåíòû òåïëîïðîâîäíîñòè è òåìïåðàòóðîïðîâîäíîñòè;

óäåëüíóþ òåïëîåìêîñòü.

Çíà÷åíèÿ òåïëîôèçè÷åñêèõ õàðàêòåðèñòèê ÁÒÏ è ãðóíòîâ ñëåäóåò îïðåäåëÿòü ýêñïåðèìåíòàëüíûì ïóòåì, íàïðèìåð, ïî ìåòîäèêå, ïðåäëàãàåìîé â «Ìåòîäè÷åñêèõ ðåêîìåíäàöèÿõ ïî ïðîåêòèðîâàíèþ è óñòðîéñòâó òåïëîèçîëèðóþùèõ ñëîåâ íà ïó÷èíîîïàñíûõ ó÷àñòêàõ àâòîìîáèëüíûõ äîðîã» îþçäîðíèè. Ì., 1976).

Ïðè îòñóòñòâèè òðåáóåìîé àïïàðàòóðû òåïëîôèçè÷åñêèå ïîêàçàòåëè ìàòåðèàëîâ ìîæíî íàçíà÷àòü ïî äàííûì òàáë. 5.1 è ðèñ. 5.3.

Ðèñ. 5.3. Çàâèñèìîñòü êîýôôèöèåíòà òåïëîïðîâîäíîñòè îò îáúåìíîé ìàññû ÁÒÏ

Êîýôôèöèåíò òåìïåðàòóðîïðîâîäíîñòè ñëåäóåò îïðåäåëÿòü ïî ôîðìóëå

,                                                              (5.4)

ãäå λ -  êîýôôèöèåíò òåïëîïðîâîäíîñòè, ;

c -  óäåëüíàÿ òåïëîåìêîñòü, ;

γ -  îáúåìíàÿ ìàññà, êã/ì3.

Óäåëüíàÿ òåïëîåìêîñòü ÁÒÏ ïðè èçìåíåíèè ïëîòíîñòè ìàòåðèàëà îò 20 äî 60 êã/ì3 ïðèíèìàåòñÿ 0,32 - 0,35 .

Òàáëèöà 5.1

Âèä ãðóíòà

Îñíîâíûå õàðàêòåðèñòèêè âëàæíîãî ãðóíòà

Âëàæíîñòü, %

Îáúåìíàÿ ìàññà, êã/ì3

Óäåëüíàÿ òåïëîåìêîñòü,

Êîýôôèöèåíò òåïëîïðîâîäíîñòè,

Êîýôôèöèåíò òåìïåðàòóðîïðîâîäíîñòè, ì2/÷àñ

Ïåñîê

10

1700

0,253

1,75

0,00407

20

1900

0,336

1,9

0,00298

30

2171

0,419

2,05

0,00225

40

2533

0,502

2,22

0,00175

Ñóãëèíîê

10

1711

0,258

1,4

0,00317

20

1925

0,340

1,65

0,00252

30

2200

0,422

1,96

0,00211

40

2567

0,505

2,31

0,00178

Ãëèíà

10

1622

0,262

1,10

0,00259

20

1825

0,344

1,39

0,00211

30

2086

0,426

1,88

0,00196

40

2416

0,508

2,40

 

5.9. Îêîí÷àòåëüíûé ðàñ÷åò òîëùèíû òåïëîèçîëèðóþùåãî ñëîÿ èç ÁÒÏ âåäåòñÿ ïî ôîðìóëå, ïðèâåäåííîé â ïðèëîæåíèè 3 íàñòîÿùèõ «Ìåòîäè÷åñêèõ ðåêîìåíäàöèé». Ââèäó òðóäîåìêîñòè ðàñ÷åòà åãî ðåêîìåíäóåòñÿ ïðîèçâîäèòü íà ÝÂÌ*).

*)  Ëåíèíãðàäñêîì ôèëèàëå Ñîþçäîðíèè ðàçðàáîòàíà ïðîãðàììà ðàñ÷åòà íà ÝÂÌ «Íàèðè-2». Îíà ìîæåò áûòü âûñëàíà çàèíòåðåñîâàííûì îðãàíèçàöèÿì ïî çàïðîñó.

Ðèñ. 5.4. Îïðåäåëåíèå íåîáõîäèìîé òîëùèíû ÁÒÏ, îáåñïå÷èâàþùåé ïîëíóþ çàùèòó ïåñ÷àíîãî (ñóïåñ÷àíîãî) ãðóíòà îò ïðîìåðçàíèÿ ïðè ðàçëè÷íîé íîðìàòèâíîé ãëóáèíå ïðîìåðçàíèÿ ãðóíòà h0: 2,4 ì (1); 1,9 ì (2); 1,6 ì (3); 1,4 ì (4); 1,2 ì (5); 0,9 ì (6)

5.10. Ïðè îòåïëåíèè êàðüåðà, ñëîæåííîãî èç ïåñ÷àíîãî èëè ñóïåñ÷àíîãî ãðóíòà, òîëùèíó çàùèòíîãî ñëîÿ ÁÒÏ ìîæíî îïðåäåëÿòü ïî íîìîãðàììå ðèñ. 5.4 â ñîîòâåòñòâèè ñ íîðìàòèâíîé ãëóáèíîé ïðîìåðçàíèÿ ãðóíòà, óêàçàííîé â ïðèëîæåíèè 4. Íîìîãðàììà ïîñòðîåíà äëÿ ÁÒÏ ñ îáúåìíîé ìàññîé 60 êã/ì3. Äëÿ ÁÒÏ ñ 30 êã/ì3 ðàñ÷åòíóþ òîëùèíó îòåïëÿþùåãî ñëîÿ óìåíüøàþò â äâà ðàçà. Âëèÿíèå ñíåãîâîãî ïîêðîâà íå ó÷èòûâàåòñÿ.

5.11. Ïðè èñïîëüçîâàíèè ïåíîëüäà äëÿ óñèëåíèÿ äåéñòâèÿ ÁÒÏ òîëùèíà ïîñëåäíåé ìîæåò áûòü íåñêîëüêî ñíèæåíà.  ýòîì ñëó÷àå íåîáõîäèìóþ òîëùèíó ñëîÿ ÁÒÏ ïðèíèìàþò, èñõîäÿ íå èç íîðìàòèâíîé ãëóáèíû ïðîìåðçàíèÿ ãðóíòà, à èç ãëóáèíû ïðîìåðçàíèÿ ãðóíòà ïîä ñíåãîì â ñîîòâåòñòâèè ñ íîðìàòèâíîé òîëùèíîé ñíåãîâîãî ïîêðîâà (ðèñ. 5.5). Ñóììàðíàÿ òîëùèíà ïåíîëüäà è ñíåãà äîëæíà ïðåâûøàòü íîðìàòèâíóþ òîëùèíó ñíåãîâîãî ïîêðîâà â äåêàáðå - ÿíâàðå.

Ðèñ. 5.5. Ãëóáèíà ïðîìåðçàíèÿ ãðóíòà áåç óòåïëåíèÿ (1) è ïîä ñíåãîì èëè ïåíîëüäîì ïðè òîëùèíå ñëîÿ 0,2 ì (2); 0,2 - 0,4 ì (3); 0,4 - 0,6 ì (4); áîëåå 0,6 ì (5)

5.12. Äëÿ ñîêðàùåíèÿ ðàñõîäà îòåïëÿþùåãî ìàòåðèàëà òîëùèíó ÁÒÏ ñëåäóåò ðàññ÷èòûâàòü â ñîîòâåòñòâèè ñî ñðîêîì ðàçðàáîòêè ãðóíòà â êàðüåðå. Ïðè ýêñïëóàòàöèè êàðüåðà â òå÷åíèå âñåãî çèìíåãî ïåðèîäà íà îñíîâàíèè ðàñ÷åòîâ ñòðîèòñÿ ëèíåéíûé ãðàôèê îòåïëåíèÿ (ðèñ. 5.6), â ñîîòâåòñòâèè ñ êîòîðûì è ïðîèçâîäÿò ðàçáèâêó òåððèòîðèè è ðîçëèâ ïåíû ïî ïîâåðõíîñòè êàðüåðà (ñì. ï. 4.4).

Ðèñ. 5.6. Ëèíåéíûé ãðàôèê îòåïëåíèÿ ãðóíòà ñ ïîìîùüþ ÁÒÏ (1); ÁÒÏ è ñíåãà èëè ïåíîëüäà (2); äèíàìèêà íàðàñòàíèÿ ñíåãîâîãî ïîêðîâà (3)

Íåîáõîäèìóþ òîëùèíó ÁÒÏ íàõîäÿò ïî íèæíåé ÷àñòè íîìîãðàììû (ñì. ðèñ. 5.4) äëÿ êàæäîãî ìåñÿöà ïî âåëè÷èíå íîðìàòèâíîé ãëóáèíû ïðîìåðçàíèÿ ãðóíòà h0.

6. Ñòîèìîñòü ðàáîò

6.1. Ñòîèìîñòü îòåïëåíèÿ ãðóíòà îïðåäåëÿåòñÿ: îòïóñêíîé öåíîé èñõîäíûõ ïðîäóêòîâ è äàëüíîñòüþ äîñòàâêè ê ìåñòó ðàáîò, ñòåïåíüþ òåõíîëîãè÷íîñòè è ìåõàíèçàöèè, ïëîòíîñòüþ (êðàòíîñòüþ) ïåíû, òîëùèíîé çàùèòíûõ ñëîåâ è ïëîùàäüþ îòåïëÿåìîãî êàðüåðà.

6.2. Ïðè ðàñ÷åòå îðèåíòèðîâî÷íîé ñòîèìîñòè ñèíòåòè÷åñêîé ïåíû, èçãîòîâëåííîé ñ ïîìîùüþ ïåðåäâèæíûõ ïåíîãåíåðàòîðîâ èç ñìîë êëàññà ìî÷åâèíî-ôîðìàëüäåãèäíûõ, ìîæíî ïðèíèìàòü, ÷òî ïî îòíîøåíèþ ê îáùåé ñåáåñòîèìîñòè ïåíîïëàñòà ñòîèìîñòü ìàòåðèàëîâ ñîñòàâëÿåò îò 70 äî 83 %, ðàñõîäû íà ìåõàíèçàöèþ è îïëàòó òðóäà - îò 5 äî 15 %, ïðî÷èå ðàñõîäû (òðàíñïîðò, ïåðåáàçèðîâêà è àìîðòèçàöèÿ ìåõàíèçìîâ) - 2 - 6 %.

6.3. Ïðèìåðíàÿ êàëüêóëÿöèÿ ñåáåñòîèìîñòè 1 ì3 ïåíîïëàñòà îáúåìíîé ìàññîé 30 - 40 êã/ì3, èçãîòîâëåííîãî íà îñíîâå ñìîëû Ì19-62 ñ ïîìîùüþ ïåíîãåíåðàòîðà ÑèáÍÈÈÃèÌà, ïðèâåäåíà â òàáë. 6.1.

Òàáëèöà 6.1

Ñòàòüÿ çàòðàò

Ðàñõîä, êã

Îòïóñêíàÿ, öåíà 1 êã, ðóá.

Ñóììàðíàÿ ñòîèìîñòü, ðóá.

Ñìîëà Ì19-62

17

0,18

3,06

Ùàâåëåâàÿ êèñëîòà (ñóõàÿ)

0,4

1,60

0,64

Ïåíîîáðàçîâàòåëü ÏÎ-

2

0,35

0,70

Ìåõàíèçàöèÿ è çàðïëàòà

-

-

0,60

Òðàíñïîðòèðîâêà êîìïîíåíòîâ è ïåðåáàçèðîâêà ìàøèí

-

-

0,15

Èòîãî:

 

 

5,15

6.4. Ñåáåñòîèìîñòü ïåíîïëàñòà ìîæíî çíà÷èòåëüíî ñíèçèòü ïóòåì ïîâûøåíèÿ êðàòíîñòè ÁÒÏ (ðèñ. 6.1). Îäíàêî íå ðåêîìåíäóåòñÿ áåñêîíå÷íî ïîâûøàòü êðàòíîñòü ïåíû, òàê êàê ïðè ýòîì ðåçêî ïàäàåò ïðî÷íîñòü è ðàñòåò óñàäêà ÁÒÏ. Äëÿ ðàéîíîâ Ñåâåðî-Çàïàäà ÑÑÑÐ îïòèìàëüíàÿ êðàòíîñòü ïåíû íå áîëåå 30 - 40.

Ðèñ. 6.1. Çàâèñèìîñòü ñòîèìîñòè ïåíîïëàñòà îò òîëùèíû ñëîÿ è êðàòíîñòè ïåíû (öèôðû íà êðèâûõ - êðàòíîñòü ïåíû)

6.5. Ýêîíîìè÷åñêóþ ýôôåêòèâíîñòü îòåïëåíèÿ ãðóíòà ñèíòåòè÷åñêîé ïåíîé è ïåíîëüäîì ìîæíî îïðåäåëèòü ïî íîìîãðàììå ðèñ. 6.2. Çäåñü ïðèâåäåíà ñòîèìîñòü êàê îòåïëåíèÿ, òàê è ðûõëåíèÿ ìåðçëîãî ãðóíòà ìåõàíè÷åñêèì ñïîñîáîì â ñëó÷àå ñâîáîäíîãî ïðîìåðçàíèÿ ãðóíòà â êàðüåðå. Ñòîèìîñòü ðàáîò äàíà â çàâèñèìîñòè îò íîðìàòèâíîé ãëóáèíû ïðîìåðçàíèÿ ãðóíòà.

Ðèñ. 6.2. Ýêîíîìè÷åñêîå ñðàâíåíèå ñòîèìîñòè îòåïëåíèÿ è ðûõëåíèÿ ìåðçëîãî ãðóíòà:

1 - îòåïëåíèå ïðîìûøëåííûì ïåíîïëàñòîì (ìèïîðîé); 2 - îòåïëåíèå ñ ïîìîùüþ ÁÒÏ (γ = 80 - 90 êã/ì3); 3 - ðûõëåíèå øàð-ìîëîòîì èëè ñ ïîìîùüþ âçðûâà è ïîñëåäóþùåãî äðîáëåíèÿ è óïëîòíåíèÿ ìåðçëûõ êîìüåâ; 4 - îòåïëåíèå ÁÒÏ (γ = 50 - 60 êã/ì3); 5 - ðûõëåíèå íàâåñíûì ðûõëèòåëåì ñ ïîñëåäóþùèì äðîáëåíèåì è óïëîòíåíèåì ìåðçëûõ êîìüåâ; 6 - çàñîëåíèå õëîðèñòûì íàòðèåì; 7 - îòåïëåíèå ñ ïîìîùüþ ÁÒÏ (γ = 20 - 30 êã/ì3); 8 - îòåïëåíèå ïåíîëüäîì

6.6. Ïîëíóþ ñòîèìîñòü îòåïëåíèÿ êàðüåðîâ â êàæäîì êîíêðåòíîì ñëó÷àå îïðåäåëÿþò, óìíîæàÿ ñåáåñòîèìîñòü ïåíîïëàñòà (ñì. ï. 6.3) íà ïîòðåáíîå êîëè÷åñòâî ìàòåðèàëà, ïîäñ÷èòàííîå ïî ãðàôèêó îòåïëåíèÿ êàðüåðà â çàâèñèìîñòè îò çàïëàíèðîâàííîãî âðåìåíè ðàçðàáîòêè ãðóíòà (ñì. ðèñ. 5.6).

7. Òåõíèêà áåçîïàñíîñòè

7.1. Ðàçðåøåíèå íà óêëàäêó ÁÒÏ äàåòñÿ ïîñëå ïðîâåðêè êðåïëåíèÿ âñåõ óçëîâ ïåíîãåíåðàòîðà è ïðîâåäåíèÿ ãèäðàâëè÷åñêèõ èñïûòàíèé ïîä äàâëåíèåì. Áàêè äëÿ ðàñòâîðîâ ýìóëüñèè, ñìîëû è êèñëîòû íåîáõîäèìî èñïûòûâàòü â ñîîòâåòñòâèè ñ ïðàâèëàìè êîòëîíàäçîðà. Âñå äîçèðóþùèå è êîíòðîëèðóþùèå äàâëåíèå ïðèáîðû äîëæíû áûòü èñïðàâíû è ñîîòâåòñòâîâàòü ïàñïîðòíûì äàííûì.

7.2. Ïðè ðàáîòå ñ êèñëîòàìè ñëåäóåò ñîáëþäàòü îñîáóþ îñòîðîæíîñòü, ðàáî÷èå äîëæíû èìåòü çàùèòíóþ îäåæäó (ðåçèíîâûå ïåð÷àòêè, ôàðòóêè, ñàïîãè, î÷êè).

7.3.  ñâÿçè ñ âîçìîæíîñòüþ âûäåëåíèÿ ïðè ðîçëèâå ïåíû ñâîáîäíîãî ôîðìàëüäåãèäà ìåñòî ðàáîò íåîáõîäèìî îãðàæäàòü, à ðàáî÷èõ ñíàáæàòü ïðîòèâîãàçàìè èëè çàùèòíûìè ìàñêàìè.

7.4. Ðåìîíòèðîâàòü è çàêðåïëÿòü îòäåëüíûå ýëåìåíòû è óçëû ïåíîãåíåðàòîðà ìîæíî òîëüêî ïîñëå ïîëíîé îñòàíîâêè ìàøèíû è ñíèæåíèÿ äàâëåíèÿ â áàêàõ äî 0.

7.5. Òðàíñïîðòèðîâêà ìàòåðèàëîâ è ïðèãîòîâëåíèå ðàáî÷èõ ðàñòâîðîâ äîëæíû îñóùåñòâëÿòüñÿ â ñîîòâåòñòâèè ñ òðåáîâàíèÿìè òåõíè÷åñêèõ óñëîâèé è ÃÎÑÒîâ íà ýòè ìàòåðèàëû.

ÏÐÈËÎÆÅÍÈß

Ïðèëîæåíèå 1

Òèï êàðáàìèäíûõ ñìîë

Îñíîâíûå ñâîéñòâà ñìîë

Êîíöåíòðàöèÿ, %, íå ìåíåå

Ïðåëîìëåíèå

Âÿçêîñòü, ñåê

Ñîäåðæàíèå ñâîáîäíîãî ôîðìàëüäåãèäà, %, íå áîëåå

Êèñëîòíîå ÷èñëî pH

Ñðîê õðàíåíèÿ, ìåñÿöû

Êàòàëèçàòîð (êèñëîòà)

ïî Â3-1

ïî Â3-4

ÌÔ (ÌÐÒÓ 605-1006-66)..................

65

1,440 - 1,450

-

35 - 100

3

7,0 - 8,5

2

Ñîëÿíàÿ

Ì-48 (ÂÒÓ 560-58).............................

48 - 50

1,417 - 1,425

-

13 - 20

0,9 - 1,2

-

12

ÌÔ-17*) (ÌÐÒÓ 6-05-1006-66)........

70

1,475 - 1,500

40 - 100

-

3

7,0 - 8,5

4

Ñîëÿíàÿ, ùàâåëåâàÿ

ÓÊÑ*) (ÌÐÒÓ 6-05-1006-66).............

70

-

40 - 100

-

1,2

7,5 - 9,0

2

Ôîñôîðíàÿ

Ì19-62*) (ÌÐÒÓ 13-06-4-67)............

60 - 70

1,456 - 1,480

-

20 - 300

0,016

7,2 - 8,0

3

Ôîñôîðíàÿ, ùàâåëåâàÿ

Êðåïèòåëü Ê-2*) (ÒÓ 84-166-70)......

50 - 55

-

-

12 - 30

0,5

7,0 - 8,0

4

Ñîëÿíàÿ

*) Óêàçàííûå ñìîëû èñïîëüçîâàëè äëÿ ïîëó÷åíèÿ ÁÒÏ äëÿ îòåïëåíèÿ ãðóíòîâ. Îòïóñêíàÿ öåíà ñìîë - 180 - 220 ðóá./ò.

Êîíòðîëüíûå èñïûòàíèÿ ñìîëû

Ìî÷åâèíî-ôîðìàëüäåãèäíûå ñìîëû ïðåäñòàâëÿþò ñîáîé ìàëîâÿçêèå æèäêîñòè áåëîãî èëè æåëòîâàòîãî öâåòà; õîðîøî ðàñòâîðÿþòñÿ â âîäå.

Ïåðåä óïîòðåáëåíèåì ñìîë ñëåäóåò îïðåäåëÿòü:

ðåàêòèâíîñòü (10 ìë âîäíîãî ðàñòâîðà ñìîëû ïîìåùàþò â ïðîáèðêó, êóäà äîáàâëÿþò íåñêîëüêî êàïåëü ìåòèëîðàíæà è âñòðÿõèâàþò ïðîáèðêó äëÿ ïîëó÷åíèÿ ðàâíîìåðíîé îêðàñêè.  ðàñòâîð âëèâàþò 2 ìë êîíöåíòðèðîâàííîé êèñëîòû è, ïåðåìåøèâàÿ åãî, îïðåäåëÿþò ìîìåíò âûïàäåíèÿ ãåëÿ. Ýòî âðåìÿ â ñåêóíäàõ è ÿâëÿåòñÿ ðåàêòèâíîñòüþ. Îíî íå äîëæíî ïðåâûøàòü 10 ñåê);

ïëîòíîñòü ïðîâåðÿþò àðåîìåòðîì; îíà äîëæíà ñîîòâåòñòâîâàòü ïàñïîðòíîé (1,15 - 1,20 ã/ñì3);

êèñëîòíîå ÷èñëî pH, ò.å. ñîäåðæàíèå ñâîáîäíîãî ôîðìàëüäåãèäà, îïðåäåëÿþò ñïåöèàëüíûì èñïûòàíèåì (òèòðîâàíèåì); pH äîëæíî áûòü íå áîëåå 7,0 - 8,5 %.

Õðàíèòü ñìîëó ñëåäóåò â ïðîõëàäíûõ ïîìåùåíèÿõ. Ïðè òåìïåðàòóðå âîçäóõà âûøå 20 °Ñ îíà áûñòðî ãóñòååò, òåðÿåò ñïîñîáíîñòü ðàñòâîðÿòüñÿ â âîäå, ïîñòåïåííî ïîëèìåðèçóåòñÿ.

Ïðèëîæåíèå 2

Òèï ïåíîîáðàçîâàòåëÿ

Îñíîâíûå õàðàêòåðèñòèêè ïåíîîáðàçîâàòåëÿ

Ïëîòíîñòü, êã/ì3

Ñîäåðæàíèå àêòèâíîãî âåùåñòâà, %

Îïòèìàëüíàÿ êîíöåíòðàöèÿ ðàñòâîðà, %

Êðàòíîñòü

Ñòîéêîñòü ïåíû, ìèí

Îòïóñêíàÿ öåíà, ðóá./ò

ÏÎ-1À «Ïðîãðåññ» (ÑÒÓ 49-1875-64)

1100

Áîëåå 20

4

6

4

300 - 360

ÏÎ-3À «Òèïîë» (ÒÓ 38-10917-73)

1100

25 - 30

2 - 3

6

4

400

«Âîëãîíàò» (ÌÐÒÓ 6-0139-65)

1150

70

0,1

8

4

900 - 1000

Ïðèìå÷àíèå. ÏÎ-1À è ÏÎ-3À - æèäêîñòè, «Âîëãîíàò» - ïàñòà.

Êîíòðîëüíûå èñïûòàíèÿ ïåíîîáðàçîâàòåëåé

Ïðè êîíòðîëüíûõ èñïûòàíèÿõ ïåíîîáðàçîâàòåëåé îïðåäåëÿþò:

ïëîòíîñòü - àðåîìåòðîì ïðè òåìïåðàòóðå 20 °Ñ;

âÿçêîñòü (ïî Ýíãëåðó) - ïî ìåòîäèêå ÃÎÑÒ 6258-52;

êðàòíîñòü ïåíû - ïóòåì âçáàëòûâàíèé âîäíîãî ðàñòâîðà ïåíîîáðàçîâàòåëÿ îïòèìàëüíîé êîíöåíòðàöèè (100 ñì3) â ñîñóäå åìêîñòüþ 1000 ñì3 ëèáî ñáèâàíèåì åãî êðûëü÷àòêîé â ïðèáîðå «èçìåëü÷èòåëü òêàíåé». Îòíîøåíèå îáúåìà ïåíû ê îáúåìó ðàñòâîðà ñ÷èòàåòñÿ êðàòíîñòüþ ïåíû;

ñòîéêîñòü ïåíû - ïî ñåêóíäîìåðó; ýòî âðåìÿ, â òå÷åíèå êîòîðîãî ïðîèñõîäèò ðàçðóøåíèå ïåíû íà 1/5 ñâîåãî îáúåìà.

Ïðèëîæåíèå 3

Äëÿ íàçíà÷åíèÿ òîëùèíû ñëîÿ ÁÒÏ h ïðè ñîîòâåòñòâóþùåì âðåìåíè îòåïëåíèÿ ãðóíòà τ ïðåäëàãàåòñÿ ôîðìóëà:

ãäå ; ;  (β1 ≠ 0); β2 = 0,5(1 + β1); β3 = 1 - β1, erfcx = 1 - erfc;

erfx - ôóíêöèÿ îøèáîê Ãàóññà.

Îñòàëüíûå îáîçíà÷åíèÿ ïðèâåäåíû â òåêñòå ðàçä. 5.

Çàäàâàÿñü òîëùèíîé ñëîÿ ÁÒÏ h è âðåìåíåì îòåïëåíèÿ τ, ðàññ÷èòûâàþò çíà÷åíèå [tê], êîòîðîå äëÿ ñîîòâåòñòâóþùåãî ãðóíòà äîëæíî íàõîäèòüñÿ â ïðåäåëàõ, óêàçàííûõ â ï. 5.7.

Ïîñêîëüêó â ôîðìóëó íå âêëþ÷åí ÷ëåí, ó÷èòûâàþùèé ïåðåõîäíûå ïðîöåññû, óäîâëåòâîðèòåëüíûå çíà÷åíèÿ [tê] ñîîòâåòñòâóþò íà÷àëüíîìó âðåìåíè îòåïëåíèÿ τ ≥ 250 ÷àñ, êîòîðîå è ñëåäóåò ïðèíèìàòü â êà÷åñòâå èñõîäíîãî.

×èñëî ÷ëåíîâ ðÿäîâ n îïðåäåëÿþò èñõîäÿ èç óñëîâèÿ βn1A, ãäå A - ëþáîå çàäàííîå ìàëîå ÷èñëî, íàïðèìåð A = 0,01.

 ïðèëîæåíèè 4 ïðèâåäåíû íåîáõîäèìûå ïðè ðàñ÷åòàõ äàííûå ïî îòäåëüíûì ãîðîäàì ÑÑÑÐ.


Ïðèëîæåíèå 4

Ãîðîä

Ñðåäíåãîäîâàÿ òåìïåðàòóðà âîçäóõà tñð, °Ñ

Àìïëèòóäíîå çíà÷åíèå òåìïåðàòóðû, îòñ÷èòûâàåìîå îò ñðåäíåãîäîâîé tm, °Ñ

Âðåìÿ îò ìîìåíòà ïåðåõîäà êðèâîé òåìïåðàòóðû âîçäóõà ÷åðåç 0 °Ñ äî íà÷àëà îòåïëåíèÿ ãðóíòà Δτ, ÷àñ

Ðàçíîâåñíàÿ òåìïåðàòóðà ãðóíòà íà ãëóáèíå 3 - 5 ì tφ = 0 °C

Êîýôôèöèåíò, õàðàêòåðèçóþùèé íà÷àëüíîå ðàñïðåäåëåíèå òåìïåðàòóðû â ãðóíòå n

Íîðìàòèâíàÿ ãëóáèíà ïðîìåðçàíèÿ no, ñì

Ñóììà çèìíèõ ãðàäóñî-äíåé Σ - tçèì

Ñðåäíÿÿ òîëùèíà ñíåãîâîãî ïîêðîâà nñí, ñì

Òîëùèíà ÁÒÏ h, ì

Âðåìÿ ñ ìîìåíòà îòåïëåíèÿ äî íà÷àëà ðàçðàáîòêè ãðóíòà τ, ÷àñ

Àðõàíãåëüñê

0,8

14,05

120

5,5

1,5

160

1525

66

0,05

600

0,075

800

0,10

1000

0,15

1400

0,20

1750

0,25

2250

0,275

2500

0,30

3000

Âîëãîãðàä

7,6

16,7

720

15,0

1,75

110

781

-

0,025

500

0,05

1000

0,075

1700

0,085

2000

-

-

-

-

Âîëîãäà

2,4

14,4

288

5,5

0,75

150

1256

48

0,05

500

0,075

750

0,10

950

0,15

1200

0,20

1750

0,225

2000

0,25

2250

0,275

2750

Ãîðüêèé

3,1

15,0

324

8,75

2,0

155

950

59

0,05

700

0,075

1000

0,10

1300

0,125

1500

0,15

1875

0,175

2375

-

-

Ëåíèíãðàä

4,3

12,8

724

8,0

0,5

120

810

32

0,10

1000

0,125

1375

0,15

1875

-

-

-

-

-

Ìîñêâà

4,8

14,3

600

7,0

1,5

140

986

48

0,05

600

0,075

875

0,10

1200

0,125

1500

0,15

2000

-

-

-

Îìñê

0

18,75

0

7,5

1,5

220

2000

24

0,025

250

0,05

625

0,10

1150

0,125

1400

0,15

1600

0,175

1800

0,20

2000

0,225

2250

 

 

 

 

0,25

2750

0,275

3250

 

 

 

Îðåíáóðã

3,9

18,35

360

9,5

1,5

180

1597

57

0,025

350

0,05

625

0,075

900

0,1

1200

0,15

1700

0,175

2125

0,2

2500

-

Ïñêîâ

4,6

12,5

600

7,0

1,75

110

691

21

0,05

650

0,075

1000

0,10

1400

0,125

1900

-

-

-

-

Ðèãà

5,6

11,05

816

7,0

2,0

90

460

23

0,025

450

0,05

850

0,075

1300

0,09

1750

-

-

-

-

Ðîñòîâ-íà-Äîíó

8,7

14,3

1008

10,0

2,0

85

360

13

0,025

400

0,05

900

0,055

1150

0,06

1250

0,065

1500

0,07

1600

-

-

Ñûêòûâêàð

0,3

15,9

96

7,5

1,5

190

2737

54

0,10

1100

0,125

1250

0,15

1450

0,175

1750

0,20

1900

0,225

2200

0,25

2500

-

Òàëëèí

5,0

11,05

816

7,2

2,25

100

610

28

0,05

750

0,075

1250

0,08

1400

0,085

1500

0,09

1750

0,095

1900

0,10

1950

0,105

2050

Òîìñê

0,6

18,6

0

7,5

1,0

240

2215

60

0,075

750

0,10

950

0,15

1300

0,20

1650

0,25

2000

0,30

2400

0,35

2700

-

Ïðèìå÷àíèå. Òîëùèíà ñëîÿ ÁÒÏ ðàññ÷èòàíà äëÿ îòåïëåíèÿ ïåñ÷àíûõ è ñóïåñ÷àíûõ ãðóíòîâ (w = 10 ÷ 15 %) ñ èñïîëüçîâàíèåì ïåíû ïëîòíîñòüþ 50 - 60 êã/ì31 = 0,075 êêàë/ì · ÷àñ · ãðàä; c = 0,32 êêàë/êã · ãðàä).





ßíäåêñ öèòèðîâàíèÿ



   Copyright © 2007-2026,  www.tehlit.ru.

[ ƒîñòû, ñòàíäàðòû, íîðìàòèâû, èíñòðóêöèè, ïðàâèëà, ñòðîèòåëüíûå íîðìû ]