//
ТехЛит.ру
- крупнейшая бесплатная электронная интернет библиотека для "технически умных" людей.
WWW.TEHLIT.RU - ТЕХНИЧЕСКАЯ ЛИТЕРАТУРА

:: Алготрейдинг::


АЛГОТРЕЙДИНГ
шаг за шагом
с нуля по урокам!

Торговые роботы на PYTHON, BackTrader,
Pandas, Pine Script для TradingView. Связка с брокерами, телеграм и легкими приложениями.


Федеральный горный и промышленный надзор России
(Госгортехнадзор России)

Серия 09

Нормативные документы по безопасности,
надзорной и разрешительной деятельности
в химической, нефтехимической и
нефтеперерабатывающей промышленности

Выпуск 4

МЕТОДИКА
РАСЧЕТА ЗОН ЗАТОПЛЕНИЯ ПРИ
ГИДРОДИНАМИЧЕСКИХ АВАРИЯХ
НА ХРАНИЛИЩАХ ПРОИЗВОДСТВЕННЫХ
ОТХОДОВ ХИМИЧЕСКИХ ПРЕДПРИЯТИЙ

РД 09-391-00

Москва

Государственное унитарное предприятие
«Научно-технический центр по безопасности в промышленности
Госгортехнадзора России»

2002

Методика предназначена для расчета зон затопления и количественной оценки уровня безопасности при гидродинамической аварии на эксплуатируемых и проектируемых хранилищах шламов, жидких производственных отходов, стоков и технических вод.

СОДЕРЖАНИЕ

Введение. 2

1. Общие положения. 2

2. Расчет распространения отходов, содержащихся в хранилище, в случае разрушения ограждающей дамбы.. 4

2.1. Основные положения, принимаемые при расчете. 4

2.2. Расчет образования прорана (процесса разрушения дамбы) 4

2.3. Определение параметров потока в сечении у подошвы откоса дамбы.. 9

2.4. Расчет максимальных параметров потока по трассе растекания. 11

2.5. Определение параметров загрязнения почвы, грунтовых вод и поверхностных водоемов вредными веществами, содержащимися в отходах. 13

2.6. Показатели последствий гидродинамических аварий на хранилищах отходов предприятий химического комплекса. 15

Список литературы.. 17

Приложение 1. Вывод формул расчета плотности и вязкости жидкости для отходов с неоднородным составом.. 18

Приложение 2. Функции относительной глубины φ(ηij) 19

Приложение 3. Предельно допустимые концентрации в почве (пдк) некоторых химических веществ, характерных для хранилищ жидких отходов предприятий химического комплекса. 22

Приложение 4. Предельно допустимые концентрации в воде (пдк) некоторых химических веществ, характерных для хранилищ жидких отходов предприятий химического комплекса. 22

Приложение 5. Характер разрушений инженерно-технического комплекса промышленного объекта при воздействии волны прорыва. 23

Утверждена

постановлением Госгортехнадзора

России от 04.11.00 № 65

Введена в действие 04.11.00

МЕТОДИКА РАСЧЕТА ЗОН ЗАТОПЛЕНИЯ ПРИ ГИДРОДИНАМИЧЕСКИХ АВАРИЯХ НА ХРАНИЛИЩАХ ПРОИЗВОДСТВЕННЫХ ОТХОДОВ ХИМИЧЕСКИХ ПРЕДПРИЯТИЙ

РД 09-391-00

ВВЕДЕНИЕ

Методика предназначена для расчета зон затопления и количественной оценки уровня безопасности при гидродинамической аварии на эксплуатируемых и проектируемых хранилищах шламов, жидких производственных отходов, стоков и технических вод (далее - хранилища).

При разработке Методики расчета зон затопления при гидродинамических авариях на хранилищах производственных отходов химических предприятий (далее - Методика) учтены требования следующих документов:

Федерального закона Российской Федерации от 21.07.97 № 117 «О безопасности гидротехнических сооружений*»;

* Далее - ГТС.

Постановления Правительства Российской Федерации от 06.11.98 № 1303 «Об утверждении положения о декларировании безопасности гидротехнических сооружений».

В Методике учтены особенности хранилищ отходов химического промышленного комплекса, в том числе:

наличие в хранилищах высокотоксичных и токсичных веществ, веществ, представляющих опасность для окружающей природной среды (далее - вредные вещества);

размещение хранилищ на местности с относительно плавными формами рельефа недалеко от поверхностных водоемов, на промплощадках предприятий, в непосредственной близости от населенных пунктов и сельскохозяйственных угодий;

устройство ограждающих дамб из песчаных, супесчаных и суглинистых грунтов.

Методика может быть использована для расчета зон затопления и количественной оценки уровня безопасности при авариях на хранилищах предприятий других отраслей промышленности.

1. ОБЩИЕ ПОЛОЖЕНИЯ

1.1. При аварии на хранилищах отходов и стоков происходит разрушение ограждающих дамб и разлив содержимого хранилищ, вызывающий:

затопление окружающих территорий, в том числе мест временного или постоянного присутствия человека, зданий и сооружений;

распространение волной прорыва вредных веществ, которое приводит к загрязнению почв и земель, грунтовых вод, поверхностных водоемов, источников питьевого водоснабжения.

1.2. Опасность аварий определяется последствиями возникающих чрезвычайных ситуаций (ЧС).

1.3. При разработке Методики использованы традиционные положения теории русловых процессов, безнапорного гидротранспорта грунтов, а также Рекомендации по расчету охранных зон хвостохранилищ, выпущенные ВНИИПИ механической обработки полезных ископаемых (МЕХАНОБР) в 1984 году [1 - 7].

1.4. Методика позволяет определить показатели, характеризующие аварию и ее последствия:

границы зоны затопления;

время образования прорана (время от начала до полного истечения жидкости из хранилища);

размеры прорана;

расходы и объемы жидких отходов, выливающихся по мере развития прорана;

высота, скорость и гидродинамическое давление волны прорыва по пути движения;

параметры загрязнения вредными веществами почвы, грунтовых и поверхностных вод;

показатели последствий аварий по воздействию волны прорыва на человека, здания и сооружения;

показатели последствий аварий по воздействию на окружающую природную среду.

1.5. Методика предназначена для использования:

предприятиями и организациями, эксплуатирующими хранилища;

проектными и экспертными организациями;

другими организациями, по роду своей деятельности связанными с обеспечением безопасности хранилищ;

при декларировании безопасности ГТС;

при определении возможности дальнейшей эксплуатации хранилищ и других работах, в которых требуется количественная оценка уровня безопасности.

1.6. Полученные показатели последствий аварии могут быть использованы при оценке ущерба окружающей природной среде, материальных потерь, границ зон поражающих факторов и классификации ЧС.

1.7. Основные термины и определения, используемые в методике.

Затопление - повышение уровня воды водотока, водоема или подземных вод, приводящее к образованию свободной поверхности воды на участке территории [8, 9].

Катастрофическое затопление - территория, на которой затопление имеет глубину 1,5 м и более и может повлечь за собой разрушения зданий и сооружений, гибель людей, вывод из строя оборудования предприятий [10].

Зона затопления - зона, в пределах которой происходит движение потока, образующегося при разрушении дамбы (плотины) [8, 11].

Почва - природное образование, слагающее поверхностный слой земной коры и обладающее плодородием [12, 13].

Плотность сухого грунта - отношение массы сухого грунта (исключая массу воды в его порах) к его первоначальному объему [14].

Плотность частиц грунта - масса единицы объема грунта без учета пор или масса единицы объема твердых частиц грунта [14].

Вода грунтовая - гравитационная вода первого от поверхности земли постоянно действующего водоносного горизонта, расположенного на первом водоупорном слое [13].

Коэффициент фильтрации - скорость фильтрации воды при градиенте напора, равном единице, и линейном законе фильтрации [14].

Градиент напора - отношение разности напора воды к длине пути фильтрации [14].

Инфильтрация - проникновение атмосферной или поверхностной воды в породы и почвы [14].

Авария - опасное техногенное происшествие, создающее угрозу жизни и здоровью людей, приводящее к разрушению зданий, сооружений, оборудования и транспортных средств, нарушению производственного и транспортного процесса, нанесению ущерба окружающей природной среде [8, 15, 16].

Гидродинамическая авария - авария на ГТС, связанная с распространением с большой скоростью воды и создающая угрозу возникновения чрезвычайной техногенной ситуации [8, 15, 16].

Чрезвычайная ситуация - обстановка на определенной территории, сложившаяся в результате аварии на ГТС, которая может повлечь или повлекла за собой человеческие жертвы, ущерб здоровью людей или окружающей природной среде, значительные материальные потери и нарушение жизнедеятельности людей [8, 16].

Предельно допустимая концентрация - максимальная концентрация, при которой вещество не оказывает прямого или опосредованного влияния на состояние здоровья населения (при воздействии на организм в течение всей жизни) и не ухудшает гигиенические условия водопользования [8].

Опасные отходы - отходы, которые в силу их реакционной способности или токсичности представляют непосредственную или потенциальную опасность для здоровья человека или состояния окружающей среды самостоятельно или при вступлении в контакт с другими отходами и окружающей средой [8].

Загрязняющие вещества - химические соединения, повышенное содержание которых в биосфере и ее компонентах вызывает негативную токсико-экологическую ситуацию [8].

Прудок-отстойник - водоем, в котором происходит осветление в процессе намыва [8].

2. РАСЧЕТ РАСПРОСТРАНЕНИЯ ОТХОДОВ*, СОДЕРЖАЩИХСЯ В ХРАНИЛИЩЕ, В СЛУЧАЕ РАЗРУШЕНИЯ ОГРАЖДАЮЩЕЙ ДАМБЫ

* Отходы - жидкие производственные отходы, стоки и технические воды.

2.1. Основные положения, принимаемые при расчете

2.1.1. Процесс разрушения хранилища, образования прорана и движения образующегося при этом потока отходов является сложным. Неравномерный и неустановившийся характер движения потока по всей трассе растекания обусловливают переменные значения его гидродинамических параметров [1 - 7], поэтому для упрощения расчетов рассматриваемый процесс разделяется в расчетном отношении на два этапа:

1) расчет образования прорана и расчет параметров потока в сечении у подошвы откоса дамбы;

2) расчет максимальных параметров потока по трассе растекания.

2.1.2. В Методике приняты следующие допущения:

расчет производится для глубины слоя жидкости и неконсолидированных отходов не менее 25 см;

отходы в хранилище могут представлять собой однородный или неоднородный состав;

поперечное сечение прорана принимается прямоугольным и постоянным по всей длине прорана;

после образования прорана жидкость растекается по местности, имеющей естественный уклон;

гидравлический прыжок, возникающий на переходе потока с участка с уклоном дна больше критического на участок, где уклон меньше критического, - не рассматривается [17, 18].

2.2. Расчет образования прорана (процесса разрушения дамбы)

2.2.1. В расчетах приняты следующие основные обозначения:

Нmax - максимальная глубина вытекающего из прудка слоя жидкости и несконсолидированных отходов, м;

F - площадь хранилища по максимальной отметке гребня дамбы, м2;

Vmax - полный объем отходов в хранилище, м3;

l0 - ширина гребня дамбы, м;

mотк - заложение внутреннего откоса дамбы*, м/м;

* Отношение длины горизонтальной проекции откоса к высоте откоса.

nотк - заложение внешнего откоса дамбы, м/м;

ρs - плотность частиц грунта, т/м3;

 - плотность жидкости в поверхностном слое, т/м3;

- плотность жидкости в слое, расположенном на глубине, равной ½ толщины слоя жидкости и несконсолидированных отходов, т/м3;

 - плотность жидкости в придонном слое, т/м3;

ρd - средняя плотность сухого грунта тела дамбы, т/м3 [7];

vв - кинематический коэффициент вязкости жидкости в поверхностном слое, см2/с;

vc - кинематический коэффициент вязкости жидкости в слое, расположенном на глубине, равной ½ толщины слоя жидкости и несконсолидированных отходов, см2/с;

vн - кинематический коэффициент вязкости жидкости в придонном слое, см2/с (для воды кинематический коэффициент вязкости равен 0,0101 см2/с);

d - средневзвешенный размер частиц грунта, мм.

2.2.2. Подготовка исходных данных для расчета на первом этапе

2.2.2.1. Исходными данными для расчета являются:

максимальная глубина вытекающего из прудка слоя жидкости и несконсолидированных отходов;

площадь хранилища по максимальной отметке гребня дамбы;

ширина гребня дамбы;

заложение внутреннего откоса дамбы;

заложение внешнего откоса дамбы;

плотность частиц грунта;

средневзвешенный размер частиц грунта.

2.2.2.2. Вычисление средневзвешенного размера частиц грунта. Для этого производятся замеры размера частиц грунта:

для наливных хранилищ - на дамбе;

для комбинированных (наливных + намывных) и намывных - на первичной насыпной и на намывной дамбах.

Определяются среднее значение диаметра частиц грунта dсp и стандартное отклонение измерений σd:

                                                          (1)

                                                   (2)

где di - диаметр i-й выделенной фракции частиц грунта, определяемый по гранулометрическому анализу, мм;

п - количество измерений.

Из формул (1) и (2) получаем выражение для определения средневзвешенного размера частиц грунта

                                                             (3)

где tst - квантиль распределения Стьюдента с доверительной вероятностью 0,95 [19].

2.2.2.3. Плотность жидкости ρжj в j-м слое для отходов с неоднородным составом определяется по следующей формуле:

                                                  (4)

где хj - расстояние от поверхности жидких отходов до рассматриваемого j-го слоя, м;

                                                        (5)

H - высота слоя жидкости и несконсолидированных отходов, м.

Для отходов с однородным составом j = 1.

2.2.2.4. Кинематический коэффициент вязкости жидкости vj в j-м слое для отходов с неоднородным составом определяется по следующей формуле:

                                                 (6)

где                                                    (7)

Для отходов с однородным составом j = 1.

Вывод формул (4) - (7) приведен в приложении 1.

За начальные условия расчета размыва элементарного прорана принимается равенство

y0 = b0 = h0 = 0,1Hmax,                                                   (8)

где у0 - начальная глубина прорана;

b0 - начальная ширина прорана;

h0 - начальная глубина потока.

На рис. 1 представлена схема расчета размыва гребня и пляжной зоны хвостохранилища.

Рис. 1. Схема расчета размыва прорана

Задавая приращение глубины прорана на каждом расчетном шаге постоянным и равным Dу £ у0, определяется приращение ширины прорана

                                                           (9)

2.2.3. Задавая приращения размеров прорана (Dy и Db), определяем уменьшение глубины вытекающего из прудка слоя DH. Расчет ведется методом итераций.

Определение параметров размыва прорана и потока производится в расчетный i-й промежуток времени:

глубина прорана yi = уi-1 + Dy;                                                                                                                                                (10)

ширина прорана bi = bi-1 + Db;                                                                                                                                                (11)

длина прорана, м, li = (mотк + потк)уi + l0.                                                                                                                                                (12)

При достижении уi = Hmax принимается, что увеличение прорана осуществляется только за счет его расширения:

bi = bi-1 + Db',                                                            (13)

где                                                                                                                                                 (14)

Глубина потока в проране, м,                                                                                                                                                 (15)

где Hi определяется по формуле (37).

Расход потока в проране, м3/с [4]:,                                                                                                                                                (16)

где т - коэффициент водослива, принимаемый равным 0,31.

Удельный расход потока в проране, м2/с, .                                                                                                                                                (17)

Скорость потока в проране, м/с, .                                                                                                                                                (18)

Неразмывающая скорость и0, м/с, определяется для заданного значения dср и гидравлических параметров потока производится по зависимостям В.С. Кнороза [20]:

для 0,1 мм < d £ 0,25 мм ;                                                                                                                                                (19)

для 0,25 мм < d < 1,5 мм ;                                                                                                                                                (20)

для d ³ 1,5 мм                                     ,                                                             (21)

где k = 0,785d0,75;

g - ускорение силы тяжести (g = 981 см/с2);

Ri - гидравлический радиус потока для прямоугольного сечения прорана, определяемый по формуле:

                                                       (22)

ρ'j - относительная плотность жидких отходов j-го слоя, которая определяется как

                                                          (23)

Для частиц грунтов с d < 0,1 мм при определении значения неразмывающей скорости необходимо учитывать силы сцепления между частицами грунта. Значение и0 рекомендуется определять по нормативно-справочной литературе [17].

Величина гидравлической крупности W0, м/с, для размываемых грунтов в проране определяется в зависимости от диаметра частиц грунта по формулам [20]:

при d £ 0,1 мм                                                                                                                   (24)

при 0,1 мм < d < 0,6 мм                                                                                          (25)

при 0,6 мм < d < 2,0 мм                                                                                                  (26)

при d ³ 2,0 мм                                                                                                                       (27)

где g - ускорение силы тяжести (g = 981 см/с2).

Время размыва элементарного объема прорана, с:

                                                   (28)

где µi - транспортирующая (размывающая) способность потока;

DWi - увеличение объема размытого прорана, м3:

DWi = Wi - Wi-1 = 0,5(biyili - bi-1yi-1li-1).                               (29)

В зависимости от гидравлических параметров потока и диаметра частиц размываемого грунта они могут переноситься потоком либо во взвешенном, либо в донном состоянии.

Если скорость потока иi ³ 2,7и0i и все частицы d £ 0,15 мм (переносятся во взвешенном состоянии), то величина µi может быть определена как [1]:

                                                (30)

где икр - критическая скорость потока, м/с, определяется:

при yi < Hmax                 икрi = 2,63hi0,5;                                      (31)

при yi = Hmax                 икрi = 3,77hi0,2;                                      (32)

Если иi < 2,7и0i и все частицы d > 0,15 мм (движутся в донном режиме), то величина µi определяется по формуле [1]:

                                     (33)

где g - ускорение силы тяжести (g = 9,81 м/с2).

Объем жидкости, вытекающей из прудка за время Dti:

                                                    (34)

Общий объем, вытекший за время Т = ΣDti:

                                                              (35)

Понижение уровня в прудке

                                                             (36)

Глубина слоя, вытекающего из прудка:

Hi = Hi-1 + Dy - DHi-1.                                                  (37)

При i = 1 принимаем, что H0 = у0 и DH0 = 0.

Расчет ведется до того момента, когда V достигает значения Vmах или величина транспортирующей способности µi установится меньше 0,003.

Для удобства все результаты расчетов представляются в табличной форме.

2.3. Определение параметров потока в сечении у подошвы откоса дамбы

Для определения значений скорости U и глубины h потока по внешнему откосу дамбы из результатов расчетов, полученных в п. 2.2.3, выбираются:

максимальное значение полного расхода Qmax и соответствующие ему значения ширины b11 и глубины h11 (вариант 1);

максимальное значение удельного расхода qmax и соответствующие ему значения ширины b12 и глубины h12 (вариант 2);

максимальное значение ширины прорана bmax.

Расчет по выбранным параметрам производится одновременно для Qmax и qmax.

2.3.1. Для определения формы свободной поверхности потока [4] необходимо сравнить величину нормальной глубины h0 с критической глубиной hкp и значение уклона внешнего откоса дамбы iво со значением критического уклона iкр.

Определение критической глубины потока, м,

                                               (38)

* Здесь и далее по тексту формулы в левой колонке относятся к первому варианту расчета, в правой - ко второму.

где α - коэффициент кинетической энергии, принимается равным 1,1;

g - ускорение силы тяжести (g = 9,81 м/с2).

Нормальная глубина h0 потока вычисляется в процессе итерационной процедуры (подбором) по значению модуля расхода К0:

вычисляется модуль расхода [4]:

                                                     (39)

где

Задавая различные значения h1 (h2)*, определяем характеристики потока:

* Здесь и далее по тексту значения параметров, указанных в скобках, относятся ко второму варианту расчета.

площадь сечения, м2,

ω1 = b11h1, ω2 = b12h2;                                                        (40)

смоченный периметр потока

x1 = b11 + 2h1, x2 = b12 + 2h2;                                                (41)

гидравлический радиус

                                                        (42)

коэффициент Шези

                                                 (43)

где n - коэффициент шероховатости, принимаемый равным 0,025 [4];

значение расчетного модуля расхода Кr:

                                         (44)

Подставляя значения параметров, определяемых по уравнениям (40) - (43), в выражения (44), получим

                     (45)

Результаты расчетов и значения h1 (h2) заносятся в таблицу. Значение h1 (h2), при котором расчетный модуль расхода Кr1 К01 r2 К02), и будет значением нормальной глубины потока h01 (h02).

Величина критического уклона определяется по формуле [4]:

                                            (46)

Подставляя значения параметров, определяемых по уравнениям (40) - (43) при условии h = hкр, в выражения (46), получим

                     (47)

где bкр1 = b11, bкр2 = b12.

В зависимости от глубины потока в начале откоса h11 (h12) и соотношения iво iкр2 (iво iкр2) и h01 hкр2 (h02 hкр2) определяется форма свободной поверхности потока [4, 17, 18].

2.3.2. Определение глубины потока в сечении у подошвы откоса

Из полученных значений h11, h01, hкр1 (h12, h02, hкр2) выбирается наибольшее и наименьшее значение глубины потока [hmax1, hmin1 (hmax2, hmin2)] и вычисляется среднее значение:

                                        (48)

Определяем длину откоса L, на которой устанавливается нормальная глубина h01 (h02) [6]:

                           (49)

                       (50)

где bcр1 = b11, bcр2 = b12;

ηij - относительная глубина (для каждого из вариантов) определяется:

                                               (51a)

                                               (51б)

По величинам гидравлических показателей русла Х12) и относительным глубинам находятся функции относительной глубины φ(η11), φ(η12) и φ(η21), φ(η22) (см. приложение 2). Гидравлический показатель русла определяется по формулам [6]:

                                     (52)

Полученные в уравнении (49) величины L1 и L2 сравниваются с длиной внешнего откоса дамбы L0. Если полученное значение L1 < L0 (L2 < L0), то считается, что глубина потока у подошвы откоса равна нормальной глубине h01 = h11 и h02 = h12. Если же значение L1 > L0 (L2 > L0), тогда, задавая L1 = L0 (L2 = L0), из уравнения (49) определяем глубину потока у подошвы откоса:

                                       (53)

2.3.3. Определение скорости потока в сечении у подошвы откоса дамбы

Скорость и определяется по известному расходу и глубине потока в сечении у подошвы откоса:

                                                      (54)

Из полученных расчетов из двух случаев выбираем максимальные значения параметров потока в сечении у подошвы откоса: глубины hmax и скорости иmax. Ширина потока в этом сечении принимается равной максимальной ширине прорана bmax. Эти величины являются исходными для расчета движения потока по прилегающей к хранилищу местности.

2.4. Расчет максимальных параметров потока по трассе растекания

В зависимости от характера рельефа вытекающий из хранилища поток может быть ограничен боковыми склонами долины, либо растекание может происходить нестесненным образом, если хранилище расположено на плоской местности или в широкой долине.

Учитывая, что хранилища предприятий химической, нефтехимической и нефтеперерабатывающей промышленности в основном относятся к овражным, овражно-пойменным и (или) равнинным типам и имеют емкость до нескольких млн. м3, принимаем, что вытекающий поток ограничен постоянным значением боковых склонов ложбин, лога или слабонаклоненных поверхностей поймы или равнины.

В расчете принято допущение о том, что лог по всей длине трассы растекания имеет треугольное сечение.

Для определения параметров потока по трассе растекания русло потока разбивается на участки с постоянными уклонами дна и формой поперечного сечения. На границах участков принимается условие равенства расходов. За расчетное принимается максимальное значение расхода потока Qп = Qmax, полученное в результате расчета на первом этапе.

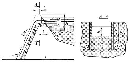
Для расчета площади сечения лога на концах выбранных участков задаются характерные абсолютные отметки бортов Аб и дна Aд лога (см. рис. 2).

Для определения формул расчета скорости иi, глубины hi и ширины bi потока [4] вычисляются уклоны i-х участков лога Iлi

Iлi = Lлi / (Aдi - Aдi-1),

где Lлi - длина выбранного i-го участка лога.

Рис. 2. Поперечное сечение лога

Для уклонов Lлi < 0,01 параметры потока определяются:

скорость потока                                                                                                                                                 (55)

глубина потока                                                                                                                                                 (56)

ширина потока                                                                                                                                                 (57)

где  - относительное расстояние;                                                                                                                                                (58)

bi = hi(m'лi + m'пi),

здесь m'лi = ctg αл и m'пi = ctg αп (см. рис. 2).

При i = 0: b0 = bmax, l0 = 0,

где m'л0 и m'п0 - заложения левого и правого откосов лога у подошвы откоса дамбы соответственно.

Гидродинамическое давление Pi на сооружения, расположенные на пути потока на расстоянии l от подошвы дамбы, вычисляется по формуле

                                                    (59)

где ρ0 - средняя плотность потока.

Для защиты объектов, попадающих в зону затопления, можно отвести поток через какое-либо пропускное сооружение (водоотводной канал), находящееся на расстоянии l от подошвы дамбы, расчет которого ведется по условию пропуска максимального расхода потока Qп. Поперечное сечение Sk, обеспечивающее отвод потока, рассчитывается по значению скорости и в этом месте и по максимальному расходу:

                                                            (60)

Приведенные выше формулы позволяют рассчитать параметры потока по длине выбранной расчетной трассы движения на прилегающей к хранилищу местности, нанести их на соответствующий план или карту и определить границы зоны затопления.

Ввиду сложности расчетов и большого числа итераций в ЗАО «Экоцентр-Агрохимбезопасность» разработан комплекс компьютерных программ «PRORAN».

2.5. Определение параметров загрязнения почвы, грунтовых вод и поверхностных водоемов вредными веществами, содержащимися в отходах

2.5.1. Для проведения расчетов приняты следующие допущения:

инфильтрация жидкой фазы на площади затопления через почву и грунт - свободная, т.е. фильтрация происходит без подпора со стороны грунтовых вод;

не учитывается вода, остающаяся в почвенно-растительном слое и в естественных впадинах и понижениях по трассе потока;

не учитывается дифференциация загрязнения по мощности и площади почв, грунтового потока, акватории водоемов.

2.5.1.1. При определении степени загрязнения почвы принимается, что вся масса вредных веществ из профильтровавшейся с поверхности жидкости остается в почвенном слое и распределяется равномерно по глубине слоя и площади затопления.

При расчете не учитывается, что часть вредных веществ из профильтровавшихся стоков, не задерживаясь в почвенном слое, попадает в грунтовые воды.

2.5.1.2. При определении степени загрязнения грунтовых вод принимается, что вся масса вредных веществ из профильтровавшейся с поверхности жидкости попадает в грунтовые воды и распределяется равномерно по мощности грунтового потока и площади затопления.

При расчете не учитывается, что часть вредных веществ из профильтровавшихся стоков останется в почве.

2.5.1.3. При определении параметров загрязнения поверхностных водоемов принимается, что вся масса вредных веществ, содержащихся в вытекшей из хранилища жидкости, распределяется равномерно:

для замкнутых поверхностных водоемов - по всему объему водоема;

для проточных поверхностных водоемов - по сечению водоема.

При расчете не учитывается, что часть вредных веществ из профильтровавшихся в грунтовые воды стоков останется в почве и водоносных грунтах.

2.5.2. Расчет параметров загрязнения почвы [21 - 27]

Объем профильтровавшейся с поверхности почвы жидкости Vф, м3, определяется по формуле

Vф = KфJFфТф,                                                          (61)

где Кф - коэффициент фильтрации почвенного слоя, м/сут, определяется по данным изысканий;

J - градиент инфильтрационного потока;

Fф - площадь фильтрации, м2, Fф = Fз, здесь Fз - площадь затопления при максимальных значениях параметров волны от хранилища до водной преграды (реки, озера, водоотводящего канала);

Тф - время фильтрации жидкости, сут, которое определяется:

                                                             (62)

здесь k' - коэффициент, характеризующий время, при котором расход потока в проране больше 0,7Qmax, и определяемый по зависимости Q = f / (Т), полученной по результатам расчетов в п. 2.2.3 (для расчетов рекомендуется принимать k' = 0,3);

Т - время образования прорана, сут (см. п. 2.2.3);

Uср и Uср - средние рассчитанные значения скоростей потока в проране (см. п. 2.2.3) и по трассе растекания (см п. 2.4).

Значение Vф не должно превышать общего объема V, вытекшего из хранилища жидкости [см. формулу (35)].

Для каждого i-го вредного вещества, содержащегося в жидких отходах, вычисляется концентрация вредного вещества в почве Сiп, мг/кг, на площади Fф:

                                                     (63)

где Сi - концентрация i-го вредного вещества в жидких отходах, мг/л;

Мп - мощность почвенного слоя, м;

 - плотность сухого почвенно-грунтового слоя, т/м3;

 - фоновая концентрация i-го вещества в почве, мг/кг. Параметры Мп и  определяются по данным изысканий.

Полученная концентрация сравнивается с ПДК данного вещества в почве (см. приложение 3).

При отсутствии конкретных исходных данных для ориентировочных оценок рекомендуется пользоваться следующими значениями параметров:

Мп = 0,5 - 1,0, м;

 = 1,4 - 1,6, г/см3;

 = 0.

2.5.3. Расчет параметров загрязнения грунтовых вод [21 - 27]

Объем профильтровавшейся с поверхности жидкости определяется по формуле (61). Для каждого i-го вредного вещества, содержащегося в жидких отходах, вычисляется концентрация вещества в грунтовых водах , мг/л, в зоне затопления:

                                               (64)

где  - концентрация вещества в грунтовых водах до гидродинамической аварии (фоновая концентрация), мг/л;

mгв - мощность грунтового потока, м;

пг - пористость водоносных грунтов.

Параметры , mгв и пг определяются по данным изысканий. Полученная концентрация сравнивается с ПДК данного вещества в воде (см. приложение 4).

2.5.4. Расчет степени загрязнения поверхностных водоемов. Следует различать два случая:

1. Непроточная водная преграда (замкнутый водоем).

2. Проточная водная преграда.

Объем жидких отходов Vв, попадающих в замкнутый водоем, принимаем равным объему жидкости, вылившейся из хранилища [см. п. 2.2.3, формула (35)]:

Vв = V.

Для каждого из вредных веществ, содержащихся в жидких отходах, вычисляется концентрация в воде замкнутого водоема , мг/л:

                                                     (65)

где Vз - объем замкнутого водоема, м3.

Полученная концентрация сравнивается с ПДК данного вещества в воде (см. приложение 4).

Для проточного водоема удельное содержание вредного вещества в воде проточного водоема , мг/л, составит:

                                                 (66)

где Qп - расход проточного водоема, м3/сут;

Qmax - максимальный расход изливающегося из хранилища потока, м3/сут (см. п. 2.3.1).

Полученная концентрация сравнивается с ПДК данного вещества в воде.

2.5.5. При наличии соответствующих исходных данных возможно районирование площади фильтрации стоков по значениям Кф, J, Тф, Мп, , , пг. В этих случаях при определении параметров загрязнения почвы и грунтовых вод для каждого выделенного района (r) рассчитывают величины Vф(r), (r).

2.5.6. Учет сорбции, ионного обмена, окислительно-восстановительных, других физико-химических и биохимических процессов, которые происходят с вредными веществами при фильтрации стоков через почвенный слой и грунты, может привести к снижению параметров загрязнения.

2.6. Показатели последствий гидродинамических аварий на хранилищах отходов предприятий химического комплекса

2.6.1. Показатели последствий гидродинамической аварии характеризуются следующими видами опасных явлений: гибелью людей, нанесением ущерба здоровью и нарушением условий жизнедеятельности людей, разрушением и повреждением зданий и сооружений, загрязнением окружающей природной среды.

Величина показателя последствий является количественной оценкой уровня безопасности.

Исследования показали устойчивость результатов расчета показателей последствий аварии к вариации параметров, принимаемых в соответствии с допущениями, принятыми в пп. 2.2.2.2 - 2.2.2.4.

Определяемые в методике величины показателей последствий являются количественной оценкой уровня безопасности гидродинамической аварии и могут использоваться при оценке количества пострадавших людей, материальных потерь, ущерба окружающей среде, определении класса чрезвычайных ситуаций.

2.6.2. Показатели последствий силового воздействия волны прорыва на человека, здания и сооружения (гибель, нанесение ущерба здоровью и нарушение условий жизнедеятельности людей, разрушение и повреждение зданий и сооружений) определяются для территории в пределах зоны затопления, в границах которой воздействие волны опасно для жизни или здоровья человека, может вызвать разрушение и повреждение зданий и сооружений.

2.6.2.1. Показатель последствий силового воздействия волны прорыва на человека (ZN) определяется количеством людей, постоянно (N1) или временно (N2) находящихся в зоне воздействия волны прорыва, значения параметров которой равны или превышают критические значения для жизни и здоровья человека:

ZN = N1 + N2Pчв, чел,                                                (67)

где Pчв - вероятность пребывания человека в зоне силового воздействия волны прорыва в течение суток.

Например, если в зоне затопления люди присутствуют круглосуточно, Pчв = 1; если в зоне затопления люди присутствуют неполные сутки, например одну смену (8 ч), - Pчв = 0,33.

В качестве критического значения параметра волны прорыва может быть принята, например, глубина потока в зоне растекания hmax ³ 1,5 м или параметры потока, приводящие к разрушению зданий и сооружений, в которых находятся люди.

2.6.2.2. Показатель силового воздействия волны прорыва Zc на здания и сооружения определяется прочностными характеристиками зданий и сооружений, а также параметрами волны прорыва (гидродинамическое давление, скорость и глубина потока):

                                                         (68)

Если φc(i) ³ φlim(i), то . Если φc(i) < φlim(i), то ,

где φc(i) - значение параметра гидродинамической волны прорыва;

φlim(i) - предельное значение параметра волны прорыва для данного вида i-го здания или сооружения (см. приложение 5);

п - количество зданий и сооружений, оказавшихся в зоне затопления.

Показатель Zc численно равен количеству зданий и сооружений, подвергшихся повреждению или разрушению.

2.6.2.3. Показатель последствий гидродинамической аварии по воздействию на окружающую среду определяется соотношением концентраций загрязняющих веществ в почве (), грунтовых водах (), в водоемах () и соответствующих предельно допустимых концентраций (СПДК).

Рассчитав показатель для отдельных вредных веществ как Zi = Ci / СПДК(i), выбирают несколько веществ, имеющих наибольшее значение Zi, и определяют суммарный показатель последствий (Zп).

Показатели определяются по каждому элементу окружающей среды - почва, грунтовые воды [24]:

                                                      (69a)

                                                     (69б)

                                                       (69в)

где k - количество суммируемых вредных веществ.

СПИСОК ЛИТЕРАТУРЫ

1. Леви И.И. Динамика русловых процессов. Л.: Госэнергоиздат, 1957.

2. Гончаров В.Н. Динамика русловых потоков. Л.: Гидрометеоиздат, 1962.

3. Кнороз В.С. Безнапорный гидротранспорт и его расчет // Известия ВНИИГ. 1951. Т. 44.

4. Чугаев Р.Р. Гидравлика. Л.: Энергоиздат, 1982. С. 573, табл. П-4.

5. Исследование и расчет волны прорыва из хвостохранилища Михайловского ГОКа. М.: ВНИИВОДГЕО, 1978.

6. Временные методические рекомендации по расчету зон при внезапном прорыве ограждающих дамб хвостохранилищ. Белгород: ВИОГЕМ, 1981.

7. Рекомендации по расчету охранных зон хвостохранилищ. Л.: Механобр, 1984.

8. РД 09-255-99. Методические рекомендации по оценке технического состояния и безопасности хранилищ производственных отходов и стоков предприятий химического комплекса.

9. ГОСТ 19185-73. Гидротехника. Основные понятия. Термины и определения.

10. СНиП II-89-80. Генеральные планы промышленных предприятий. М., 1990.

11. ПБ 06-123-96. Правила безопасности при эксплуатации хвостовых, шламовых и гидроотвальных хозяйств.

12. ГОСТ 25100-82. Грунты. Классификация.

13. ГОСТ 25584-90. Грунты. Методы лабораторного определения коэффициента фильтрации.

14. Геологический словарь. М.: Недра, 1978. Т. 1.

15. ГОСТ Р 22.0.05-94. Термины и определения.

16. РД 03-268-99. Порядок разработки и дополнительные требования к содержанию декларации безопасности гидротехнических сооружений на подконтрольных Госгортехнадзору России предприятиях (организациях).

17. Гидротехнические сооружения: Справочник проектировщика / Под ред. В.П. Недриги. М.: Стройиздат, 1983. 543 с.

18. Пособие по гидравлическим расчетам малых водопропускных сооружений. М.: Транспорт, 1992. 408 с.

19. Закс Л. Статистические оценивания. М.: Статистика, 1976. С. 130 - 131.

20. Кнороз В.С. Неразмывающие скорости для несвязных грунтов и факторы, их определяющие // Известия ВНИИГ. 1958. Т. 59.

21. Перечень ПДК и ОДК химических веществ в почве. М., 1993.

22. ГН 2.1.5.689-98. ПДК химических веществ водных объектов хозяйственно-питьевого и культурно-бытового водопользования.

23. Перечень ПДК вредных веществ для воды рыбохозяйственных водоемов. М., 1995.

24. СНиП 2.06.15-85. Инженерная защита территорий от затопления и подтопления. М., 1990.

25. СНиП 1.02.07-87. Инженерные изыскания для строительства. М., 1988.

26. СНиП 2.02.02-85. Основания гидротехнических сооружений. М., 1988.

27. ГОСТ 5180-84. Грунты. Метода лабораторного определения физических характеристик.

28. Мальцев В.А. Методики оценки обстановки на промышленном предприятии при чрезвычайных ситуациях. М.: ИПК Госслужбы, 1993.

Приложение 1

ВЫВОД ФОРМУЛ РАСЧЕТА ПЛОТНОСТИ И ВЯЗКОСТИ ЖИДКОСТИ ДЛЯ ОТХОДОВ С НЕОДНОРОДНЫМ СОСТАВОМ

Для оценки изменения плотности по глубине слоя жидкости и неконсолидированных отходов делаются допущения о нелинейной закономерности, описывающей это явление.

Предполагается, что закономерность, описывающая изменение плотности отходов по глубине слоя, имеет вид

,                                                      (п. 1.1)

где ρжj - плотность j-го слоя;

 - глубина до j-го слоя;

а, b и k - параметры используемой закономерности.

Для определения параметров необходимы измерения плотности отходов на трех уровнях: верхнем , среднем  и нижнем . В качестве параметра b используется величина плотности жидких отходов в верхнем слое, т.е.

                                                              (п. 1.2)

Подставляя значение в уравнение (п. 1.1) и логарифмируя, получим

                                             (п. 1.3)

Для нижнего слоя формула (п. 1.3) будет иметь вид

                                              (п. 1.4)

Для среднего слоя формула (п. 1.3) будет иметь вид

                                              (п. 1.5)

Решая совместно уравнения (п. 1.4) и (п. 1.5), получим

                              (п. 1.6)

Преобразуя уравнение (п. 1.6), окончательно получаем

                                                    (п. 1.7)

Для определения а подставляем в выражение для k формулу (п. 1.4). После преобразования окончательно имеем

                                                             (п. 1.8)

Подставляя значения k и а в уравнение (п. 1.1), получим

                                                  (п. 1.9)

Для оценки изменения вязкости по глубине слоя жидкости и неконсолидированных отходов делаются допущения о нелинейной закономерности, описывающей это явление.

Предполагается, что закономерность, описывающая изменение вязкости отходов по глубине слоя, имеет вид

                                                  (п. 1.10)

где vj - вязкость j-го слоя;

 - глубина до j-го слоя;

а, b и k - параметры используемой закономерности.

Для определения параметров необходимы измерения вязкости отходов на трех уровнях: верхнем vв, среднем vс и нижнем vн.

В качестве параметра b используется величина вязкости жидких отходов в верхнем слое, т.е.

b = vв.                                                                (п. 1.11)

Вывод формулы                                                                    (п. 1.12)

где                                                                                                 (п. 1.13)

ведется аналогично выводу формулы (п. 1.9) для плотности.

Приложение 2

Функции относительной глубины φ(ηij) [4]

 

2,00*

2,50

3,00

3,25

3,50

3,75

4,00

4,50

5,00

5,50

1

2

3

4

5

6

7

8

9

10

11

0,00**

0,000

0,000

0,000

0,000

0,000

0,000

0,000

0,000

0,000

0,000

0,05

0,050

0,050

0,050

0,050

0,050

0,050

0,050

0,050

0,050

0,050

0,10

0,100

0,100

0,100

0,100

0,100

0,100

0,100

0,100

0,100

0,100

0,15

0,151

0,150

0,150

0,150

0,150

0,150

0,150

0,150

0,150

0,150

0,20

0,202

0,201

0,200

0,200

0,200

0,200

0,200

0,200

0,200

0,200

0,25

0,255

0,252

0,251

0,250

0,250

0,250

0,250

0,250

0,250

0,250

0,30

0,309

0,304

0,302

0,301

0,300

0,300

0,300

0,300

0,300

0,300

0,35

0,365

0,357

0,354

0,352

0,351

0,351

0,351

0,350

0,350

0,350

0,40

0,423

0,411

0,407

0,404

0,403

0,403

0,402

0,401

0,400

0,400

0,45

0,484

0,468

0,461

0,458

0,456

0,455

0,454

0,452

0,451

0,450

0,50

0,549

0,527

0,517

0,513

0,510

0,508

0,507

0,504

0,502

0,501

0,55

0,619

0,590

0,575

0,570

0,566

0,564

0,561

0,556

0,554

0,552

0,60

0,693

0,657

0,637

0,630

0,624

0,621

0,617

0,610

0,607

0,605

0,61

0,709

0,671

0,650

0,642

0,636

0,632

0,628

0,621

0,618

0,615

0,62

0,725

0,685

0,663

0,654

0,648

0,644

0,640

0,632

0,629

0,626

0,63

0,741

0,699

0,676

0,667

0,660

0,662

0,652

0,644

0,640

0,637

0,64

0,758

0,714

0,689

0,680

0,673

0,668

0,664

0,656

0,651

0,648

0,65

0,775

0,729

0,703

0,693

0,686

0,681

0,676

0,668

0,662

0,659

0,66

0,792

0,744

0,717

0,706

0,699

0,694

0,688

0,680

0,674

0,670

0,67

0,810

0,760

0,731

0,720

0,712

0,707

0,700

0,692

0,686

0,681

0,68

0,829

0,776

0,746

0,734

0,725

0,720

0,713

0,704

0,698

0,692

0,69

0,848

0,792

0,761

0,748

0,739

0,733

0,726

0,716

0,710

0,704

0,70

0,867

0,809

0,776

0,763

0,753

0,746

0,739

0,728

0,722

0,716

0,71

0,887

0,826

0,791

0,778

0,767

0,760

0,752

0,741

0,734

0,728

0,72

0,907

0,843

0,807

0,793

0,781

0,774

0,766

0,754

0,747

0,740

0,73

0,928

0,861

0,823

0,808

0,796

0,788

0,780

0,767

0,760

0,752

0,74

0,950

0,880

0,840

0,823

0,811

0,802

0,794

0,780

0,773

0,764

0,75

0,972

0,899

0,857

0,839

0,827

0,816

0,808

0,794

0,786

0,776

0,76

0,996

0,919

0,874

0,855

0,843

0,832

0,823

0,808

0,799

0,788

0,77

1,020

0,939

0,892

0,872

0,860

0,848

0,838

0,822

0,812

0,801

0,78

1,045

0,960

0,911

0,890

0,877

0,865

0,854

0,837

0,826

0,814

0,79

1,071

0,982

0,930

0,908

0,895

0,882

0,870

0,852

0,840

0,828

0,80

1,098

1,006

0,950

0,929

0,913

0,900

0,887

0,867

0,854

0,842

0,81

1,127

1,031

0,971

0,947

0,932

0,918

0,904

0,882

0,869

0,857

0,82

1,156

1,056

0,993

0,968

0,951

0,937

0,922

0,898

0,884

0,872

0,83

1,188

1,082

1,016

0,990

0,971

0,956

0,940

0,915

0,900

0,888

0,84

1,221

1,110

1,040

1,013

0,992

0,976

0,960

0,933

0,917

0,904

0,85

1,256

1,139

1,065

1,037

1,015

0,997

0,980

0,952

0,935

0,921

0,86

1,293

1,170

1,092

1,062

1,039

1,019

1,002

0,972

0,953

0,938

0,87

1,333

1,203

1,120

1,088

1,065

1,043

1,025

0,993

0,972

0,956

0,88

1,375

1,238

1,151

1,116

1,092

1,069

1,049

1,015

0,992

0,975

0,89

1,421

1,276

1,183

1,146

1,121

1,097

1,075

1,039

1,014

0,995

0,90

1,472

1,316

1,218

1,179

1,152

1,127

1,103

1,065

1,038

1,017

0,905

1,499

1,338

1,237

1,197

1,169

1,143

1,117

1,079

1,050

1,028

0,910

1,527

1,361

1,257

1,216

1,186

1,159

1,132

1,093

1,063

1,040

0,915

1,557

1,385

1,278

1,236

1,204

1,176

1,148

1,108

1,077

1,053

0,920

1,589

1,411

1,300

1,257

1,223

1,194

1,165

1,124

1,091

1,066

0,925

1,622

1,439

1,323

1,279

1,243

1,214

1,184

1,141

1,106

1,080

0,930

1,658

1,469

1,348

1,302

1,265

1,265

1,204

1,159

1,122

1,095

0,935

1,696

1,501

1,374

1,326

1,288

1,257

1,225

1,178

1,139

1,111

0,940

1,738

1,535

1,403

1,352

1,312

1,280

1,247

1,198

1,157

1,128

0,945

1,782

1,571

1,434

1,380

1,338

1,305

1,271

1,219

1,176

1,146

0,950

1,831

1,610

1,467

1,411

1,367

1,332

1,297

1,241

1,197

1,165

0,955

1,885

1,653

1,504

1,445

1,399

1,362

1,325

1,265

1,220

1,186

0,960

1,945

1,701

1,545

1,483

1,435

1,395

1,356

1,292

1,246

1,209

0,965

2,013

1,756

1,591

1,526

1,475

1,432

1,391

1,324

1,275

1,235

0,970

2,092

1,820

1,644

1,575

1,521

1,475

1,431

1,362

1,308

1,265

0,975

2,184

1,895

1,707

1,632

1,575

1,525

1,479

1,407

1,347

1,300

0,980

2,297

1,985

1,783

1,703

1,640

1,587

1,537

1,460

1,394

1,344

0,985

2,442

2,100

1,881

1,795

1,727

1,666

1,611

1,525

1,455

1,400

0,990

2,646

2,264

2,018

1,921

1,844

1,777

1,714

1,614

1,538

1,474

0,995

3,000

2,544

2,250

2,137

2,043

1,965

1,889

1,770

1,680

1,605

1,005

2,997

2,139

1,647

1,477

1,329

1,218

1,107

0,954

0,826

0,730

1,010

2,652

1,863

1,419

1,265

1,138

1,031

0,936

0,790

0,680

0,598

1,015

2,450

1,704

1,291

1,140

1,022

0,922

0,836

0,702

0,603

0,525

1,020

2,307

1,591

1,193

1,053

0,940

0,847

0,766

0,641

0,546

0,474

1,025

2,197

1,504

1,119

0,986

0,879

0,789

0,712

0,594

0,503

0,435

1,030

2,107

1,432

1,061

0,931

0,827

0,742

0,668

0,555

0,468

0,402

1,035

2,031

1,372

1,010

0,885

0,784

0,702

0,632

0,522

0,439

0,375

1,040

1,966

1,320

0,967

0,845

0,747

0,668

0,600

0,494

0,416

0,353

1,045

1,908

1,274

0,929

0,810

0,716

0,638

0,572

0,469

0,394

0,334

1,05

1,857

1,234

0,896

0,779

0,687

0,612

0,548

0,447

0,375

0,317

1,06

1,768

1,164

0,838

0,726

0,640

0,566

0,506

0,411

0,343

0,290

1,07

1,693

1,105

0,790

0,682

0,600

0,529

0,471

0,381

0,316

0,266

1,08

1,629

1,053

0,749

0,645

0,565

0,497

0,441

0,355

0,292

0,245

1,09

1,573

1,009

0,713

0,612

0,534

0,469

0,415

0,332

0,271

0,226

1,10

1,522

0,969

0,680

0,583

0,506

0,444

0,392

0,312

0,253

0,210

1,11

1,477

0,933

0,652

0,557

0,482

0,422

0,372

0,293

0,237

0,196

1,12

1,436

0,901

0,626

0,533

0,461

0,402

0,354

0,277

0,223

0,183

1,13

1,398

0,872

0,602

0,512

0,442

0,384

0,337

0,263

0,211

0,172

1,14

1,363

0,846

0,581

0,493

0,424

0,368

0,322

0,250

0,200

0,162

1,15

1,331

0,821

0,561

0,475

0,407

0,353

0,308

0,238

0,190

0,153

1,16

1,301

0,797

0,542

0,458

0,391

0,339

0,295

0,227

0,181

0,145

1,17

1,273

0,775

0,525

0,442

0,377

0,326

0,283

0,217

0,173

0,137

1,18

1,247

0,755

0,510

0,427

0,364

0,314

0,272

0,208

0,165

0,130

1,19

1,222

0,736

0,495

0,415

0,352

0,302

0,262

0,200

0,158

0,124

1,20

1,199

0,718

0,480

0,400

0,341

0,292

0,252

0,192

0,151

0,118

1,21

1,177

0,701

0,467

0,388

0,330

0,282

0,243

0,184

0,144

0,113

1,22

1,156

0,685

0,454

0,377

0,320

0,272

0,235

0,177

0,138

0,108

1,23

1,136

0,670

0,442

0,366

0,310

0,263

0,227

0,170

0,132

0,103

1,24

1,117

0,656

0,431

0,356

0,301

0,255

0,219

0,164

0,126

0,098

1,25

1,098

0,643

0,420

0,346

0,292

0,247

0,212

0,158

0,121

0,094

1,26

1,081

0,630

0,410

0,337

0,284

0,240

0,205

0,152

0,116

0,090

1,27

1,065

0,618

0,400

0,328

0,276

0,233

0,199

0,147

0,111

0,086

1,28

1,049

0,606

0,391

0,320

0,268

0,226

0,193

0,142

0,107

0,082

1,29

1,033

0,594

0,382

0,312

0,261

0,220

0,187

0,137

0,103

0,079

1,30

1,018

0,582

0,373

0,304

0,254

0,214

0,181

0,133

0,099

0,076

1,31

1,004

0,571

0,365

0,297

0,247

0,208

0,176

0,129

0,095

0,073

1,32

0,990

0,561

0,357

0,290

0,241

0,202

0,171

0,125

0,092

0,070

1,33

0,977

0,551

0,349

0,283

0,235

0,197

0,166

0,121

0,089

0,067

1,34

0,964

0,542

0,341

0,277

0,229

0,192

0,161

0,117

0,086

0,064

1,35

0,952

0,533

0,334

0,271

0,224

0,187

0,157

0,113

0,083

0,061

1,36

0,940

0,524

0,328

0,265

0,219

0,182

0,153

0,109

0,080

0,058

1,37

0,928

0,516

0,322

0,259

0,214

0,177

0,149

0,106

0,077

0,056

1,38

0,917

0,508

0,316

0,253

0,209

0,173

0,145

0,103

0,074

0,054

1,39

0,906

0,500

0,310

0,248

0,204

0,169

0,141

0,100

0,072

0,052

1,40

0,896

0,492

0,304

0,243

0,199

0,165

0,137

0,097

0,070

0,050

1,41

0,886

0,484

0,298

0,238

0,195

0,161

0,134

0,094

0,068

0,048

1,42

0,876

0,477

0,293

0,233

0,191

0,157

0,131

0,091

0,066

0,046

1,43

0,866

0,470

0,288

0,229

0,187

0,153

0,128

0,088

0,064

0,045

1,44

0,856

0,463

0,283

0,225

0,183

0,150

0,125

0,085

0,062

0,044

1,45

0,847

0,456

0,278

0,221

0,179

0,147

0,122

0,083

0,060

0,043

1,46

0,838

0,450

0,273

0,217

0,175

0,144

0,119

0,081

0,058

0,042

1,47

0,829

0,444

0,268

0,213

0,171

0,141

0,116

0,079

0,056

0,041

1,48

0,821

0,438

0,263

0,209

0,168

0,138

0,113

0,077

0,054

0,040

1,49

0,813

0,432

0,259

0,205

0,165

0,135

0,110

0,075

0,053

0,039

1,50

0,805

0,426

0,255

0,201

0,162

0,132

0,108

0,073

0,052

0,038

1,55

0,767

0,399

0,235

0,184

0,147

0,119

0,097

0,065

0,045

0,032

1,60

0,733

0,376

0,218

0,170

0,134

0,108

0,087

0,058

0,039

0,027

1,65

0,703

0,355

0,203

0,157

0,123

0,098

0,079

0,052

0,034

0,023

1,70

0,675

0,336

0,189

0,145

0,113

0,090

0,072

0,046

0,030

0,020

1,75

0,650

0,318

0,177

0,134

0,104

0,083

0,065

0,041

0,026

0,017

1,80

0,626

0,303

0,166

0,124

0,096

0,077

0,060

0,037

0,023

0,015

1,85

0,605

0,289

0,156

0,115

0,089

0,071

0,055

0,033

0,020

0,013

1,90

0,585

0,276

0,147

0,108

0,083

0,066

0,050

0,030

0,018

0,011

1,95

0,567

0,264

0,139

0,102

0,078

0,061

0,046

0,027

0,015

0,009

2,0

0,550

0,253

0,132

0,097

0,073

0,057

0,043

0,025

0,013

0,008

2,1

0,518

0,233

0,119

0,086

0,064

0,049

0,037

0,021

0,012

0,007

2,2

0,490

0,216

0,108

0,077

0,057

0,043

0,032

0,018

0,010

0,006

2,3

0,466

0,201

0,098

0,069

0,051

0,038

0,028

0,015

0,008

0,005

2,4

0,444

0,188

0,090

0,063

0,046

0,034

0,024

0,013

0,007

0,004

2,5

0,424

0,176

0,082

0,057

0,041

0,031

0,021

0,011

0,006

0,003

2,6

0,405

0,165

0,076

0,052

0,037

0,028

0,019

0,010

0,005

0,003

2,7

0,389

0,155

0,070

0,048

0,033

0,025

0,017

0,009

0,005

0,002

2,8

0,374

0,146

0,065

0,044

0,030

0,022

0,015

0,008

0,004

0,002

2,9

0,360

0,138

0,060

0,040

0,027

0,020

0,013

0,007

0,004

0,001

3,0

0,346

0,131

0,056

0,037

0,025

0,019

0,012

0,006

0,003

0,001

3,5

0,294

0,104

0,041

0,026

0,017

0,012

0,008

0,004

0,002

0,001

4,0

0,255

0,084

0,031

0,019

0,012

0,008

0,005

0,002

0,001

0,000

4,5

0,226

0,070

0,025

0,014

0,009

0,007

0,004

0,002

0,001

0,000

5,0

0,203

0,059

0,020

0,010

0,007

0,005

0,003

0,001

0,000

0,000

6,0

0,168

0,047

0,014

0,007

0,004

0,003

0,002

0,001

0,000

0,000

8,0

0,126

0,029

0,009

0,004

0,002

0,002

0,001

0,000

0,000

0,000

10,0

0,100

0,021

0,005

0,002

0,001

0,001

0,001

0,000

0,000

0,000

* Гидравлический показатель русла.

** Значения относительной глубины, определяемые в п. 2.3.2 по формулам (49а) - (49г).

Приложение 3

Предельно допустимые концентрации в почве (ПДК) некоторых химических веществ, характерных для хранилищ жидких отходов предприятий химического комплекса [21]

п/п

Наименование вещества

ПДК, мг/кг

Лимитирующий признак вредности***

1

Бензол

0,3

воздушно-миграционный

2

Мышьяк

2,0

транслокационный

3

Нитраты

130

воздушно-миграционный

4

Ртуть

2,1

транслокационный

5

Свинец

32,0

общесанитарный

6

Серная кислотаа

160

общесанитарный

7

Толуол

0,3

воздушно-миграционный

8

Формальдегид

7,0

воздушно-миграционный

9

Хлористый калийб

560

водно-миграционный

10

Медь

3,0*

общесанитарный

11

Цинк

23,0*

транслокационный

12

Хром

6,0*

общесанитарный

13

Никель

4,0*

общесанитарный

14

Сероводород

0,4

воздушно-миграционный

15

Фтор

2,8*

транслокационный

16

Сероводород

0,4

воздушно-миграционный

17

Фтор

10,0**

транслокационный

18

Бензинв

0,1

воздушно-миграционный

а ПДК серной кислоты может быть использована для оценки загрязнения почвы сульфат-ионом.

б ПДК хлористого калия может быть использована для оценки загрязнения почвы хлорид-ионом.

в ПДК бензина может быть использована для ориентировочной оценки загрязнения почвы нефтепродуктами с низкой температурой кипения (до 200 ºС).

* Подвижная форма элемента, извлекаемая из почвы ацетатно-аммонийным буферным раствором рН 4,8.

** Водорастворимая форма.

*** Лимитирующий признак вредности - признак, характеризующийся наименьшей безвредной концентрацией вещества (при использовании различных тестов).

Лимитирующие признаки вредности в почве:

воздушно-миграционный - характеризует переход вещества из почвы в атмосферу;

транслокационный - характеризует переход вещества из почвы через корневую систему в зеленую массу и плоды растений;

общесанитарный - показатель, характеризующий влияние химического вещества на самоочищающую способность почвы.

Приложение 4

Предельно допустимые концентрации в воде (ПДК) некоторых химических веществ, характерных для хранилищ жидких отходов предприятий химического комплекса [22, 23]

№ п/п

Наименование вещества

ПДК в воде, мг/л

водных объектов хозяйственно-питьевого и культурно-бытового водопользования

водоемов рыбохозяйственного назначения

1

2

3

4

1

Аммиак (по азоту)

2,0 (с.-т.)*

0,05 (токс.)

2

Бензол

0,5 (с.-т.)

0,5 (токс.)

3

Железо

0,3а (орг.-окр.)

0,1 (токс.)

4

Метанол

3,0 (с.-т.)

0,1 (с.-т.)

5

Мышьяк

0,05а (с.-т.)

0,05 (токс.)

6

Натрий

200 (с.-т.)

120 (с.-т.)

7

Нитриты

3,3 (с.-т.)

0,08 (токс.)

8

Нитраты

45 (с.-т.)

40 (с.-т.)

9

Ртуть

0,0005в

Отсутствие

10

Свинец

0,03 (с.-т.)

0,1 (токс.)

11

Сульфаты

500 (орг.-привк.)

100 (токс.)

12

Толуол

0,5 (орг.-зап.)

0,5 (орг.)

13

Фенол

0,001б (орг.-зап.)

0,001 (рыб. хоз.)

14

Формальдегид

0,05 (с.-т.)

0,1 (токс.)

15

Хлориды

350 (орг.-привк.)

300 (с.-т.)

16

хпк**

15; 30з

-

17

Цинк

1,0 (общ.)

0,01 (токс.)

18

Нефтепродукты

0,3 (орг.-пленка)

0,05 (рыб. хоз.)

19

Полифосфаты

3,5в (орг.)

2,0г (токс.)

20

Цианид-ион

0,035д (с.-т.)

0,05 (токс.)

21

Фторид-ион

0,7 - 1,5ж (с.-т.)

0,05е (токс.)

а с учетом валового содержания всех форм;

б эта ПДК для суммы летучих фенолов при условии применения хлора для обеззараживания воды, в иных случаях ПДК = 0,1 мг/л;

в по РО4;

г по Р;

д цианиды простые и комплексные (за исключением цианоферратов) в расчете на цианид-ион;

е в дополнение к фоновому, но не выше их суммарного содержания 0,75 мг/л;

ж для климатических районов  I - II - 1,5 мг/л;

                                                      III - 1,2 мг/л;

                                                      IV - 0,7 мг/л;

з для хозяйственно-питьевого водоснабжения 15 мг О2/л; для культурно-бытового - 30 мг О2/л.

* В скобках приведен лимитирующий признак вредности [признак, характеризующийся наименьшей безвредной концентрацией вещества (при использовании различных тестов)]:

с.-т. - санитарно-токсикологический (характеризует влияние химического вещества в воде на здоровье человека);

общ. - общесанитарный [характеризует влияние химического вещества на самоочищение воды в водоемах (процессы биохимического окисления, сапрофитную микрофлору и т.п.)];

орг. - органолептический (привкус, запах, окраска);

токс. - токсикологический.

** Химическая потребность в кислороде (ХПК) - интегральный показатель загрязнения органическими веществами (количество кислорода, эквивалентное количеству расходуемого окислителя, необходимое для восстановления всех восстановителей, содержащихся в воде).

Приложение 5

Характер разрушений инженерно-технического комплекса промышленного объекта при воздействии волны прорыва [28]

Элементы инженерно-технического комплекса

Параметры волны прорыва, вызывающие виды разрушений на объекте

легкие

слабые

средние

сильные

h, м

U, м/с

h, м

U, м/с

h, м

U, м/с

h, м

U, м/с

Промышленные здания с легким металлическим каркасом

1,5

0,5

2,0

1,0

4,0

2,0

5,0

2,5

Промышленные здания бескаркасные

1,5

0,5

2,0

1,0

4,0

2,0

5,0

2,5

Кирпичные административные и вспомогательные здания

1,5

0,5

2,0

1,0

3,0

1,5

4,0

2,0

Деревянные здания в 1 - 2 этажа

1,0

0,5

1,0

1,0

2,5

1,0

3,5

1,50

Сборные и легкие деревянные здания

1,5

0,5

2,0

1,0

2,5

1,5

3,5

1,5

Емкости, трубопроводы на опорах

1,0

0,5

1,0

1,0

2,0

2,0

4,0

4,0

Сооружения на подвижных опорах

1,5

0,5

2,5

1,0

2,5

1,5

3,5

2,5

Мосты, эстакады

-

-

-

-

0,5*

1,0

1 - 2*

1,5 - 2,5

Дороги с твердым покрытием

-

-

-

-

-

-

1,0

1,8 - 2,5

Автомобильный и железнодорожный транспорт

-

-

-

-

1,0

1 - 1,5

1,5

2,0

* Высота потока выше проезжей части сооружения.




Яндекс цитирования



   Copyright © 2007-2026,  www.tehlit.ru.

[ ѓосты, стандарты, нормативы, инструкции, правила, строительные нормы ]