//
ТехЛит.ру
- крупнейшая бесплатная электронная интернет библиотека для "технически умных" людей.
WWW.TEHLIT.RU - ТЕХНИЧЕСКАЯ ЛИТЕРАТУРА

:: Алготрейдинг::


АЛГОТРЕЙДИНГ
шаг за шагом
с нуля по урокам!

Торговые роботы на PYTHON, BackTrader,
Pandas, Pine Script для TradingView. Связка с брокерами, телеграм и легкими приложениями.


ПРАВИТЕЛЬСТВО МОСКВЫ

КОМПЛЕКС ПЕРСПЕКТИВНОГО РАЗВИТИЯ
ГОРОДА

ТЕХНИЧЕСКИЕ РЕКОМЕНДАЦИИ
по проектированию и монтажу
внутренних систем канализации
зданий из полипропиленовых труб
и фасонных частей

ТР 83-98

МОСКВА - 1999

Настоящие технические рекомендации разработаны ГУП «НИИМосстрой» по заказу Управления развития Генплана в рамках договора № 17-3/98 от 1.06.98 г.

Разработке ТР предшествовали комплексные испытания канализационных полипропиленовых (ПП) труб как отечественного производства (ООО «Синикон» и ЗАО «НПО Стройполимер»), так и инофирм («Valsir» и «Coesprene» - Италия), проведенные НИИМосстроем в порядке сертификации труб. В комплекте с полипропиленовыми трубами были выполнены испытания канализационных фасонных частей из ПП производства указанных итальянских фирм.

При подготовке рекомендаций использовалась нормативно-техническая документация заводов-изготовителей полипропиленовых труб, СНиП 2.04.01-85* «Внутренний водопровод и канализация зданий», стандарты и нормы Германии и Италии на канализационные трубы и фасонные части из ПП, а также техническая информация итальянских фирм «Valsir», «Coesprene» и «Plast mec».

Рекомендации согласованы с ГП «Мосстройлицензия», АОХК «Главмосстрой», НИИСантехники, МНИИТЭП и др. организациями.

Рекомендации разработаны к.т.н. Сладковым А. (руководитель работы), инж. Санковой Н. (НИИМосстрой) при участии инж. Прижижецкого С. (МНИИТЭП) и Мосстройлицензии (Ю.П. Емельянов).

Правительство Москвы

Комплекс перспективного развития города

Технические рекомендации по проектированию и монтажу внутренних систем канализации зданий из полипропиленовых труб и фасонных частей

ТР 83-98

1. ОБЩИЕ ПОЛОЖЕНИЯ

1.1. Настоящие технические рекомендации распространяются на опытное строительство внутренних систем канализации зданий с использованием труб и фасонных частей из полипропилена (ПП) для транспортирования постоянных стоков с температурой до 60 °С (температура кратковременных стоков в течение не более 1 минуты может достигать 90 °С).

1.2. Трубная продукция из полипропилена используется при монтаже систем внутренней канализации в домах массового и индивидуального жилищного строительства, а также в типовых зданиях общественного назначения (детские дошкольные учреждения, школы, магазины, поликлиники и др.).

1.3. Трубы и фасонные части из ПП рекомендуется применять в системах внутренней канализации для монтажа стояков и отводных трубопроводов от санитарных приборов в санитарно-технических кабинах и блоках, при установке отдельных санитарных приборов (при монтаже «россыпью») и в санитарных узлах, для вытяжных трубопроводов, прокладываемых в чердачных помещениях, для монтажа канализационных трубопроводов в подземной части зданий (в технических подпольях, подвалах).

1.4. Трубы и фасонные части из ПП рекомендуется применять в строящихся и реконструируемых зданиях. Использование в одном здании канализационной трубной продукции из различных материалов, как правило, не допускается.

Примечание. Возможные исключения из этого правила указаны в п. 2.8 и 2.9.

Разработаны НИИМосстроем

Внесены:

Управлением развития Генплана

Утверждены:

Первый заместитель руководителя Комплекса перспективного развития города

Е.П. Заикин

«27» ноября 1998 г.

Дата введения в действие

«1» декабря 1998 г.

1.5. Для монтажа систем внутренней канализации рекомендуется использовать трубы из полипропилена как отечественного производства, выпускаемые в соответствии с ТУ 4926-010-42943419-97 (ООО «Синикон») и ТУ 4926-005-41989945-97 (ЗАО «НПО Стройполимер»), так и импортные, не уступающие по показателям свойств требованиям указанных ТУ.

1.6. Длина труб и патрубков, выпускаемых по ТУ 4926-005-41989945-97 представлена в табл. 1.

Таблица 1

№№ пп

Диаметр, мм

Длина патрубков, мм

Длина труб, мм

1

110

150

1000

250

1500

500

2000

750

3000

2

50

150

1000

250

1500

500

2000

750

3000

Примечание: ООО «Синикон» (Россия) по заказу потребителей изготавливает канализационные трубы и патрубки из полипропилена любой требуемой длины в диапазоне 150 - 2000 мм.

1.7. Основные справочные показатели свойств труб из ПП приведены в приложении 1.

1.8. До освоения отечественной промышленностью выпуска фасонных частей из полипропилена следует применять изделия импортного производства, соответствующие требованиям национального стандарта Германии DIN V 19560.

1.9. Основная номенклатура фасонных частей из ПП, поставляемых зарубежными фирмами для монтажа систем внутренней канализации зданий, представлена в таблице 2.

Таблица 2

Основная номенклатура фасонных частей из полипропилена, поставляемых зарубежными фирмами для монтажа систем внутренней канализации зданий

№№ пп

Наименование

Диаметр, мм

1

2

3

1

Отвод 87°30'

110

50

2

Отвод 45°

110

50

3

Отвод 30°

110

50

4

Отвод 15°

110

50

5

Тройник 87°30'

110´110

110´50

50´50

50´40

40´40

6

Тройник 45°

110´110

110´50

110´40

50´50

50´40

40´40

7

Патрубок компенсационный

110

50

8

Переход

110´50

50´40

50´32

40´32

9

Крестовина двухплоскостная 67°30'

110´110´110

110´50´110

110´110´50

110´50´50

10

Крестовина одноплоскостная 87°30'

110´110´110

110´50´50

11

Крестовина одноплоскостная 67°30'

110´110´110

110´50´50

50´50´50

12

Ревизия с крышкой

110

50

13

Отвод комбинированный 90° для унитаза с патрубком 45° (правый и левый)

110´50

110´40

14

Отвод комбинированный 90° с патрубком 45° (правый и левый)

110´50

110´40

15

Отвод комбинированный 90° с патрубком 30° (правый и левый)

110´50

110´40

16

Отвод приборный для унитаза

110

17

Приборный патрубок для унитаза

110

18

Патрубок для подсоединения чугунных труб Ду = 100 мм

 

110

19

Патрубок для подсоединения отводных труб сифонов

50

40

20

Переходный патрубок

50´40

40´32

21

Муфта надвижная

110

50

40

22

Муфта

110

50

40

23

Заглушка

110

Примечания: 1. Конструкция и основные размеры фасонных частей из полипропилена импортного производства, изготавливаемых в соответствии с требованиями DIN V 19560, представлены в приложении 2 (рис. 20 - 36)

2. Зарубежные фирмы-изготовители канализационных фасонных частей из ПП располагают рядом дополнительных наименований изделий, поставка которых может осуществляться по заявкам потребителей.

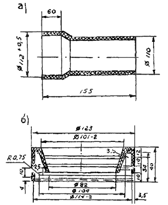
1.10. Конструкция и основные размерные характеристики трубной продукции из ПП представлены на рис. 1 и в табл. 3.

1.11. Канализационные трубы и фасонные части из ПП должны быть сертифицированы в установленном порядке и иметь гигиенический сертификат Госсанэпиднадзора РФ или аккредитованных им органов сертификации и сертификат соответствия центрального органа сертификации в строительстве Госстроя РФ или аккредитованных им органов сертификации.

1.12. Трубы, патрубки и фасонные части к ним изготавливаются с раструбами под резиновые уплотнительные кольца манжетного типа.

Рис. 1. Основные размерные характеристики трубной продукции из ПП

Таблица 3

Размеры в мм

Диаметр условного прохода

Д1

Д2

Д3

S1 min

S2 min

S3 min

L min

L1

L1 max

L min

50

50+0,3

50,3+0,8

59,6+1,0

1,8+0,4

1,6

1,0

5

7,8+1,8

56

3,5

110

110+0,4

110,4+0,9

120,6+1,8

2,7+0,5

2,4

1,5

6

9,1+2,0

76

4,5

Рис. 2. Резиновое уплотнительное кольцо манжетного типа с пластмассовым распорным вкладышем:

1 - резиновое кольцо; 2 - пластмассовый распорный вкладыш

Таблица 4

Основные размеры резиновых уплотнительных колец манжетного типа с распорными вкладышами

Размеры в мм

Наружный диаметр гладкого конца труб и фасонных частей

Наружный диаметр кольца, Д

Ширина кольца

В

Толщина кольца

S

110

123,2

7,8

9,1

50

61,9

6,7

7,1

Рис. 3. Резиновое уплотнительное кольцо манжетного типа без распорного пластмассового вкладыша:

1 - резиновое кольцо; 2 - «язычок» резинового кольца

Таблица 5

Основные размеры резиновых уплотнительных колец манжетного типа без распорных вкладышей

Размеры в мм

Наружный диаметр гладкого конца труб и фасонных частей

Наружный диаметр кольца, Д

Ширина кольца

В

Толщина кольца

S

110

123,9

7,9

8,9

50

61,5

6,5

7,8

Резиновые кольца, предназначенные для уплотнения раструбных соединений трубной продукции из ПП производства «Valsir» и «Coesprene», снабжены пластмассовым распорным вкладышем, без которого использование уплотнителя не допускается.

Примечания: 1. В конструкции уплотнительных колец, выпускаемых рядом других зарубежных фирм, распорное кольцо не предусмотрено.

2. До освоения отечественной промышленностью изготовления резиновых колец манжетного типа, в качестве уплотнителей для канализационных труб из ПП отечественного производства рекомендуется использовать резиновые кольца импортного производства, строго соответствующие по конструкции и размерам типу труб по техническим условиям.

1.13. Конструкция и размеры резиновых уплотнительных колец манжетного типа с пластмассовыми распорными вкладышами даны на рис. 2 и в табл. 4, колец без вкладышей - на рис. 3 и в табл. 5.

1.14. Комплектация уплотнителями труб и фасонных частей импортного производства должна осуществляться фирмами-поставщиками трубной продукции из ПП.

2. ОСОБЕННОСТИ ПРОЕКТИРОВАНИЯ ВНУТРЕННИХ СИСТЕМ КАНАЛИЗАЦИИ ИЗ ПОЛИПРОПИЛЕНОВЫХ ТРУБ

2.1. При проектировании систем внутренней канализации многоэтажных жилых зданий и зданий социально-культурного назначения для обеспечения требований пожаробезопасности рекомендуется предусматривать противопожарные преграды в виде муфт со вкладышем из огнезащитного терморасширяющегося (вспучивающегося) материала, обладающих пределом огнестойкости от Е1 120 до Е1 180.

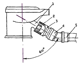
2.2. При проходе канализационного стояка из полипропиленовых труб наружным диаметром 110 мм сквозь железобетонные перекрытия на стояке на каждом этаже под перекрытием (в проеме перекрытия) зданий высотой до 75 м следует устанавливать противопожарную муфту типа «ОГРАКС-ПМ-110» длиной 60 мм с огнезащитным терморасширяющимся материалом «ОГРАКС-Л» на основе полимерного материала с минеральным наполнителем толщиной 10 мм, отвечающим требованиям ТУ 285-027-13267785-04 ЗАО «УНИХИМТЕК». Вид и размеры противопожарной муфты «ОГРАКС-ПМ-110» приведены на рис. .

Примечание: Под перекрытием зданий высотой более 75 м следует устанавливать противопожарную муфту «ОГРАКС-ПМ-110» длиной 120 мм с толщиной огнезащитного материала «ОГРАКС-Л» 10 мм.

Рис. 3а. Противопожарная муфта «ОГРАКС-ПМ-110»:

1 - корпус из листовой стали; 2 - замковое устройство; 3 - ушко корпуса для крепления муфты к перекрытию; 4 - огнезащитный терморасширяющийся (вспучивающийся) материал «ОГРАКС-Л»

2.3. Схема конструкции узла прохода канализационного этажа стояка из полипропиленовых труб сквозь железобетонные перекрытия с использованием противопожарной муфты «ОГРАКС-ПМ» приведены на рис. .

Рис. 3б. Схемы конструкции узла прохода канализационного этажа стояка из полипропиленовых труб сквозь железобетонное перекрытие с использованием противопожарной муфты «ОГРАКС-ПМ»:

I - при установке муфт под перекрытием; II - при установке муфт с заглублением в проем перекрытия

1 - железобетонное перекрытие; 2 - канализационный стояк из полипропиленовых труб; 3 - рулонный гидроизоляционный материал; 4 - заделка проема раствором; 5 - противопожарная муфта «ОГРАКС-ПМ»; 6 - крепление муфты к перекрытию металлическими дюбелями (анкерными болтами)

Рис. 3в. Схемы конструкции прохода горизонтального канализационного трубопровода диаметром 110 (160) мм полипропиленовых труб сквозь стены помещений здания с использованием противопожарной муфты «ОГРАКСМ»:

1 - стена; 2 - канализационный трубопровод из полипропиленовых труб; 3 - рулонный гидроизоляционный материал; 4 - заделка проема; 5 - противопожарные муфты «ОГРАКС-ПМ»; 6 - разогнутые ушки крепления муфты.

2.1 - 2.3 (Новая редакция, Изм. № 1).

2.4. При проходе горизонтального канализационного трубопровода из полипропиленовых труб диаметром 110 мм сквозь стены толщиной не менее 100 мм помещений и частей зданий, равноценных по функциональной пожарной опасности, на трубопроводы с каждой стороны стены следует устанавливать противопожарные муфты «ОГРАКС-ПМ-110» длиной 60 мм.

Схемы конструкции узла прохода горизонтального канализационного трубопровода из полипропиленовых труб сквозь стены помещений с использованием противопожарной муфты «ОГРАКС-ПМ» приведены на рис. .

При проектировании систем внутренней канализации из полипропиленовых труб для многоэтажных жилых домов и зданий социально-культурного назначения (детские учреждения, школы, магазины, здания лечебного назначения и т.п.) отсекатели огня по экономическим соображениям, как правило, применять не следует.

Для этих зданий в соответствии с требованиями СНиП 2.04.01-85* «Внутренний водопровод и канализация зданий» должны выполняться следующие условия, обеспечивающие пожарную безопасность.

- в подвалах зданий при отсутствии в них производственных, складских и служебных помещений, а также на чердаках и в санузлах жилых зданий прокладку канализационных трубопроводов из ПП допускается предусматривать открыто; при этом в подвалах и на чердаках зданий предусматриваются меры, исключающие доступ посторонних людей в эти помещения.

(Измененная редакция, Изм. № 1).

2.5. При привязке проекта системы канализации из полипропиленовых труб к конкретному объекту рекомендуется уточнять номенклатуру канализационных фасонных частей из ПП, которые выпускаются и поставляются зарубежными фирмами, и при необходимости вносить соответствующие коррективы в основной вариант проекта.

2.6. Канализационные трубопроводы из ПП, прокладываемые в помещениях, где в условиях эксплуатации возможно их механическое повреждение, следует защищать, а участки сети, которые могут эксплуатироваться при отрицательных температурах, следует утеплять.

2.7. Канализационные сети из полипропиленовых труб допускается прокладывать в земле под полом здания. При этом наименьшая глубина заложения принимается из условия предохранения труб от разрушения под действием постоянных и временных нагрузок.

2.8. В отдельных случаях допускается монтаж трубопроводов из чугуна в подвалах и технических подпольях зданий, в которых стояки и отводные трубопроводы смонтированы из полипропилена, при этом чередование пластмассовых и чугунных труб должно быть исключено.

2.9. При проектировании систем внутренней канализации из полипропиленовых труб допускается использование: полиэтиленовых сифонов отечественного и импортного производства для моек, умывальников, ванн и др. санитарных приборов и литьевых резьбовых патрубков из полиэтилена для подсоединения чугунных сифонов ванн.

Примечание. Предпочтительным является использование вышеуказанных элементов, изготовленных из полипропилена.

2.10. Величину температурного удлинения трубопровода следует определять по формуле:

Δl = α · Δt · l

где α - коэффициент линейного расширения, принимаемый для полипропилена 1,1 ´ 10-4/°С;

Δt - максимальная разность температур во время монтажа трубопровода и в период его эксплуатации, °С;

l - первоначальная длина трубопровода в момент монтажа, м.

2.11. Для компенсации строительных допусков (высота этажа в типовом строительстве может отличаться на 2 - 3 см, а в отдельных случаях - до 5 см) и для упрощения технологии монтажно-сборочных работ рекомендуется предусматривать установку на каждом этажестояке специального компенсационного патрубка с удлиненным раструбом.

2.12. Компенсационный патрубок рекомендуется использовать также на нижних частях стояков в технических подпольях зданий, что позволяет обеспечивать необходимый уклон горизонтальных трубопроводов при унификации узлов подвальных частей стояков.

2.13. Вытяжные трубопроводы из ПП в чердачных помещениях и сборные полипропиленовые трубопроводы в технических подпольях монтируются только в зданиях с канализационными стояками из полипропилена.

2.14. Для присоединения умывальников, моек, ванн и др. санитарных приборов к патрубкам и фасонным частям из ПП рекомендуется использовать полиэтиленовые сифоны отечественного производства с отводными трубами Д = 40 мм, а также импортные сифоны из полиэтилена или полипропилена. Сифоны импортного производства в зависимости от конструкции подсоединяются к трубопроводам из ПП Д = 50 мм при помощи отводных труб Д = 40 или 50 мм.

2.15. Номенклатура пластмассовых сифонов импортного производства представлена в приложении 3.

2.16. Сифоны, используемые при монтаже систем внутренней канализации зданий, должны быть сертифицированы.

2.17. Монтаж отводной трубы Д = 40 мм пластмассового сифона с трубопроводом из ПП Д = 50 мм может выполняться с использованием переходного патрубка ПП 50´40 мм (рис. 4), тройника ПП 50´40 мм, перехода ПП 50´40 мм. Раструбные соединения этих фасонных частей с отводной трубой сифона, наружный диаметр которой равен 40 мм, уплотняются резиновыми кольцами манжетного типа.

Примечание. Для подсоединения к трубопроводам из ПП пластмассовых сифонов импортного производства с отводными трубами диаметром от 32 до 55 мм могут быть использованы специальные отводы или патрубки с гладким раструбом.

В качестве уплотнителя служит резиновая манжета, которой укомплектованы указанные фасонные части.

2.18. Соединение чугунного сифона ванны с трубами из ПП Д = 50 мм рекомендуется выполнять с помощью литьевого резьбового полиэтиленового патрубка производства ОАО «Сантехпром» (рис. 5).

Примечание. Резьбовые полиэтиленовые патрубки, предназначенные для соединения с трубами из ПП, имеют диаметр гладкого конца 50 мм.

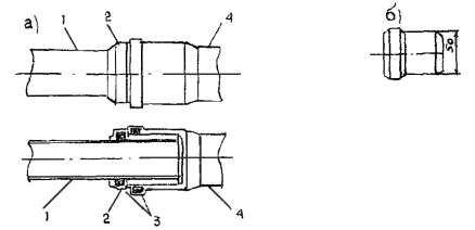
Рис. 4. Вариант соединения отводной трубы Д = 40 мм пластмассового сифона с трубопроводом из ПП Д = 50 мм при помощи переходного патрубка ПП 50´40:

а) соединение в сборе; б) переходный патрубок ПП 50´40

1 - отводная труба Д = 40 мм пластмассового сифона; 2 - переходный патрубок ПП 50´40; 3 - резиновое уплотнительное кольцо; 4 - фасонная часть или патрубок ПП Д = 50 мм

Рис. 5. Узел соединения чугунного сифона ванны с отводным трубопроводом из ПП

а) узел соединения; 1 - ванна; 2 - резьбовой патрубок из полиэтилена; 3 - патрубок из ПП Д = 50 мм; 4 - чугунный сифон; 5 - переливная труба.

б) резьбовой патрубок из полиэтилена

2.19. Для соединения выпусков унитазов с трубопроводами из ПП Д = 110 мм предусмотрены приборные отводы или приборные патрубки (см. рис. 29 и 30 приложения 2). В качестве уплотнителя используется специальная резиновая манжета, закрепленная в раструбе этих деталей (рис. 6).

Примечание. Допускается вариант подсоединения унитаза с косым выпуском, изготавливаемого по ГОСТ 22847, к трубопроводу из ПП Д = 110 мм с использованием приборного патрубка из ПП с гладким раструбом (рис. 7а) и резиновой уплотнительной манжеты (рис. 7б).

Изготовление таких приборных патрубков с комплектацией резиновыми уплотнительными манжетами отечественного производства производит ОАО «Сантехпром».

2.20. Подсоединение выпуска Д = 100 мм чугунного трапа (ГОСТ 1811) к трубам из ПП Д = 110 мм производится при помощи специального соединительного патрубка из ПП Д = 110 мм, имеющего гладкий раструб, внутренний диаметр которого составляет 124 мм. Монтаж выпуска чугунного трапа с раструбом соединительного патрубка выполняется с использованием двух уплотнителей: резинового кольца круглого поперечного сечения, наружный диаметр и диаметр поперечного сечения которого составляет соответственно 118 и 10 мм, и резиновой манжеты, наружный диаметр которой равен 124 мм (рис. 8).

Примечание: Специальные патрубки для подсоединения выпусков чугунных трапов к трубопроводам из ПП поставляются в комплекте с вышеуказанными резиновыми уплотнителями.

2.21. Перепуск стоков от гидрозатвора системы водостоков в систему канализации может выполняться с использованием стальной перепускной трубы Ду = 32 мм, подсоединяемой к тройнику из ПП 110´50 (рис. 9) при помощи переходного патрубка из ПП Д = 50 мм с гладким раструбом, в котором установлена резиновая манжета для уплотнения раструбного соединения переходного патрубка с металлической трубой Ду = 32 мм.

2.22. При подсоединении трубопроводов из ПП, прокладываемых в подвалах и технических подпольях зданий, к канализационным выпускам из полипропиленовых труб диаметром 110 мм применяются обычные способы соединения на резиновых кольцах.

Рис. 6. Вариант соединения выпуска унитаза с трубопроводом Д = 110 мм с использованием приборного патрубка из ПП и резиновой уплотнительной манжеты, закрепленной в раструбе приборного патрубка:

1 - выпуск унитаза; 2 - резиновая уплотнительная манжета; 3 - приборный патрубок; 4 - отвод ПП 110 - 30°; 5 - патрубок ПП Д = 110 мм

Рис. 7. Приборный патрубок из ПП с гладким раструбом (а) и резиновая уплотнительная манжета (б) отечественного производства для подсоединения выпуска унитаза, изготавливаемого по ГОСТ 22847

Рис. 8. Схема сборки выпуска чугунного трапа с трубопроводом из ПП:

1 - патрубок из ПП Д = 110 мм; 2 - соединительный патрубок из ПП Д = 110 мм с гладким раструбом; 3 - резиновая манжета; 4 - резиновое кольцо круглого поперечного сечения; 5 - выпуск чугунного трапа Д = 110 мм

Рис. 9. Узел перепуска от гидрозатвора:

1 - патрубок ПП Д = 110 мм; 2 - тройник ПП 110´50-87°30'; 3 - резиновое уплотнительное кольцо; 4 - переходной патрубок из ПП; 5 - резиновая уплотнительная манжета для соединения полипропиленовых стальных труб; 6 - стальная труба Ду = 32 мм; 7 - стальная труба Ду = 15 мм

При использовании чугунного выпуска диаметром 100 мм гладкий конец полипропиленовой детали соединяется с раструбом чугунной трубы или фасонной части с помощью круглого уплотнительного резинового кольца внутренним диаметром 106 мм и диаметром сечения 9,0 мм с последующим заполнением раструба расширяющимся цементом (рис. 10).

Примечание. При отсутствии колец допускается применение соединений с заделкой раструба просмоленной прядью и раствором расширяющегося цемента, при этом внутрь конца детали из полипропилена запрессовывается в нагретом состоянии отрезок стальной трубы наружным диаметром 108 мм. Варианты узлов соединения канализационного трубопровода из ПП с чугунным выпуском диаметром 100 и 150 мм представлены на рис. 11.

2.23. Указанные в п. 2.22 способы соединения полипропиленовых труб с чугунными могут использоваться при необходимости подсоединения канализационных стояков из ПП к чугунным трубопроводам, прокладываемым в подвалах и технических подпольях зданий.

2.24. Переход стояков в горизонтальный трубопровод с малым уклоном в техподпольях может осуществляться при помощи наборов отводов 2´45° и 3´30°, а с большим уклоном - 45° + 30°.

2.25. Присоединение стояков к транзитным горизонтальным трубопроводам не должно производиться с использованием фасонных частей под углом 87°30'; углы поворотов горизонтально расположенных трубопроводов выполняются из набора отводов 45° или 30°.

2.26. Вытяжные трубопроводы от стояков в пределах одной секции рекомендуется объединять в общий трубопровод диаметром 110 мм, который выводится в вентиляционную шахту на 10 см выше ее кромки (рис. 12).

Рис. 10. Соединение гладкого конца детали из ПП с чугунным раструбом:

1 - чугунный раструб; 2 - резиновое кольцо; 3 - расширяющийся цемент; 4 - деталь из ПП

Рис. 11. Варианты узла соединения канализационного трубопровода из ПП с чугунным выпуском:

а) вариант перехода ПП на чугунную трубу диаметром 100 мм; б) вариант перехода ПП на чугунную трубу диаметром 150 мм; 1 - труба (патрубок) из ПП; 2 - ревизия; 3 - резиновое кольцо; 4 - труба из ПП с запрессованным стальным патрубком; 5 - заделка канатом и цементом; 6 - пробка; 7 - тройник чугунный Ду = 100 мм; 8 - труба (патрубок) чугунная Ду = 100 мм; 9 - отвод чугунный 45° Ду = 100 мм; 10 - патрубок переходный чугунный 100´150 мм; 11 - тройник чугунный Ду = 150 мм; 12 - чугунная труба (патрубок) Ду = 150 мм; 13 - отвод чугунный 45° Ду = 150 мм

Рис. 12. Вариант узла ввода канализационного трубопровода из ПП в вентиляционную шахту:

1 - труба из ПП; 2 - отвод ПП 87°30'

2.27. Врезка и углы поворотов сборных канализационных трубопроводов на чердаках зданий могут выполняться с использованием ПП тройников и отводов 87°30', 45° и 30°.

2.28. Прокладка трубопроводов из ПП вплотную к строительным конструкциям не допускается, расстояние в свету между трубами из ПП и строительными конструкциями должно быть не менее 20 мм, между трубами из ПП и стальными трубами отопления и горючего водоснабжения, проложенными параллельно - не менее 100 мм, при пересечении труб расстояние может быть уменьшено до 50 мм.

2.29. Для крепления труб из полипропилена к строительным конструкциям рекомендуется применять металлические крепежные хомуты. Между скобами хомута и трубой укладываются пластмассовые прокладки с буртиками.

2.30. Места установки креплений на канализационных трубопроводах предусматриваются проектом.

2.31. Расстановка креплений должна отвечать следующим требованиям:

- крепления должны направлять удлинения трубопроводов в сторону соединений, используемых в качестве компенсаторов;

- крепления целесообразно устанавливать у раструбов соединений с резиновыми кольцами, допускающими возможность взаимного поворота соединяемых деталей; такие крепления увеличивают жесткость смонтированного трубопровода в направлении, перпендикулярном его оси; отсутствие креплений уменьшает его жесткость;

- крепления не должны препятствовать прокладке труб с необходимым уклоном, а также должны обеспечивать вертикальность и соосность деталей трубопровода на стояках;

- установленные непосредственно на раструбах соединений с резиновыми кольцами крепления могут уменьшить возможность соединений воспринимать температурные удлинения;

- устанавливаемые на гладком конце трубы крепления должны находиться от раструба на расстоянии, допускающем расчетные температурные удлинения трубопровода;

- между неподвижными креплениями (т.е. креплениями, не допускающими перемещения трубопровода в осевом направлении) предусматривается не более двух соединений, используемых в качестве компенсаторов;

- расстояние между неподвижными креплениями для трубопроводов диаметром 50 и 110 мм с соединениями на резиновых кольцах должно приниматься соответственно не более 1,0 и 2,0 м;

- расстояние между неподвижными креплениями и при установке компенсационного патрубка определяется из расчета l = 180Δf, где Δf - зазор для компенсации температурных удлинений. Между неподвижными креплениями допускается установка только одного компенсационного патрубка;

- расстояние между подвижными креплениями для горизонтальных трубопроводов из ПП составляет 10Дн, а для вертикальных трубопроводов 20Дн (где Дн - наружный диаметр трубы);

- при установке креплений на фасонных частях необходимо предусматривать расстояние для компенсации температурных удлинений;

- при невозможности установки крепления на фасонной части, соседние детали закрепляются хомутами на расстояниях, обеспечивающих компенсацию удлинения фасонной части.

2.32. Установка креплений не требуется на патрубках, используемых при присоединении к сети выпусков унитазов и трапов, а также на отводных трубах от пластмассовых сифонов.

2.33. При расстановке креплений на канализационных трубопроводах из полипропилена следует следить за тем, чтобы санитарные приборы и приемники хозяйственных сточных вод были прочно закреплены на строительных конструкциях, а металлические элементы имели бы самостоятельное крепление, предотвращающее передачу веса на трубопроводы из полипропилена.

2.34. При проектировании систем внутренней канализации из полипропиленовых труб следует учитывать, что сборка раструбных соединений с резиновыми уплотнительными кольцами труб и фасонных частей диаметром 110 и 50 мм должна производиться введением гладкого конца трубы или фасонной части в раструб на длину, соответственно равную 50 и 37 мм (зазор между торцом детали и упорной поверхностью раструба используется для компенсации температурных удлинений трубопровода).

Рис. 13. Монтажные схемы (а, б, в, г) канализационных стояков:

1 - патрубок ПП 110; 2 - ревизия ПП 110; 3 - компенсационный патрубок ПП 110; 4 - тройник ПП 110´50 - 87°30'; 5 - двухплоскостная крестовина ПП 110´110´50 - 87°30'; 6 - неподвижное крепление

2.35. Проектные решения канализационных стояков и горизонтальных трубопроводов должны включать набор патрубков и фасонных частей, обеспечивающих возможность подсоединения сантехприборов. На рис. 13 показаны варианты этажестояков для подсоединения унитазов, ванн, умывальников и кухонных моек (а, б) либо только унитазов, ванн и умывальников (в, г). В том и другом случае этажестояки могут выполняться как с ревизиями (а, в), так и без ревизий (б, г).

2.36. При проектировании систем канализации из ПП труб в зданиях общественного назначения с отведением химических стоков (больницы и др.) рекомендуется проверять химическую стойкость труб из ПП к соответствующим веществам.

3. ТРАНСПОРТИРОВАНИЕ И ХРАНЕНИЕ КАНАЛИЗАЦИОННЫХ ТРУБ И ФАСОННЫХ ЧАСТЕЙ ИЗ ПОЛИПРОПИЛЕНА

3.1. Канализационные трубы и фасонные части из полипропилена транспортируют любым видом транспорта при соблюдении правил, действующих на данном виде транспорта.

3.2. Детали и узлы трубопроводов, а также санитарно-технические кабины с трубами из ПП допускается перевозить при температурах до -20 °С.

3.3. Погрузочно-разгрузочные работы, складирование и транспортирование санитарно-технических кабин, укрупненных узлов, а также труб и фасонных частей из ПП должны производиться с соблюдением мер, исключающих возможность повреждения трубной продукции из полипропилена.

3.4. Трубы перевозят в пакетах, формирование которых осуществляется в соответствии с требованиями ТУ 4926-010-42943419-97 или ТУ 4926-005-41989945-97.

3.5. Транспортировку фасонных частей и узлов трубопроводов следует производить в контейнерах, ящиках или картонных коробах. Упаковка должна обеспечивать сохранность изделий и безопасность погрузочно-разгрузочных работ.

3.6. Запрещается сбрасывать трубы, сформированные в пакеты, укрупненные узлы и фасонные части с транспортных средств.

3.7. На каждое грузовое место должен крепиться ярлык из бумаги (фанеры), содержащий следующие данные:

- наименование предприятия-изготовителя;

- условное обозначение изделия;

- номер партии и дату изготовления;

- количество изделий в упаковке (в штуках или в метрах);

- упаковщик.

При упаковке в одну тару нескольких партий изделий число ярлыков должно быть равно количеству упакованных партий.

3.8. Допускается поставка труб с кольцом, вложенным в желобок раструба.

3.9. Трубную продукцию из полипропилена следует хранить на складах в условиях, исключающих возможность действия прямых солнечных лучей, на расстоянии более 1 м от нагревательных приборов.

Допускается хранение фасонных частей на стеллажах, имеющихся на складе, без упаковки.

3.10. В условиях строительной площадки трубные изделия, узлы и санитарно-технические кабины с трубами из ПП, предназначенные для монтажа систем внутренней канализации, должны храниться на горизонтальных площадках приобъектных складов в зоне действия башенного крана и быть защищены от действия прямых солнечных лучей.

3.11. На складе санитарно-технические кабины устанавливаются в рабочем положении на деревянные бруски, которые должны располагаться в местах, указанных в рабочих чертежах кабин, и опираться на плотное основание. Выступающие детали канализационных стояков должны находиться на расстоянии не менее 2 см от поверхности основания, на которое установлены кабины.

3.12. При транспортировании и хранении укрупненных узлов и санитарно-технических кабин с трубами и фасонными частями из ПП рекомендуется закрывать отверстия деталей инвентарными пробками, рубероидом и т.п. материалами с целью предотвращения засоров строительным мусором.

3.13. Рабочий персонал, осуществляющий перевозку и погрузочно-разгрузочные работы трубных изделий, узлов и санитарно-технических кабин с трубами из ПП, должен знать о пониженной сопротивляемости полипропилена ударным и изгибающим нагрузкам при отрицательных температурах и о необходимости осторожного обращения с ними в зимнее время.

4. ОСОБЕННОСТИ МОНТАЖА СИСТЕМ ВНУТРЕННЕЙ КАНАЛИЗАЦИИ ЗДАНИЙ ИЗ ПОЛИПРОПИЛЕНОВЫХ ТРУБ И ФАСОННЫХ ЧАСТЕЙ

4.1. Устройство систем внутренней канализации из полипропиленовых труб и фасонных частей осуществляется в соответствии с проектной документацией. При монтаже укрупненных узлов пользуются монтажным проектом.

4.2. Монтаж канализационных трубопроводов из полипропилена проводят при температуре не ниже -10 °С.

4.3. Трубы и фасонные части из ПП должны иметь маркировку, указывающую материал изделия, диаметр и нормативно-техническую документацию, в соответствии с которой изготовлено данное изделие.

4.4. Монтаж канализационных трубопроводов из ПП может выполняться как из готовых узлов, собранных и испытанных в условиях трубозаготовительного производства, так и из отдельных труб, патрубков и фасонных частей - «россыпью».

4.5. Оснащение элементами внутренней канализации из ПП санитарно-технических кабин полной заводской готовности для строительства жилых зданий осуществляется на кабиностроительных заводах. На наружной поверхности стены сантехкабины наносятся маркировочные знаки в виде черных букв «ПП» высотой 8 - 10 см.

4.6. При проведении монтажных работ подлежат выбраковке:

а) все трубы и фасонные части из полипропилена, имеющие трещины или сколы;

б) фасонные части, имеющие внутреннюю выпрессовку с острыми кромками;

в) резиновые кольца и уплотнительные манжеты, имеющие разрывы и неудаленную выпрессовку, а также кольца, в которых отсутствуют предусмотренные конструкцией распорные пластмассовые вкладыши;

г) элементы металлических креплений, имеющие заусенцы в местах сопряжения с трубами и фасонными частями из ПП.

4.7. Сборка соединений с резиновыми кольцами труб и фасонных частей из ПП диаметром 110 и 50 мм должна производиться путем введения гладкого конца одной детали в раструб другой до метки, определяющей глубину вдвигания.

Примечание. При отсутствии меток заводского изготовления их необходимо нанести на гладкие концы труб, патрубков и фасонных частей масляной краской, грифелями и т.п.

4.8. Раструбное соединение с резиновым уплотнительным кольцом рекомендуется собирать в следующем порядке:

а) очищают от загрязнений наружную поверхность детали и внутреннюю поверхность раструба с установленным в желобке резиновым кольцом;

б) смазывают гладкий конец патрубка с фаской глицерином, жидким мылом или мыльным раствором. Смазка концов деталей маслами, солидолом или другими аналогичными смазочными материалами запрещается.

в) вручную либо с применением специального монтажного приспособления производят сборку соединения. При этом легким вращением гладкий конец патрубка вводят в раструб до метки либо раструб надвигают на конец патрубка (расстояние до метки для труб Д = 110 мм составляет 50 мм, для труб Д = 50 мм - 37 мм);

г) проверяют качество сборки, поворачивая одну из соединяемых деталей относительно другой (если кольцо не выдавлено, деталь легко проворачивается).

4.9. При монтаже санитарно-технические кабины с трубами из ПП устанавливают на междуэтажные перекрытия друг над другом и соединяют канализационные стояки между собой посредством междуэтажной вставки со строгим соблюдением соосности.

Несоосная сборка может привести к разгерметизации соединений, так как при этом нарушаются условия для температурных удлинений смонтированных трубопроводов.

4.10. При сборке канализационных стояков Д = 110 мм санитарно-технических кабин междуэтажные вставки вводят в раструбы компенсационных патрубков на длину не менее 50 мм.

4.11. При монтаже канализационных стояков в санитарно-технических кабинах (рис. 14) междуэтажную вставку 3, состоящую из патрубков 2 и 4, выдвигают из компенсационного патрубка 5 и соединяют с двухплоскостной крестовиной 1 вышележащей кабины. При этом рекомендуется выполнять следующие операции:

- проверяют наличие уплотнительного кольца в желобке раструба патрубка 2;

- наносят на гладкий конец двухплоскостной крестовины вышележащей кабины смазку (глицерин, мыльный раствор и т.п.);

- ослабляют крепления 6 и 7;

- надвигают междуэтажную вставку 3 на гладкий конец двухплоскостной крестовины 1;

- каждый элемент междуэтажной вставки 3 устанавливают в проектное положение (до монтажной метки);

- затягивают крепления 6 и 7.

4.12. На строительной площадке в необходимых случаях допускается механическая обработка труб и патрубков из ПП (резка и снятие фаски). Резка и укорачивание фасонных частей запрещается.

4.13. Для резки труб и патрубков в условиях монтажа рекомендуется применять ручные ножовки для металла с обычными полотнами, столярные ножовки, а также мелкозубые плотницкие пилы. Предпочтительно использовать ручные пилы со следующими характеристиками: высота зубьев - 2,5 - 3,0 мм, шаг зубьев - 2,0 - 3,0 мм, развод зубьев - 0,5 - 0,7 мм, толщина полотна - 0,8 - 1,0 мм.

Рис. 14. Схема поэтажной сборки канализационного стояка из полипропиленовых труб и фасонных частей:

1 - двухплоскостная крестовина; 2, 4 - патрубки; 3 - междуэтажная вставка; 5 - компенсационный патрубок; 6, 7 - крепления (два полухомута, скрепленные болтами)

4.14. Разрезать трубы и патрубки необходимо строго перпендикулярно их оси. При резке вручную рекомендуется применять шаблон, изготовленный из сухих досок или многослойной фанеры. Образующиеся при резке заусенцы и стружка снимаются шабером.

4.15. После резки с наружной стороны трубы специальным приспособлением снимается фаска под углом 15°.

Примечание. Для снятия фаски допускается использовать напильник с крупными насечками (рашпилем).

4.16. Заглушки на раструбах фасонных частей или патрубков, служащие для прочистки канализации в технических подпольях, должны закрепляться дополнительно, например, способом, показанным на рис. 15.

4.17. При монтаже групповых умывальников, моек, писсуаров и других санитарных приборов объединенные отводные трубопроводы закрывают съемными коробами или замоноличивают после проведения гидравлических испытаний системы.

4.18. Прямые и косые крестовины, с помощью которых происходит присоединение санитарных приборов или отводных трубопроводов, должны иметь самостоятельное крепление к строительным конструкциям.

4.19. В техподпольях над трубопроводами из ПП проходы следует обустраивать деревянными переходными мостиками аналогично тому, как показано на рис. 16.

4.20. Металлические крепления трубопроводов должны иметь антикоррозионное покрытие.

4.21. Для крепления канализационных трубопроводов, прокладываемых по полу в чердачных помещениях и технических подпольях зданий, могут использоваться укладываемые на пол керамзитобетонные блоки высотой 15 - 20 см, к которым пристреливают стальные телескопические крепления, позволяющие производить перемещение хомутов по высоте на 10 - 40 см с целью обеспечения необходимого уклона трубопровода.

Рис. 15. Фиксатор для крепления заглушек в раструбах фасонных частей или патрубков из ПП

4.22. Для соединения трубопроводов из полипропилена с чугунными трубами следует использовать чугунные детали без углублений и раковин на внутренней поверхности раструбов.

4.23. Стальные трубы, используемые для монтажа узлов перепусков от гидрозатворов и соединяемые с канализационными трубопроводами при помощи переходных патрубков из ПП Д = 50 мм и резиновых уплотнительных манжет, не должны иметь на торцах острых кромок и заусенцев.

4.24. При монтаже раструбных соединений труб и фасонных частей из ПП не допускается замена резиновых уплотнительных колец манжетного типа на кольца круглого поперечного сечения.

4.25. Выполняя сборку раструбных соединений с манжетными кольцами, имеющими несимметричную форму поперечного сечения (рис. 3), следует следить за тем, чтобы острие «язычка» резинового кольца, установленного в желобке раструба, было направлено в сторону гладкого конца данного трубного изделия из ПП.

4.26. В местах прохода канализационных стояков через перекрытие перед заделкой раствором стояк следует обертывать рулонным гидроизоляционным материалом без зазора для обеспечения возможности демонтажа трубопроводов при ремонте и компенсации их температурных удлинений.

4.27. Для монтажа трубопроводов из ПП диаметром 110 мм рекомендуется использовать специальные монтажные приспособления, например, разработанные НИИМосстроем и СКБ-Мосстрой (рис. 17).

4.28. Гидравлические испытания систем внутренней канализации из полипропиленовых труб выполняются в соответствии со СНиП 3.05.01-85 «Внутренние санитарно-технические системы».

Рис. 16. Узел пересечения трубопровода из полипропилена в техподполье:

1 - переходной мостик; 2 - труба из ПП

Рис. 17. Приспособление для соединения труб из ПП диаметром 110:

1 - ушко; 2 - сегмент; 3 - рукоятка; 4 - прокладка; 5 - болт; 6 - вилка

4.29. Технология выполнения узла прохода канализационных стояков из полипропиленовых труб сквозь перекрытия зданий и горизонтального трубопровода из полипропиленовых труб сквозь стены зданий включает:

- обертывание трубопровода рулонным гидроизоляционным материалом на толщину перекрытия или стены;

- установку противопожарной муфты «ОГРАКС-ПМ» на трубопровод и ее фиксацию замковым устройством (при заглублении муфты в проем перекрытия или стены);

- заделку полости между трубопроводом и стенками проема перекрытия или стены цементным раствором;

- установку противопожарной муфты «ОГРАКС-ПМ» на трубопровод и ее фиксация замковым устройством (при установке муфты под перекрытием);

- крепление ушков муфты к перекрытию с помощью дюбелей или анкерных болтов (при установке муфты под перекрытием).

5. РЕМОНТНЫЕ РАБОТЫ

5.1. При обнаружении дефектного участка ремонт трубопровода из ПП может производиться путем полной или частичной замены поврежденного патрубка.

5.2. Полная замена поврежденного патрубка (рис. 18) выполняется с использованием сборного ремонтного узла, включающего компенсационный патрубок с удлиненным раструбом (4) и патрубок с обычным раструбом (5). С помощью ручной пилы вырезают участок длиной 10 - 15 см дефектного патрубка (2), после чего демонтируют две оставшиеся его части. В раструбе патрубка (1) старое кольцо заменяют на новое. Вместо удаленной детали (2) устанавливают сборный ремонтный узел, выполняя при этом следующие операции: гладкий конец патрубка (5) вдвигают в раструб компенсационного патрубка (4) до упора; ремонтный узел располагают соосно с ремонтируемым трубопроводом; соединяют раструб патрубка (5) с гладким концом детали (3), после чего сдвигают компенсационный патрубок в обратном направлении, соединяя его гладкий конец с раструбом детали (1).

Примечание. Длина раструба компенсационного патрубка должна составлять не менее 3L.

5.3. Для ремонта с заменой участка поврежденной трубы или патрубка используют сборный ремонтный узел, состоящий из двух надвижных муфт и патрубка без раструба. Дефектный участок полипропиленовой трубы вырезают с использованием деревянного шаблона, обеспечивая перпендикулярность линии реза оси трубы; на концах трубопровода с помощью рашпиля снимают фаски под углом 15° на половину толщины стенки трубы. Затем сборный ремонтный узел подготавливают к монтажу, полностью сдвигая обе надвижные муфты на патрубок без раструба, после чего производят монтаж ремонтного узла (рис. 19), надвигая муфты (5) на концы (6) трубопровода из ПП.

5.4. Вариант ремонта участка, включающего поврежденную фасонную часть, показан на рис. 20. В этом случае сборный ремонтный узел состоит из новой фасонной части (4), двух патрубков (6 и 7) и двух надвижных муфт (5).

Рис. 18. Схема ремонта трубопровода из ПП с заменой поврежденного патрубка:

а) до ремонта; б) после ремонта

1, 3 - деталь трубопровода; 2 - поврежденный патрубок; 4 - компенсационный патрубок; 5 - патрубок с обычным раструбом

Рис. 19. Схема ремонта трубопровода из ПП с заменой участка поврежденного патрубка:

а) до ремонта; б) после ремонта

1, 3 - деталь трубопровода; 2 - поврежденный патрубок; 4 - патрубок без раструба; 5 - надвижная муфта; 6 - неповрежденные участки патрубка 2

Рис. 20. Схема ремонта трубопровода из ПП с заменой поврежденной фасонной части:

а) до ремонта; б) после ремонта

1, 3 - патрубок; 2 - поврежденная фасонная часть; 4 - новая фасонная часть, установленная взамен поврежденной; 5 - надвижная муфта; 6 - патрубок с раструбом; 7 - патрубок без раструба

5.5. При ремонте участка трубопровода, имеющего компенсационный патрубок, например этажестояка, дефектный участок может быть демонтирован путем разборки трубопровода, для чего целесообразно использовать удлиненный раструб компенсационного патрубка.

5.6. При ремонте трубопровода сборку всех деталей следует производить строго до метки на гладком конце детали.

5.7. Не допускается использование канализационных труб и фасонных частей из чугуна, поливинилхлорида, полиэтилена и др. материалов взамен демонтированных при ремонте изделий из полипропилена.

5.8. Подготовка концов труб и фасонных частей из ПП для сборки раструбных соединений при выполнении ремонтных работ осуществляется в соответствии с п. 4.8 настоящих рекомендаций.

5.9. В аварийных случаях допускается накладка на поврежденный участок трубы манжеты в виде резиновой ленты с последующей установкой бандажа, затягиваемого болтами, проволокой или хомутом. Однако этот способ ремонта является временной мерой устранения течи. Для обеспечения долговременной работоспособности этого участка необходимо в короткий срок выполнить ремонтные работы по замене поврежденного участка трубопровода.

5.10. При необходимости прочистки трубопроводов из ПП следует применять полиэтиленовые трубы или стеклопластиковые прутки диаметром 12 - 25 мм или резиновые жгуты. Использовать для указанной цели металлическую проволоку не рекомендуется.

5.11. Категорически запрещается выполнять ремонтные работы с использованием сварки и нагрева открытым пламенем.

6. ТРЕБОВАНИЯ БЕЗОПАСНОСТИ И ОХРАНЫ ОКРУЖАЮЩЕЙ СРЕДЫ ПРИ МОНТАЖЕ

6.1. При производстве работ по монтажу систем внутренней канализации зданий из полипропиленовых труб и фасонных частей необходимо соблюдать общие требования СНиП III-4-80* «Техника безопасности в строительстве».

6.2. К монтажу трубопроводов из полипропилена могут допускаться лица не моложе 18 лет, предварительно прошедшие медицинское освидетельствование, специальное обучение, вводный инструктаж по технике безопасности, пожарной безопасности, а также сдавшие экзамены специальной комиссии.

Допуск к производству работ оформляется записью в журнале инструктажа по технике безопасности и личной подписью лица, получившего инструктаж.

6.3. Трубы, патрубки и фасонные части из ПП в процессе монтажа и эксплуатации не выделяют в окружающую среду токсичных веществ и не оказывают вредного воздействия на организм человека при непосредственном контакте. Работа с ними не требует особых мер предосторожности.

6.4. Трубы и фасонные части из ПП относятся к сгораемым материалам.

Ниже приводятся пожарно-технические характеристики полипропилена «Каплен» марки 01003 или марки 01007 (ТУ 221-015-0020352195), выпускаемого Московским НПЗ и используемого с добавкой импортного порофора для изготовления канализационных труб:

- группа горючести Г4 (сильногорючие) по ГОСТ 30244 (группа горючих материалов по СТ СЭВ 2437-80);

- группа воспламеняемости В3 (легковоспламеняемые) по ГОСТ 30402;

- группа распространения пламени РП 4 (сильнораспространяющие) по ГОСТ Р 51032;

- группа дымообразующей способности Д3 (высокая дымообразующая способность) по ГОСТ 12.1.004, п. 4.18.

Примечание. Пожарно-технические характеристики установлены испытательным центром «Огнестойкость» ГП «ЦНИИСК им. Кучеренко».

6.5. При работе с трубами из ПП следует соблюдать правила пожарной безопасности.

6.6. В случае возникновения пожара необходимо вызывать пожарную охрану и принять меры по ликвидации огня и его распространения имеющимися средствами пожаротушения (распыленная вода и пена, песок, кошма и т.п.).

6.7. Места складирования трубной продукции из ПП должны быть обеспечены средствами пожаротушения.

6.8. При тушении труб из ПП в закрытых помещениях следует использовать противогазы.

6.9. В помещениях, где выполняются работы по механической обработке труб, формованию (изготовление приборных патрубков с гладким раструбом из ПП для подсоединения выпусков унитазов) и литью (изготовление патрубков из ПЭ для подсоединения чугунного сифона ванны) следует предусмотреть приточно-вытяжную вентиляцию, а рабочие места оборудовать местными отсосами.

6.10. В местах производства работ с использованием труб и фасонных частей из ПП, а также рядом с местами их складирования запрещается разводить огонь, производить электро- и газосварочные работы и хранить легковоспламеняющиеся вещества.

6.11. При сверлении отверстий для установки креплений следует соблюдать правила электробезопасности: использовать изолирующие лестницы и площадки, инструмент с изолированными рукоятками и заземлением, резиновые диэлектрические перчатки, боты, галоши, коврики, а также защитные очки, предохранительные пояса, страхующие канаты и ограждения.

6.12. Отходы от трубозаготовительных работ и монтажа трубопроводов из ПП следует собрать для последующего их вывоза в места свалки, согласованные с органами санитарно-эпидемиологического надзора и защиты природы, или возврата на заводы-изготовители труб из ПП.

7. ПЕРЕЧЕНЬ ИНСТРУМЕНТОВ И ПРИСПОСОБЛЕНИЙ ДЛЯ МОНТАЖА

1. Приспособление для монтажа труб из ПП (проект № 5909 СКВ «Мосстрой»)

2. Торцовый ключ для монтажа выпусков и переливов санитарно-технической арматуры (проект № 5009 СКВ «Мосстрой»)

3. Ключи для монтажа пластмассовых сифонов (проект № 5909 СКВ «Мосстрой»)

4. Ручное приспособление для снятия фасок на трубах диаметром 110 - 160 мм (проект № 5526 СКВ «Мосстрой»)

5. Ножовка по дереву

6. Стусло деревянное

7. Рашпиль плоский тупоносый 250 (ГОСТ 6876)

8. Рулетка (ГОСТ 7502)

9. Штангенциркуль (ГОСТ 166)

Приложение 1

(справочное)

Основные показатели свойства канализационных труб из полипропилена

пп

Наименование

Ед. изм.

Показатель

1.

Внешний вид

-

Поверхность изделия должна быть ровной и гладкой. Допускаются незначительные продольные полосы и волнистость, не выходящие за пределы допусков на диаметры и толщину стенок труб. На наружной, внутренней и торцевой поверхностях не допускаются царапины, трещины, пузыри, раковины и посторонние включения, а также следы холодных спаев и деструкции материала

2.

Плотность

кг3

900 - 950

3.

Предел текучести при растяжении, не менее

МПа

25,0 - 28,0

4.

Относительное удлинение при разрыве

%

100,0

5.

Модуль упругости

МПа

800 - 1200

6.

Температурный коэффициент линейного расширения

1/°С

1,1 ´ 10-4

7.

Теплопроводность

Вт/(м·°С)

0,26

Примечание. Основные физико-механические показатели полипропилена характеризуют свойства трубной продукции из ПП при нормальных условиях (температура окружающего воздуха 20 °С, относительная влажность 65 %). При использовании трубных изделий из ПП для трубопроводов, сбрасывающих специальные стоки, указанные данные уточняются по таблицам для химической устойчивости полипропилена.

Приложение 2

Канализационные фасонные части из полипропилена по DIN V19560

Д мм

40

40

50

50

50

50

50

50

110

110

110

110

110

α, град.

45

87,5

15

30

45

67,5

80

87,5

15

30

45

67,5

87,5

Рис. 20 Отвод

Д1 мм

40

40

40

50

50

50

50

50

50

110

110

110

110

110

110

110

Д2 мм

40

40

40

40

40

40

50

50

50

40

50

50

50

110

110

110

α, град.

45

67,5

87,5

45

67,5

87,5

45

67,5

87,5

45

45

67,5

87,5

45

67,5

87,5

Рис. 21. Тройник

Д мм

50

110

110

110

L

3L1

2L1

3L1

4L1

* L1 - длина обычного раструба

Рис. 22. Компенсационный патрубок

Д мм

40

50

50

110

Д1 мм

32

32

40

50

Рис. 23. Переход

Д1 мм

110

110

110

110

Д2 мм

110

50

110

50

Д3 мм

110

110

50

50

α°

67,5

67,5

67,5

67,5

Рис. 24. Крестовина двухплоскостная

Д1 мм

50

110

110

110

110

Д2 мм

50

50

50

110

110

Д3 мм

50

50

50

110

110

α°

67,5

67,5

87,5

67,5

87,5

Рис. 25. Крестовина одноплоскостная

Д мм

50

110

Рис. 26. Ревизия с крышкой

Д мм

110

110

Д1 мм

40

50

Рис. 27. Отвод комбинированный 90° с патрубком 45° для унитаза (правый и левый)

Д мм

110

110

Д1 мм

40

50

Рис. 28 Отвод комбинированный 90° с патрубком 30° (правый и левый)

Д мм

110

110

110

α, °

90

45

22

L, мм

230

230

230

Рис. 29. Отвод приборный для унитаза

Д мм

110

110

L, мм

230

400

Рис. 30. Приборный патрубок для унитаза

Д мм

110

Д1 мм

124

L, мм

160

Рис. 31. Патрубок для подсоединения чугунных труб

Д мм

40

40

40

40

50

50

Д1 мм

46

46

50

50

53,5

60

Д2 мм

24 - 32

36 - 40

24 - 32

36 - 40

24 - 32

46 - 55

Рис. 32. Патрубок для подсоединения отводных труб сифонов

Д мм

40

50

Д1 мм

32

40

Рис. 33. Патрубок переходный

Д мм

110

50

40

Рис. 34. Муфта надвижная

Д мм

110

50

40

Рис. 35. Муфта

Д мм

110

50

Рис. 36 Заглушка

Приложение 3

Номенклатура пластмассовых сифонов производства фирмы «Walsir» (Италия)

№№ пп

Наименование

Материал

Конструкция

Диаметр отводной трубы, мм

1

2

3

4

5

1.

Сифон с латунной гайкой

пэ

40

2.

Сифон для душа с низким подсоединением

пэ

50´40*

3.

Сифон для ванны с латунной гайкой

пэ

40

4.

Сифон для ванны с латунной гайкой

пэ

50´40

5.

Сифон для стиральной машины

пэ - пп

50´40

6.

Сифон для раковины с подсоединением к стиральной машине

пп

50´40

7.

Сифон для раковины с гибким шлангом и подсоединением к стиральной машине

пп

50´40

8.

Сифон для раковины

ПП

40

9.

Сифон для раковины с подсоединением к стиральной машине

ПП

40

10.

Сифон для биде

ПП

40

11.

Сифон для двухсекционной мойки с подсоединением к стиральной машине

пп

40

12.

Бутылочный сифон

пп

40

13.

Сифон для писсуара

пп

40

14.

Сифон для ванны с латунной гайкой (удлиненный тип)

пэ

50´40

15.

Сифон шарнирный для ванны с латунной гайкой

пэ

40

16.

Сифон для душевого поддона

пп

50

Примечание.

* Обозначение «50´40» указывает на ступенчатое изменение диаметра отводной трубы сифона:

40 мм - диаметр трубы в центральной части

50 мм - диаметр установочного конца трубы

СОДЕРЖАНИЕ

1. Общие положения. 1

2. Особенности проектирования внутренних систем канализации из полипропиленовых труб. 5

3. Транспортирование и хранение канализационных труб и фасонных частей из полипропилена. 17

4. Особенности монтажа систем внутренней канализации зданий из полипропиленовых труб и фасонных частей. 18

5. Ремонтные работы.. 23

6. Требования безопасности и охраны окружающей среды при монтаже. 24

7. Перечень инструментов и приспособлений для монтажа. 25

Приложение 1. Основные показатели свойства канализационных труб из полипропилена. 26

Приложение 2. Канализационные фасонные части из полипропилена по din v19560. 26

Приложение 3. Номенклатура пластмассовых сифонов производства фирмы «walsir» (италия) 30

 




Яндекс цитирования



   Copyright © 2007-2026,  www.tehlit.ru.

[ ѓосты, стандарты, нормативы, инструкции, правила, строительные нормы ]