//
ТехЛит.ру
- крупнейшая бесплатная электронная интернет библиотека для "технически умных" людей.
WWW.TEHLIT.RU - ТЕХНИЧЕСКАЯ ЛИТЕРАТУРА

:: Алготрейдинг::


АЛГОТРЕЙДИНГ
шаг за шагом
с нуля по урокам!

Торговые роботы на PYTHON, BackTrader,
Pandas, Pine Script для TradingView. Связка с брокерами, телеграм и легкими приложениями.


ГОСТ 1811-97

МЕЖГОСУДАРСТВЕННЫЙ СТАНДАРТ

ТРАПЫ
ДЛЯ СИСТЕМ КАНАЛИЗАЦИИ ЗДАНИЙ

Технические условия

МЕЖГОСУДАРСТВЕННАЯ НАУЧНО-ТЕХНИЧЕСКАЯ КОМИССИЯ
ПО СТАНДАРТИЗАЦИИ, ТЕХНИЧЕСКОМУ НОРМИРОВАНИЮ
И СЕРТИФИКАЦИИ В СТРОИТЕЛЬСТВЕ (МНТКС)

МОСКВА
1998

Предисловие

1 РАЗРАБОТАН Научно-исследовательским институтом санитарной техники (НИИсантехники) Российской Федерации

ВНЕСЕН Госстроем России

2 ПРИНЯТ Межгосударственной научно-технической комиссией по стандартизации, техническому нормированию и сертификации в строительстве (МНТКС) 23 апреля 1997 г.

За принятие проголосовали

Наименование государства

Наименование органа государственного управления строительством

Республика Армения

Министерство градостроительства Республики Армения

Республика Беларусь

Минстрой архитектуры Республики Беларусь

Грузия

Министерство урбанизации и строительства Грузии

Республика Казахстан

Минстрой Республики Казахстан

Кыргызская Республика

Минстрой Кыргызской Республики

Республика Молдова

Департамент архитектуры и строительства Республики Молдова

Российская Федерация

Госстрой России

Республика Узбекистан

Госкомархитектстрой Республики Узбекистан

Украина

Госкомградостроительства Украины

3 ВЗАМЕН ГОСТ 1811-81, ГОСТ 4.213-80, СТ СЭВ 1315-78

4 ВВЕДЕН В ДЕЙСТВИЕ с 1 января 1998 г. в качестве государственного стандарта Российской Федерации постановлением Госстроя России от 02.12.97 г. № 18-66

ГОСТ 1811-97

МЕЖГОСУДАРСТВЕННЫЙ СТАНДАРТ

ТРАПЫ ДЛЯ СИСТЕМ КАНАЛИЗАЦИИ ЗДАНИЙ

Технические условия

TRAPS FOR SYSTEMS IN BUILDINGS

Specification

Дата введения 1998-01-01

1 Область применения

Настоящий стандарт распространяется на чугунные и пластмассовые трапы, предназначенные для приема и отведения в канализационную сеть сточных вод с поверхности пола, устанавливаемые в жилых, общественных и производственных зданиях.

Обязательные требования к качеству продукции изложены в 3.1; 3.2; 4.1; 4.2.1 - 4.2.14.

2 Нормативные ссылки

В настоящем стандарте использованы ссылки на следующие стандарты:

ГОСТ 9.104-79 ЕСЗКС. Покрытия лакокрасочные. Группы условий эксплуатации

ГОСТ 166-89 Штангенциркули. Технические условия

ГОСТ 427-75 Линейки измерительные металлические. Технические условия

ГОСТ 1412-85 Чугун с пластинчатым графитом для отливок. Марки

ГОСТ 8433-81 Вещества вспомогательные ОП-7 и ОП-10. Технические условия

ГОСТ 11710-66 Допуски и посадки деталей из пластмасс

ГОСТ 14192-96 Маркировка грузов

ГОСТ 15150-69 Машины, приборы и другие технические изделия. Исполнения для различных климатических районов. Категории, условия эксплуатации, хранения и транспортирования в части воздействия климатических факторов внешней среды

ГОСТ 15846-79 Продукция, отправляемая в районы Крайнего Севера и труднодоступные районы. Упаковка, маркировка, транспортирование и хранение

ГОСТ 16338-85 Полиэтилен низкого давления. Технические условия

ГОСТ 21650-76 Средства скрепления тарно-штучных грузов в транспортных пакетах. Общие требования

ГОСТ 26645-85 Отливки из металлов и сплавов. Допуски размеров, массы и припуски на механическую обработку

ГОСТ 26996-86 Полипропилен и сополимеры полипропилена. Технические условия

3 Типы и основные размеры

3.1 Трапы следует изготавливать следующих типов:

Т50 - трап с прямым отводом условным проходом 50 мм;

ТК50 - трап с косым отводом условным проходом 50 мм;

Т100м - трап с прямым отводом условным проходом 100 мм, малый;

ТК100м - трап с косым отводом условным проходом 100 мм, малый;

Т100б - трап с прямым отводом условным проходом 100 мм, большой;

ТК100б - трап с косым отводом условным проходом 100 мм, большой;

ТВ50 - трап с вертикальным отводом условным проходом 50 мм;

ТВ100 - трап с вертикальным отводом условным проходом 100 мм.

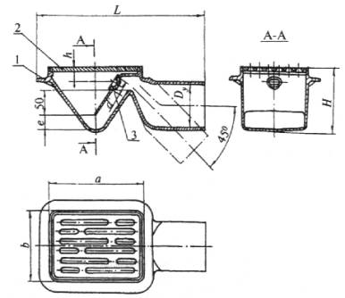
3.2 Основные размеры трапов должны соответствовать указанным на рисунках 1, 2 и в таблице 1.

Таблица 1                                                                                                          В миллиметрах

Тип трапа

Dу

Н

h

e

a

b

d

L

Т50, ТК50

50

110

38

15

100-150

100-150

32

260

 

 

 

 

 

-

Т100м, ТК100м

100

140

42

32

200

150

355

 

 

 

 

 

-

Т100б, ТК100б

180

55

50

250

200

415

 

 

 

 

 

-

ТВ50

50

108

43

15

100-150

100-150

-

335

ТВ100

100

117

47

20

200

200

201

Предельные отклонения основных размеров чугунных трапов должны соответствовать указанным в ГОСТ 26645 для отливок 9-го класса точности, а пластмассовых - в ГОСТ 11710.

3.3 Условное обозначение трапа при заказе и в технической документации должно состоять из слова «Трап», обозначения типа трапа и настоящего стандарта. В обозначение пластмассового трапа должна быть добавлена буква «П».

Примеры условных обозначений

Чугунный трап с прямым отводом условным проходом 50 мм:

Трап Т50 ГОСТ 1811-97

Трап с косым отводом условным проходом 100 мм, большой:

Трап ТК100б ГОСТ 1811-97

Пластмассовый трап с вертикальным отводом условным проходом 100 мм:

Трап ТВ100П ГОСТ 1811-97

1 - корпус; 2 - решетка; 3 - пробка

Рисунок 1 - Трап с прямым (косым) отводом

1 - корпус трапа; 2 - решетка; 3 - стакан

Рисунок 2 - Трап с вертикальным отводом

3.4 Форма корпуса трапа, а также форма и расположение отверстий решетки настоящим стандартом не регламентированы.

4 Технические требования

4.1 Трапы следует изготавливать в соответствии с требованиями настоящего стандарта, по конструкторской и технологической документации, утвержденной предприятием-изготовителем.

4.2 Характеристики

4.2.1 Трапы типов Т50, ТК50, ТВ50 должны обеспечивать отведение сточных вод в количестве не менее 0,7 л/с; трапы типов Т100м, ТК100м, ТВ100 - не менее 2,1 л/с; трапы типов Т100б и ТК100б - не менее 3,7 л/с при средней высоте слоя воды перед внешней кромкой решетки не более (20+3) мм.

4.2.2 Решетка, установленная на корпусе трапа, должна устойчиво опираться на его опорную поверхность.

4.2.3 Наружная поверхность решетки, установленной на корпусе трапа, должна быть на одном уровне с поверхностью его бортов или находиться ниже их, но не более чем на 1 мм.

4.2.4 Края отверстия для пробки не должны иметь острых кромок, а в случае их механической обработки также и заусенцев.

4.2.5 Пробки следует изготавливать как формовые изделия из водостойких резин группы В средней твердости С.

4.2.6 Трап в собранном виде должен быть герметичен при испытании его гидростатическим давлением 0,01 МПа (0,1 кгс/см).

4.2.7 Решетки трапов должны выдерживать сосредоточенную нагрузку, приложенную в центре решетки на площадь 15 см2 не менее 60 кг для трапов с условным проходом Dу 50 мм и на площадь 30 см2 - не менее 90 кг для трапов с условным проходом Dу 100 мм.

4.2.8 Внутреннюю поверхность чугунных трапов следует покрывать стекловидными (силикатными) эмалями светлых тонов, решетки трапов - стекловидной (силикатной) грунтовой эмалью.

4.2.9 Наружные поверхности чугунных трапов должны иметь лакокрасочное покрытие, соответствующее условиям эксплуатации не ниже У2 по ГОСТ 9.104.

4.2.10 Эмалевое покрытие чугунных трапов должно быть сплошным, прочно сцепленным с поверхностью металла трапа.

4.2.11 Чугунные трапы должны отливаться из серого чугуна марок СЧ 10 и СЧ 15 по ГОСТ 1412.

Для изготовления пластмассовых трапов необходимо применять коррозионно-стойкие материалы, обеспечивающие выполнение требований настоящего стандарта. Материалы, рекомендуемые для изготовления пластмассовых трапов, указаны в приложении А.

4.2.12 Поверхность пластмассовых деталей трапа должна быть гладкой, без трещин, вздутий, посторонних включений, следов холодного спая, утяжин. Не допускается коробление деталей, влияющее на качество их сопряжений.

В местах удаления литника допускаются выступы не более 1 мм.

4.2.13 Пластмассовые детали трапа должны быть стойкими к воздействию внутренних напряжений.

4.2.14 Трапы должны изготавливаться в климатическом исполнении УХЛ категории размещения 4.2 по ГОСТ 15150.

4.3 Комплектность

4.3.1 В состав комплекта должны входить корпус, решетка, стакан (для вертикальных трапов), пробка (для трапов с прямым и косым отводами).

4.3.2 Трапы, отгружаемые потребителю в одной транспортной единице по одному сопроводительному документу, должны сопровождаться паспортом и инструкцией по эксплуатации.

4.3.3 В паспорте должны быть указаны:

- наименование предприятия-изготовителя, его товарный знак и адрес;

- условное обозначение трапа;

- комплектность;

- гарантия предприятия-изготовителя;

- дата выпуска или отгрузки;

- штамп ОТК.

4.3.4 Допускается совмещать паспорт с инструкцией по монтажу и эксплуатации.

4.4 Маркировка

4.4.1 На наружной поверхности трапа должны быть указаны:

- товарный знак предприятия-изготовителя или его наименование;

- месяц и год изготовления трапа.

4.4.2 Маркировка должна быть прочной, сохраняться в течение всего срока службы трапов.

4.4.3 Место и способ нанесения маркировки определяет предприятие-изготовитель.

4.4.4 Упакованные изделия должны иметь транспортную маркировку в соответствии с ГОСТ 14192 и содержать манипуляционные знаки: «Осторожно», «Хрупкое».

4.4.5 На каждое грузовое место должен крепиться ярлык из картона, фанеры или бумаги, покрытый пленкой, содержащий следующие данные:

- наименование предприятия-изготовителя;

- наименование изделия;

- номер партии и дату изготовления;

- количество изделий в упаковке;

- массу.

4.5 Упаковка

4.5.1 При упаковке решетку вставляют в корпус трапа с прокладыванием между ними бумаги до достижения плотности посадки, а резиновую пробку плотно вставляют в отверстие, предназначенное для нее.

4.5.2 При поставке потребителю трапы должны быть упакованы в коробки, деревянные ящики, мешки из полиэтиленовой пленки толщиной не менее 0,1 мм, бумажные мешки или уложены в контейнеры. Допускается упаковка иного вида, которая должна обеспечивать сохранность изделий при транспортировании и хранении.

4.5.3 При транспортировании, погрузочно-разгрузочных работах должна быть предусмотрена возможность пакетирования, исключающая механическое повреждение трапов.

4.5.4 При поставке трапов в торговую сеть их поштучно упаковывают в полиэтиленовые мешки и укладывают в картонные коробки. Допускается упаковка иного вида, которая должна обеспечивать сохранность изделий при транспортировании и хранении.

4.5.5 Трапы должны быть сформированы в пакеты или блок-пакеты массой до 5 т. Средства пакетирования грузов - по ГОСТ 21650.

5 Правила приемки

5.1 Трапы принимают партиями. Партией считают количество изделий одного типа, изготовленных из одной марки сырья по одной и той же технологической документации, одновременно предъявляемых на приемку, но не более сменной выработки.

5.2 Для проверки соответствия трапов требованиям настоящего стандарта предприятие-изготовитель проводит приемосдаточные, периодические и типовые испытания. Для испытания отбирают изделия из партии методом случайного отбора.

5.3 Приемосдаточные испытания

5.3.1 При приемосдаточных испытаниях каждый трап проверяют на соответствие требованиям 4.2.8, 4.2.9, 4.2.12, 4.4, 4.5.

5.3.2 Проверке на соответствие требованиям 4.2.2, 4.2.3, 4.2.6 подвергают 5 % трапов партии, но не менее 5 шт.

5.3.3 На соответствие требованиям 4.2.11 проверяют каждую партию материала (сырья), поступающего на предприятие-изготовитель.

5.3.4 Если при приемосдаточных испытаниях хотя бы одно изделие не будет соответствовать требованиям настоящего стандарта, то проводят повторную проверку по этому показателю удвоенного количества изделий, взятых из той же партии. В случае неудовлетворительных результатов повторной проверки партия трапов приемке не подлежит. Допускается поштучная приемка трапов.

5.4 Периодические испытания проводят на соответствие всем требованиям настоящего стандарта. Проверке подвергают не менее трех трапов, прошедших приемосдаточные испытания не реже одного раза в год.

5.5 Типовые испытания проводят с целью оценки эффективности и целесообразности вносимых изменений в конструкцию трапов, технологию их изготовления или при изменении сырья, которые могут повлиять на технические и эксплуатационные характеристики.

6 Методы испытаний

6.1 Проверку размеров трапов и их деталей на соответствие требованиям 3.2; 4.1 выполняют измерительными инструментами: линейкой измерительной металлической по ГОСТ 427, штангенциркулем по ГОСТ 166 и специальными шаблонами, обеспечивающими необходимую точность измерения.

6.2 Проверку трапов на соответствие требованиям 4.2.1 проводят на специальном стенде.

6.3 Устойчивость опирания решетки на опорную поверхность корпуса трапа (п. 4.2.2) проверяют поочередным нажатием рукой сверху на углы решетки, установленной в его корпусе. Если от нажатий амплитуда качания решетки не превышает 2 мм, то трап соответствует требованиям 4.2.2.

6.4 Положение решетки по отношению к бортам трапа (п. 4.2.3) проверяют следующим образом. На трап с установленной в его корпусе решеткой попеременно поперек бортов, а также по их диагоналям накладывают ребром металлическую линейку и при помощи щупа определяют наличие и размер зазора между линейкой и решеткой. Если линейка опирается на борт корпуса трапа и одновременно на решетку или если максимальный зазор, измеренный щупом между линейкой и решеткой, не превышает 1 мм, то трап соответствует требованиям 4.2.3.

6.5 Отсутствие острых кромок и заусенцев (п. 4.2.4) проверяют визуально и прощупыванием краев отверстия ребром пластмассовой пластинки.

6.6 Проверку трапов на соответствие 4.2.6 проводят путем испытания их в собранном виде на специальном стенде водопроводной водой температурой (20±15)°С и давлением 0,01 МПа (0,1 кгс/см2) в течение 30 с.

Трап считают выдержавшим испытание, если при осмотре мест соединения не будут обнаружены течь воды или запотевание.

6.7 Проверку трапов на соответствие требованиям 4.2.7 проводят на специальном стенде, обеспечивающем создание указанной нагрузки. Изделие считают выдержавшим испытание, если после испытания не произошло растрескивания решетки, а вмятина (или прогиб), образовавшаяся после приложенной нагрузки, исчезнет по истечении 24 ч.

6.8 Проверку трапов на соответствие требованиям 4.2.8 - 4.2.10 (в части сплошности эмалевого покрытия) и п. 4.2.12 проводят визуально с расстояния 0,7 м без применения увеличительных приборов при естественном или искусственном освещении освещенностью не менее 200 лк сравнением внешнего вида и качества поверхностей проверяемых трапов с образцами-эталонами.

6.9 Прочность сцепления эмалевого покрытия с поверхностью металла трапа (п. 4.2.10) проверяют простукиванием трапа деревянным молотком массой 300 г. Если при простукивании не слышно дребезжащего звука, а эмаль не откалывается, то эмалевое покрытие имеет прочное сцепление с поверхностью металла трапа.

6.10 Проверку на соответствие требованиям 4.2.13 проводят следующим образом.

Детали трапа помещают в емкость с кипящим 20 %-ным раствором ОП-10 по ГОСТ 8433 и выдерживают в нем в течение 30 мин. Во избежание всплывания деталей к ним прикрепляют груз (инертный материал). По окончании испытания детали охлаждают и подвергают визуальному осмотру. Деталь считают выдержавшей испытания, если при осмотре не обнаружены расслоение, пузыри, трещины.

6.11 Контроль применяемых материалов осуществляют по сопроводительной документации на материалы при входном контроле или путем лабораторных анализов.

7 Транспортирование и хранение

7.1 Трапы следует перевозить крытыми транспортными средствами любого вида согласно правилам перевозки грузов, действующим на каждом виде транспорта.

7.2 Условия транспортирования и хранения трапов в части воздействия климатических факторов должны соответствовать условиям хранения 2 (С) по ГОСТ 15150.

7.3 В районы Крайнего Севера и труднодоступные районы трапы следует поставлять в соответствии с требованиями ГОСТ 15846.

7.4 Трапы необходимо хранить в неотапливаемых складских помещениях в условиях, исключающих вероятность механических повреждений, или в отапливаемых складах не ближе 1 м от отопительных приборов с соблюдением мер защиты от воздействия прямых солнечных лучей.

8 Указания по монтажу и эксплуатации

8.1 Монтаж трапов должен осуществляться в соответствии с инструкцией по монтажу и эксплуатации.

8.2 При эксплуатации трапов рекомендуются периодическая очистка и промывка гидрозатвора водопроводной водой из шланга.

9 Гарантии изготовителя

9.1 Предприятие-изготовитель гарантирует соответствие трапов требованиям настоящего стандарта при соблюдении условий транспортирования, хранения и эксплуатации изделий.

9.2 Гарантийный срок эксплуатации - два года со дня ввода трапов в эксплуатацию или реализации через торговую сеть в пределах гарантийного срока хранения.

Гарантийный срок хранения - три года со дня изготовления трапов.

ПРИЛОЖЕНИЕ А

(справочное)

Материалы, рекомендуемые для изготовления пластмассовых трапов

Гранулированный полиэтилен низкого давления первого и высшего сортов марок 203, 206 - 209 (суспензионный) с добавками по рецептурам 03, 11, 12, 20, 23 согласно ГОСТ 16338; полиэтилен низкого давления марок 273, 276, 277 (газофазный) по рецептурам 71, 75, 79, 80, 81, окрашенный в черный цвет по рецептуре 901 согласно ГОСТ 16338; гранулированный полипропилен литьевых марок, окрашенный в белый цвет либо другие цвета светлых тонов, или и черный цвет согласно ГОСТ 26996.

Ключевые слова: трапы чугунные эмалированные и пластмассовые, технические требования, маркировка, упаковка, транспортирование, хранение

СОДЕРЖАНИЕ

 




Яндекс цитирования



   Copyright © 2007-2026,  www.tehlit.ru.

[ ѓосты, стандарты, нормативы, инструкции, правила, строительные нормы ]