//
ТехЛит.ру
- крупнейшая бесплатная электронная интернет библиотека для "технически умных" людей.
WWW.TEHLIT.RU - ТЕХНИЧЕСКАЯ ЛИТЕРАТУРА

:: Алготрейдинг::


АЛГОТРЕЙДИНГ
шаг за шагом
с нуля по урокам!

Торговые роботы на PYTHON, BackTrader,
Pandas, Pine Script для TradingView. Связка с брокерами, телеграм и легкими приложениями.


РОССИЙСКОЕ АКЦИОНЕРНОЕ ОБЩЕСТВО ЭНЕРГЕТИКИ И ЭЛЕКТРИФИКАЦИИ «ЕЭС РОССИИ»

ДЕПАРТАМЕНТ СТРАТЕГИИ РАЗВИТИЯ И НАУЧНО-ТЕХНИЧЕСКОЙ ПОЛИТИКИ

ТИПОВАЯ ИНСТРУКЦИЯ
ПО
ЭКСПЛУАТАЦИИ ПРОИЗВОДСТВЕННЫХ ЗДАНИЙ
И
СООРУЖЕНИЙ ЭНЕРГОПРЕДПРИЯТИЙ

ЧАСТЬ II

Раздел 2

Технология ремонтов зданий и сооружений

РД 153-34.0-21.601-98

ОРГРЭС

Москва 2000

Разработано Открытым акционерным обществом «Фирма по наладке, совершенствованию технологии и эксплуатации электростанций и сетей ОРГРЭС»

Исполнители В.В. ДЕТКОВ, Е.Н. КОРОТАЕВА, В.А. КНЯЗЕВ

Утверждено Департаментом стратегии развития и научно-технической политики РАО «ЕЭС России» 22.12.98 г.

Первый заместитель начальника                                                           А.П. БЕРСЕНЕВ

ТИПОВАЯ ИНСТРУКЦИЯ ПО ЭКСПЛУАТАЦИИ ПРОИЗВОДСТВЕННЫХ ЗДАНИЙ И СООРУЖЕНИЙ ЭНЕРГОПРЕДПРИЯТИЙ.

ЧАСТЬ II. РАЗДЕЛ 2. ТЕХНОЛОГИЯ РЕМОНТОВ ЗДАНИЙ И СООРУЖЕНИЙ

РД 153-34.0-21.601-98

Вводится в действие

с 01.03.2000 г.

Настоящая «Типовая инструкция по эксплуатации производственных зданий и сооружений энергопредприятий» распространяется на все энергетические предприятия, эксплуатирующие производственные здания и сооружения и выполняющие в них ремонтно-строительные работы, кроме ГЭС и АЭС.

Данная Типовая инструкция устанавливает требования к технологии ремонта строительных конструкций производственных зданий и сооружений энергопредприятий.

Требования настоящей Типовой инструкции обязательны при составлении всех видов нормативно-технических документов по технологии ремонтно-строительных работ на энергопредприятиях, включая местные инструкции, проекты производства работ, проекты реконструкции и т.д.

С изданием настоящей Типовой инструкции утрачивает силу «Типовая инструкция по эксплуатации производственных зданий и сооружений энергопредприятий. Ч. II. Разд. II. Технология ремонтов зданий и сооружений: ТИ 34-70-031-84» (М.: СПО Союзтехэнерго, 1985).

1. ОБЩИЕ ПОЛОЖЕНИЯ

1.1. Данная Типовая инструкция предназначена для инженерно-технических работников тепловых электростанций, ремонтно-строительных организаций и проектных организаций для решения вопросов надежного и качественного выполнения ремонтно-восстановительных работ с учетом специфических условий эксплуатации, условий проведения работ и возможностей энергопредприятий.

1.2. Требования настоящей Типовой инструкции относятся к ремонтно-строительным работам, выполняемым при текущем и капитальном ремонтах производственных зданий и сооружений энергопредприятий, и не распространяются на строительно-монтажные работы, связанные с их реконструкцией или расширением.

Исполнителями ремонта этих видов являются ремонтно-строительные подразделения энергопредприятий, подрядные организации или специализированные ремонтные предприятия.

1.3. Работы по текущему ремонту производятся регулярно в течение года по графикам, составленным на основании актов общих текущих и внеочередных осмотров зданий и сооружений и соответствующих заявок персонала, эксплуатирующего объекты.

Повреждения аварийного характера, создающие опасность для работающего персонала и приводящие к порче оборудования или к разрушению конструкций зданий, должны устраняться немедленно.

1.4. Капитальный ремонт производственных зданий и сооружений может быть комплексным, охватывающим ремонтом здание или сооружение в целом, и выборочным, состоящим из ремонта отдельных конструкций здания или сооружения. При выборочном капитальном ремонте необходимо в первую очередь ремонтировать те конструкции, неисправность которых может повлиять на сохранность смежных конструкций и устойчивость здания или сооружения в целом.

1.5. При производстве капитального ремонта зданий и сооружений должны применяться прогрессивные конструкции, изготовленные индустриальным методом. При этом допускается замена изношенной конструкции из менее прочного и недолговечного материала на конструкции из более прочного и долговечного материала, за исключением полной замены основных конструкций, срок службы которых в зданиях и сооружениях является наибольшим.

1.6. При производстве ремонтно-строительных работ на фермах и покрытиях котельных и турбинных отделений (внутри помещений) обязательно использование мостовых кранов для устройства с них необходимых инвентарных подмостей (с опиранием на фермы); при отсутствии мостовых или других кранов должны быть составлены основные положения организации таких работ с необходимыми схемами.

При выполнении работ на фасадах главных корпусов наряду со стационарными установками, переставляемыми по фронту работ по мере необходимости, следует использовать самоподъемные и перемещаемые электротельферами люльки по монорельсовым путям.

1.7. Проведению ремонтных работ должно предшествовать тщательное, детальное и квалифицированное обследование бетонных, железобетонных и металлических конструкций и элементов зданий и сооружений энергопредприятий, в результате которого должны быть выявлены и классифицированы имеющиеся дефекты, определены причины их возникновения, характер их дальнейшего развития и их влияние на эксплуатационную надежность энергопредприятий.

1.8. Проведение ремонта элементов конструкций энергопредприятий требует подготовительных работ по очистке ремонтируемых поверхностей от грязи, пыли, масла, удалению коррозии металлоконструкций, удалению слабого бетона и коррозии арматуры, дефектной тепло-, паро- и гидроизоляции и т.д.

1.9. Материалы, применяемые для проведения ремонтно-строительных работ, и заменяемые конструктивные элементы должны отвечать требованиям и условиям соответствующих действующих ГОСТ, ТУ и требованиям настоящей Типовой инструкции.

1.10. При производстве ремонтных работ необходимо обеспечивать контроль качества выполнения отдельных производственно-технологических операций.

1.11. Строительные механизмы и машины для производства ремонтов должны применяться с обязательным учетом их экономической эффективности. Следует максимально использовать средства малой механизации.

Для подбора необходимых средств малой механизации, инструментов и специальных приспособлений (с учетом местных потребностей), обеспечивающих эксплуатацию, ремонт и техническое обслуживание зданий и сооружений, необходимо пользоваться [1] и [2].

2. ДЕФЕКТЫ СТРОИТЕЛЬНЫХ КОНСТРУКЦИЙ

2.1. Классификация дефектов по причинам их возникновения

2.1.1. По характеру и причинам возникновения дефекты эксплуатируемых строительных конструкций подразделяются на конструктивные, производственно-строительные и эксплуатационные.

2.1.2. К дефектам конструктивного характера относятся дефекты, возникновение которых связано с неполным учетом действующих на конструкции нагрузок, неучетом при проектировании возможности изменения условий эксплуатации и влияния на конструкции агрессивной среды и температурно-влажностного режима, отклонение от требований к материалам по водонепроницаемости и морозостойкости, недостаточное армирование или переармирование железобетонных конструкций, занижение прочностных характеристик бетона, занижение поперечных сечений железобетонных элементов и конструктивных элементов несущих металлоконструкций, применение недолговечных материалов для изготовления конструкций и их защиты и др.

2.1.3. К дефектам производственно-строительного характера относятся дефекты, возникшие в ходе производства строительных работ в результате применения некачественных материалов при изготовлении конструкций, отклонения от допустимых значений при монтаже, некачественное выполнение теплоизоляции покрытий и стен, узлов примыканий кровельного ковра и стыков между панелями, снижение марок бетона монолитных несущих конструкций, некачественное вибрирование бетонной смеси, некачественная сварка и возникновение концентраторов напряжений при производстве сварочных работ и др.

2.1.4. К дефектам эксплуатационного характера относятся дефекты, возникшие в процессе эксплуатации в результате изменения условий: длительного и периодического воздействия повышенной температуры и агрессивной среды, горячей воды и пара, увлажнения теплоизоляции покрытия и стенового ограждения, а также коррозионные процессы в металлоконструкциях и арматуре железобетонных конструкций, непроектные приложения нагрузок, приводящие к деформациям и потери устойчивости конструкций и др.

2.2. Классификация дефектов по конструкциям и элементам

2.2.1. Дефекты железобетонных конструкций каркаса производственных зданий и сооружений (колонн, балочных перекрытий и ограждающих монолитных и железобетонных плит покрытия, ригелей и балок, ферм покрытия):

трещины на поверхности с разной шириной раскрытия;

недостаточная толщина защитного слоя;

разрушение и отслоение защитного слоя бетона;

коррозия оголенных арматурных стержней;

зоны неуплотненного бетона;

низкая прочность бетона;

недостаточная плотность (водонепроницаемость) бетона;

выщелачивание бетона;

нарушение в характере армирования;

прогибы плит и ригелей, силовые трещины и разрушение опорных зон железобетонных элементов;

отступления геометрических размеров и поперечных сечений от требований проекта.

2.2.2. Дефекты несущих металлоконструкций каркаса (колонн, балок и ригелей перекрытий, ферм покрытия, подкрановых путей):

физический износ металлоконструкций в результате интенсивной или длительной их эксплуатации;

поражение конструкций коррозией, включая профнастил комплексных панелей покрытия;

повреждения (погнутости, вмятины, искривления и т.п.) полученные во время транспортировки, монтажа и эксплуатации;

ослабление поперечных сечений элементов (вырезы в полках и стенках, выбоины, истирание и т.д.);

ослабление или отсутствие крепежных и анкерных болтов, заклепок;

взаимное смещение конструкций при монтаже;

разрушение лакокрасочных покрытий.

2.2.3. Дефекты стеновых ограждающих конструкций:

2.2.3.1. Кирпичные стены:

деформации и повреждения кладки при неравномерных осадках фундаментов (раскрытие сквозных вертикальных и наклонных трещин, расслоение кладки, отклонение стен от вертикали, отрыв стен от элементов фахверка и т.д.);

горизонтальные трещины по швам кладки от воздействия горизонтальных нагрузок;

вертикальные трещины при перегрузках кладки в случае снижения прочности при вибрации, увлажнении, промерзании, химической агрессии и механических повреждениях;

деформации и повреждения в результате влияния тепловых воздействий (трещины по осям колонн, сколы кирпича, выкрашивание раствора и т.п.);

разрушения кладки в зонах карнизов, подоконных участков, водоотводящих устройств;

несоответствие толщины стены температурно-влажностному режиму;

недостаточная плотность и пустоты в заполнении швов в кирпичной кладке.

2.2.3.2. Армоцементные, керамзитобетонные и железобетонные стеновые панели:

прогибы двенадцатиметровых армопенобетонных панелей в горизонтальной плоскости на значения, превышающие предельно допустимые с раскрытием силовых недопустимых трещин в середине пролета и хаотических - по всей поверхности;

разрушение цементного раствора заделки вертикальных и горизонтальных стыков между панелями;

недостаточное обжатие упругих прокладок в стыках, приводящее к их сдвигу и выпадению в наружную сторону;

трещины в герметизирующем мастичном слое;

отслоение фактурных слоев и расслоение панелей, повреждения защитных лакокрасочных покрытий (шелушение, растрескивание, вспучивание, отслоение), разрушение тела бетона панелей, подверженных увлажнению и обмерзанию;

нарушение узлов крепления панелей к каркасу здания;

коррозия арматуры и закладных частей в панелях;

трещины по поверхности панелей при недостаточном защитном слое, способствующие коррозии арматуры.

2.2.4. Дефекты кровельных слоев покрытия:

ненадежность гидроизоляционных и пароизоляционных слоев и несовершенство узлов примыкания кровли;

низкие прочностные и теплотехнические свойства теплоизоляционных слоев, интенсивное их влагонасыщение;

повышенная пожарная опасность покрытий по профнастилу;

отсутствие или недостаточность уклонов к водосточным воронкам;

сползание и вспучивание рулонного ковра;

увеличение общей толщины кровельного состава в процессе ремонтов, засоренность кровель золовыми отложениями, скопление снега и воды.

2.2.5. Дефекты гидроизоляции подземных сооружений:

неплотности железобетонных стен и конструкций и некачественное исполнение строительных швов, способствующие интенсивной фильтрации грунтовых вод в кабельные тоннели, помещения узлов пересыпки, вагоноопрокидыватели и др.;

преждевременное старение гидроизоляционных слоев из-за несоблюдения технологии и строительных норм и правил при производстве гидроизоляционных работ;

повышение фильтрации при значительном повышении уровня подземных грунтовых вод в процессе эксплуатации;

несовершенство узлов примыкания технологического оборудования (трубопроводы, задвижки и т.д.), проходящего через конструкции подземных сооружений.

3. РЕМОНТ БЕТОННЫХ И ЖЕЛЕЗОБЕТОННЫХ КОНСТРУКЦИЙ ЗДАНИЙ И СООРУЖЕНИЙ С ПРИМЕНЕНИЕМ ЦЕМЕНТНЫХ БЕТОНОВ И РАСТВОРОВ

3.1. По характеру ремонтно-восстановительные работы подразделяются на работы, предусматривающие замену элементов сооружений, и работы, выполняемые по восстановлению несущей способности конструкций без их замены.

3.2. Работы, связанные с заменой элементов производственных зданий и сооружений, выполняются в том случае, когда устранение повреждений и дефектов на месте или практически невозможно, или экономически нецелесообразно.

3.3. К ремонтным работам на железобетонных конструкциях, производимым на месте без замены дефектных элементов, относятся:

увеличение сечения рабочей арматуры, ослабленной в результате дефектов изготовления или эксплуатационных повреждений (коррозионных, механических);

усиление рабочего сечения бетона, ослабленного в результате дефектов изготовления или эксплуатационных повреждений (трещин, выкрашивания, снижения прочности);

увеличение несущей способности и уменьшение деформированности конструкций в случаях, когда имеет место отклонение от проектных значений прочности или плотности бетона при изготовлении конструкций;

ликвидация дефектов или повреждений в сопряжениях элементов, ухудшающих условия заделки или опирания;

заделка раковин, пустот, каверн и неровностей раствором, бетоном, полимерными и специальными материалами;

инъецирование трещин или разделка трещин с их последующим омоноличиванием;

нанесение защитных покрытий на поверхности железобетонных конструкций (торкретирование, штукатурные работы, укладка гидроизоляционных слоев).

3.4. При дефектах или повреждениях защитного слоя и тела бетона железобетонных конструкций необходимо тщательно расчистить и удалить дефектные и поврежденные участки бетона до неповрежденного бетона.

Удалению и расчистке подлежат:

сильно разрушенные участки бетона с полным нарушением сцепления между арматурой и бетоном;

бетон, потерявший прочность от смятия или дробления при эксплуатационных механических воздействиях, воздействиях высоких температур (например, при пожарах, работе вблизи тепловых агрегатов), химически агрессивных воздействий и пр.;

участки бетона с раковинами, образовавшимися вследствие некачественного уплотнения бетонной смеси при изготовлении конструкции.

Все намеченные к удалению и расчистке дефектные или поврежденные участки на поверхностях элементов следует оконтурить (мелом, карандашом, краской). Бетон оконтуренных участков необходимо удалить до глубины, где он не выкрашивается и не издает глухого звука при простукивании молотком.

В процессе удаления поврежденного бетона могут быть внесены изменения в намеченные ранее границы расчистки. При удалении разрушенных участков бетона и расчистке раковин следует соблюдать аккуратность, чтобы не вызвать излишних повреждений в сохранившемся монолите. Особую осторожность необходимо соблюдать при производстве расчисток вблизи зоны анкеровки растянутой арматуры.

В местах сопряжения нового бетона защитного слоя железобетонных конструкций со старым в целях обеспечения лучшего сцепления необходимо поверхность старого бетона подвергнуть следующей обработке:

после расчистки бетона, ремонтируемые поверхности очищаются от мусора и промываются струей воды под напором. При отсутствии напора воды бетон обрабатывается металлической щеткой, обеспыливается продувкой сжатым воздухом и промывается водой;

в местах, где защитный слой бетона удаляется частично, перед обработкой поверхности металлической щеткой необходимо произвести насечку бетона;

поверхность старого бетона до нанесения слоя нового должна поддерживаться во влажном состоянии;

непосредственно перед бетонированием с горизонтальных поверхностей старого бетона должны быть удалены лужицы воды, после этого оголенные участки арматуры и поверхность бетона покрываются слоем пластичного цементно-песчаного раствора составом 1:1,5 (1:2) или жирного цементного теста в виде пленки толщиной 1 - 1,5 мм. Для такого покрытия допускается цемент марки не ниже 400.

Новый бетон защитного слоя железобетонных конструкций следует укладывать не позднее чем через 1 - 1,5 ч после нанесения раствора. Раковины и пустоты промываются и заполняются бетоном на мелком гравии, желательно под давлением.

Марка нового бетона должна быть на ступень выше проектной марки бетона ремонтируемой конструкции, но не ниже 300. В качестве крупного заполнителя для нового бетона следует применять щебень мелкой фракции (от 5 до 20 мм) или крупный гравий.

3.5. Ремонт защитных слоев, а также поврежденных участков бетона допускается производить посредством торкретирования торкрет-бетоном марки не ниже 300 (приложение 1).

3.6. Для приготовления цементно-песчаных растворных и бетонных смесей должны применяться материалы (цементы, песок, крупный заполнитель, добавки), удовлетворяющие требованиям соответствующих действующих нормативных документов.

3.7. Учитывая определенную специфичность условий эксплуатации отдельных конкретных элементов железобетонных конструкций ТЭС (колонны, перекрытия, покрытия и др.), при ремонтах последних к бетону должны предъявляться повышенные требования по прочности, плотности, водонепроницаемости, а в отдельных случаях и по морозостойкости.

3.8. В зависимости от вида конструкций, подлежащих ремонту, характера имеющихся дефектов и условий производства ремонтных работ могут применяться следующие виды цементных бетонов и растворов: обычные традиционные, литые, высокопрочные на микросилике, дисперсионно-армированные стекловолокном растворы, малоцементные особо жесткие укатанные бетоны, высокоморозостойкие бетоны.

3.9. Обычные традиционные бетоны и растворы применяются для бетонирования и ремонта отдельно стоящих элементов, доступных для вибрирования, без необходимости ускоренного набора прочности и сцепления со старым бетоном. Такие бетоны и растворы должны соответствовать требованиям [25], а технология укладки бетона - определенным СНиП и ТУ.

3.10. Для обеспечения качественной укладки бетона при ремонте раковин, пустот, сколов глубиной свыше 10 см, разрушенного защитного слоя, выполнения защитных покрытий в условиях затрудненного доступа и невозможности использования вибрирования бетонной смеси, а также при выполнении различных подливок под оборудование целесообразно использовать смеси литой консистенции, не требующие применения вибрирования при укладке.

Литые бетоны представляют собой бетоны, соответствующие требованиям нормативных документов и получаемые на основе высокоподвижных бетонных смесей, способных к растеканию и заполнению густоармированных зон конструкций.

3.10.1. Расчет составов литого бетона, обеспечивающих требуемые марки по прочности, водонепроницаемости и морозостойкости, представлен в [3], разработанной в НИС Гидропроекта (в настоящее время - «АО НИИЭС»).

3.10.2. Для приготовления литого бетона применяются любые виды цементов, песков и крупного заполнителя, соответствующие требованиям стандартов.

Целесообразно использовать среднезернистые пески с содержанием тонких частиц (менее 0,14 мм) до 15 %, допустимая крупность щебня и гравия должна определяться степенью армирования бетонируемой конструкции, а при пневмоподаче - диаметром бетоновода. Для обеспечения нерасслаиваемости при укладке и повышения водонепроницаемости и морозостойкости при расходе цемента менее 400 кг/м3 необходимо применять водоудерживающую добавку - бетонитовую глину в количестве 3 - 10 % массы воды, соответствующую требованиям ТУ 39-01-08-658-81.

Бетонитовая глина I - II сортов вводится как в виде порошка, так и в виде водной суспензии. Бетонитовую глину III сорта следует вводить в виде суспензии с добавлением стабилизатора - кальцинированной соды в количестве 2 % массы глины. В качестве пластификатора следует вводить лигносульфонат технический ЛСТ-Е (ОСТ 13-183-83) в количестве 0,2 - 0,5 % массы цемента. Для снижения расхода цемента и повышения прочности рекомендуется применение суперпластификатора С-3 (ТУ 6-14-625-80), для замедления сроков схватывания - добавки кармовой патоки (ТУ 18 РСФСР 409-79). При низких марках бетона в состав литых бетонов следует вводить в виде микронаполнителя золу уноса (ТУ 6-14-625-80), отходы дробления карбонатных и силикатных пород, керамзитовую пыль, молотые шлаки и песок в количестве 10 - 70 % расхода цемента из условия, чтобы содержание цемента и микронаполнителя в сумме не превышало 400 - 500 кг/м3. Для снижения усадки вводится алюминиевая пудра. При выполнении работ в зимнее время при температуре воздуха до минус 15 °С вводится добавка нитрита натрия в количестве 13 - 17 % воды затворения.

3.10.3. Для приготовления и транспортировки литых бетонных смесей применяется то же оборудование, что и для обычных среднепластичных бетонов (автотранспортом, по трубопроводам).

3.10.4. Литой бетон, уложенный и твердеющий на воздухе, требует тщательного влажностного ухода в течение не менее 14 сут после распалубки любыми принятыми способами: укрытие влажной тканью, опилками и др.

3.10.5. Контроль качества работ с использованием литых бетонов должен состоять из периодического контроля за составами бетонов (дозировка, удобоукладываемость смеси), контроля за прочностью, водонепроницаемостью, а также контроля за организацией и проведением ухода за твердеющим бетоном.

3.11. При проведении ремонтно-восстановительных работ, когда необходимо обеспечить повышенную прочность конструкций и их элементов, а также их повышенную коррозионную стойкость и способность к механическим воздействиям, необходимо применять особо прочные бетоны или растворы, приготовленные с добавкой микросилики (пыли газоочистки при производстве ферросилиция - ПГПФ). Размер частиц ПГПФ значительно меньше частиц цемента и составляет в среднем 0,1 мк.

3.11.1. Поставку микросилики (ПГПФ) осуществляет и контролирует научно-исследовательский институт бетона и железобетона (НИИЖБ).

3.11.2. Техника подбора составов бетона с использованием микросилики изложена в [4]. Подбор основан на принципе эквивалентности, при котором часть цемента замещается меньшим расходом микросилики. Подбор составов особо прочных бетонов производится с учетом обязательного использования суперпластификаторов С-3, специальных добавок, например ЛСТ.

3.11.3. Общая технология высокопрочных бетонов на микросилике мало отличается от общепринятых для обычных бетонов, однако имеется ряд существенных особенностей:

время перемешивания бетонной смеси увеличивается примерно в два раза;

водопотребность увеличивается до 30 %, что требует применения суперпластификаторов С-3 в количестве около 0,8 % массы цемента;

бетонные смеси с микросиликой практически не расслаиваются, сильно когезионны, обладают большой вязкостью;

при использовании литых особо прочных бетонных смесей с микросиликой требуется обязательное вибрирование, предотвращающее защемление воздуха за счет высокой когезии свежей смеси;

обязательно применение мер по предотвращению высыхания свежеуложенной бетонной смеси: защита от ветра, поливка поверхности водой, укрытие пленкой, увлажнение покрытий, применение опалубки, предотвращающей потерю влаги;

уход за бетоном начинается раньше и заканчивается позже;

бетон на микросилике характеризуется более низкой (в два раза) истираемостью в воздушно-сухом состоянии и более высокой (в 2 - 5,5 раза) ударной прочностью, а также более высокой водонепроницаемостью, морозостойкостью и коррозионной стойкостью в солях.

3.12. Для проведения ремонта бетонных и железобетонных конструкций перспективным и эффективным направлением является использование бетонов и растворов, приготавливаемых на вяжущем нового поколения - ВНВ (вяжущее низкой водопотребности), разработанном НИИЖБ и НИИцементом при участии ВНИИ железобетона. ВНВ получают совместным помолом клинкера с сухим суперпластификатором С-3 или пластификатором ЛСТМ [5].

3.12.1. Отличительной особенностью бетонов и растворов на ВНВ является упрощение технологии приготовления бетонной смеси - отпадает необходимость ввода добавок на бетонорастворном узле.

3.12.2. Технология приготовления, транспорта и укладки бетонов и растворов на ВНВ ничем не отличается от технологии обычных бетонов (растворов). Водопотребность теста нормальной консистенции из ВНВ на 35 - 45 % ниже, чем у традиционных портландцементов, что позволяет изготавливать на нем бетоны с пониженным значением водоцементного отношения и за счет этого обеспечить или более высокие значения прочности при равных расходах цемента, или добиться экономии цемента при приготовлении равномарочных бетонов.

3.12.3. Ремонтные бетонные смеси на основе ВНВ обладают высокой пластичностью и удобоукладываемостью, малым водоотделением, высокой связностью, что способствует более прочному контакту старого и нового бетона.

Бетоны на ВНВ характеризуются повышенной стойкостью к различным агрессивным воздействиям среды - действию сульфатных растворов, замораживанию и оттаиванию, увлажнению и высушиванию.

3.12.4. В АО «НИИЭС» были проведены испытания опытной партии ВНВ, полученного совместным помолом 50 % клинкера, по 25 % песка и шлака и сухого С-3, и контрольных образцов бетона на обычном портландцементе с введением в бетон добавки С-3 в количестве 0,8 % массы цемента.

Испытания показали:

водопотребность (нормальная густота) теста на ВНВ и обычном портландцементе практически близка;

в бетонах при равных расходах цемента и ВНВ и равных значениях подвижности бетонных смесей бетонная смесь на ВНВ имеет на 30 л/м3 меньшую водопотребность, соответственно и прочность у бетона на ВНВ на марку выше.

3.13. Для ремонта железобетонных сборных и монолитных покрытий и перекрытий, железобетонных колонн, гидроизоляции и других элементов сооружений, характеризующихся большой площадью разрушения, защитного слоя с обнажением арматуры, рекомендуется применение дисперсионно-армированного стекловолокном цементного или цементно-песчаного раствора, наносимого на поверхность методом пневматического набрызга.

3.13.1. Главное преимущество дисперсионно-армированного раствора состоит в отказе от необходимости установки опалубки, в высокой степени механизации работ, высокой производительности, повышенной трещиностойкости материала.

3.13.2. Технология работ с использованием дисперсионно-армированного раствора включает в себя: подготовку материалов (цемент, песок, добавки, равинг), приготовление цементного или цементно-песчаного раствора (в растворосмесителе) требуемой консистенции, очистку раствора в фильтре-отстойнике от комьев и инородных включений, подачу по шлангам готовой смеси в пистолет-распылитель, куда одновременно подается стекложгут с бобины и рубится на отрезки длиной 60 - 100 мм, который вовлекается сжатым воздухом в аэрозольный факел цементного теста (раствора). Вся масса равномерно наносится на предварительно подготовленную ремонтируемую поверхность.

3.13.3. Для дисперсионно-армированного раствора используются следующие материалы: различные виды цементов (чистоклинкерный портландцемент, напрягающий, расширяющийся, глиноземистый цемент, пластификатор-лигносульфонат технический (ЛСТ) или модифицированный лигносульфонат (ЛСТМ), ускоритель твердения - сульфат алюминия (ГОСТ 12966-85) или сульфат натрия (ГОСТ 6318-77), рассыпающийся стекложгут (равинг из комплексных нитей) из цементно-стойкого (щелочеустойчивого) стекловолокна в бобинной упаковке (ТУ 21-38-110-79).

3.13.4. После окончания работ, а также при остановах, продолжительность которых превышает сроки схватывания цемента, все рабочие узлы и шланги должны тщательно промываться водой. Перед началом работ по напылению необходимо проверить работу установки на воде.

3.13.5. После нанесения армированного раствора и его схватывания производится влажностный уход в течение не менее 7 сут.

3.13.6. Для повышения адгезии дисперсионно-армированного раствора ремонтируемую поверхность бетона и арматуры рекомендуется обработать адгезионным праймером. Ориентировочные рецепты для приготовления обмазок (праймера), обеспечивающих адгезию, приведены в приложении 2.

3.13.7. Дисперсионно-армированный стекловолокном раствор характеризуется следующими показателями:

предел прочности на сжатие - 30 - 40 МПа;

предел прочности на изгиб - 6 - 20 МПа;

объемная масса - 1750 - 1900 кг/м3;

морозостойкость - 100 - 300;

долговечность - 20 - 25 лет.

4. РЕМОНТ БЕТОННЫХ И ЖЕЛЕЗОБЕТОННЫХ КОНСТРУКЦИЙ ЗДАНИЙ И СООРУЖЕНИЙ С ПРИМЕНЕНИЕМ ПОЛИМЕРНЫХ МАТЕРИАЛОВ НА ОСНОВЕ ЭПОКСИДНЫХ СМОЛ

4.1. Полимерные материалы на основе эпоксидных смол отличаются от традиционных строительных материалов повышенной прочностью, пластичностью, трещиностойкостью, водонепроницаемостью, высокой ударной прочностью и износостойкостью, стойкостью в коррозионной агрессивной среде.

4.2. Основными направлениями использования полимерных материалов в ремонтных работах могут быть следующие:

повышение сцепления старого и вновь укладываемого бетона (раствора) в дефектных зонах конструкций;

заделка раковин, каверн небольших размеров;

защита арматуры от коррозии;

обеспечение требуемого эстетического, декоративного вида (устранение дефектов бетонирования и незначительных повреждений бетона в процессе эксплуатации);

восстановление эксплуатационных характеристик повреждений железобетонной конструкции (наружная заделка трещин, инъекция трещин, восстановление гидроизоляции и др.);

анкеровка в бетон дополнительной арматуры;

создание трещиностойких и трещиноусталостных защитных гидроизоляционных покрытий;

повышение износостойкости и ударной прочности конструкций, в том числе полов помещений;

повышение стойкости бетона к воздействию агрессивной среды.

4.3. В состав полимерных композиций на основе эпоксидных смол, рекомендуемых для применения при ремонте поврежденного бетона, входят следующие компоненты:

связующие (жидкие эпоксидные смолы отечественного производства марок ЭД-16 и ЭД-20 - ГОСТ 10587-85);

отвердители (полиэтиленполиамин - ТУ 6-02-594-80, триэтаноламин - ТУ 6-02-916-74, триэтилентетрамин - ТУ 6-02-1099-77);

пластификаторы (дибутилфтолат - ГОСТ 8728-88, полиэфир МГФ-9 - ТУ 6-01-450-76, жидкий тиокол НВВ - ГОСТ 12812-80);

модификаторы (в основном каменноугольная смола - ОСТ 14-62-80 или ТУ 12-6-171-80);

растворители (фурфуриловый спирт - ТУ 6-05-4159, растворители Р-4 и Р-5 - ГОСТ 7827-74, ацетон - ГОСТ 2768-84, толуол - ТУ 51-047-71);

наполнители (минеральные порошкообразные материалы различной крупности типа речного кварцевого песка [25], андезита - ТУ 6-12-101-77, портландцемента - ГОСТ 10178-85 и электрокорунда - ГОСТ 3647-80);

заполнители (щебень или гравий для полимербетона);

специальные добавки (полиоксипропиленамин или лапрамол - ТУ 6-05-1681-74 - для замедления реакции полимеризации эпоксидной смолы и увеличения срока годности жизнеспособности полимерной композиции; ускоритель УП-606/2 - ТУ 6-09-4136-75 - для ускорения реакции полимеризации эпоксидной смолы и для осуществления возможности отверждения при температуре воздуха ниже + 10 °С; поверхностно-активное вещество ПАВ: этилсиликат-32 или силан - МРТУ-6-02-415-67 или ТУ 6-02-895-78 - для снижения вязкости полимерной композиции и улучшения процесса формирования ее структуры в процессе отверждения; аэросил - ГОСТ 14922-77 - для предотвращения стекания наносимой на вертикальные и наклонные поверхности полимерной композиции; полиэтилгидросилоксан или гидрофобизирующая кремнеорганическая жидкость ГКЖ-94 - ГОСТ 10834-76 - расширяющая добавка; пигменты для придания полимерной композиции цвета ремонтируемого бетона: двуокись титана - ГОСТ 9808-84, сажа черная - ТУ 51-690-75 и окись железа - ГОСТ 8135-74, а для придания светоотражающей способности алюминиевая пудра ПАК-2 - ГОСТ 5494-77);

армирующий материал (конструкционная стеклоткань марок Т-10, Т-10/1, Т-10/2, Т-11, Т-12, Т-13, Т-14 - ГОСТ 19170-73).

4.4. В зависимости от назначения рекомендуются следующие виды полимерных композиций: ненаполненные составы (адгезионные обмазки, клеи, инъекционные составы), окрасочные составы, полимермастики, полимеррастворы, полимербетоны, оклеечные герметики (для изоляции). Ориентировочные составы полимерных композиций приведены в приложении 2, а их физико-механические свойства - в приложении 3.

4.5. Адгезионная обмазка применяется для обеспечения равномерного контакта вновь наносимого бетона, штукатурного раствора со старым. Основой адгезионной обмазки служит ацетатная эмульсия (ПВА) - ГОСТ 18992-80.

4.6. Исходными материалами для приготовления адгезионной обмазки являются: связующие - эпоксидная смола ЭД-20 (ЭД-16) и поливинилацетатная эмульсия; пластификатор - полиэфир МГФ-9 или тиокол НВВ; отвердитель - полиэтиленполиамин или триэтаноламин; растворитель - ацетон.

4.7. Состав адгезионных обмазок имеет следующую рецептуру:

4.7.1. На основе эпоксидной смолы, масс, доля:

эпоксидная смола ЭД-20 - 100;

полиэфир МГФ-9 или тиокол НВВ-2 - 25;

полиэтиленполиамин (ПЭПА) или триэтаноламин (ТЭА) - 6.

Комбинированный отвердитель ПЭПА плюс ТЭА применяется при температуре 40 - 60 °С с целью увеличения срока жизнеспособности обмазки.

4.7.2. На основе поливинилацетатной эмульсии:

эмульсия ПВА - 50 %; вода - 50 %.

4.8. Приготовление эпоксидной адгезионной обмазки включает в себя:

приготовление полуфабриката, состоящего из смешивания эпоксидной смолы и пластификатора;

приготовление адгезионной обмазки, состоящей из смешивания полуфабриката с ацетоном и отвердителем.

Смешивание производится непосредственно перед нанесением.

4.9. Нанесение адгезионной обмазки на поверхность старого бетона и арматуры может производиться вручную волосяными кистями или пистолетами-распылителями.

4.10. Оголенная арматура после очистки от продуктов коррозии также защищается (окрашивается) сплошным слоем адгезионной замазки.

При необходимости замены или установки дополнительной арматуры необходимо использовать клеевой способ закрепления (анкеровки) арматуры в бетоне, разработанной в АО «НИИЭС».

4.11. Каверны, раковины и пустоты на поверхности железобетонных конструкций глубиной до 10 см заделывают (выравнивают) с использованием грунтовочных шпатлевочных, полимеррастворных и покровно-окрасочных композиций.

При наличии трещин в железобетонных конструкциях с шириной раскрытия до 0,3 мм последние оклеиваются одним-тремя слоями стеклоткани. Трещины с раскрытием более 0,3 мм инъецируются клеевой полимерной композицией, а в особых случаях могут быть дополнительно оклеены стеклотканью.

При ремонте фильтрующих трещин оклейка стеклотканью осуществляется с временным ее прижимом для предотвращения отрыва в период отверждения. Фильтрация воды на время ремонта должна быть предотвращена.

«Пульсирующие» трещины при динамических или изменяющихся температурных воздействиях инъецируются клеящей композицией со специальными добавками, повышающими деформативность и эластичность, или оклеиваются одним-тремя слоями стеклоткани при раскрытиях трещин до 2 мм.

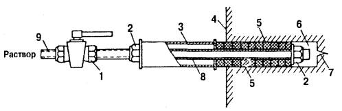
4.12. При заделке трещин в бетоне путем инъекции в них полимерной композиции подача ее в трещины осуществляется через специальные ниппели, устанавливаемые по длине трещины с шагом примерно 50 см.

4.13. Для защиты восстановленной в процессе ремонтов поверхности железобетонных конструкций с целью предотвращения коррозионных процессов арматуры рекомендуется применять эпоксидные лакокрасочные материалы в соответствии с требованиями [6] (см. приложение 3).

4.14. При ремонте железобетонных конструкций с использованием полимерных материалов на основе эпоксидных смол в зависимости от вида ремонта необходимо использовать оборудование и инструмент, примерный перечень которых приведен в табл. 1.

Таблица 1

Примерный перечень оборудования и инструмента для ремонта железобетонных конструкций с использованием полимерных материалов на основе эпоксидных смол

Вид работы

Наименование применяемого оборудования и инструмента

Приготовление и нанесение полимерных композиций на основе эпоксидных смол на подготовленную поверхность бетона

Растворомешалки типов СО-11, СО-26А, СО-46, РП-80, С-50.

Краскосмесительные установки типов С-383А, С-764, С-865.

Мешалки на базе тихоходной пневмодрели или электродрели со сменными лопастями и смесительными бачками.

Пистолеты- распылители.

Шпатлевочные установки С-562.

Компрессорные установки.

Весы с пределом взвешивания до 50 кг.

Респиратор фильтрующий РУ-60 м.

Слесарные инструменты: зубила, молотки.

Металлические щетки.

Ножницы для резки стеклоткани.

Ртутный термометр.

Секундомер.

Резиновые перчатки, брезентовые рукавицы.

Полиэтиленовые и металлические емкости, мерная посуда.

Вспомогательные материалы (лопаты, кисти, шпатели, ветошь и др.)

5. РЕМОНТ ЖЕЛЕЗОБЕТОННЫХ КОНСТРУКЦИЙ С ИСПОЛЬЗОВАНИЕМ СПЕЦИАЛЬНЫХ МАТЕРИАЛОВ

5.1. В настоящее время на рынке герметизирующих материалов появилось большое количество специальных высокоэффективных материалов, внедрение которых способствует повышению водонепроницаемости и долговечности бетонных и железобетонных конструкций.

5.2. К материалам, повышающим водонепроницаемость бетонных и железобетонных конструкций за счет кристаллизации, следует отнести КСАЙПЕКС.

КСАЙПЕКС представляет собой сухую смесь и состоит из портландцемента, очень мелкого кварцевого песка и специальных активирующих химических добавок.

При смешивании с водой и нанесении КСАЙПЕКСА на ремонтируемые поверхности как цементирующего покрытия входящие в состав КСАЙПЕКСА химикаты вызывают реакцию, в результате которой в порах и капиллярных трактах бетона вырастают разветвленные нитеобразные кристаллические образования, структура бетона уплотняется во всех направлениях, предотвращая проникновение воды. Кристаллизация проникает на глубину до 30 см от поверхности бетона.

КСАЙПЕКС обеспечивает водонепроницаемость находящихся под гидростатическим напором подземных конструкций при обработке их с внутренней стороны.

5.2.1. КСАЙПЕКС легко разводится водой до сметанообразного состояния и применяется в двух видах:

КСАЙПЕКС концентрат используется как одноразовое покрытие с внутренней или внешней стороны конструкции либо как первый слой там, где необходимо двухслойное покрытие, и предназначен для обеспечения плотных затирок, заделки швов и трещин;

модифицированный КСАЙПЕКС используется для второго слоя для общей защиты от сырости.

Расход около 1 кг/м2.

5.2.2. При ремонте с КСАЙПЕКСОМ должны соблюдаться следующие правила:

перед нанесением КСАЙПЕКСА поверхность бетонной или железобетонной конструкции должна быть очищена от цементной пленки, грязи, краски и других покрытий. Если поверхность достаточно гладкая, ее следует протравить кислотой или слегка пропескоструить;

рабочие швы, раковины, сколы должны быть соответствующим способом разделаны и заделаны тампонирующим составом типа ПЛАГ;

КСАЙПЕКС не предназначен для обработки температурных и развивающихся трещин;

КСАЙПЕКС наносится на увлажненную, но не мокрую поверхность;

в течение двух суток поверхность должна быть влажной.

5.2.3. КСАЙПЕКС составом 5 частей порошка и 2 - 3 части воды может наноситься с помощью не слишком жесткой кисти или щетки. Для обработки больших поверхностей КСАЙПЕКС составом 6 частей порошка и 1 части воды наносится специальным распылительным оборудованием. Толщина одного слоя покрытия КСАЙПЕКС должна быть не более 1,25 мм. Если требуется второй слой, его следует наносить после схватывания первого, но пока он еще «свежий» (обычно менее 48 ч). При интенсивном высыхании первого слоя его нужно слегка увлажнить. Не следует наносить КСАЙПЕКС во время дождя и при температуре ниже 4 °С.

5.2.4. Уход за покрытием КСАЙПЕКС заключается в смачивании его водой. Уход следует начинать сразу после затвердевания покрытия, достаточного, чтобы не повредить его распыляемой водой. Смачивать обработанные поверхности в основном достаточно три раза в сутки в течение 2 - 3 сут. При высоких температурах окружающей среды может потребоваться более частое увлажнение.

5.2.5. Обработанные с помощью КСАЙПЕКСА конструкции противостоят воздействию большинства агрессивных сред и повышают морозостойкость бетона, защищая его от выветривания и других повреждений, предотвращают окисление арматуры.

5.2.6. Совместно с КСАЙПЕКСОМ используется ПЛАГ (пробка). ПЛАГ - это быстросхватывающийся, безусадочный, гидравлический цементный состав с высокой адгезией для ремонта бетона. ПЛАГ применяют для заделки трещин, он может использоваться как для общего ремонта, так и для заделки отдельных зон (заплат). ПЛАГ может использоваться и вместе с добавкой КСИРИЛИК - специально разработанный состав на базе акрилполимеров. КСИЛИРИК увеличивает прочность и износостойкость бетона, повышает его адгезию и сопротивляемость химической агрессии.

5.2.7. При сильных напорных протечках используется УЛЬТРАПЛАГ совместно с жидкостью КСАЙПЕКС - ускоритель для создания особотвердеющих составов (твердение 15 - 45 с) для остановки струй воды.

5.3. К составам, в которых цемент модифицируется полимерами, относится ТАЙПКРИТ. Полимерная составляющая представляет собой сополимер акриловой эмульсии бутилакрилатметилметакрилата (полимер ГСРШ или ГСР122). ТАЙПКРИТ используется в виде раствора. При приготовлении раствора 31 часть ТАЙПКРИТА и 100 частей цемента разбавляются 21 частью воды. При добавлении 200 частей песка и 20 частей воды получается раствор ТАЙПКРИТ.

5.3.1. ТАЙПКРИТ может применяться в виде окраски, штукатурки или покрытия, по назначению он сходен с гидроизоляцией, но на цементной основе. Наносится раствор на чистую поверхность и в первые 24 ч твердения чувствителен к механическим повреждениям.

5.3.2. Основные свойства ТАЙПКРИТ близки к бетону:

объемная масса......................................... 2,2 т/м3;

пористость................................................ 3,5 - 4 %;

прочность при сжатии............................ 50 - 70 МПа;

прочность при растяжении

и изгибе..................................................... 8 - 10 МПа;

сцепление................................................. 3 - 4 МПа;

усадка........................................................ 0,0006;

коэффициент фильтрации....................... 10;

морозостойкость...................................... 300.

5.4. Аналогичные КСАЙПЕКСУ и ТАЙПКРИТУ в Россию в настоящее время поставляются материалы фирм «VANDEX LTD» и «THORO NV». Широкое освоение материалов, производимых данными фирмами, для ремонта и гидроизоляции бетонных, железобетонных и каменных конструкций осуществляет на энергетических объектах ЗАО «Уралспецэнерго».

5.4.1. С использованием международных сертификатов качества материалов фирм «VANDEX LTD» и «THORO NV», результатов экспериментальных внедрений с применением различных сочетаний материалов и технологии их нанесения на ремонтируемые конструкции ЗАО «Уралспецэнерго» разработаны местные временные технологические инструкции.

5.4.2. Применение материалов «ВАНДЕКС» при ремонте и защите бетонных и железобетонных конструкций в зависимости от характера повреждений представлено в табл. 2.

5.4.3. Техническая характеристика рекомендуемых материалов:

5.4.3.1. ВАНДЕКС CRS ИМПРЕГНЕЙШН АС используется для придания свойств атмосферостойкости и уменьшения вредных последствий воздействия окружающей среды на старый и новый бетон, эффективен в качестве последнего слоя при ремонтно-восстановительных работах, снижает водопоглощение, проницаем для водяных паров.

Рекомендуемая поверхность должна быть сухой и очищена от загрязняющих веществ.

Для поверхностей среднего качества обычно достаточно нанесение двух слоев.

Защитные свойства и расход зависят от пористости и состояния поверхности. Упаковка - 10 л.

5.4.3.2. ВАНДЕКС CRS КОРРОЗИОН ПРОТЕКШН АС - средство для защиты от коррозии арматурной стали, хорошо сцепляется как с сухой, так и с влажной сталью и с бетоном.

Состав наносится двумя слоями, второй наносится через 30 мин после первого, не рекомендуется производить работы при температуре ниже 5 °С. Расход при толщине слоя 0,5 мм - 1 кг/м2.

Упаковка комбинированная - по 2 кг (компоненты А и В).

Таблица 2

Применение материалов «ВАНДЕКС» в зависимости от класса повреждений бетона

Класс повреждений бетона

Противокоррозионные меры (защита арматуры)

Ремонт

Защита поверхности

Заполнение (замена покрытия)

Выращивание поверхности

Обеспечение атмосферостойкости

Защитное покрытие, покраска

Эластичные системы

ВАНДЕКС CRS КОРРОЗИОН ПРОТЕКШН АС или ЕР

ВАНДЕКС CRS РИПЕЙР МОРТАР 05 или НВ

ВАНДЕКС CRS ЛЕВЕЛЛИНГ КОМПАУНД 1С или в качестве цементного теста

ВАНДЕКС CRS ИМПРЕГ-НЕЙШН АС

ВАНДЕКС CRS OS 95 или защитная краска ВАНДЕКС СРЗ ПРОТЕКТИВ ПЕЙН

ВАНДЕКС CRS ЭЛАСТ ПРОТЕКТИВ ПЕЙН СИСТЕМ

1-й класс:

 

 

 

 

 

 

бетонная поверхность без трещин и раковин

средневысокое водопоглощение

низкая карбонизация (наличие небольшого количества ржавчины)

защитный слой бетона недостаточный

 

 

 

 

+

 

2-й класс:

 

 

 

 

 

 

поверхность бетона на начальной стадии разрушения

волосяные трещины и раковины

наблюдается выкрашивание песка в поверхностном слое

средненизкая карбонизация (наличие небольшого количества ржавчины и выкрашиваний, не дошедших до арматуры)

защитный слой бетона достаточный или недостаточный

 

 

+

+

+

+

3-й класс:

 

 

 

 

 

 

поверхность бетона частично повреждена

пятна ржавчины и связанные с этим выкрашивания бетона в местах коррозии арматуры, частично дошедшие до арматуры

защитный слой бетона достаточный или недостаточный

+

+

+

+

+

+

4-й класс:

 

 

 

 

 

 

поверхность бетона повреждена

множество пятен ржавчины, значительное и глубокое выкрашивание бетона, во многих случаях дошедшее до арматуры

защитный слой бетона достаточный или недостаточный

имеются структурные трещины

+

+

+

 

+

+

5.4.3.3. ВАНДЕКС CRS КОРРОЗИОН ПРОТЕКШН ЕР - средство для защиты от коррозии арматурной стали обеспечивает хорошее сцепление с арматурной сталью и бетоном, воздухо- и водонепроницаемость. В течение суток возможно нанесение двух слоев для защиты от коррозии и слоя ремонтного раствора. Покрытие следует предохранять от дождя и сырости в течение приблизительно 4 ч. Материал наносится двумя слоями. Первый слой наносится на арматурную сталь, а через 4 - 24 ч наносится 2-й слой и сразу выполняется по нему набрызг из кварцевого песка для образования шубы и затем уже не менее чем через 4 ч наносится связующий слой и ремонтный раствор.

Расход - 0,5 кг/м2 (на один слой).

Упаковка - комбинированная по 1 кг (компоненты А и В).

5.4.3.4. ВАНДЕКС CRS РИПЕЙР МОРТАР 05 - цементносодержащий раствор и связующий слой с полимерными добавками. Состав раствора обеспечивает хорошую удобоукладываемость, затвердевший (вызревший) раствор обладает высокой совместимостью с бетоном по основным параметрам (прочность, модуль упругости и т.д.). Ремонтируемый участок должен быть очищен от пыли и масла и перед нанесением ремонтируемого раствора увлажнен, чтобы бетон оставался влажным, но не мокрым.

Связующий слой наносится кистью и сразу же наносится ремонтируемый раствор.

В случае глубины повреждений большого размера раствор наносится последовательными слоями. Раствор нельзя использовать при температуре ниже 5 °С.

Расход - приблизительно 22 кг/м2 готовой смеси для слоя покрытия толщиной 10 мм.

Упаковка - бумажные мешки с полиэтиленовой подкладкой по 25 кг.

5.4.3.5. ВАНДЕКС CRS РИПЕЙР МОРТАР НВ - цементносодержащий раствор и связующий слой с полимерными добавками.

Благодаря легкой массе раствор хорошо подходит для ремонта поврежденных участков большого размера, расположенных на высоте (над головой). После вызревания раствор приобретает те же свойства, что и цементный раствор или легкий бетон.

Ремонтируемый участок должен быть очищен от грязи, масла, краски, слабого бетона или раствора. Перед нанесением раствора ремонтируемый участок должен быть увлажнен, чтобы бетон оставался влажным, но не мокрым.

Раствор наносится мастерком слоями толщиной до 5 см. Связующий слой наносится кистью с использованием того же ремонтного раствора. Если во время нанесения порция смеси загустеет, вновь перемешать ее, не добавляя воды. Не применять раствор при температуре ниже 5 °С.

В течение 2 - 3 сут после нанесения раствор следует предохранять от быстрого высыхания, используя для этого покрытие листовым пластиком или влажной мешковиной.

Расход - приблизительно 13,5 - 14 кг/м2 раствора для слоя покрытия толщиной 10 мм.

Упаковка - бумажные мешки с полиэтиленовой прокладкой по 25 кг.

5.4.3.6. ВАНДЕКС CRS ЛЕВЕЛЛИНГ КОМПАУНД LC - цементносодержащий выравнивающий раствор с полимерными добавками, образующий гладкое покрытие поверхности.

Выравнивающий состав применяется для образования на отремонтируемом бетоне или бетонной поверхности однородного гладкого отделочного покрытия, на который можно наносить краску.

Раствор может применяться также для заполнения раковин и ремонта незначительных повреждений на поверхности бетона при отсутствии коррозии арматуры.

При нанесении выравнивающего состава поверх ремонтного раствора ВАНДЕКС CRS РИПЕЙР МОРТАР НВ или 05 поверхность должна быть слегка увлажненной.

При нанесении раствора на старый бетон, ремонтируемый участок должен быть очищен от слабого бетона или раствора, грязи, пыли, масла, слегка увлажнен, но не должен быть мокрым.

Консистенция смеси ВАНДЕКС CRS ЛЕВЕЛЛИНГ КОМПАУНД LC зависит от его назначения. При загустении смеси ее необходимо перемешать без добавления воды. Не применять при температуре ниже 5 °С.

В течение 2 - 3 сут после нанесения раствор следует предохранять от высыхания.

Расход - приблизительно 1,7 кг/м2 для образования слоя толщиной 1 мм.

Упаковка - бумажные мешки с полиэтиленовой прокладкой по 25 кг.

5.4.3.7. ВАНДЕКС CRS OS 95 - цементносодержащее защитное покрытие с полимерными добавками.

Состав раствора защищает поверхность бетона с трещинами, поддающимися стабилизации (путем нанесения покрытия), образует преграду для проникновения углекислого газа, обладает атмосферостойкостью и устойчивостью к действию щелочей.

Материал наносится ручным или механическим способом двумя слоями. Толщина каждого слоя составляет 1 мм. Между нанесением первого и второго слоя должно пройти приблизительно 6 ч. Второй слой не должен вызывать смещения первого слоя.

Раствор нельзя использовать при температуре ниже 8 °С и наносить на замерзший ремонтируемый участок.

Для получения слоя толщиной 1 мм требуется приблизительно 1,8 кг/м2 готовой смеси.

Упаковка - двойная, включающая:

ВАНДЕКС CRS OS 95: бумажный мешок с полиэтиленовой прокладкой вместимостью 25 кг;

ВАНДЕКС CRS OS 95 АДДИТИВ: пластиковый контейнер вместимостью 7,5 кг.

5.4.3.8. ВАНДЕКС CRS ПРОТЕКТИВ ПЕЙН - защитная акриловая краска на водной основе.

Материал представляет собой долговечную, атмосферостойкую, паронепроницаемую краску многоцелевого назначения, устойчивую к воздействию щелочей и обеспечивающую матовое отделочное покрытие, защищает от воздействия окружающей среды и активно препятствует карбонизации.

Поверхность, подлежащая обработке, должна быть сухой, прочной и чистой. Пористые обрабатываемые поверхности предварительно должны быть загрунтованы праймером (защитная краска, разбавленная водой в зависимости от пористости ремонтируемого участка). Неабсорбирующие поверхности ремонтируемого участка покрытия праймером не требуют.

Защитная краска наносится в два слоя кистью или валиком. Краску не использовать при температуре ниже 5 °С.

Расход - от 0,14 до 0,16 кг (от 0,1 до 0,13 л) на 1 м2 на слой (в зависимости от пористости).

Время высыхания - около 30 мин при температуре 20 °С и средней влажности.

Упаковка - канистра до 10 л.

5.4.3.9. ВАНДЕКС CRS ЭЛАСТ ПРОТЕКТИВ ПЕЙН СИСТЕМ - защитная система бетона для предотвращения его разрушения и повреждения. Подходит для покрытия бетона с поверхностными трещинами (усадочные трещины и т.п.), порами и раковинами.

Система защиты не загрязняет окружающую среду, обладает хорошим сцеплением с бетоном, легко наносится на ремонтируемую поверхность, эффективно препятствует карбонизации, обладает высокой паропроницаемостью, атмосферостойкостью, хорошей эластичностью при низких температурах, связывает трещины до 0,3 мм.

Ремонтируемый участок должен быть прочным, очищенным от отслоившегося материала, пыли, масла и других веществ, которые препятствуют сцеплению.

Защитная система бетона используется в качестве праймера, покрытия-заполнителя и отделочного покрытия.

Праймер ВАНДЕКС CRS ЭЛАСТО ПРАЙМЕР наносится в неразбавленном виде с помощью кисти, валика, пистолета-распылителя или безвоздушного распылителя.

Покрытие - заполнитель ВАНДЕКС CRS ЭЛАСТО КОУТ наносится с помощью валика, кисти или безвоздушного распылителя. Применяется для герметизации раковин и пор с использованием для этого достаточного количества материала.

Отделочное покрытие ВАНДЕКС CRS ЭЛАСТО ПЕЙНТ наносится с помощью валика, кисти или безвоздушного распылителя. Число проходов и расход материала зависят от конкретного ремонтируемого участка. Обычно наносится не менее двух слоев.

Систему защиты бетона нельзя использовать при температуре ниже 5 °С.

Упаковка - контейнеры по 10 - 15 л.

5.5. Для ремонта поврежденных бетонных и железобетонных поверхностей, а также ремонта швов каменной кладки используют ремонтные материалы «ТОРО» (СТРУКТУРИТ, СТРУКТУРИТ марки 300 и др.).

5.5.1. СТРУКТУРИТ представляет собой смесь портландцемента, кремнезема и модифицированных добавок. Быстротвердеющий раствор получается в результате смешивания СТРУКТУРИТА с жидкостью, состоящей из смеси 1 части АКРИЛА 60 и 1 части питьевой воды. Для получения раствора нужной консистенции необходимо 2,5 л жидкости на 25 кг смеси составляющих.

Для получения цементного теста количество смесительной жидкости увеличивается приблизительно на 10 %.

Цементным тестом покрывается оголенная арматура, затем, не дожидаясь высыхания, наносится раствор слоями толщиной от 5 до 50 мм. Каждый последующий слой следует наносить приблизительно через 20 мин. Раствор применяется при температуре окружающей среды не ниже 5 °С.

СТРУКТУРИТ, упакованный в мешках по 25 кг и ведрах, должен защищаться от влаги и мороза.

5.5.2. Однокомпонентный быстротвердеющий модифицированный раствор для ремонтных работ СТРУКТУРИТ 300 получается смешиванием порошка СТРУКТУРИТ 300, представляющего собой смесь портландцементов, кремнезема, полимерного порошка на основе акрилата и модифицированных добавок, с питьевой водой. Технология ремонтных работ с использованием СТРУКТУРИТА 300 аналогична технологии применения раствора СТРУКТУРИТА.

5.6. Представляет интерес применение ЗАО «Уралспецэнерго» и другими ремонтными предприятиями при ремонте гидроизоляции подземных и надземных конструкций зданий и сооружений объектов энергетики группы новых гидроизоляционных материалов:

а) группа гидроизоляционных материалов проникающего действия:

ВАНДЕКС СУПЕР - однокомпонентный, гидроизоляционное покрытие, расход однослойного покрытия поверхности - 0,75 кг/м2, однослойного покрытия строительных швов - 1,5 кг/м2;

ВАНДЕКС ПРЕМИКС - гидроизолирующее цементное тесто, расход 0,75 - 1,0 кг/м2, используется как однослойное покрытие по ВАНДЕКС СУПЕР - «свежее по свежему»;

ВАНДЕКС КОНКРЕТ ГРЭИ - однокомпонентное жидкое цементное тесто для защиты бетона, наносится в два слоя с расходом 0,75 кг/м2 для каждого слоя;

б) группа гидроизоляционных материалов, обеспечивающих водонепроницаемость и высокую адгезию: ТОРОСИЛ, ТОРОСИЛ РС, ТОРОСИЛ РМ, ТОРОСИЛ СУЛЬФАБАР и др.

5.6.1. Материалы ВАНДЕКС представляют собой порошок, состоящий из портландцемента, обработанного кварцевого песка и соединений химически активных веществ.

При нанесении материала ВАНДЕКС на поверхность химически активные вещества проникают в поры, микротрещины и капилляры бетона, вступая во взаимодействие со свободной известью и влагой в составе бетона и образуя нерастворимые соединения кристаллов, закупоривающие микротрещины.

Материал ВАНДЕКС можно наносить на бетон (как старый, так и новый), который находится под воздействием давления воды. ВАНДЕКС следует применять при температуре воздуха ниже + 5 °С. ВАНДЕКС для гидроизоляции подразделяется на следующие категории:

ВАНДЕКС СУПЕР - подземные части зданий и сооружений;

ВАНДЕКС ПРЕМИКС - усиление действия ВАНДЕКС СУПЕР;

ВАНДЕКС КОНКРЕТ ГРЭЙ - открытые (наземные) части конструкций зданий и сооружений.

Для подготовки поверхности с целью последующего нанесения ВАНДЕКСА консистенции цементного теста необходимо удалить поврежденный бетон, а также грязь, цементное молоко и т.п. с помощью обработки водой под давлением или очистки металлическими щетками. Дефекты ремонтируемой поверхности следует устранить ремонтным составом ВАНДЕКС CRS РИПЕЙР МОРТАР 05 или ВАНДЕКС CRS РИПЕЙР МОРТАР НВ. Перед нанесением материалов ВАНДЕКС поверхность должна быть тщательно увлажнена.

Цементное тесто получается смешиванием материала ВАНДЕКС с чистой водой. Примерная пропорция смешивания составляет 0,8 частей воды на 2 части порошка. На поверхность цементное тесто наносится в один или два слоя с помощью жесткой кисти, щетки или распылительного оборудования. Второй слой следует наносить пока первый еще свежий.

Обрабатываемые участки конструкции должны сохраняться во влажном состоянии, по крайней мере, в течение 5 сут после обработки. Их следует предохранять от прямого попадания солнечных лучей, от действия ветра и низких температур.

5.6.2. Материал ТОРОСИЛ представляет собой смесь портландцементов, отсеянного кремнезема и различных добавок. После перемешивания с питьевой водой или со смесью АКРИЛ 60 и питьевой воды до консистенции строительного раствора ТОРОСИЛ можно наносить на ремонтируемую поверхность с помощью специальной кисти «ТОРО», щетки или набрызгом.

За счет высокой адгезии ТОРОСИЛ становится монолитным с поверхностью, на которую он наносится.

Поверхность, подлежащая ремонту, должна быть очищена от поврежденной штукатурки, продуктов коррозии, краски, жира, масла и других веществ с помощью воды под большим давлением или пескоструйным способом. При подготовке поверхности для нанесения ТОРОСИЛА необходимо все трещины, раковины, протечки заделать составом СТРУКТУРИТ или ВАТЕРПЛАГ.

В качестве жидкости при приготовлении раствора ТОРОСИЛ желательно использовать 1 часть АКРИЛА 60 и 3 части чистой воды, при этом возможна и более высокая пропорция АКРИЛА 60 и жидкости, если этого требует агрессивная среда и климатические условия.

Для получения раствора необходимой консистенции с применением смеси жидкости требуется 5,2 л жидкости на 25 кг ТОРОСИЛА.

Номинальная толщина, наносимая на поверхность, должна быть от 0,8 до 1,5 мм. ТОРОСИЛ нельзя растирать по поверхности как краску. После тщательного заполнения неровностей на поверхность следует нанести нужное количество состава для получения слоя толщиной 1 мм.

Период схватывания первого слоя ТОРОСИЛА, перед нанесением следующего слоя при нормальных климатических условиях не должен превышать 7 сут. Второй слой наносится на увлажненный первый, но при этом не допускается наличие лишней воды.

Если ТОРОСИЛ применяется как защитное покрытие, но не в качестве гидроизоляции, второму слою можно придать декоративную отделку специальным валиком.

При сухой погоде после первоначального схватывания окончательный слой ТОРОСИЛА должен орошаться водой или сохраняться во влажном состоянии.

ТОРОСИЛ применяется в качестве гидроизоляционного покрытия в следующих случаях:

для внутренних, наружных подземных и надземных работ;

для стен, полов в душевых, ваннах, туалетах и других санузлах перед применением декоративной отделки;

для резервуаров, тоннелей, фундаментов и подвалов.

ТОРОСИЛ нельзя применять, если температура среды или поверхности, на которую его наносят, ниже 5 °С.

ТОРОСИЛ, упакованный в ведрах или мешках по 25 кг, должен храниться укрытым и предохраняться от влаги и мороза.

5.7. Устранение активных водных протечек через отверстия, стыки, трещины в конструкциях, выполненных из железобетона, бетона или камня, целесообразно осуществлять с использованием материалов ВАНДЕКС ПЛАТ и ВАТЕР ПЛАГ (однокомпонентные быстросхватывающиеся и быстротвердеющие составы).

Упомянутые составы применяются при проведении ремонта тоннелей, подвалов, трубопроводов воды под давлением, резервуаров для воды, фундаментов в случаях, когда обычные составы вымываются и когда полимерные составы не дают прочного сцепления.

5.7.1. Герметизирующий состав ВАНДЕКС ПЛАГ используют для гидроизоляции фильтрующих поверхностей в сухом виде, втирая порошок во влажное основание в течение 30 - 45 с, а для гидроизоляции при активной фильтрации (в том числе под давлением) в виде состава пастообразной консистенции.

Для получения пастообразного состава порошок ВАНДЕКС ПЛАГ затворяется водой и перемешивается в течение 15 с. При температуре окружающей среды 5 - 10 °С воду следует подогревать до 25 - 30 °С.

Зоны активных протечек разделывают на глубину 25 - 30 мм (места фильтрации воды разбуривают, швы и трещины расшивают на ширину 15 - 20 мм) и промывают водой под давлением. Фильтрующие поверхности очищают от пыли, грязи, масла и т.п. с помощью пескоструйной обработки или обработки бучардой.

Расход материалов в зависимости от количества воды затворения 1,4 - 1,6 кг/л герметизирующего объема.

Хранить материал ВАНДЕКС ПЛАГ следует в сухом помещении. Срок годности материала, упакованного в пластиковые 15-килограммовые ведра, - 12 мес.

5.7.2. Герметизирующий состав ВАТЕР ПЛАГ представляет собой порошок, полученный смесью гидравлических цементов, различных наполнителей и добавок.

При смешивании с водой ВАТЕР ПЛАГ образует быстросхватывающийся, готовый к употреблению герметизирующий состав.

ВАТЕР ПЛАГ расширяется после схватывания, быстро набирает прочностные свойства, не содержит веществ, способствующих коррозии металла и бетона.

Материал ВАТЕР ПЛАТ хранится в банках по 5 кг или ведрах по 2,5 кг.

Подготовка поверхности и технология нанесения состава ВАТЕР ПЛАГ аналогична технологии использования ВАНДЕКС ПЛАГ.

6. РЕМОНТ (УСИЛЕНИЕ) МЕТАЛЛОКОНСТРУКЦИЙ

6.1. Ремонт металлоконструкций производственных зданий и сооружений может быть выполнен с привлечением специализированных ремонтных предприятий или силами энергопредприятия при наличии рабочих соответствующей квалификации и наличии лицензии на проведение данного вида работ.

6.2. Усиление стальных конструкций включает в себя:

обследование существующих конструкций с выявлением причин дефектов;

выбор способа усиления;

расчет усиления конструкции с учетом возможности производства работ по выполнению усиления в период эксплуатации основного оборудования.

Усиленная конструкция должна удовлетворять действующим требованиям к прочности, устойчивости, жесткости и обеспечивать возможность дальнейшей ее нормальной эксплуатации.

6.3. Принятый способ усиления должен предусматривать следующий порядок выполнения работ:

максимальную разгрузку усиливаемых конструкций;

временную передачу нагрузки с усиливаемых элементов на другие элементы;

временное раскрепление конструкций установкой дополнительных связей, распорок и т.п.;

порядок сварки отдельных элементов, очередность наложения сварных швов и пр.

6.4. Существуют следующие способы усиления:

увеличение сечений элементов;

изменение конструктивной схемы;

установка дополнительных связей, ребер, диафрагм, распорок;

подведение новых дополнительных конструкций или элементов;

усиление соединений элементов;

предварительное напряжение конструкций (изменение конструктивной схемы и др.);

увеличение жесткости искривленных элементов ферм, связей, ветвей колонн;

увеличение суммарной площади болтов и заклепок в болтовых и заклепочных соединениях узлов конструкций;

устранение влияния сквозных трещин в основном металле, пересекающих поперечное сечение элемента.

Обычно усиление конструкций производится не одним из перечисленных способов, а их сочетанием. Выбор наиболее эффективного решения целесообразно производить путем сравнения нескольких проектных вариантов с учетом конкретных условий проведения работ.

6.5. Усиление стальных конструкций путем увеличения сечений элементов:

6.5.1. Способ усиления увеличением сечений может быть применен при текущем и капитальном ремонте несущих конструкций, а также при необходимости увеличения несущей способности конструкций в связи с увеличением нагрузок на них вследствие реконструкции.

Усиление осуществляется путем установки дополнительных деталей, в результате чего развиваются расчетные сечения конструкций или их элементов, а также ликвидируются дефекты и повреждения или их последствия.

6.5.2. Совместная работа металла основного сечения или элементов усиления обеспечивается соответствующими связями между ними в виде сварных швов, обычных или высокопрочных (в том числе предварительно-напряженных) болтов, заклепок или комбинированных соединений.

6.5.3. Элементы усиления, увеличивающие основные сечения, могут подсоединяться к усиливаемым элементам конструкций как ненапряженным, так и с предварительным напряжением.

6.5.4. При усилении конструкций способом увеличения сечений рекомендуется использовать металл в виде листового, сортового и фасонного проката.

6.5.5. Выбор марок стали для элементов усиления необходимо производить в зависимости от значимости усиливаемых конструкций или их элементов, толщины применяемого проката, руководствуясь указаниями по применению стали для стальных конструкций зданий и сооружений [7].

6.5.6. Усиление конструкций способом увеличения сечений может производиться как без предварительного разгружения, так и при полном или частичном разгружении на период производства ремонтных работ.

6.5.7. Разгрузка усиливаемой конструкции может быть достигнута либо путем непосредственного снятия действующих на нее постоянных и временных нагрузок, либо путем искусственного регулирования в ней напряжений.

Напряженность и степень разгрузки назначаются в процессе проектирования усиления конкретной конструкции (элемента). При этом следует учитывать:

напряженно-деформационное состояние конструкции (элемента);

влияние конкретных дефектов и повреждений;

характер нагрузок и воздействий на конструкцию;

механические свойства основного и дополнительного металла;

технологические особенности производства работ по усилению (возможность проведения работ по разгрузке конструкций, снижение несущей способности конструкций и ее элементов вследствие разогрева металла, ослабление сечений отверстиями и т.п.).

Указания по усилению сварных металлических ферм под нагрузкой приведены в приложении 4.

6.6. Усиление стальных конструкций путем изменения их конструктивных схем:

6.6.1. Способ усиления стальных конструкций путем изменения их конструктивных схем применим при неотложно-аварийных, временных, постоянных и перспективных усилениях.

Посредством изменения конструктивной схемы рекомендуется усиливать почти все наиболее распространенные стальные конструкции производственных зданий (рамы, фермы, балки, колонны).

Данный способ усиления исключает всякий шаблон в выборе приемов, почти всегда дает хорошие экономические решения.

6.6.2. Многочисленные приемы изменения конструктивных схем, позволяющие в широком диапазоне регулировать усилие и напряжение в конструкциях, различаются следующими основными признаками:

усиление без превращения в новые конструктивные формы. Например, увеличением жесткости какой-либо колонны в поперечной схеме пролетного сооружения цеха можно в ряде случаев достичь необходимого перераспределения усилий во всей конструкции;

усиление с частичным превращением в новые конструктивные формы. Например, установка затяжки в раме и защемление концов стоек превращает двухшарнирную раму в такую же конструкцию (раму), но с защемленными опорами и затяжкой;

усиление с полным превращением в новые конструктивные формы. Например, введением шпренгеля однопролетный ригель (балка) превращается в новую конструкцию - шпренгельную балку.

6.6.3. Изменение жесткости отдельных сооружений в большинстве случаев производится посредством изменения их конструктивной схемы: способом присоединения конструкций, постановкой дополнительных элементов, подкосов, жестких узлов, жестких ригелей, связей и т.п.

6.6.4. Эффективность приемов изменения конструктивных схем является введение предварительно-напряженных элементов:

предварительно-напряженных затяжек для изгибаемых балок и ферм;

предварительно-напряженных шпренгелей для снижения расчетной длины сжатых элементов с целью повышения несущей способности стоек.

6.6.5. Основными способами регулирования усилий, изменения конструктивной схемы являются:

установка напрягающих элементов (затяжек) или устройств (натяжных, распорных) непосредственно напрягающих конструкций;

изменение условий закрепления опор в неразрезных системах;

объединение несущих и ограждающих конструкций для совместной работы;

введение при усилении временных шарниров в процессе ремонтных работ, при которых в конструкциях создаются усилия и напряжения противоположных знаков по отношению к эксплуатационному состоянию;

предварительное напряжение гибких стержней и стальных канатов растягивающими усилиями, превосходящими по значению сжатия в этих элементах от эксплуатационных нагрузок.

6.6.6. Существует несколько способов включения усиливающих элементов в общую работу конструкции: подъем и опускание узлов и опор статически неопределенных систем (неразрезные балки, фермы) домкратами, рычагами или подклинкой в целях создания разгружающих сил в усиливаемой конструкции. Для этого рекомендуется также применять тяги, тали, натяжные параллелограммы, муфты и другие приспособления.

6.6.7. Колонны и другие опорные устройства обычно разгружаются с помощью домкратов, устанавливаемых на временных опорах: при усилении нижней части многоярусных колонн вместо разгрузки вышележащих конструкций можно осуществлять натяжение стержней верхних частей колонн.

6.6.8. При усилении конструкций способом изменения конструктивных схем необходимо соблюдать следующие общие положения:

выбор того или иного приема изменения конструктивной схемы производить в зависимости от окружающих условий (насыщенности оборудованием, наличия свободных габаритов, видов нагрузок и т.п.) и состояния конструкций в момент усиления;

при изменении конструктивных схем обеспечить надежное включение новых элементов в работу измененной конструкции посредством соединений элементов с помощью сварки или болтов;

при выполнении сварных и болтовых соединений руководствоваться указаниями [7];

при использовании предварительно-напряженных элементов необходимо учитывать специфику их работы - релаксацию напряжений, возможность контроля предварительного напряжения, характер распределения усилий и напряжений по всей конструкции;

выбор материала элементов усиления производить в соответствии с указаниями [7] в зависимости от физико-механических свойств металла усиливаемой конструкции;

выбор прокатных профилей производить в соответствии с сокращенным (в целях унификации) сортаментом металлопроката.

6.6.9. Винтообразность, перекос, выпучивания, местные вмятины, прогибы и вырезы в элементах металлических конструкций перекрытий, покрытий и колонн каркаса следует устранять по проекту, разработанному специализированной организацией.

6.7. Ремонт и усиление сварных, заклепочных и болтовых соединений:

6.7.1. Сварные соединения необходимо усиливать при выявлении их недостаточной несущей способности, а также в следующих случаях:

при обнаружении в швах сварных соединений дефектов, выходящих за пределы требований [8];

при обнаружении трещин всех видов и размеров, как в металле шва, так и в металле сваренных элементов в пределах зоны термического влияния;

при наличии зазора между свариваемыми элементами (в соединениях с угловыми швами), превышающего установленный допуск [9];

при уменьшении размера сварных швов, заданных в рабочих чертежах.

6.7.2. Развитые трещины в сварных швах и околошовной зоне необходимо устранять в такой последовательности:

на расстоянии 40 - 50 мм от видимых концов трещины засверливаются отверстия диаметром 12 - 17 мм (при расположении трещин в околошовной зоне или металле стыковых швов отверстия выполняются сквозными);

тщательно осмотрев отверстия, следует убедиться, что за границы отверстий трещина не распространяется, в противном случае в направлении развития трещины производится дополнительное засверливание;

пневматическим зубилом или резаком выполняется V-образная или X-образная «разделка» кромок трещины на полную глубину;

металл у концов трещин нагревается до температуры 150 - 200 °С (в целях раскрытия зазора в «разделке»), после чего трещины завариваются электродами Э42 (при сварке малоуглеродистой стали) и Э50А или Э55 (при сварке низколегированных сталей).

В конструкциях, подвергающихся динамическому воздействию подвижных или вибрирующих нагрузок, поверхность сварных швов зачищается заподлицо с поверхностью элемента.

6.7.3. Неполномерность сварных швов необходимо устранять, соблюдая такую последовательность:

поверхность шва и околошовной зоны тщательно очищается от краски, грунтовки или продуктов коррозии;

в необходимых случаях сварной шов разгружается;

наплавка в пределах дефектного участка шва дополнительного металла выполняется слоями толщиной по 2 мм; на не полностью разгруженных соединениях сварку следует накладывать участками длиной 60 - 100 мм, давая возможность остыть каждому наложенному участку шва;

каждый последующий валик (слой) накладывается после остывания предыдущего до температуры ниже 100 °С и тщательной очистки ранее наплавленного металла от шлаковых включений.

6.7.4. Подрезы, непровары, шлаковые включения, поры, сужения, кратеры и перегревы швов устраняются удалением (вырубкой) участков дефектных швов пневматическим зубилом или резаком, предназначенным для поверхностной кислородной или воздушно-дуговой резки; необработанный участок заваривается с использованием качественных электродов.

6.7.5. Участки швов с обнаруженными в них физическими методами диагностики скрытых дефектов сварных швов (непровары по сечению или в корне шва, шлаковые включения, газовые поры), наличие которых недопустимо или ограничено требованиями [8], следует удалять вырубкой на длину дефектного места плюс по 15 мм с каждой стороны и заваривать вновь. При этом основные напряжения в металле бездефектных участков швов от действующих нагрузок в период ремонта не должны превышать расчетного сопротивления металла шва или границы сплавления.

6.7.6. Усиление сварных соединений при недостаточных размерах сварных швов, а также при наличии повышенных зазоров между сваренными элементами может выполняться путем увеличения длины или толщины существующих швов.

6.7.7. Усиление сварных соединений элементов увеличением длины швов следует применять во всех случаях, когда есть место для наложения новых швов.

6.7.8. Усиление сварных соединений элементов увеличением толщины существующих швов, т.е. наплавкой дополнительного металла, рекомендуется применять при отсутствии места для наложения новых швов.

6.7.9. В случае необходимости одновременного увеличения длины и толщины швов усиление соединений следует начинать с наложения дополнительных швов, т.е. увеличения длины последних.

6.7.10. При невозможности выполнения усиления допускается введение дополнительных деталей (фасонок, накладок и пр.), позволяющих увеличить длину сварных швов.

6.7.11. Во всех случаях после усиления сварных соединений размеры и форма сварных швов должны отвечать требованиям [7].

6.7.12. Категорически запрещается производить сварку растянутых элементов конструкций под нагрузкой швами, расположенными поперек элемента или в поперечном направлении по отношению к действующим усилиям в элементе.

6.7.13. Усиление сварных швов следует производить электродами соответствующих типов и марок диаметром не более 4 мм при силе тока не более 220 А.

6.7.14. При увеличении длины сварных швов необходимо выполнять шов за один проход катетом не более 6 мм.

В случае необходимости выполнения швов толщиной более 6 мм сварка осуществляется в два-три слоя и более. При этом последующие слои накладываются после охлаждения предыдущего слоя до температуры не выше 100 °С.

6.7.15. Увеличение толщины усиливаемых сварных швов следует выполнять путем послойной наплавки дополнительного металла. Толщина наплавляемого слоя за один проход должна составлять не более 2 мм.

6.7.16. Для элементов из уголков наложение новых сварных швов следует начинать со стороны пера уголка от края фасонки в направлении следующих швов.

6.7.17. Увеличение толщины усиливаемых сварных швов следует начинать с наплавки по перу уголка. Наплавка усиливающего слоя начинается в местах дефектов усиливаемого шва (подрезы, наплывы, кратеры и т.п.), при отсутствии дефектов наплавку можно начинать с любого удобного места.

6.7.18. После наложения усиливающего сварного шва по перу одного из парных уголков элементов решетчатых конструкций следует перейти к усилению шва другого парного уголка с обратной стороны той же фасонки или с противоположного конца элемента у второй фасонки. После усиления всех швов по перу уголков можно приступать к усилению швов по обушку уголков в той же последовательности.

6.7.19. В целях уменьшения значения сварочных деформаций при усилении сварных соединений изгибаемых элементов необходимо в первую очередь выполнять сварочные работы по усилению швов в растянутой зоне, а затем приступить к усилению швов в сжатой зоне.

6.7.20. Усиление заклепочных соединений с помощью сварки нецелесообразно по ряду причин: стали не обладают хорошей свариваемостью, усилия между сварными швами и заклепками распределяются непропорционально и т.п.

6.7.21. Наиболее эффективным способом усиления заклепочных соединений под нагрузкой является установка высокопрочных болтов. Применение высокопрочных болтов при усилении клепаных конструкций имеет целый ряд преимуществ.

6.7.22. Отсутствующие или ослабленные заклепки должны быть заменены высокопрочными болтами.

Для установки высокопрочных болтов необходимо расчистить или рассверлить старые отверстия. При этом разрешается рассверливать отверстия на больший калибр. Количество рассверливаемых отверстий не должно превышать 50 %. При большем числе рассверливаемых отверстий необходимо предварительное проведение расчета соединения с учетом новой компоновки отверстий.

Заварку старых отверстий с последующей рассверловкой для установки болтов производить не следует.

Высокопрочные болты устанавливаются в существующие отверстия без рассверловки.

6.7.23. Под головки и гайки высокопрочных болтов должны быть поставлены термически обработанные шайбы - по одной шайбе под каждую головку и гайку. Диаметр шайб в высокопрочных болтах принимается на один калибр большим, чем в обычных болтах, т.е. для болтов М18 принимаются шайбы, как для болтов М20 и т.д.

6.7.24. Все болты, шайбы и контактные поверхности под шайбами элементов металлоконструкций должны быть до установки болтов тщательно очищены от краски, грязи, продуктов коррозии и консервирующей смазки. Перед натяжением болта резьба гайки смазывается минеральным маслом.

6.7.25. Высокопрочные болты, гайки и шайбы, на которых в процессе установки или последующей эксплуатации обнаружены трещины, должны быть безотлагательно заменены.

6.7.26. Общие технические требования, предъявляемые к высокопрочным болтам, гайкам и шайбам, приведены в [10].

Конструкция и размеры высокопрочных болтов, гаек и шайб регламентированы соответственно [11], [12], [13].

6.7.27. При ремонте и усилении конструкций как исключение можно допускать совместное крепление элемента в узле высокопрочными болтами и сварными швами (при хорошей свариваемости металла), предполагая, что деформированность болтов и швов одинакова. В этом случае валиковые швы следует накладывать после установки и натяжения высокопрочных болтов.

6.7.28. Отсутствующие постоянные болты в болтовых соединениях заменяются аналогичными, ослабленные болты следует в процессе эксплуатации или ремонта затянуть с последующей установкой контргаек или «забивкой» резьбы.

6.8. Подробнее о способах и технологии усиления металлических конструкций изложено в [14].

6.9. Технология антикоррозионной защиты элементов стальных конструкций при их усилении изложена в приложении 5.

7. ПОДКРАНОВЫЕ КОНСТРУКЦИИ

7.1. Надежность и долговечность работы всех элементов подкрановых путей зависят от качества монтажных работ, соблюдения требований правил технической эксплуатации кранового оборудования и подкрановых путей, своевременного выполнения ремонтно-восстановительных работ (рихтовки) подкрановых путей в зависимости от конструктивного их решения.

7.2. Подкрановые пути после исправления, а также расстояния между выступающими боковыми частями крана и колоннами и расстояния от верхней точки крана до нижних поясов ферм должны отвечать допускам [15], [16].

7.3. Ремонтно-восстановительные работы подкрановых конструкций подразделяются на работы, предусматривающие:

устранение дефектов и повреждений подкрановых балок, восстановление их несущей способности;

исправление (рихтовку) подкрановых путей;

текущие, профилактические ремонты.

7.4. Для усиления и восстановления несущей способности металлических подкрановых балок используются следующие способы:

увеличение сечений элементов;

изменение конструктивной схемы;

установка дополнительных ребер;

подведение дополнительных элементов или конструкций;

усиление соединений элементов.

7.5. Восстановление несущей способности железобетонных подкрановых балок предусматривает:

увеличение поперечного сечения балок с помощью железобетонных и металлических обойм, рубашек, хомутов;

восстановление защитного слоя и тела бетона;

увеличение сечения рабочей арматуры, ослабленной в результате коррозионных процессов;

изменение конструктивной схемы.

7.6. Способы усиления металлических и железобетонных подкрановых балок представлены в [14], [17].

7.7. Изменение расстояния между осями крановых рельсов одного пролета и отклонение оси кранового рельса от прямой должно быть ликвидировано с помощью рихтовки рельсов. Допустимо при эксплуатации смещение оси рельса с оси подкрановой балки до 30 мм - для металлических подкрановых балок и до 60 мм - для железобетонных подкрановых балок.

При необходимости большего смещения рельса, а также при наличии эксцентриситета рельса относительно балки больше допустимого значения производится рихтовка подкрановых балок по специальному проекту. При этом следует стремиться к совмещению осей балок и рельса.

7.8. Рихтовка подкрановых путей в плане выполняется на основании геодезической съемки с учетом конструктивных особенностей подкрановых балок и их опорных узлов. При разработке проектного решения рихтовки в плане необходимо соблюдать особые требования, связанные с проведением расчетов несущей способности консольных опорных частей в зависимости от значения смещения подкрановых балок с соблюдением необходимых допустимых значений при смещении, как в сторону колонн, так и в сторону пролета.

7.9. Выбор проектного решения по высотной рихтовке подкрановых путей зависит от конструкции и материала, из которого изготовлены подкрановые балки и опорные элементы, способов крепления подкрановых балок к колоннам каркаса здания, конструкции крепления рельсов к подкрановым балкам, а также от значения смещения подкранового пути по высоте.

Рихтовку подкрановых путей по высоте можно выполнять двумя способами:

поднятием только подкранового рельса;

поднятием подкрановой балки вместе с рельсом.

Первый способ целесообразно применять при рихтовке подкрановых путей на железобетонных подкрановых балках, подъем или опускание которых крайне затруднен, поскольку подкрановые балки, как правило, выполнены в монолитном варианте, многопролетными неразрезными или из сборных однопролетных, но монолитно связанных на консольных опорах.

Второй способ целесообразно применять при рихтовках подкрановых путей на металлических балках, шарнирное соединение которых на консольных опорах позволяет перемещение их вместе с рельсом.

7.10. В большинстве случаев по результатам геодезической съемки необходимо выполнять рихтовку подкрановых балок одновременно в плане и по высоте.

При разработке проектных решений одновременных перемещений рельсового пути и подкрановых балок в плане и по высоте должны соблюдаться все требования, предъявляемые к рихтовкам подкрановых путей отдельно в плане или по высоте.

7.11. Наиболее распространенные методы и технологии рихтовки подкрановых путей по высоте, в плане и одновременно в плане и по высоте приведены в [18].

7.12. При капитальном ремонте подкрановых конструкций должны выполняться следующие основные работы:

замена изношенных рельсов с креплениями;

рихтовка подкрановых балок, рельсов;

частичная замена негодных тормозных и подкрановых балок, деформированных опор;

покраска металлоконструкций и др.

7.13. При текущем ремонте подкрановых путей должны выполняться:

проверка всех болтовых и сварочных соединений рельсов и подкрановых балок;

удаление накатов на головках рельсов;

мелкий ремонт тупиковых упоров;

ремонт лестничных маршей, площадок и перил, обслуживающих подкрановые пути.

7.14. Рихтовка подкрановых путей должна производиться специализированной организацией в строгом соответствии с технической проектной документацией, разработанной с учетом результатов обследования и геодезической съемки.

7.15. Проект производства работ должен разрабатываться организацией, выполняющей работы по рихтовке подкрановых путей.

При производстве работ должны использоваться типовые технологические карты.

7.16. Рихтовка подкрановых путей должна вестись, как правило, сразу по всей длине, однако допускается ведение рихтовки по частям с обязательной разработкой дополнительных мер по технике безопасности.

7.17. Для контроля качества работ и оперативного решения технических вопросов предприятие-владелец крана должен приказом назначить ответственное лицо.

7.18. Допуск к производству работ по рихтовке подкрановых путей должен производиться по наряду, выданному предприятием-владельцем крана. Во время производства работ троллеи крана должны быть отключены.

При рихтовке подкрановых путей по частям троллеи должны быть отрезаны от источников электроснабжения, а на путях установлены тупиковые опоры.

7.19. Сдача подкрановых путей после рихтовки должна производиться по акту с обязательным приложением геодезической съемки, актов на скрытые работы, сертификатов на материалы и электроды и копий паспортов сварщиков.

7.20. При выполнении геодезической съемки подкрановых путей и производстве работ по рихтовке следует соблюдать правила техники безопасности и требования Госгортехнадзора России.

8. РЕМОНТ ФУНДАМЕНТОВ И СТЕН ПОДВАЛОВ

8.1. Причины деформаций и осадок фундаментов, необходимость ремонта, частичной разработки, устройства новых или усиление существующих фундаментов, оснований (грунтов), а также методы производства ремонта и необходимые меры по устранению выявленных дефектов определяются заключением проектной или другой компетентной организации.

8.2. Ведение работ, связанных с переустройством и капитальными ремонтами фундаментов, усилением фундаментов и оснований (грунтов) под несущие конструкции зданий, сооружений и под технологическое оборудование, устройством новых фундаментов при ремонте зданий, выполнением гидроизоляции стен подвалов, укладкой дренажных сетей, разрешается только при наличии утвержденной руководством технической документации (выполненной генеральным проектировщиком или согласованной с ним), включающей необходимые геологические и гидрогеологические данные о грунтах, расположенных ниже фундаментов ремонтируемых зданий и сооружений, и проекта производства работ.

8.3. Раскрытие в зимнее время фундаментов и их оснований для ремонта при отсутствии защиты грунтов от промерзания не допускается.

8.4. Трещины в каменных фундаментах и стенах подвала после устранения причин, их вызвавших (неравномерные осадки оснований, перегрузка фундаментов и т.п.), следует расчистить, промыть струей воды или продуть сжатым воздухом и заинъецировать одним из методов, предложенных в разд. 3 - 5.

8.5. Участки вертикальных и горизонтальных швов блочных фундаментов и стен подвала, в которых имеют место повреждения затвердевшего раствора (высыпание, выкрашивание и т.п.), должны быть очищены от старого раствора кладки, продуты и зачеканены жестким цементно-песчаным раствором составом 1:3 или другими эффективными материалами (см. разд. 3 - 5).

8.6. Частичную замену кладки фундаментов необходимо производить в такой последовательности:

отрыть шурф (траншею) с одной стороны шириной 1 - 1,2 м, длиной не более 2,5 м и глубиной, не достигающей подошвы фундамента на 0,5 м;

разобрать ослабленные участки кладки не более чем на половину толщины фундамента, очистить оставшуюся часть от грунта и раствора и промыть цементным молоком;

выложить новую кладку взамен разобранной на цементно-песчаном растворе той же марки, что и раствор, на котором выполнена кладка фундамента, обеспечивая плотное прилегание новой кладки к старой с заполнением швов на всю глубину;

восстановить в соответствии с первоначальным проектом или выполнить заново по проекту, разработанному генеральным проектировщиком или специализированной организацией или согласованному с ними, необходимую гидроизоляцию и химическую защиту материалов фундамента.

Работы по частичной замене кладки необходимо выполнять отдельными участками только с одной стороны и не более чем на половину толщины фундамента.

8.7. Восстановление монолитности и прочности кладки фундаментов при наличии трещин или пустых швов путем нагнетания в фундамент цементного раствора необходимо производить в соответствии с указаниями приложения 6.

После выполнения работ необходимо восстановить в соответствии с первоначальным проектом или выполнить заново по проекту, разработанному генеральным проектировщиком или специализированной организацией или согласованному с ними, требуемую гидроизоляцию и химическую защиту материалов фундаментов.

8.8. По окончании ремонта фундаментов необходимо засыпать пазухи с послойным трамбованием грунта и последующим восстановлением отмосток, тротуара и полов.

8.9. Восстанавливать горизонтальную гидроизоляцию в существующих каменных стенах следует отдельными участками. Длина участка не должна превышать 1 - 1,5 м. Разборку кладки следует производить на всю толщину стены и по высоте не менее чем на два ряда кирпича. При установке гидроизоляции одновременно на разных участках расстояние между участками в чистоте должно быть не менее 3 - 3,5 м.

8.10. Ремонт и усиление гидроизоляции строительных конструкций подземных сооружений необходимо производить следующими методами:

восстановление наружной гидроизоляции соответствующим способом при обязательном вскрытии поверхности земли;

ремонт гидроизоляции методом цементации;

ремонт гидроизоляции методом торкретирования изнутри или снаружи;

усиление гидроизоляции нанесением асфальтовых мастик на внутреннюю поверхность конструкций;

ремонт гидроизоляции нанесением штукатурки коллоидным цементным раствором и активированным торкретом.

Подробно данные методы и характеристики используемых материалов изложены в приложении 7.

8.11. Участки дренажа, фильтрующая способность которых промывкой не восстанавливается, следует вскрывать и ремонтировать в соответствии с утвержденным проектом ремонта.

9. РЕМОНТ СТЕН

9.1. Кирпичные стены

9.1.1. Участки кирпичных стен зданий и сооружений в зависимости от степени их повреждения в результате воздействия технологических, атмосферных вод и пара подлежат частичному ремонту, реставрации кладки местами или полной разборке поврежденной кладки с возведением ее заново с последующим применением защитных покрытий (покраски, штукатурки, облицовки).

Перед производством ремонтных работ по восстановлению или усилению стен следует устранить причины, вызвавшие повреждения.

9.1.2. Необходимость усиления или разборки участков кирпичных стен, не обладающих достаточной устойчивостью (превышение нормы отклонения от вертикали, выпуклости, крены, вогнутости; недостаточное опирание на элементы фахверка или фундамент при отсутствии горизонтальных элементов анкеровки - балок, анкеров, ферм, поперечных стен, плит покрытия), должна определяться специализированной организацией.

9.1.3. Заключение об устойчивости фахверковых стен, имеющих сквозные трещины или другие дефекты, и составление проектных решений по их укреплению выполняются специализированной организацией.

9.1.4. При ремонте цоколя стен следует исправлять все места неправильного сопряжения его с тротуаром или отмосткой в соответствии с проектом или типовым узлом сопряжения.

9.1.5. Отдельные потерявшие сцепление с затвердевшим раствором или выпавшие кирпичи в кладке стен должны быть заменены новыми. Гнезда от вынутых кирпичей следует тщательно очистить от старого раствора и смочить водой. Раствор необходимо наносить на стенки, постель и верх гнезда и на поверхности устанавливаемого кирпича с последующей тщательной зачеканкой швов. Для связи с существующей кладкой новый кирпич следует устанавливать в гнезде в положении заменяемого кирпича - ложком или тычком на фасад. Новые кирпичи, устанавливаемые в гнезда, должны быть подобраны по цвету и материалу в соответствии со старой кладкой.

9.1.6. Участки стен или их элементы (карнизы, пояски, сливы и т.п.), имеющие выветрившуюся или поврежденную наружную поверхность, должны быть отремонтированы путем замены поврежденного слоя кладки новым с соблюдением перевязки швов, как в новой кладке, так и при сопряжении новой кладки со старой.

Если облицовочный кирпич разрушился только с поверхности на глубину до 50 мм, ремонт следует выполнить путем расчистки разрушенной поверхности металлическими щетками с последующей штукатуркой раствором с молотым кирпичом (камнем) и в случае необходимости с добавкой красителя. Следует также использовать цемяночный раствор, который приготовляется из хорошо загашенной и выдержанной извести консистенции сметаны составом 1:2,5 по объему (известковое тесто плюс цемянка). В отдельных случаях для ускорения схватывания и твердения, а также при низком качестве извести в раствор следует добавлять цемент - 10 - 15 % объема известкового теста.

При реставрации кладки любого вида, имеющей швы под расшивку, после нанесения последнего слоя прорезать «рустики» на месте бывших швов кладки и расшивать их известковым или сложным раствором под цвет швов сохранившейся кладки.

При глубине выветривания более 50 мм кладку следует восстанавливать в соответствии с указанием специализированной организации.

9.1.7. Мелкие трещины в лицевых поверхностях каменных стен должны быть очищены от пыли, смочены и зачеканены цементно-песчаным раствором.

9.1.8. Последнее время при ремонтах разрушенных поверхностей кирпичной кладки нашли применение специальные материалы многопрофильного назначения, повышающие долговечность конструкций (см. разд. 3 - 5). Технология ремонта кирпичной кладки с применением специальных материалов аналогична технологии ремонта бетонных и железобетонных конструкций.

9.1.9. Перекладку разрушенных участков стен и столбов или заделку сквозных трещин следует производить после устранения причин, вызвавших деформацию, а также после того, как установленные маяки укажут на прекращение деформации стен (столбов).

9.1.10. Заделку сквозных трещин в кирпичной кладке следует выполнять инъецированием в трещины цементных, полимерцементных растворов или гидроактивных полиуретановых составов (см. разд. 3 - 5).

Методика выполнения работ по инъецированию приведена в приложении 6. Технология заделки трещин в кирпичной кладке с использованием полимерных составов приведена в разд. 5.

9.1.11. Отдельные сквозные трещины в кирпичных стенах должны устраняться путем разборки кладки по длине трещин на всю толщину стены и на ширину в 1,5 - 2 кирпича с последующей заделкой целым кирпичом. При этом должна быть строго соблюдена перевязка рядов новой и старой кладки.

9.1.12. При заделке проемов шириной более 1,5 м и высотой более 2 м необходимо обеспечить сопряжение существующей кладки с новой.

9.1.13. При ремонте заделок консолей и кронштейнов пожарных лестниц и растяжек воздушной электросети в кирпичных стенах следует удалить растрескавшиеся кирпичи и заменить их новыми. Для этого следует:

вырубить поврежденную кладку под кронштейнами;

удалить отдельные кирпичи так, чтобы обеспечить перевязку старой кладки с вновь укладываемыми кирпичами и чтобы по глубине заделки под концом консоли оставалось не менее 120 мм старой кладки; при этом свободный конец подвешивается на временной растяжке, прикрепленной к строительной конструкции или заделанной в стену;

выложить новую кладку;

удалить временную растяжку после окончания твердения раствора.

9.1.14. При ремонте кладки стен строго соблюдать горизонтальность рядов, вертикальность поверхностей и обеспечивать надлежащую перевязку. Средняя толщина горизонтальных швов кирпичной кладки - 10 - 12 мм, а вертикальных - 8 - 10 мм. Толщина отдельных швов кладки должна быть не менее 8 мм и не более 15 мм.

Все горизонтальные и поперечные вертикальные швы на всю толщину кладки стен (за исключением пустошовки под штукатурку) должны быть заполнены раствором.

9.1.15. Перед перекладкой отдельных деформированных несущих элементов стен обязательно предварительное устройство прочных (по расчету), жестких и удобных креплений для обеспечения последующего производства работ по перекладке. Крепить стены при перекладке разрушенного простенка обязательно с двух сторон.

9.1.16. При перекладке участков стены разрушенную среднюю часть кладки извлечь из стены, а образовавшуюся при этом полость заложить новой кладкой. При достаточной прочности средней части кладки стены стык между ней и наружной (новой) кладкой предварительно промыть и по ходу кладки заполнить составом М-100 - жидким цементным или сложным (состав соответственно 1:4 или 1:1:6 желательно под давлением) с периодичностью заполнения через каждые три ряда кладки. Новую кладку стены (на участках перекладки) производить на указанных растворах, но более густых (с осадкой конуса 70 - 80 мм).

9.1.17. При перекладке стен, подверженных вибрации, для обеспечения большой связи с внутренней кладкой прокладывать через 5 - 6 рядов кладки поперечные анкерные стержни из проволоки диаметром 4 - 6 мм с шагом 20 - 25 см, связанные двумя продольными стержнями. Концы поперечных стержней во внутреннюю часть кладки заделываются не менее чем на 60 мм.

9.1.18. В качестве подъемных механизмов в случае «вывешивания» стен применять гидравлические домкраты суммарной грузоподъемностью не менее массы «вывешиваемого» участка стены.

9.1.19. Качество кладочных растворов должно подвергаться лабораторному контролю.

Прочность растворов контролируется не реже чем через 250 м3 уложенной кладки, а также при каждом изменении состава и марки раствора.

Паспортные данные и результаты контрольных испытаний записываются в журнал работ.

9.1.20. Приготовленные известковые, цементные, цементно-глиняные растворы должны обеспечивать:

заданную проектом прочность (марку) раствора;

точность дозировки в соответствии с заданным составом раствора в пределах ± 2 %;

заданную подвижность раствора (по стандартному конусу);

однородность по составу и цвету.

Для повышения пластичности и водоудерживающей способности раствора в его состав нужно вводить пластифицированные добавки по указанию лаборатории по испытанию и контролю качества строительных материалов и изделий.

9.1.21. Кладочные растворы, доставляемые на объекты с заводов или растворных узлов, должны иметь паспорта и накладные с указанием марки, состава раствора и времени (часы и минуты) изготовления его на заводе.

9.1.22. Кладочные растворы должны быть употреблены в дело до начала их схватывания.

Расслоившийся при перевозке раствор следует тщательно перемешать на месте работ. Не разрешается применять схватившиеся растворы и растворы с недостаточным количеством воды (обезвоженные).

Доставленный на объект раствор надлежит выгружать в бункера, имеющие устройства для механического перемешивания. Подача раствора на рабочие места в пределах ремонтной площадки может производиться растворонасосами.

9.1.23. Кирпич и другие стеновые материалы (кроме камней, содержащих гипс, и бутовых камней марок 200 и выше) перед укладкой, которая выполняется в сухую, жаркую и ветреную погоду и на цементных, сложных и с молотой негашеной известью растворах, должны увлажняться.

9.1.24. Предельная высота возведения заменяемых стен без укрепления перекрытиями или покрытиями не должна превышать значений, указанных в табл. 3. При необходимости возведения кладки свободностоящих стен на высоту, превышающую размеры, указанные в табл. 3, следует применять временные крепления, обеспечивающие устойчивость стен во время производства работ.

Таблица 3

Допустимая высота свободностоящих каменных стен во время кладки

Толщина стен, м

Допустимая свободная высота стен (м) при кладке с объемной массой, кг/м3

более 1600

от 1300 до 1600

Ветровая нагрузка, кгс/м2

40

70

40

70

0,25

2,25

1,3

1,8

1,0

0,38 - 0,4

4,0

3,6

3,6

3,0

0,5 - 0,52

6,5

4,0

5,5

3,6

0,6 - 0,64

10,5

6,0

8,5

5,0

9.1.25. При возведении стен в условиях, не предусмотренных табл. 3, высоту свободностоящей стены необходимо рассчитать с учетом обеспечения устойчивости во время производства работ.

9.1.26. Временные крепления разбираемых участков стен, простенков, перекрытий и т.д. рассчитываются на нормативные нагрузки. Они должны быть прочными, жесткими и не мешать производству работ.

9.1.27. Разбирать крепления и вводить новую кладку под нагрузку следует после того, как прочность кладки достигнет 70 % проектной, что контролируется испытаниями пробных образцов в лаборатории.

9.1.28. В процессе выполнения перекладки верхних участков стены следует оставлять отверстия, борозды и ниши, предусмотренные проектом, а также монтажные проемы.

Ослабление столбов и простенков гнездами, бороздами и нишами, устраиваемыми в местах, не предусмотренных проектом, не разрешается. В случае необходимости указанные ослабления могут быть разрешены проектной организацией при условии обоснования расчетом.

9.1.29. Кладка заменяемых отдельными участками стен должна выполняться, согласно проекту, по многорядной или однорядной (цепной) системе перевязки швов, а кирпичная кладка столбов и узких простенков шириной не более 1 м - по трехрядной системе перевязки.

При перекладке разрушенных участков стен из дырчатого или пустотелого кирпича толщиной более 65 мм тычковая перевязка должна осуществляться по высоте стены не реже чем через 0,4 м (считая от верха нижнего тычкового ряда до низа верхнего тычкового ряда). Кирпич в кладке должен применяться одной толщины. В необходимых случаях кладку и облицовку из кирпичей и камней разной толщины допускается производить при обязательном соблюдении поперечной перевязки, которая должна выполняться через четыре ряда кирпичей толщиной 65 мм при сочетании их с кирпичами толщиной 88 мм и через два ряда камней толщиной 138 - 140 мм при сочетании их с кирпичами толщиной 88 мм.

При примыкании внутренних стен из кирпича толщиной 88 мм к наружным стенам из кирпича и камней толщиной 65 и 138 мм перевязка производится через каждые три ряда кирпичей толщиной 88 мм.

9.1.30. Тычковые ряды в кладке должны выполняться из целых кирпичей и независимо от системы перевязки обязательно применяются:

в нижнем (первом) и верхнем (последнем) рядах выкладываемых конструкций;

на уровне обрезов стен и столбов;

в выступающих рядах кладки (карнизах, поясках и т.д.).

Кроме того, целые тычковые кирпичи должны укладываться под балками, прогонами, мауэрлатами и плитами.

9.1.31. Кирпичные столбы и простенки шириной в два с половиной кирпича и менее следует выкладывать из отборного целого кирпича.

9.1.32. Применение кирпича «половняка» и кирпичного боя допускается только в кладке забутки и малонагруженных каменных конструкций (заполнение каркасных стен, участков стен под окнами).

9.1.33. Раствор для кладки должен обладать по стандартному конусу следующей подвижностью:

для стен и столбов из кирпича - 90 - 130 мм;

для стен из кирпича (пустотелого) - 70 - 80 мм;

для клинчатых перемычек - 50 - 60 мм.

Примечание. В районах с жарким сухим климатом, а также при больших загрузках столбов и простенков вертикальные швы кладки следует заливать жидким раствором (покружение стандартного конуса на 140 - 150 мм).

9.1.34. Для перекрытия проемов в стенах, как правило, должны применяться сборные железобетонные перемычки, укладываемые по ходу кладки. При малых нагрузках для перекрытия проемов могут также применяться рядовые, армокирпичные, клинчатые, а в некоторых случаях и арочные перемычки.

Рядовые перемычки выкладываются на растворе марки, предусмотренной проектом, но не ниже марки 25 из отборного целого кирпича и заделываются в простенки на расстоянии не менее 25 см от откосов проема. Участки стен между перемычками при простенках шириной менее 1 м должны выкладываться на растворе той же марки, но не ниже марки 25. Под нижний ряд кирпичей в рядовых перемычках укладывается в слой раствора стальная арматура из расчета по одному стержню сечением 0,2 см2 на каждые 0,5 кирпича толщины стены, если по проекту не требуется более сильное армирование. Эти стержни должны иметь на концах крюки и заделываться ими в простенки не менее чем на 25 см.

9.1.35. Кладка заполнения стен в каркасных зданиях должна крепиться к колоннам каркаса стальными связями согласно указаниям проекта. Заполнение каркасных стен толщиной менее 25 см, кроме того, крепится и к ригелям каркаса.

9.2. Железобетонные, керамзитобетонные и армопенобетонные стеновые панели

9.2.1. Крупные трещины на наружной поверхности стеновых панелей шириной до 1 мм и глубиной более 10 мм, не ухудшающие сцепления фактурного слоя с основной массой панели (блока), следует прорезать, расширить и углубить, промыть водой, заполнить раствором того же состава, что и фактурный слой, затереть заподлицо и после высыхания нанести защитное покрытие того же состава и цвета, что и покрытие всей стены.

9.2.2. Мелкие трещины шириной до 0,2 мм на наружной поверхности стеновых панелей следует перетереть цементно-песчаным раствором на мелком песке и заделать с последующим нанесением защитного покрытия того же состава, что и покрытие всей стены.

9.2.3. Трещины шириной до 1 мм на поверхностях крупнопанельных (крупноблочных) стен внутри помещения следует расширить и заделать цементно-песчаным раствором составом 1:3 с последующей окраской всех панелей.

9.2.4. При наличии на поверхностях крупнопанельных (крупноблочных) стен внутри помещения волосяных трещин производится только вторичная окраска стен.

9.2.5. Трещины в местах примыкания внутренних поперечных стен к наружным стенам должны быть расширены и заделаны раствором.

9.2.6. При повреждениях (пробоинах) железобетонных панелей наружных стен с нарушением арматурной сетки следует арматуру восстановить, сварив предварительно очищенные концы, а повреждения (пробоины) забетонировать заподлицо с наружными поверхностями панелей.

9.2.7. Участки фактурного слоя стеновых блоков или панелей, имеющие недостаточное сцепление с основным материалом стены, следует отбить, а затем восстановить фактурный слой раствором того же состава, предварительно выполнив насечку и смачивание поверхности. Восстановление поверхностного слоя может быть осуществлено торкретированием слоями по сетке.

9.2.8. Разрушенные места в стенах из легкого или ячеистого бетона необходимо расчистить и заполнить тем же материалом, что и материал стен, а затем восстановить отделку стены.

9.2.9. При местном разрушении защитного слоя бетона стеновой панели края окола следует выровнять зубилом или стамеской, поврежденный участок заделать раствором или одним из способов, рекомендуемых при ремонтах железобетонных конструкций (см. разд. 3 - 5).

9.2.10. Ремонт стыков наружных стеновых панелей необходимо осуществлять с применением современных герметизирующих материалов (мастики, упругих прокладок, самоклеящихся воздухозащитных лент) [19].

Отремонтированные стыки наружных стеновых панелей должны отвечать требованиям по:

водонепроницаемости при любых атмосферных условиях;

воздухонепроницаемости;

теплозащите;

стойкости к действию агрессивных факторов.

9.2.11. Выбор герметизирующих материалов и способов герметизации стыков при ремонте следует осуществлять в зависимости от условий эксплуатации панельных стен, учитывая температурные, влажностные и динамические воздействия на них, а также возможную температуру наружного воздуха, при которой будут производиться ремонтные работы.

9.2.12. Качество и надежность герметизации стыков зависит от подготовки бетонных поверхностей кромок стыков перед применением герметизирующего материала в процессе ремонта.

Подготовительные работы должны начинаться с тщательной расчистки стыков, удаления старого рыхлого раствора или отслоившейся мастики на глубину до сохранившейся уплотняющей прокладки (просмоленная пакля, пеньковый канат и т.п.). Раскрытие и ремонт деформированных горизонтальных и вертикальных стыков в наружных стеновых панелях следует выполнять сразу по всей длине стыка одной панели.

9.2.13. Для тщательной очистки поверхности ремонтируемого стыка целесообразно применять пневмодрели с насадкой-щеткой со стальным ворсом. Если очистка щеткой недостаточно эффективна, используют абразивные инструменты, а также пескоструйные аппараты.

Для удаления жира и грязи со стыкуемых поверхностей целесообразно использовать летучие растворители (толуол, ксилол, ацетон и др.).

9.2.14. Ремонт или восстановление разрушенной герметизации стыков панелей необходимо производить в сухую погоду, по сухим поверхностям стыков панелей. Проведение герметизации стыков во время дождя, снегопада, а также при мокрых кромках панелей не допускается.

9.2.15. Перед герметизацией стыков кромки панелей должны быть очищены от пыли и загрязнений, в зимнее время от снега, инея и наледи. Кромки торцов панелей в местах герметизации следует грунтовать мастикой, вид которой принимается по проекту.

9.2.16. Для обеспечения адгезионных свойств герметизирующих мастик поверхность стыков непосредственно перед герметизацией необходимо прогреть и просушить. Просушку и прогрев бетонных кромок панелей можно производить горячим сжатым воздухом от электрокалорифера, с помощью специальных обогревающих кожухов, газовыми беспламенными или инжекционными горелками. Продолжительность прогрева стыкуемых поверхностей - 5 - 10 мин.

9.2.17. Стыки, заделанные цементным раствором и получившие повреждения в процессе эксплуатации, после соответствующей их очистки и подготовки следует тщательно грунтовать через наружный зазор клеящей мастикой, затем необходимо вставить упругую синтетическую прокладку (пороизол, гернит) покрытую мастикой или клеем ХН-2, после чего стык заделывается одной из герметизирующих мастик или современными самоклеящимися воздухозащитными лентами типа ГЕРЛЕН с заведением ленты на кромки панели по 20 мм с каждой стороны стыка. Мастика окрашивается краской ПХВ под цвет фасада.

В горизонтальные швы упругие прокладки при ремонте желательно вводить и с внутренней стороны с последующей заделкой цементным раствором. Обжатие упругих прокладок, как в горизонтальных, так и в вертикальных стыках должно составлять 30 - 50 % по толщине.

9.2.18. При наличии в ремонтируемых стыках просмоленной пакли, пенькового каната, а также упругих прокладок последние дополнительно уплотняются, затем снаружи стык покрывается герметизирующей мастикой и защитной краской или лентой с соблюдением указанных выше требований. Утеплять ремонтируемые стыки гибкими стекловатными и минераловатными материалами следует лишь при расчетной температуре минус 40 °С и ниже.

Наружному слою герметизирующей мастики в горизонтальных и вертикальных стыках целесообразно придавать вогнутую форму, позволяющую реагировать на перепады температур среды в процессе эксплуатации.

9.2.19. При установке упругих прокладок (гернит, пороизол и другие) необходимо плотно закатать их в стык с таким расчетом, чтобы они находились в сжатом состоянии. Прокладки, заделываемые в вертикальные стыки, подвешиваются в свободном состоянии перед швом и со всех сторон покрываются мастикой или клеем и закатываются в загрунтованные пазы в направлении снизу вверх. Закатывание прокладок необходимо осуществлять роликовым инструментом, отдельными участками, ведя ролик попеременно в разных направлениях для предупреждения вытягивания прокладок. Прокладки устанавливают без разрывов, обрезая концы их «на ус» и склеивая мастикой в местах соединения. Особое внимание следует уделять герметизации мест пересечения горизонтальных и вертикальных стыков и обеспечивать надежное приклеивание прокладок, подрезанных на половину их толщины в местах пересечения.

При ремонте стыков с использованием самоклеящейся ленты наклеивание последней на горизонтальные стыки производить при подъеме люльки, на вертикальные стыки - при ее опускании. Места пересечения лент и места наращивания длины ленты покрыть праймером.

9.2.20. Герметизирующие материалы, применяемые при ремонте стыков панельных стеновых ограждающих конструкций зданий и сооружений ТЭС, должны удовлетворять следующим требованиям:

иметь низкое водопоглощение и быть влаговоздухонепроницаемыми;

сохранять в течение всего периода эксплуатации эластичные и пластические свойства независимо от внешних температурных колебаний;

обладать необходимыми теплоизоляционными свойствами;

быть стойкими к агрессивным воздействиям.

Предъявляемые к материалам требования определяются в зависимости от назначения здания или сооружения, а также от климатических, атмосферных и агрессивных воздействий. При ремонте стыков панельных стеновых ограждающих конструкций ТЭС могут быть рекомендованы ниже приведенные герметизирующие материалы, освоенные и нашедшие применение в отечественном строительстве:

Мастика МПС (ГОСТ 14791-79) - герметизирующая мастика (полиизобутиленстирольная) представляет собой вязкую густую однородную массу, которая сохраняет пластическое состояние в течение всего срока эксплуатации зданий и сооружений. Цвет мастики зависит от окраски содержащегося в ней наполнителя.

К основным компонентам мастики МПС следует отнести: смесь каучуков, полиизобутилен, стирол, умягчитель, наполнитель, растворитель.

Герметизацию стыков мастикой МПС следует выполнять с помощью пневмошприцев.

Работы по герметизации стыков панелей мастикой МПС должны выполняться только в сухую погоду при температуре воздуха не ниже минус 20 °С. Герметизацию стыков во время дождя и снегопада производить запрещается.

При производстве работ по герметизации стыков стеновых панелей в летних условиях (при температуре выше 5 °С) мастика МПС применяется без подогрева, а в зимних условиях (при температуре от плюс 5 °С до минус 20 °С) следует применять мастику, подогретую до температуры плюс 20 - 50 °С.

Мастика выдавливается из пневмошприца сжатым воздухом и наносится в стыки между панелями непрерывным равномерным валиком. Глубина заполнения стыков должна быть не менее 20 мм.

Валик мастики с помощью расшивки или шпателя плотно прижимается к боковым кромкам панелей. Деревянные расшивки периодически смачиваются водой или техническим маслом. Снаружи мастику МПС необходимо покрыть перхлорвиниловой краской под цвет стены.

Температура эксплуатации от минус 30 °С до плюс 70 °С.

Мастика УМС-50 (ГОСТ 14791-79) - полиизобутиленовая мастика представляет собой высоковязкую густую гидрофобную массу.

Основные компоненты: полиизобутилен; наполнитель - мраморная пыль, известняки; пластификатор - нейтральное масло. Герметизацию стыков мастиками УМС-50 производят пневмошприцами со сменными гильзами. Мастика наносится в подогретом состоянии (70 - 90 °С) слоем толщиной не менее 20 мм и не более 30 мм. Допустимые температуры эксплуатации от минус 50 °С до плюс 50 °С, применяется мастика при герметизации вертикальных и горизонтальных стыков шириной более 10 мм.

Мастика У-30М (ГОСТ 13489-79) - тиоколовая мастика является двухкомпонентным самовулканизирующимся герметиком, изготовляемым на основе полисульфидного каучука. Основными компонентами мастики являются: паста У-30, представляющая собой вязкую массу черного цвета из тиокола и паста № 9 (на основе двуокиси марганца), применяемая для вулканизации. В качестве разжижителя применяют этилацетат, для ускорения процесса вулканизации в мастику добавляют дифинилгуанидин (ДФГ).

При приготовлении мастики У-30М пасту У-30 перемешивают с 1/2 порции разжижителя. Затем производят разжижение пасты № 9 путем перемешивания ее с другой половиной разжижителя, одновременно добавляя дозу ДФГ.

Тиоколовая мастика наносится на упругую подоснову из прокладок типа гернит (пороизол). Применять подоснову из цементного раствора нежелательно ввиду возможности образования сквозных трещин в мастике при растрескивании раствора.

Герметизация вертикальных и горизонтальных стыков мастикой У-30М производится при зазорах между панелями менее 10 мм. Для нанесения тиоколовых мастик пользуются пневматическим шприцем. Одновременно с нанесением тщательно разглаживают поверхность мастики насадкой с капроновым ворсом толщиной нитей 0,3 - 0,6 мм.

Температура эксплуатации тиоколовых мастик от минус 40 °С до плюс 70 °С.

Мастика ЛТ-1 (ТУ 38.403484-84) - синтетическая мастика применяется для герметизации стыков панелей, обладает хорошими адгезионными свойствами, может эксплуатироваться при температурах от минус 60 °С до плюс 60 °С, наносится в стыки шприцем или шпателем.

Мастика ИЗОЛ - холодная мастика применяется для приклейки и обмазки пороизола и представляет собой пластично-вязкую массу черного цвета. Обладает высокими адгезионными свойствами.

Основные компоненты ИЗОЛА: крошка старой резины, битум, кумароновая смола, канифоль; наполнитель - асбест 7-го сорта, антисептик, бензин. Нанесение мастики ИЗОЛ осуществляется распылением при обмазке или шприцеванием при герметизации.

Допустимая температура эксплуатации от минус 40 °С до плюс 70 °С.

Вспененная синтетическая смола пенополиуретан «РИПОР-6ТНД» - применяется для герметизации и утепления стыков панелей, оконных блоков и других конструкций, наносится напылением. Производство работ по ремонту допускается при температуре выше 5 °С. Температура эксплуатации от минус 50 °С до плюс 50 °С.

Упругая профильная прокладка ПОРОИЗОЛ - эластичный пористый материал черного цвета, изготовляется в виде полос сечением 30´40 мм и 40´40 мм для герметизации горизонтальных стыков или жгутов диаметром 10, 15, 20, 30, 40, 50 и 60 мм для герметизации вертикальных стыков. Приклейка ПОРОИЗОЛА к бетонным поверхностям осуществляется холодной мастикой ИЗОЛ.

Основные компоненты ПОРОИЗОЛА: крошка старой резины, нефтяные дистилляты, вулканизирующие материалы, креозотовое масло, сера, каптакс, тиурам.

ПОРОИЗОЛ применяется как уплотняющий и герметизирующий материал совместно с мастикой изол. Стык промазывается мастикой слоем 2 - 3 мм. Жгут закатывается специальным роликом. Допустимая температура эксплуатации от минус 50 °С до плюс 90 °С.

Упругая профильная прокладка ГЕРНИТ - эластичный пористый материал коричневого цвета со сплошной водонепроницаемой пленкой на поверхности. ГЕРНИТ выпускают в виде круглых прокладок длиной от 2,5 до 3,2 м и диаметром 30, 35 и 40 мм. Приклеивание ГЕРНИТА к бетонным поверхностям осуществляется специальным клеем или тиоколовой мастикой.

Основные компоненты ГЕРНИТА: полихлоропреновый каучук, пластификатор, наполнитель, вулканизирующие материалы.

ГЕРНИТ применяется как уплотняющий и герметизирующий материал совместно со специальным клеем. Стык промазывается мастикой слоем 2 - 3 мм. Жгут закатывается специальным роликом. Допустимая температура эксплуатации от минус 40 °С до плюс 70 °С.

9.2.21. В качестве гидроизоляционных материалов отечественного производства для герметизации стыков панелей применяются новые герметики:

УНИГЭКС (ТУ 5774-013-17187505-95) - эластичный герметик, поставляемый в виде двух компонентов. Смешивание компонентов осуществляется непосредственно на строительной площадке механическим путем или вручную. Рабочий состав имеет жизнеспособность не менее трех часов. После отверждения УНИГЭКС представляет собой монолитный резиноподобный высокоэластичный материал, сохраняет свои свойства при температуре от минус 50 °С до плюс 100 °С.

Предельная допустимая относительная деформация стыков, воспринимаемая материалом, до 25 %.

СУПЕРМАСТ (ТУ 5770-021-17187505-95), АКВАМАСТ (ТУ 5772-016-17187505-95), ЭЛАМАСТ (ТУ 5772-012-17187505-95) - однокомпонентные эластичные герметизирующие мастики, выпускаемые в виде обернутого в полиэтиленовую пленку жгута с круглыми, овальными или прямоугольными поперечными сечениями, линейными размерами от 30 до 50 мм и длиной не менее 500 мм или в виде брикета не более 45 кг. Температура эксплуатации мастик от плюс 40 °С до минус 70 °С.

Герметизирующая самоклеющаяся лента «ГЕРЛЕН» - рулонный однородный эластопластический материал, дублированный с одной стороны нетканым синтетическим материалом. Изготавливается методом экструзии из смолы синтетического каучука, мягчителя и наполнителей, применяется для воздухоизоляции стыков наружных стен. Лента «ГЕРЛЕН» работоспособна в интервале от минус 50 °С до плюс 60 °С.

При применении ленты герметизирующая поверхность должна быть сухой и очищенной от грязи, старой заделки. Перед наклеиванием ленты на поверхность стыка кистью наносится мастика или клей. Лента наклеивается через 15 - 30 мин после нанесения грунтовки, затем прокатывается валиком. Работы по герметизации стыков должны выполняться при температуре не ниже минус 10 °С.

10. РЕМОНТ КРОВЕЛЬ

10.1. Общие указания

10.1.1. К кровельным работам и ремонту кровель разрешается приступать при наличии технической документации после завершения ремонта несущих конструкций крыши и основания под кровлю, после предварительной проверки правильности выполнения основания под кровлю и приемки его по акту на скрытые работы, а также при обеспечении работ всеми необходимыми материалами и приспособлениями.

10.1.2. Ремонт кровель должен производиться в возможно короткие сроки. Длительные перерывы в работах не допускаются.

К концу рабочей смены ремонтируемый участок должен быть покрыт новыми материалами. При этом должны быть приняты меры, исключающие возможность попадания атмосферных осадков в нижележащие слои покрытия и помещения.

Основные работы по ремонту кровель следует производить в летнее время. В зимнее время может производиться срочный ремонт, вызванный протеканием кровель.

В случае неблагоприятных метеорологических условий устранение дефектов, вызывающих протекание кровель, должно производиться под тентами.

10.1.3. Кровельные работы во время гололедицы, густого тумана, ветра силой шесть баллов и больше, ливневого дождя и сильного снегопада, при обледенении кровли или покрытия ее инеем производить запрещается.

10.1.4. При частичной или полной замене кровельных покрытий следует ремонтировать как несущие конструкции крыши, так и основание под кровлю.

10.1.5. После окончания работ по ремонту кровель остатки строительных материалов и мусор следует удалить и тщательно очистить кровлю.

10.1.6. При выполнении ремонтных работ строительные материалы и инструменты на кровлях должны быть уложены на деревянных щитах-настилах, подбитых снизу войлоком.

10.1.7. До ремонта кровли необходимо привести в технически исправное состояние несущие конструкции покрытия, устройства и оборудование, расположенное на кровле, карнизы, парапеты, температурно-усадочные швы, шахты, светоаэрационные фонари, водоотводящие элементы кровли.

При ремонте кровли особое внимание должно быть уделено исправлению мест сопряжения ее с конструкциями и оборудованием, выступающим над кровлей.

10.1.8. Парапетные стены, столбики, башни и другие детали, значительно осложняющие эксплуатацию кровли, если они не вызваны конструктивной или архитектурной необходимостью, рекомендуется по согласованию с проектной организацией и районным или городским архитектором ликвидировать при капитальном ремонте или реконструкции крыши.

10.1.9. Для предохранения готовых участков кровли от повреждения следует вести устройство кровли (паро-, тепло- и гидроизоляционных слоев) фронтом «на себя» и подавать материалы по незавершенным участкам кровли.

10.1.10. Производство работ и все применяемые при ремонте и замене кровельные материалы должны отвечать требованиям [20], [21], а также соответствующим ГОСТ, ТУ.

10.1.11. При выборе материалов для устройства и ремонта кровель следует руководствоваться примерным перечнем, приведенным в приложении 8.

10.2. Рулонные кровли

10.2.1. Основные дефекты, встречающиеся при освидетельствовании кровель, причины, вызывающие появление дефектов, и рекомендуемые мероприятия по их устранению приведены в приложении 9.

10.2.2. При заплаточном ремонте поврежденных участков покрытий из рулонных материалов соблюдать следующие правила:

для ремонта желательно применять тот же материал, из которого выполнено покрытие;

основание на ремонтируемом участке очищать от мастики, грязи, мусора и при необходимости исправлять;

каждый слой наклеиваемой заплаты должен перекрывать нижерасположенные слои не менее чем на 10 см;

при наклейке заплат из рулонных материалов края последних промазать битумной мастикой на ширину 10 см;

при ремонте значительных участков рулонного покрытия новое покрытие совмещать со старым перемежающейся наклейкой старых и новых полотнищ, с напуском одного полотнища на другое на 10 см.

10.2.3. Небольшие впадины и углубления водоизоляционного ковра (глубиной до 10 мм) следует выровнять путем намазки слоя кровельных мастик, после чего наклеить на мастике два слоя рулонного материала, при этом верхний слой завести на 100 - 150 мм за границы просадки.

10.2.4. Выравнивание просадки водоизоляционного ковра глубиной свыше 10 мм следует выполнять путем заполнения выемки до верхнего обреза поверхности кровли полимерцементным раствором или асфальтом с тщательной затиркой поверхности и последующей наклейкой двух слоев рулонного материала.

10.2.5. Работы по капитальному ремонту кровель из рулонных материалов необходимо производить после полного окончания ремонта или замены нижележащих элементов кровли (несущего основания, паро- и теплоизоляционных слоев, выравнивающей стяжки), а также обустройства отдельных деталей кровли (водосточных воронок, компенсаторов деформационных швов, патрубков для пропуска инженерного оборудования, ендов, карнизных свесов и т.п.).

10.2.6. Целесообразность сохранения или замены слоев покрытия устанавливается при детальном обследовании ограждающей части покрытия (при необходимости с отбором проб слоев для определения их состояния, в том числе влажности).

10.2.7. Основанием под кровлю могут служить:

ровные поверхности железобетонных несущих плит либо теплоизоляции без устройства по ним выравнивающих стяжек;

выравнивающая стяжка из цементно-песчаного раствора или асфальтобетона по засыпному, монолитному или плитному теплоизоляционному слою. Стяжки из песчаного асфальтобетона не допускаются по сжимаемым (минераловатным) и засыпным (из керамзитового гравия и т.п.) теплоизоляционным материалам.

10.2.8. Поверхность основания под рулонную кровлю должна отвечать следующим требованиям:

поверхность основания под кровлю не должна иметь впадин, бугров и наплывов, мешающих повсеместному плотному склеиванию полотнищ рулонных материалов с основанием и между собой;

ровность поверхности основания под кровлю из цементно-песчаного раствора или асфальтобетона должна определяться контрольной рейкой длиной 3 м, при этом под рейкой должно быть не более двух плавно нарастающих просветов глубиной до 5 мм.

При плитном теплоизоляционном основании под кровлю перепады по высоте у рядом расположенных плит не должны превышать 3 мм. При большей разнице перепадов следует производить срезку выступов или подкладывать клинообразные пластины из аналогичного плитного утеплителя, либо выравнивать перепады цементным раствором, бетоном;

все поверхности оснований из железобетона, бетона, асбестоцемента, цементно-песчаного раствора должны быть огрунтованы составом из битума V марки и керосина (праймером), приготовленным соответственно (по массе) 1:3. Расход грунтовки составляет 0,3 - 0,5 кг/м2;

перед устройством гидроизоляционного слоя основание должно быть сухим, обеспыленным;

толщина выравнивающих стяжек из цементно-песчаного раствора должна быть в среднем 25 - 30 мм по засыпной теплоизоляции (при прочности на сжатие цементно-песчаного раствора не менее 10 МПа); 20 - 25 мм - по теплоизоляционным плитам или теплоизоляции монолитной укладки; 10 - 15 мм - по железобетонным плитам (при прочности на сжатие цементно-песчаного раствора не менее 5 МПа.). Толщина выравнивающей стяжки из песчаного асфальтобетона должна быть в среднем 20 - 25 мм при прочности на сжатие асфальтобетона 0,8 МПа. Для цементно-песчаной стяжки следует применять раствор марки не ниже 50;

в выравнивающих стяжках должны выполняться температурно-усадочные швы шириной 5 - 10 мм, разделяющие стяжку из цементно-песчаного раствора на участки не более 6´6 м, а из песчаного асфальтобетона - не более 4´4 м (в покрытиях с несущими плитами длиной 6 м участки из асфальтобетона должны быть размером 3´3 м). Швы должны располагаться над торцевыми швами несущих плит и над температурно-усадочными швами в монолитной теплоизоляции. По ним укладываются полоски шириной 150 - 200 мм из рулонного материала, применяемого для устройства кровли; приклеиваются они точечно с одной стороны швов. В тех случаях, когда основанием для устройства кровель служат ровные поверхности сборных плит, полоски из рулонных материалов укладываются по всем швам между плитами;

при устройстве выравнивающей стяжки из цементно-песчаного раствора укладку последнего производить полосами шириной не более 3 м ограниченными рейками, которые служат маяками. Разравнивают цементно-песчаную смесь правилом из металлического уголка, передвигаемым по рейкам;

после или в процессе высыхания (через 8 - 10 сут после укладки) стяжки ее необходимо огрунтовать; грунтовка наносится с помощью окрасочного распылителя либо кистями (при малых объемах работ);

при устройстве выравнивающей стяжки из литого асфальта укладку следует производить полосами шириной до 2 м (ограниченными двумя рейками или одной рейкой и полосой ранее уложенного асфальта) и уплотнять валиком или катком массой до 80 кг.

10.2.9. При ремонте рулонного пароизоляционного слоя необходимо вырезать поврежденный участок пароизоляционного слоя и отремонтировать и огрунтовать поверхность несущего основания покрытия.

Вновь укладываемый слой пароизоляции должен быть сплошным, без разрывов, из материала, аналогичного рулонному ковру.

В швах смежных полотнищ рулонной пароизоляции перехлест должен быть не менее 50 мм.

На примыканиях к вертикальным поверхностям пароизоляционный слой должен быть заведен на высоту не менее 100 мм.

Поврежденный участок обмазочной пароизоляции очистить от старого мастичного слоя, поверхность несущего основания огрунтовать и через сутки обмазать горячей мастикой два раза.

10.2.10. При устройстве и ремонте теплоизоляционного слоя необходимо соблюдать следующие требования:

насыпные теплоизоляционные материалы (керамзит, пемза, щебень и т.д.) использовать только при невозможности получения плитных материалов;

теплоизоляционные сыпучие материалы перед укладкой должны быть рассортированы по фракциям. Теплоизоляцию необходимо устраивать по маячным рейкам полосами шириной 3 - 4 м с укладкой сыпучего утеплителя более мелких фракций в нижнем слое. Слои должны укладываться толщиной не более 60 мм и уплотняться после укладки;

плитные теплоизоляционные материалы укладывать на мастику, следя за плотным прилеганием к пароизоляционному слою. Стыки плит заполнить крошкой материала, из которого выполнен утеплитель, или материала, аналогичного по своим теплотехническим характеристикам. Ширина швов между плитами не должна превышать 5 мм. При укладке в несколько слоев швы выше- и нижележащих плит утеплителя не должны совпадать;

все теплоизоляционные материалы должны иметь допустимую степень влажности;

при невозможности замены увлажненного теплоизоляционного слоя (сыпучий, плитный) к ремонту рулонной кровли необходимо приступить только после его просушки.

При естественном способе просушки необходимо принять меры на случай внезапного дождя. С этой целью необходимо заблаговременно заготовить материалы (брезент, полиэтиленовую пленку, рулонные материалы) для закрытия обнаженных участков теплоизоляции;

при последующем устройстве выравнивающей стяжки по плитному утеплителю с целью предохранения от затекания в него влаги из цементного раствора необходимо под стяжку уложить слой рулонного материала, склеивая его в местах нахлестки горячей мастикой;

для повышения сохранности теплоизоляции теплоизоляционные работы выполнять методом «на себя».

10.2.11. Перед устройством гидроизоляционного ковра в местах примыкания к выступающим конструктивным элементам (стенам, парапетам, деформационным швам, шахтам и т.д.) должны быть выполнены наклонные бортики из цементно-песчаного раствора, песчаного асфальтобетона или легкого бетона под углом 45° и высотой не менее 100 мм.

В тех случаях, когда основанием под кровлю служат теплоизоляционные плиты, наклонные бортики следует выполнять из этих же плит и склеивать их с верхней поверхностью теплоизоляционного слоя.

10.2.12. Стены и парапеты, выполненные из кирпича или блоков, должны быть оштукатурены цементно-песчаным раствором марки 50.

10.2.13. Для ремонта и устройства гидроизоляционного слоя кровли следует применять следующие рулонные материалы:

нашедшие в последнее время широкое применение наплавляемые битумно-полимерные материалы на стекле или полиэфирной основе (стекломаст, изопласт, филизол, рубитекс, днепрофлекс и другие - см. приложение 8);

эластомерные материалы (изолен, элон-1, кровлен и другие - см. приложение 8);

традиционные кровельные материалы на битумной или дегтевой мастике, основой которых является картон (рубероид, пергамин, толь), стекловолокно (стеклорубероид).

10.2.14. При устройстве гидроизоляционного ковра с применением рулонных наплавляемых битумно-полимерных материалов должны соблюдаться требования:

10.2.14.1. При уклоне кровли более 1,5 % кровельный ковер выполнять из двух слоев рулонного материала, причем для верхнего слоя применять материал с крупнозернистой посыпкой и более высокими показателями гибкости.

При уклоне кровли менее 1,5 % кровельный ковер выполнять из трех слоев рулонного материала.

10.2.14.2. При устройстве кровельного ковра по «старой» рулонной кровле (состояние которой определяется в процессе обследования) «новую» кровлю из наплавляемого рулонного материала выполнять в один слой.

10.2.14.3. Допускается комбинированное сочетание в кровельном ковре наплавляемых рулонных материалов (например, стекломаста с филизолом, днепрофлексом, изопластом и т.д.).

10.2.14.4. Устройство кровельного ковра начинать с пониженных участков: карнизных свесов, участков расположения водосточных воронок (ендов).

10.2.14.5. Направление наклейки рулонов основного водоизоляционного ковра определять в зависимости от уклона кровли: при уклонах до 15 % рулоны раскатывать параллельно скату, а более 15 % - перпендикулярно.

Перекрестная наклейка полотнищ не допустима.

10.2.14.6. При раскатке рулонов параллельно скату работу начинать у ендовы. При наклейке рулонов перпендикулярно скату работу начинать с края захватки. Направление раскатки контролировать по меловой линии, отбитой по наружному краю рулона.

10.2.14.7. Наклейку рулонного наплавляемого материала производить по подготовленному основанию путем оплавления покровного слоя с нижней стороны методом сваривания внахлест свободно лежащего материала. Оплавление производить газовыми или другими горелками со строгим соблюдением требований правил пожарной безопасности при работе с огнем.

10.2.14.8. Наклейку наплавляемого рулонного материала следует выполнять в такой последовательности:

перед началом укладки материала приклеить его конец, который отгибается на 50 см, удерживая рулон в строгом направлении раскатки, расплавить отогнутый конец и тщательно прижать его к основанию. При этом сразу же кромки приклеенного куска прошпаклевать выступающей из-под подплавленной стороны рулона мастикой. При наклейке изоляционных слоев следует предусматривать нахлестку смежных полотнищ на 80 - 100 мм;

приклейку основного полотнища рулонной кровли производить путем разогревания покровного (приклеивающего) слоя наплавляемого рулонного материала с одновременным подогревом основания или поверхности ранее наклеенного изоляционного слоя, не допуская возгорания и стекания расплавленной мастики;

прижатие полотнища рулонного материала производить с помощью цилиндрического ручного катка массой до 80 кг с мягкой обкладкой или вручную с помощью гребка с резиновой вставкой. При этом не следует допускать складок, бугров, воздушных пузырей и отслоений в приклеиваемом полотнище.

В настоящее время фирмой «Инфралуч» разработана и внедрена на предприятиях России кровельная машина «Луч-5У-1», предназначенная для наплавления инфракраснолучевым способом основного кровельного ковра из современных битумных и полимербитумных материалов при устройстве и ремонте мягкой кровли. Технология устройства кровли основана на глубинном разогреве полимербетонных материалов рулонных полотнищ гидроизоляционного ковра под воздействием электромагнитных волн инфракрасного диапазона с одновременным раскатыванием и прижатием полотна. Разработанная технология наклейки снижает пожароопасность кровельных работ.

Техническая характеристика кровельной машины «Луч-5У-1»:

Потребляемая мощность - 25 кВт.

Производительность - 2 - 2,5 м2/мин.

Расход электроэнергии на 1 м2 - 0,2 кВт · ч.

Напряжение в цепи управления - 36 В.

Масса машины - 27 кг.

Масса электропульта - 12 кг;

выполнить шпаклевку кромок рулонного ковра выступающей из-под рулона подплавленной мастикой, для чего необходимо край полотна в местах нахлеста отогнуть, прогреть пламенем горелки склеиваемые поверхности и загладить край верхнего полотна с помощью шпателя или прокаткой катком, убедившись в отсутствии отслоений в местах нахлеста.

10.2.14.9. У мест примыканий к стенам, парапетам и т.п. кровельные рулонные материалы наклеить полотнищами длиной 2,0 - 2,5 м. Наклейку полотнищ из наплавляемых рулонных материалов на вертикальные поверхности производить снизу вверх с помощью ручной горелки.

10.2.14.10. В местах примыкания кровли к парапетам высотой до 450 мм слои дополнительного ковра завести на верхнюю грань парапета, затем примыкание обделать оцинкованной кровельной сталью, которую закрепить с помощью костылей. При пониженном расположении парапетных стеновых панелей (при высоте парапета не более 200 мм) переходный наклонный бортик устроить из бетона до верха панелей.

При устройстве кровли с повышенным расположением верхней части парапетных панелей (более 450 мм) защитный фартук с кровельным ковром закрепить пристрелкой дюбелями, а отделку верхней части парапета выполнить из кровельной стали, закрепляемой костылями, или из парапетных плиток, швы между которыми загерметизировать.

10.2.14.11. Конек кровли при уклоне 3 % и более усилить на ширину 150 - 250 мм с каждой стороны, а ендову - на ширину 500 - 750 мм (от линии перегиба) одним слоем рулонного материала, приклеенного к основанию под кровельный ковер по продольным кромкам.

10.2.14.12. Места пропуска через кровлю труб выполнить с применением стальных патрубков с фланцами и герметизацией кровли в этих местах.

10.2.14.13. В местах пропуска через покрытие воронки внутреннего водостока слои кровельного ковра должны заходить на водоприемную чашу, которая крепится к плитам покрытия хомутом с уплотнителем из резины.

10.2.15. Рулонные эластомерные кровельные материалы (см. приложение 8) отличаются от традиционных битумных рулонных материалов повышенной пожаробезопасностью, позволяют использовать их при устройстве кровель без защитной гравийной посыпки, тем самым достигается снижение статической нагрузки на нижележащие строительные конструкции. Полимерные рулонные материалы обладают высокой атмосферной и химической стойкостью, относятся к группе трудносгораемых материалов.

Наклейку эластомерных кровельных материалов следует производить на холодной мастике в соответствии с требованиями инструкций и рекомендаций по устройству кровель, разработанных для каждого вида материалов.

10.2.16. При устройстве гидроизоляционного ковра с применением рулонных материалов на битумной или дегтевой мастике должны соблюдаться следующие требования:

10.2.16.1. Кровельные материалы укладывать после их предварительной подготовки, проводимой, как правило, централизованно в мастерских.

10.2.16.2. Рулонные кровельные материалы при наклейке на горячих мастиках (рубероид с тальковой посыпкой и т.п.) перед использованием очищать от посыпки и перекатывать на другую сторону (для выпрямления).

При использовании холодных мастик рубероид также следует очистить от тальковой посыпки.

Слюдяную посыпку рубероида и песчаную посыпку толя удалять фибровыми щетками. Мелкую тальковую посыпку рубероида локализовать (поглотить) обработкой поверхности разжижителями (зеленым нефтяным маслом, лакойлем, керосином и пр.).

10.2.16.3. Локализацию тальковой посыпки на поверхности рубероида производить заблаговременно, чтобы к моменту наклейки рубероида поверхность его успела высохнуть. Локализация обеспечивает прочную склейку слоев кровельного ковра между собой и с основанием, а также повышает эластичность рубероида в зимнее время.

10.2.16.4. Рулонные материалы всех видов до очистки их от посыпки выдерживать не менее 20 ч в раскатанном виде. Двусторонний рубероид и беспокровные рулонные материалы также должны быть перекатаны на другую сторону.

10.2.16.5. Наклейку рулонных материалов и склеивание их друг с другом производить:

битумной (рубероидной) мастикой для рубероида и пергамина;

дегтевой (толевой) мастикой для толя и толя-кожи.

10.2.16.6. Комбинированное применение рубероидных и толевых рулонных материалов, а также наклейка рубероидных рулонных материалов толевыми мастиками или толевых рулонных материалов рубероидными мастиками не допускается.

Для склеивания слоев рубероидных материалов с двусторонним покровным слоем и наклейки их на основание применять битумные горячие и холодные мастики, а для беспокровных и одностороннего рубероида - только горячие мастики.

10.2.16.7. При устройстве и ремонте кровель из толевых рулонных материалов применять грунтовки из дегтевых материалов, а при устройстве и ремонте кровель из битумных рулонных материалов применять грунтовки соответственно из битумных материалов. Грунтовки наносить слоем равномерной толщины.

Кровельный ковер приклеивать после высыхания грунтовки - до прекращения отлипа не более чем через 10 ч, при нанесении грунтовки на свежеуложенные высушенные цементные стяжки - не менее через 12 ч, на затвердевшие цементные стяжки - не более чем через 10 ч.

10.2.16.8. Мастики должны удовлетворять требованиям [20].

10.2.16.9. Для подачи горячих мастик на крыши применять трубопроводы с насосами шестереночного типа или растворонасосы. Доставлять мастику к рабочим местам следует в закрытой металлической таре или термосах.

10.2.16.10. Для обеспечения водозащищенности кровель рулонные кровельные материалы при наклейке раскатывать и наклеивать в одном направлении: при уклонах кровель до 15 % - параллельно конькам и ендовам, свыше 15 % - вдоль ската (по направлению ската воды).

Перекрестная наклейка полотнищ рулонных материалов не допускается. При уклонах кровель свыше 15 % и наличии конька полотнища перепускать на соседний скат на 250 мм.

Все слои при наклейке тщательно приглаживать и прикатывать ручным катком массой до 80 кг.

10.2.16.11. Кровля из рулонных материалов на уклонах до 10 % должна иметь трех- или четырехслойный водоизоляционный ковер и поверхностный защитный слой из мелкого гравия, втопленного в кровельную мастику.

Скатные кровли с уклоном 10 % и более должны быть трехслойными, при этом рулонный материал верхнего слоя должен иметь крупнозернистую (бронирующую) посыпку, втапливаемую в кровельную мастику. Посыпка состоит из чистого крупнозернистого песка с мелкой галькой-ракушкой (или из смеси этих материалов с фракцией зерен от 2 до 15 мм). Конструкции кровель в зависимости от уклонов и применяемых материалов следует предусматривать согласно требованиям [20].

10.2.16.12. В нижние слои кровель из рулонных битумных материалов укладывать рубероид с мелкой минеральной посыпкой (ПМ) или пергамин, а сверху рубероид с крупнозернистой посыпкой (РБ) или чешуйчатой (РЧ).

10.2.16.13. В нижние слои кровель из рулонных толевых материалов укладывать беспокровный толь, а сверху - толь с крупнозернистой посыпкой.

10.2.16.14. Во избежание быстрого охлаждения мастику необходимо наносить узкой полоской (при ручной наклейке не более ширины гребка или щетки), а затем немедленно раскатать и притереть рубероид. К месту работы мастику доставлять в термосах.

Каждая наклеенная полоса рубероида должна сразу же укатываться катком массой до 80 кг.

10.2.16.15. Уменьшать или увеличивать при ремонте кровель количество слоев рулонного ковра, предусмотренных проектом, а также изменять ориентацию полотнищ относительно направления скатов запрещается.

10.2.16.16. При уклоне кровли более 5 % размер нахлестки полотнищ по их ширине выполнять в нижних слоях на 70 мм, в верхних - на 100 мм, а по длине во всех слоях - не менее чем на 100 мм.

При уклоне кровли менее 5 % размер нахлестки полотнищ во всех слоях должен быть не менее 100 мм.

Нахлестку стыков полотнищ верхнего слоя производить по направлению господствующих ветров.

10.2.16.17. Нанесение горячих мастик и наклейка рулонных материалов на влажное основание не допускается. Наклейка на холодных мастиках может производиться по слегка влажному основанию.

10.2.16.18. Слои основного водоизоляционного ковра должны быть усилены:

на участках ендов при уклоне кровли более 2,5 % - двумя слоями рулонного кровельного материала, которые должны быть заведены на поверхность ската (по линии перегиба) не менее чем на 750 мм;

на карнизных участках кровель - двумя слоями дополнительного ковра по ширине, превышающей ширину сливного фартука, перекрываемого ковром соответственно не менее чем на 150 мм (нижний) и 250 мм (верхний);

на коньке - одним слоем рулонного материала на ширину 250 мм с каждой стороны от линии перегиба.

10.2.16.19. В местах примыкания к выступающим конструкциям основной водоизоляционный ковер усиливается дополнительным ковром из трех слоев кровельных материалов, которые наклеиваются на кровельных мастиках с повышенной теплостойкостью.

Верхний слой дополнительного водоизоляционного ковра должен выполняться из рулонных материалов с крупнозернистой посыпкой.

В местах примыкания к парапетам высотой более 450 мм верхний край дополнительного водоизоляционного ковра должен подниматься над основанием под кровлю не менее чем на 250 мм и надежно закрепляться. К бетонным поверхностям водоизоляционный ковер прикрепляется пристрелкой металлических полос специальными дюбелями не более чем через 600 мм с помощью винтов, заделываемых в панели.

Одновременно с дополнительным водоизоляционным ковром к выступающим конструкциям должны закрепляться защитные фартуки из оцинкованной кровельной стали.

Способы крепления защитных фартуков к выступающим конструкциям должны обеспечивать условия, исключающие затекание воды за слои дополнительного водоизоляционного ковра.

10.2.16.20. Для предотвращения образования трещин в кровлях вследствие деформаций несущих конструкций и основания должны выполняться компенсирующие полосы из рулонных материалов, укладываемых «насухо» в средних ендовах, на коньковых участках, у примыканий кровель к стенам, карнизам, над швами в стяжках и комплексных плитах.

У примыканий к стенам эта полоса образуется неприклейкой полотнища нижнего слоя дополнительного водоизоляционного ковра на участке сопряжения с переходным наклонным бортиком и основным ковром.

10.2.16.21. В местах установки водосточных воронок слои основного и дополнительного водоизоляционных ковров должны заходить на фланец водоприемной чаши.

При установке водоприемных воронок слои водоизоляционных ковров защемляются между фланцами водоприемной чаши и прижимным кольцом.

Основной рулонный ковер в местах установки воронок внутреннего водостока усиливается дополнительным водоизоляционным ковром из двух слоев стеклоткани, укладываемых на горячую или холодную мастику, либо слоем мешковины, пропитанной мастикой.

Для предупреждения разрыва слоев водоизоляционного ковра у примыкания к фланцу водоприемной чаши при осадке несущих конструкций покрытий водоотводящий патрубок должен соединяться со стояком посредством компенсирующего стыка и надежно закрепляться к несущим плитам покрытий с помощью хомутов.

10.2.16.22. Перед устройством основного водоизоляционного ковра разжелобки и места примыканий кровли к выступающим частям зданий и водосточным воронкам необходимо склеивать двумя дополнительными слоями рулонного материала.

10.2.16.23. Устройство кровель из рулонных материалов, как правило, производить механизированным способом с применением распылителей для грунтовки оснований, битумоварочных котлов, шестеренчатых насосов для перекачки битума, электрокотелков для подогрева горячей мастики, термосов, приклеенных машин и т.д.

10.2.16.24. При производстве кровельных работ в зимнее время необходимо особенно тщательно и систематически следить за температурой применяемых мастик и рулонных материалов.

10.2.16.25. Рулонные кровли следует выполнять поточным методом с максимальным сокращением разрывов во времени между последовательно выполняемыми операциями.

Перед укладкой рубероид должен быть предварительно выдержан в отапливаемом помещении. Рулонные материалы к месту работы следует доставлять в утепленной таре. Температура мастики при укладке должна быть не ниже 180 °С для горячей битумной мастики, 200 °С - для горячих битумно-резиновых мастик, 160 °С - для горячих дегтевых и 70 °С для холодной мастики, а температура рулонных материалов - не ниже 10 °С.

10.3. Особенности ремонта кровельных покрытий с применением стального профилированного настила

10.3.1. В настоящее время в эксплуатации находится более 50 ТЭС, где нашли применение в качестве ограждающих конструкций покрытия профилированный металлический настил и полимерные плитные утеплители типов ФРП и ПСБ.

Опыт их эксплуатации позволил объективно оценить недостатки проектных решений, условий эксплуатации и ремонта облегченных конструкций покрытия и определить мероприятия по ремонту и реконструкции, направленные на повышение их долговечности.

10.3.2. Разработку мероприятий по повышению надежности облегченных покрытии следует выполнять по двум основным направлениям: повышение долговечности и повышение пожаростойкости.

10.3.3. Мероприятия по повышению пожарной безопасности кровли приведены в действующих Рекомендациях по повышению пожарной безопасности кровельных покрытий из легких металлических конструкций главных корпусов действующих ТЭС и предусматривают:

10.3.3.1. Замену при ремонтах и реконструкции горючих утеплителей негорючими или, в крайнем случае, если несущая способность конструкций покрытия машинного отделения недостаточна для восприятия нагрузки от негорючего утеплителя, допускается при ремонте применение более легкого трудногорючего утеплителя.

Рекомендуемые к применению негорючие и трудногорючие утеплители приведены в приложении 8.

10.3.3.2. Замену гидроизоляционного ковра и пароизоляции из рубероида современными полимерными или битумно-полимерными гидроизоляционными материалами. При этом гидроизоляционный ковер должен состоять не более чем из двух слоев без устройства защитного слоя из гравия.

В качестве водоизоляционных кровельных материалов могут быть рекомендованы материалы, приведенные в приложении 8.

10.3.3.3. Защиту стальных конструкций покрытия (фермы, связи, ребра панелей) огнезащитными составами, повышающими предел огнестойкости не менее чем до 0,5 ч. Для этих целей могут быть использованы:

фламопласт СП-А;

ООП 10М (ТУ 400-2-505-91);

ВПМ-2 (ГОСТ 25131-82);

ОПВ-1 (ТУ 21-25-322-90);

СГК (ТУ 3-2355-90).

10.3.4. При ремонте и реконструкции кровель с частичной или полной заменой профилированного металлического листа, а также при замене мелкоразмерных железобетонных плит облегченным вариантом кровли с профилированным листом необходимо проводить следующие мероприятия:

10.3.4.1. В связи с повышенной агрессивностью газовоздушной среды в основных цехах главных корпусов ТЭС предусматривать защитную покраску профилированного настила покрытий с обеих сторон согласно требованиям [6] с учетом обеспечения долговечности и надежности такой покраски со стороны кровли не менее 10 - 15 лет.

10.3.4.2. Устройство пароизоляции, теплоизоляции и гидроизоляции выполнять в соответствии с действующими Рекомендациями по повышению пожарной безопасности кровельных покрытий из легких металлических конструкций главных корпусов действующих ТЭС. При этом должна быть обеспечена эффективная пароизоляция и теплоизоляция стыков между панелями, защита металлоконструкций покрытия огнезащитными составами.

10.3.4.3. Пароизоляцию по поверхности ремонтируемого профилированного настила выполнять усиленной, двухслойной.

10.3.4.4. Перед устройством пароизоляционного слоя кровли должны быть заполнены пустоты ребер настила на длину 250 мм несгораемыми материалами в местах примыкания настила к стенам, деформационным швам, стенкам фонарей, водосточным воронкам, трубам технологического оборудования, а также с каждой стороны конька кровли и ендовы. Торцы всех продольных ребер гофр настила панелей должны быть заглушены на длину 250 мм несгораемым материалом или перекрыты листом кровельного оцинкованного железа.

10.3.4.5. Толщину принятого негорючего или трудногорючего утеплителя следует определять по результатам теплотехнических расчетов. При применении утеплителя, имеющего прочность на сжатие не менее 0,2 МПа (2 кгс/см2), последний может служить основанием для водоизоляционного ковра без устройства стяжки, при этом поверхность утеплителя должна быть тщательно выровнена для устройства водоизоляционного слоя из полимерных материалов.

10.3.4.6. Не допускать при проведении ремонта кровель увлажнения утеплителей.

10.3.4.7. В случае применения утеплителя, имеющего прочность на сжатие менее 0,2 МПа (2 кгс/см2), выполнять стяжку по утеплителю, что улучшит теплофизические и прочностные показатели покрытий.

10.3.4.8. В качестве стяжек применять несгораемые, биостойкие, плотные материалы с требованиями по морозостойкости согласно [20].

10.3.4.9. В качестве водоизоляционного ковра целесообразно применять один из современных битумно-полимерных или эластомерных материалов, укладываемых не более чем в два слоя, не требующих устройства защитного слоя из гравия.

10.3.4.10. Не допускать наклейки новых слоев гидроизоляционного ковра по отсыревшему старому ковру (без разборки последних).

10.3.4.11. Необходимо соблюдать требования рабочих чертежей и [21] по устройству и ремонту сопряжений ковра с парапетами, стенами, водосточными воронками, трубами и другими вертикальными элементами.

10.3.4.12. С учетом изменения уклонов в водостоках и прогибов панелей в средней их части в процессе эксплуатации, при капитальных ремонтах или реконструкции кровель по возможности предусматривать установку воронок согласно [21] вдоль каждой разбивочной оси зданий, т.е. увеличить их количество, а при возможности устанавливать их в средней как наиболее низкой части панелей.

10.3.4.13. На ТЭС, где были применены комплексные панели типа ПШ со складывающимися шпренгелями и наблюдаются повреждения кровли в стыках между панелями из-за повышенной гибкости панелей, выполнить соединения между панелями, обеспечивающие их совместную работу при техническом обслуживании и ремонте кровли.

10.3.4.14. При полной замене профилированных металлических листов комплексных панелей или замене потерявших ресурс мелкоразмерных железобетонных плит облегченным вариантом кровли из профилированного стального оцинкованного листа целесообразно применять стальные бескаркасные панели полной заводской готовности. Например, панели (ТУ 5262-32-0249468-95), состоящие из наружной (облицовочной) и внутренней (несущей) стальной обшивок, между которыми располагается утеплитель плотностью не более 200 кг/м3. Толщина утеплителя между наружной и внутренней обшивками принимается от 50 до 100 мм в зависимости от вида утеплителя и результатов теплотехнического расчета.

Панели, выполненные по ТУ 5284-101-04614443-97, состоят из несущего стального профилированного листа, утеплителя из высокоэффективного пенопласта «Пенорезол» с объемной массой 100 кг/м3 и гидроизоляционного слоя из полимерных материалов.

10.3.4.15. В проектах производства и организации работ предусматривать предельные нормы складирования материалов и изделий, условия их транспортировки, пределы грузоподъемности механизмов и приспособлений, определяемых с учетом несущей способности легких покрытий. По окончании работ производить полную очистку кровли от мусора с демонтажем механизмов и приспособлений.

10.3.5. Окончательный выбор способа усиления или реконструкции кровельного покрытия с применением профилированного настила на каждом конкретном объекте следует делать, принимая за основу техническое заключение по результатам обследования. Принятые решения должны быть согласованы с местными органами Государственного пожарного надзора.

10.3.6. К выбору конструктивных решений и материалов при ремонте кровли машинных отделений главных корпусов следует предъявлять повышенные требования к пожарной безопасности, так как пожары в них приводят к наиболее тяжелым последствиям.

11. РЕМОНТ ПОЛОВ

11.1. Общие указания

11.1.1. Для конструктивных элементов пола в настоящем разделе приняты следующие наименования:

покрытие - верхний элемент пола, непосредственно подвергающийся эксплуатационным воздействиям;

прослойка - промежуточный элемент пола, непосредственно связывающий покрытие с нижележащим элементом пола или перекрытием или же служащий для покрытия упругой постелью;

стяжка - слой, образующий жесткую или плоскую корку по нежестким или пористым элементам перекрытия; стяжка устраивается также либо для выравнивания поверхности элемента пола или перекрытия, либо для придания покрытию заданного уклона;

гидроизоляция - слой (или несколько слоев), препятствующих прониканию через пол воды или производственных жидкостей.

Кроме того, для элементов полов, устраиваемых на грунте, приняты следующие наименования:

подстилающий слой (подготовка) - элемент пола, распределяющий нагрузку по основанию;

теплоизоляция - слой, уменьшающий общую теплопроводность пола.

Наименование пола устанавливается по наименованию его покрытия.

11.1.2. При ремонте полов должны быть восстановлены принятые в проекте (нормативные) уклоны с направлением от стен, колонн, фундаментов под оборудование к лоткам, каналам, приямкам и отстойникам.

11.1.3. Местные разрушения полов должны быть устранены с соблюдением следующих указаний:

все разрушенные места в случае необходимости вскрываются, причем каждый вышележащий слой конструкции пола вскрывается как на длину, так и на ширину, на 5- 10 см большую, чем слой, лежащий ниже;

все разрушенные участки вырубаются с образованием вертикальных кромок в каждом слое, а границы разрушения в результате потери сцепления слоев устанавливаются простукиванием;

грунт основания, имеющий просадку, после выявления и устранения причин деформации уплотняется и выравнивается;

заделка разрушенных мест производится слоями той же толщины и материалами того же состава, что и ранее уложенные.

11.1.4. Ремонт полов, устраиваемых на грунте, следует производить с соблюдением следующих положений:

необходимые уклоны пола создаются за счет соответствующей планировки оснований;

насыпные грунты допускается применять с обязательным уплотнением. Растительный грунт и торф в качестве основания применять не допускается. Местные просадки засыпаются слоями не более 100 мм при тщательном трамбовании каждого слоя;

поврежденные (разрушенные) участки бетонного подстилающего слоя удаляются, а бетон обрубается по вертикальным граням. Перед укладкой нового бетона поверхность старого должна быть увлажнена.

11.1.5. Ремонт гидроизоляции полов на грунте при единичных повреждениях следует производить в соответствии с указаниями п. 11.1.6, а при массовых повреждениях - по проекту, разработанному специализированной организацией.

11.1.6. Ремонт гидроизоляции от грунтовых вод в полах на грунте необходимо производить с учетом следующих указаний:

уровень грунтовых вод, превышающий отметку, на которой производятся работы, на время ремонта должен быть понижен в соответствии со специальным проектом;

асфальтовая гидроизоляция выполняется из листового асфальта, укладываемого сплошным слоем по поверхности, при температуре укладываемой смеси 150 - 170 °С;

наливная гидроизоляция должна выполняться пропиткой битумом или дегтем слоя щебня, втрамбованного в грунт.

11.1.7. Разрушенную гидроизоляцию полов по перекрытиям восстановить в соответствии с проектом. Основание под гидроизоляцию выровнять цементным раствором и просушить.

При наличии подтеков и высолов на железобетонных перекрытиях необходимо до ремонта гидроизоляции произвести расчистку и ремонт разрушенных участков несущих железобетонных конструкций.

11.1.8. Трещины или пустые швы в местах примыкания полов к стенам следует немедленно залить расплавленным битумом марки БН-Ш или пластраствором.

11.1.9. При производстве капитальных ремонтов полов зданий энергопредприятий необходимо соблюдать следующие требования:

основание под полы должно соответствовать проекту;

покрытие полов должно быть стойкое, рассчитанное на сосредоточенные нагрузки до 10 кгс/см2;

поверхность пола должна быть твердой, не деформироваться, хорошо сопротивляться истиранию;

полы должны быть устойчивыми (не прогибаться, не проседать).

11.1.10. Ремонт полов производить только после выполнения расположенных под полом коммуникаций и их опробования, а также после окончания всех строительно-монтажных и ремонтных работ на данном участке.

11.1.11. Вышележащие слои пола укладывать только после проверки правильности укладки нижележащих слоев с составлением акта на скрытые работы. Толщину элементов пола проверять при их устройстве.

11.1.12. Основания под полы должны быть прочными и жесткими, для чего необходимо устраивать специальный выравнивающий слой - стяжку. Стяжку выполнить из бетона и асфальтобетона после приобретения основанием требуемой проектом прочности. Перед началом работ основание тщательно очищать от мусора и пыли.

11.1.13. Покрытия из цементного бетона или раствора, из штучных материалов (плиточные и пр.) и мозаичные укладывать сразу после окончания схватывания подстилающего слоя или стяжки.

11.1.14. Подстилающие слои и стяжки после их устройства должны иметь шероховатую, чистую, влажную поверхность.

Песок для цементно-песчаного раствора подстилающих слоев и стяжек должен быть крупнозернистым, чистым, без примеси ила и глины.

11.1.15. Поверхность бетонного, цементно-песчаного и мозаичного покрытия следует заглаживать металлическими гладилками. Заглаживание заканчивать до начала схватывания бетона или раствора.

11.1.16. Сильно разрушившиеся покрытия полов и подстилающие слои необходимо разбирать и заменять новыми.

11.1.17. Замену цементных и бетонных полов кислото- и щелочестойкими осуществлять в соответствии со специально разработанным проектом.

11.1.18. Устройство полов допускается при температуре воздуха на уровне пола не ниже плюс 5 °С.

При устройстве и ремонте полов в зимний период следует поддерживать положительную температуру в помещениях во время производства работ и набора прочности бетонными элементами пола.

11.1.19. Производство работ по устройству и ремонту всех видов полов должно отвечать требованиям [21].

11.1.20. При приемке выполненных работ по ремонту или устройству полов вновь производить проверку соответствия их проекту, соблюдения технических условий и правильности выполнения скрытых работ (по оформленным ранее актам на скрытые работы). В случае отсутствия актов на скрытые работы, при возникновении сомнений в правильности выполнения толщины и в качестве уложенных материалов проверку производить вырубкой образцов с лабораторным испытанием их.

11.1.21. Отклонение поверхности пола от горизонтальной плоскости определять прикладыванием к поверхности пола двухметровой рейки с уровнем.

Допустимые на длине 2 м отклонения, мм:

Паркет и линолеум                                               ± 2.

Керамические плитки                                          ± 4.

Мозаичные, дощатые, бетонные покрытия       ± 4.

Асфальтовые покрытия и асфальтобетон           ± 6.

Торцевые покрытия                                              ± 8.

11.1.22. Соответствие уклонов покрытий полов проектным значениям проверять рейкой-шаблоном и ватерпасом. Допускаются отклонения не более ± 2,5 % (независимо от типа покрытия) и только на отдельных участках пола, длина которых не превышает 1 м. Упрощенно правильность устройства уклонов следует проверять пробной поливкой водой, которая должна стекать без образования застоев.

11.2. Бетонные и цементные полы

11.2.1. Ремонт бетонных покрытий полов (включая высокопрочные, мозаичные и т.п.) должен производиться с учетом следующих указаний:

после удаления поврежденных участков покрытия пола и очистки ремонтируемого места от строительного мусора должна производиться промывка указанных мест водой, а непосредственно перед укладкой бетона - поливка цементным молоком;

для покрытия ремонтируемых участков используется бетонная смесь жесткой консистенции того же состава, который был применен при укладке основной части пола;

свежеуложенный бетон следует уплотнять поверхностными вибраторами, механическими или ручными трамбовками либо легкими ручными катками до момента появления на поверхности бетона влаги;

исправление неровностей и дальнейшее уплотнение бетона выполняются затиркой поверхности деревянными терками;

к отделке поверхности бетонного покрытия следует приступать после исчезновения видимой влаги с поверхности, т.е. спустя 20 - 30 мин в зависимости от температуры и влажности воздуха в помещении;

отделка производится путем сглаживания покрытия пола стальной кельмой до получения ровной поверхности; при появлении влаги сглаживание следует прекратить и возобновить лишь после ее исчезновения.

Примечания: 1. Железнение бетонных полов (посыпание поверхности бетона сухим цементом с затиркой стальной кельмой) не допускается.

2. Выравнивание поверхности бетона цементным раствором не допускается.

3. В случае производственной необходимости бетонную поверхность пола после затвердения допускается отшлифовать.

4. Затирку бетонных полов производить цементно-песчаным раствором, входящим в состав бетонного пола (без крупных и средних фракций);

свежеуложенный бетон должен быть предохранен от механических воздействий, в частности, от хождения людей и передвижения безрельсового транспорта; не позднее чем через 24 ч после укладки бетон должен быть покрыт слоем песка и опилок толщиной 2 - 4 см, который в течение 10 сут следует поддерживать во влажном состоянии.

Примечание. Ремонтируемый участок допускается к сдаче в эксплуатацию не ранее чем через 15 сут после укладки бетона.

11.2.2. При производстве капитального ремонта (на больших площадях) покрытие бетонных полов следует выполнять толщиной 35 - 40 мм из бетона жидкой консистенции марки не ниже 200. Крупность щебня или гравия не должна превышать 15 мм.

Если требуется повышенная прочность покрытия бетонных полов, следует выполнять их толщиной 20 - 30 мм из цементного раствора 1:2 или 1:3 (цемент - песок, цемент марки не ниже 400 с затиркой поверхности стальными терками).

Следует бетонировать поверхность пола полосами шириной 3 - 4 м, оставляя вертикальный шов (с помощью маячных досок) для устройства деформационно-усадочных стыков в соответствии с проектом.

11.2.3. Цементные полы выполняются в помещениях с повышенной влажностью и повышенным износом на истирание. Толщина пола должна быть 15 - 25 мм. Используется раствор составом 1:2 - 1:3 (цемент марки 300 и песок средней крупности). Цементный раствор следует укладывать на увлажненное основание по маячным рейкам, расположенным через 1,5 - 2 м.

Необходимо уплотнять раствор площадочными вибраторами, легкими трамбовками или ручным катком, заглаживать металлической кельмой или гладилкой (особенно тщательно в местах рабочих швов). В местах деформационных швов уплотнение и заглаживание производится до тех пор, пока шов не станет совершенно незаметным.

11.2.4. Для придания цементному полу повышенной износостойкости через 6 - 8 ч после укладки поверхность пола следует слегка побрызгать водой, посыпать цементом и тщательно растереть металлической гладилкой или кельмой - выполнить железнение.

Железнение производится с применением сухого просеянного цемента и заканчивается до начала схватывания раствора. Железнение затвердевшего цементно-песчаного раствора запрещается.

11.2.5. В отличие от железнения при затирке бетонных полов цемент добавлять не разрешается.

11.2.6. Необходимые уклоны пола следует создавать за счет соответствующей планировки основания.

11.2.7. Подстилающие слои (подготовку) под бетонные и цементные полы необходимо выполнять жесткими из бетона толщиной 80 - 200 мм (в зависимости от нагрузки и прочности основания).

11.2.8. Бетонную смесь в подстилающий слой пола следует укладывать полосами шириной 3 - 4 м через одну слоями толщиной до 120 мм с утрамбовкой тяжелыми трамбовками или укаткой катками. Полосы разграничиваются маячными досками. Бетонировать промежуточные полосы после затвердения бетона смежных полос (через сутки) следует с удалением маячных досок.

11.2.9. Для прохода труб в подстилающем слое необходимо устанавливать «гильзы» с предварительной защитой их поверхности антикоррозионным покрытием.

11.2.10. При устройстве и ремонте покрытия пола по железобетонному перекрытию или затвердевшему бетону подстилающего слоя необходимо производить тщательную насечку поверхности этого слоя на глубину 3 - 5 мм, очистку металлическими щетками и промывку водой.

11.2.11. При ремонте бетонных и цементных полов следует соблюдать следующие указания:

все разрушенные места вскрывать до основания;

при просадке основания после выявления и устранения причин просадок в углубления втрамбовать грунт до нужной отметки;

после окончания схватывания бетона нижележащего слоя разрушенные места заделывать слоями той же толщины и теми же материалами, что и ранее уложенные;

при вынужденном перерыве в укладке поверхность ранее уложенного бетона перед новой укладкой насекать, очищать от пыли и увлажнять;

покрытие пола укладывать непосредственно после схватывания бетона выравнивающего слоя;

поверхность шлифовать сразу после достижения бетоном или раствором прочности, исключающей возможность выкрашивания щебня, гравия, мраморной крошки;

поверхность полов увлажнять в течение 7 - 10 сут.

11.2.12. Все разрушенные участки покрытия необходимо вырубить вертикальным швом. Граница разрушения определяется на слух простукиванием молотком.

Поверхность оставшейся (после вырубки верхних слоев) подготовки следует очистить от мусора, произвести насечку и перед укладкой нового покрытия увлажнить водой.

11.2.13. Трещины в бетонных и цементных полах необходимо расшить, промыть водой и залить жидким цементным раствором составом 1:1 - 1:2.

11.3. Асфальтовые полы

11.3.1. На энергопредприятиях асфальтовые полы следует укладывать в кладовых, инструментальных, складских и вспомогательных помещениях, в мокрых залах и подвалах. При этом учитывать, что асфальтовый пол от эмульсий и минеральных масел разрушается, а под воздействием повышенных температур (выше + 35 °С) размягчается.

11.3.2. Основание под асфальтовые полы необходимо уплотнять трамбованием или катком.

11.3.3. Асфальтовые полы следует укладывать по очищенной и сухой поверхности подстилающего слоя из щебня, шлака или по бетонной подготовке при температуре в помещениях не ниже + 5 °С. Подстилающий слой (щебень, шлак) необходимо укатать и пропитать горячим битумом.

11.3.4. Асфальтовая смесь должна укладываться монолитным ровным слоем толщиной 25 мм полосами шириной 1,5 - 2 м между рейками. В более ответственных местах следует устраивать двухслойное покрытие общей толщиной слоя 40 - 50 мм (нижний и верхний по 20 - 25 мм). Рейки при укладке покрытия служат также и маяками.

При укладке полов в два слоя нижний слой следует только выравнивать и разглаживать валками, верхний слой - укладывать по свежеуложенному нижнему слою. Уплотнять уложенную асфальтовую массу следует ручными катками, в особо стесненных условиях - валиком. Толщина уплотняемого слоя покрытия не должна превышать 25 мм.

11.3.5. Асфальтобетонные полы следует выполнять толщиной 35 - 40 мм, поверхность подстилающего слоя поливать жидким битумом, поверхность одежды (покрытия) уплотнять тяжелыми катками (асфальтобетонная смесь отличается от асфальтовой тем, что в нее дополнительно к мелкому заполнителю - песку вводится гравий или щебень крупностью 10 - 12 мм).

11.3.6. Укатанная поверхность должна покрываться горячей эмульсией и посыпаться песком. Песок следует смести после впитывания эмульсии в асфальт.

Поверхность асфальтового покрытия следует затирать деревянной теркой, посыпая мелким просеянным песком.

11.3.7. Участки асфальтовых полов с большими трещинами, выбоинами, истиранием и другими повреждениями должны вырубаться вертикально на всю глубину повреждения и очищаться. Границы разрушения определять простукиванием. Края сохранившегося пола для лучшего сцепления его с вновь укладываемой массой следует промазать растопленным битумом марки П. Стыки нового слоя и существующего после укладки асфальтовой массы и уплотнения ее ручными катками тщательно заделываются.

Поверхность уложенного слоя после уплотнения следует посыпать мелким песком.

При глубоких повреждениях (до основания) необходимо исправлять основание, выравнивать и просушивать его. По выровненному и сухому основанию должно укладываться новое покрытие асфальтового пола по подстилающему слою.

11.3.8. Асфальтовые смеси изготавливаются заводским способом. При доставке асфальтобетонной смеси к месту укладки следует принимать меры, предотвращающие ее значительное охлаждение.

11.4. Полы из керамических плиток

11.4.1. Керамические полы по жесткому основанию следует настилать в санузлах, душевых, лабораториях, вестибюлях, на лестничных площадках и т.д.

11.4.2. Поверхность основания, подготавливаемую под настилку плиточных полов, следует тщательно выравнивать. При проверке качества выровненной поверхности просветы между двухметровой рейкой и поверхностью основания не должны превышать 15 мм, а по направлению уклонов - 10 мм. Если неровности и отклонения превышают 15 мм, следует заполнять их материалами, из которых выполнено основание (с предварительной насечкой и промывкой).

11.4.3. Для укладки керамических плиток должен применяться цементный раствор (прослойка) или растворы, приготовленные на черных вяжущих составляющих (нефтебитум марки 2 или 3, каменноугольные деготьпек и масло и пр.). Битумные составы при укладке покрытия пола должны иметь температуру 165 - 170 °С, а дегтевые - 110 - 120 °С. Влажность волокнистых заполнителей не должна превышать 8 %.

11.4.4. Перед укладкой плитки следует замачивать в воде за 2 ч до настилки. Плитки должны укладываться по шнуру и маякам на выровненный слой цементно-песчаного раствора составом 1:3, полоса которого должна быть шириной не менее 1 м и на 20 - 30 мм более ширины плиток.

Подготовленная постель из раствора должна быть на 1 - 2 мм выше требуемого уровня, а под осаженными плитками не должна превышать 15 мм. Ширина швов не должна быть более 2 мм.

Ровность укладки плиток следует проверять правилом, укладываемым на маячные плитки.

11.4.5. Плитки необходимо укладывать по свеженанесенному раствору, тщательно пригоняя одну к другой вплотную, особенно в углах или около стен и заканчивать укладку до начала схватывания раствора или затвердения мастики. Затирка вместо укладки половинок плиток около стен и в углах не допускается.

11.4.6. Плитки следует осаживать на раствор нажимом руки или легким простукиванием по поверхности плиток рукояткой кельмы. Окончательно плитки выравниваются по высоте рейкой после укладки 20 - 25 плиток. Пустоты между плитками и подстилающим слоем (прослойкой) не допускаются.

11.4.7. Через 1 - 2 сут после укладки плиток следует заполнять швы жидким цементным тестом или цементно-песчаным раствором составом 1:1 (цемент, мелкий песок), излишки с поверхности должны удаляться.

11.4.8. По окончании настилки и заливки швов плиточные полы необходимо покрыть слоем влажных опилок и выдержать 5 - 7 сут до полного схватывания раствора. До затвердения раствора ходить по уложенному плиточному слою не разрешается.

Поверхность покрытия следует протирать влажными опилками или ветошью и промывать водой только после окончания схватывания цемента в швах.

11.4.9. В случаях воздействия на пол жидкостей, агрессивных по отношению к цементному раствору и бетону, покрытие пола должно выполняться из керамических плиток, укладываемых на битумных или дегтевых мастиках, приготовленных с применением химически стойких заполнителей.

11.4.10. При ремонте полов из керамических плиток пришедшие в негодность плитки следует заменять новыми. Разрушенные керамические плитки и старый раствор необходимо удалять. На бетонной подготовке следует сделать насечку, тщательно промыть водой и ставить плитку в гнездо на цементном растворе (прослойке) составом 1:2 или 1:3. Толщина прослойки 10 - 15 мм. Верх уложенных плиток после их осаживания должен быть заподлицо с ремонтируемым полом.

При сохранении слоя старого цементного раствора основания технологичнее постановка плиток на клеющие мастики или полимерные клеи. Мастика или клей наносится на сохранившуюся прослойку и тыльную сторону плитки. Плитки следует приклеивать нажатием руки.

11.4.11. Разрушенные швы между плитками необходимо расчищать и заливать жидким цементным раствором.

После смены плиток следует поддерживать влажное состояние их с помощью сырых опилок в течение 5 - 7 сут до полного схватывания раствора.

11.5. Мозаичные полы

11.5.1. Мозаичные (террацевые) полы следует устраивать из смеси цемента и мраморной крошки составом 1:2, допускается применение крошки других полирующихся каменных пород (гранита, базальта и пр.).

11.5.2. Необходимые уклоны пола следует создавать за счет бетонного основания или стяжки.

11.5.3. Мозаичные покрытия должны устраиваться по бетонным основаниям, имеющим уровень поверхности на 30 - 40 мм ниже заданного уровня чистого пола.

11.5.4. Поверхность бетона или стяжки перед укладкой подготовительного слоя мозаичного покрытия необходимо очищать от цементной пленки стальными щетками или делать на ней насечку глубиной 3 - 5 мм. Непосредственно перед укладкой подготовительного слоя поверхность насеченного бетонного основания следует очищать, увлажнять и грунтовать цементным молоком.

11.5.5. Бетон и раствор в покрытиях должны уплотняться вибраторами (виброрейками, площадочными вибраторами и пр.).

11.5.6. Поверхность готового основания под полы не должна иметь неровности. При проверке двухметровой рейкой просвет между рейкой и поверхностью основания должен быть не более 10 мм. При неровностях и отклонениях, превышающих 10 мм, после предварительной насечки и промывки следует уложить выравнивающий слой толщиной не менее 2 см жесткого цементного раствора составом 1:3 - 1:4 (цемент - крупнозернистый песок).

11.5.7. Террацевый пол необходимо укладывать в два слоя: нижний толщиной 20 - 30 мм из обычного цементного раствора; верхний - из террацевого (мозаичного) раствора толщиной 15 - 20 мм по свежеуложенному нижнему слою из цементного раствора составом 1:3 или 1:4.

Подвижность мозаичного раствора при укладке должна соответствовать осадке конуса не более 2 см.

11.5.8. Для предотвращения растрескивания пола от усадки цементного раствора мозаичный слой следует разрезать на небольшие квадраты металлическими прокладками.

11.5.9. Поверхность ранее уложенного слоя из цементного раствора перед укладкой нового мозаичного слоя должна быть насечена, очищена от пыли и увлажнена.

11.5.10. Для получения мозаичного пола нужного рисунка на основании следует предварительно укреплять жилки из стекла, латуни или алюминия с использованием их при укладке покрытия в качестве маяков.

11.5.11. Уложенный мозаичный раствор необходимо слегка уплотнять ручными металлическими валками (катками) или деревянными трамбовками. Заглаживание следует производить металлическими гладилками.

11.5.12. Мраморную крошку необходимой фракции и цвета следует добавлять, равномерно распределяя, к мозаичному раствору после его укладки, но до схватывания.

11.5.13. Поверхность полов после укладки необходимо увлажнять в течение 7 - 10 сут, отделывать поверхность покрытия через 5 - 7 сут (после приобретения прочности, исключающей возможность выкрашивания уложенного слоя в процессе его отделки), шлифовать электрошлифовальными машинами, промывать чистым цементом и вновь шлифовать до блеска.

11.5.14. Разрушенные места мозаичных полов должны вырубаться участками правильной геометрической формы, увязанной с общим рисунком пола; границы разрушения определяются на слух простукиванием молотком.

11.5.15. Разрушенные участки мозаичных полов следует заделывать слоями той же толщины и теми же материалами, что и ранее уложенные.

11.5.16. При сильном истирании мозаичного пола дефектные участки необходимо вырубать до подготовки и заполнять новым мозаичным раствором.

11.5.17. Вновь укладываемый слой мозаичного раствора следует подбирать по зернам и цвету в соответствии со всей площадью пола. По высоте необходимо укладывать его немного выше уровня пола (на толщину уплотнения) с таким расчетом, чтобы после затвердения и шлифовки поверхность имела один уровень с ремонтируемым полом и проектную отметку.

11.5.18. Для предохранения вновь уложенного слоя от растрескивания следует выдерживать его после укладки в течение 3 - 5 сут под слоем опилок, поливаемых водой.

Мелкие трещины и поры на поверхности мозаичных полов следует затирать цементным раствором с добавкой каменной муки и пигмента. Предварительно дефектные места необходимо зачистить и промыть водой.

11.6. Полы из линолеума

11.6.1. Следует учитывать при ремонтах и устройстве новых полов, что качество покрытия полов из линолеума и, особенно из синтетических материалов в значительной степени зависит от ровности и жесткости основания, по которому их укладывают.

11.6.2. Основание под линолеум должно быть сухим, ровным, гладким, достаточно жестким (незыбким) и чистым. Для этого поверхность основания следует очистить и выровнять стяжкой (10 - 20 мм) из гипсового или цементного раствора составом 1:3 на портландцементе марки 400, шпаклевкой по цементно-песчаному основанию, острожкой и шпаклевкой по дощатому основанию.

Следует иметь в виду, что линолеум, уложенный на невыровненное или плохо выровненное основание, в процессе эксплуатации примет его форму и тем самым выявит все дефекты плохо подготовленной поверхности.

11.6.3. Влажность основания не должна превышать при укладке линолеума 4 %, а в самом помещении - 6 %.

11.6.4. Просветы между прикладываемой двухметровой рейкой и основанием должны быть плавно переходящими и не превышать 1 мм. Выравнивание поверхности подстилающего слоя или покрытия наклейкой картона или бумаги запрещается.

11.6.5. Линолеум необходимо приклеивать мастиками, приготовленными на водостойких вяжущих составляющих (битум, казенно-цементный клей и т.д.), при температуре воздуха в помещении не ниже + 15 °С. Состав мастики для приклеивания должен быть указан в проекте.

11.6.6. Качество мастики для приклейки линолеума следует проверять в лаборатории на прочность и водостойкость шва склейки слоев линолеума.

11.6.7. Листы линолеума следует наклеивать с напуском на ранее уложенные на 10 - 15 мм, не промазывая и не приклеивая их края (кромки) на ширину 100 мм. После наклейки линолеума на всю площадь пола в местах напуска оба листа одновременно должны разрезаться по металлической линейке. После обрезки края необходимо промазать и приклеить к основанию, кромки в течение 2 - 3 сут следует выдерживать под грузом.

11.6.8. Для приклейки линолеума мастику следует наносить на основание и на нижнюю сторону линолеума. Толщина слоя мастики не должна превышать 1 мм. Наносится мастика полутеркой с зубчатыми краями.

11.6.9. Не меньше чем за 30 мин до приклеивания линолеума казенно-цементным клеем (мастикой) поверхность основания необходимо загрунтовать тем же клеем (мастикой), но более жидкой консистенции.

11.6.10. Линолеум следует укладывать после того, как нанесенная на основание мастика несколько схватилась. Полотнище линолеума должно тщательно притираться к основанию от середины к краям (для удаления воздуха). В случае отставания линолеума от основания (при наклейке) на отдельных участках следует более тщательно разгладить и положить мешки с песком или другой груз.

11.6.11. Зазоры между смежными кромками линолеума не допускаются.

11.6.12. Приклеивать линолеум к деревянному основанию следует не ранее чем через год после устройства основания.

11.6.13. Во избежание поломок при раскрое и наклейке на основание за 1 - 2 сут до наклейки рулон линолеума необходимо внести в помещение с температурой не ниже + 5 °С.

Рулоны следует раскладывать в помещении с температурой не ниже + 5 °С за сутки до наклеивания с напуском одной полосы на другую 10 - 15 мм.

11.6.14. При наклейке на деревянное основание необходимо укладывать линолеум параллельно доскам для лучшей маскировки стыков.

11.6.15. После наклейки линолеума следует устанавливать плинтусы.

11.6.16. При частичной замене необходимо снять кусок изношенного линолеума, очистить основание, вырезать новый кусок несколько больших размеров и наклеить его так, чтобы кромки не приклеивались по всему контуру на 1,5 - 2 см. На следующий день кромки следует прирезать, приклеить и прижать грузом.

11.6.17. При замене изношенных участков пола вставляемые куски линолеума по цвету и толщине должны быть схожи со старым покрытием, а узорчатый линолеум необходимо тщательно подгонять по рисунку.

11.6.18. При вспучивании линолеум следует снять, хорошо просушить, очистить основание и наклеить заново.

11.6.19. Воздушные мешки в линолеуме должны удаляться прокалыванием в них отверстий шилом с последующим разглаживанием линолеума вокруг вздутия и проглаживанием этого места несколько раз через бумагу горячим утюгом.

11.6.20. При ремонте покрытия из пластикатных (поливинилхлоридных и асбестосмоляных) плиток отслоившиеся или стертые плитки следует удалить, основание очистить от мастики, пыли и просушить. Неровности необходимо заделать шпаклевкой, нанести грунтовку и залить резинобитумной мастикой. После того как мастика не будет прилипать к пальцам, ее следует разровнять и по ней наклеить предварительно подогретые полихлорвиниловые плитки. При наклейке по плитам следует постукивать легким деревянным молотком с резиновой наклейкой. Наклеиваемые новые плитки необходимо точно подобрать по размеру и цвету. Если края плиток отстают, их следует прогладить горячим утюгом через бумагу.

11.6.21. Под покрытие полов из синтетических материалов необходимо выполнять стяжку - слой, образующий жесткую и плотную корку по тепло- или звукоизоляционному слою, уложенному на перекрытие, или подготовку по грунту. Наиболее распространены стяжки из цементно-песчаного раствора.

11.6.22. Основания для пластикатных плиток следует выполнять так же, как и для линолеумных покрытий.

11.6.23. Полы из релина (резиновый линолеум из отходов резиновой промышленности) должны укладываться на жесткое основание и приклеиваться битумной мастикой.

11.7. Наливные полы

11.7.1. В помещениях, где к полам предъявляются требования по беспыльности, водостойкости, повышенной прочности на истирание, следует применять мастичные наливные полы на основе синтетических полимеров. Мастичные наливные полы не применяются в помещениях, где полы подвергаются механическим воздействиям.

11.7.2. Наиболее распространенными являются наливные полы, выполняемые с использованием поливинилацетатной дисперсии. Составы мастик приведены в табл. 4.

11.7.3. Наливные полы на основе поливинилацетатного покрытия выполняются в два-три слоя общей толщиной 3 - 4 мм.

Первый выравнивающий слой мастики наносится толщиной 1,5 - 2 мм. Через двое-трое суток после его затвердения следует наносить второй (лицевой) слой толщиной 1 - 1,5 мм.

Таблица 4

Составы мастик для устройства наливных полов

Материал

Состав мастики, масс. доля, для слоев

жесткого выравнивающего

эластичного лицевого

Эмульсия ПВА пластифицированная

1

1

Минеральный порошок

1,6 - 1,8

0,8 - 0,9

Пигмент

0,2 - 0,4

0,1 - 0,2

Вода

0,4

0,4

11.7.4. В качестве нижележащих слоев под мастичное покрытие полов следует применять стяжку из цементно-песчаного раствора марки не менее 150, а при специальных требованиях получения покрытий полов с удовлетворительными теплотехническими показателями - стяжку из легкого бетона.

11.7.5. Нижележащий слой (основание) должен иметь исключительно гладкую и ровную поверхность. Для этого по стяжке необходимо нанести сплошной полимерцементный выравнивающий слой. Шероховатость стяжки устраняется либо ее шлифовкой с помощью мозаично-шлифовальной машины, либо с использованием шпаклевочных составов на легком песке с применением поливинилацетатной эмульсии.

11.7.6. Поливинилацетатная мастика готовится в специально предназначенных растворомешалках вблизи места устройства пола при температуре в помещении не ниже 10 °С.

11.7.7. Мастику следует использовать за 5 - 6 ч при температуре воздуха до 15 °С или в течение 2 - 3 ч при более высокой температуре.

11.7.8. Мастику следует наносить распылительным агрегатом, состоящим из компрессора, нагнетательного бака и распылительной удочки.

11.7.9. Нанесение мастики следует начинать со стены, противоположной выходу, и вести полосами шириной 4 - 5 м; толщина наливаемого слоя проверяется погружением шпильки в нескольких местах пола.

11.7.10. Поливинилацетатные мастичные покрытия через 3 сут после их устройства необходимо покрывать лаками.

12. ОТДЕЛОЧНЫЕ РАБОТЫ

12.1. Общие указания

12.1.1. Степень готовности помещений и фасадов для производства отделочных работ должна устанавливаться актами с указанием всех имеющихся дефектов, недоделок и мер по их устранению.

12.1.2. К отделочным работам разрешается приступать после окончания всех основных видов ремонтно-строительных работ во внутренних помещениях и на фасадах здания, а также завершения ремонта кровли, перекрытий, оконных и дверных проемов, систем отопления, водопровода и канализации, устройства скрытой электропроводки, испытания и приемки перечисленных работ.

12.1.3. При ремонте фасадов зданий следует выполнять полный комплекс работ, необходимых для восстановления фасада. Выборочный ремонт фасадов, выполнение отдельных видов работ (окраска без необходимого капитального ремонта штукатурки; штукатурка без необходимого капитального ремонта стен, наружных переплетов, дверей и т.д.) не допускаются.

12.1.4. Материалы, применяемые при производстве отделочных работ, должны удовлетворять требованиям [21], а также соответствовать требованиям действующих ГОСТ и ТУ.

12.1.5. При устройстве сухих штукатурок должны применяться специальные обшивочные готовые листы, выпускаемые промышленностью. Сухую штукатурку следует применять для облицовки поверхностей стен, потолков, перегородок в помещениях с нормальной влажностью (не более 60 %).

12.2. Штукатурные работы

12.2.1. В зимнее время внутренние штукатурные работы с применением обычных растворов разрешается выполнять в утепленных и обогреваемых помещениях с температурой около наружных стен на уровне 0,5 м от пола не ниже плюс 8 °С.

12.2.2. Состав, марки штукатурных растворов, качество штукатурки устанавливаются проектом производства ремонтных работ.

Для производства штукатурных работ следует предусмотреть механизацию приготовления растворов и максимально возможную механизацию транспортировки и нанесения растворов на поверхности внутренних помещений и фасадов зданий.

12.2.3. Ремонтировать внутреннюю штукатурку разрешается только после устранения причин, вызвавших ее повреждение и преждевременный износ.

12.2.4. Подлежащие оштукатуриванию поверхности должны быть очищены от пыли, грязи и масляных пятен.

12.2.5. При отслаивании и выкрашивании штукатурки следует отбить всю непрочную старую штукатурку и произвести частичный ремонт отдельных мест. Отставшая и непрочная штукатурка определяется на слух простукиванием молотком (издает глухой звук).

12.2.6. Для обеспечения качества и прочности штукатурных слоев необходимо предварительно промывать водой от пыли, грязи и других посторонних наслоений все кирпичные, каменные и бетонные поверхности, подлежащие оштукатуриванию.

12.2.7. Для лучшего сцепления штукатурки с материалом стен гладкие и недостаточно шероховатые поверхности бетона и кирпичных кладок (при полном шве) должны быть подготовлены путем насечки, надрезки или обработки их пескоструйным аппаратом и промывкой напорной струей воды. Обработку поверхностей песком (пескоструйными аппаратами) производить до получения фактуры, которая обеспечит надлежащее сцепление штукатурки с обработанными поверхностями.

12.2.8. До производства работ по восстановлению и ремонту штукатурки фасадов зданий должны быть выполнены:

очистка фасадов от старых набелов;

ремонт стен и выступающих деталей;

ремонт карнизных свесов;

установка креплений для водосточных труб;

ремонт наружных оконных переплетов и дверей.

12.2.9. Старые кирпичные стены следует очистить от остатков штукатурки насечкой и промывать их струей воды.

12.2.10. Во избежание повреждений прочных слоев штукатурки не разрешается применять ударные инструменты для удаления дефектной штукатурки с деревянных поверхностей. Для этой цели следует применять стальные скребки, скарпель.

12.2.11. Деревянные поверхности, подлежащие оштукатуриванию, должны быть обиты драночными щитами с ячейкой примерно 45´45 мм.

12.2.12. В местах, требующих замены старой штукатурки, при толщине намета на потолках более 25 мм, на стенах - более 30 мм внутри помещения и более 50 мм на фасадах раствор следует наносить по металлической сетке с ячейками 40´40 мм.

12.2.13. При значительных отклонениях поверхностей от вертикали или по горизонтали, а также значительных местных неровностях дефектные места должны быть обтянуты металлической сеткой или проволочным плетением с ячейкой 40´40 мм и оштукатурены.

12.2.14. Места сопряжений конструкций из разных материалов (сопряжения деревянных конструкций с каменными, кирпичными, бетонными стенами и пр.) должны быть обиты металлической сеткой с ячейками 40´40 мм или проволочным плетением для предупреждения образования трещин в результате усыхания или усадки материалов.

12.2.15. При оштукатуривании металлических поверхностей к ним следует приваривать металлическую сетку.

Отдельные балки, колонны, косоуры и другие металлоконструкции из элементов небольшого размера допускается обертывать сеткой с обматыванием по спирали проволокой диаметром 1 - 2 мм. При отсутствии сетки перечисленные металлоконструкции допускается обматывать проволокой по спирали.

Стальные конструкции и сетки при оштукатуривании их известковыми или гипсовыми растворами необходимо предварительно окрашивать масляной краской. При оштукатуривании цементным раствором окраска не требуется.

12.2.16. Независимо от материала оштукатуриваемых конструкций их следует привести в жесткое состояние, чтобы они не были зыбкими.

12.2.17. Полное удаление штукатурки на всю толщину намета производить:

при недостаточной прочности основания;

при высолах на поверхности штукатурки;

при неудовлетворительном сцеплении штукатурного намета с основанием;

в случаях, когда прочность штукатурки недостаточна и возможно отслоение штукатурного намета от основания.

12.2.18. Частичное удаление штукатурки не на всю толщину намета производить при:

отслаивании накрывочного слоя;

ослаблении верхнего слоя грунта;

механических повреждениях наружных слоев штукатурки.

12.2.19. При подготовке фасадов к оштукатуриванию вся непрочная и отстающая от стен штукатурка и разрушенные детали должны быть отбиты и удалены, удалению подлежит также штукатурка с жировыми, смоляными и сырыми пятнами. Отсыревшие участки стен перед оштукатуриванием просушить.

12.2.20. Правильность подготовки поверхностей под штукатурку оформляется актом на скрытые работы.

Для проверки правильности подготовки поверхностей под штукатурку и доброкачественности штукатурного намета разрешаются контрольные вскрытия отдельных участков штукатурки.

12.2.21. Ремонт внутренней штукатурки производится нанесением мокрой штукатурки на поверхность стен, перегородок и потолков или покрытием поверхностей листами сухой штукатурки.

12.2.22. Производство мокрой штукатурки осуществляется в соответствии с установленной классификацией ее качества:

простая (штукатурка под сокол);

высококачественная (штукатурка по маякам).

12.2.23. Фасады здания следует оштукатуривать сверху вниз, начиная с венчающего карниза здания.

12.2.24. Высококачественную или улучшенную штукатурку необходимо выполнять из трех последовательно наносимых слоев:

первый (обрызг) обеспечивает сцепление штукатурки с оштукатуриваемой поверхностью;

второй - основной (грунт) состоит из одного или нескольких слоев, предназначен для выравнивания основания и получения ровной поверхности штукатурки;

третий - отделочный (накрывка).

Первый слой штукатурки следует наносить без разравнивания толщиной 5 мм по каменным, бетонным и кирпичным поверхностям и не более 9 мм по деревянным. Раствор жидкий.

Второй слой должен наноситься с разравниванием и уплотнением по поверхности, но без заглаживания его; раствор из тех же материалов, что и для обрызга, но более густой (с меньшим содержанием воды); толщина слоя 8 - 9 мм, если растворы известковые и известково-гипсовые, и 5 мм при цементных.

Третий слой следует наносить толщиной 3 - 4 мм с тщательной затиркой, заглаживанием и уплотнением слоя до толщины не более 2 мм. Раствор с более мелким песком.

12.2.25. При выполнении простой штукатурки раствор необходимо наносить в два слоя: первый слой - обрызг и второй слой - грунт.

Затирать штукатурку следует непосредственно по второму слою.

12.2.26. Слой набрызга должен заполнять все неровности оштукатуренных поверхностей. В драни и сетке слой обрызга должен заполнять ячейки и клетки и покрывать оштукатуренную поверхность конструкции.

12.2.27. Для хорошего сцепления всех слоев раствора при нанесении грунта необходимо соблюдать следующие требования:

каждый слой грунта, включая первый, выполняемый по обрызгу, при гипсовом или цементном вяжущем составляющем должен наноситься только по окончании схватывания раствора, но еще при неполном затвердении его, а при известковом вяжущем - после побеления предыдущего слоя;

каждый слой грунта немедленно после его нанесения на поверхность разравнивать и уплотнять, последний слой выравнивать так, чтобы обеспечить одинаковую толщину накрывочного слоя (накрывки).

12.2.28. Накрывку следует наносить после схватывания или побеления последнего слоя грунта.

Для обеспечения минимальной толщины накрывки раствор на поверхность необходимо набрасывать не сплошь, а отдельными участками и разравнивать его по всей поверхности.

12.2.29. Средняя общая толщина штукатурного намета при простой штукатурке - 12 - 18 мм, улучшенной - 15 - 20 мм, высококачественной - 20 - 25 мм.

Толщина накрывки после разравнивания и затирки должна составлять 2 - 3 мм.

12.2.30. Для предохранения штукатурки от осадочных деформаций следует соблюдать строгую последовательность в нанесении штукатурных слоев на поверхность стен и потолков.

Наносить штукатурку сразу на всю толщину слоя не допускается: несхватившийся раствор не будет держаться.

Во избежание сползания или обрушения штукатурного намета запрещается нанесение обрызга на недостаточно просушенные поверхности.

12.2.31. Небольшие участки можно штукатурить в один прием. При этом толщина штукатурного намета не должна превышать 10 мм.

12.2.32. Для отделки бетонных конструкций затиркой накрывку из цементного раствора следует наносить один раз.

12.2.33. Места с отбитой старой штукатуркой при ремонте необходимо оштукатуривать в три слоя: обрызг, грунт и накрывка. Вместо маяков использовать оставшиеся части старой прочной штукатурки, по которым и вести оштукатуривание.

При частичном ремонте, если старый штукатурный слой был удален на всю толщину (до основания), штукатурку следует наносить слоями.

12.2.34. Для штукатурок всех видов перед нанесением новых слоев на поверхность просохшего и затвердевшего слоя необходимо на нем насечь борозды в виде сетки и смочить поверхность водой.

12.2.35. При загрязнении, царапинах, пятнах и небольших выбоинах на штукатурке следует перетирать поверхности с нанесением в местах повреждений известкового раствора в помещениях с нормальной влажностью и сложного (цементно-известкового) в помещениях с повышенной влажностью.

12.2.36. Крупные трещины в штукатурке необходимо расшить на ширину 15 - 20 мм и на полную глубину штукатурного намета (на фаску), после чего промыть водой, заделать соответствующим раствором и затереть заподлицо с поверхностью штукатурки. Мелкие трещины следует устранять перетиркой штукатурки.

12.2.37. Штукатурка в ремонтируемых местах должна быть тщательно притерта заподлицо к старой штукатурке без «намаза» нового раствора на старую штукатурку.

12.2.38. В местах нанесения нового раствора поверхность основания и края старой штукатурки должны быть очищены от пыли и слегка увлажнены. Стык старой и новой штукатурки следует выполнять под косой разрез.

12.2.39. Разрушенная, отсыревшая, засмоленная, замасленная или отслоившаяся от стен старая штукатурка фасадов зданий должна быть удалена и заменена новой.

12.2.40. Отделочный слой по фактуре и крупности песка должен быть близок отделочному слою старой штукатурки фасада. Для создания единой фактуры старой и новой штукатурки допускается перетирка поверхности фасада.

12.2.41. В жаркое и сухое время свеженанесенную штукатурку следует периодически увлажнять для защиты ее от пересушивания, особенно на фасадах, обращенных на юг (с помощью краскопультов и пистолетов).

При производстве ремонтных работ в жаркое время года оштукатуренную поверхность перед нанесением обрызга следует увлажнять.

12.2.42. В холодное время года штукатурные работы на фасадах здания разрешается выполнять без введения химических добавок при температуре не ниже плюс 5 °С.

12.2.43. Приемка выполненных работ по ремонту штукатурки в помещениях и на фасадах зданий должна производиться после выполнения всех работ по устранению и ликвидации дефектов, появившихся во время сушки и усадки штукатурки.

Штукатурку считать качественной при прочном сцеплении ее с отделанной конструкцией, поверхностью основания, при отсутствии трещин, впадин, бугорков, раковин, дутиков, отслоений.

12.2.44. Как правило, внутренние штукатурные работы по стенам следует выполнять с подмостей. Применение лестниц-стремянок допускается только при малом объеме ремонта штукатурки.

12.2.45. При больших объемах ремонта внутренних поверхностей стен и потолков, а также при оштукатуривании фасадов зданий штукатурку следует наносить механизированным способом с применением растворонасосов передвижных компрессоров, передвижной растворосмесительной установки, растворосмесительного штукатурного агрегата и других аналогичных механизмов, выпускаемых промышленностью.

12.2.46. В качестве основных вяжущих составляющих для штукатурных растворов следует применять цемент, известь (в виде теста или пушонки) и алебастр как самостоятельно, так и в смеси друг с другом, за исключением смеси алебастра с цементом.

12.2.47. Примененные для ремонта штукатурки материалы, а также качество отделки штукатурного покрытия должны соответствовать материалам и качеству ремонтируемой штукатурки.

12.2.48. Выбоины, трещины и другие поврежденные места следует заделывать раствором такого же состава, из какого была выполнена штукатурка.

12.2.49. Все растворы, затворенные водой, должны быть использованы до начала их схватывания. Применять растворы, имеющие признаки начала схватывания, запрещается.

12.2.50. Для ремонта штукатурки в помещениях с влажностью более 60 % следует применять цементные растворы.

12.2.51. Свежеоштукатуренные поверхности до окончательного затвердения раствора необходимо предохранять от:

избытка влажности, задерживающего твердение и портящего штукатурный намет;

чрезмерно быстрой сушки, вызывающей обезвоживание раствора и образование трещин (солнцепек, сквозняк и т.д.);

ударов и сотрясений.

12.2.52. При сплошной замене старой штукатурки новой на всей поверхности фасада или на отдельных этажах здания могут применяться как сложные растворы (известково-цементные), так и простые (известковые).

12.2.53. При частичной замене старой штукатурки новой следует применять сложные или близкие по составу к сохранившейся старой штукатурке растворы.

12.2.54. Гипсовые и известково-гипсовые растворы для наружной штукатурки применять не следует.

12.2.55. При полной замене штукатурки (капитальный ремонт) для продления срока службы (защиты кирпичных и бетонных конструкций от увлажнения атмосферными осадками, паровыделениями, замачивания водой, в помещениях с систематическими разливами воды) ее целесообразно покрывать эмульсией ГКЖ-94 (приложение 10).

12.3. Отделка поверхностей листами сухой штукатурки

12.3.1. Отделка обшивочными листами сухой штукатурки допускается только в сухих закрытых помещениях. Применение сухой штукатурки в помещениях с повышенной влажностью, а также обшивка листами конструкций, подверженных атмосферным воздействиям, не допускается.

12.3.2. При производстве отделки с применением сухой штукатурки в тех помещениях, где поверхности частично отделаны обычной штукатуркой, ремонтировать основания и устраивать деревянный каркас, деревянные пробки, маяки и маячные подкладки следует с таким расчетом, чтобы лицевая поверхность листов сухой штукатурки после их укрепления точно совпадала с поверхностью оставшейся старой штукатурки.

12.3.3. Облицовку поверхностей листами сухой штукатурки следует осуществлять:

приклейкой мастики к каменным и бетонным поверхностям тыльной стороны листов по опорным маякам или непосредственно на облицовываемую поверхность;

прибивкой листов к деревянному каркасу, предварительно выверенному и закрепленному на обшиваемой поверхности, или непосредственно к обшиваемой поверхности.

12.3.4. Расстояние между осями реек каркаса для крепления листов сухой штукатурки должно быть 40 см. Рейки следует устанавливать строго по отвесу и размещать так, чтобы вертикальные и горизонтальные стыки листов совпадали с их осями.

Листы сухой штукатурки надо располагать, как правило, длинной стороной по вертикали.

12.3.5. При прикреплении листов сухой штукатурки к основаниям гвоздями следует применять оцинкованные или проолифленные гвозди длиной 30 мм для стен и 40 мм для потолков. Шляпки гвоздей не должны прорывать картон листа и выступать над его поверхностью. Обшивку листами следует вести от угла к углу.

12.3.6. Для предотвращения появления трещин между листами сухой штукатурки (при масляной окраске, склейке обоями) швы после заполнения их шпаклевкой необходимо оклеивать полосами марли с вторичной обработкой их шпаклевкой.

12.3.7. В зимнее время работы по отделке сухой штукатуркой разрешается вести при температуре не ниже плюс 4 °С.

12.3.8. При приемке работ по ремонту и облицовке листами сухой штукатурки должны быть проверены:

надежность крепления листов к основанию;

отсутствие трещин в листах;

отсутствие ржавчины, пятен и неровностей на поверхности листов;

тщательность и полнота заделки швов.

12.4. Малярные работы

12.4.1. К малярным работам разрешается приступить только после окончания всех ремонтно-строительных работ, за исключением настилки паркета, линолеума, ошнуровки открытой электропроводки, и после полной просушки поверхностей, подлежащих окраске (кроме поверхностей, окрашиваемых известковыми составами).

12.4.2. На месте производства ремонтных работ допускается только разведение готовых составов краски до рабочей консистенции, а все материалы для производства окрасочных работ должны приготовляться в краскозаготовительных мастерских ремонтно-строительных подразделений энергопредприятий или подрядных организаций.

До производства работ по окраске фасадов следует выполнять:

удаление отслаивающейся старой краски;

ремонт штукатурки, стен и наружных оконных переплетов;

реставрацию и установку имеющихся лепных изделий;

кровельные работы.

12.4.3. Перед окраской фасадов должны быть покрыты кровельной сталью все оконные сливы, пояски, карнизы и другие выступающие архитектурные детали; закончено устройство ограждений, желобов и свесов крыш, а также навешены водосточные трубы.

Окраска фасадов, а также внутренних стен производится сверху вниз.

12.4.4. Производство наружных малярных работ в жаркое летнее время при прямом воздействии солнечных лучей, а также при ветре не допускается.

Не разрешается окраска кровель, водосточных труб и других деталей из кровельной стали в жаркую погоду (на солнцепеке), во время дождя, по не просохшей от росы поверхности кровель, а также при температуре ниже плюс 5 °С.

12.4.5. Нанесение малярных составов на поверхности, а также приготовление всех составов должны быть максимально механизированы, в особенности при клеевой и известковой окраске внутренних помещений, а также окраске фасадов зданий.

12.4.6. Производство внутренних малярных работ разрешается при температуре не ниже плюс 5 °С (измеренной на высоте 0,5 м от пола), наружных - с применением водных окрасочных растворов при среднесуточной температуре наружного воздуха не ниже плюс 5 °С.

12.4.7. Производство наружных работ, в том числе окраска фасадов зданий, в зимнее время при отрицательных температурах воздуха разрешается при применении полимерных красок (с разведением краски перхлорвиниловой эмульсией), полистирольных составов и пр.

12.4.8. Наружные малярные работы рекомендуется производить в сухое теплое время года. При дожде окраска должна быть прервана и возобновлена после просушки окрашиваемых поверхностей.

12.4.9. Внутренние малярные работы следует производить с подмостей, лестниц-стремянок или с передвижкой подмостей. Работа с приставных лестниц (длиной не более 5 м) допускается только при небольших объемах окраски и высоте не более 4 м от пола до перекладины опирания.

Внутри цехов с крановым оборудованием разрешается использовать мостовые краны в качестве оснований для легких инвентарных подмостей при окраске поверхностей, лежащих выше отметки подкрановых балок (ферм, потолков, стен и пр.).

Окраску фасадов зданий следует производить с инвентарных лесов или люлек.

12.4.10. Поверхности, подлежащие окраске, должны быть очищены о пыли, грязи, ржавых пятен, подтеков раствора и брызг купоросных грунтовок, выровнены; шероховатости должны быть устранены, трещины заделаны.

Окрашенные прежде поверхности следует очистить от разрушившейся, отстающей краски и шпаклевки.

12.4.11. На окрашиваемых поверхностях оштукатуренных стен, потолков, выполненных мокрым способом, не должно быть:

дутиков от непогасившихся частиц извести и раковин от лопнувших и отвалившихся дутиков;

грубо затертой поверхности накрывки, испещрений бороздами;

глубоких трещин, проникающих через слои накрывки и грунтовки;

штукатурных недоделок у подоконников, наличников, плинтусов, приборов отопления, водопровода, канализации, паропроводов и в других местах.

12.4.12. Влажность штукатурки перед ее окраской не должна превышать 8 %, древесины - 12 %.

Отдельные сырые места штукатурки должны быть до начала работ высушены, а причины, вызвавшие появление сырых мест, устранены.

12.4.13. При подготовке поверхностей под окраску необходимо выполнить следующие основные операции: грунтовку, шпаклевку, шлифовку, перетирку поверхностей, а также работы по ликвидации промочек, ржавых пятен и сильно загрязненных участков поверхностей.

12.4.14. Столярные изделия (фрамуги, дверные полотна и т.д.) перед производством малярных работ должны быть выверены и пригнаны с исправлением всех дефектов; на них должны быть установлены приборы.

Ремонт остекления должен быть закончен до начала малярных работ.

При подготовке под масляную окраску деревянных поверхностей следует вырубить сучья и нагели, выполнить острожку, заделать щели и трещины, удалить засмолы на глубину не менее 3 мм, устранить заусенцы, раковины и другие дефекты столярных изделий.

12.4.15. Недостаточно просушенную древесину столярных изделий не следует шпаклевать, поскольку шпаклевка будет отслаиваться так же, как и шпаклевка по нечисто обработанной, запыленной или выгоревшей на солнце поверхности.

12.4.16. Все деревянные поверхности перед масляной окраской необходимо проолифить, выполнить местную подмазку и сплошную масляную шпаклевку с последующей шлифовкой поверхности. Перед возобновлением окраски дощатых полов доски должны быть хорошо сплочены и прикреплены к лагам. При ходьбе доски не должны прогибаться. Очищенный пол грунтуется олифой и шпаклюется шпаклевкой.

12.4.17. Оштукатуренные поверхности, подлежащие окраске, следует очищать и заглаживать с помощью электрифицированного инструмента с вращающимся диском, обтянутым шкуркой, а при его отсутствии применять «лещадь» (куски песчаника или кирпича), торцы деревянного бруска, а также пемзу.

12.4.18. При подготовке поверхностей, окрашенных клеевой краской, под новую окраску необходимо очищать поверхности от старой краски (набелов) следующими способами:

если слой краски (набел) незначителен, промыть горячей водой;

при значительном слое старой краски во избежание в дальнейшем ее отслоения краску удалить до основания. Для этого обильно смачивать поверхность теплой водой; размокшую краску удалить стальным шпателем или специальным скребком. Очищенную поверхность промыть водой;

на поверхностях с прочной штукатуркой остатки старой краски счищать металлической щеткой. Толстый набел счищать, не смачивая его водой;

если старые слои краски удаляются с трудом, их смачивать теплой водой с добавлением 3 %-ного раствора соляной кислоты, под действием которой старая побелка вспучивается и легко счищается шпателем. Так же удаляются набелы казеиновых и силикатных красок.

12.4.19. Для закрытия пятен перед клеевой окраской необходимо применять крепкую купоросную грунтовку. При больших загрязнениях, которые не удалось устранить, следует заменять участок поверхности штукатурки либо выполнять перетирку штукатурки.

Всякое загрязнение удаляется вместе с набелом независимо от его толщины и рода окраски. При необходимости следует перетирать побелку мелким песком.

12.4.20. При окраске поверхностей составами, отличающимися от прежних, старую окраску (набелы) необходимо счищать во всех случаях независимо от ее состояния.

12.4.21. Подготавливать мокрую штукатурку под клеевую и масляную краску следует только после достаточного ее высыхания.

12.4.22. По перетертой штукатурке поверхности под окраску должны подготавливаться, как по новой штукатурке.

12.4.23. При подготовке под окраску поверхностей, ранее оклеенных обоями, следует полностью удалить обои и подкладку, перетереть штукатурку мелким песком с известковым тестом.

Деревянные поверхности необходимо отмыть от остатков клея.

12.4.24. При окраске фасадов зданий по прежде окрашенной штукатурке поверхности следует подготавливать так же, как при внутренних ремонтных работах (удалять набел, пятна, очищать и промывать от загрязнений и т.п.).

12.4.25. Для подготовки сухой штукатурки к окраске необходимо шпаклевать и тщательно шлифовать поверхности, особенно в местах стыковки листов.

12.4.26. С любых подготовленных под окраску поверхностей следует тщательно удалять пыль. По возможности пыль сдувается струей сжатого воздуха.

12.4.27. Каменные и кирпичные поверхности перед окраской должны быть очищены от старого раствора металлической щеткой, а при наличии жирных пятен - промыты 2 %-ным раствором соляной кислоты.

12.4.28. Контрольную проверку правильности подготовки поверхности следует производить только при сомнениях в качественном ее выполнении. Удаление красочной пленки для проверки качества подготовки допускается только в местах, где последующее исправление повреждения не нарушит общего вида отделки поверхности.

12.4.29. Приемку окрашенных полов следует производить не ранее чем через 10 дн после нанесения последнего слоя краски или лака.

12.4.30. Приемка малярных работ должна осуществляться осмотром окрашенных поверхностей. При этом должны предъявляться следующие требования, относящиеся ко всем разновидностям окраски (простой, улучшенной и высококачественной):

поверхности, окрашенные водными составами, должны быть однотонными и тщательно растушеванными или проторцованными; пятна, полосы, подтеки, брызги, вздутия, отлипы, волосяные трещины, пропуски, волоски от кисти, отмеливание поверхности, а также подкраска, выделяющаяся на общем фоне, не допускаются; следы кисти допускаются только при простой окраске, причем они не должны быть заметны с расстояния более 3 м от окрашенной поверхности;

поверхности, покрытые масляными, эмалевыми и лаковыми составами, должны иметь однотонную фактуру (глянцевую, матовую или торцованную); просвечивание нижележащих слоев, пятна, отлипы, морщины, подтеки, пропуски, пленки, видимые крупинки краски, неровности от плохой шлифовки и следы краски не допускаются;

бордюры, фризы и филенки на всем протяжении должны быть одинаковой ширины и не иметь видимых стыков.

12.4.31. Для защиты стекол в оконных переплетах от загрязнений краской при производстве малярных работ в помещениях и на фасадах зданий следует применять деревянные рамки (выполненные по размерам оконных проемов), обтянутые прозрачной пленкой. Рамки при окраске вставляются в оконные проемы, укрепляются, а затем последовательно переставляются в следующие оконные проемы.

12.5. Очистка фасадных поверхностей

12.5.1. Облицовку фасадов следует очищать сухим или мокрым способом в зависимости от вида облицовки или окраски.

12.5.2. Фасады, облицованные естественным или искусственным камнем, декоративным бетоном, оштукатуренные терразитовыми штукатурками, следует по мере необходимости очищать от пыли и копоти сухим методом.

12.5.3. Фасады, окрашенные перхлорвиниловыми или масляными красками или отделанные керамическими глазурованными плитками, светлым керамическим кирпичом или полированным гранитом, следует периодически очищать от пыли и копоти мокрым способом с применением моющих химических средств.

12.5.4. Очистку фасадов мокрым способом следует производить, как правило, в теплое время года.

12.6. Окраска поверхностей

12.6.1. Устанавливается следующая классификация качества и сложности окраски:

простая окраска водными и масляными составами, т.е. окраска несложная, для которой не требуется особой подготовки поверхностей, за исключением устранения таких дефектов, как выбоины, трещины и т.п.;

улучшенная окраска водными и масляными составами, т.е. окраска средней сложности, требующая подготовки поверхностей, в частности, сплошного шпаклевания;

высококачественная клеевая и масляная окраска, т.е. окраска сложная, требующая исключительно тщательной и многократной подготовки поверхностей.

12.6.2. Для получения хороших результатов при ремонте поверхности красить следует красками тех же составов, какими она и окрашивалась ранее, если изменение состава не предусмотрено специальным проектом.

12.6.3. При отслаивании и шелушении известковой окраски должна производиться новая сплошная окраска с удалением старой окрасочной пленки с поврежденных мест, перетиркой и промывкой их, с последующей грунтовкой.

12.6.4. Поверхности под известковую окраску не шпаклюются, перед окраской они должны быть смочены водой.

12.6.5. Старые слои известковой и клеевой побелки следует соскабливать, а поверхность промывать горячей водой с помощью кисти.

12.6.6. При подготовке поверхностей, ранее окрашенных красками того же состава, под окраску водными красками незначительные по толщине набелы следует удалять только в случаях нарушения связи набелов с основанием или чрезмерного загрязнения их, а значительные - удалять во всех случаях, так как они могут служить прочным основанием для нового окрасочного слоя.

12.6.7. Если на поверхность, прежде окрашенную масляными составами, будет наноситься водная краска, старую краску следует удалить.

12.6.8. При употреблении клеевых составов с малым количеством клея следует применять механизированную окраску с помощью краско- или электрокраскопульта.

12.6.9. Окрасочный слой следует наносить только после полного высыхания грунтовки.

Огрунтованная поверхность при клеевых красках не должна перестаиваться, красочный состав наносится не позже чем через 24 ч после огрунтовки, так как грунт теряет силу сцепления и производить окраску по нему трудно (окрасочный состав при покрытии скатывается).

12.6.10. Клеевая краска должна наноситься только на просохшую штукатурку, не допускается окраска по непросохшей штукатурке во избежание получения окраски с пятнами и полосами.

12.6.11. Для клеевой окраски по сухой штукатурке поверхности следует проолифить или загрунтовать клеевым раствором, а поверхности гипсовой сухой штукатурки покрыть квасцовой грунтовкой.

12.6.12. Поверхности, ранее окрашенные известковыми составами, не должны окрашиваться клеевыми составами.

Для наружной отделки клеевые краски не применяются.

12.6.13. Для закрепления клеевого колера в него следует вводить животный клей, мучной клейстер, казеиновый клей или жидкое стекло.

Количество клея или клейстера определяется пробной окраской: при недостатке клея окрашенная поверхность будет «отмеливать» (пачкать при трении), а при избытке клеевой состав не ложится ровно, при высыхании на его поверхности появляются мраморовидные пятна, красочный слой растрескивается и отслаивается.

Для окраски потолков следует брать состав с уменьшенным количеством клея.

12.6.14. Окраска фасадов зданий известковыми составами должна производиться по свежеоштукатуренной поверхности, так как при этом окрасочная известковая пленка прочнее сцепляется со штукатуркой. Окрасочный состав следует хорошо перемешать до однородного состояния и процедить через сито с размером отверстий 0,2 - 0,3 мм.

12.6.15. Перерывы в окрасках фасадов допускаются только по границам тяг или других архитектурных членений фасада.

12.6.16. Поверхности сухой штукатурки разрешается отделывать клеевой, казеиновой, масляной красками, а также оклеивать обоями.

Клеевую окраску по сухой штукатурке следует выполнять так же, как и по мокрой.

Под масляную окраску поверхности сухой штукатурки следует шпаклевать и покрывать масляной грунтовкой.

12.6.17. При окраске казеиновыми и силикатными красками ранее окрашенных поверхностей старые набелы следует удалять полностью до штукатурного слоя, после чего тщательно промывать поверхности. Поверхности после промывки подготавливаются обычным путем.

12.6.18. Техника нанесения казеиновых и силикатных красочных составов та же, что и клеевых.

Поверхности кирпича, камня, а также новые оштукатуренные поверхности следует окрашивать силикатными красками без грунтовки.

Все части поверхностей, не подлежащие окраске (оконные стекла, двери, переплеты и т.п.), необходимо защищать от попадания брызг силикатной краски, так как ее удаление после высыхания краски затруднительно.

12.6.19. Летом в жаркие дни клеевую окраску рекомендуется производить в утренние и вечерние часы, так как в жару краска плохо пристает к окрашиваемой поверхности.

12.6.20. Силикатные краски следует применять как для внутренних, так и наружных окрасок по камню, кирпичу, штукатурке, обшивочным листам сухой штукатурки и по дереву.

12.6.21. Масляные и другие неводные составы следует применять для окраски деревянных, оштукатуренных и металлических поверхностей как снаружи, так и внутри помещений.

12.6.22. Окраска помещений начинается с окраски потолков.

Не допускается перерывов в работе до полного окончания окраски потолков (при всяком перерыве получается заметный и неисправимый след).

12.6.23. При подготовке под окраску поверхностей, окрашенных масляными и другими (неводными) составами, разрешается не удалять старую краску, если она прочно держится на поверхности и может служить основанием для последующей окраски, и необходимо удалять ее, если ослаблена связь между окрасочным слоем и основанием или она имеет много трещин.

12.6.24. При отслаивании и шелушении масляной краски следует окрашивать всю поверхность новым составом.

Перед окраской необходимо удалить старую окрасочную пленку с поврежденных мест, восстановить в этих местах шпаклевку, после этого выполнить грунтовку, шлифовку с прошлифовкой краев старой пленки.

12.6.25. При загрязнении поверхности, окрашенной масляной краской, должна производиться сплошная новая окраска после промывки поверхности мыльной водой, скипидаром или керосином в зависимости от степени ее загрязнения.

12.6.26. Поверхности металлоконструкций (фермы, колонны и пр.), подлежащие окраске, следует очищать от старой краски, ржавчины, грязи с помощью металлических щеток, пескоструйных аппаратов или специальных паст.

При невыполнении требований по тщательной очистке металлоконструкций окраска, особенно произведенная по толстому слою ржавчины, не будет защищать металл от разрушения. Разрушится и сама нанесенная масляная пленка.

12.6.27. Изъяны на металлоконструкциях необходимо подмазывать суриковой шпаклевкой, приготовленной на натуральной олифе с добавлением железного сурика. Шпаклевку и шлифовку поверхностей металлоконструкций следует производить только в случаях необходимости при высококачественной окраске.

12.6.28. Приборы и трубы санитарно-технических устройств при ремонте помещений бывают забрызганы штукатурным раствором, известковой или другими водными красками. Брызги водных красок усиливают ржавление. Тщательная очистка в таких случаях перед окраской обязательна.

12.6.29. С кровель из кровельной стали необходимо счищать всю старую, отслоившуюся, непрочную краску и ржавчину стальными скребками или стальными щетками. Поверхность кровли перед окраской следует очистить от мусора, пыли и проолифить. Очистка кровли от ржавчины и пыли должна быть произведена непосредственно перед окраской. Заблаговременная очистка кровель запрещается. Чем лучше произведена очистка, тем прочнее будет держаться новая краска.

12.6.30. При ремонте кровель из кровельной стали задиры, трещины, гребни и фальцы при неплотности в них должны промазываться перед окраской суриковой замазкой.

12.6.31. Поверхности под окраску эмалевыми красками и лаками следует подготавливать так же, как под масляные, грунтовку производить теми же составами, что и окраску, но несколько разбавленными растворителями.

12.6.32. В зимнее и осеннее время года сквозняк в окрашенных помещениях не допускается до полного высыхания краски.

12.6.33. Окраску масляными составами следует производить с помощью пистолетов-распылителей или меховых валиков. Вручную можно отделывать только небольшие поверхности.

12.6.34. Масляную краску необходимо наносить два-три раза возможно более тонким слоем. При окраске толстым слоем образуется пленка, которая морщится и растрескивается.

12.6.35. При окраске стеновых панелей масляной, а верхних частей стен клеевой краской филенку следует наносить клеевым составом и по клеевой поверхности, немного перекрывая панель.

Масляной краской филенки следует наносить, когда обе части стены окрашены масляными составами.

12.6.36. Металлоконструкции следует окрашивать только по совершенно сухим и предварительно очищенным поверхностям.

12.6.37. Окраска металла водными составами (известковым, казеиновым, клеевым и пр.) запрещается.

12.6.38. Столярные изделия должны окрашиваться масляными составами или различными эмалями.

Дощатые полы следует окрашивать масляной краской. Окраска пола должна быть ровной, одноцветной, без впадин и вздутий слоя краски.

12.6.39. Кровли окрашиваются масляной краской механическим путем. Вручную разрешается окрашивать лишь водосточные трубы, кровельные покрытия поясков и других архитектурных деталей на фасаде, а также прочие мелкие поверхности, механическую окраску которых производить трудно.

12.6.40. На поверхность кровли краску следует наносить два раза тонким ровным слоем. Второй слой краски наносится только после полной просушки первого слоя (через 2 - 3 сут).

12.6.41. Приборы и трубы санитарно-технических устройств следует окрашивать масляными, эмалевыми и асфальтобитумными красками и лаками.

12.6.42. Внутренние водопроводные трубы, водяные баки, смывные бачки и другие приборы санитарной техники перед окрашиванием следует отключать.

12.6.43. Металлические, стальные и чугунные трубы, подвергающиеся значительному нагреву, необходимо окрашивать печным лаком или жаростойкими эмалями и красками.

12.6.44. На поверхности из листов сухой штукатурки колер следует наносить пистолетами-распылителями (на стены) и краскопультами (на потолки).

12.6.45. Оклеивать обоями непосредственно по поверхности сухой штукатурки следует после заделки швов шпаклевкой и заклейки их полосками марли.

12.6.46. Окрашивать или оклеивать обоями поверхности из листов сухой штукатурки разрешается только через 1 - 2 сут после нахождения их в условиях нормальной температуры и влажности.

12.6.47. Приемку выполненных малярных работ необходимо производить после высыхания водных красок и образования прочной пленки на поверхностях, окрашенных лаками, эмалями или масляными красками.

12.7. Облицовочные работы

12.7.1. Облицовка плитками производится по бетонным, кирпичным и деревянным основаниям.

В помещениях с повышенным содержанием влаги основание под облицовку должно иметь гидроизоляционную прослойку из рулонного материала или асфальта.

12.7.2. Кирпичные, бетонные и оштукатуренные поверхности стен следует очищать от наплывов раствора, грязи, жировых пятен стальными щетками, промывать чистой водой или обдувать сжатым воздухом.

12.7.3. Отдельные неровности высотой более 15 мм и общее отклонение облицовываемой поверхности от вертикали, превышающее 15 мм, необходимо выправлять нанесением цементного раствора.

12.7.4. Облицовку глазурованными плитками (за исключением срочного текущего ремонта) во избежание повреждения или загрязнения плиток следует производить по окончании основных ремонтно-строительных работ.

Для обеспечения однотонного цвета швов и плиток швы при установке плиток следует оставлять пустыми, а заполнять их в зависимости от цвета плиток разбеленным или окрашенным раствором после установки всех плиток.

12.7.5. Раствор наносится на тыльную сторону плитки слоем толщиной до 18 мм с таким расчетом, чтобы толщина прослойки из раствора под установленными на место и прижатыми плитками была не менее 7 мм и не более 15 мм.

Для облицовки стен применяется цементный раствор (цемент марки 400 - песок) составом 1:3, а потолков - составом 1:2.

Для уменьшения усадки в растворы следует добавлять пластификаторы (мылонафт - 1 - 2 кг или отход соапстока 2 - 3 кг на 1 м3 раствора).

12.7.6. Облицовка плитками стен, столбов и перегородок выполняется по маякам (маркам), а также по уровню в горизонтальном и по отвесу в вертикальном направлениях. Разметка плиток должна начинаться от лицевых граней проемов или внутренних углов.

На подготовленной поверхности стены следует наметить горизонтальные ряды укладки плиток. Если целое число плиток (по высоте) не укладывается, то нижний ряд выполняется из неполномерных плиток. Плитки первого ряда укладываются от середины стены влево и вправо.

12.7.7. Вертикальность кладки плиток и ровность поверхности облицовки следует проверять правилом, уровнем или рейкой. При проверке плоскостей рейкой длиной 2 м просвет между рейкой и облицовкой должен быть не более 2 мм. Швы между плитками не должны отклоняться от прямой линии более чем 1 мм на 1 м. Ширина швов должна быть не более 3 мм.

12.7.8. При облицовке стен в помещениях с уже настланными полами первый ряд должен устанавливаться на готовый пол или на плинтусный ряд, если он был уложен при настиле полов.

12.7.9. Плитки тыльной стороной должны плотно прилегать к прослойке из раствора и иметь с ней прочное сцепление. Пустоты под плитками не допускаются. Для облицовки или ремонта облицованной поверхности следует подбирать целые плитки, применяя неполномерные в угловых рядах.

12.7.10. Глазурованные плитки перед употреблением с тыльной стороны необходимо смачивать влажной тряпкой, чтобы они не вытягивали влагу из раствора. Непосредственно перед установкой плиток на место следует очистить подлежащие облицовке поверхности от пыли ветошью или обдуть струей сжатого воздуха, после чего их увлажнить.

12.7.11. Деревянные поверхности стен, предназначенные под облицовку плитами, предварительно необходимо оштукатурить цементным раствором слоем не менее 15 мм по металлической сетке с прокладкой толя или рубероида. Между металлической сеткой и облицовываемой конструкцией следует оставлять зазор не менее 20 мм. На металлическую сетку для лучшего сцепления с ней раствор наносится намазыванием, а не набрасыванием.

12.7.12. При ремонте все поврежденные и слабо держащиеся плитки удаляются вырубкой. Плитку следует вырубать от ее центра к краям зубилом или скарпелем. Все целые и пригодные плитки сохраняются для повторного потребления.

12.7.13. При ремонте отдельных участков облицовки с отслоившимися или поврежденными плитками (выколы, трещины, дефекты лицевой стороны) поверхность после удаления плиток очищается от старого раствора с тщательной промывкой, а по кирпичным и бетонным поверхностям производится насечка. При замене истертых и поврежденных плиток следует сохранять рисунок облицовки.

Треснувшие плитки необходимо выкалывать вместе с раствором и заменять новыми после тщательной очистки основания.

12.7.14. При ремонте и замене отдельных плиток незначительные повреждения глазури (до 10 мм2) разрешается закрашивать эмалевыми красками соответствующего цвета.

По окончании облицовочных работ с поверхности плиток следует удалить следы раствора, для чего протереть облицованную поверхность влажной ветошью.

Приложение 1

ТОРКРЕТИРОВАНИЕ ПОВЕРХНОСТЕЙ

1. Указания по производству торкретирования поверхностей

Торкретированием называется работа по нанесению механическим путем торкрет-масс на различного рода поверхности (бетонные, каменные, кирпичные и металлические) с помощью торкретной установки.

Потребность в нанесении на поверхности слоя торкрет-масс возникает при выполнении гидроизоляционных работ, работ по защите конструкций от воздействия агрессивных водогазопаровоздушных сред, а также при восстановлении разрушенных поверхностей слоев бетонных конструкций, защитных слоев железобетонных конструкций, наличии в бетоне глубоких раковин, трещин со значительным раскрытием или отверстий в несущих конструкциях, ослабляющих последние, и т.д.

Механизмы, инвентарь, основные и вспомогательные материалы:

1. Установка для торкретирования должна состоять из цемент-пушки, воздухоочистителя, водяного бака, шлангов (материального и водяного), сопла и передвижного компрессора. При наличии сети централизованного воздухоснабжения установка должна быть подключена к ней при условии обеспечения в сети необходимого давления 0,4 - 0,7 МПа (4 - 7 кгс/см2).

2. Для торкретных установок применяются цемент-пушки различных типов и производительности.

3. Цемент-пушку следует располагать в пределах рациональной длины материального шланга, т.е. на расстоянии 40 - 50 м.

Передвижной компрессор должен быть расположен в зоне, не подверженной запылению.

4. Требования к химическому составу воды, применяемой при приготовлении торкрет-бетона, аналогичны требованиям, предъявляемым к воде для приготовления бетона [22]. Вода для увлажнения уложенных слоев торкрет-бетона должна удовлетворять тем же требованиям. Пригодность воды проверяется полным химическим анализом.

5. Песок, применяемый для работ по торкретированию, должен в основном соответствовать требованиям [23] к заполнителям для бетона и раствора, а также требованиям [24].

Желательно применять песок, приближающийся по зерновому составу к оптимальной смеси, рекомендуемой для бетона гидротехнических конструкций:

Размеры отверстий сит, мм

10 - 8

5

2,5

1,20 (1,25)

0,30

0,15 (0,14)

Количество песка, проходящего через сито, масс, доля

100

95 - 100

60 - 85

30 - 70

10 - 30

0 - 10

Получить смеси, близкие к оптимальным, можно путем подбора - смешиванием песков различного фракционного состава. Объемная (насыпная) масса песка должна быть не менее 1200 кг/м3. Модуль крупности песка может быть 1,8 - 2,6. Содержание в песке, применяемом для торкретных работ, пылевидных илистых и глинистых частиц, определяемое отмучиванием, не должно превышать 3 %. Допускается содержание в песке пылевидных примесей до 5 % для торкретбетона марки 150 и ниже.

Песок при обработке его раствором едкого натрия (колориметрическая проба на органические примеси) не должен придавать раствору окраску темнее цвета эталона.

В песке не должно быть комков глины и суглинка. Песок для приготовления сухой смеси должен быть просеян через сито с ячейками не более 5 мм, и иметь влажность не более 2 % - при использовании в качестве вяжущего водонепроницаемого безусадочного цемента (ВВЦ) и других быстротвердеющих цементов и не более 5 % - при использовании портландцементов.

6. Сухая смесь должна быть израсходована в течение 15 мин при использовании быстросхватывающихся цементов (начало схватывания 20 мин) и не позднее 1 ч при использовании портландцементов с нормальным временем схватывания (до 3 - 4 ч).

Сухая смесь для нанесения ее способом торкретирования приготовляется из цемента и песка перемешиванием их в растворомешалках (при больших объемах работ) или вручную на бойке. Место для приготовления сухих смесей должно быть защищено навесами от увлажнения атмосферными осадками.

Перед началом работ (не менее чем за 10 сут до начала торкретирования) назначенный состав сухой смеси должен быть уточнен лабораторией с учетом фактически заготовленных цемента, песка и требуемой удобоукладываемости торкрета. Необходимость подбора последней возникает в случае торкретирования армированных конструкций или узких щелей, трещин, малых отверстий и глубоких раковин.

Для повышения удобоукладываемости торкрета в отдельных случаях в водяной бак торкретной установки вводятся (в виде водных растворов) гидрофобные пластифицирующие добавки. Так как добавки, повышая удобоукладываемость, одновременно снижают прочность торкрет-бетона, количество их также уточняется в лаборатории одновременно с уточнением состава сухой смеси.

7. В качестве вяжущего составляющего в торкрет-бетонах применяются цементы различных марок. Употребление марок цемента для торкрет-бетона ниже 400 не рекомендуется, так как при этом может быть получена марка торкрет-бетона ниже 200. Вид цемента и марки определяются проектной или специализированной организацией в зависимости от условий эксплуатации торкрет-бетонной конструкции (с учетом температуры окружающей среды, влажности, агрессивности по отношению к цементному камню) и свойств цементов, подробно изложенных в [25].

При ремонте конструкций, подверженных попеременному увлажнению и высыханию (внутренние поверхности железобетонных башен градирен, поверхности стоек, несущих башню, и поверхности других сооружений, находящихся в подобных условиях), рекомендуется для приготовления торкрет-бетонных смесей применять безусадочные портландцементы.

Для ремонта конструкций, работающих в подводных или подземных частях сооружений в условиях сульфатной агрессии вод (поверхностных или грунтовых), рекомендуется для приготовления торкрет-бетона применять сульфатостойкий портландцемент. На электростанциях к таким конструкциям относятся подземные части фундаментов, каналы гидрозолоудалений, приямки багерных насосных, чаши градирен и пр.

8. Паспортные данные, вид и марки получаемого на месте производства торкрет-бетонных работ цемента должны соответствовать проекту или рекомендациям специализированной организации для торкретируемой конструкции. Кроме того, рекомендуется обязательная контрольная лабораторная проверка всех поступающих партий цемента на соответствие марки паспортным данным, а также для определения времени начала и конца схватывания. Такая проверка обязательна также за 10 сут до начала работ для цементов, долговременно хранившихся на месте производства работ, хотя и имеющих паспорта и результаты лабораторных испытаний на дату их поступления на склад.

Марки цементов должны определяться по результатам их испытаний в жестких растворах составом 1:3 в соответствии с действующими [26] и [27].

Подготовка поверхности

9. Поверхность перед нанесением торкрет-бетона должна быть тщательно подготовлена:

удалены значительные неровности, жировые и масляные пятна;

очищены от сажи, золы, грязи, пыли, глянцевой цементной пленки бетонные поверхности, от коррозии металлические поверхности;

произведена насечка бетонных поверхностей;

промыта и выдержана до тех пор, пока не впитается и не испарится с поверхности водяная пленка;

изъят слабый (деформированный) бетон, раствор, а также каменная или кирпичная кладка до обнаружения прочного недеформированного слоя конструкции;

обнаженная при расчистке железобетонных конструкций арматура должна быть тщательно очищена от коррозии, а значительно ослабленные стержни (более 10 % площади сечения) должны быть усилены.

10. Работы по подготовке торкретируемых поверхностей должны выполняться механизированным способом с применением пневматических и электрических ударных инструментов, гидропескоструйных аппаратов и механических проволочных щеток для выравнивания насечки и очистки поверхностей.

11. Для промывки и увлажнения очищенных поверхностей могут быть использованы цемент-пушка или агрегат, работающий по способу «пневмобетон», с подачей водовоздушной струи по водяному шлангу цемент-пушки или материальному шлангу агрегата.

Производство работ

12. Рабочее место в закрытых помещениях должно вентилироваться из расчета десятикратного воздухообмена.

13. При общей толщине торкретного слоя 20 - 25 мм торкретирование производится в два слоя: первый слой 8 - 10 мм и второй - 12 - 15 мм.

14. Второй слой торкрета следует наносить после окончания схватывания ранее уложенного слоя.

15. После нанесения второго слоя поверхность «железнят».

16. Толщина отдельных слоев торкрета проверяется в процессе нанесения стальной иглой.

17. Слой торкрета, наносимый перед перерывом в работе, должен укладываться с постепенным уменьшением толщины к границе участка на полосе шириной 1,0 - 1,5 м.

18. Торкрет в период схватывания и твердения должен быть предохранен от замораживания, высыхания и механических повреждений. Увлажнение производится в течение 7 сут.

Контроль качества и приемка работ

19. В процессе производства торкретных работ необходимо контролировать:

наличие паспортов на применяемые материалы и соответствие самих материалов ГОСТ, ТУ;

влажность (не более 2 %) и гранулометрический состав песка;

правильность дозировки и перемешивания сухой смеси (в бетономешалке обычно 3 - 4 мин);

правильность подготовки поверхности;

соблюдение требований технических правил производства работ.

20. После нанесения торкрета проверяется:

правильность ухода за торкретом;

прочность сцепления торкрета с поверхностью, определяемую его простукиванием.

21. Прочность, влагозащищенность, термостойкость и кислотостойкость должны проверяться лабораторным испытанием контрольных образцов.

22. На торкрете не должно быть усадочных трещин, местных вздутий и отслаиваний.

При приемке работ представляются следующие документы:

журнал торкретных работ;

результаты лабораторных испытаний образцов торкрета;

паспорта на цемент и другие составляющие материалы.

Техника безопасности и охрана труда

23. Весь персонал, выполняющий торкретирование, должен быть проинструктирован в соответствии с действующими правилами производства работ и техники безопасности, а также хорошо знать правила эксплуатации цемент-пушки.

24. Цемент-пушка, воздухоочиститель и водяной бак должны быть проверены органами Госгортехнадзора России.

25. По торкрет-установке должна вестись техническая документация.

26. Аппараты, работающие под давлением сжатого воздуха, должны быть снабжены исправными манометрами и предохранительными клапанами.

27. Шланги в местах присоединения должны крепиться хомутами на болтах и располагаться так, чтобы не мешать движению транспорта и не подвергаться повреждениям.

28. Производить работы при неисправном состоянии отдельных механизмов, а также исправлять дефекты во время работы торкрет-установки запрещается. При неполадках в работе цемент-пушки допускается производить необходимые исправления только после прекращения подачи сжатого воздуха к торкрет-установке.

29. При остановке цемент-пушки сопловщик во избежание затекания воды в материальный шланг должен держать сопло наконечником вниз.

30. Перед прочисткой шлангов сжатым воздухом они должны быть отведены в сторону от людей и надежно закреплены.

31. При торкретировании должна быть обеспечена бесперебойная работа вытяжной вентиляции.

32. Находящееся под напряжением оборудование должно быть заземлено.

33. Осветительные приборы должны быть установлены на инвентарных подставках. Подводка к ним электроэнергии осуществляется специальным кабелем.

Все работы по подводке электроэнергии и перемещению электрооборудования производятся электромонтером, знающим правила безопасности при устройстве, эксплуатации, ремонте и демонтаже электрооборудования.

34. Постоянные и передвижные подмости, с которых производится торкретирование, должны быть прочными, со сплошным дощатым настилом, ограждениями и лестницами с перилами к верхним ярусам.

35. На рабочем месте должны быть вывешены инструкции и плакаты по технике безопасности.

36. Лица, производящие торкретирование, должны работать в защитных очках и респираторах.

2. Указания по производству торкретных работ прямоточным диафрагмовым растворонасосом системы инж. Марчукова по способу «пневмобетон»

Производство работ

1. Торкретирование по способу «пневмобетон» называется транспортирование по трубопроводу (шлангу) готового цементно-песчаного бетона во взвешенном состоянии в смеси с сжатым воздухом и его нанесение на поверхность. Эта работа осуществляется специальным агрегатом, в состав которого вместо цемент-пушки входит прямоточный диафрагмовый растворонасос со смесительной камерой.

2. Нанесенный способом «пневмобетон» на бетонные или железобетонные поверхности слой цементно-песчаного бетона имеет большое сходство со слоем торкрет-бетона по равноценности качества защитного слоя при соблюдении одинакового водоцементного отношения и при применении одинаковых материалов (цемент, песок, вода).

3. Качество торкрета, нанесенного по способу «пневмобетон», зависит от состава смеси, марки цемента, качества песка, водоцементного отношения, скорости истечения бетоновоздушной смеси из сопла, а также от условий его последующего твердения.

4. Раствор при способе «пневмобетон» следует приготовлять в общих растворомешалках, производительность которых должна соответствовать подаче растворонасоса, с тем, чтобы была обеспечена непрерывность работы последнего. При использовании растворонасосов номинальной подачей 3 м3/ч песчаный бетон должен приготовляться в растворомешалках объемом 80 л.

5. При составе цементно-песчаного бетона 1:2,5 для достижения подвижности бетона в пределах 8 см при содержании воды в бетоне не более 11 % ее расход для затворения должен составлять 290 - 300 л на 1 м3 бетона. При этом условии качество воды в уложенном песчаном бетоне с учетом потери влаги за счет ее уноса сжатым воздухом будет таким же, как в торкрет-бетоне.

6. Продолжительность перемешивания бетонной смеси в растворомешалке - не менее 3 мин.

7. Бетон должен быть использован по назначению не позднее 30 мин после его приготовления.

8. Установка для нанесения торкрета по способу «пневмобетон» состоит из прямоточного диафрагмового растворонасоса, смесительной камеры, шлангов, сопла, вибросита с подставкой, бункера и компрессора.

9. Сжатый воздух подводится от компрессора к смесительной камере при растворонасосах подачей 3 и 6 м3/ч двумя шлангами диаметром соответственно 25 и 38 мм.

10. Материальный шланг должен иметь диаметр 50 мм при диаметре сопла 18 - 20 мм; при использовании растворонасоса подачей 6 м3/ч нанесение пневмобетона производится двумя шлангами того же диаметра.

11. Давление сжатого воздуха в материальном шланге должно быть таким, при котором происходит выпадение бетона из бетоновоздушной смеси в процессе ее движения по шлангу и создается ровное истечение этой смеси из сопла. При недостатке сжатого воздуха происходит выпадение бетона из смеси, образование бетонных пробок в шланге и их выхлоп из сопла, чего допускать нельзя.

Недопустима также сильная пульсация «факела». Давление сжатого воздуха в начале шланга (в смесительной камере) должно составлять 0,35 - 0,4 МПа (3,5 - 4 кгс/см2) при длине материального шланга до 40 м и 0,6 - 0,7 МПа (6 - 7 кгс/см2) при длине его до 70 м. Такое давление обеспечивает необходимую скорость вылета смеси из сопла (80 - 90 м/с) при скорости передвижения смеси в шланге 15 м/с. При недостатке сжатого воздуха и невозможности увеличения его расхода необходимо уменьшить до возможного предела подачу растворонасоса или приблизить агрегат к месту обрабатываемой поверхности. Если не получается ровного истечения бетоновоздушной смеси из сопла, компрессор заменяется более мощным.

12. Торкретные работы по способу «пневмобетон» должны выполняться бригадой рабочих под наблюдением мастера. Рабочие и технический персонал должны быть обучены обращению с агрегатом и способу нанесения торкрета.

Техника безопасности и охрана труда

13. На прямоточный растворонасос и комплекс оборудования должен быть заводской паспорт, в котором отражены данные о результатах контрольной опрессовки давлением рабочей камеры, коробки нагнетательного клапана и смесительной камеры.

Контрольная опрессовка указанного оборудования должна производиться один раз в 6 мес давлением 2 МПа (20 кгс/см2) с составлением акта, который хранится у главного механика строительного объекта вместе с паспортом растворонасоса.

14. Растворонасос должен иметь исправный предохранительный клапан, отрегулированный по манометру на максимальное давление в камере промежуточной жидкости 1,2 МПа (12 кгс/см2).

15. Перед началом работы на новом объекте растворонасос и материальный шланг должны быть спрессованы давлением 1,2 МПа (12 кгс/см2).

16. У компрессора манометры I и II ступени сжатия должны быть исправны. Выполнение этого требования обязательно, поскольку растворонасос при этой схеме использования не имеет манометра, а давление в смесительной камере определяется давлением в ресивере компрессора и контролируется по манометру II ступени.

17. Шланги в местах присоединения крепятся на болтах специальными фланцево-клиновыми соединениями, поставляемыми заводом-изготовителем прямоточного растворонасоса или же изготовленными на месте по заводскому образцу. Размеры деталей фланцевого соединения должны соответствовать диаметру и толщине шлангов.

18. Производить работы на неисправной установке, а также исправлять дефекты во время ее работы запрещается. При возникновении неисправностей в работе клапанной коробки, нагнетательного клапана, рабочей камеры, смесительной камеры, материального шланга, воздушных шлангов и сопла их устранение может быть произведено только после прекращения подачи сжатого воздуха в смесительную камеру и полного сброса имевшегося добавочного давления на всем участке от всасывающего клапана до сопла. В этом моторист должен убедиться лично.

19. Не разрешается подтягивать болты, грундбуксу сальника во время работы растворонасоса.

20. При прорыве сжатого воздуха в рабочую камеру из смесительной камеры вследствие неисправности нагнетательного клапана запрещается отжимать шар этого клапана от гнезда любым способом.

21. При увеличении давления сжатого воздуха в ресивере компрессора сверх нормального, на что указывает выход воздуха через предохранительный клапан, работу растворонасоса следует немедленно прекратить, после чего сбросить полностью давление в системе и выявить причины повышения давления в материальном шланге.

22. Воздушные шланги в местах присоединения к ресиверу и смесительным камерам должны крепиться хомутами на болтах. Расположение шлангов не должно мешать движению транспорта и быть ограждено от повреждений.

23. При торкретировании в помещении должна быть обеспечена бесперебойная работа вытяжной вентиляции.

24. Находящееся под напряжением оборудование должно быть заземлено.

25. Осветительные приборы должны быть установлены на инвентарных подставках. Подводка к ним электроэнергии осуществляется специальным кабелем. Все работы по подводке электроэнергии и по перемещению электрооборудования должны проводиться электромонтером.

26. Постоянные и передвижные подмости, с которых производится торкретирование, должны быть прочными, со сплошным дощатым настилом, ограждениями и лестницами с перилами с верхним ярусом.

27. На рабочем месте должны быть вывешены инструкции и плакаты по технике безопасности.

28. Лица, производящие торкретирование, должны работать в защитных очках и респираторах.

3. Методика испытания контрольных образцов торкрета

1. Предлагаемый состав для торкретирования поверхностей ремонтируемых конструкций следует предварительно испытать на контрольных образцах.

2. Контрольные образцы изготовляются торкретированием в формах.

Форма для изготовления образца на влагозащищенность представляет собой стальное кольцо с наклонными стенками (усеченный конус), имеющими следующие размеры: высота - 3 см, наибольший диаметр - 8 см, внешний диаметр - 11,8 см. Форма для испытания торкрета на прочность имеет размеры 3´3´3 см.

Формы изнутри должны быть тщательно смазаны и заполнены торкретом при их расположении на вертикальной поверхности. После заполнения формы должны быть тщательно очищены от приставшего к внешним стенкам торкрета. Затирать, срезать или заглаживать лицевую поверхность торкрета запрещается. Формы образцов на влагозащищенность заполняются со стороны меньшего диаметра. Форма должна сниматься с вертикальной поверхности не ранее чем через 2 ч после изготовления образца.

3. Образцы торкрета в формах должны храниться на месте производства работ, увлажняться одновременно с торкретом и через 2 сут отправляться в лабораторию.

4. Образцы торкрета размером 3´3´3 см должны быть подвергнуты испытанию на сжатие через 3 и 28 сут с момента изготовления (по три образца на каждый срок испытания).

5. Образцы торкрета в виде дисков (вместе с остальными кольцами) должны быть испытаны на влагозащищенность через 3 и 28 сут с момента изготовления.

Испытание образцов торкрета на прочность при сжатии и на влагозащищенность.

6. Определение предела прочности при сжатии контрольных образцов размером 3´3´3 см производится на прессах мощностью не более 15 кН.

7. Прочность образцов, изготовленных из цементно-песчаных растворов, должна быть не ниже прочности, установленной для влагозащищенного цемента.

8. Определение влагозащищенности торкрет-бетона производится гидравлическим давлением на приборе с вертикальным расположением фланцев. Для этого образец осторожно зажимается между фланцами прибора и подвергается гидравлическому давлению 0,2 МПа (2 кгс/см2), которое затем равномерно в три приема повышается до 0,5 МПа (5 кгс/см2).

9. Образец считается выдержавшим испытание, если после доведения давления до 0,5 МПа (5 кгс/см2) в течение 24 ч не обнаружится фильтрация на поверхности образца.

Приложение 2

ОРИЕНТИРОВОЧНЫЕ РЕЦЕПТУРЫ РЕМОНТНЫХ ПОЛИМЕРНЫХ СОСТАВОВ (МАСС. ДОЛИ НА 100 МАСС. ДОЛЕЙ СМОЛЫ)

Компонент

Вид состава

Ненаполненные полимерные

Окрасочные

Полимермастики

Полимеррастворы

Полимербетоны

Оклеенные герметики (изоляция)

Эпоксидная смола

100

100

100

100

100

100

Отвердитель

8 - 25

8 - 25

8 - 25

8 - 25

8 - 25

8 - 25

Пластификатор

10 - 50

10 - 50

10 - 50

10 - 50

10 - 50

10 - 50

Растворитель

0 - 30

10 - 30

0 - 10

-

-

0 - 10

Крупный заполнитель

-

-

-

-

300 - 700

-

Мелкий заполнитель

-

-

-

150 - 250

300 - 500

-

Микропорошок

-

0 - 30

50 - 150

50 - 100

50 - 150

0 - 30

Различные добавки

1 - 7

1 - 5

1 - 7

1 - 10

1 - 10

1 - 7

Армирующий материал (стеклоткань)

-

-

-

-

-

0,5 м2 на 1 м погонной длины

Приложение 3

ФИЗИКО-МЕХАНИЧЕСКИЕ И ТЕХНОЛОГИЧЕСКИЕ СВОЙСТВА РЕМОНТНЫХ ПОЛИМЕРНЫХ СОСТАВОВ

Свойства

Вид состава

Ненаполненные полимерные составы (адгезионные обмазки, клеи, инъекционные составы)

Окрасочные полимерные составы

Полимермастики

Полимеррастворы

Полимербетоны

Оклеечные герметики (изоляция)

Прочность при кратковременном нагружении, МПа:

 

 

 

 

 

 

при сжатии

40 - 60

 

40 - 60

60 - 80

100 - 130

 

при изгибе

30 - 35

 

20 - 30

20 - 25

30 - 35

 

при растяжении

10 - 15

 

10 - 15

10 - 20

10 - 12

100 - 120

Ударная прочность, кг см

30 - 40

50

50 - 70

80 - 100

120 - 150

 

Относительное удлинение, %

2 - 10

1,3 - 3,3

0 - 1,0

0 - 0,1

0,06

До 130

Модуль упругости при сжатии, МПа

(1 - 1,5) 10-3

 

(1,5 - 2) 10-4

(2 - 4) 10-4

(3 - 5) 10-4

 

Прочность сцепления к цементному бетону (адгезия), МПа:

 

 

 

 

 

 

разрыв

2 - 2,5

1,5 - 2

Выше прочности бетона

Выше прочности бетона

Выше прочности бетона

2 - 2,5

срез

1 - 3

 

 

 

 

 

Коэффициент водостойкости

0,75 - 0,8

0,75

0,80

0,80

0,85

 

Морозостойкость, циклы

150 - 300

200 - 300

300 - 400

500

500

300 - 400

Коэффициент линейного температурного расширения, град-1

(50 - 100) 10-6

 

(40 - 80) 10-6

(30 - 40) 10-6

(12 - 20) 10-6

 

Химическая стойкость:

 

 

 

 

 

 

в кислотах

Высокая

Высокая

Высокая

Высокая

Высокая

Высокая

в щелочах

 

 

 

 

 

 

Линейная усадка, %

1,5

1,0

0,7 - 1,5

0,5 - 1,0

0,25

 

Вязкость (условная) по ВЗ-4, с

30 - 60

До 100

До 300

 

 

 

Технологическая жизнеспособность, ч

3 - 5

3 - 4

2 - 3

1,5 - 2,0

0,5 - 1,0

2,0 - 2,5

Водонепроницаемость, м

 

 

 

 

 

 

на прижим

 

 

 

 

 

30

на отрыв

 

 

 

 

 

5

Приложение 4

УКАЗАНИЯ ПО УСИЛЕНИЮ МЕТАЛЛИЧЕСКИХ ФЕРМ ПОД НАГРУЗКОЙ

1. Работы по усилению ферм должны выполняться после проведения всех предварительных мероприятий в соответствии со специально разработанным проектом по усилению конструкций, проектом организации работ, технологическими картами на выполнение сварочных работ и [8].

2. Все сварочные работы при усилении должны проводиться под руководством лица, имеющего специальную техническую подготовку.

К выполнению сварочных работ при усилении ферм допускаются высококвалифицированные сварщики (не ниже 5-го разряда), изучившие технологические карты на сварочные работы, прошедшие предварительный инструктаж; и практические занятия по усилению конструкций.

3. Места под сварку на элементах должны быть очищены от краски, ржавчины, окалины, масла, влаги, снега и грязи до чистого металла.

4. Запрещается сборка элементов усиления на прихватках электросваркой к существующим конструкциям.

5. Сварка элементов усиления должна производиться после проверки правильности их сборки. При наложении новых швов не должны создаваться условия для появления трещин в фасонных элементах стержней. В частности, сваривать рекомендуется так, чтобы не возникали значительные сварочные напряжения. Не следует допускать пересечения сварных швов и пересечения поперечным швом места соединения основного элемента с деталью усиления; надо избегать замкнутых контуров при наложении сварных швов.

6. При усилении стержней фермы каждый последующий шов, соединяющий элемент усиления с основным элементом, должен накладываться после остывания предыдущего шва.

7. При производстве работ не допускаются удары по конструкциям. Установка элементов усиления должна производиться без насильственной подгонки.

8. Контроль за качеством сварки во всех случаях осуществляется наружным осмотром - при сдаче под сварку мест сварки после их очистки от пыли, грязи, ржавчины, в процессе сварки и после ее окончания.

9. После усиления ферм и их приемки новые элементы, сварные швы и прилегающие к ним участки существующей конструкции должны быть очищены, огрунтованы и окрашены.

10. В процессе работ, связанных с усилением конструкций, должен вестись журнал, в котором приводятся данные о выполненных работах и указываются клейма сварщиков, производящих эти работы.

11. По окончании работ по усилению ферм должны составляться приемно-сдаточные акты, к которым прилагается паспорт на усиленную конструкцию, вручаемый заказчику. В паспорте, наряду с технологическими данными, указываются требования, которые необходимо соблюдать при эксплуатации.

Приложение 5

АНТИКОРРОЗИОННАЯ ЗАЩИТА ЭЛЕМЕНТОВ СТАЛЬНЫХ КОНСТРУКЦИЙ ПРИ ИХ УСИЛЕНИИ

1. Комплекс мероприятий по защите стальных конструкций от коррозии

1.1. Своевременная защита стальных конструкций от коррозии в процессе эксплуатации - одно из главных условий долговечности и надежности сооружений.

Успешное решение этой проблемы должно базироваться на комплексе мероприятий, основными из которых являются:

снижение агрессивности эксплуатационной среды (общестанционной и внутрицеховой атмосферы);

выбор рациональной конструктивной формы и коррозионно-стойкого материала элементов - низколегированных сталей и легких сплавов;

выбор оптимальных типов защитных покрытий, определение способа и средств их нанесения.

1.2. Оценка состояния противокоррозионной защиты производится в соответствии с [28]. При оценке состояния защиты отмечаются причины коррозионного износа по площади поверхности элемента (в процентах общей площади) и по толщине (мм) элемента.

1.3. В случае обнаружения дефектов и повреждений противокоррозионных покрытий на 10 % поверхности элементов составляется акт о необходимости ремонтных работ на данном участке.

1.4. Нанесение системы противокоррозионной защиты на конструкции должно производиться через 12 ч после подготовки поверхности в помещениях и через 3 ч - на открытом воздухе при благоприятных условиях.

1.5. Противокоррозионные работы следует производить при температуре окружающего воздуха и конструкций не ниже + 5 °С; проведение этих работ при отрицательной температуре допускается с применением материалов и методов производства работ, обеспечивающих надлежащее качество противокоррозионной защиты.

2. Выбор материалов для защиты

2.1. Выбор материалов, конструктивной формы элементов и защитных покрытий металлических конструкций производственных зданий производить в соответствии с требованиями [6] и [29].

2.2. Агрессивность окружающей среды служит критерием, в зависимости от которого следует выбирать материал конструкций, конструктивную форму элементов и оптимальные виды защитных покрытий.

2.3. Стоимость конструкции во многом зависит от материала, из которого она изготовлена. Коррозионная стойкость сталей возрастает при введении в сплав незначительных количеств легирующих элементов.

Под действием термической обработки в некоторых средах также повышается коррозионная стойкость среднеуглеродистых и низколегированных сталей. Потери от коррозии последних несколько меньше.

Необходимо соблюдать требования [6] по предотвращению коррозии при контакте с разнородными материалами конструкций в средах с агрессивным воздействием.

2.4. В уменьшении скорости коррозии элементов существенную роль играет конструктивная форма сечения. Наиболее устойчивые к коррозии формы сечения - круглые и замкнутые профили.

2.5. Способы защиты от коррозии конструкций в зависимости от назначения последних приведены в [6].

2.6. Защитные покрытия должны иметь хорошую адгезию к защищаемой поверхности, быть непроницаемыми к средам, окружающим защищаемые элементы, и обладать стойкостью и долговечностью в эксплуатационных условиях.

2.7. По виду материалов защитные покрытия для строительных металлоконструкций могут быть классифицированы как лакокрасочные, металлические и комбинированные (металлизационно-лакокрасочные). Лакокрасочные покрытия в зависимости от вида пигмента обеспечивают барьерную, комбинированную или протекторную (электрохимическую) защиту стали.

Цинковые защитные покрытия стальных конструкций обеспечивают как протекторную, так и барьерную защиту от коррозии.

2.8. Толщину металлизационного подслоя и лакокрасочного слоя можно легко регулировать, поэтому комбинированные покрытия рекомендуются для сред с повышенной степенью агрессивного воздействия.

Преимущество металлизационно-лакокрасочного покрытия в том, что повышается адгезия и долговечность защищаемых конструкций.

2.9. Места вынужденных вскрытий защитных покрытий должны быть заделаны покрытиями того же вида.

3. Подготовка поверхности

3.1. Подготовка поверхности под покрытие является одной из наиболее ответственных операций при производстве окрасочных работ и должна выполняться под тщательным контролем.

Перед нанесением грунтовки состояние поверхности должно проверяться ответственным лицом и отмечаться в акте скрытых работ.

3.2. Очистка поверхностей металлоконструкций от ржавчины, окалины и загрязнений должна быть произведена в основном механическими способами после предварительного удаления жировых загрязнений растворителем - бензином, уайт-спиритом.

3.3. Выбор механического способа очистки поверхности и соответствующего оборудования и инструмента осуществляется с учетом следующих факторов:

типа поверхности и требуемого качества обработки;

наличия вида продуктов коррозии, степени загрязненности и коррозионного поражения очищаемой поверхности;

размеров и конфигурации обрабатываемой поверхности;

объема и сроков выполнения работ;

максимального ограничения применения ручного труда;

условия производства работ и техники безопасности.

3.4. Применяются следующие основные методы подготовки поверхности конструкций, покрытой продуктами коррозии (окалиной или ржавчиной), независимо от степени окисленности и зажиренности поверхности по [29]:

а) очистка ручными щетками и скребками. Допускается для конструкций, предназначенных для эксплуатации в неагрессивных средах;

б) химическая очистка стальных конструкций от ржавчины. Производится специальными травильными пастами, которые наносятся с помощью пастопульта или шпателем (слоем 3 - 5 мм) в зависимости от толщины слоя ржавчины. Время выдержки 6 - 12 ч. Затем обработанные пастой поверхности тщательно промываются водой (под напором) или кистями, поверхность нейтрализуется 3 %-ным раствором кальцинированной соды или тринатрийфосфата. Перед нанесением защитных покрытий поверхность должна быть высушена. Марки травильных паст представлены в [30]. Фосфатирующие пасты наносятся на поверхность кистью и выдерживаются в течение 30 мин. Затем пасты должны тщательно смываться горячей водой, а поверхность обрабатываться пассивирующим раствором хромпика (0,3 %);

в) термический способ очистки поверхности стальных конструкций. Следует применять в тех случаях, когда требуется удалить с поверхности окалину, слоистую ржавчину, старую краску и различные загрязнения. Сущность термической очистки заключается в быстром интенсивном нагреве очищенной поверхности, предупреждающем отвод тепла внутрь металла за счет теплопроводности, при котором окалина растрескивается и отслаивается от поверхности металла вследствие разности их теплоемкостей и коэффициентов линейного и объемного расширения; ржавчина обезвоживается в результате удаления из нее химически связанной влаги и превращается в мелкий черный порошок, а краска сгорает. Оставшиеся рыхлая окалина и ржавчина легко удаляются проволочными щетками или скребками.

Термическая очистка ведется посредством газопламенных горелок, работающих на кислородно-ацетиленовой или кислородно-пропанбутановой смеси.

Термической очистке обычно подвергаются конструкции толщиной не менее 5 - 6 мм, они очищаются с помощью специальных приспособлений или с сопутствующим охлаждением;

г) очистка поверхностей с помощью механического инструмента: электрических и пневматических шлифовальных машин, молотков, иглофрез. Производится преимущественно при малых объемах работ или при обработке труднодоступных участков поверхностей;

д) механическая очистка:

песко-дробеструйный способ применяется в тех случаях, когда требуется очищать поверхность от ржавчины, окалины, старой краски. Этим способом очищаются поверхности любой конфигурации и размеров. Сущность этого процесса состоит в том, что струя песка, взвешенного в сжатом воздухе при давлении 0,4 - 0,6 МПа (4 - 6 кгс/см2), направляется с большой скоростью через специальное сопло на обрабатываемую поверхность и очищает ее. При песко-дробеструйной обработке применяются следующие виды абразивного материала: кварцевый песок, металлический песок, металлическая дробь. Очистка с применением металлического песка наиболее эффективна;

гидропескоструйная очистка применяется для обработки поверхности конструкции любой площади и конфигурации с целью очистки ее от загрязнений и продуктов коррозии при невозможности применения пескоструйной обработки. Сущность способа заключается в том, что кварцевый песок, поступающий в сопло под давлением из пескоструйного аппарата, увлажняется водой. В воду следует вводить ингибиторы коррозии (1 % по массе кальцинированной соды);

гидропароструйная и гидроструйная обработка применяются для удаления с поверхности масла, нефти, пыли, загрязнений. Сущность гидропароструйной обработки заключается в том, что струя, содержащая кипящую жидкость (щелочной раствор) и пар, подается на обрабатываемую поверхность под давлением. Эффективность способов обработки поверхности повышается при применении водных составов, содержащих химические добавки, способствующие быстрому разрушению налетов и загрязнений на обрабатываемой поверхности.

Для удаления старых масляных красок используются щелочные растворы, которые наносятся ватным тампоном. Для очистки поверхностей от трудноудалимых покрытий (эпоксидных, синтетических и др.) применяются специальные смывки.

3.5. Контроль за качеством подготовки поверхности производится сравнением подготовленной поверхности с образцами-эталонами. Шероховатость поверхности перед нанесением лакокрасочных покрытий должна составлять 1 - 10 мк.

Полное удаление продуктов коррозии почти в пять раз увеличивает срок службы лакокрасочных покрытий.

4. Защитные покрытия

По виду материалов защитные покрытия для металлических конструкций могут быть классифицированы как лакокрасочные, металлизационные и комбинированные.

4.1. Лакокрасочные покрытия

Защита лакокрасочными материалами требует наибольших затрат в силу необходимости частого восстановления покрытия. Тем не менее, эти покрытия применяются широко, в первую очередь благодаря низким первоначальным затратам.

Лакокрасочное покрытие состоит из грунтовки и покровных слоев. Состав грунтовки определяется материалом защищаемой поверхности (сталь, оцинкованная сталь, алюминиевые сплавы) и качеством подготовки поверхности с учетом степени агрессивного воздействия среды.

Покровные слои обеспечивают барьерную защиту и непроницаемость всей системы покрытия для внешней среды. При выборе грунтовок и покровных слоев должна быть предусмотрена адгезия между покровными материалами и данной грунтовкой.

Лакокрасочные покрытия наносятся пневматическим или безвоздушным распылением, струйным обливом, окунанием кистью.

При выборе материалов лакокрасочных покрытий должны учитываться: качество подготовки поверхности конструкций для покрытия лакокрасочным материалом, способность к адгезии грунтовок к металлу или к защитным покрытиям, совместимость грунтовок и эмалей, составляющих систему покрытий [6].

4.2. Металлизационные покрытия

Преимущества таких покрытий следующие:

можно получать практически любую заданную толщину покрытия, поэтому особенно целесообразно применять металлизационное покрытие как подслой под лакокрасочное покрытие для конструкций, эксплуатируемых в средне- или сильноагрессивных средах;

покрытия можно наносить до и после монтажа на конструкции любых габаритов;

легко получать металлизационное покрытие заданного состава.

Процесс металлизации заключается в распылении расплавленного металла по очищенной от окислов поверхности проката или конструкций.

Нанесение металлизационных покрытий производится посредством специальной аппаратуры, которая по способу плавления металла делится на газопламенную и газоэлектрическую.

4.3. Комбинированные покрытия

В целях увеличения срока службы покрытий из металлоконструкций применяются комбинированные покрытия, первым слоем которых является покрытие из цинка или алюминия.

Характерной особенностью комбинированного покрытия является наличие в нем молекулярного контакта между катодным покрытием и основой, а также высокая адгезия полимерного материала с металлизационным слоем вследствие его пористости.

Пропитка металлизационного слоя лакокрасочным материалом производится по возможности сразу после металлизации без какой-либо подготовки поверхности. В случае загрязнения металлизационного покрытия нанесению лакокрасочного материала должно предшествовать удаление загрязнений протиркой ветошью, смоченной бензином или уайт-спиритом.

Пропитка металлизационного покрытия лакокрасочным материалом производится пневматическим распылением.

5. Метод окраски по неочищенной поверхности

5.1. Метод окраски по неочищенной поверхности допускается при незначительной толщине слоя ржавчины (до 150 мк), когда не могут быть применены механический и химический способы очистки поверхности.

5.2. Подготовка поверхности металлоконструкций проводится без удаления продуктов коррозии путем нанесения на поверхность грунтовок-преобразователей ржавчины.

5.3. Перед нанесением преобразователей ржавчины с обрабатываемой поверхности должны быть удалены рыхлые продукты коррозии, жировые загрязнения и пыль.

5.4. Имеются следующие виды преобразователей ржавчины:

грунтовка-преобразователь ржавчины ЭВА-01-ГИСИ на основе поливинилацетатной дисперсии, ортофосфорной кислоты, желтой и красной кровяной соли, ОП-7, этилсиликата. Представляет собой двухупаковочную систему, состоящую из основы и 70 %-ного раствора ортофосфорной кислоты. На 100 масс. долей основы берут 5 - 7 масс. долей кислоты;

грунтовка-преобразователь ржавчины ЭВА-0112 на основе поливинилацетатной дисперсии, коррозионно-стойких пигментов, ортофосфорной кислоты. Представляет собой двухупаковочную систему, состоящую из основы и 85 %-ной ортофосфорной кислоты. На 100 масс. долей основы берут 3 масс. доли кислоты;

грунтовка-преобразователь ржавчины МС-0152 на основе сополимера стирола с малеиновой кислотой, который образуется при гидролизе сополимера стирола с малеиновым ангидридом (стиромаль) в кислой среде в присутствии воды, вводимой в состав грунтовки. Система однокомпонентная. Полимер отличается химической активностью к продуктам коррозии (содержит карбоксильные группы) и хорошо впитывается ржавчиной;

грунтовка - преобразователь ржавчины ЭП-0180 представляет собой двухкомпонентную систему, состоящую из основы грунтовки и отвердителя № 1, смешиваемых за 30 мин до применения в следующем соотношении: на 100 масс, долей основы 7,5 масс, долей отвердителя № 1. Жизнеспособность грунтовки с отвердителем - не менее 8 ч. После введения отвердителя грунтовку разбавляют до рабочей вязкости растворителем (ксилол, ацетон, целлозольв в соотношении 40:30:30) и фильтруют. Допускается использовать растворители 646 и Р-4;

консервант-модификатор ржавчины П-1ТФ представляет собой однокомпонентную систему. Поставляется в готовом для применения виде. Хранят и транспортируют П-1ТФ в кислотостойкой закрытой таре. Срок хранения - 24 мес;

ингибированный модификатор ржавчины № 444 представляет собой состав на основе ортофосфорной кислоты, оксида цинка, танина, буры. Система однокомпонентная;

кислотный модификатор ржавчины № 3 на основе 40 %-ной ортофосфорной кислоты и цинковой пыли, взятых в соотношении 9:1.

Приложение 6

РЕМОНТ КЛАДКИ ИНЪЕЦИРОВАНИЕМ В ТРЕЩИНЫ РАСТВОРА

Работы по ремонту конструкций методом инъецирования включают четыре этапа: определение мест расположения скважин для нагнетания раствора; высверливание скважины; очистку трещин и установку в скважине инъекционных трубок; подготовку поверхности конструкции и нагнетание раствора.

Определение мест расположения скважин для нагнетания раствора

Основные скважины рекомендуется располагать в крупных трещинах и пустых швах по возможности в шахматном порядке на расстоянии одна от другой 50 см и более в зависимости от характера и размера трещин. В местах концентрации мелких трещин, не сообщающихся с крупными, следует располагать на расстоянии 15 - 30 см одна от другой резервные скважины, которые используются для нагнетания раствора в том случае, если из них будет выходить раствор при введении его через основные скважины.

Высверливание скважин

В поверхности ремонтируемых конструкций с трещинами скважины высверливаются на глубину 10 - 20 см под углом к горизонту не менее 10°. Для этого используются электросверлилки, снабженные сверлом диаметром 18 - 20 мм с победитовым наконечником. При наличии больших трещин, в которые можно вставить инъекционные трубки, сверление скважин не требуется.

Очистка трещин и установка в скважины инъекционных трубок

Для очистки от пыли пробуренные скважины и трещины в кладке продуваются сжатым воздухом под давлением 200 кПа, а при сухой кладке под тем же давлением промываются струей чистой воды. В очищенные основные и дополнительные скважины за 2 - 3 сут до нагнетания на глубину 5 - 8 см вставляются инъекционные трубки на цементном растворе марки 100 и выше или на растворах с применением современных эффективных материалов. При этом необходимо следить за тем, чтобы заделанные в скважины концы трубок не забивались цементным раствором. Концы трубок должны выступать на несколько сантиметров из толщи кладки и иметь резьбу для навинчивания гаек, укрепленных на концах шлангов растворонагнетателей.

Инъекционные трубки изготовляются из обрезков газовых и водопроводных труб диаметром 1/2 - 3/4´´, длиной 10 - 15 см с резьбой на одном конце, нарезанной по длине 2 - 4 см.

Подготовка поверхностей конструкций и нагнетание раствора

За 2 - 3 сут до нагнетания раствора поверхность конструкции с трещинами и пустыми швами необходимо затереть цементным раствором составом 1:2 - 1:3. При необходимости быстрого твердения следует применять гипсовые или другие (в зависимости от эксплуатационной среды) быстротвердеющие растворы.

Участки, через которые при нагнетании просачивается раствор, следует дополнительно затереть сухим цементом или другим вяжущим материалом, имеющим хорошую адгезию к смоченным поверхностям.

Нагнетание раствора производится снизу вверх под давлением 400 - 600 кПа растворонасосом большой подачи.

Шланг насоса следует подключать сначала к трубке нижней основной скважины, через нее раствор накачивать до тех пор, пока он начнет вытекать через трубки вышерасположенных скважин. При этом необходимо следить за давлением в растворонагнетателе и в зависимости от этого уточнять консистенцию раствора. Если давление в процессе нагнетания постепенно повышается, следует принятую консистенцию раствора оставить без изменения.

Если давление длительное время не повышается, консистенцию раствора необходимо изменить путем снижения водоцементного отношения (В/Ц). При резком повышении давления в начальной стадии нагнетания консистенцию раствора следует увеличить, повысив В/Ц до единицы.

Если раствор при нагнетании вытекает только через основные трубки верхнего яруса, необходимо подсоединить шланги к резервным трубкам и произвести местное инъецирование кладки. После заполнения раствором трещин и пустот нижнего яруса шланги должны быть перенесены выше и подключены к трубкам следующего яруса, через которые раствор нагнетается до тех пор, пока он не начнет выливаться через вышерасположенные трубки. Далее цикл должен повториться на вышележащих ярусах до тех пор, пока не будет проинъецирована вся конструкция.

Состав и виды инъекционных растворов необходимо, как правило, подбирать в зависимости от размера раскрытия трещин, а также от их количества. Для каменной кладки при ширине раскрытия трещин до 10 - 15 мм допускается применять цементные беспесчаные растворы составом 1:0,65 - 0,7 (цемент, вода), цементные с добавлением тонкомолотого песка составом 1:0,25:0,8 - 0,9 (цемент, тонкомолотый песок, вода) или полимерцементные составом 1:0,15:0,55 - 0,6 (цемент, поливинилацетатная дисперсия, вода) или составом 1:0,25:0,55 - 0,6 (цемент, дивинилстирольный латекс: вода) и др. Если в кладке наряду с крупными имеются волосяные трещины, то цементным раствором следует предпочесть полимерцементные с поверхностно-активными добавками (ПВАД) латекса СКС-65, ГП-К (или дивинилстирольного латекса Б), так как они способствуют дополнительной пластификации растворной смеси и повышают ее адгезионные свойства.

Последнее время для инъекционных работ эффективно используются пенополиуретаны, гелевые или каучуко-эпоксидные (полиуретановые) материалы.

В качестве пластификаторов инъекционных растворов при отсутствии полимеров допускается использовать известковое тесто, масса которого составляет 15 % массы цемента, а при инъецировании конструкций, работающих в сухих условиях, - глиняное тесто, масса которого составляет 10 - 15 % массы цемента. Эти добавки увеличивают водоудерживающую способность растворной смеси, обеспечивая благоприятные условия твердения цемента. В отдельных случаях в качестве пластификаторов к цементному инъекционному раствору следует добавлять до 1 % сульфитно-дрожжевой бражки.

Для кладки, поврежденной волосяными трещинами, необходимо использовать растворы с повышенной подвижностью и адгезионными свойствами. При применении эпоксидной смолы следует добавлять модификаторы и отвердители следующих составов (масс, доли):

Эпоксидная смола ЭД-5

или ЭД-6...................................... 100

Модификатор МГФ-9................. 30

Отвердитель ПЭПА.................... 15

Тонкомолотый песок.................. 50

Для кладки с волосяными трещинами допускается также применение цементных растворов повышенной пластичности составом 1:0,8 - 0,85 (цемент, вода) и полимерцементных растворов в соотношении 1:0,15:0,7 - 0,75 (цемент, полимерные добавки, вода). Для более эффективного упрочнения такой кладки инъекционный раствор необходимо приготовлять в растворомешалке с повышенной частотой вращения до получения в ней коллоидных частиц, поддерживая в дальнейшем полученную консистенцию и не допуская расслаивания раствора до момента нагнетания в конструкцию.

Приложение 7

ВОССТАНОВЛЕНИЕ И УСИЛЕНИЕ ГИДРОИЗОЛЯЦИИ ПОДЗЕМНЫХ СООРУЖЕНИЙ

В процессе эксплуатации на тепловых электростанциях происходит значительное повышение уровня подземных грунтовых вод, подтопление территории и фильтрация грунтовых и технологических вод через ограждающие конструкции заглубленных и подземных сооружений (кабельных тоннелей, галерей тракта топливоподачи, вагоноопрокидывателей, насосных станций).

Основными причинами фильтрации внутрь подземных сооружений являются:

наличие напорных грунтовых вод в результате подтопления территории;

некачественное выполнение гидроизоляции и недолговечность гидроизоляционных материалов, примененных при строительстве;

пористость (неплотность) бетона ограждающих конструкций как следствие некачественного производства бетонных работ.

В результате возникает необходимость выполнения ремонта или усиления гидроизоляции в местах фильтрации.

Ниже приводятся традиционные широко используемые методы и технологии ремонта гидроизоляции подземных сооружений.

1. Ремонт гидроизоляции подземных сооружений методом цементации

Одним из методов, который эффективен для условий «мокрой среды», является метод нагнетания цементного раствора непосредственно в ограждающую конструкцию сооружения. При этом достигается уплотнение бетона и увеличение его водонепроницаемости.

Перед началом работ по цементации проводится детальное обследование подземного сооружения и составляется проект производства работ. В этом проекте должны быть указаны количество скважин, схема их расположения, порядок нагнетания раствора и тип используемого насоса. При обследовании составляется карта дефектов, в которой фиксируется количество течей, их взаимное расположение, характер течей, выявляется состояние сооружения на участке течи с точки зрения прочности и возможности установления давления при нагнетании.

Расположение скважин, их количество и очередность нагнетания раствора в скважины устанавливаются в каждом конкретном случае в зависимости от количества фильтрующейся воды и состояния ограждающих конструкций.

Скважины рекомендуется располагать следующим образом: на участках с количеством фильтрующейся через конструкции ограждения воды свыше 0,5 л/(м2·ч) - через каждые 0,7 - 1,0 м; меньше 0,5 л/(м2·ч) - через каждые 1,0 - 1,2 м.

Скважины бурятся с помощью бурильных молотков с бурами, имеющими звездчатую коронку диаметром 50 мм, соответствующим диаметру резинового кольца инъектора, перфоратора, отбойного молотка, оборудованных насадками в виде шлямбуров.

Скважины выполняются глубиной 30 - 50 см, но не более 2/3 толщины ограждающей конструкции. Скважины перед установкой инъектора должны быть очищены от мусора, для этого они продуваются сжатым воздухом.

Устье готовой скважины выравнивается цементным раствором по диаметру инъектора на глубину 10 см. Перед нагнетанием инъектор прочно закрепляется в скважине (рис. 1) с помощью нажимной гайки 2. Это увеличивает распор резинового уплотнения, состоящего из колец, помещенных на конце инъектора.

Рис. 1. Установка инъектора в скважине:

1 - пробковый кран; 2 - нажимная гайка; 3 - нажимная трубка; 4 - несущая конструкция; 5 - резиновый уплотнитель (кольцо); 6 - скважина; 7 - трещина; 8 - напорная (инъекционная) трубка; 9 - шланг для подачи раствора

К закрепленному инъектору присоединяется шланг 9 от ручного насоса или растворонасоса.

Последовательность цементации скважин определяется проектом производства работ. При его составлении необходимо руководствоваться следующим:

а) цементация скважин, расположенных на расстоянии менее 2 м от зацементированных накануне, должна производиться по истечении 3 сут, т.е. после приобретения прочности введенным раствором;

б) цементация стен подземных сооружений должна производиться последовательно снизу вверх;

в) цементация может производиться одновременно через несколько скважин, расположенных в параллельных рядах по вертикали;

г) нагнетание раствора следует производить после затвердения раствора, уложенного для выравнивания устья скважины: для раствора на портландцементе - не раньше чем через 3 - 4 сут, на глиноземистом цементе - на 2-е сутки.

Начальная консистенция раствора (цемента и воды) принимается при портландцементе 15:100, при глиноземистом цементе 25:100; конечная консистенция - 50:100 и 100:100 соответственно.

Начальное давление в материальном шланге должно быть не более 0,2 МПа (2 кгс/см2), максимальное давление - 0,4 МПа (4 кгс/см2).

Принципиальная схема сети нагнетания цементного раствора приведена на рис. 2.

Последовательность нагнетания раствора: открыть кран К1 и закрыть краны К2 и К3. После создания избыточного давления в сети 0,2 МПа (2 кгс/см2) кран К1 закрыть, а кран К3 одновременно открыть. В случае падения давления в сети (определяется по манометру) нагнетание повторяется, при этом закрывается кран К3 и одновременно открывается кран К1.

Давление в сети регулируется с помощью крана К2.

Нагнетание повторяется периодически до стабилизации давления в сети в течение 15 - 20 мин (отсутствие падения давления определяется по манометру). После этого консистенция раствора повышается на следующую ступень, как рекомендовано выше.

Рис. 2. Принципиальная схема нагнетания цементного раствора:

1 - бункер; 2 - линия всасывания; 3 - насос; 4 - манометр; 5 - инъекторы; 6 - пробковые краны; 7 - трубопровод (d = 1,5´´ или 2´´); К1, К2 и К3 - краны

Для подачи раствора с новой консистенцией к инъекторам необходимо открыть краны К1 и К2, одновременно закрыть кран К3 и выдавить раствор предыдущей консистенции из сети в бункер.

После заполнения сети раствором с новой ступенью консистенции нагнетание раствора в скважины производится в том же порядке, что и для первоначальной консистенции, с одновременным повышением давления в сети до 0,3 МПа (3 кгс/см2). Максимально допустимое давление 0,4 МПа (4 кгс/см2). Нагнетание раствора может быть закончено, если при максимально допустимом давлении нет расхода раствора. Цементация одной скважины должна производиться без перерыва.

По окончании работ инъекторы отключаются от сети с помощью пробковых кранов, сеть промывается чистой водой и разбирается. Инъекторы остаются в скважинах на 1,5 - 2,0 ч, затем они извлекаются из скважины, очищаются и промываются.

После извлечения инъекторов из скважин последние заделываются цементным раствором.

Для нагнетания применяются цементы марок не ниже 400: портландцемент (с добавлением 0,5 - 0,6 % алюмината натрия); расширяющийся цемент; водонепроницаемый расширяющийся цемент.

Для ускорения начала и конца схватывания в целях увеличения прочности нагнетаемого раствора в начальный момент твердения к нему при затворении может прибавляться хлористый кальций в количестве не более 4 % массы затворяемого сухого цемента.

При цементации необходимо вести журнал, в который следует записывать: консистенцию нагнетаемого раствора, месторасположение скважин, показания манометра, окончательный расход раствора.

2. Ремонт гидроизоляции подземных сооружений при вскрытии поверхности

Данный ремонт рекомендуется при повреждении гидроизоляции подземных сооружений в случае расположения поврежденного участка на глубине не более 6 м от поверхности земли и при отсутствии вышерасположенных зданий и сооружений.

Предполагаемое место течи следует отметить на поверхности земли и отрыть шурф. Размер шурфа для ликвидации течи в стенах подземных сооружений (тоннелей) зависит от обводненной площади сооружения (тоннеля). При обводнении участка длиной 1 м рекомендуется делать шурф вдоль стен длиной 3 м, шириной 1,0 - 1,5 м; для ликвидации течи в перекрытии выполняется шурф размером 2´2 м.

Крепление шурфа в сыпучих грунтах производится вертикальными и горизонтальными рядами с укреплением их рамами, а при разжиженном грунте - забивкой дощатого шпунта.

Откачка воды из шурфа производится насосом, на всасывающий рукав которого обязательно надевается частая металлическая сетка. Перед откачкой фиксируется отметка уровня грунтовых вод.

Обнаженная поверхность подземного сооружения тщательно очищается от остатков грунта, после чего в предполагаемом месте неисправной гидроизоляционной мембраны разбирается защитная стенка. Затем обнаженную мембрану необходимо тщательно осмотреть, при этом грязные места промыть водой.

При обнаружении явных разрушений мембраны и сквозных свищей в ней ремонт производится следующим образом: в месте повреждения ковер разрезают «конвертом» и концы его отгибают; затем просушивают основание, отверстие заклеивают куском рулонного гидроизоляционного материала, предназначенного для гидроизоляции подземных сооружений (гидроизол, гидростеклоизол, рубероид, эластобит, рулонные битумно-полимерные наплавляемые материалы, перечисленные в приложении 8), на него наклеивают ранее отогнутые концы ковра, предварительно нагрев их паяльной лампой. Отремонтированное таким образом место тщательно заклеивают сверху двумя слоями рулонного гидроизоляционного материала так, чтобы место разреза перекрывалось на 15 - 20 см. Края заплат необходимо зашпаклевать мастикой.

При отсутствии видимых повреждений мембрану тщательно прочищают, просушивают и на нее наклеивают один слой рулонного гидроизоляционного материала. После этого прекращают откачку воды и дают возможность грунтовой воде принять стабильный уровень.

Если через 3 сут установившийся уровень грунтовых вод в подземном сооружении не повысится, составляется акт о ликвидации течи, который хранится в подразделении (цехе), отвечающем за эксплуатацию зданий и сооружений.

3. Гидроизоляция из холодной асфальтовой мастики

3.1. Исходные материалы

Битум нефтяной дорожный БНД 40/60 - применяется в качестве органического вяжущего для приготовления битумных эмульсионных паст.

Строительная известь I сорта - хорошо обожженная с содержанием окиси кальция не менее 70 %. Применяется в качестве эмульгатора в гашеном виде (тесто).

Чистая вода - применяется для приготовления эмульсионных паст и холодной асфальтовой мастики. Должна удовлетворять тем же требованиям, что и вода для приготовления бетона.

Портландцемент М-400 - при введении в мастику гидратируется содержащейся в пасте водой. Получается мастика с двумя вяжущими: органическим битумом и гидравлическим цементом. Цемент придает мастике повышенную прочность и теплоустойчивость.

Асбест VII сорта - добавляется в состав мастики как волокнистый материал, повышающий трещиностойкость покрытия.

3.2. Назначение и технология приготовления мастики

Холодная асфальтовая мастика применяется для покрытия бетонных и железобетонных поверхностей. Она обладает гидроизоляционными свойствами: водонепроницаемостью, водо-, тепло-, морозо- и погодоустойчивостью, достаточной прочностью при воздействии статических и динамических нагрузок, а также высокой прочностью сцепления с бетоном и кирпичом. Применяется для устройства и ремонта гидроизоляции подземных и наземных сооружений с работой гидроизоляционного покрытия на отрыв при напорах воды до 15 м.

Для гидроизоляции подземных транспортерных галерей, узлов пересыпки, кабельных тоннелей холодная асфальтовая мастика приготовляется за два приема; состоит из известково-битумной пасты и наполнителей. Паста для мастики приготовляется на известковом эмульгаторе.

Рекомендуется следующий наиболее употребительный состав известково-битумной пасты (масс, доля): битум нефтяной дорожный БНД 40/60 - 50, гашеная известь I сорта (тесто) - 12, чистая вода - 38.

Паста приготовляется в пастосмесительной установке или в обыкновенной растворомешалке вместимостью 150 - 200 л. Для увеличения производительности установки и повышения качества эмульгирования битума желательно увеличить частоту вращения лопастного вала растворомешалки до 60 - 80 об/мин.

В барабан растворомешалки загружается в необходимом количестве гашеная известь (тесто эмульгатора), нагретая до 80 - 90 °С. Тесто эмульгатора перемешивается в течение 1 - 2 мин до однородной консистенции. Затем в барабан растворомешалки небольшими порциями вводится битум и вода, нагретые до температуры соответственно 160 и 80 °С. Битум подается до тех пор, пока смесь не загустеет. Затем в мешалку добавляется вода, и эти операции повторяются, пока не будут введены весь битум и вся вода, требуемые по рецепту. При этом компоненты пасты загружаются при постоянном перемешивании смеси. Готовность пасты определяется по ее полной однородности, сметанообразной консистенции и матовому цвету. Готовая паста выгружается в тару, где и остывает.

Приготовление холодной асфальтовой мастики производится в обыкновенной растворомешалке вместимостью 150 л без какой-либо переделки. Компоненты мастики смешиваются в холодном состоянии, как обычные штукатурные растворы.

Рекомендуется следующий наиболее употребительный состав мастики (масс, доля): известково-битумная паста - 90; портландцемент М-400 - 10.

В растворомешалку загружается известково-битумная паста в количестве, требуемом для приготовления замеса мастики. К пасте добавляется при необходимости 1 - 3 % воды и смесь тщательно перемешивается до однородной консистенции. При непрерывном перемешивании в смесь небольшими порциями добавляется необходимое по рецепту количество портландцемента. Перемешивание производится до получения однородной сметанообразной пасты. Затем готовая мастика выгружается из барабана-смесителя в тару и доставляется к месту работ. Готовая мастика должна использоваться сразу в течение 1 - 2 ч после ее приготовления.

3.3. Гидроизоляционные свойства мастики

Холодные асфальтовые мастики при тщательном подборе составляющих материалов и соблюдении технологии приготовления и нанесения на бетонную поверхность практически полностью водонепроницаемы даже при слое толщиной 8 - 10 мм.

Достаточно высокая адгезия мастики к бетону (сцепление) позволяет применять холодную асфальтовую гидроизоляцию в случае работы на отрыв при внешнем гидростатическом напоре воды до 15 м, т.е. выполнять покрытие с внутренней стороны. С учетом коэффициента запаса 1,5 можно рекомендовать холодную асфальтовую гидроизоляцию к применению при внешнем отрывающем напоре воды до 10 м.

3.4. Подготовка поверхности

Поверхность бетона должна быть достаточно прочной, ровной и чистой. Недоброкачественный бетон удаляется. Производится выравнивание неровностей: заделка раковин, пустот цементным раствором, срезка торчащих штырей, арматуры, отдельных выступов. Поверхность кирпичной кладки выравнивается тощим цементным раствором.

Для повышения прочности сцепления гидроизоляции с бетоном при работе на отрыв производится насечка его до удаления слабой цементной корки. Поверхность грунтуется битумной пастой, разжиженной водой в соотношении 1:1 - 1:4.

В условиях течи и активной фильтрации воды на изолированной поверхности бетона необходимо принять меры для ликвидации очагов фильтрации воды, а места течи подсушить. Допускается нанесение холодной асфальтовой мастики на слегка влажные поверхности бетона.

3.5. Нанесение мастики на поверхность

Нанесение холодной асфальтовой мастики на горизонтальные поверхности производится разливом, а на наклонные и вертикальные - штукатурным способом. Из опыта установлено, что наиболее удобно в обоих случаях мастику наносить через штукатурные форсунки и сопла с подачей ее по резиновому шлангу с помощью растворонасосов.

На горизонтальные поверхности холодная асфальтовая мастика разливается слоями по 7 - 10 мм с последующим разравниванием правилом. Мастика подается к месту разлива в таре, в тачках или растворонасосом по шлангу без сопла. Мастика наносится в два слоя общей толщиной 15 - 17 мм. Каждый слой наносится после затвердевания предыдущего. До этого времени по слою свеженанесенной мастики ходить нельзя.

По вертикальной поверхности штукатурная гидроизоляция из холодной асфальтовой мастики наносится слоем от 10 мм (два намета) до 20 мм (три намета) в зависимости от назначения гидроизоляции и изолируемой поверхности.

При нанесении холодной асфальтовой мастики вручную мастика наметывается на поверхность с помощью мастерка и разравнивается слоем 7 - 10 мм. Работа выполняется так же, как и обычная штукатурная работа, при этом применяются следующие инструменты: штукатурная лопатка-мастерок, сокол и ящик для асфальтовой мастики.

При механическом нанесении мастик независимо от типа используемого штукатурного оборудования штукатурный покров образуется из отдельных наметов толщиной 5 - 7 мм. Каждый последующий намет наносится после затвердевания предыдущего. Мастика наносится с обязательным распылением под давлением не менее 0,4 МПа (4 кгс/см2).

В подземных конструкциях на открытых поверхностях, доступных для осмотра и ремонта, в большинстве случаев холодная асфальтовая гидроизоляция в защитном ограждении не нуждается.

Поверхность холодной асфальтовой гидроизоляции нельзя окрашивать масляной краской. В помещениях стены и потолки можно окрашивать цементной или известковой побелкой непосредственно по штукатурной гидроизоляции.

4. Штукатурная гидроизоляция коллоидным цементным раствором и активированным торкретом

Для противофильтрационной защиты подземных и подводных сооружений при работе гидроизоляции на «прижим» без ограничений действующего напора и при работе гидроизоляции на «отрыв» с давлением до 0,2 МПа (2 кгс/м2) применяется штукатурная гидроизоляция коллоидным цементным раствором (КЦР) и активированным торкретом (АТ), Коллоидный цементный раствор применяется для гидроизоляции горизонтальных и вертикальных поверхностей, а АТ - преимущественно для вертикальных.

Вяжущим для КЦР и АТ является смесь портландцемента М-500 и кварцевого песка в соотношении 70:30 или 80:20, подвергнутая совместному помолу в вибромельницах или шаровых мельницах.

В табл. 5 приведены рекомендуемые к применению составляющие коллоидного цементного раствора.

Таблица 5

Составляющие коллоидного цементного раствора

Компонент

Прочность

повышенная

нормальная

Тонкомолотая цементно-песчаная смесь, масс. доля

100

100

В том числе:

 

 

портландцемент М-500

70

70

кварцевый песок

30

30

Кварцевый песок с модулем крупности Мк < 2, масс. доля

0 - 20

100 - 200

Вода, % вяжущего

25 - 30

30 - 40

Добавка сульфитно-дрожжевой бражки, % массы цемента (вводится в воду затворения)

0,1 - 0,2

0,1 - 0,2

Сухая смесь хранится и транспортируется в съемных контейнерах (металлический бункер с герметической крышкой), флягах с герметическими крышками, полиэтиленовых мешках и мешках из крафт-бумаги (для кратковременного хранения).

Сроки хранения исчисляются с момента изготовления и засыпки сухой смеси в емкость и составляют для съемных контейнеров и фляг с герметическими крышками - 1 мес., полиэтиленовых мешков - 15 сут, мешков из крафт-бумаги - 5 сут.

Коллоидный цементный раствор приготовляется с водовяжущим отношением не более 0,4 в вибросмесителе, обеспечивающем двухчастотную обработку массы с одновременным перемешиванием раствора в течение 5 - 6 мин.

Для активированного торкрета соотношение вяжущего и песка в сухой смеси при модуле крупности кварцевого песка 2,2 - 3,2 следует принимать равным 1:2. Содержание цемента в смеси с микронаполнителем должно составлять 70 - 80 %, а влажность активированного торкрета для песка с таким же модулем крупности - 9,5 - 10,5 % массы свеженанесенного торкрета.

Рекомендуется следующий состав сухой смеси активированного торкрета (масс, доля):

Цементно-песчаная молотая смесь................................ 100

В том числе:

Цемент.............................................................................. 70

Песок................................................................................. 30

Добавка немолотого песка.............................................. 200

Вода в составе 2 - 2,5 %-ного

раствора сульфитно-дрожжевой бражки...................... 30

Активированный торкрет приготовляется в бетономешалке свободного падения, в растворомешалках принудительного перемешивания или в вибросмесителе. Перемешивание производится до получения однородной по цвету смеси, но не менее 4 мин.

Гидроизоляционное покрытие (штукатурка) из КЦР наносится на подготовленную бетонную поверхность в два слоя: 1-й слой из КЦР повышенной прочности; 2-й слой - нормальной прочности, наносится по первому слою не более чем через 1 ч к началу упрочнения структуры.

При нанесении штукатурки из КЦР вручную применяются мастерок и сокол, при механическом способе раствор наносится с помощью растворонасоса, работающего по прямоточной схеме.

Активированный торкрет наносится на поверхность с помощью цемент-пушек.

На вертикальные и наклонные плоскости отдельные слои торкрета наносятся снизу вверх полосами длиной 2 м и шириной 0,8 - 1 м. Общая толщина слоя торкрета должна составлять 20 - 25 мм.

Влажный режим КЦР и АТ обеспечивается защитой поверхности от испарения водонепроницаемыми пленочными покрытиями из силикатных растворов, битумных и этинолевых лаков, смол, полиэтиленовых пленок и др.

Готовое штукатурное покрытие из КЦР и АТ должно быть сплошным, ровным и без трещин.


Приложение 8

ПЕРЕЧЕНЬ СОВРЕМЕННЫХ МАТЕРИАЛОВ, РЕКОМЕНДУЕМЫХ ПРИ РЕМОНТЕ КРОВЕЛЬ

А. Гидроизоляционные материалы

Материал, технические условия

Характеристика материала

Группа горючести

Морозостойкость, °С

Водонепроницаемость

Теплостойкость, °С

Гибкость на брусе R25 мм при температуре, °С

Завод-изготовитель

Битумно-полимерные наплавляемые

1. Изопласт, ТУ 5774-005-05766480-95 с изм. 1

Рулонный битумно-полимерный материал на стекло- или полиэфирной основе с защитным слоем из посыпки или легкоплавкой пленки. Предназначен для верхних (изопласт К) и нижних (изопласт П) слоев кровельного покрытия

Горючий материал средней воспламеняемости (Г4, В2, РП4)

Не выше - 25

2 ч при давлении 0,1 МПа (1 кгс/см2)

+120

-15

Завод «Изофлекс» ООО «ПО Киришинефтеоргсинтез» (г. Кириши Ленинградской обл., тел. (81268)34790, факс (81 268)32265)

2. Рубитекс, ТУ 5774-003-00289973-95 с изм. 1

Рулонный битумно-полимерный материал на стекло- или полиэфирной основе с защитным слоем из посыпки или легкоплавкой пленки. Предназначен для верхних (рубитекс К) и нижних (рубитекс П) слоев кровельного покрытия

Горючий материал легковоспламеняемый (Г4, В3, РП4)

Не выше -15

72 ч при давлении 0,001 МПа (0,01 кгс/см2)

+80

-15

АОЗТ «Оргкровля» (г. Рязань)

3. Стекломаст, ТУ 21 -5744710-519-92 с изм. 1, 2

Рулонный битумно-полимерный материал на стекло- или полиэфирной основе с защитным слоем из посыпки или легкоплавкой пленки. Предназначен для верхних (стекломаст К) и нижних (стекломаст П) слоев кровельного покрытия

Горючий материал средней воспламеняемо ста (Г4, В2, РП4)

Не выше -15

72 ч при давлении 0,001 МПа (0,01 кгс/см2)

+70

0

ЗАО «Рязанский картонно-рубероидный завод» (г. Рязань, тел. (0912)242007, факс (091 2)242031)

4. Стекломаст Т, ТУ 5775-543-00284718-95

Стекломаст термопластичный, дополнительно содержит полимерный модификатор «Kraton» (Великобритания), что обеспечивает возможность укладки его при нижних температурах и его высокую эффективность и сопротивляемость усталостным циклическим нагрузкам в интервале температур от -30 до +90 °С

 

Не выше -25

72 ч при давлении 0,001 МПа (0,01 кгс/см2)

+75

-10

ЗАО «Рязанский картонно-рубероидный завод» (г. Рязань, тел. (0912)242007, факс (091 2)242031)

5. Днепрофлекс, ТУ 5774-531-00284718-95

Рулонный битумно-полимерный материал на стекло- или полиэфирной основе с защитным слоем из посыпки или легкоплавкой пленки. Предназначен для верхних (днепрофлекс К) и нижних днепрофлекс П) слоев кровельного покрытия

Горючий материал легковоспламеняемый (Г4, В3, РП4)

Не выше -30

72 ч при давлении 0,001 МПа (0,01 кгс/см2)

+80

-15

ЗАО «Полимеркровля» (Смоленская обл., Дорогобужский район, пос. Верхнеднепровский, тел. (08144)53133, 53392, 53993, факс (08122)39373)

6. Рубемаст, ТУ 21-3682-5-95

Рулонный битумно-полимерный материал на основе стеклохолста с защитным слоем из посыпки. Применяется для верхних слоев кровельного ковра с защитным слоем и для нижних слоев кровельного ковра

Горючий материал средней воспламеняемости (Г4, В2, РП4)

Не выше -15

72 ч при давлении 0,001 МПа (0,01 кгс/см2)

+70

+5

ЗАО «Рязанский картонно-рубероидный завод» (г. Рязань тел. (0912)242007, факс (0912)242031)

7. Элабит, ТУ 5770-528-00284718-94 с изм. 1

Рулонный битумно-полимерный материал на основе стеклоткани с защитным слоем из посыпки. Применяется для устройства верхних и нижних слоев кровельного ковра

Горючий материал средней воспламеняемости (Г4, В2, РП4)

Не выше -20

72 ч при давлении 0,001 МПа (0,01 кгс/см2)

+80

-15

Тоже

8. Стеклобит, ТУ 21-5744710-515-92 с изм. 1

Рулонный битумно-полимерный материал на стекловолокнистой основе с пластификатором и защитным слоем из посыпки. Применяется для верхних (стеклобит К) и нижних (стеклобит П) слоев кровельного покрытия

Горючий материал средней воспламеняемости (Г4, В2, РП4)

Не выше -15

72 ч при давлении 0,001 МПа (0,01 кгс/см2)

+70

-15

-"-

9. Филизол, ТУ 5774-002-04001232-94

Рулонный битумно-полимерный материал на стекло- или полиэфирной основе с защитным слоем из посыпки или полиэтиленовой пленки. Предназначен для верхних (филизол В), (филизол супер) и нижних (филизол Н) слоев кровельного ковра

Горючий материал средней воспламеняемости: Г4, В2, РП1 - филизол В, филизол супер; Г4, В2, РП2 - филизол Н

-20 - марка Н, -30 - марка В

2 ч при давлении 0,1 МПа (1 кгс/см2)

+70 - марка Н, +80 - марка В

-15

ОАО завод «Филикровля» (Москва, тел. (095)1482432, факс (095)1 425920)

10. Изоэласт, ТУ 5774-007-05766480-96

Рулонный битумно-полимерный материал на стекло- или полиэфирной основе с защитным слоем из посыпки или полиэтиленовой пленки. Предназначен для верхних (изоэласт К) и нижних (изоэласт П) слоев кровельного ковра

Горючий материал средней воспламеняемости (Г4, В2, РП3)

Не выше -40

2 ч при давлении 0,1 МПа (1 кгс/см2)

+90

-30

Завод «Изофлекс» ООО «ПО Киришинефтеоргсинтез» (г. Кириши Ленинградской обл., тел. (81268)34790, факс (81268)32265)

11. Линокром, ТУ 5774-002-13157915-98

Рулонный битумно-полимерный материал на стекло- или полиэфирной основе с защитным слоем из посыпки или полиэтиленовой пленки. Предназначен для верхних (линокром К) и нижних (линокром П) слоев кровельного ковра

Горючий материал легковоспламеняемый (Г4, В3, РП4)

 

72 ч при давлении 0,001 МПа (0,01 кгс/см2)

+75

0

ОАО «Крома» (г. Рыбинск Ленинградской обл., тел. (0855)215282, факс (0855)215285)

12. Техноэласт, ТУ 5774-003-00287852-99

Рулонный битумно-полимерный материал на стекло- или полиэфирной основе с защитным слоем из посыпки или полиэтиленовой пленки. Предназначен для устройства верхних и нижних слоев кровельного ковра

Горючий материал легковоспламеняемый (Г4, В3, РП4)

-35

72 ч при давлении 0,001 МПа (0,01 кгс/см2)

+100

-25

ЗАО «Завод кровельных и гидроизоляционных материалов ТехноНИКОЛЬ» (г. Выборг Ленинградской обл., тел. (81278)70912)

13. Бикрост ТУ 5774-042-00288739-99

Рулонный битумно-полимерный материал на стекло- или полиэфирной основе с защитным слоем из посыпки или полиэтиленовой пленки. Предназначен для устройства верхних и нижних слоев кровельного ковра

Горючий материал легковоспламеняемый (Г4, В3, РП4)

 

72 ч при давлении 0,001 МПа (0,01 кгс/см2)

+70

+5

ОАО «Кровля» (Башкортостан, г. Учалы, тел./факс (34791)66328)

Эластомерные

1. Изолен, ТУ 5774-002-04678851-99

Рулонный полимерный материал на основе хлорсульфированного полиэтилена ХСПЭ-20. Для кровельного покрытия выпускается изолен следующих марок:

ТА-2 - трудногорючий армированный с двусторонней обкладкой для устройства кровель с повышенными требованиями по огнестойкости;

РА-2 - рядовой армированный с двусторонней обкладкой для устройства кровель, не имеющих повышенных требований по огнестойкости;

Т - трудногорючий неармированный для устройства пароизоляции и усиления водоизоляционного ковра;

Р - рядовой неармированный для устройства пароизоляции и усиления водоизоляционного ковра. Изолен приклеивается на подготовленное основание клеящей мастикой «Неоплен»

Марка ТА-2 - трудногорючий материал, не распространяющий пламя по поверхности (Г2, РП1)

 

 

+100

-40

ЗАО «Атомэнергопромстрой» (Москва, тел. (095)2005030, 9275335, 9246767, факс (095)9275318)

2. Поликром, ТУ 5774-001-46439362-99

Рулонный полимерный материал на основе синтетического этиленпропиленового каучука (СКЭПТ). Предназначен для устройства кровельного ковра, выпускается двух марок: Р - рядовой и ПнГ - пониженной горючести.

Поликром приклеивается на подготовленное основание клеящей мастикой «Мастмэл»

Марка ПнГ - трудногорючий материал, не распространяющий пламя по поверхности (Г1, РП1). Марка Р - горючий материал средней воспламеняемости, не распространяющий пламя по поверхности (Г4, В2, РП1)

 

72 ч при давлении 0,001 МПа (0,01 кгс/см2)

+120

-60

АО «Ивановский комбинат искусственной подошвы» (г. Иваново)

3. Кромэл, ТУ 5774-002-41993527-97

Рулонный полимерный материал на основе этиленпропилендиенового каучука (СКЭПТ). Предназначен для устройства кровельного ковра. Выпускается двух марок:

Кромэл-1Р без армирования, для устройства кровли с уклоном до 1 %;

Кромэл 1РА с армированием нетканым полотном, для устройства кровли с уклоном от 1 до 12 %, в монопанелях полной заводской готовности.

Кромэл приклеивается на подготовленное основание на холодную мастику

Горючий материал средней воспламеняемости (Г4, В2, РП1)

 

 

120

-60

ОАО «Кировский комбинат искусственных кож» (г. Киров, тел. (8332)239312, факс (8332)236333); ОАО «Ивановский комбинат искусственных пленок и кож» (г. Иваново, тел. (0932)327585)

4. Элон-1, ТУ 21-5744710-514-92

Рулонный полимерный материал на основе комбинации этиленпропиленового каучука и хлорсульфированного полиэтилена, сдублированного с текстильной или нетканой основой. Элон приклеивается на подготовленное основание на мастику «Мастелон

Горючий материал средней воспламеняемости (Г4, В2, РП1)

 

60 мин при давлении 0,01 МПа (0,1 кгс/см2)

+120

-50

Уфимский завод резиновых технических изделий им. Фрунзе (г. Уфа, тел. (2372)249283, 250552)

5. Кровлей, ТУ 8723-001-003024-80-95

Рулонный полимерный материал из резиновой смеси на основе синтетического каучука этиленпропиленового тройного (СКЭПТ). Применяется при устройстве однослойных кровель методами наклейки на бутилкаучуковую мастику, и свободной укладки механическим креплением

Горючий материал средней воспламеняемости (Г4, В2, РП1)

 

 

+120

-50

ОАО «Ивановский комбинат искусственных пленок и кож» (г. Иваново, тел. (0932)327585)

Б. Теплоизоляционные материалы

Материал, технические условия

Характеристика материала

Группа горючести

Плотность, кг/м3

Водопоглощение, %

Теплопроводность, Вт/м·К

Прочность на сжатие, МПа

Завод-изготовитель

1. Руф Баттс, ТУ 5762-005-45757203-99

Минераловатные теплоизоляционные плиты отечественного производства повышенной жесткости гидрофобизированные, изготовленные из минеральной ваты на основе базальтовых пород. Применяются в качестве теплозвукоизоляционного слоя в покрытиях, в том числе и для устройства кровель без цементной стяжки. Толщина плит 50, 80, 100 мм

Негорючий материал. Температура плавления волокон выше 1000 °С (НГ)

175

1,5

0,041

0,045

ЗАО «Минеральная Вата» (г. Железнодорожный, Московская обл., тел. (095)7482248, факс. (095)7482244)

2. Плиты фирмы «Rockwool» (Дания)

Минераловатные теплоизоляционные плиты гидрофобизированные, изготовленные из минеральной ваты на основе базальтовых пород. Применяются в качестве теплозвукоизолирующего слоя в покрытиях без устройства цементной стяжки. Изготавливаются плиты следующих марок:

Негорючий материал (НГ)

 

 

 

 

Производитель: фирма «Rockwool» (Дания). Представительство в России: 121039, Москва, Новинский бульвар, д. 20а, тел. (095)2022082, 2020460

кровельная ламелла - сверхжесткая двухслойная плита с битумным слоем, готовым для непосредственного наплавления рулонного ковра. Толщина плит 92, 126, 144, 166, 193 мм

 

180/100

1,0

0,037

0,1

Хардрок - жесткая двухслойная плита: единственный или верхний слой утеплителя. Толщина плит 50, 100 мм

140

1,0

0,036

0,043

 

ТФ плита - жесткая плита, верхний или нижний подстилающий слой в общей массе утеплителя. Толщина плит 20, 25, 40 мм

 

180

1,0

0,042

0,043

3. Плиты «Парок» компании «Партек» (Финляндия)

Минераловатные плиты на основе базальтового волокна. Для кровельных покрытий в качестве теплоизолирующего слоя применяются плиты «Парок» марок:

Негорючий материал (НГ)

 

 

 

 

Производитель: компания «Партек» (Финляндия). Представительство в Москве: 117049, Москва, ул. Мытная, д. 1, кв. 14, тел. (095)230-07-88, факс (095)2300776

АКL - жесткая плита толщиной 70 - 180 мм

 

110

 

0,035

0,025

ККL - плита повышенной жесткости толщиной 20 мм.

 

230

 

0,0375

0,025

При устройстве кровельных покрытий используется комбинация АКL плюс ККL в качестве верхнего слоя используется плита KKL

 

 

 

 

 

TKL - плита повышенной жесткости толщи ной 20 - 120 мм.

 

170

 

0,037

0,025

4. Плиты «БелТИСМ», ТУ 5767-003-02066339-98

Теплоизоляционные плиты из пеностекла толщиной 60, 80, 100, 120, 140 мм

Негорючий материал (НГ)

150 - 180

0,1 - 0,2

0,05 - 0,06

0,7 - 1,6

ЗАО Концерн «БелТИСМ» (г. Старый Оскол Белгородской обл., тел. (0725)361610, факс (0725)324743)

5. Плиты ПТТЛ, ТУ 2254-001-04002183-95

Плиты теплоизоляционные трудносгораемые для легких конструкций, изготовленные на основе фенолформальдегидной смолы. Применяются в качестве теплоизоляции кровельных покрытий. Толщина плит от 40 до 100 мм с интервалом 10 мм. Выпускаются плиты двух марок:

Трудногорючий материал (Г2, В2, Д2)

 

 

 

 

ОАО «Стройперлит» (г. Мытищи Московской обл., тел. (095)5825111, факс (095)5837359)

100

90 - 110

4,5

0,047

0,13

125

110 - 135

4,0

0,05

0,18

6. Плиты ПФГ, ТУ 140-1-15-92

Плиты перлитофосфогелевые с армирующим покрытием из бумаги применяются в качестве теплоизоляции в кровельных покрытиях

Трудногорючий материал

300 - 400

 

0,082 - 0,094

0,3 - 0,4

ОАО «Стройперлит» (г. Мытищи Московской обл., тел. (095)5825111, факс (095)5837359)

7. Плиты «Foamglas» (Бельгия)

Плиты теплоизоляционные из ячеистого стекла. Применяются в качестве теплоизоляции в кровельных покрытиях

Негорючий материал (НГ)

119

0,4

0,043

0,93

Фирма «EUTON» Бельгия


Приложение 9

РЕКОМЕНДАЦИИ ПО УСТРАНЕНИЮ ДЕФЕКТОВ В РУЛОННЫХ КРОВЛЯХ

Дефекты, встречающиеся при осмотре кровель

Основные причины, вызывающие появление дефектов

Рекомендуемые мероприятия по устранению дефектов в кровлях

1. Сквозные трещины в слоях водоизоляционного ковра на основных плоскостях кровель, выполненных по выравнивающим стяжкам

Отсутствие температурно-усадочных швов, появление трещин в основании под кровлей. Применение тугоплавких битумов вместо легкоплавких мастик

1. Вдоль трещин освободить водоизоляционный ковер от защитного слоя (крупнозернистой или бронирующей посыпки) по ширине до 1 м.

2. На трещину наложить полоску из рулонного материала шириной 150 - 200 мм и склеить ее в отдельных местах трещины с верхним слоем водоизоляционного ковра по одной стороне.

3. Произвести сплошную наклейку полотнищ кровельных материалов так, чтобы каждое верхнее полотнище перекрывало нижележащее и склеивалось с основным водоизоляционным ковром на 100 - 150 мм с каждой стороны трещины.

4. Выполнить защитный окрасочный слой или крупнозернистую посыпку. Если площадь, где появились трещины в результате применения тугоплавких мастик, не превышает 15 - 20 %, необходимо выполнить:

работы, указанные в пп. 1, 2, 3;

по всей площади кровли, предварительно очищенной от гравия, окрасочного слоя или крупнозернистой посыпки, наклеить дополнительный слой рулонного материала;

выполнить защитный окрасочный слой или крупнозернистую посыпку.

Если площадь с трещинами превышает 15 - 20 %, выполняется капитальный ремонт

2. Сквозные трещины в слоях водоизоляционного ковра, уложенного по плитным и композиционным утеплителям

Провисание водоизоляционного ковра вследствие больших зазоров, швов между плитами утеплителя, а также скошенных углов

1. Вдоль трещин по ширине 1 м освободить водоизоляционный ковер от защитного слоя, крупнозернистой или бронирующей посыпки.

2. Отогнуть для удобства работы слои кровельных материалов, расположенных выше трещин.

3. Заполнить швы рейками из теплоизоляции.

4. Наклеить отогнутые слои кровельных материалов.

5. На трещину наложить полоску из рулонного материала шириной 150 - 200 мм и склеить ее в отдельных местах с одной стороны трещины с верхним слоем водоизоляционного ковра.

6. Произвести сплошную наклейку полотнищ кровельных материалов так, чтобы каждое верхнее полотнище перекрывало нижележащее и склеивалось с основным водоизоляционным ковром на 100 - 150 мм с каждой стороны трещины.

7. Выполнить защитный окрасочный слой или крупнозернистую, бронирующую посыпку.

3. Сквозные трещины в слоях водоизоляционного ковра, выполненного по монопанелям

Некачественное крепление монопанелей, отсутствие утеплителя на стыках панелей, зазоры между плитами утеплителя

1. На ширине 600 мм с каждой стороны трещины удалить гравийный слой, расчистить трещину от грязи и мусора.

2. Разрезать водоизоляционный ковер на расстоянии 200 мм от концов трещины, удлинив трещину, и отогнуть ковер в обе стороны от трещины.

3. Выполнить дополнительное крепление панелей самонарезающими винтами 6´25 или комбинированными заклепками ЗК-10, для чего нужно произвести выемку покровного слоя и теплоизоляции трубчатой фрезой диаметром 35 - 40 мм, отверстия в металле выполняются электрическими и пневматическими сверлами. Для закрепления панелей комбинированными заклепками применяют специальные клещи с удлиненной головкой-захватом, а для установки самонарезающих болтов - пневматические или электрические гайковерты.

4. После операции по закреплению и соединению панелей места установки самонарезающих винтов и комбинированных заклепок заполняют теплоизоляцией и гидроизолируют. Для этого используют ранее извлеченную теплоизоляцию либо специально нарезанные по размеру отверстий вкладыши из теплоизоляции, которые устанавливаются в отверстия «насухо» для восстановления кровли.

5. При наличии зазоров между панелями шириной более 5 мм необходимо заполнить их на толщину теплоизоляционных плит рейками из теплоизоляции.

6. Отогнутый ковер уложить на кровельную мастику и прижать от краев к трещине.

7. На трещину уложить «насухо» два слоя полиэтиленовой пленки шириной 400 - 500 мм, слой пленки перекрыть слоем рубероида шириной 600 - 700 мм, склеив с существующим ковром по ширине 100 мм с каждой стороны.

8. Наклеить основной рулонный ковер так, чтобы каждое верхнее полотнище перекрывало нижележащее и склеивалось с существующей кровлей на 100 мм с каждой стороны трещины.

9. Восстановить защитный гравийный или окрасочный слой

4. Трещины в слоях водоизоляционного ковра у примыканий кровель к стенам

Осадка и прогиб несущих конструкций, отсутствие наклонного переходного бортика

1. Снять или отогнуть для удобства работы защитный фартук и убрать слои кровельных материалов, расположенных выше трещины.

2. Установить наклонный переходный бортик из цементно-песчаного раствора 1:4 под углом 45° к плоскости стены и высотой не менее 100 мм.

3. Освободить водоизоляционный ковер от защитного слоя или крупнозернистой посыпки на ширину не менее 750 мм от низа переходного бортика.

4. Наклеить три слоя рулонных материалов с напуском нижнего края полотнищ на основной водоизоляционный ковер не менее чем на 150 мм.

5. Установить защитный фартук в соответствии с проектом.

6. Восстановить защитный окрасочный слой или крупнозернистую посыпку

5. Трещины в слоях водоизоляционного ковра у примыканий к трубам

Осадка и прогиб несущих конструкций, покрытий, отсутствие переходного бортика

1. Снять защитный фартук, убрать часть кровельных материалов и материалы основания под кровлю, расположенные выше трещины.

2. Установить патрубок из оцинкованной кровельной стали или поливинилхлорида высотой 250 мм, для кровель, заполняемых водой, патрубок высотой 350 мм (считая от основания под кровлю) по периметру трубы (с зазором 20 - 25 мм). Пространство между патрубком и трубой заполнить минераловатным утеплителем.

3. Установить переходный наклонный бортик.

4. Освободить водоизоляционный ковер от защитного слоя или крупнозернистой посыпки на ширине до 1 м по периметру от низа переходного бортика.

5. Наклеить три слоя рулонного материала с напуском нижнего края полотнищ на основной водоизоляционный ковер на 150 мм.

6. Установить защитный фартук, приварив его к трубе или прикрепив хомутом с последующей герметизацией мастиками, восстановить защитный окрасочный слой или крупнозернистую посыпку

6. Трещины в слоях водоизоляционного ковра в местах примыкания кровли по углам фонарей

Разрывы рулонного ковра образуются при воздействии температурных перепадов, т.е. кровли на участках углов фонарей являются местами концентраторов напряжений

1. Освободить водоизоляционный ковер от защитного слоя или крупнозернистой посыпки на ширину 400 мм с каждой стороны трещины.

2. На трещину «насухо» наложить полоску полиэтиленовой пленки шириной 150 мм.

3. Наклеить слои дополнительного водоизоляционного ковра так, чтобы нижний слой перекрывал пленку не менее чем на 100 мм и каждый вышележащий слой перекрывал нижележащий на 100 мм. Верхний слой должен закрепляться.

4. Восстановить защитный окрасочный слой или крупнозернистую посыпку и защитный фартук

7. Вздутия под водоизоляционным ковром или же между слоями рубероида

Попадание влаги между слоями рубероида или в полость покрытия (под водоизоляционный ковер) в процессе строительства и эксплуатации кровель. Вздутия появляются в местах приклейки слоев рубероида к мокрым или запыленным поверхностям, вызывающим попадание влаги в утеплитель и слои водоизоляционного ковра

При ремонте приемы устранения вздутий зависят от их площади и характера расположений:

1. В случае, когда вздутия площадью до 0,5 м2 располагаются под слоями ковра, необходимо:

а) в центре вздутия освободить водоизоляционный ковер от защитного слоя или крупнозернистой посыпки на площади 10´10 см;

б) заостренной металлической трубкой диаметром 8 мм, имеющей на конце 2 - 3 поперечных отверстия, сделать прокол в водоизоляционном ковре и выпустить влажный воздух из вздутия;

в) заклеить место прокола одним слоем рубероида, восстановить защитный окрасочный слой или крупнозернистую посыпку.

2. При вздутиях водоизоляционного ковра большого размера и местах, где после прокола и прикатки (см. п. 1, б, в) не произошло склеивания ковра, а также в местах деформированных вздутий необходимо:

а) освободить водоизоляционный ковер от защитного гравийного слоя или крупнозернистой посыпки на участке предполагаемого крестообразного разреза слоев кровли;

б) разрезать слои рубероида по паровоздушной полости и отогнуть их в стороны для просушки;

в) найти складки, по которым поступает вода к местам вздутий, разрезать их и отогнуть в стороны;

г) после высыхания вскрытую поверхность покрыть слоем холодной или горячей кровельной мастики (при применении горячей мастики вскрытую поверхность цементно-песчаной стяжки следует огрунтовать);

д) отогнутые части вздувшихся полотнищ, а в необходимых случаях и ведущих к ним складок сразу же уложить на кровельную мастику и тщательно прижать от краев к разрезу;

е) по местам разреза слоев кровли наклеить полосы рубероида, которые покрываются мастикой;

ж) восстановить защитный окрасочный слой или крупнозернистую посыпку

8. Отслаивание дополнительного водоизоляционного ковра и фартука от выступающих вертикальных участков примыканий кровель

Полотнища рулонных материалов приклеиваются к неподготовленной выступающей поверхности; отсутствует надежное закрепление верхнего края водоизоляционного ковра и фартука

1. У примыканий к поверхностям кладки снять защитный фартук; отставший рулонный ковер отогнуть вниз; в выступающей поверхности сделать штрабу и установить деревянные пробки (на высоте не менее 200 мм от основания под кровлю), к которым закрепить антисептированный деревянный брусок; поверхность примыкания ниже деревянного бруска оштукатурить цементно-песчаным раствором и огрунтовать; отогнутую часть водоизоляционного ковра очистить от пыли и огрунтовать; нанести горячую кровельную мастику на вертикальную поверхность примыкания и отвернутую часть водоизоляционного ковра, затем плотно склеить их. Край отогнутого ковра прибить к деревянному бруску. Затем наклеить дополнительный слой рулонного материала; выполнить работы по установке защитных фартуков с закреплением их краев в штрабе и заделать цементно-песчаным раствором часть штрабы выше защитного фартука.

2. У примыканий к бетонным поверхностям снять защитный фартук; отставший рулонный ковер отогнуть вниз; поверхность примыкания ковра затереть цементно-песчаным раствором; отогнутую часть водоизоляционного ковра, а также поверхность примыкания очистить от пыли и огрунтовать; после высыхания грунтовки нанести горячую мастику на вертикальную поверхность примыкания и отогнутую часть водоизоляционного ковра, затем склеить их; с помощью дюбелей закрепить к бетонной поверхности стальную полосу; закрепить верхний край защитного фартука на стальной полосе, обрезать край рулонного ковра и загерметизировать мастиками шов между бетонной поверхностью и защитным фартуком. Мастику окрасить краской БТ-177.

3. У примыканий к металлическим вертикальным поверхностям снять защитный фартук; отставший рулонный ковер отогнуть вниз; отогнутую часть водоизоляционного ковра, а также поверхность примыкания очистить от пыли и огрунтовать; после высыхания грунтовки нанести горячую мастику на вертикальную поверхность примыкания и отогнутую часть водоизоляционного ковра, после чего склеить их; закрепить комбинированными заклепками или самонарезающими винтами стальную полосу 4´40 мм по всей длине крепления водоизоляционного ковра и защитного фартука; примыкание защитных фартуков зачеканить герметизирующими мастиками типа УМС-50 и окрасить сверху краской БТ-177.

4. При сильной изношенности отставшего водоизоляционного ковра (при наличии в нем сквозных трещин, разрывов) необходимо:

удалить изношенный ковер и освободить участок кровли от защитного слоя или крупнозернистой посыпки на ширину 350 - 400 мм;

заменить изношенный ковер новым и сверху наклеить слои дополнительного рулонного ковра;

установить защитные фартуки в соответствии с типовым решением

9. Сползание кровли в местах примыкания к вертикальным поверхностям. Расслаивание полотнищ рулонных материалов и появление в них повреждений

Недостаточная теплостойкость мастик, применяемых для наклейки слоев дополнительного водоизоляционного ковра. Отсутствие крепления водоизоляционного ковра и защитных фартуков

1. При небольших, только наметившихся, сползаниях мастики: закрепить водоизоляционный ковер, окрасить места примыканий краской БТ-177, выполнить защитные фартуки.

2. При сползании мастики, расслоении и повреждении полотнищ водоизоляционного ковра (встречающихся в случаях, когда на плоских кровлях места примыканий выполняются с использованием легкоплавких кровельных мастик, применяемых на основных плоскостях кровель) необходимо:

освободить от закрепления в верхней части и убрать все отставшие полотнища рулонных материалов совместно со сплывшей вниз мастикой;

освободить водоизоляционный ковер у мест примыкания от защитного слоя или крупнозернистой посыпки на ширину 350 - 400 мм;

выполнить слои дополнительного водоизоляционного ковра, закрепив их в верхней части; выполнить защитный окрасочный слой или крупнозернистую посыпку

10. Сползание полотнищ рулонных материалов защитного битумного или окрасочного слоя на основных плоскостях кровли

Применение битумов или кровельных мастик с недостаточной теплостойкостью, наклейка рулонных материалов вдоль конька кровель

1. После устранения складчатости, вызванной сползанием полотнищ рулонных материалов, произвести окраску водоизоляционного ковра краской БТ-177. Окраска должна периодически возобновляться.

2. Если краска БТ-177 не дает желаемых результатов, сползающие полотнища снимают и на их место наклеивают рулонные материалы вдоль ската на мастиках с требуемой теплостойкостью

11. Протекание кровель в местах установки водосточных воронок

Отсутствие зажимных хомутов и компенсирующих стыков между водоотводящим патрубком и стояком, герметичного соединения между водоприемной чашей и поддоном

1. Переделать соединение между водоотводящим патрубком и стояком с компенсирующим стыком и установить зажимные хомуты.

2. Загерметизировать соединение между водоприемной чашей и поддоном мастикой УМС-50; перед нанесением мастики поверхности соединения высушить, очистить от пыли и огрунтовать.

3. Наклеить слои дополнительного водоизоляционного ковра

12. Просадка участков кровель

Применение сжимаемых утеплителей и неармированных выравнивающих стяжек, а также сжимаемых плитных утеплителей

При использовании сжимаемых утеплителей:

1. Снять слои водоизоляционного ковра на просевшем участке, убрать выравнивающую стяжку и добавить слои более жесткого теплоизоляционного материала.

2. Выполнить стяжку из армированного цементно-песчаного раствора по уплотненному теплоизоляционному слою.

3. Наклеить слои водоизоляционного ковра так, чтобы каждый из них перекрывал нижележащий и склеивался со старым участком кровли не менее чем на 150 мм.

4. Выполнить защитный окрасочный слой или крупнозернистую посыпку.

При использовании сжимаемых плитных утеплителей:

1. Снять слои водоизоляционного ковра на просевшем участке и добавить утеплители из аналогичного материала в виде крошки или специально нарезанных плитных вкладышей.

2. Наклеить слои водоизоляционного ковра и выполнить защитный слой так же, как указано в пп. 3 и 4.

13. Потеря крупнозернистой посыпки кровельных материалов. Появление каверн и трещин в покровном слое

Низкая степень адгезии крупнозернистой посыпки к покровному слою. Расклинивающее действие воды и выветривание крупнозернистой посыпки. Старение покровного слоя

1. Смести отставшую посыпку.

2. Окрасить водоизоляционный ковер защитным составом холодной, что более предпочтительно, или горячей кровельной мастикой с немедленным втапливанием в нее - крупнозернистой посыпки.

3. После высыхания окрасочного слоя или мастики излишек крупнозернистой посыпки смести

14. Продольная и поперечная усадка полотнищ рулонных материалов

Недостаточная пропитка картонной основы рулонных материалов. Появление дефектов вместе с потерей крупнозернистой посыпки кровельным материалом

1. Складки разрезать и поднявшиеся части полотнищ отвернуть в сторону.

2. После просушивания дефектного места нанести горячую мастику на полость, находящуюся под складкой, и прижать к ней отвернутые части полотнищ.

3. После устранения складчатости по поверхности водоизоляционного ковра выполнить работы, предусмотренные п. 13 настоящего приложения.

15. Появление трещин в битумной окраске

Старение битума под воздействием солнечной радиации и атмосферных факторов, которое происходит особенно интенсивно при применении тугоплавких битумов и при отсутствии защитного слоя

1. Битумную окраску, а также трещины очистить от пыли.

2. Покрыть ремонтируемую поверхность холодной битумной мастикой толщиной 1,5 мм или окрасочным слоем и выполнить по ней крупнозернистую посыпку

16. Вырывы верхнего слоя водоизоляционного ковра

Наличие вздутий с механическими повреждениями по их периметру и воздействие порывов ветрового отсоса

1. Участок с вырванным верхним полотнищем рулонного материала высушить, очистить от пыли, а прилегающий к нему (примерно на 20 см по периметру) водоизоляционный ковер освободить от крупнозернистой посыпки.

2. Наклеить полотнище рулонного материала, которое должно перекрывать поврежденный участок и склеиваться с неповрежденной частью водоизоляционного ковра на ширину 10 - 15 см.

3. На отремонтированный участок нанести слой кровельной мастики или защитный окрасочный слой и восстановить крупнозернистую посыпку

17. Механические повреждения кровель в местах перепадов высот

Отсутствие защитного слоя, предохраняющего кровлю от ударов сосулек в местах перепадов высот; небрежное выполнение смежных строительных и монтажных работ, которые приводят к механическим повреждениям кровель

1. Очистить от пыли и освободить от защитного слоя или крупнозернистой посыпки участок вокруг поврежденного места на расстоянии не менее 250 мм и высушить.

2. Наклеить на поврежденный участок два слоя рулонного материала с таким расчетом, чтобы нижний слой склеивался с поверхностью основного водоизоляционного ковра не менее чем на 100 мм по всему периметру; последующий слой должен перекрывать нижележащий и склеиваться с основным водоизоляционным ковром не менее чем на 100 мм.

3. Выполнить защитный слой из гравия, армоцемента или асфальтобетона

18. Механические повреждения при очистке кровель от наледей, снега, пыли

Некачественное выполнение работ по очистке кровель

Выполнить работы по устранению поврежденных слоев кровли и замене их новыми с защитой верхнего слоя бронирующей крупнозернистой посыпкой или слоем гравия, втопленного в горячую битумную мастику

Приложение 10

ГИДРОФОБИЗАЦИЯ БЕТОННЫХ ПОВЕРХНОСТЕЙ И ПОРИСТЫХ МАТЕРИАЛОВ

Гидрофобизация поверхностей бетона, кирпичной кладки и других пористых строительных материалов применяется для защиты их от воздействия атмосферных осадков путем придания материалам гидрофобных свойств, т.е. способности не смачиваться водой, что необходимо при эксплуатации строительных конструкций в условиях повышенной влажности (в районах с повышенной атмосферной влажностью, в помещениях с систематическими разливами воды, паровыделениями и гидросмывами).

Для гидрофобизации поверхности строительных конструкций зданий и сооружений могут быть использованы кремнийорганические полимерные материалы:

а) водная эмульсия ГКЖ-94, состоящая из 50 %-ного водного раствора кремнийорганической жидкости ГКЖ-94, содержащей в качестве эмульгатора желатину;

б) раствор ГКЖ-94 (масла) в уайт-спирите или керосине;

в) водный раствор ГКЖ-94, представляющий собой смесь кремнийорганических соединений с водой.

Гидрофобизация указанными растворами производится нанесением их кистью или краскораспылителем на поверхность строительных конструкций.

Кремнийорганические составы: ГКЖ-94 100 %-ной концентрации, водная эмульсия ГКЖ-94 50 %-ной концентрации и водный раствор ГКЖ-10 20 - 35 %-ной концентрации поступают в готовом для применения виде. Рабочие растворы ГКЖ-94 в органическом растворителе, а также водная эмульсия ГКЖ-94 приготовляется на месте потребления. Рабочая эмульсия ГКЖ-94 20 %-ной концентрации готовится из исходной водной эмульсии ГКЖ-94 50 %-ной концентрации путем разбавления ее водой температурой 18 - 20 °С.

При применении для гидрофобизации в качестве исходного материала ГКЖ-94 (100 %-ной концентрации) эмульсию приготавливают следующим образом: к отмеренному объему холодной воды добавляют желатину из расчета получения 1 %-ного раствора, затем раствор подогревают до температуры 60 - 80 °С до полного растворения желатины, после чего к охлажденному до нормальной температуры 1 %-ному раствору желатины добавляют жидкость ГКЖ-94 в количестве, отвечающем требуемой концентрации, и смесь перемешивают в баке с мешалкой (3000 об/мин) в течение 2 - 3 ч до получения однородной жидкости, не содержащей железообразных частиц.

Гидрофобизация бетонных конструкций эмульсией ГКЖ-94 20 %-ной концентрации в растворе ГКЖ-10 производится при температуре не ниже 10 °С по поверхности, предварительно очищенной щетками или пескоструйным аппаратом. Эмульсия наносится краскопультом на воздушно-сухую поверхность бетона в холодном состоянии (18 - 20 °С) в один слой по всей площади без пропусков и подтеков.

Учитывая бесцветность эмульсии, желательно для визуального контроля качества гидрофобизации вводить в состав эмульсии какой-либо нейтральный краситель.

На 1 м2 поверхности бетона расходуется около 250 - 300 г 20 %-ной эмульсии ГКЖ-94, нанесенной в один слой.

Сушка гидрофобизированной поверхности производится при температуре не ниже 10 °С в течение 48 ч, причем увлажнение обработанной поверхности во время сушки не допускается.

Отдельные строительные конструкции и изделия в целях ускорения сушки могут быть подвергнуты искусственной сушке при температуре 120 °С в течение 1 ч.

Список использованной литературы

1. Нормативы потребности в средствах малой механизации, механизированном инструменте и специальных приспособлениях для эксплуатационно-ремонтного обслуживания электрических станций и сетей Минэнерго СССР. Ч. 2. Эксплуатационно-ремонтное обслуживание электрических станций, подстанций, линий электропередачи и тепловых сетей (кроме капитальных ремонтов основного энергетического оборудования, учтенных в части 1). - М: СПО ОРГРЭС, 1976.

2. Номенклатурный каталог «Оборудование, средства малой механизации, механизированный инструмент и специальные приспособления, применяемые в энергетике, и изделия». - М.: АО «Информэнерго», 1996.

3. Временная инструкция по применению литых бетонов в энергетическом строительстве. ВСН-27-81. - М.: ХОЗУ Минэнерго СССР, 1989.

4. Осипов А.Д., Пухов И.Е., Мелконян С.Е., Семененок С.Н., Сухоцкая С.С. «Перспективы использования ПГПФ в гидротехническом строительстве». - Гидротехническое строительство, 1990, № 12.

5. Серых Р.Л. Государственная научно-техническая программа «Строй-прогресс-2000». - Бетон и железобетон, 1989, № 9.

6. СНиП 2.03.11-85. Защита строительных конструкций от коррозии. Нормы проектирования.

7. СНиП II-23-81. Стальные конструкции. Нормы проектирования.

8. СНиП III-18-75. Металлические конструкции. Правила производства и приемки работ.

9. ГОСТ 5264-80. Ручная дуговая сварка. Соединения сварные. Основные типы. Конструктивные элементы и размеры.

10. ГОСТ 22356-77. Болты и гайки высокопрочные и шайбы. Общие технические условия.

11. ГОСТ 22353-77. Болты высокопрочные класса точности В. Конструкция и размеры.

12. ГОСТ 22354-77. Гайки высокопрочные класса точности В. Конструкция и размеры.

13. ГОСТ 22355-77. Шайбы класса точности С к высокопрочным болтам. Конструкция и размеры.

14. Рекомендации по усилению стальных конструкций производственных зданий и сооружений энергопредприятий. - М.: СПО Союзтехэнерго, 1987.

15. Правила устройства и безопасной эксплуатации грузоподъемных кранов. - М.: НПО ОБТ, 1993.

16. Комплексное обследование грузоподъемных крановых путей грузоподъемных машин. Ч. 1. Общие положения. Методические указания: РД-10-138-97. - М.: Истек, 1997.

17. Повышение несущей способности железобетонных подкрановых балок. - М.: Стройиздат, 1974.

18. Методические указания по рихтовке подкрановых путей в главных корпусах тепловых электростанций: РД 34.21.621-95. - М.: СПО ОРГРЭС, 1997.

19. Ремонт стыков наружных стеновых панелей зданий и сооружений ТЭС (Обзор). - М.: Информэнерго, 1974.

20. СНиП II-26-76. Кровли. Нормы проектирования.

21. СНиП 3.04.01.87. Изоляционные и отделочные покрытия.

22. ГОСТ 232732-79. Вода для бетонов и растворов. Технические условия.

23. СНиП 3.03.01-87. Несущие и ограждающие конструкции.

24. ГОСТ 8736-85. Песок для строительных работ. Технические условия.

25. ГОСТ 26633-91. Бетоны тяжелые и мелкозернистые. Технические условия.

26. ГОСТ 310.1-76. Цементы. Методы испытаний. Общие положения.

27. ГОСТ 310.4-81. Цементы. Методы определения предела прочности при изгибе и сжатии.

28. ГОСТ 6992-68. ЕСЗКС. Покрытия лакокрасочные. Метод испытаний на стойкость в атмосферных условиях.

29. ГОСТ 9.025-74. Покрытия лакокрасочные. Подготовка металлических поверхностей перед окраской.

30. Рекомендации по защите от коррозии стальных и железобетонных строительных конструкций лакокрасочными материалами. - М.: Стройиздат, 1973.

СОДЕРЖАНИЕ

1. Общие положения. 2

2. Дефекты строительных конструкций. 3

2.1. Классификация дефектов по причинам их возникновения. 3

2.2. Классификация дефектов по конструкциям и элементам.. 4

3. Ремонт бетонных и железобетонных конструкций зданий и сооружений с применением цементных бетонов и растворов. 5

4. Ремонт бетонных и железобетонных конструкций зданий и сооружений с применением полимерных материалов на основе эпоксидных смол. 10

5. Ремонт железобетонных конструкций с использованием специальных материалов. 13

6. Ремонт (усиление) металлоконструкций. 21

7. Подкрановые конструкции. 26

8. Ремонт фундаментов и стен подвалов. 29

9. Ремонт стен. 30

9.1. Кирпичные стены.. 30

9.2. Железобетонные, керамзитобетонные и армопенобетонные стеновые панели. 34

10. Ремонт кровель. 39

10.1. Общие указания. 39

10.2. Рулонные кровли. 40

10.3. Особенности ремонта кровельных покрытий с применением стального профилированного настила. 47

11. Ремонт полов. 50

11.1. Общие указания. 50

11.2. Бетонные и цементные полы.. 52

11.3. Асфальтовые полы.. 54

11.4. Полы из керамических плиток. 55

11.5. Мозаичные полы.. 56

11.6. Полы из линолеума. 57

11.7. Наливные полы.. 59

12. Отделочные работы.. 60

12.1. Общие указания. 60

12.2. Штукатурные работы.. 60

12.3. Отделка поверхностей листами сухой штукатурки. 64

12.4. Малярные работы.. 65

12.5. Очистка фасадных поверхностей. 68

12.6. Окраска поверхностей. 68

12.7. Облицовочные работы.. 72

Приложение 1. Торкретирование поверхностей. 73

Приложение 2. Ориентировочные рецептуры ремонтных полимерных составов (масс. доли на 100 масс. долей смолы) 79

Приложение 3. Физико-механические и технологические свойства ремонтных полимерных составов. 80

Приложение 4. Указания по усилению металлических ферм под нагрузкой. 81

Приложение 5. Антикоррозионная защита элементов стальных конструкций при их усилении. 82

Приложение 6. Ремонт кладки инъецированием в трещины раствора. 86

Приложение 7. Восстановление и усиление гидроизоляции подземных сооружений. 88

Приложение 8. Перечень современных материалов, рекомендуемых при ремонте кровель. 96

Приложение 9. Рекомендации по устранению дефектов в рулонных кровлях. 103

Приложение 10. Гидрофобизация бетонных поверхностей и пористых материалов. 109

Список использованной литературы.. 110

 




Яндекс цитирования



   Copyright © 2007-2026,  www.tehlit.ru.

[ ѓосты, стандарты, нормативы, инструкции, правила, строительные нормы ]