//
|
|
БЕЗОПАСНОСТЬ БЫТОВЫХ И АНАЛОГИЧНЫХ ЭЛЕКТРИЧЕСКИХ ПРИБОРОВ Часть 1 Общие требования IEC 60335-1:2001 Household and similar electrical appliances – Safety - Part 1: General requirements (MOD)
Предисловие 1 ПОДГОТОВЛЕН ООО «ТЕСТ БЭТ» на основе собственного аутентичного перевода стандарта, указанного в пункте 4 2 ВНЕСЕН Техническим комитетом по стандартизации ТК 19 «Электрические приборы бытового назначения». 3 УТВЕРЖДЕН И ВВЕДЕН В ДЕЙСТВИЕ Приказом Федерального агентства по техническому регулированию и метрологии от 12 октября 2004 г №33-ст 4 Настоящий стандарт является модифицированным по отношению к международному стандарту МЭК 60335-1:2001 «Бытовые и аналогичные электрические приборы. Безопасность. Часть 1: «Household and similar electrical appliances – Safety - Part 1: General requirements») путем внесения дополнительных требований и технических отклонений, объяснение которых приведено во введении к настоящему стандарту. 5 ВВЕДЕН ВПЕРВЫЕ Содержание Введение Настоящий стандарт относится к группе стандартов, регламентирующих требования безопасности бытовых и аналогичных электрических приборов, состоящей из настоящей части 1 (ГОСТ Р 52161.1-2004) - общие требования безопасности приборов, а также частей, устанавливающих частные требования к конкретным видам приборов. Настоящий стандарт содержит нормы, правила и методы испытаний, являющиеся общими для всех бытовых электроприборов. При отсутствии стандарта на конкретный тип прибора допускается распространять действие настоящего стандарта (насколько это приемлемо) на этот конкретный тип. Методы испытаний по тексту стандарта выделены курсивом. Термины, применяемые в настоящем стандарте, выделены полужирным шрифтом. Изменение наименования раздела «Термины и определения» вызвано необходимостью приведения в соответствие с ГОСТ Р 1.5-2002. В настоящем стандарте раздел «Нормативные ссылки» изложен в соответствии с ГОСТ Р 1.5-2002 и выделен сплошной вертикальной линией, расположенной слева от приведенного текста. Сведения о соответствии ссылочных международных стандартов межгосударственным стандартам и национальным стандартам Российской Федерации приведены в дополнительном приложении 2. В тексте стандарта соответствующие ссылки выделены подчеркиванием сплошной горизонтальной линией. Для приведения в соответствие с ГОСТ Р 1.5-2002 изменено наименование подразделов 3.1-3.6, а текст пункта 3.1 примененного международного стандарта перенесен в сноску к разделу 3 настоящего стандарта. Дополнительные положения, учитывающие потребности национальной экономики Российской Федерации, приведены; - в пункте 13.2 и выделены путем заключения их в рамку, а информация с объяснением причин включения этих положений приведена в примечании к указанному пункту; - в виде дополнительного приложения 1.
Дата введения - 2005-07-01 1 Область примененияНастоящий стандарт устанавливает требования безопасности электрических приборов для бытового и аналогичного применения номинальным напряжением не более 250 В для однофазных приборов и 480 В - для других приборов. Приборы, не предназначенные для нормального бытового использования, но которые тем не менее могут быть источником опасности для людей, например приборы, используемые неспециалистами в магазинах, в легкой промышленности и на фермах, входят в область распространения настоящего стандарта. Примечание 1 - Примерами таких приборов являются зрелищное оборудование, чистящие приборы для промышленного и коммерческого использования и приборы для парикмахерских. Насколько это возможно, настоящий стандарт устанавливает основные виды опасностей приборов, с которыми люди сталкиваются внутри и вне дома. Настоящий стандарт не учитывает опасностей, возникающих в случае: - безнадзорного использования приборов детьми или немощными лицами; - игр детей с приборами. Примечания 2 Следует обратить внимание на следующее: - для приборов, предназначенных для использования в транспортных средствах, на борту кораблей, самолетов, могут быть необходимы дополнительные требования; - для приборов, предназначенных для использования в тропических странах, могут быть необходимы дополнительные требования; - во многих странах национальные органы здравоохранения и охраны труда, органы водоснабжения и др. предъявляют к приборам дополнительные требования. 3 Настоящий стандарт не распространяется на: - приборы, предназначенные исключительно для промышленного применения; - приборы, предназначенные для применения в местах с особыми условиями среды, например в коррозионной или взрывоопасной атмосфере (пыль, пар или газ); - аудио-, видео- и аналогичные электронные устройства (ГОСТ Р МЭК 60065-2002); - приборы для медицинских целей (ГОСТ 30324.0-95); - ручной электромеханический инструмент (ГОСТ 12.2.013.0-91); - персональные компьютеры и аналогичное оборудование (ГОСТ Р МЭК 60950-2002); - переносной электромеханический инструмент (ГОСТ Р МЭК 1029-1-94). 2 Нормативные ссылкиВ настоящем стандарте использованы ссылки на следующие стандарты: ГОСТ 9.302-88 Единая система защиты от коррозии и старения. Покрытия металлические и неметаллические неорганические. Методы контроля ГОСТ 12.2.013.0-91 (МЭК 745-1-82) Система стандартов безопасности труда. Машины ручные электрические. Общие требования безопасности и методы испытаний ГОСТ МЭК 252-95/ГОСТ Р МЭК 252-94 Конденсаторы для двигателей переменного тока ГОСТ МЭК 384-14-95/ГОСТ Р МЭК 384-14-94 Конденсаторы постоянной емкости для электронной аппаратуры. Часть 14. Групповые технические условия на конденсаторы постоянной емкости для подавления электромагнитных помех и соединения с питающими магистралями ГОСТ 7396.1-89 (МЭК 83-75) Соединители электрические штепсельные бытового и аналогичного назначения. Основные размеры ГОСТ 7399-97 Провода и шнуры на номинальное напряжение до 450/750 В. Технические условия ГОСТ 8711-93 (МЭК 51-2-84) Приборы аналоговые показывающие электроизмерительные прямого действия и вспомогательные части к ним. Часть 2. Особые требования к амперметрам и вольтметрам ГОСТ 14254-96 (МЭК 529-89) Степени защиты, обеспечиваемые оболочками (Код IP) ГОСТ 21342.7-76 Терморезисторы. Метод измерения сопротивления ГОСТ 21342.8-76 Терморезисторы. Метод измерения температурного коэффициента сопротивления ГОСТ 26246.4-89 (МЭК 249-2-4-87) Материал электроизоляционный фольгированный общего назначения для печатных плат на основе стеклоткани, пропитанной эпоксидным связующим. Технические условия ГОСТ 26246.5-89 (МЭК 249-2-5-87) Материал электроизоляционный фольгированный нормированной горючести для печатных плат на основе стеклоткани, пропитанной эпоксидным связующим. Технические условия ГОСТ 27473-87 (МЭК 112-79) Материалы электроизоляционные твердые. Метод определения сравнительного и контрольного индексов трекингостойкости во влажной среде ГОСТ 28108-89 Цоколи для источников света. Типы, основные и присоединительные размеры калибры ГОСТ 28218-89 (МЭК 68-2-32-75) Основные методы испытаний на воздействие внешних факторов. Часть 2. Испытания. Испытание Ed: Свободное падение ГОСТ 30030-93 (МЭК 742-83) Трансформаторы разделительные и безопасные разделительные трансформаторы. Технические требования ГОСТ 30324.0-95 (МЭК 601-1-88)/ГОСТ Р 50267.0-92 (МЭК 601-1-88) Изделия медицинские электрические. Часть 1. Общие требования безопасности ГОСТ 30893.1-2002 (ИСО 2768-1-89) Основные нормы взаимозаменяемости. Общие допуски. Предельные отклонения линейных и угловых размеров с неуказанными допусками ГОСТ Р МЭК 1029-1-94 Машины переносные электрические. Общие требования безопасности и методы испытаний ГОСТ Р 50043.2-92 (МЭК 998-2-1-90) Соединительные устройства для низковольтных цепей бытового и аналогичного назначения. Часть 2-1. Частные требования для соединительных устройств с винтовыми зажимами ГОСТ Р 50043.3-2000 (МЭК 60998-2-2-91) Соединительные устройства для низковольтных цепей бытового и аналогичного назначения. Часть 2-2. Дополнительные требования к безвинтовым контактным зажимам для присоединения медных проводников ГОСТ Р 50537-93 (МЭК 127-1-88) Миниатюрные плавкие предохранители. Терминология для миниатюрных плавких предохранителей и общие требования к миниатюрным плавким вставкам ГОСТ Р 51325.1-99 (МЭК 60320-1-94) Соединители электрические бытового и аналогичного назначения. Часть 1. Общие требования и методы испытаний ГОСТ Р 51325.2.3-2002 (МЭК 60320-2-3-98) Соединители электрические бытового и аналогичного назначения. Часть 2-3. Дополнительные требования к соединителям степени защиты свыше IPXO и методы испытаний ГОСТ Р 51686.1-2000 (МЭК 60999-1-99) Соединительные устройства. Требования безопасности к контактным зажимам. Часть 1. Требования к винтовым и безвинтовым контактным зажимам для соединения медных проводников с номинальным сечением от 0,2 до 35 мм2 ГОСТ Р 51992-2002 (МЭК 61643-1-98) Устройства для защиты от импульсных перенапряжений в низковольтных силовых распределительных системах. Часть 1. Требования к работоспособности и методы испытаний ГОСТ Р МЭК 60065-2002 Аудио-, видео- и аналогичная электронная аппаратура. Требования безопасности ГОСТ Р МЭК 60227-5-2002 Кабели с поливинилхлоридной изоляцией на номинальное напряжение до 450/750 В включительно. Гибкие кабели (шнуры) ГОСТ Р МЭК 60245-4-2002 Кабели с резиновой изоляцией на номинальное напряжение до I 450/750 В включительно. Шнуры и гибкие кабели ГОСТ Р МЭК 60238-99 Патроны резьбовые для ламп ГОСТ Р МЭК 60335-2-29-98 Безопасность бытовых и аналогичных электрических приборов. Дополнительные требования к зарядным устройствам батарей и методы испытаний ГОСТ Р МЭК 60598-1-2003 Светильники. Часть 1. Общие требования и методы испытаний ГОСТ Р МЭК 60730-1-2002 Автоматические электрические управляющие устройства бытового и аналогичного назначения. Общие требования и методы испытаний ГОСТ Р МЭК 60950-2002 Безопасность оборудования информационных технологий ГОСТ Р МЭК 61032-2000 Защита людей и оборудования, обеспечиваемая оболочками. Щупы испытательные ГОСТ Р МЭК 61058.1-2000 Выключатели для электроприборов. Часть 1. Общие требования и методы испытаний Примечание - При пользовании настоящим стандартом целесообразно проверить действие ссылочных стандартов по указателю «Национальные стандарты», составленному по состоянию на 1 января текущего года, и по соответствующим информационным указателям, опубликованным в текущем году. Если ссылочный документ отменен без замены, то положение, в котором дана ссылка на него, применяется в части, не затрагивающей эту ссылку. 3 Термины и определения*3.1 Характеристика электрического тока 3.1.1 номинальное напряжение (rated voltage): Напряжение, установленное изготовителем для прибора. 3.1.2 диапазон номинальных напряжений (rated voltage range): Диапазон напряжений, установленный изготовителем для прибора, выраженный верхним и нижним пределами. 3.1.3 рабочее напряжение (working voltage): Максимальное напряжение, которому подвергается рассматриваемая часть прибора, когда прибор работает при его номинальном напряжении и в условиях нормальной работы. Примечания 1 Принимают во внимание различные положения управляющих и коммутационных устройств. 2 Рабочее напряжение учитывает резонансные напряжения. 3 При определении рабочего напряжения не принимают во внимание влияние переходных напряжений. 3.1.4 номинальная потребляемая мощность (rated power input): Потребляемая мощность, установленная изготовителем для прибора. 3.1.5 диапазон номинальных потребляемых мощностей (rated power input range): Диапазон мощностей, установленный изготовителем для прибора, выраженный верхним и нижним пределами. 3.1.6 номинальный ток (rated current): Ток, указанный изготовителем на приборе. Примечания - Если ток для прибора не указан, то номинальный ток равен: - для нагревательных приборов - току, рассчитанному по номинальной потребляемой мощности и номинальному напряжению; - для электромеханических и комбинированных приборов - току, измеренному в период работы прибора в условиях нормальной работы при номинальном напряжении. 3.1.7 номинальная частота (rated frequency): Частота, указанная изготовителем на приборе. 3.1.8 диапазон номинальных частот (rated frequency range): Диапазон частот, установленный изготовителем для прибора, выраженный верхним и нижним пределами. 3.1.9 нормальная работа (normal operation): Условия, при которых прибор работает в соответствии с нормальной эксплуатацией, когда прибор подсоединен к сети питания. 3.1.10 номинальное импульсное напряжение (rated impulse voltage): Напряжение, определяемое на основе номинального напряжения и категории перенапряжения электроприбора, характеризующих установленную способность его изоляции выдерживать кратковременные перенапряжения. * При отсутствии иных указаний, там, где применяются термины «напряжение» и «ток», подразумевают их среднеквадратичные значения. 3.2 Характеристика шнуров питания 3.2.1 съемный шнур (detachable cord): Гибкий шнур, предназначенный для питания прибора или взаимосвязи, который подсоединяют к прибору посредством соответствующего приборного соединительного устройства. 3.2.2 промежуточный шнур (interconnection cord): Внешний гибкий шнур; входящий в комплект прибора и служащий для работы с прибором, кроме подключения к сети питания. Примечания - Примерами промежуточных шнуров являются: ручное дистанционное переключающее устройство; наружное соединение двух частей прибора; шнур, подключающий приставку, или отдельная цепь сигнализации. 3.2.3 шнур литания (supply cord): Гибкий шнур, предназначенный для подачи питания, который закреплен на приборе. 3.2.4 крепление типа X (type X attachment): Такой способ крепления шнура питания, при котором он может быть легко заменен. Примечания - Шнур питания может быть специально подготовленным и имеющимся только у изготовителя или его представителя. Специально подготовленный шнур может также включать часть прибора. 3.2.5 крепление типа Y (type Y attachment): Такой способ крепления шнура питания, при котором он может быть заменен только изготовителем, его ремонтной службой или аналогичным квалифицированным лицом. 3.2.6 крепление типа Z (type Z attachment): Такой способ крепления шнура питания, при котором он не может быть заменен без разрушения или повреждения прибора. 3.2 7 провода питания (supply leads): Комплект проводов, предназначенных для подключения к стационарной проводке и расположенных в отсеке, который находится внутри прибора или прикреплен к нему. 3.3 Характеристика защиты от поражения электрическим током 3.3.1 основная изоляция (basic insulation): Изоляция токоведущих частей: обеспечивающая основную защиту от поражения электрическим током. 3.3.2 дополнительная изоляция (supplementary insulation): Независимая изоляция, дополняющая основную изоляцию с целью обеспечения защиты от поражения электрическим током в случае повреждения основной изоляции. 3.3.3 двойная изоляция (double insulation): Система изоляции, состоящая как из основной, так и дополнительной изоляции. 3.3.4 усиленная изоляция (reinforced insulation): Единая система изоляции токоведущих частей, которая в условиях, предусмотренных настоящим стандартом, обеспечивает такую же степень защиты от поражения электрическим током, как и двойная изоляция. Примечания - Это не означает, что усиленная изоляция является только однородной частью. Она может состоять из нескольких слоев, которые нельзя испытать отдельно как дополнительную или основную изоляцию 3.3.5 функциональная изоляция (functional insulation): Изоляция между проводящими частями с разным напряжением, которая необходима только для надлежащего функционирования электроприбора. 3.3.6 защитный импеданс (protective impedance): Импеданс, включенный между токоведущими частями и доступными проводящими частями конструкций класса II; характеристики его должны быть такими, чтобы ток, проходящий в приборе при нормальной эксплуатации и при возможных повреждениях прибора, ограничивался безопасным значением. 3.3.7 прибор класса 0 (class 0 appliance): Прибор, в котором защита от поражения электрическим током обеспечивается только основной изоляцией; это означает, что отсутствуют средства для присоединения проводящих доступных частей, если такие имеются, к защитному проводу в стационарной проводке установки. В случае повреждения основной изоляции защита от поражения электрическим током возлагается на окружающую среду. Примечания - Приборы класса 0 имеют кожух из изоляционного материала, который может составлять часть или всю основную изоляцию, либо металлический кожух, который отделен от токоведущих частей соответствующей изоляцией. Если прибор с кожухом из изоляционного материала имеет заземляющее устройство для внутренних частей, он считается прибором класса I или класса 01. 3.3.8 прибор класса 0I (class 0I appliance): Прибор, имеющий, по крайней мере, повсюду основную изоляцию и включающий зажим для заземления, но снабженный шнуром питания без заземляющего провода и штепсельной вилкой без заземляющего контакта. 3.3.9 прибор класса I (class I appliance): Прибор, в котором защита от поражения электрическим током обеспечивается не только основной изоляцией, но включает в себя и дополнительные меры безопасности, при которых проводящие доступные части соединены с защитным заземляющим проводом в стационарной проводке установки таким образом, что проводящие доступные части не могут оказаться под напряжением в случае повреждения основной изоляции. Примечания - Эта мера предосторожности включает в себя защитный провод в шнуре питания. 3.3.10 прибор класса II (class II appliance): Прибор, в котором защита от поражения электрическим током обеспечивается не только основной изоляцией, но в котором предусмотрены дополнительные меры безопасности, такие как двойная или усиленная изоляция, причем не предусмотрено защитное заземление, а условия установки не являются дополнительной гарантией. Примечания 1 Такие приборы могут быть отнесены к одному из следующих типов: a) прибор, имеющий прочный и практически сплошной кожух из изоляционного материала, который покрывает все металлические части, за исключением небольших деталей, таких как заводская табличка, винты и заклепки, которые изолированы от токоведущих частей изоляцией, по крайней мере эквивалентной усиленной изоляции; такой прибор называют прибором класса II с изолирующим кожухом; b) прибор, имеющий практически сплошной металлический кожух, в котором повсюду применена двойная или усиленная изоляция; такой прибор называют прибором класса II с металлическим кожухом; c) прибор, являющийся комбинацией типов, указанных в перечислениях а) и b). 2 Кожух прибора класса II с изолирующим кожухом может образовывать часть или всю дополнительную или усиленную изоляцию. 3 Если прибор, имеющий повсюду двойную или усиленную изоляцию, снабжен заземляющим зажимом или заземляющим контактом, то его относят к приборам класса 0 или 0I. 3.3.11 конструкция класса II (class II construction): Часть прибора, в которой защита от поражения электрическим током обеспечена двойной или усиленной изоляцией. 3.3.12 прибор класса III (class III appliance): Прибор, в котором защита от поражения электрическим током обеспечивается безопасным сверхнизким напряжением и в котором не возникает напряжение, большее, чем безопасное сверхнизкое напряжение. 3.3.13 конструкция класса III (class III construction): Часть прибора, в которой защита от поражения электрическим током обеспечивается безопасным сверхнизким напряжением и в которой не возникают напряжения, большие, чем безопасное сверхнизкое напряжение. 3.3.14 воздушный зазор (clearance): Кратчайшее расстояние по воздуху между двумя проводящими частями или между проводящей частью и доступной поверхностью. 3.3.15 путь утечки (creepage distance): Кратчайшее расстояние вдоль поверхности изоляции между двумя проводящими частями или между проводящей частью и доступной поверхностью. 3.4 Характеристики напряжения 3.4.1 сверхнизкое напряжение (extra-low voltage): Напряжение, подаваемое от источника внутри прибора, которое не превышает 50 В между проводниками и между проводниками и землей при работе прибора на номинальном напряжении. 3.4.2 безопасное сверхнизкое напряжение (safety extra-low voltage): Напряжение, не превышающее 42 В между проводниками и между проводниками и землей; при этом напряжение холостого хода не превышает 50 В. Если безопасное сверхнизкое напряжение получают от сети питания, оно должно поступать через безопасный разделительный трансформатор или преобразователь с раздельными обмотками, изоляция которых соответствует требованиям к двойной или усиленной изоляции. Примечания 1 Установленные предельные значения напряжений основаны на предположении, что безопасный разделительный трансформатор работает при своем номинальном напряжении. 2 Безопасный разделительный трансформатор известен также как SELV. 3.4.3 безопасный разделительный трансформатор (safety isolation transformer): Трансформатор, входная обмотка которого электрически отделена от выходной обмотки изоляцией, эквивалентной по крайней мере двойной или усиленной изоляции, и который предназначен для питания прибора или его цепей безопасным сверхнизким напряжением. 3.4.4 цепь, обеспечивающая защиту от сверхнизкого напряжения (protective extra-low voltage circuit): Заземленная цепь, работающая при безопасном сверхнизком напряжении и отделенная с других цепей основной изоляцией и защитным экранированием, двойной изоляцией или усиленной изоляцией. Примечания 1 Под защитным экранированием понимают отделение цепей от токоведущих частей при помощи защитного экрана. 2 Цепь, обеспечивающая защиту от сверхнизкого напряжения, также известна как цепь PELV. 3.5 Типы приборов 3.5.1 переносной прибор (portable appliance): Прибор, предназначенный для перемещения во время работы, либо прибор, кроме закрепляемых приборов, имеющий массу менее 18 кг. 3.5.2 ручной прибор (hand-held appliance): Переносной прибор, который при нормальной эксплуатации держат в руке; двигатель, если он имеется, составляет неотъемлемую часть прибора. 3.5.3 стационарный прибор (stationary appliance): Закрепляемый прибор или прибор, который не является переносным прибором. 3.5.4 закрепляемый прибор (fixed appliance): Прибор, который крепится к опоре или который закрепляется каким-либо другим способом в определенном положении. Примечание - Клеящие вещества не считают средствами крепления закрепляемого прибора к опоре. 3.5.5 встраиваемый прибор (built-in appliance): Закрепляемый прибор, предназначенный для установки в шкафчиках, в подготовленных нишах в стене или других подобных местах. 3.5.6 нагревательный прибор (heating appliance): Прибор, содержащий нагревательные элементы и не имеющий двигателя. 3.5.7 электромеханический прибор (motor-operated appliance): Прибор с двигателем, не имеющий нагревательного элемента. Примечание - Приборы с магнитным приводом относятся к электромеханическим приборам. 3.5.8 комбинированный прибор (combined appliance): Прибор, включающий в себя как нагревательные элементы, так и двигатели. 3.6 Части приборов 3.6.1 несъемная часть (non-detachable part): Часть, которая может быть снята или открыта только с помощью инструмента, или часть, выдерживающая испытание по 22.11. 3.6.2 съемная часть (detachable part): Часть, которая может быть снята без помощи инструмента, или часть, которую снимают в соответствии с инструкцией по эксплуатации, даже если для ее снятия необходим инструмент, или часть, которая не выдерживает испытание по 22.11 Примечания 1 Если какую-либо часть необходимо снять в целях установки, эту часть не считают съемной, даже если в инструкции по эксплуатации установлено, что она должна быть снята. 2 Комплектующие, которые могут быть удалены без помощи инструмента, следует считать съемными частями 3 Часть, которая может быть открыта, считают частью, которую можно снять. 3.6.3 доступная часть (accessible part): Часть или поверхность, к которой можно прикоснуться с помощью испытательного щупа по ГОСТ Р МЭК 61032-2000, если они металлические - любая проводящая часть, присоединенная к ним. 3.6.3 токоведущая часть (live part): Проводник или проводящая часть, включая нейтральный провод (но не PEN-провод), предназначенные для пропускания тока при нормальной эксплуатации. Примечания 1 Части, соответствующие 8.1.4, независимо от того доступны они или нет, не считают токоведущими частями. 2 PEN-провод - защитный заземляющий нейтральный провод, выполняющий комбинированные функции как защитного, так и нейтрального провода. 3.6.5 инструмент (tool): Отвертка, монета или любой другой предмет, который можно использовать, чтобы привести в действие винт или подобные крепежные средства. 3.7 Ограничительные защитные устройства 3.7.1 терморегулятор (termostat): Термочувствительное устройство, рабочая температура которого может быть либо установленной, либо регулируемой, и которое в условиях нормальной работы поддерживает температуру контролируемой части в определенных пределах путем автоматического размыкания и замыкания цепи 3.7.2 термоограничитель (temperature limiter): Термочувствительное устройство, рабочая температура которого может быть либо установленной, либо регулируемой, и которое в условиях нормальной работы срабатывает путем размыкания или замыкания цепи, когда температура контролируемой части достигает заданного значения. Примечание - Термоограничитель не срабатывает в обратном направлении во время нормального цикла работы прибора. Он может требовать или не требовать возврата в исходное положение вручную. 3.7.3 термовыключатель (thermal cut-out): Устройство, которое ограничивает температуру контролируемой части при ненормальной работе путем автоматического размыкания цепи или уменьшения значения тока и которое сконструировано так, что его уставка не может быть изменена пользователем. 3.7.4 термовыключатель с самовозвратом (self-resetting thermal cut-out): Термовыключатель, который автоматически возобновляет подачу тока после того, как соответствующая часть прибора будет достаточно охлаждена. 3.7.5 термовыключатель без самовозврата (non-self-resetting thermal cut-out): Термовыключатель, в котором для возобновления подачи тока и возврата в исходное положение требуется произвести действие вручную или провести замену части. Примечание - Действие вручную обеспечивает отключение прибора от сети питания. 3.7.6 защитное устройство (protective device): Устройство, срабатывание которого предотвращает опасную ситуацию в условиях ненормальной работы. 3.7.7 термозвено (thermal link): Термовыключатель, который срабатывает только однажды, а затем требует частичной или полной замены. 3.8 Конструкция приборов 3.8.1 отключение всех полюсов (all-pole disconnection): Отключение одновременно одним действием обоих питающих проводов или для трехфазных приборов - отключение трех питающих проводов, кроме заземляющего провода. Примечание - Для трехфазных приборов заземляющий провод не считают питающим проводом. 3.8.2 положение «ВЫКЛ» (off position): Устойчивое положение выключающего устройства, при котором цепь, контролируемая выключателем, отключена от сети питания. Примечание - Это положение необязательно означает отключение всех полюсов. 3.8.3 нагревательный элемент с видимым свечением (visibly glowing heating element): Нагревательный элемент, который виден снаружи прибора частично или полностью и температура которого по меньшей мере 650 °С после достижения прибором установившегося состояния при номинальной потребляемой мощности в условиях нормальной работы. 3.8.4 нагревательный элемент с положительным температурным коэффициентом (РТС heating element): Элемент, предназначенный для нагрева, состоящий в основном из сопротивлений с положительным температурным коэффициентом, обладающих такой термочувствительностью, что при росте температуры в определенном диапазоне у них происходит быстрое нелинейное увеличение сопротивления. 3.8.5 обслуживание пользователем (user maintenance): Любая работа по обслуживанию, указанная в инструкции по эксплуатации или на приборе, которая предназначена для выполнения пользователем прибора. 3.9 Характеристика электронных частей приборов 3.9.1 электронное комплектующее (electronic component): Часть, в которой проводимость обеспечивается в основном электронами, движущимися в вакууме, газе или полупроводнике. Примечание - Неоновые индикаторы не считают электронными комплектующими. 3.9.2 электронная цепь (electronic circuit): Цепь, которая оснащена не менее чем одним электронным комплектующим. 4 Общие требованияПриборы должны быть сконструированы так, чтобы при нормальной эксплуатации они работали безопасно, с тем чтобы не возникала опасность для персонала или окружающей среды даже в случае небрежного обращения с прибором, возможного при нормальной эксплуатации. В основном этот принцип достигается путем выполнения соответствующих требований настоящего стандарта, а проверка осуществляется путем проведения всех соответствующих испытаний. 5 Общие условия испытанийКроме случаев, оговоренных особо, испытания следует проводить в соответствии с настоящие разделом. 5.1 Испытания, проводимые в соответствии с настоящим стандартом, являются типовыми Примечание - Текущие испытания установлены в приложении А. 5.2 Испытания проводят на одном приборе, который должен выдержать все соответствующие испытания. Однако испытания по разделам 20, 22 (кроме 22.11 и 22.18), 23 - 26, 28, 30 и 31 могут быть проведены на отдельных приборах. Испытание в соответствии с 22.3 проводят на новом приборе. Примечания 1 Могут потребоваться дополнительные образцы, если прибор должен быть испытан при разных условиях, например, если на неге могут подаваться разные напряжения питания. Если намеренно слабой частью становится разомкнутая электрическая цепь, при испытаниях по разделу 19 может потребоваться дополнительный прибор. Испытание комплектующих изделий может потребовать поставки дополнительных образцов этих комплектующих. Если проводят испытание по приложению С, требуются шесть дополнительных образцов двигателя. Если проводят испытания по приложению G, требуются четыре дополнительных трансформатора. Если проводят испытания по приложению Н, требуются три выключателя или три дополнительных прибора. 2 Следует избегать накопления напряжений при последовательных испытаниях электронных цепей. Может возникнуть необходимость замены комплектующих изделий или использования дополнительных образцов. Количество дополнительных образцов должно быть по возможности минимальным, что определяется оценкой соответствующих электронных цепей. 3 Если для проведения определенного испытания прибор необходимо демонтировать, следует убедиться, что он повторно собран так же, как при первоначальной поставке. В случае сомнения последующие испытания могут быть проведены на отдельном образце. 5.3 Испытания проводят в последовательности, определяемой нумерацией разделов настоящего стандарта. Однако испытание по 22.11 проводят на приборе при комнатной температуре до испытаний по разделу 8. Испытания по разделу 14 и по 22.24 проводят после испытаний по разделу 29. Если из конструкции прибора очевидно, что определенное испытание неприменимо, то это испытание не проводят. 5.4 Если испытуемый прибор питается и другими видами энергии, такими как газ, то влияние их расхода должно быть также учтено. 5.5 Испытания проводят на приборе или любой его подвижной части, установленной в наиболее неблагоприятное положение, которое возможно при нормальной эксплуатации. 5.6 Приборы, снабженные управляющими или переключающими устройствами, уставка которых может быть изменена потребителем, испытывают при самых неблагоприятных уставках этих устройств. Примечание 1 Если средства регулирования управляющего устройства доступны без инструмента, то настоящий пункт применяется независимо от того, может ли уставка быть изменена вручную или с помощью инструмента. Если средства регулирования не доступны без помощи инструмента и если не предусмотрено изменение уставки потребителем, то настоящий пункт не применяется. 2 Соответствующее пломбирование рассматривается как способ предотвращения изменения уставки потребителем. 5.7 Испытания проводят в местах, защищенных от сквозняков, и при температуре окружающей среды (20 ± 5) °С. Если температура какой-либо части ограничивается устройством, чувствительным к температуре, или на нее влияет температура, при которой происходит изменение состояния, например кипение воды, то в сомнительных случаях окружающую температуру поддерживают в пределах (23 ± 2) °С. 5.8.1 Приборы, предназначенные для работы только на переменном токе, испытывают переменным током при номинальной частоте, а приборы, предназначенные для работы как на переменном, так и на постоянном токе, испытывают при наиболее неблагоприятном виде питания. Приборы, предназначенные для работы на переменном токе, на которых не указана номинальная частота или указан диапазон частот от 50 до 60 Гц, испытывают при частоте 50 или 60 Гц, в зависимости от того, при какой частоте создаются наиболее неблагоприятные условия. 5.8.2 Приборы, предназначенные для работы при нескольких номинальных напряжениях, испытывают при наиболее неблагоприятном напряжении. Если для электромеханических и комбинированных приборов, маркированных диапазоном номинальных напряжений, указано, что напряжение питания равно номинальному напряжению, умноженному на коэффициент, то напряжение питания равно: - верхнему пределу диапазона номинальных напряжений, умноженному на коэффициент, если последний более 1; - нижнему пределу диапазона номинальных напряжений, умноженному на коэффициент, если последний менее 1. Если коэффициент не указан, напряжение питания должно равняться наиболее неблагоприятному в пределах диапазона. Примечания 1 Если нагревательный прибор рассчитан на диапазон номинальных напряжений, то верхний предел диапазона напряжений обычно является наиболее неблагоприятным напряжением в пределах данного диапазона. 2 При определении наиболее неблагоприятного напряжения для комбинированных и электромеханических приборов и для приборов, рассчитанных на несколько номинальных напряжений или на несколько диапазонов номинальных напряжений, может возникнуть необходимость в проведении нескольких испытаний при минимальных, средних и максимальных значениях номинального напряжения или диапазонов номинальных напряжений. 5.8.3 Если для нагревательных приборов и комбинированных приборов, маркированных диапазоном номинальных потребляемых мощностей, указано, что мощность равна номинальной потребляемой мощности, умноженной на коэффициент, то прибор работает на: - верхнем пределе диапазона номинальных мощностей, умноженном на этот коэффициент, если последний более 1; - нижнем пределе диапазона номинальных мощностей, умноженном на этот коэффициент, если последний менее 1. Если коэффициент не указан, значение потребляемой мощности должно равняться наиболее неблагоприятному значению в пределах диапазона номинальных мощностей. 5.8.4 Если для приборов, маркированных диапазоном номинальных напряжений и номинальной потребляемой мощностью, соответствующей среднему значению диапазона номинальных напряжений, указано, что потребляемая мощность равна номинальному значению, умноженному на коэффициент, то прибор работает при: - значении мощности, рассчитанном по верхнему пределу диапазона номинальных напряжений, умноженному на коэффициент, если последний более 1; - значении мощности, рассчитанном по нижнему пределу диапазона номинальных напряжений, умноженному на коэффициент, если последний менее 1. Если коэффициент не указан, потребляемая мощность должна соответствовать потребляемой мощности, относящейся к наиболее неблагоприятному номинальному напряжению внутри диапазона номинальных напряжений. 5.9 Если альтернативные нагревательные элементы или принадлежности поставляются к прибору изготовителем, то прибор испытывают с теми элементами или принадлежностями, которые дают самые неблагоприятные результаты. 5.10 Испытания проводят на приборе в состоянии поставки. Прибор, сконструированный как единый прибор, но поставляемый частями, испытывают после сборки в соответствии с инструкцией, прилагаемой к прибору. Встраиваемые и закрепляемые приборы устанавливают по инструкции, прилагаемой к прибору, до начала испытаний. 5.11 Приборы, предназначенные для подключения к сети при помощи гибкого шнура, испытывают с соответствующим гибким шнуром, присоединенным к прибору. 5.12 Если для нагревательных и комбинированных приборов указано, что прибор должен работать при потребляемой мощности, умноженной на коэффициент, то это положение относится только к нагревательным элементам без ощутимого положительного температурного коэффициента сопротивления. Для нагревательных элементов с поддающимся оценке положительным температурным коэффициентом сопротивления, кроме нагревательных элементов с положительным температурным коэффициентом, напряжение питания определяют, подавая на прибор номинальное напряжение до достижения нагревательным элементом своей рабочей температуры. Затем напряжение питания быстро увеличивают до значения, необходимого для получения потребляемой мощности, требуемой для соответствующего испытания, это значение напряжения питания поддерживают в течение всего испытания. Примечание - В общем случае температурный коэффициент считается ощутимым, если при номинальном напряжении потребляемая мощность прибора в холодном состоянии отличается более чем на 25 % от потребляемой мощности при рабочей температуре. 5.13 Испытания приборов с нагревательными элементами с положительным температурным коэффициентом проводят при напряжении, соответствующем указанной потребляемой мощности. Если эта потребляемая мощность более номинального значения, то коэффициент, на который умножают значение напряжения, равен корню квадратному из значения коэффициента для потребляемой мощности. 5.14 Если приборы класса 0I или I имеют доступные металлические части, которые не заземлены и не отделены от токоведущих частей промежуточной заземленной металлической частью, то такие части проверяют на соответствие требованиям, предусмотренным для конструкции класса II. Если приборы класса 0I или I имеют доступные неметаллические части, которые не отделены от токоведущих частей промежуточной заземленной металлической частью, то такие части проверяют на соответствие требованиям, указанным для конструкции класса II. 5.15 Если приборы имеют части, работающие при безопасном сверхнизком напряжении, то такие части проверяют на соответствие требованиям, предусмотренным для конструкции класса III. 5.16 При испытании электронных цепей необходимо, чтобы источники питания не подвергались таким внешним помехам, которые могут оказать влияние на результаты испытаний. 5.17 Приборы, питающиеся от перезаряжаемых батарей, испытывают в соответствии с приложением В. 5.18 Если линейные и угловые размеры указаны без допуска, то для выбора допуска применяют ГОСТ 30893.1-2002. 6 Классификация6.1 По типу защиты от поражения электрическим током приборы классифицируют на классы 0; 0I; I; II; III. Соответствие требованию проверяют осмотром и соответствующими испытаниями. 6.2 Приборы должны иметь соответствующую степень защиты от вредного доступа воды. Соответствие требованию проверяют осмотром и соответствующими испытаниями. Примечание - Степени защиты от вредного доступа воды - по ГОСТ 14254-96. 7 Маркировка и инструкции7.1 На приборах должны быть указаны следующие данные: - номинальное напряжение или диапазон номинальных напряжений в вольтах; - условное обозначение рода тока, если не указана номинальная частота; - номинальная потребляемая мощность в ваттах или номинальный ток в амперах; - наименование, торговая марка или товарный знак изготовителя или ответственного поставщика; - наименование модели или тип;
- код IP - степень защиты от доступа воды, кроме степени защиты 1РХ0. Соответствие требованию проверяют осмотром. Примечания 1 Первую характеристическую цифру кода IP нет необходимости указывать на приборе. 2 Допускаются дополнительные маркировки при условии, что они не вызовут путаницы. 3 Если комплектующие маркированы отдельно, то маркировка прибора и маркировка комплектующих не должны вызывать сомнений относительно маркировки самого прибора. 4 Если в маркировке прибора указано номинальное давление, в качестве единицы величины могут использоваться бары, но вместе с Паскалями (бары указывают в скобках). (Поправка, ИУС 8-2008). 7.2 Стационарные приборы с многоканальным питанием должны иметь предупреждающую надпись следующего содержания: «Внимание! Перед доступом к зажимным устройствам все цепи питания должны быть отключены» Такая предупреждающая надпись должна располагаться поблизости от крышки зажимов. Соответствие требованию проверяют осмотром. 7.3 Приборы, которые рассчитаны на диапазон номинальных значений и которые могут работать без настройки внутри диапазона, должны быть маркированы нижним и верхним пределами диапазона, отделенными тире. Примечание 1 - Пример: 115-230 В: Прибор рассчитан на любое значение в пределах маркированного диапазона (например, щипцы для завивки с нагревательными элементами с положительным температурным коэффициентом). Приборы, рассчитанные на несколько номинальных значений, которые потребителю или установщику необходимо настраивать для применения при определенном значении, должны быть маркированы этими значениями, отделенными наклонной чертой. Примечания 2 Пример: 115/230 В: Прибор рассчитан только на указанные значения (например, бритва с селекторным переключателем). 3 Это требование также применимо к приборам, имеющим средства подключения как к однофазному, так и многофазному питанию. Пример: 230/400 В: Прибор рассчитан только на указанные напряжения, причем 230 В - для однофазной работы, 400 В - для трехфазной работы (например, посудомоечные машины с зажимами для обоих типов питания). Соответствие требованию проверяют осмотром. 7.4 Если прибор может быть отрегулирован на различные номинальные напряжения, то маркировка напряжения, на которое настроен прибор, должна быть ясно различима. Примечание - Если не требуются частые изменения уставки напряжения, то это требование считают выполненным, если номинальное напряжение, на которое настроен прибор, можно определить из схемы проводки, прикрепленной к прибору. Схема проводки может находиться на внутренней стороне крышки, которую надо снять, чтобы присоединить питающие проводники. Схема проводки не должна находиться на этикетке, которая свободно прикреплена к прибору. Соответствие требованию проверяют осмотром. 7.5 На приборах, маркированных несколькими номинальными напряжениями или несколькими диапазонами номинальных напряжений, номинальная потребляемая мощность или номинальный ток должны быть указаны для каждого из этих напряжений или диапазонов напряжений. Если разница между пределами диапазона номинальных напряжений не превышает 10 % среднего значения диапазона, допускается указывать номинальную потребляемую мощность или номинальный ток для среднего диапазона. Верхний и нижний пределы номинальной потребляемой мощности или номинального тока должны быть обозначены на приборе так, чтобы ясно было видно соотношение между мощностью и напряжением. Соответствие требованию проверяют осмотром. 7.6 В маркировке используют следующие условные обозначения:
Примечание 1 - Номинальный ток плавкой вставки может быть указан в соединении с этим символом;
Примечание - Номинальная мощность лампы может быть указана в соединении с этим символом;
Условное обозначение рода тока следует помещать за обозначением номинального напряжения. Условное обозначение прибора класса II должно быть расположено так, чтобы было ясно, что оно является частью технической информации, и чтобы его нельзя было принять за какое-либо другое обозначение. Единицы и символы физических величин должны соответствовать Международной системе СИ. Соответствие требованию проверяют осмотром. Примечание 3 - Допускаются дополнительные условные обозначения при условии, что они не вызовут путаницу. 7.7 Приборы, присоединяемые к более чем двум питающим проводам, и приборы с многоканальным питанием должны быть снабжены схемой соединений, прикрепленной к прибору, если правильный способ присоединения не является очевидным. Соответствие требованию проверяют осмотром. Примечания 1 Правильный способ присоединения для трехфазных приборов считается очевидным, если зажимы для питающих проводов обозначены стрелками, направленными в сторону зажимов. 2 Маркировка словами считается приемлемым способом указания правильного соединения. 3 Схемой соединения может быть схема проводки по 7.4. 7.8 Используют следующие обозначения зажимов для подключения приборов к сети питания, за исключением крепления типа Z: - буквой «N» - для зажимов предназначенных только для нейтрального провода; - символом Эти обозначения не должны помещаться на винтах, съемных шайбах или других частях, которые могут быть сняты при присоединении проводов. Соответствие требованию проверяют осмотром. 7.9 Выключатели, функционирование которых может вызвать опасность, должны быть маркированы или расположены так, чтобы было ясно, для управления какой частью прибора они предназначены, за исключением случаев, когда в этом нет явной необходимости. Обозначения, используемые для этой цели (там, где их применяют), должны быть понятны без знания языка или национальных стандартов. Соответствие требованию проверяют осмотром. 7.10 Различные положения переключателей на стационарных приборах и различные положения регулирующих устройств на всех приборах должны быть обозначены цифрами, буквами или другими видимыми средствами. Примечание 1 - Это требование относится также к переключателям, которые являются частью регулирующего устройства. Если для обозначения различных положений используются цифры, то положение «ВЫКЛ» должно быть обозначено цифрой «0», а положения, соответствующие большим значениям, таким как выходная мощность, потребляемая мощность, скорость или охлаждающий эффект, должны быть отмечены числами большей величины. Цифру «0» не следует использовать для каких-либо других обозначений, если она не расположена и не объединена с другими цифрами так, что исключается ошибка в определении положения «ВЫКЛ». Примечание 2 - Цифра «0» может использоваться, например, на клавишах устройств числового программного управления. Соответствие требованию проверяют осмотром. 7.11 На регулирующих устройствах, предназначенных для регулирования во время установки или при нормальной эксплуатации должны быть указаны направления регулирования. Примечание - Обозначения «+» и «-» считают достаточными. Соответствие требованию проверяют осмотром. 7.12 К прибору должны быть приложены инструкции по эксплуатации с целью безопасного использования прибора. Примечание - Указания по эксплуатации допускается маркировать на приборе, если он имеет такие размеры, что маркировка будет хорошо видна при нормальной эксплуатации. Если необходимы меры предосторожности при обслуживании пользователем, должно быть приложено подробное описание. Соответствие требованию проверяют осмотром. 7.12.1 Если необходимы меры предосторожности при установке прибора, должно быть приложено подробное описание. Соответствие требованию проверяют осмотром. 7.12.2 Если стационарный прибор не снабжен шнуром питания и штепсельной вилкой или другими средствами для отсоединения от источника питания, имеющими разъединение контактов на всех полюсах, что обеспечивает полное отсоединение в условиях категории перенапряжения III, в инструкциях должно быть указано, что средства отсоединения должны быть встроены в фиксированную проводку в соответствии с правилами установки проводки. Соответствие требованию проверяют осмотром. 7.12.3 Если изоляция фиксированной проводки питания прибора для постоянного подключения к сети питания может соприкасаться с частями, у которых превышение температуры при испытании по разделу 11 более 50 °С, в инструкциях должно быть установлено, что фиксированная проводка питания должна быть защищена, например, изолирующей муфтой, имеющей соответствующее превышение температуры. Соответствие требованию проверяют осмотром. 7.12.4 Инструкции для встраиваемых приборов должны содержать следующие четкие сведения: - размеры пространства, необходимого для встраивания прибора; - размеры и положение средств опоры и крепления прибора внутри указанного пространства; - минимальные зазоры между различными частями прибора и окружающими его сооружениями; - минимальные размеры вентиляционных отверстий и их правильное расположение; - способ присоединения к сети питания и взаимосвязь отдельных комплектующих; - указание о необходимости иметь вилку, доступную после установки прибора, если прибор не оснащен выключателем, соответствующим 24.3. Соответствие требованию проверяют осмотром. 7.12.5 Для приборов с креплением шнура типа X, имеющих специально подготовленный шнур, инструкция должна содержать следующую информацию: «При повреждении шнура питания его следует заменить специальным шнуром или комплектом, получаемым у изготовителя или его агента». Для приборов с креплением шнура типа Y инструкция должна содержать следующую информацию: «При повреждении шнура питания во избежание опасности его должен заменить изготовитель или его агент, или аналогичное квалифицированное лицо». Для приборов с креплением шнура типа Z инструкция должна содержать следующую информацию: «Шнур питания замене не подлежит. Если шнур поврежден, то прибор следует снять с эксплуатации». Соответствие требованию проверяют осмотром. 7.13 Инструкции и другие тексты должны быть написаны на официальном языке той страны, в которую прибор должен быть поставлен. Соответствие требованию проверяют осмотром. 7.14 Маркировка, установленная настоящим стандартом, должна быть легкоразличима и долговечна. Соответствие требованию проверяют осмотром и протиркой маркировки вручную в течение 15 с лоскутом ткани, смоченным в воде, а затем в течение 15 с лоскутом ткани, смоченным в бензине. После проведения всех испытаний, предусмотренных настоящим стандартом, маркировка должна быть легкоразличима, таблички с маркировкой не должны легко сниматься и не должны деформироваться. Примечания 1 При оценке долговечности маркировки учитывают условия нормальной эксплуатации. Так, например, маркировка, нанесенная краской или эмалью, за исключением стекловидной эмали, на корпусах, которые, вероятно, будут часто подвергаться чистке, не считается долговечной. 2 Бензин, используемый при испытаниях, представляет собой раствор гексана в алифатических соединениях; максимальное содержание ароматических соединений - 0,1 % по объему, число каурибутанола - 29; начальная точка кипения - приблизительно 65 °С, точка испарения - приблизительно 69 °С; удельная масса - приблизительно 0,66 кг/л. 7.15 Маркировка, указанная в 7.1-7.5 должна быть расположена на основной части прибора. Маркировка на приборе должна быть легкоразличима с внешней стороны прибора или, если это необходимо, после снятия крышки. Для переносных приборов должна быть возможность снимать и открывать эту крышку без помощи инструмента. Для стационарных приборов по меньшей мере наименование или торговая марка, или товарный знак изготовителя или ответственного поставщика и модель или тип должны быть видимы, когда прибор установлен в положение, соответствующее условиям нормальной эксплуатации. Эта маркировка может располагаться под съемной крышкой. Другие обозначения могут располагаться под крышкой только в том случае, если они расположены около зажимов. Для закрепляемых приборов это требование применяется после того, как прибор установлен в соответствии с инструкциями, прилагаемыми к прибору. Указания для выключателей и устройств управления должны быть расположены на или около этих комплектующих, их нельзя помещать на частях, которые могут быть размещены или перемещены так, что маркировка введет в заблуждение. Соответствие требованию проверяют осмотром. 7.16 Если соответствие требованиям настоящего стандарта зависит от функционирования заменяемого термозвена или плавкого звена, то номер по каталогу или другие средства для обозначения звена должны быть маркированы на таком месте, где они четко видны, когда прибор демонтируют с целью замены звена. Примечание - Допускается маркировать само звено, если после его срабатывания маркировка четко видна. Настоящее требование не распространяется на звенья, которые можно заменить только вместе с частью прибора. Соответствие требованию проверяют осмотром. 8 Защита от доступа к токоведущим частям8.1 Приборы должны быть сконструированы и закрыты так, чтобы была обеспечена достаточная защита от случайного контакта с токоведущими частями. Соответствие требованию проверяют осмотром и испытаниями по 8.1.1 - 8.1.3 в зависимости от применимости и с учетом 8.1.4 - 8.1.5. 8.1.1 Требование 8.1 распространяется на все положения прибора, работающего так же, как в условиях нормальной эксплуатации и после открывания крышек, дверей и удаления съемных частей. Примечание - Это требование исключает использование плавких винтов и миниатюрных прерывателей цепи винтового типа, доступных без применения инструмента. Лампы, размещенные за съемной крышкой, не снимают, если прибор может быть изолирован от сети питания с помощью штепсельной вилки или выключателя всех полюсов. Однако должна быть обеспечена защита от случайного прикосновения к токоведущим частям цоколей ламп, при установке или удалении ламп, которые размещены за съемной крышкой. Испытательный щуп В по ГОСТ Р МЭК 61032-2000 прикладывают без заметного усилия во всех возможных положениях, за исключением того, что приборы, используемые обычно на полу и имеющие массу свыше 40 кг, не наклоняют. Через отверстия предварительно изогнутый испытательный щуп вводят на возможную глубину и вращают его. Если щуп не входит в отверстие, то усилие ввода увеличивают до 20 Н. Если после этого щуп входит в отверстие, то испытание повторяют щупом в изогнутом положении. Не допускается возможность прикасания испытательным щупом к токоведущим частям или к токоведущим частям, защищенным только лаком, эмалью, обычной бумагой, хлопчатобумажной тканью, окисной пленкой, бусами или заливочной массой, кроме самозатвердевающей смолы. 8.1.2 Отверстия в приборах класса 0 и отверстия в приборах класса II и конструкциях класса II, кроме отверстий, открывающих доступ к цоколям ламп или к токоведущим частям в приборных розетках, проверяют испытательным щупом 13 по ГОСТ Р МЭК 61032-2000. который прикладывают без заметного усилия. Примечание - Приборный ввод не считают приборной розеткой. Испытательный щуп также прикладывают через отверстия в заземленных металлических корпусах, имеющих диэлектрическое покрытие, такое как эмаль или лак. Не допускается возможность прикасания щупом к токоведущим частям. 8.1.3 Для всех приборов, кроме приборов класса II, вместо испытательных щупов В и 13 используют испытательный щуп 41 по ГОСТ Р МЭК 61032-2000, который прикладывают без заметного усилия к токоведущим частям нагреватёльных элементов с видимым свечением, все полюсы которых могут быть отключены одновременно. Его прикладывают также к частям, которые поддерживают эти элементы, при условии, что при внешнем осмотре прибора без снятия крышек и аналогичных частей очевидно, что эти части находятся в контакте с нагревательными элементами. Не допускается возможность прикасания щупом к токоведущим частям. Примечание - Если приборы оснащены шнуром питания и не имеют выключающих устройств в цепи питания, то выведение вилки из фиксированной розетки рассматривают как единственное выключающее действие. 8.1.4 Доступные части не считают токоведущими, если: - часть питается безопасным сверхнизким напряжением при условии, что: - для переменного тока пиковое напряжение не превышает 42,4 В, - для постоянного тока напряжение не превышает 42,4 В или - часть отделена от токоведущих частей защитным импедансом. Если используется защитный импеданс, ток между этой частью и источником питания не должен превышать 2 мА для постоянного тока, пиковое значение не должно превышать 0,7 мА для переменного тока и, кроме того: - для напряжений с пиковым значением от более 42,4 до 450 В включительно емкость не должна превышать 0,1 мкФ; - для напряжений с пиковым значением более 450 В до 15 кВ включительно разряд не должен превышать 45 мкКл. Соответствие требованию проверяют измерением при работе прибора на номинальном напряжении. Напряжение и токи измеряют между рассматриваемыми частями и каждым полюсом источника питания. Разряды измеряют непосредственно после прекращения подачи питания. Примечание - Соответствующая цепь для измерения тока утечки изображена на рисунке 1а настоящего стандарта. 8.1.5 Токоведущие части встраиваемых приборов, закрепляемых приборов и приборов, поставляемых в виде отдельных единиц, должны быть защищены по крайней мере основной изоляцией до установки или сборки. Соответствие требованию проверяют осмотром и испытанием по 8.1.1. 8.2 Приборы класса II и конструкции класса II должны быть так сконструированы и закрыты, чтобы была обеспечена соответствующая защита от случайного контакта с основной изоляцией и с металлическими частями, отделенными от токоведущих частей только основной изоляцией. Допускается прикосновение только к частям, которые отделены от токоведущих частей двойной или усиленной изоляцией. Соответствие требованию проверяют осмотром и испытательным щупом В по ГОСТ Р МЭК 61032-2000, как описано в 8.1.1. Примечания 1 Указанное требование распространяется на все положения прибора, работающего как в условиях нормальной эксплуатации, так и после удаления съемных частей. 2 Встраиваемые и закрепляемые приборы испытывают после их установки. 9 Пуск электромеханических приборов Примечание - Требования, и методика испытаний при необходимости должны быть установлены в стандарте на конкретное изделие. 10 Потребляемая мощность и ток10.1 Если прибор маркирован номинальной потребляемой мощностью, то мощность, потребляемая прибором при нормальной рабочей температуре, не должна отличаться от номинальной потребляемой мощности более чем на указанное в таблице 1 допускаемое отклонение. Таблица 1 - Допускаемое отклонение потребляемой мощности от номинальной
Для комбинированных приборов, у которых мощность, потребляемая двигателем, составляет более 50 % номинальной потребляемой мощности, применяют допускаемые отклонения, установленные для электромеханических приборов. Примечание 1-В случае сомнения мощность, потребляемая двигателями, может быть измерена отдельно. Соответствие требованию проверяют измерением мощности, потребляемой прибором, после ее стабилизации при следующих условиях: - все цепи, которые могут работать одновременно, должны быть включены; - прибор должен питаться номинальным напряжением; - прибор должен работать в условиях нормальной работы. Если потребляемую мощность измеряют в течение рабочего цикла, то определяют ее как среднеарифметическое значений потребляемой мощности за наиболее характерный период работы. Примечание 2 Для приборов, на которых указан один или более диапазонов номинальных напряжений, испытание проводят как при верхнем, так и при, нижнем значениях диапазона; если маркированная номинальная потребляемая мощность соответствует среднему значению соответствующего диапазона, то испытания проводят при напряжении, равном среднему значению диапазона. 3 Для приборов, маркированных диапазоном номинальных напряжений, предельные значения которого отличаются более чем на 10 % от среднеарифметического значения диапазона, допускаемое отклонение относится к обоим предельным значениям диапазона. 10.2 Если на приборе маркирован номинальный ток, то ток, потребляемый прибором при нормальной рабочей температуре, не должен отличаться от номинального более чем на указанное допускаемое отклонение в таблице 2. Таблица 2 – Допускаемое отклонение потребляемого тока от номинального
Для комбинированных приборов, у которых ток двигателей составляет более 50 % номинального тока, применяют допускаемые отклонения, установленные для электромеханических приборов. Примечание 1 - В случае сомнения ток двигателей может быть измерен отдельно. Соответствие требованию проверяют измерением тока прибора после его стабилизации при следующих условиях: - все цепи, которые могут работать одновременно, должны быть включены; - прибор должен питаться номинальным напряжением; - прибор должен работать в условиях нормальной работы. Если ток изменяется в течение рабочего цикла, то ток определяют как среднеарифметическое значений тока за наиболее характерный период работы. Примечания 2 Для приборов, маркированных одним или более диапазонами номинальных напряжений, испытания проводят как при верхнем, так и при нижнем значениях диапазона; если маркировка номинального тока не зависит от среднего значения диапазона напряжений, то испытания проводят при напряжении, равном среднему значению диапазона. 3 Для приборов, маркированных диапазоном номинальных напряжений, предельные значения которого отличаются более чем на 10% от среднего значения диапазона, допускаемое отклонение относится к обоим предельным значениям диапазона. 11 Нагрев11.1 Приборы и окружающая их среда при нормальной эксплуатации не должны достигать чрезмерных температур. Соответствие требованию проверяют определением превышения температуры различных частей при условиях, указанных в 11.2 - 11.7. 11.2 Ручные приборы удерживают в нормальном эксплуатационном положении. Приборы со штырями для присоединения к штепсельным розеткам соединяют с соответствующей штепсельной розеткой, расположенной на стене. Встраиваемые приборы устанавливают в соответствии с инструкциями, прилагаемыми к этим приборам. Другие нагревательные приборы и другие комбинированные приборы устанавливают в испытательном углу следующим образом: - приборы, обычно устанавливаемые для использования на полу или на столе, устанавливают на пол как можно ближе к стенам: - приборы, которые обычно крепят к стене, монтируют на одной из стен как можно ближе к другой стене и к полу или потолку, как указано в инструкциях на эти приборы; - приборы, которые обычно крепят к потолку, крепят к потолку как можно ближе к стенам, как указано в инструкциях на эти приборы. Другие электромеханические приборы устанавливают следующим образом: - приборы, устанавливаемые обычно на полу или на столе, устанавливают на горизонтальную подставку; - приборы, которые обычно крепят к стене, монтируют на вертикальной подставке; - приборы, которые обычно крепят к потолку, крепят к нижней стороне горизонтальной опоры. Для изготовления испытательного угла, подставок и приспособлений для встраиваемых приборов используют фанеру толщиной приблизительно 20 мм, окрашенную в черный матовый цвет. Для приборов, оснащенных устройством автоматической намотки шнура, разматывают 1/3 общей длины шнура. Превышение температуры оболочки шнура измеряют как можно ближе к втулке катушки и между двумя самыми верхними слоями шнура на катушке. Для устройств хранения шнура, кроме устройств автоматической намотки, предназначенных для размещения части шнура питания во время работы прибора, отматывают 50 см шнура. Превышение температуры части, на которой хранится шнур, определяют в наиболее неблагоприятном месте. 11.3 Превышение температур, за исключением превышения температур обмоток, определяют тонкопроволочными термопарами, расположенными так, чтобы они оказывали минимальное влияние на температуру испытуемой части. Примечание 1 - Термопары с проволокой диаметром не более 0,3 мм считают тонкопроволочными термопарами. Термопары, используемые для определения превышения температуры поверхности стенок, потолка и пола испытательного угла, заделывают в поверхность или прикрепляют к внутренней стороне небольших зачерненных дисков из меди или латуни диаметром 15 мм и толщиной 1 мм, которые находятся заподлицо с поверхностью доски. По возможности прибор располагают так, чтобы термопары соприкасались с частями, имеющими наиболее высокие температуры. Превышение температуры электрической изоляции, кроме изоляции обмоток, определяют на поверхности изоляции в местах, где повреждение может привести к: - короткому замыканию; - контакту между токоведущими частями и доступными металлическими частями: - образованию токоведущих мостиков на изоляции; - уменьшению воздушных зазоров и путей утечки тока до значений, меньших чем указано в разделе 29. Примечания 2 Если для установки термопар необходимо прибор разобрать, то после повторной сборки необходимо убедиться, что прибор собран правильно, а в случае сомнения вновь измерить потребляемую мощность. 3 Точка разветвления жил многожильного шнура и точка ввода изолированных проводов в патроны ламп являются примерами мест, где следует располагать термопары. Превышения температуры обмоток определяют методом сопротивления, за исключением тех случаев, когда обмотки неоднородные или когда возникают большие трудности при выполнении необходимых соединений - в таких случаях превышение температуры определяют с помощью термопар. Примечание 4 - Превышение температуры обмотки Δt рассчитывают по формуле
где R1 - сопротивление в начале испытания; R2 - сопротивление в конце испытания; k - коэффициент, равный 234,5 для обмоток медных проводов и 225 - для обмоток алюминиевых проводов; t1 - комнатная температура в начале испытания; t2 - комнатная температура в конце испытания. В начале испытания обмотки должны находиться при комнатной температуре. В конце испытания рекомендуется определять сопротивление обмоток, осуществляя измерения по возможности сразу после отключения, а затем через короткие интервалы времени, с тем чтобы можно было нанести кривую, характеризующую сопротивление в зависимости от времени, с целью определения сопротивления в момент отключения. 11.4 Нагревательные приборы работают в условиях нормальной работы при 1,15 номинальной потребляемой мощности. 11.5 Электромеханические приборы работают в условиях нормальной работы при наиболее неблагоприятном напряжении от 0,94 до 1,06 номинального напряжения. 11.6 Комбинированные приборы работают в условиях нормальной работы при наиболее неблагоприятном напряжении от 0,94 до 1,06 номинального напряжения. 11.7 Приборы работают в течение периода времени, соответствующего наиболее неблагоприятным условиям при нормальной эксплуатации. Примечание - Продолжительность испытания может составлять более одного цикла работы. 11.8 Во время испытания следует непрерывно контролировать превышения температуры. Они не должны превышать значений, указанных в таблице 3. Однако если превышение температуры обмотки двигателя выше значения, указанного в таблице 3, или если есть сомнения в отношении классификации температуры изоляции двигателя, проводят испытания по приложению С. Защитные устройства не должны срабатывать, а герметизирующий компаунд не должен вытекать. Таблица 3 - Максимальные нормальные превышения температуры
Продолжение таблицы 3
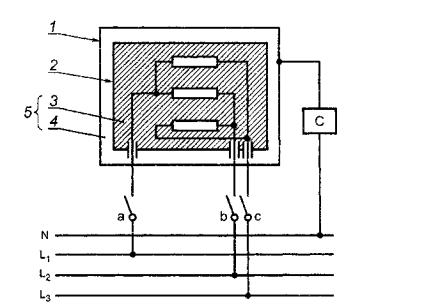
12 Свободен13 Ток утечки и электрическая прочность при рабочей температуре13.1 При рабочей температуре ток утечки прибора не должен быть чрезмерным, а его электрическая прочность должна быть достаточной. Соответствие требованию проверяют испытаниями по 13.2 и 13.3. Прибор работает в условиях нормальной работы в течение времени, указанного в 11.7. Нагревательные приборы работают при 1,15 номинальной потребляемой мощности. Электромеханические и комбинированные приборы работают при напряжении питания, равном 1,06 номинального напряжения. Трехфазные приборы, которые в соответствии с инструкцией по установке могут работать также от однофазной сети, испытывают как однофазные приборы с тремя параллельно соединенными секциями. Перед проведением испытания защитный импеданс и фильтры радиопомех отключают. 13.2 Ток утечки измеряют с помощью цепи, изображенной на рисунке 1а, между любым полюсом источника питания и доступными металлическими частями, которые соединены с металлической фольгой площадью не более 20×10 см, контактирующей с доступными поверхностями изоляционного материала. Примечание 1 - Вольтметр, изображенный на рисунке 1а, способен правильно измерять среднеквадратичное значение напряжения. Для однофазных приборов схема измерения приведена на следующих рисунках: - рисунок 1 - для приборов класса II; - рисунок 2 - для приборов других классов, кроме приборов класса II. Измерение тока утечки проводят с помощью селективного переключателя в каждом из положений а и b (см. рисунки 1 и 2). Для трехфазных приборов схема измерения приведена на следующих рисунках: - рисунок 3 - для приборов класса II; - рисунок 4 - для приборов других классов, кроме приборов класса II. Для трехфазных приборов ток утечки измеряют с помощью выключателей a, b и с, установленных в замкнутом положении. Измерения повторяют с каждым выключателем, размыкаемым по очереди, при этом два других выключателя должны быть в замкнутом положении. Для приборов, подключаемых только соединением «звезда», нейтральный провод не подключают. Токи утечки измеряют, применяя следующую схему:
R1 = 1500 Ом ±0,1 %; R2 = 500 Ом ±0,1 %; R3 = 10 кОм ±0,1 %; C1 = 0,22 мкФ ± 1,0 %; С2 = 0,022 мкФ ± 1,0 %; Ток утечки рассчитывают по показанию вольтметра, деленному на 500 Ом. Примечания 1 Эта схема воспроизводит импеданс тела человека и составлена в соответствии с физиологической реакцией как функцией частоты. 2 Вольтметр должен обеспечивать измерение точного среднеквадратичного значения напряжения при; частоте от 0 до 1 МГц. Рисунок 1а - Схема цепи для измерения тока утечки Примечание - Схема цепи для измерения тока утечки приведена вместо рисунка 4 МЭК 60990:1999 с целью учета потребностей национальной экономики Российской Федерации; ссылки в тексте на рисунок 1а выделены подчеркиванием пунктирной линией. а и b - клеммы переключателя; С - схема цепи, приведенная на рисунке 1а. 1 - доступная часть; 2 - недоступная металлическая часть; 3 - основная изоляция; 4 - дополнительная изоляция; 5 - двойная изоляция; 6 - усиленная изоляция Рисунок 1 - Схема измерения тока утечки при рабочей температуре для однофазных приборов класса II a, b и С - см. рисунок 1, Рисунок 2 - Схема измерения тока утечки при рабочей температуре для однофазных приборов, кроме приборов класса II a, b и с - клеммы выключателя; С - схема цепи, приведенная на рисунке 1а; L1, L2, L3 - трехфазное питание; N- нулевой провод. 1 - доступная часть; 2 - недоступная металлическая часть; 3 - основная изоляция; 4 - дополнительная изоляция; 5 - двойная изоляция Рисунок 3 - Схема измерения тока утечки при рабочей температуре для трехфазных приборов класса II Обозначения - см. рисунок 3. Рисунок 4 - Схема измерения тока утечки при рабочей температуре для трехфазных приборов, кроме приборов класса II После работы прибора в течение времени, указанного в 11.7, ток утечки не должен превышать следующих значений: - для приборов класса II - 0,25 мА; - для приборов классов 0, 0I, III - 0,5 мА; - для переносных приборов класса I - 0,75 мА; - для стационарных электромеханических приборов класса I- 3,5 мА; - для стационарных нагревательных приборов класса I - 0,75 мА или 0,75 мА на 1 кВт номинальной потребляемой мощности прибора, в зависимости от того, что больше, но не более 5 мА. Для комбинированных приборов общий ток утечки может быть в пределах, установленных для нагревательных приборов или для электромеханических приборов, в зависимости от того, что больше, но не допускается суммировать оба предела. Если прибор имеет конденсаторы и однополюсный выключатель, то измерения повторяют с выключателем, установленным в положение «ВЫКЛ». Если в прибор встроено терморегулирующее устройство, которое срабатывает во время испытания по разделу 11, ток утечки измеряют непосредственно перед тем, как регулирующее устройство разрывает цепь. Примечания 2 Испытание с выключателем, установленным в положение «ВЫКЛ», проводят для того, чтобы убедиться, что конденсаторы, подсоединенные после однополюсного выключателя, не вызывают появления чрезмерного тока утечки. 3 Рекомендуется подавать питание на прибор через изолирующий трансформатор, в противном случае прибор должен быть изолирован от земли. 4 Металлическая фольга должна занимать по возможности наибольшую площадь на испытуемой поверхности, но без превышения установленных размеров фольги. Если площадь металлической фольги меньше, чем испытуемая поверхность, то фольгу перемещают так, чтобы испытать все части поверхности. Металлическая фольга не должна влиять на теплорассеяние прибора. 13.3 Изоляцию подвергают в течение одной минуты испытанию напряжением практически синусоидальной формы частотой 50 или 60 Гц. Для однофазных приборов схема соединений приведена на рисунке 5. Двигатели и трехфазные приборы испытывают сразу после отключения прибора от сети. L1, L2, L3 - трехфазное питание; N - нулевой провод 1 - разделительный трансформатор; 2 - повышающий трансформатор Рисунок 5 - Схема для испытания электрической прочности при рабочей температуре Испытательное напряжение прикладывают между токоведущими частями и доступными частями, неметаллические части покрывают металлической фольгой. Для конструкций класса II, имеющих промежуточный металл между токоведущими и доступными частями, напряжение прикладывают вдоль основной и дополнительной изоляции. Примечание 1 - Следует принять меры предосторожности, с тем чтобы не перегрузить комплектующие изделия электронных цепей. Значения испытательного напряжения установлены в таблице 4. Таблица 4 - Напряжение для испытания на электрическую прочность
(Поправка, ИУС 8-2008). В начале испытания прикладывают не более половины испытательного напряжения, которое затем постепенно повышают до полного значения. Во время испытания не должно возникать никакого пробоя. Примечания 2 Тлеющие разряды без падения напряжения не принимают во внимание. 3 Источник высокого напряжения, используемый при испытании, должен выдерживать ток короткого замыкания Is, если выходные зажимы замкнуть накоротко после того, как выходное напряжение достигнет соответствующего испытательного значения U. Реле перегрузки цепи не должны срабатывать при любых токах менее тока срабатывания Ir Измерительный вольтметр для измерения среднеквадратичного значения испытательного напряжения должен быть не ниже класса 2,5, установленного ГОСТ 8711-93. Значения Is и Ir даны в таблице 5 для различных высоковольтных источников. Таблица 5 - Характеристики высоковольтных источников
14 Динамические перегрузки по напряжениюПриборы должны выдерживать динамические перегрузки по напряжению, которым они могут подвергаться. Соответствие требованию проверяют, подвергая каждый воздушный зазор, величина которого менее значений, приведенных в таблице 16, испытанию на воздействие импульсного напряжения. Импульсное испытательное напряжение имеет форму сигнала при нулевой нагрузке, соответствующую стандартному импульсу 1,2/50 мкс, установленному в МЭК 61180-1. Он поступает от генератора с фактически полным сопротивлением, равным 12 Ом. Импульсное испытательное напряжение подают три раза для каждой полярности с минимальными интервалами, равными 1с. Примечание 1 - Генератор описан в МЭК 61180-2. Импульсное испытательное напряжение установлено в таблице 6 для номинальных импульсных напряжений, приведенных в таблице 15, в зависимости от номинального напряжения прибора. Таблица 6 - Импульсное испытательное напряжение
При этом испытании не должно быть пробоя. Однако допускается пробой функциональной изоляции, если прибор соответствует требованиям раздела 19, когда воздушный зазор замкнут накоротко. (Поправка, ИУС 8-2008). Примечание 2 - Значения импульсных испытательных напряжений вычислены для воздушных зазоров размером от 1 до 10 мм и для местоположения - 200 м над уровнем моря. Считается, что эти значения подходят для любого местоположения над уровнем моря до 500 м. Если испытания проводят при других местоположениях, следует использовать другие поправочные коэффициенты, указанные в 4.1.1,2.1.2 МЭК 60664-1. 15 Влагостойкость15.1 Кожух прибора должен обеспечивать степень защиты от влаги в соответствии с классификацией прибора. Соответствие требованию проверяют по 15.1.1 и 15.1.2 на приборе, не подключенном к сети питания. Прибор должен выдерживать испытание на электрическую прочность изоляции по 16.3, а осмотр должен показать отсутствие следов воды на изоляции, что может повлечь за собой уменьшение воздушных зазоров и путей утечки ниже значений, установленных разделом 29. Примечание - Наружный кожух прибора осторожно протирают, удаляя любые остатки воды перед осмотром. Следует осторожно проводить разборку, избегая какого-либо попадания воды внутрь прибора. 15.1.1 Приборы следующих степеней защиты, кроме степени защиты 1РХ0, подвергают испытаниям по ГОСТ 14254-96:
Для испытания прибора этой степени защиты его погружают в воду, содержащую приблизительно 1 % NaCI. Примечание - Сопло ручного разбрызгивателя допускается использовать для испытуемого прибора, который не может быть установлен под качающейся трубой, указанной в ГОСТ 14254-96. 15.1.2 Ручные приборы во время испытания поворачивают непрерывно во всех наиболее неблагоприятных положениях. Встраиваемые приборы устанавливают в соответствии с инструкциями. Приборы, обычно устанавливаемые на полу или столе, размещают на горизонтальной подставке, которая не должна иметь отверстий и диаметр которой должен быть равен удвоенному радиусу качающейся трубы. Приборы, которые обычно крепят к стене, и приборы со штырями, вставляемыми в розетки, монтируют как при нормальной эксплуатации в центре деревянной доски, размеры которой на (15 ±5) см больше размеров ортогональной проекции прибора на доску. Доску размещают в центре качающейся трубы. Для приборов степени защиты IPX3 основание прибора для настенного монтажа располагают на одном уровне с точкой оси качающейся трубы. Для приборов степени защиты IPX4 горизонтальная ось прибора должна совпадать с главной осью качающейся трубы. Однако для приборов, используемых обычно на полу или столе, перемещение ограничивают двукратными отклонениями на 90° от вертикали в течение 5 мин, подставку размещают на уровне главной оси качающейся трубы. Если в инструкции на прибор для настенного монтажа установлено, что прибор должен размещаться близко к уровню пола, и определено предельное расстояние, то доску размещают под прибором на этом расстоянии. Размеры доски должны быть на 15 см больше горизонтальной проекции прибора. Приборы с креплением шнура типа X, кроме приборов, имеющих специально подготовленный шнур, оснащают гибким шнуром самого легкого допустимого типа с наименьшей площадью поперечного сечения по таблице 13. Съемные части удаляют и подвергают, если это необходимо, соответствующей обработке вместе с основной частью прибора. Однако если в инструкциях установлено, что часть прибора должна быть снята для обслуживания пользователем и при этом необходим инструмент, эту часть снимают. 15.2 Приборы, в которых при нормальной эксплуатации возможен перелив жидкости, должны быть сконструированы так, чтобы этот перелив не оказывал вредного влияния на изоляцию. Соответствие требованию проверяют следующим испытанием. Приборы с креплением шнура типа X, кроме приборов, имеющих специально подготовленный шнур, оснащают гибким шнуром самого легкого допустимого типа с наименьшей площадью поперечного сечения, установленной таблицей 13. Приборы, оснащенные приборным вводом, испытывают с соединителем или без него, в зависимости от того, что более неблагоприятно. Съемные части удаляют. Сосуд для жидкости прибора наполняют полностью водой, содержащей примерно 1 % NaCI, затем добавляют постепенно в течение одной минуты количество воды, равное 15 % вместимости сосуда или 0,25 л, в зависимости от того, что больше. Прибор должен выдерживать испытание на электрическую прочность изоляции по 16.3, а осмотр должен показать отсутствие следов воды на изоляции, что может повлечь за собой уменьшение воздушных зазоров и путей утечки ниже значений, установленных разделом 29. 15.3 Приборы должны быть устойчивы к влажности, которая может иметь место при нормальной эксплуатации. Соответствие требованию проверяют следующими испытаниями. Приборы, подвергнутые испытаниям по 15.1 и 15.2, выдерживают в нормальных окружающих условиях в течение 24 ч. Вводы кабелей, если они имеются, оставляют открытыми; если имеются заглушённые отверстия, то одно из них открывают. Съемные части удаляют и подвергают, если это необходимо, влажной обработке вместе с основной частью прибора. Испытание на влагостойкость проводят в течение 48 ч в камере влажности, воздух которой
имеет относительную влажность (93 ± 3) %. Температуру воздуха поддерживают с точностью до
1 °С для любого значения t, находящегося в пределах от 20 °С до 30 °С. Перед помещением прибора
в камеру влажности его приводят в состояние, при котором его температура находится в пределах
Примечание 1 В большинстве случаев прибор может быть приведен к установленной температуре путем выдержки его при этой температуре в течение по меньшей мере 4 ч перед влажной обработкой. 2 Относительная влажность (93 ± 3) % может быть достигнута, если поместить в камеру влажности насыщенный раствор сернокислого натрия (Na2S04) или азотнокислого калия (KN03) в воде, имеющий достаточно большую поверхность соприкасания с воздухом. 3 Для достижения требуемых условий внутри камеры с тепловой изоляцией необходимо обеспечить постоянную циркуляцию воздуха внутри этой камеры. Прибор должен выдерживать испытание по разделу 16, проводимое непосредственно в камере или помещении, в котором образец был приведен к требуемой температуре, после установки в него ранее удаленных съемных частей. 16 Ток утечки и электрическая прочность16.1 Ток утечки прибора не должен быть чрезмерным, а электрическая прочность должна быть достаточной. Соответствие требованию проверяют испытаниями по 16.2 и 16.3. Защитный импеданс отсоединяют от токоведущих частей перед проведением испытаний. Испытания проводят при комнатной температуре на приборе, не подключенном к сети питания. 16.2 Испытательное напряжение переменного тока подают между токоведущими частями и доступными металлическими частями, соединенными с металлической фольгой размером не более 20×10 см, контактирующей с доступными поверхностями изоляционных материалов. Испытательное напряжение должно быть равно: 1,06 номинального напряжения - для однофазных приборов; 1,06 номинального напряжения, разделенного на Ток утечки измеряют в течение 5 с после приложения испытательного напряжения. Ток утечки не должен превышать следующих значений: - для приборов класса II - 0,25 мА; - для приборов классов 0, 0I и III - 0,5 мА; - для переносных приборов класса I - 0,75 мА; - для стационарных электромеханических приборов класса I- 3,5 мА; - для стационарных нагревательных приборов класса I - 0,75 мА или 0,75 мА на 1 кВт номинальной потребляемой мощности прибора, в зависимости от того, что больше, но не более 5мА. Указанные выше значения удваивают, если все управляющие устройства имеют положение «ВЫКЛ» на всех полюсах. Указанные выше значения также удваивают, если: - прибор не имеет устройств управления, кроме термовыключателя, или - все терморегуляторы, термоограничители и регуляторы мощности не имеют положения «ВЫКЛ», или - прибор имеет помехоподавляющие фильтры. В этом случае ток утечки при отключенном фильтре не должен быть более установленных пределов. Для комбинированных приборов общий ток утечки должен быть в пределах значений, установленных для нагревательных или для электромеханических приборов, в зависимости от того, что больше, но два предела не складывают. 16.3 Непосредственно после испытания по 16 2 к изоляции прикладывают в течение 1 мин напряжение практически синусоидальной формы частотой 50 или 60 Гц. Значения испытательного напряжения для различных типов изоляции приведены в таблице 7. Доступные части из изоляционного материала покрывают металлической фольгой. Примечание 1 - В целях безопасности металлическая фольга должна быть расположена таким образом, чтобы на краях изоляции не возникал пробой. Таблица 7 – Испытательные напряжения
(Поправка, ИУС 8-2008). Испытательное напряжение подают между доступными металлическими частями и шнуром питания, вокруг которого обернута металлическая фольга, в местах расположения входной втулки, ограждения шнура или жесткого крепления шнура, при этом зажимные винты затягивают, прикладывая крутящий момент, составляющий 2/3 от значения, указанного в таблице 14. Испытательное напряжение равно 1250 В для приборов класса 0 и класса I и 1750 В - для приборов класса II. Примечания 2 Высоковольтный источник для испытаний описан в примечании 3 к 13.3. 3 Для конструкций класса II, имеющих как усиленную, так и двойную изоляцию, необходимо следить за тем, чтобы напряжение, прикладываемое к усиленной изоляции, не перегрузило основную или дополнительную изоляцию. 4 В конструкциях, где основная и дополнительная изоляции не могут быть испытаны раздельно, каждую изоляцию подвергают испытанию напряжением, указанным для усиленной изоляции. 5 При испытании изоляционных покрытий металлическая фольга может быть прижата к изоляции мешком с песком такого размера, чтобы давление составляло приблизительно 5 кПа. Испытание может быть ограничено только теми местами, где предполагается слабая изоляция, например там, где под изоляцией находятся острые металлические кромки. 5 Если практически возможно, то изоляционные прокладки испытывают отдельно. 6 Необходимо избегать перегрузки компонентов электронных цепей. 7 Первоначально прикладывают не более половины значения испытательного напряжения, которое затем постепенно повышают до полного значения. Во время испытания не должно быть пробоя. 17 Защита от перегрузки трансформаторов и соединенных с ними цепейПриборы, которые содержат цепи, питающиеся от трансформаторов, должны быть сконструированы так, чтобы в случае короткого замыкания цепей, которое может возникнуть при нормальной эксплуатации, не происходил чрезмерный нагрев трансформатора или связанных с ним цепей. Примечание 1 Примерами являются короткие замыкания оголенных или недостаточно изолированных проводов доступных цепей с безопасным сверхнизким напряжением. 2 Считают маловероятным повреждение основной изоляции при нормальной эксплуатации. Соответствие требованию проверяют путем создания самого неблагоприятного короткого замыкания или перегрузки, которые возможны при нормальной эксплуатации, при этом прибор должен работать при напряжении, равном 1,06 или 0,94 номинального напряжения, в зависимости от тоге, какое из них является более неблагоприятным. Превышение температуры изоляции проводов цепей безопасного сверхнизкого напряжения не должно быть более чем на 15 °С выше значений, указанных в таблице 3. Температура обмотки не должна превышать значений, указанных в таблице 8. Однако эти значения не применяют к безопасным трансформаторам по ГОСТ 30030-93. 18 ИзносостойкостьПримечание - Требования и методика испытаний при необходимости должны быть установлены в стандарте на конкретное изделие. 19 Ненормальная работа19.1 Приборы должны быть сконструированы так, чтобы опасность возникновения пожара, механического повреждения, которые снижают безопасность или степень защиты от поражения электрическим током в результате ненормальной или небрежной работы, была минимальной. Электронные цепи должны быть спроектированы и применены так, чтобы их повреждение не приводило к тому, что прибор становится опасным с точки зрения поражения электрическим током, возгорания, механической опасности или опасного неправильного функционирования. Приборы с нагревательными элементами подвергают испытаниям по 19.2 и 19.3. Кроме того, такие приборы, оснащенные устройствами, ограничивающими температуру в процессе испытаний по разделу 11, подвергают испытаниям по 19.4 и, если применимо, - по 19.5. Приборы с нагревательными элементами с положительным температурным коэффициентом также испытывают по 19.6. Приборы со встроенными двигателями подвергают испытаниям по 19.7 - 19.10 в зависимости от их применимости. Приборы, оснащенные электронными цепями, кроме того, подвергают испытаниям по 19.11 и 19.12 в зависимости от их применимости. Если нет других указаний, испытания проводят до срабатывания термовыключателей без самовозврата или до достижения установившегося состояния. Если нагревательный элемент или преднамеренно ослабленная часть разорвут цепь, соответствующее испытание повторяют на втором образце. Это второе испытание проводят в течение такого же периода времени, если цепь не прорвется по другой причине. Примечания 1 Преднамеренно ослабленная часть - часть, спроектированная так, что она разрушается в условиях ненормальной работы для предотвращения возникновения условий, при которых прибор не будет соответствовать настоящему стандарту. Такой частью может быть заменяемый элемент, например резистор, конденсатор, или часть элемента, которая должна быть заменена, как, например, недоступное термозвено, встроенное в двигатель. 2 Предохранители, термовыключатели, защитные устройства от сверхтоков и аналогичные устройства, встроенные в прибор, могут использоваться для обеспечения соответствующей защиты. Защитное устройство в стационарной проводке не обеспечивает необходимой защиты. Если не оговорено иное, каждый раз имитируют только одно ненормальное условие. Примечания 3 Если один и тот же прибор должен подвергаться нескольким испытаниям, то эти испытания проводят последовательно после охлаждения прибора до комнатной температуры. 4 Для комбинированных приборов испытания проводят с двигателями и нагревательными элементами, работающими одновременно, в условиях нормальной работы; соответствующие испытания двигателей или нагревательных элементов проводят последовательно. 5 Когда установлено, что управляющее устройство короткозамкнутое, оно может быть представлено как бездействующее. Соответствие требованиям настоящего раздела проверяют по 19.13, если нет других указаний. 19.2 Приборы с нагревательными элементами испытывают в условиях, указанных в разделе 11, но с ограниченным теплорассеянием. Напряжение питания, определенное перед испытанием, должно быть таким, чтобы обеспечивалась потребляемая мощность, соответствующая 0,85 номинальной потребляемой мощности при нормальной работе и стабилизированной мощности. Это напряжение поддерживают в течение всего испытания. 19.3 Испытание по 19.2 повторяют, но при этом напряжение питания, значение которого определяют перед испытанием, должно быть таким, чтобы потребляемая мощность составила 1,24 номинальной потребляемой мощности при нормальной работе и стабилизированной мощности. Это напряжение поддерживают в течение всего испытания. 19.4 Прибор испытывают в условиях, указанных в разделе 11. Любое устройство, ограничивающее температуру при испытаниях по разделе 11, должно быть замкнуто накоротко. Примечание - Если прибор оснащен несколькими управляющими устройствами, то их замыкают накоротко поочередно. 19.5 Испытание по 19.4 повторяют на приборах классов 0I и I, оборудованных нагревательными элементами с трубчатой оболочкой или заформованными нагревательными элементами. Однако управляющие устройства не замыкают накоротко, а один конец элемента подключают к оболочке нагревательного элемента. Испытание повторяют, изменив полярность питания прибора и подключив к оболочке другой конец элемента. Испытанию не подвергают приборы, предназначенные для постоянного подключения к стационарной проводке, и приборы, в которых при испытании по 19.4 проводят отключение всех полюсов. Примечание 1 Прибор с нейтралью испытывают, подключив к корпусу прибора нейтраль. 2 Для заформованных нагревательных элементов оболочкой считают металлический кожух. 19.6 Приборы с нагревательными элементами с положительным температурным коэффициентом питают номинальным напряжением до достижения установившегося состояния, которое определяется стабилизацией потребляемой мощности и температуры. Рабочее напряжение нагревательных элементов с положительным температурным коэффициентом повышают на 5%, и прибор снова работает до достижения установившегося состояния. Напряжение затем повышают небольшими дозами до тех пор, пока рабочее напряжение не увеличится в 1,5 раза или пока не произойдет пробоя нагревательных элементов с положительным температурным коэффициентом, независимо от того, что произойдет раньше. 19.7 Прибор работает в условиях торможения, обеспечиваемых: - блокированием ротора, если тормозной момент меньше, чем момент при полной нагрузке; - блокированием движущихся частей для других приборов. Примечание 1 Если прибор имеет более одного двигателя, испытание каждого двигателя проводят отдельно. 2 Варианты испытаний для двигателей с защитными устройствами приведены в приложении D. Приборы с двигателями, во вспомогательную обмотку которых включены конденсаторы, работают с блокированным ротором, при этом конденсаторы поочередно размыкают. Испытание повторяют с конденсаторами, поочередно замыкаемыми накоротко, если они не соответствуют классу Р2 по ГОСТ МЭК 252. Примечание 3 - Данное испытание проводят с блокированным ротором, поскольку некоторые двигатели могут запускаться таким образом, что это приводит к получению разных результатов. При каждом испытании приборы, оснащенные таймером или программатором, работают при номинальном напряжении в течение периода, равного максимальному периоду, допускаемому таймером или программатором. Другие приборы работают при номинальном напряжении в течение: - 30 с для: - ручных приборов, - приборов, которые поддерживают во включенном состоянии рукой или ногой; - приборов, нагрузка которых создается при постоянном воздействии рукой; - 5 мин - для других приборов, которые работают под надзором; - времени, необходимого для достижения установившегося состояния, - для других приборов. Примечание 4 - В стандарте на конкретное изделие указывают, какие приборы испытывают в течение 5 мин. В процессе испытания температура обмоток не должна превышать значений, указанных в таблице 8. Таблица 8 - Максимальная температура обмоток
19.8 В приборах с трехфазными двигателями одну фазу отключают. Затем приборы работают в условиях нормальной работы при номинальном напряжении в течение времени, указанного в 19.7. (Поправка, ИУС 8-2008). 19.9 Испытание на перегрузку проводят на приборах с двигателями, которые предназначены для работы на дистанционном или автоматическом управлении или которые, вероятно, будут работать непрерывно. Прибор работает в условиях нормальной работы при номинальном напряжении до достижения установившегося состояния. Затем нагрузку увеличивают, так чтобы возрос на 10% ток в обмотках двигателя, и прибор снова работает до достижения установившегося состояния; напряжение питания поддерживают на первоначальном уровне. Нагрузку снова увеличивают, повторяют испытание до срабатывания защитного устройства или до остановки двигателя. В процессе испытания значение температуры обмотки не должно превышать:
Примечание 1 Если нагрузку прибора нельзя увеличивать ступенями, то необходимо снять двигатель с прибора и испытать его отдельно. 2 Альтернативные испытания для двигателей с защитными устройствами приведены в приложении D. 19.10 Приборы с двигателями последовательного возбуждения испытывают при напряжении, равном 1,3 номинального, в течение 1 мин при наименьшей возможной нагрузке. В течение испытания части не должны выскакивать из прибора. 19.11 Электронные цепи проверяют, оценивая каждую цепь или каждую часть цепи по повреждениям, указанным в 19.11.2, на соответствие условиям по 19.11.1. Примечание 1 - Обычно изучение и анализ прибора и его принципиальной схемы позволяют заранее определить те повреждения, которые необходимо имитировать, чтобы при испытаниях ограничиться случаями, дающими наиболее неблагоприятный результат. Если прибор включает защитную электронную цепь, проводят испытания, предусмотренные 19.11.3. Если безопасность прибора при любом повреждении зависит от срабатывания миниатюрной плавкой вставки по ГОСТ Р 50537-93, проводят испытание по 19.12. В процессе и после каждого испытания температура обмоток не должна превышать значений, указанных в таблице 8. Однако это не относится к безопасным трансформаторам, соответствующим требованиям ГОСТ 30030-93. Прибор должен соответствовать требованиям 19.13 настоящего стандарта. Любой ток, протекающий через защитный импеданс, не должен превышать пределов, указанных в 8.1.4. Примечание 2 - Если не возникает необходимости замены компонентов после любого испытания, то проверку электрической прочности изоляции по 19.13 проводят только после окончания всех испытаний электронной цепи. Если проводник на печатной плате размыкается, прибор считают выдержавшим определенное испытание при условии одновременного выполнения всех трех указанных ниже условий: - материал основы печатной платы выдерживает испытание по приложению Е; - любое ослабление проводника не приводит к снижению воздушных зазоров или путей утечки между токоведущими частями и доступными металлическими частями по сравнению со значениями, указанными в разделе 29; - прибор выдерживает испытания по 19.11.2 при размыкании проводника мостовой схемы. 19.11.1 Повреждения, указанные в перечислениях от a) до f) 19.11.2, не применяют для схем или частей схем, если в них выполняются одновременно следующие условия: - электронная цепь является маломощной, как это описано ниже; - защита от поражения электрическим током, возникновение пожара, появление механической опасности или неправильное срабатывание в других частях прибора, приводящее к опасным ситуациям, не зависят от нормального функционирования электронной цепи. Пример маломощной цепи приведен на рисунке 6. D - наиболее удаленная от источника питания точка, в которой максимальная мощность, подаваемая на внешнюю нагрузку, превышает 15 Вт; А и В - наиболее близкие к источнику питания точки, в которых максимальная мощность, подаваемая на внешнюю нагрузку, не превышает 15 Вт - это маломощные точки. Точки A и В раздельно накоротко соединяют с точкой С. Условия повреждения по 19.11.2 рассматривают по очереди в цепях Z1, Z2, Z3 Z6 и Z7 в зависимости от их применяемости. Рисунок 6 - Пример электронной цепи с маломощными точками Прибор работает при номинальном напряжении, а переменный резистор, установленный в положение, соответствующее максимальному сопротивлению, подключают между исследуемой точкой и противоположным полюсом источника питания. Затем сопротивление резистора уменьшают до тех пор, пока мощность, потребляемая резистором, не достигнет своего максимального значения. Любая наиболее близкая к источнику питания точка, в которой максимальная мощность по отношению к этому резистору не превышает 15 Вт к концу периода в 5 с, называется маломощной точкой. Часть цепи, расположенная от источника питания дальше маломощной точки, считается маломощной цепью. Примечания 1 Измерения проводят только от одного источника питания, причем предпочитают тот, у которого наименьшее количество маломощных точек. 2 При определении маломощных точек рекомендуется начинать с точек, расположенных наиболее близко к источнику питания, 3 Мощность, потребляемую переменным резистором, измеряют ваттметром. 19.11.2 При испытании рассматривают возможные повреждения, приведенные ниже, и при необходимости последовательно их создают: a) короткое замыкание функциональной изоляции, если значения воздушных зазоров или путей утечки меньше установленных в разделе 29; b) размыкание зажимов любого элемента; c) короткое замыкание конденсаторов, кроме соответствующих ГОСТ МЭК 384-14; d) короткое замыкание любых двух выводов электронных комплектующих, кроме интегральных схем. Это повреждение не применяется между двумя цепями оптических соединителей; c) повреждение симметричных триодных тиристоров в диодной цепи; e) повреждение интегральных схем. В этом случае возможные условия повреждения прибора создают таким образом, чтобы быть уверенным в том, что безопасность не зависит от правильного функционирования такого комплектующего. Все возможные выходные сигналы внутри интегральной схемы при работе в условиях повреждения тщательно изучают. Если возможно показать, что определенный выходной сигнал маловероятен, то соответствующее предупреждение не рассматривают. Примечание 1 Для таких комплектующих, как тиристоры и симметричные триодные тиристоры, не создают условий повреждения по перечислению f). 2 Микропроцессоры испытывают как интегральные схемы. Повреждение по перечислению f) применяют к комплектующим, заключенным в капсулу и аналогичным, если цепь не может быть оценена другими методами. Резисторы с положительным температурным коэффициентом не замыкают накоротко, если они использованы в соответствии с техническими условиями изготовителя. Однако термисторы с положительным температурным коэффициентом замыкают накоротко, если они не соответствуют ГОСТ 21342.7-76 и ГОСТ 21342.8-76. Кроме того, каждую маломощную цепь замыкают накоротко путем подключения маломощной точки к тому полюсу источника питания, от которого проводилось измерение. Для имитации повреждений прибор включают в работу в условиях, указанных в разделе 11, но при номинальном напряжении. Когда любое повреждение возникает, продолжительность испытания будет равна: - указанной в 11.7, но только в течение одного рабочего цикла и только в том случае, если повреждение не может быть определено потребителем, например изменение температуры; - указанной в 19.7, если повреждение может быть определено потребителем, например остановка двигателя кухонной машины; - до достижения установившегося состояния для цепей, постоянно подключенных к сети питания, например для резервных цепей. Во всех случаях испытание считают законченным, если внутри прибора происходит прекращение питания. 19.11.3 Если прибор включает защитную электронную цепь, работа которой обеспечивает соответствие требованиям раздела 19, соответствующее испытание повторяют, имитируя одно из повреждений по перечислениям а) - f) 19.11.2. 19.12 Если при любом повреждении, указанном в 19.11.2, безопасность прибора зависит от срабатывания миниатюрной плавкой вставки, отвечающей ГОСТ Р 50537-93, испытание повторяют, заменяя миниатюрную плавкую вставку амперметром. Если измеренный ток не превышает номинальный ток плавкой вставки в 2,1 раза, цепь считают недостаточно защищенной и испытание повторяют с закороченной плавкой вставкой. Если измеренный ток составляет не менее 2,75 номинального тока плавкой вставки, цепь считают достаточно защищенной. Если измеренный ток более 2,1, но менее 2,75 номинального тока плавкой вставки, плавкую вставку закорачивают и испытание проводят: - для быстродействующих плавких вставок - в течение соответствующего периода или 30 мин, в зависимости от того, что короче; - для замедленных плавких вставок - в течение соответствующего периода или 2 мин, в зависимости от того, что короче. Примечание 1 В случае сомнения следует учитывать максимальное сопротивление плавкой вставки при определении значения тока. 2 Проверка, осуществляемая с целью определения, является ли плавкая вставка защитным устройством, основана на характеристиках плавления, установленных ГОСТ Р 50537-97, которые также дают информацию, необходимую для расчета максимального сопротивления плавкой вставки. 3 Другие плавкие предохранители считают преднамеренно ослабленной частью в соответствии с 19.1. 19.13 Во время испытаний из прибора не должны появляться пламя, расплавленный металл, вредные или воспламеняющиеся газы в опасных количествах, а превышения температуры не должны быть более значений, приведенных в таблице 9. Таблица 9 – Максимальное ненормальное превышение температуры
После испытаний и охлаждения прибора приблизительно до комнатной температуры кожухи не должны быть деформированы до такой степени, чтобы нарушилось соответствие требованиям раздела 8, а если прибор еще работоспособен, он должен соответствовать 20.2. После охлаждения изоляции, кроме приборов класса III, приблизительно до комнатной температуры она должна выдерживать испытание на электрическую прочность по 16.3, причем испытательное напряжение должно соответствовать значениям, приведенным в таблице 4. Примечание - Перед испытанием на электрическую прочность влажную обработку по 15.3 не проводят. Приборы, которые при нормальной эксплуатации погружают в проводящую жидкость или заполняют ею, должны быть погружены в воду или заполнены водой за 24 ч до проведения испытания на электрическую прочность изоляции. 20 Устойчивость и механические опасности20.1 Приборы, кроме закрепляемых и ручных приборов, предназначенные для использования на поверхности, например пола или стола, должны быть достаточно устойчивыми. Соответствие требованию проверяют следующим испытанием, причем приборы с приборным вводом снабжают соответствующим соединителем и гибким шнуром. Приборы устанавливают в любом нормальном эксплуатационном положении на плоскости, наклоненной под углом 10° к горизонтали, шнур питания располагают по наклонной плоскости в наиболее неблагоприятном положении. Однако если часть прибора контактирует с горизонтальной плоскостью опоры, когда прибор наклонен на угол 10°, прибор устанавливают на горизонтальную опору и наклоняют в наиболее неблагоприятном направлении на угол 10°. Примечание 1 Прибор не подключают к сети питания. 2 Испытание на горизонтальной опоре может быть необходимо для приборов с роликами, колесиками или ножками. 3 Колесики и ролики блокируют, чтобы прибор не катился. Приборы с дверцами испытывают с открытыми или закрытыми дверцами, в зависимости от того, что более неблагоприятно. Приборы, предназначенные для заполнения потребителем жидкостью при нормальной эксплуатации, испытывают пустыми или заполняют наиболее неблагоприятным количеством воды в пределах вместимости, указанной в инструкциях. Прибор не должен опрокидываться. Для приборов с нагревательными элементами испытание повторяют затем с углом наклона, увеличенным до 15°. Если такой прибор опрокидывается в одном или более положениях, то его подвергают испытанию по разделу 11 во всех опрокинутых положениях. Во время этого испытания превышения температуры не должны быть больше значений, приведенных в таблице 9. 20.2 Движущиеся части приборов должны быть, насколько это совместимо с применением и работой прибора, расположены или ограждены так, чтобы при нормальной эксплуатации была обеспечена достаточная защита персонала от травм. Примечание 1 - Примерами приборов, в которых полная защита практически невозможна, являются швейные машины, пищевые миксеры и электроножи. Защитные кожухи, ограждения и другие подобные элементы должны быть несъемными частями и должны иметь достаточную механическую прочность. Примечание 2- Ограждения, которые несмотря на блокировку могут быть открыты применяемым испытательным щупом, рассматривают как съемные части. Неожиданное повторное замыкание термовыключателей с самовозвратом и сверхтоковых защитных устройств не должно представлять опасность. Примечание 3 - Примерами приборов, в которых термовыключатели с самовозвратом и сверхтоковые защитные устройства могут быть причиной опасности, являются пищевые миксеры и машины для отжима белья. Соответствие требованию проверяют осмотром, испытанием по разделу 21 и приложением силы не более 5 Н испытательным щупом В по ГОСТ Р МЭК 61032-2000, но имеющим круглый стопорный торец диаметром 50 мм вместо некруглого. Приборы, снабженные подвижными устройствами, такими, например, как устройства для изменения натяжения ремней, испытывают испытательным щупом с этими устройствами, установленными в наиболее неблагоприятное положение в пределах диапазона их регулирования. Если необходимо, ремни снимают. Не должно быть возможности опасного соприкосновения движущихся частей с этим испытательным щупом. 21 Механическая прочностьПриборы должны иметь достаточную механическую прочность. Они должны быть сконструированы так, чтобы могли выдерживать грубое обращение с ними, которое возможно при нормальной эксплуатации. Соответствие требованию проверяют нанесением ударов по прибору пружинным устройством для испытания на удар, как установлено в приложении 1 настоящего стандарта. Прибор жестко крепят и наносят по три удара, каждый энергией (0,5 ± 0,04) Дж, в каждую точку корпуса, которую считают слабой. Примечание 1 - Чтобы обеспечить жесткую опору для прибора, может возникнуть необходимость в установке его напротив твердой стены из кирпича, бетона или другого аналогичного материала. Лист полиамида прочно крепят к стене, при этом между листом и стеной не должно быть заметного воздушного зазора. Лист полиамида должен иметь твердость по Роквеллу 100R, толщину не менее 8 мм и быть достаточно большим, чтобы все части прибора имели опору. В случае необходимости удары наносят по ручкам, рукояткам, кнопкам и другим подобным элементам, а также по сигнальным лампам и их предохранительным колпачкам, когда они выступают из кожуха более чем на 100 мм, или когда площадь их поверхности превышает 4 см2. Лампы, находящиеся внутри прибора, и их предохранительные колпачки испытывают только в том случае, если имеется вероятность повреждения их при нормальной эксплуатации. * Введено взамен ссылки на МЭК 60068-2-75. Примечание 2 - Когда спусковой конус прикладывают к защитному ограждению нагревательного элемента с видимым свечением, необходимо следить за тем, чтобы головка молотка, проходя через ограждение, не наносила удар по нагревательному элементу. После испытания прибор не должен иметь повреждений, которые могут нарушить соответствие настоящему стандарту. В частности, не должно быть нарушено соответствие требованиям 8.1, 15.1 и 29.1. В сомнительных случаях дополнительную или усиленную изоляцию подвергают испытанию на электрическую прочность по 16.3. Примечания 3 Повреждение покрытия, небольшие вмятины, не приводящие к уменьшению воздушных зазоров или путей утечки до значений, менее указанных в разделе 29, а также небольшие скопы, которые не оказывают влияния на защиту от доступа к токоведущим частям или на влагостойкость, не учитывают. 4 Если под декоративным кожухом имеется внутренний кожух, то появление трещин на декоративном кожухе не учитывают при условии, что внутренний кожух сам выдержит испытание. Если возникли сомнения относительно того, что появление дефекта в испытуемом месте вызвано от влияния ранее нанесенных ударов, то этот дефект не учитывают, а испытание повторяют на новом образце, по которому наносят три удара в месте, где возник дефект; новый образец должен выдержать это испытание. Примечание 5 - Трещины, не видимые невооруженным глазом, поверхностные трещины в прессованных материалах, армированных волокном, и т.п. не учитывают. 22 Конструкция22.1 Если прибор маркирован первыми цифрами в IP-системе, то должны выполняться соответствующие требования ГОСТ 14254-96. Соответствие требованию проверяют проведением соответствующих испытаний. 22.2 Для стационарных приборов средства подключения к сети должны обеспечивать гарантированное отключение всех полюсов от сети питания. Такие средства должны быть одними из следующих: - шнур питания, оснащенный вилкой, или - выключатель, соответствующий требованиям 24.3, или - разъединитель, вмонтированный в фиксированную проводку, в соответствии с инструкциями, или - приборный соединитель. Однополюсный выключатель и однополюсные защитные устройства, отключающие нагревательные элементы от сети питания, в однофазных постоянно подключенных приборах класса I должны быть подключены к фазному проводнику. Соответствие требованию проверяют осмотром. 22.3 Приборы со штырями, предназначенными для введения в контактные гнезда закрепленных розеток, не должны создавать чрезмерные механические нагрузки на эти розетки. Устройство, обеспечивающее удержание штырей, должно выдерживать усилия, которым штыри могут подвергаться при нормальной эксплуатации. Соответствие требованию проверяют путем введения штырей прибора в закрепленную розетку без заземляющего контакта. Розетка должна иметь возможность поворачиваться вокруг горизонтальной оси, проходящей через осевые линии контактных гнезд на расстоянии 8 мм от лицевой поверхности розетки. Крутящий момент, удерживающий лицевую поверхность розетки в вертикальной плоскости, не должен превышать 0,25 Нм. Примечание - Значение крутящего момента, удерживающего саму розетку в вертикальной плоскости, не включено в это значение. Новый образец прибора прочно закрепляют таким образом, чтобы это не влияло на крепление штырей. Прибор помещают в камеру тепла и выдерживают в течение 1 ч при температуре (70 ± 2) °С. Затем прибор извлекают из камеры тепла и сразу же к каждому штырю вдоль его продольной оси прикладывают тянущее усилие, равное 50 Н. После охлаждения образца до комнатной температуры смещение штырей не должно превышать 1 мм. После этого каждый штырь подвергают поочередно воздействию крутящего момента, равного 0,4 Нм, который прикладывают в течение 1 мин в каждом направлении. Штыри не должны вращаться, за исключением случаев, когда вращение не влияет на соответствие настоящему стандарту. 22.4 Приборы для нагревания жидкостей и приборы, вызывающие чрезмерную вибрацию, не должны иметь штырей для введения в контактные гнезда фиксированных розеток. Соответствие требованию проверяют осмотром. 22.5 Приборы, предназначенные для подключения к сети питания с помощью вилки, должны быть сконструированы так, чтобы при нормальном использовании не возникло опасности поражения электрическим током от заряженных конденсаторов при прикасании к штырям вилки. Примечание - Конденсаторы номинальной емкостью менее или равной 0,1 мкФ не считают вызывающими опасность поражения электрическим током. Соответствие требованию проверяют следующим испытанием, проводимым 10 раз. Прибор питают номинальным напряжением. Затем любой выключатель устанавливают в положение «ВЫКЛ» и прибор отключают от сети питания. Через 1 с после отключения прибора измеряют напряжение между штырями вилки измерительным прибором, не оказывающим заметного влияния на измеряемую величину. Напряжение не должно превышать 34 В. 22.6 Приборы должны быть сконструированы так, чтобы на их электрическую изоляцию не влияла вода, которая может конденсироваться на холодных поверхностях, или жидкость, которая может вытекать из сосудов, шлангов, соединений и т.п., являющихся частью прибора. Кроме того, электрическая изоляция приборов класса N и конструкций класса II не должна повреждаться даже в случае разрушения шланга или повреждения герметичного уплотнения. Соответствие требованию проверяют осмотром, а в случае сомнения следующим испытанием. Окрашенную жидкость с помощью шприца капают на те части прибора, где возможны утечка жидкости и воздействие ее на электрическую изоляцию. Прибор либо включают в работу, либо он не работает, в зависимости от того, что более неблагоприятно. После этого испытания осмотр должен показать отсутствие следов жидкости на обмотках или изоляции, которые могут уменьшать пути утечки ниже значений, указанных в 29.2. 22.7 Приборы, которые содержат жидкость или газ при нормальной эксплуатации или имеют устройство, вырабатывающее пар, должны иметь соответствующие предохранительные устройства для предотвращения опасности возникновения чрезмерно высокого давления. Соответствие требованию проверяют осмотром и при необходимости соответствующим испытанием. 22.8 В приборах, имеющих отсеки, доступные без применения инструмента, и которые в условиях нормальной эксплуатации подлежат чистке, электрические соединения должны быть выполнены так, чтобы они не подвергались тяговому усилию при чистке. Соответствие требованию проверяют осмотром и испытанием вручную. 22.9 Конструкция приборов должна предусматривать, чтобы такие части прибора, как изоляция, внутренняя проводка, обмотки, коллекторы и контактные кольца не подвергались воздействию масла, смазки и других подобных веществ. Если конструкция такова, что изоляция подвержена воздействию таких веществ, как масло, густая смазка, то эти вещества должны обладать соответствующими изоляционными свойствами, чтобы не нарушалось соответствие настоящему стандарту. Соответствие требованию проверяют осмотром. 22.10 Кнопки возврата органов управления без самовозврата должны быть расположены или защищены так, чтобы возможность случайного возврата их в исходное состояние была маловероятной, если это может привести к опасности. Примечание - Это требование исключает, например, применение кнопок возврата, расположенных на задней стенке прибора, когда возврат их в исходное состояние может произойти при прижатии прибора к стене. Соответствие требованию проверяют осмотром. 22.11 Несъемные части, которые обеспечивают необходимую степень защиты от доступа к токоведущим частям, от влаги или от контакта с движущимися частями, должны быть соответствующим образом зафиксированы и должны выдерживать механические удары, возможные при нормальной эксплуатации. Защелкивающие устройства, используемые для фиксации подобных частей, должны иметь очевидную запирающую позицию. Фиксирующие свойства защелкивающих устройств, используемых для частей, которые, вероятно, снимают при монтаже или сервисном обслуживании, не должны ухудшаться. Соответствие требованию проверяют следующим испытанием. Части, которые, вероятно, будут сняты при монтаже или техническом обслуживании, разбирают и собирают 10 раз перед проведением испытания. Примечание - Под техническим обслуживанием понимают также замену шнура питания. Испытание проводят при комнатной температуре. Однако если на результат испытания может повлиять температура прибора, испытание проводят сразу после того, как прибор проработает в условиях, указанных в разделе 11. Испытанию подвергают все части, которые, вероятно, будут снимать, независимо от того, зафиксированы они винтами, заклепками и т.п. Силу прикладывают в течение 1 с в наиболее неблагоприятном направлении без рывков к тем поверхностям крышки или части, которые, вероятно, ослабятся. Значение силы указано ниже. Толкающая сила - 50 Н. Растягивающая сила: - если форма части такова, что кончики пальцев не могут легко соскользнуть, - 50 Н; - если захватываемая часть выступает в направлении перемещения менее чем на 10 мм, - 30 Н. Толкающую силу прикладывают с помощью испытательного щупа 11 по ГОСТ Р МЭК 61032-2000. Растягивающую силу прикладывают с помощью любого подходящего средства (например, присоски) таким образом, чтобы средство не влияло на результат испытания. Пока приложена сила, испытательный подпружиненный палец, изображенный на рисунке 7, вводят в любое отверстие или место соединения с усилием ЮН. Затем подпружиненный палец смещают вбок с усилием 10 Н, причем он не должен разворачиваться или служить рычагом. Если форма части такова, что осевое растягивающее усилие маловероятно, растягивающую силу не прикладывают, но испытательный подпружиненный палец вводят в любое отверстие или место соединения с усилием 10 Н и затем тянут в течение 10 с петлей с усилием 30 Н в направлении смещения. Если часть прибора будет подвергаться скручиванию, то во время приложения растягивающей или толкающей силы прикладывают следующий крутящий момент: - для основных размеров до 50 мм включительно - 2 Нм; - для основных размеров свыше 50 мм - 4 Нм. Этот крутящий момент применяют также, когда испытательный подпружиненный палец тянут петлей. Если захватываемая часть выступает менее чем на 10 мм, крутящий момент снижают до 50 %. Части должны оставаться в заблокированном состоянии и не должны отделяться. 22.12 Рукоятки, кнопки, рычаги и т.п. детали должны быть надежно закреплены, так чтобы они не ослаблялись при нормальной эксплуатации, если это может привести к опасности. Если эти части используются для указания положения выключателей или аналогичных элементов, то должна быть исключена возможность установки их в неправильное положение если это может привести к опасности. Соответствие требованию проверяют осмотром, испытанием вручную и путем попытки снять часть, прилагая осевое усилие: - 15 Н, если невозможно прикладывать осевое растягивающее усилие при нормальной эксплуатации; - 30 Н, если есть возможность прикладывать осевое растягивающее усилие при нормальной эксплуатации. Усилие прикладывают в течение 1 мин. Примечание - Заливочную массу и другие подобные вещества, за исключением самозатвердевающих смол, не считают достаточными для предотвращения ослабления креплений. 22.13 Приборы должны быть сконструированы так, чтобы при захвате ручек во время нормальной эксплуатации исключалась вероятность прикасания руки оператора к частям, превышение температуры которых более, чем превышение температуры, установленное в таблице 3 для ручек, которые при нормальной эксплуатации держат в руках только кратковременно. Соответствие требованию проверяют осмотром и при необходимости определением превышения температуры. 22.14 Приборы не должны иметь зазубренных или острых углов, кроме необходимых для функционирования прибора или приставки, которые могут создать опасность для пользователя при нормальной эксплуатации или в процессе обслуживания пользователем.
А - изоляционный материал; В - пружина диаметром 18 мм; С – петля Рисунок 7 - Испытательный подпружиненный палец Не должно быть острых выступающих углов самонарезающих винтов или других крепежных деталей, с которыми может контактировать пользователь при нормальной эксплуатации или в процессе обслуживания пользователем. Соответствие требованию проверяют осмотром. 22.15 Крюки и другие подобные приспособления для укладки гибких шнуров должны быть гладкими и хорошо закругленными. Соответствие требованию проверяют осмотром. 22.16 Катушки для автоматической намотки шнуров должны быть сконструированы так, чтобы не вызывать: - чрезмерное истирание или повреждение оболочки гибкого шнура; - поломки жил проводов; - чрезмерный износ контактов. Соответствие требованию проверяют следующим испытанием, которое проводят с обесточенным гибким шнуром. Разматывают 2/3 общей длины шнура. В случае, если вытягиваемая длина шнура составляет менее 225 см, то шнур разматывают таким образом, чтобы на катушке оставалось 75 см. Затем разматывают дополнительно еще 75 см шнура и вытягивают его в таком направлении, при котором имеет место наибольшее истирание оболочки, учитывая нормальное положение прибора при эксплуатации. В месте выхода шнура из прибора угол между его осью при испытании и его осью при разматывании без существенного усилия составляет приблизительно 60°. Допускается соскакивание шнура с катушки. Примечание 1 - Если шнур не сматывается обратно под углом 60°, то угол регулируют до тех пор, пока не произойдет обратное сматывание шнура. Испытание проводят 6000 раз с частотой приблизительно 30 разматываний и сматываний в 1 мин или с максимальной частотой разматывания и сматывания, которая возможна с учетом конструкции катушки, если получающаяся частота менее 30. Примечание 2 - Может появиться необходимость прерывания испытания для охлаждения шнура. После этого испытания шнур и катушку осматривают. При сомнении шнур подвергают испытанию на электрическую прочность по 16.3, причем испытательное напряжение 1000 В прикладывают между соединенными вместе проводами шнура и металлической фольгой, обернутой вокруг шнура. 22.17 Прокладки (распорки), предназначенные для защиты прибора от перегретых стен, должны быть закреплены так, чтобы их невозможно было снять с внешней стороны прибора вручную или с помощью отвертки или гаечного ключа. Соответствие требованию проверяют осмотром и испытанием вручную. 22.18 Токонесущие части и другие металлические части, коррозия которых может привести к опасности, должны быть устойчивы к коррозии при нормальных условиях эксплуатации. Примечание 1 - Нержавеющую сталь и подобные сплавы, стойкие к коррозии, а также плакированную сталь считают удовлетворяющими настоящему требованию. Соответствие требованию проверяют осмотром соответствующих частей, которые после испытания по разделу 19 не должны иметь следов коррозии. Примечание 2 - Следует обращать внимание на совместимость материалов контактных соединений и на влияние на них нагрева. 22.19. Приводные ремни не должны рассматриваться как обеспечивающие соответствующую электрическую изоляцию, если они не имеют конструкцию, исключающую возможность их неправильной замены. Соответствие требованию проверяют осмотром. 22.20 Не допускается прямой контакт между токоведущими частями и термоизоляцией, если материал изоляции является коррозионным, гигроскопичным и воспламеняющимся. Примечание - Стекловата является примером термоизоляции, которая удовлетворяет настоящему требованию. Непропитанная шлаковая вата является примером коррозионной термоизоляции. Соответствие требованию проверяют осмотром и при необходимости соответствующими испытаниями. 22.21 Дерево, хлопчатобумажная ткань, шелк, обычная бумага и аналогичные волокнистые или гигроскопичные материалы не должны использоваться в качестве изоляции, если они не пропитаны. Примечания 1 Изоляционный материал считают пропитанным, если промежутки между волокнами заполнены соответствующим изоляционным материалом. 2 Окись магния и минеральные керамические волокна (нити), используемые для электрической изоляции нагревательных элементов, не рассматривают как гигроскопичные материалы. Соответствие требованию проверяют осмотром. 22.22 Приборы не должны содержать асбест. Соответствие требованию проверяют осмотром. 22.23 Масла, содержащие многохлористый бифенил, не должны использоваться в приборах. Соответствие требованию проверяют осмотром. 22.24 Неизолированные нагревательные элементы должны удерживаться так, чтобы в случае разрыва нагревательного провода было маловероятным его соприкасание с доступными металлическими частями. Соответствие требованию проверяют осмотром после разрезания нагревательного провода в наиболее неблагоприятном месте. Примечания 1 После разрезания к проводнику не прикладывают никакой силы. 2 Это испытание проводят после испытания по разделу 29. 22.25 Приборы, кроме приборов класса III, должны быть сконструированы так, чтобы провисающие нагревательные провода не могли контактировать с доступными металлическими частями. Соответствие требованию проверяют осмотром. Примечание - Это требование может быть выполнено, например, путем применения дополнительной изоляции или сердечника, которые надежно предохраняют нагревательный провод от провисания. 22.26 Приборы класса II, содержащие части, представляющие конструкцию класса III, должны быть сконструированы так, чтобы изоляция между частями, работающими на безопасном сверхнизком напряжении, и другими токоведущими частями соответствовала требованиям к двойной или усиленной изоляции. Соответствие требованию проверяют испытаниями, установленными для двойной или усиленной изоляции. 22.27 Части, соединенные с защитным импедансом, должны быть отделены двойной или усиленной изоляцией. Соответствие требованию проверяют испытаниями, установленными для двойной или усиленной изоляции. 22.28 Для приборов класса II, подключенных при нормальной эксплуатации к газовой или водопроводной сети, металлические части, электрически соединенные с газовыми трубами или находящиеся в контакте с водой, должны быть отделены от токоведущих частей двойной или усиленной изоляцией. Соответствие требованию проверяют осмотром. 22.29 Приборы класса II, предназначенные для постоянного подключения к стационарной проводке, должны быть сконструированы так, чтобы степень защиты от доступа к токоведущим частям сохранялась после установки прибора. Примечание - Защита от доступа к токоведущим частям может быть обеспечена, например, установкой металлических трубопроводов или кабелей с металлической оболочкой. Соответствие требованию проверяют осмотром. 22.30 Части конструкции класса II, которые служат как дополнительная или усиленная изоляция и которые могут быть забыты при повторной сборке прибора после сервисного обслуживания, должны быть: - или закреплены так, чтобы их нельзя было снять без серьезного повреждения; - или сконструированы так, чтобы их нельзя было установить в неправильное положение, а если они забыты, то прибор либо должен быть неработоспособен, либо должно быть совершенно очевидно, что прибор укомплектован не полностью. Примечание - Сервисное обслуживание включает в себя замену комплектующих, например шнуров питания, выключателей. Соответствие требованию проверяют осмотром, измерением и испытанием вручную. 22.31 Воздушные зазоры и пути утечки по дополнительной или усиленной изоляции в результате износа не должны стать менее значений, указанных в разделе 29. Если возможно ослабление крепления или выпадение из нормального положения части, такой как провод, винт, гайка, шайба или пружина, то воздушные зазоры и пути утечки между токоведущими и доступными частями не должны быть менее значений, установленных для дополнительной изоляции. Примечание - Для целей настоящего требования: - принимается во внимание только нормальное положение прибора; - предполагается, что два независимых крепления не ослабнут одновременно; - части, закрепленные винтами или гайками с пружинными шайбами, не считают склонными к ослаблению, если не возникает необходимость снятия этих винтов или гаек при замене шнура питания или при эксплуатационном обслуживании; - провода, соединенные пайкой, не считают достаточно закрепленными, если отсутствует дополнительное, независимое от пайки, крепление рядом с зажимом; - провода, подсоединенные к зажимам, не считают надежно закрепленными, если отсутствует дополнительное крепление рядом с зажимом; причем в случае многожильных проводников крепление должно зажимать как изоляцию, так и проводник; - считают маловероятным выпадение коротких жестких проводов из зажима, если они остаются на месте при ослаблении винта зажима. Соответствие требованию проверяют осмотром, измерением и испытанием вручную. 22.32 Дополнительная и усиленная изоляции должны быть спроектированы или защищены так, чтобы они не могли быть повреждены загрязнением от оседающей пыли или пыли, появляющейся в результате износа внутренних частей прибора, до такой степени, что воздушные зазоры или пути утечки станут менее указанных в разделе 29. Детали из натуральной или синтетической резины, используемые в качестве дополнительной изоляции, должны быть устойчивыми к старению или расположены так и иметь такие размеры, чтобы пути утечки не были менее значений, указанных в 29.2, даже при появлении трещин. Неплотно спеченные керамические и тому подобные материалы, а также одни лишь изоляционные бусы не должны использоваться в качестве дополнительной или усиленной изоляции. Примечание 1 - Изоляционные материалы, в которые вмонтированы нагревательные проводники, считают основной, а не усиленной изоляцией. Соответствие требованию проверяют осмотром и измерением. Если резиновая часть достаточно прочная к старению, проводят следующее испытание. Часть свободно подвешивают в кислородном баллоне, полезная вместимость которого равна по крайней мере 10-кратному объему части. Баллон заполняют техническим кислородом чистотой не менее 97 %, давлением (2,1 ± 0,07) МПа и удерживают при температуре (70 ± 1) °С. Примечание 2 - В связи с тем, что использование баллона с кислородом представляет некоторую опасность при неосторожном с ним обращении, следует принять все меры, чтобы избежать взрыва из-за внезапного окисления. Часть выдерживают в баллоне в течение 96 ч. Затем ее вынимают из баллона и не менее 16 ч выдерживают при комнатной температуре, избегая попадания на нее прямого солнечного света. После испытания проводят осмотр части; она не должна иметь трещин, видимых невооруженным глазом. Если есть сомнения, плотно ли спечен керамический материал, проводят следующее испытание. Керамический материал разламывают на куски, которые погружают в раствор, содержащий 1 г фуксина (краска) на каждые 100 г метилового спирта. В растворе поддерживают давление не менее 15 МПа в течение периода, который определяют как произведение длительности испытания в часах на испытательное давление в мегапаскалях и который должен равняться приблизительно 180. Куски извлекают из раствора, промывают, сушат и разламывают на куски меньшего размера. Только что разломанные поверхности исследуют. На них не должно быть видно каких-либо следов краски. 22.33 Проводящие жидкости, которые являются или могут стать доступными при нормальной эксплуатации, не должны непосредственно контактировать с токоведущими частями. Электроды не должны использоваться для нагревания жидкостей. В конструкциях класса II проводящие жидкости, которые являются или могут стать доступными при нормальной эксплуатации, не должны непосредственно контактировать с основной или усиленной изоляцией. В конструкциях класса II проводящие жидкости, которые контактируют с токоведущими частями, не должны непосредственно контактировать с усиленной изоляцией. Примечания 1 Жидкости, которые контактируют с извлекаемыми доступными металлическими частями, должны рассматриваться как доступные. 2 Любой слой воздуха нельзя считать одним из слоев двойной изоляции, если имеется вероятность образования мостика из вытекающей жидкости. Соответствие требованию проверяют осмотром. 22.34 Оси рабочих кнопок, ручек, рукояток и т.п. не должны быть токоведущими, даже когда ось недоступна при удалении кнопки, рукоятки, ручки и т.п. Соответствие требованию проверяют осмотром и с помощью испытательного щупа по 8.1 после удаления кнопки, ручки, рукоятки и т.п., даже если для этого необходим инструмент. 22.35 В конструкциях, кроме конструкций класса III, ручки, рукоятки и кнопки, которые берут в руки или нажимают при нормальной эксплуатации, не должны находиться под напряжением при повреждении изоляции. Если эти ручки, рукоятки, кнопки металлические или если их оси и крепежные детали находятся под напряжением при повреждении изоляции, то они должны быть соответствующим образом покрыты изоляционным материалом или их доступные части должны быть отделены от их осей или крепежных деталей дополнительной изоляцией. Примечание - Изоляция считается соответствующей настоящему стандарту, если она выдерживает испытание по 16.3 для дополнительной изоляции. Для стационарных приборов это требование не применяют к ручкам, рукояткам, кнопкам, кроме ручек, рукояток, кнопок электрических комплектующих, при условии, что они подключены к защитному зажиму или контакту или отделены от токоведущих частей заземленным металлом. Соответствие требованию проверяют осмотром и при необходимости соответствующими испытаниями. 22.36 В приборах, кроме приборов класса III, ручки, которые при нормальной эксплуатации непрерывно держат в руке, должны быть сконструированы так, чтобы при их захвате во время нормальной эксплуатации было маловероятным прикасание руки оператора к металлическим частям, которые не отделены от токоведущих частей двойной или усиленной изоляцией. Соответствие требованию проверяют осмотром. 22.37 У приборов класса II конденсаторы не должны быть соединены с доступными металлическими частями, а их кожухи, если они металлические, должны быть отделены от доступных металлических частей дополнительной изоляцией. Это требование не распространяется на конденсаторы, соответствующие требованиям к защитному импедансу по 22.42. Соответствие требованию проверяют осмотром и соответствующими испытаниями 22.38 Конденсаторы не должны подключаться между контактами термовыключателя. Соответствие требованию проверяют осмотром. 22.39 Патроны ламп должны использоваться только для подключения ламп. Соответствие требованию проверяют осмотром. 22.40 Электромеханические и комбинированные приборы, которые предназначены для перемещения при работе или которые имеют доступные подвижные части, должны иметь выключатель в цепи управления двигателем. Исполнительный элемент конструкции такого выключателя должен быть легконаблюдаем и легкодоступен. Соответствие требованию проверяют осмотром. 22.41 Приборы, кроме ламп, не должны включать компоненты, содержащие ртуть. Соответствие требованию проверяют осмотром. 22.42 Защитный импеданс должен состоять не менее чем из двух отдельных компонентов, изменение полного сопротивления которых в течение срока службы прибора маловероятно. Если один из компонентов замыкается накоротко или размыкается, не должно быть превышения значений параметров, указанных в 8.1.4. Примечание - Резисторы, соответствующие правилам испытания по 14.1 а) ГОСТ Р МЭК 60065, и конденсаторы класса Y, соответствующие ГОСТ МЭК 384-14, рассматривают как составляющие (компоненты), имеющие достаточно стабильный импеданс. Соответствие требованию проверяют осмотром и измерением. 22.43 Приборы, которые могут быть переключены на разные напряжения, должны быть сконструированы так, чтобы случайное изменение уставки было маловероятным. Соответствие требованию проверяют испытанием вручную. 22.44 Приборы не должны иметь ограждение, которое оформлено так, что прибор становится похожим на игрушку для детей. Соответствие требованию проверяют осмотром. Примечание - Примерами являются ограждения, изображающие животных или людей или имеющие сходство с моделями в масштабе. 22.45 В тех случаях, когда в качестве усиленной изоляции используют воздух, прибор должен иметь конструкцию, при которой воздушные зазоры не могут быть менее значений, установленных 29.1.3, в результате деформации под действием внешней силы, приложенной к кожуху. Примечание 1 Считается, что данному требованию удовлетворяет достаточно жесткая конструкция. 2 Следует учитывать деформацию, которая возникает в результате небрежного обращения с прибором. Соответствие требованию проверяют осмотром и испытанием вручную. 23 Внутренняя проводка23.1 Канавки для проводников должны быть гладкими и без острых кромок. Проводники должны быть защищены так, чтобы они не соприкасались с заусенцами, охлаждающими ребрами и т.п., которые могут вызвать повреждение их изоляции. Отверстия в металле, через которые проходят изолированные проводники, должны иметь гладкие, хорошо закругленные поверхности или должны быть снабжены втулками. Проводники должны быть надежно защищены от соприкасания с движущимися частями. Соответствие требованию проверяют осмотром. 23.2 Изолирующие бусы и аналогичные керамические изоляторы на токоведущих проводниках должно быть закреплены или установлены так, чтобы они не могли изменить свое положение или опираться на острые кромки. Если изолирующие бусы находятся внутри гибких металлических трубок, то они должны быть покрыты изоляционной трубкой, за исключением тех случаев, когда гибкая металлическая трубка при нормальной эксплуатации не перемещается. Соответствие требованию проверяют осмотром и испытанием вручную. 23.3 Различные части прибора, которые при нормальной эксплуатации или обслуживании пользователем могут перемещаться друг относительно друга, не должны вызывать чрезмерно большие напряжения электрических соединений и внутренней проводки, включая проводники, обеспечивающие непрерывность заземления. Гибкие металлические трубки не должны повреждать изоляцию находящихся в них проводников. Спиральные пружины, витки которых не соприкасаются друг с другом, не должны пользоваться для защиты электропроводки. Если для защиты проводников используются спиральные пружины, витки которых соприкасаются друг с другом, то помимо изоляции проводников должно быть предусмотрено дополнительное изоляционное покрытие. Примечание 1 - Оболочка гибкого шнура, соответствующая ГОСТ 7399-97, считается достаточным изоляционным покрытием. Соответствие требованию проверяют осмотром и следующим испытанием. Если при нормальной эксплуатации прибора имеет место изгиб, то прибор должен быть установлен в нормальное рабочее положение и работать при номинальном напряжении в условиях нормальной работы. Подвижную часть перемещают вперед и назад так, чтобы проводник изгибался под максимальным углом, допускаемым конструкцией прибора; частота изгибов - 30 в минуту. Число изгибов оставляет: - 10000 - для проводников, подвергающихся изгибу при нормальной эксплуатации; - 100 - для проводников, подвергающихся изгибу при обслуживании пользователем. Примечание 2 - Под изгибом понимают одно движение вперед или назад. Прибор не должен иметь повреждений, нарушающих соответствие требованиям настоящего стандарта и препятствующих его дальнейшему использованию. В частности, проводка и ее соединения должны выдерживать испытание на электрическую прочность изоляции по 16.3, при этом испытание следует проводить только между токоведущими частями и доступными металлическими частями испытательным напряжением, уменьшенным до 1000 В 23.4 Оголенная внутренняя проводка должна быть настолько жесткой и закрепленной, чтобы при нормальной эксплуатации воздушные зазоры или пути утечки не могли стать менее значений, указанных в разделе 29. Соответствие требованию проверяют при испытаниях по 29.1 и 29.2. 23.5 Изоляция внутренней проводки должна выдерживать электрические напряжения, возможные при нормальной эксплуатации. Соответствие требованию проверяют следующим образом. Основная изоляция должна быть электрически эквивалентна основной изоляции шнуров по ГОСТ Р МЭК 60227-5-2002, ГОСТ Р МЭК 60245-4-2002 и ГОСТ 7399-97 или выдерживать следующее испытание в электрическую прочность. Напряжение 2000 В прикладывают в течение 15 мин между проводником и металлической фольгой, обернутой вокруг изоляции. При этом не должно быть пробоя. Примечание 1 Если основная изоляция проводника не удовлетворяет одному из приведенных выше условий, то проводник считают оголенным. 2 Испытанию подвергают только проволоку, которая находится под напряжением сети. 3 Для конструкций класса II применимы требования для дополнительной изоляции и усиленной изоляции, кроме оболочек шнура, выполненных в соответствии с ГОСТ Р МЭК 60227-5-2002, ГОСТ Р МЭК 60245-4-2002, ГОСТ 7399-97, которые могут быть снабжены дополнительной изоляцией. 23.6 Если в качестве дополнительной изоляции на внутренней проводке использована трубка она должна быть прочно закреплена. Соответствие требованию проверяют осмотром и испытанием вручную. Примечание - Трубку считают надежно закрепленной, если ее можно снять только поломав или разрезав или если она закреплена с обоих концов. 23.7 Проводники, обозначенные комбинацией желто-зеленого цвета, следует использовать только как заземляющие проводники. Соответствие требованию проверяют осмотром. 23.8 Алюминиевые проводники не должны использоваться для внутренней проводки. Примечание - Обмотки двигателей не считают внутренней проводкой. Соответствие требованию проверяют осмотром. 23.9 Многопроволочные проводники не должны соединяться свинцово-оловянным припоем в местах, где они подвергаются контактному давлению, если зажимные устройства сконструированы так, что возможен плохой контакт из-за хладотекучести припоя. Примечание 1 Требование может быть выполнено путем использования пружинных зажимов. Закрепление только зажимным винтом не считается достаточным. 2 Допускается пропайка концов многопроволочных проводников. Соответствие требованию проверяют осмотром. 24 Комплектующие изделия24.1 Комплектующие изделия должны соответствовать по безопасности требованиям соответствующих стандартов в такой мере, насколько это целесообразно. Примечание 1 - Соответствие стандарту на определенное комплектующее изделие необязательно означает его соответствие настоящему стандарту. Если нет иных указаний, требования раздела 29 настоящего стандарта применимы в части воздушных зазоров, путей утечки и непрерывной изоляции между токоведущими частями комплектующих изделий и доступными частями прибора. Если комплектующие изделия не были ранее испытаны и не было установлено, что они удовлетворяют соответствующему стандарту в части установленного количества циклов, их испытывают в соответствии с 24.1.1-24.1.6. Комплектующие изделия, которые не испытывались отдельно и в отношении которых не было установлено, что они удовлетворяют соответствующему стандарту, а также комплектующие изделия, у которых отсутствует маркировка или которые не используются в соответствии с их маркировкой - испытывают в соответствии с условиями, возникающими в приборе,, при этом количество образцов должно быть установлено соответствующим стандартом. Примечание 2 - Маркировка автоматических управляющих устройств включает в себя документацию и декларацию в соответствии с разделом 7 ГОСТ Р МЭК 60227-5-2002, ГОСТ Р МЭК 60245-4-2002. Если на какое-либо комплектующее отсутствует стандарт, дополнительные испытания не устанавливают. 24.1.1 Соответствующим стандартом для конденсаторов, постоянно находящихся под напряжением и используемых для подавления радиопомех или деления напряжения, является ГОСТ МЭК 384-14. Если они должны быть испытаны, их испытывают в соответствии с приложением F настоящего стандарта. Примечание - Примерами конденсаторов, постоянно находящихся под напряжением, являются конденсаторы, входящие в приборы, для которых: - применимы требования 30.2.3; - применимы требования 30.2.2, если конденсатор не отключают от электроснабжения двухполюсным выключателем. Этот выключатель имеет два полюса, если конденсатор заземлен. 24.1.2 Соответствующим стандартом для безопасных разделительных трансформаторов является ГОСТ 30030-93. Если они должны быть испытаны, их испытывают в соответствии с приложением G настоящего стандарта. 24.1.3 Соответствующим стандартом для выключателей является ГОСТ Р МЭК 61058-1-2000. Количество рабочих циклов, установленных в 7.1.4 ГОСТ Р МЭК 61058-1-2000, должно быть не менее 10000. Если выключатели должны быть испытаны, их испытывают в соответствии с приложением Н настоящего стандарта Примечание - Установленное количество рабочих циклов применяют только для выключателей, соответствующих настоящему стандарту. 24.1.4 Соответствующим стандартом для автоматических управляющих устройств является ГОСТ Р МЭК 60730-1-2002 вместе с дополнительной частью 2 указанного стандарта. Количество циклов работы, установленных в 6.10 и 6.11 ГОСТ Р МЭК 60730-1-2002, должно быть не менее следующих для:
(Поправка. ИУС 2-2006) Примечание 1 - Указанное количество рабочих циклов не применяют для автоматических управляющих устройств, которые срабатывают при испытаниях по разделу 11. если прибор соответствует настоящему стандарту при закорачивании этих устройств. Если автоматические управляющие устройства должны быть испытаны, их также испытывают в соответствии с 11.3.5 - 11.3.8 и разделом 17 ГОСТ Р МЭК 60730-1-2002 как управляющие устройства типа 1. Примечание 2 - Испытания по разделам 12, 13 и 14 ГОСТ Р МЭК 60730-1 не проводят перед испытаниями по разделу 17. 24.1.5 Соответствующим стандартом для приборных соединителей является ГОСТ Р 51325.1-99. Однако для приборов, классифицированных выше чем IРХ0, соответствующим стандартом является ГОСТ Р 51325.2.3-2002. 24.1.6 Соответствующим стандартом для малых патронов, аналогичных патронам серии ЕЮ, является ГОСТ Р МЭК 60238-99, требования к патронам серии Е10 также применимы. Однако они не обязательно должны быть пригодны для ламп с цоколем Е10 по ГОСТ 28108-89. 24.2 Приборы не должны иметь: - выключателей или автоматических управляющих устройств в гибких шнурах; - устройств, которые приводят к срабатыванию защитных устройств в фиксированной проводке в случае повреждений в приборе; - термовыключателей, которые могут быть возвращены в исходное состояние посредством пайки. Примечание - Разрешается использование припоя, имеющего точку плавления по крайней мере 230 °С Соответствие требованию проверяют осмотром. 24.3 Выключатели, предназначенные для отключения всех полюсов стационарного прибора, как указано в 22.2, должны быть подключены непосредственно к зажимам питания и иметь зазор между контактами на всех полюсах, обеспечивающих полное отключение для условий категории перенапряжения III. Примечание 1 Под полным отключением понимают размыкание контактов у полюса с целью обеспечения эквивалента основной изоляции в соответствии с ГОСТ Р МЭК 61058-1 между сетью питания и теми частями, которые должны быть отключены. 2 Номинальное импульсное напряжение для категорий перенапряжения указано в таблице 15 настоящего стандарта. Соответствие требованию проверяют осмотром и измерениями. 24.4 Штепсельные вилки и розетки для цепей сверхнизкого напряжения и штепсельные вилки и розетки, используемые для присоединения нагревательных элементов, не должны быть взаимозаменяемыми со штепсельными вилками и розетками по ГОСТ 7396.1-89 или с соединителями и приборными вводами, соответствующими ГОСТ Р 51325.1-99. Соответствие требованию проверяют осмотром. 24.5 Конденсаторы во вспомогательных обмотках двигателей должны иметь маркировку номинального напряжения и номинальной емкости. Конденсаторы должны использоваться в соответствии с этой маркировкой. Конденсаторы в приборах, для которых применимы требования 30.2.3 и которые постоянно соединены последовательно с обмоткой двигателя, должны быть класса Р1 или Р2 в соответствии с ГОСТ МЭК 252-95. Соответствие требованию проверяют осмотром и соответствующими испытаниями. Кроме того, у конденсаторов, соединенных последовательно с обмоткой двигателя, проверяют, чтобы при подаче на прибор 1,1 номинального напряжения и при минимальной нагрузке напряжение на конденсаторе не превышало 1,1 номинального. 24.6 Рабочее напряжение двигателей, непосредственно подсоединенных к сети питания и имеющих основную изоляцию, адекватную номинальному напряжению прибора, не должно превышать 42 В. Дополнительно двигатели должны соответствовать требованиям приложения 1. Соответствие требованию проверяют измерениями и испытаниями по приложению 1. 25 Подсоединение к источнику питания и внешние гибкие шнуры25.1 Приборы, не предназначенные для постоянного соединения со стационарной проводкой, должны быть снабжены одним из следующих средств присоединения к сети питания: - шнуром питания, оснащенным вилкой; - приборным вводом, имеющим, по крайней мере, ту же степень защиты от влаги, что и прибор; - штырями, предназначенными для непосредственного введения в штепсельные розетки. Соответствие требованию проверяют осмотром. 25.2 Приборы, кроме стационарных приборов с многоканальным питанием, не должны иметь более одного средства присоединения к сети питания. Стационарные приборы с многоканальным питанием могут быть снабжены более чем одним средством присоединения при условии, что соответствующие цепи изолированы одна от другой надлежащим образом. Примечание 1 - Многоканальное питание необходимо, например, при различных дневных и ночных тарифах. Соответствие требованию проверяют осмотром и следующим испытанием. Напряжение 1250 В практически синусоидальной формы частотой 50 или 60 Гц прикладывают в течение 1 мин между каждым средством присоединения к сети, причем все выключатели в цепи должны находиться в самом неблагоприятном положении Примечание 2 - Это испытание может быть совмещено с испытанием по 16.3. Во время этого испытания не должно быть пробоя. 25.3 Приборы, предназначенные для постоянного присоединения к стационарной проводке, должны допускать присоединение проводов питания после крепления прибора к его опоре и должны быть снабжены: - комплектом зажимов, позволяющих присоединение кабелей к стационарной проводке номинальным сечением, указанным в 26.6; - комплектом зажимов, позволяющих присоединить гибкий шнур. Примечание 1 - В этом случае допускается присоединение шнура питания до закрепления прибора на подставке. Прибор может быть оснащен гибким шнуром; - комплектом шнуров питания, расположенных в соответствующем отсеке; - комплектом зажимов и вводами кабелей, вводами трубопроводов, заглушками или сальниками, позволяющими присоединение соответствующих типов кабелей или трубопроводов. Примечание 2 - Если закрепляемый прибор сконструирован с таким расчетом, чтобы определенные части прибора можно было временно снять для облегчения его установки, то должно удовлетворяться следующее требование; после закрепления части на опоре закрепляемая проводка должна подсоединяться без труда В этом случае съемные части должны иметь конструкцию, позволяющую легко осуществить повторную сборку, исключая возможность неправильной сборки или нанесения повреждения проводке или зажимам. Соответствие требованию проверяют осмотром и при необходимости осуществляют соответствующие соединения. 25.4 Для приборов, предназначенных для постоянного подсоединения к стационарной проводке, номинальным током не более 16 А входы кабеля трубопровода должны соответствовать кабелям или трубопроводам, имеющим максимальный наружный диаметр, указанный в таблице 10. Таблица 10 – Диаметр кабелей и трубопроводов
Вводы трубопроводов, кабелей и заглушки должны быть сконструированы или расположены так, чтобы введение трубопровода или кабеля не снижало воздушные зазоры или пути утечки ниже значений, указанных в разделе 29. Соответствие требованию проверяют осмотром и измерениями. 25.5 Способы крепления шнуров питания к прибору должны соответствовать одному из следующих типов: - крепление типа X; - крепление типа Y; - крепление типа Z, если допускается в соответствующем стандарте на конкретное изделие. Крепление типа X, кроме используемого для специально подготовленных шнуров, не должно применяться для плоских двойных мишурных шнуров. Соответствие требованию проверяют осмотром. 25.6 Штепсельные вилки не должны быть снабжены более чем одним гибким шнуром. Соответствие требованию проверяют осмотром. 25.7 Шнуры питания не должны быть легче чем: - шнур в оплетке (кодовое обозначение 60245 IEC 51 или тип ШРО по ГОСТ 7399-97, если он разрешен применению в соответствующем стандарте на конкретное изделие; - обычный прочный шнур в резиновой оболочке (кодовое обозначение 60245 IEC 53 или тип ПВС ГОСТ 7399-97; - плоский двойной мишурный шнур (кодовое обозначение 60227 IЕС 41 или тип ШОГ по ГОСТ 7399-97; -
легкий шнур в поливинилхлоридной оболочке (кодовое обозначение 60227 IEC 52 или тип ШВВП по ГОСТ 7399-97 для приборов массой не более -
обычный шнур в поливинилхлоридной оболочке (кодовое обозначение 60227 IEC 53 или тип ПВС по ГОСТ 7399-97 для приборов массой более Примечание - Меньшее число в обозначении указанных типов шнуров по ГОСТ Р МЭК 60227-5 и ГОСТ Р МЭК 60245-4 определяет более легкий тип (например, для шнуров ШРО 245; 51 и ПРС 245; 53 более легкий тип - ШР0 245;51. Шнуры в поливинилхлоридной оболочке не должны использоваться для приборов, имеющих внешние металлические части, превышение температуры которых во время испытания по разделу 11 более 75 °С. Их допускается использовать, когда: - прибор сконструирован так, что возможность прикасания шнура питания к таким металлическим частям в условиях нормальной эксплуатации маловероятна; - когда шнур питания устойчив к воздействию более высоких температур. В этом случае должно использоваться крепление типа Y или Z. Соответствие требованию проверяют осмотром и измерением. 25.8 Номинальная площадь поперечного сечения проводников шнуров питания не должна быть меньше значений, указанных в таблице 11. Таблица 11 - Минимальная площадь поперечного сечения проводников
(Поправка, ИУС 8-2008). Соответствие требованию проверяют измерением. 25.9 Шнуры питания не должны соприкасаться с острыми выступами или режущими кромками прибора. Соответствие требованию проверяют осмотром. 25.10 Для приборов класса I шнур питания должен иметь желто-зеленый проводник, который соединен с зажимом заземления прибора и с контактом заземления штепсельной вилки. Соответствие требованию проверяют осмотром. 25.11 Проволочки проводников шнуров питания не должны соединяться пайкой припоем, содержащим олово и свинец, в местах, где на них действует контактное давление, если зажимные устройства не сконструированы так, что не возникает опасность плохого контакта в результате хладотекучести припоя. Примечания 1 Требование может быть выполнено путем использования пружинных зажимов. Закрепление только зажимными винтами считается недостаточным. 2 Допускается пропайка концов многожильных проводников. Соответствие требованию проверяют осмотром. 25.12 Изоляция шнуров питания не должна повреждаться при опрессовке шнура к части корпуса. Соответствие требованию проверяют осмотром. 25.13 Вводные отверстия для шнуров питания должны быть снабжены такими входными втулками или должны быть сконструированы так, чтобы оболочка шнура питания могла быть введена без риска повреждения. Если вводное отверстие в кожухе изготовлено не из изоляционного материала, то должны быть предусмотрены несъемные прокладка или втулка, соответствующие требованиям 29.3, предъявляемым к дополнительной изоляции. Если шнур питания не имеет оболочки, необходимо использовать аналогичные дополнительные втулку или прокладку; это требование не применяют к приборам класса 0. Соответствие требованию проверяют осмотром. 25.14 Приборы, оснащенные шнуром питания, которые перемещают во время работы, должны быть сконструированы так, чтобы шнур питания был защищен соответствующим образом от чрезмерного изгиба в месте ввода его в прибор. Примечание 1 - Это требование не применяют к приборам с катушкой для автоматической намотки .шнура, которые испытывают по 22.16. Соответствие требованию проверяют следующим испытанием, которое проводят на устройствe, имеющем качающийся элемент, аналогичный изображенному на рисунке 8.
А - ось качания; В - качающаяся рама; С - противовес; D - образец; Е - регулируемая несущая плата; F - регулируемый кронштейн: G - груз Рисунок 8 - Качающийся элемент устройства испытания на изгиб Часть прибора, в которой имеется вход для шнура, крепят к качающемуся элементу таким образом, чтобы, когда шнур питания находится в середине пути его перемещения, ось шнура в том месте, где он входит в защитное устройство или во ввод прибора, была вертикальной и проходила через ось качания. Образцы с плоскими шнурами монтируют так, чтобы главные оси сечения шнура были параллельны оси качания. Шнур нагружают так, чтобы прикладываемое к нему усилие было равно: - 10 Н - для шнуров, номинальная площадь поперечного сечения которых превышает 0,75 мм2; - 5 Н - для других шнуров. Расстояние X, как указано на рисунке 8, между осью качания и точкой, в которой шнур или защитное устройство шнура входит в прибор, регулируют так, чтобы при полном ходе качающейся рамы боковое смещение шнура и груза было минимальным. Качающаяся рама перемещается через угол 90° (45° в каждую сторону от вертикали), так чтобы количество изгибов для крепления типа Z было равно 20000, для других способов крепления - 10000. Частота - 60 изгибов в минуту. Примечание 2 - Под изгибом понимают одно движение на 90°. После проведения половины общего количества изгибов образцы, кроме плоских шнуров, разворачивают на 90°. В течение испытания через проводники пропускают ток, равный номинальному току прибора при номинальном напряжении. Примечание 3 - Через проводник заземления, если он имеется, ток не пропускают. Испытание не должно приводить к: - короткому замыканию между проводниками; - разрыву более 10 % проволочек в любом проводнике; - отделению проводника от зажима; - ослаблению любой защиты шнура; - повреждениям шнура или защиты шнура, нарушающим соответствие настоящему стандарту; - прокалыванию изоляции сломанными проволочками проводников до такой степени, что они становятся доступными. Примечание 4 В понятие «проводник» входят заземляющие проводники. 5 Считается, что между проводниками возникло короткое замыкание, если значение тока в проводнике увеличивается до двукратного значения номинального тока прибора. 25.15 Приборы, снабженные шнуром питания, и приборы, постоянно подключенные к закрепленной проводке с помощью гибкого шнура, должны иметь крепление шнура. Крепление шнура должно разгружать проводники от натяжения, в том числе от скручивания, на зажимах и защищать изоляцию проводов от истирания. Не допускается возможность проталкивания шнура внутрь прибора до такой степени, что это может вызвать повреждение шнура или внутренних частей прибора. Соответствие требованию проверяют осмотром, испытанием вручную и следующим испытанием. На шнуре при приложении к нему силы натяжения, указанной в таблице 12, на расстоянии
примерно Затем шнур натягивают без рывков в течение 1 с в наиболее неблагоприятном направлении с установленным усилием. Испытание проводят 25 раз. После этого шнур, кроме шнура с автоматической намоткой, подвергают кручению, прикладываемому как можно ближе к прибору. Крутящий момент, значение которого установлено в таблице 12, прикладывают в течении 1 мин. Таблица 12 - Сила натяжения и крутящий
Во время испытания шнур не должен быть смещен и не должен создавать заметного напряжения на зажимах. Усилие вытягивания прикладывают повторно, при этом шнур не должен быть смещен в продольном направлении более чем на 25.16 Для крепления типа X крепление шнура должно быть сконструировано и расположено так, чтобы: - замена шнура была легко осуществима; - было ясно, как достигается разгрузка шнура от натяжения и предотвращения скручивания; - оно подходило для различных типов шнура питания, которые могут быть присоединены, если не используется специально подготовленный шнур; - шнур не мог прикоснуться к зажимным винтам узла крепления шнура, если эти винты доступны и если они не отделены от доступных металлических частей дополнительной изоляцией; - шнур не закреплялся металлическими винтами, которые опираются непосредственно на шнур; - по крайней мере одна часть крепления шнура была надежно закреплена на приборе, если она не является частью специально подготовленного шнура: - винты, которыми необходимо манипулировать при замене шнура, не служили для крепления других элементов. При этом указанное требование не применяется, когда: - прибор становится неработоспособным или явно не полностью укомплектованным после удаления винтов, или когда эти винты были забыты или элементы неправильно установлены; - части, которые надо подтягивать этими винтами, не могут быть сняты без применения инструмента во время замены шнура; - если лабиринт в закреплении шнура можно обойти, то требование 25.15 должно выполняться; - для приборов классов 0, 0I и I крепление шнура было выполнено из изоляционного материала или было снабжено изоляционной прокладкой, если в случае повреждения изоляции шнура доступные металлические части окажутся под напряжением; - для приборов класса II крепление шнура было выполнено из изоляционного материала, а если оно выполнено из металла! то изолировано от доступных металлических частей дополнительной изоляцией. Примечание 1 Если для крепления типа X узел крепления шнура содержит один или более зажимных элементов, давление к которым прикладывается посредством гаек, находящихся в зацеплении со шпильками, жестко прикрепленными к прибору, то считается, что крепление шнура имеет одну часть, которая надежно прикреплена к прибору, даже в том случае, если зажимные элементы могут быть сняты со шпилек. 2 Если давление к зажимным элементам прикладывается посредством одного или более винтов, находящихся в зацеплении либо с отдельными гайками, либо с резьбой в части, которая составляет единое целое с прибором, то считается, что такое крепление шнура не имеет одной части, которая надежно прикреплена к прибору. Это требование не применяется, когда один из зажимных элементов сам прикреплен к прибору или поверхность прибора выполнена из изоляционного материала и имеет такую форму, что очевидно, что эта поверхность является одним из зажимных элементов. 3 Примерь: допустимых и недопустимых конструкций узла крепления приведены на рисунке 9. а) Допустимые конструкции
Конструкции, показывающие, что шпильки жестко закреплены на приборе
Конструкция, показывающая, что часть прибора выполнена из изоляционного материала и имеет форму, являющуюся частью зажимного устройства шнура
Конструкция, показывающая, что один из крепежных элементов закреплен на приборе Примечание - Прижимные винты могут входить в резьбовые отверстия на приборе или в отверстия без резьбы, в этих случаях их крепят гайками. Рисунок 9 - Конструкции узла крепления шнура, лист 1
Конструкции, не имеющие части, жестко закрепленной на приборе Примечание - Прижимные винты могут входить в резьбовые отверстия на приборе или в отверстия без резьбы, в этих случаях их крепят гайками Рисунок 9, лист 2 Соответствие требованию проверяют осмотром и испытанием по 25.15 при следующих условиях. Испытания проводят вначале с наиболее легким из допустимых типов шнура с наименьшей площадью поперечного сечения, указанной в таблице 13, затем с ближайшим более тяжелым типом шнура с наибольшей установленной площадью поперечного сечения. Однако если прибор оснащен специально подготовленным шнуром, испытание проводят с этим шнуром. Провода вводят в зажимы, а винты затягивают настолько, чтобы провода не могли легко изменить свое положение. Зажимные винты узла крепления затягивают крутящим моментом, равным 2/3 момента, указанного в 28.1. Винты из изоляционного материала, которые опираются непосредственно на шнур, затягивают крутящим моментом, равным 2/3 момента, указанного в графе I таблицы 14, причем длина шлица в головке принимается равной номинальному диаметру винта. После испытания провода не должны смещаться в зажимах более чем на 25.17 Для креплений типов Y и Z закрепление шнура должно соответствовать типу крепления. Соответствие требованию проверяют испытанием по 25.15. Примечание - Испытание проводят со шнуром, поставляемым с прибором. 25.18 Узел крепления шнура должен быть огражден, так чтобы он был доступен только с применением инструмента, или он должен быть сконструирован, так чтобы шнур мог быть установлен только с применением инструмента. Соответствие требованию проверяют осмотром. 25.19 Для крепления типа X в переносных приборах сальники не должны использоваться для крепления шнура. Не допускаются такие технологические приемы, как завязывание шнура узлом и связывание концов бечевкой. Соответствие требованию проверяют осмотром. 25.20 Для креплений типов Y и Z изолированные проводники шнура питания должны быть дополнительно изолированы от доступных металлических частей основной изоляцией для приборов классов 0, 0I и I и дополнительной изоляцией - для приборов класса II. Эта изоляция может быть осуществлена с помощью оболочки шнура питания или другими способами. Соответствие требованию проверяют осмотром и соответствующими испытаниями. 25.21 Отсек для подсоединения шнуров питания, имеющих крепление типа X, или для подсоединения шнура к стационарной проводке должен быть сконструирован, так чтобы: - перед установкой любой крышки можно было проверить правильность подсоединения и расположения питающих проводов; - любые крышки можно было установить без риска повреждения проводов или их изоляции; - для переносных приборов неизолированный конец провода в случае выпадения его из зажима не мог касаться доступных металлических частей. Соответствие требованию проверяют осмотром после крепления кабелей или гибких шнуров, имеющих наибольшую площадь поперечного сечения, указанную в таблице 13. Переносные приборы подвергают следующему дополнительному испытанию, если они не
снабжены зажимами колонкового типа и шнур питания закреплен на расстоянии Примечание - Шнур питания может быть зажат путем использования узла крепления. Зажимные винты или гайки поочередно ослабляют. К проводу прикладывают усилие 2 Н в произвольном направлении вблизи зажима. Неизолированный конец провода не должен касаться доступных металлических частей. 25.22 Приборные вводы: - должны быть расположены или закрыты так, чтобы токоведущие части не были доступными при введении или удалении соединителя; - должны быть расположены так, чтобы соединитель мог быть введен без затруднений; - должны быть расположены так, чтобы после введения соединителя прибор не опирался на соединитель в любом положении, возможном при нормальной эксплуатации на плоской поверхности; - не должны быть в исполнении для холодного состояния, если превышение температуры внешних металлических частей во время испытания по разделу 11 превышает 75 °С, за исключением тех случаев, когда конструкция прибора такова, что возможность прикасания шнура питания к таким металлическим частям в условиях нормальной эксплуатации маловероятна. Соответствие требованию проверяют осмотром. Примечание - Приборные вводы, соответствующие требованиям ГОСТ Р 51325.1-99, исключают доступ к токоведущим частям при введении или удалении соединителя. 25.23 Промежуточные шнуры должны соответствовать требованиям, предъявляемым к шнуру питания, за исключением того, что: - площадь поперечного сечения проводников промежуточных шнуров определяют по максимальному току, проходящему через проводник при испытании по разделу 11, а не по номинальному току прибора; - толщина изоляции отдельных проводников может быть меньше требуемой, если напряжение в данном проводнике меньше номинального напряжения. Соответствие требованию проверяют осмотром, измерением, а при необходимости - испытаниями, например такими, как испытание электрической прочности изоляции по 16.3. 25.24 Промежуточные шнуры не должны сниматься без помощи инструмента, если нарушается соответствие настоящему стандарту, когда их разъединяют. Соответствие требованию проверяют осмотром и при необходимости соответствующими испытаниями. 25.25 Размеры штырей приборов, которые вставляют в штепсельные розетки, должны быть сопрягаемы с размерами соответствующей штепсельной розетки. Размеры штырей и сочленяющейся поверхности должны соответствовать размерам соответствующей вилки, приведенной в ГОСТ 7396.1-89. Соответствие требованию проверяют измерением. 26 Зажимы для внешних проводов26.1 Приборы должны иметь зажимы или такие же эффективные устройства для подсоединения внешних проводов. Зажимы должны быть доступны только после удаления несъемной крышки. Примечание 1 Винтовые зажимные устройства по ГОСТ Р 50043.2-92, безвинтовые зажимные устройства по ГОСТ Р 50043.3 и зажимные устройства по ГОСТ Р 51686.1-2000 считают эффективными устройствами. 2 Зажимы комплектующего изделия (например, выключателя) могут быть использованы как зажимы для внешних проводов при условии, что они удовлетворяют требованиям настоящего раздела. Соответствие требованию проверяют осмотром и испытанием вручную. 26.2 Приборы с креплением шнура типа X, за исключением тех приборов, которые имеют специально подготовленный шнур, и приборы для подсоединения к стационарной проводке должны иметь зажимы, в которых соединения осуществляют при помощи винтов, гаек или аналогичных устройств, если не используют для соединений пайку. Винты и гайки не должны использоваться для закрепления любого другого комплектующего изделия, за исключением того, что они могут использоваться для зажима внутренних проводов, если эти провода расположены таким образом, что при установке проводов питания смещение первых может быть маловероятным. Если используют соединения пайкой, провод должен быть расположен или закреплен так, что фиксация его в определенном положении зависит не только от одной пайки. Допускается использовать соединения только пайкой, если перегородки выполнены так, что при отсоединении провода в месте пайки воздушные зазоры и пути утечки между токоведущими частями и другими металлическими частями не могут стать меньше значений, установленных для дополнительной изоляции. Примечание - Закрепление провода «скобой» в отверстии зажима перед пайкой считается подходящим способом для поддержания провода (кроме мишурного шнура) в необходимом положении при условии, что отверстие, через которое проходит провод, не является чрезмерно большим. Соответствие требованию проверяют осмотром и измерением. 26.3 Зажимы для крепления типа X и зажимы для присоединения к стационарной проводке должны иметь конструкцию, позволяющую зажимать провод между металлическими поверхностями, обеспечивая достаточное контактное давление, но не повреждая провод. Зажимы должны быть закреплены так, чтобы во время затягивания или ослабления зажимного устройства: - зажим не ослабевал; - внутренняя проводка не подвергалась натяжению; - воздушные зазоры и пути утечки не уменьшались до значений менее указанных в разделе 29. Примечание 1 - Чтобы предотвратить ослабление зажимов, можно закрепить их двумя винтами либо одним винтом в углублении, так чтобы не было заметного смещения, или другими подходящими способами. Использование заливочной массы без других фиксирующих средств считается недостаточным. Однако для фиксации зажимов допускается использование самотвердеющих смол, если зажимы при нормальной эксплуатации не подвергаются кручению. Соответствие требованию проверяют осмотром и испытанием по 8.6 ГОСТ Р 51686.1-2000, при этом прикладываемый крутящий момент равен 2/3 установленного крутящего момента по указанному стандарту. Примечание 2 - Провода считают поврежденными, если на них имеются глубокие или острые вмятины и зазубрены. 26.4 Зажимы для крепления типа X, кроме креплений типа X, имеющих специально подготовленный шнур, и зажимы для соединения со стационарной проводкой не требуют подготовки провода. Они должны быть сконструированы или установлены так, чтобы провод не мог выскользнуть при затягивании зажимных винтов или гаек. Соответствие требованию проверяют осмотром зажимов и проводов после испытания по 26.3. Примечание - Пропайку проволок проводника, использование кабельных наконечников также рассматривают на соответствие требованиям, но разрешается изменение формы проводника перед введением его в зажим или скручивание многожильного проводника для укрепления его конца. 26.5 Зажимы для крепления типа X должны быть расположены или защищены так, что если при присоединении многожильного провода к зажиму одна из его проволок остается свободной, не должен возникнуть риск случайного контакта с другими частями, которые могут привести к опасности. Соответствие требованию проверяют осмотром и следующим испытанием. С конца гибкого провода, имеющего номинальную площадь поперечного сечения, указанную в таблице 11, удаляют изоляцию на длине Примечание - Указанному испытанию также подвергают заземляющие проводники. Не должно быть контакта между токоведущими частями и доступными металлическими частями, а для конструкций класса I - между токоведущими частями и металлическими частями, отделенными от доступных металлических частей только дополнительной изоляцией, 26.6 Зажимы для крепления типа X и зажимы для присоединения к стационарной проводке должны допускать присоединение проводников номинальной площадью поперечного сечения в соответствии с таблицей 13. Однако если используется специально подготовленный шнур, зажимы должны быть пригодны для подсоединения этого шнура. Таблица 13 – Номинальная площадь поперечного сечения проводника
Соответствие требованию проверяют осмотром, измерением и подсоединением кабелей или шнуров с наименьшей и наибольшей из указанных площадей поперечного сечения. 26.7 Зажимы для крепления типа X должны быть доступны после удаления крышки или части кожуха. Соответствие требованию проверяют осмотром. 26.8 Зажимы для подсоединения к стационарной проводке, включая зажимы заземления, должны быть расположены близко друг к другу. Соответствие требованию проверяют осмотром. 26.9 Зажимы колонкового типа должны быть сконструированы и расположены так, чтобы конец
провода, введенного в отверстие, был виден или мог проходить за пределы отверстия на расстояние, равное половине номинального диаметра винта, но не менее Соответствие требованию проверяют осмотром и измерением. 26.10 Зажимы с винтовыми креплениями и безвинтовые зажимы не допускается использовать для соединения проводников плоского двойного мишурного шнура, если концы проводников не оснащены устройством, подходящим для использования с винтовыми зажимами. Соответствие требованию проверяют осмотром и натяжением соединения с усилием 5 Н. После испытания соединение не должно иметь повреждений, нарушающих соответствие настоящему стандарту. 26.11 В приборах с креплением типа Y и типа Z для подсоединения внешних проводов могут использоваться соединения пайкой, сваркой, обжимкой и аналогичными способами. В приборах класса II провод должен быть расположен и закреплен так, чтобы фиксация его в определенном положении зависела не только от пайки, обжимки или сварки. Допускается использовать только эти способы в том случае, если перегородки выполнены так, что при отсоединении прибора в месте пайки или сварки или его выскальзывании из соединения обжимкой воздушные зазоры и пути утечки между токоведущими частями и другими металлическими частями не могут стать менее значений, установленных для дополнительной изоляции. Примечание 1 Закрепление провода «скобой» в отверстии зажима перед пайкой считается подходящим способом для поддержания провода (кроме мишурного шнура) в необходимом положении при условии, что отверстие, через которое проходит провод, не является чрезмерно большим. 2 Закрепление, предусмотренное около зажима и фиксирующее изоляцию и провод для гибких шнуров, считают подходящим дополнительным креплением. Соответствие требованию проверяют осмотром и измерением. 27 Заземление27.1 Доступные металлические части приборов классов 0I и I, которые могут оказаться под напряжением в случае повреждения изоляции, должны быть постоянно и надежно соединены с зажимом заземления внутри прибора или с контактом заземления приборного ввода. Зажимы заземления и контакты заземления не должны быть соединены с зажимом для нейтрального проводника. Приборы классов 0, II и III не должны иметь устройств для заземления. Цепи безопасного сверхнизкого напряжения не должны быть заземлены, пока они не являются цепями защитного сверхнизкого напряжения. Соответствие требованию проверяют осмотром. Примечание 1 Если доступные металлические части экранированы от токоведущих частей металлическими частями, которые соединены с зажимом заземления или с контактом заземления, то считается, что они не могут оказаться под напряжением в случае повреждения изоляции. 2 Металлические части, расположенные за декоративной крышкой, которая не выдерживает испытание по разделу 21, считаются доступными металлическими частями. 27.2 Зажимные устройства зажимов заземления должны быть в достаточной степени зафиксированы от случайного ослабления. Примечание 1 - Конструкция обычно используемых токонесущих зажимов, кроме некоторых зажимов колонкового типа, обеспечивает достаточную упругость для соответствия указанному требованию. Для других конструкций могут быть необходимы дополнительные меры, такие как использование достаточно упругих частей, которые не могут быть сняты случайно. Зажимы для присоединения внешних проводов, предназначенных для выравнивания потенциала, должны допускать присоединение проводов номинальной площадью поперечного сечения от 2,5 до 6,0 мм2 и не должны использоваться для обеспечения непрерывности заземления между различными частями прибора, Не должно быть возможности ослабления проводов без применения инструмента. Примечание 2 - Провод заземления шнура питания не считается проводом, предназначенным для выравнивания потенциала. Соответствие требованию проверяют осмотром и испытанием вручную. 27.3 Для приборов с шнурами питания расположение зажимов, а также длина проводов между креплением шнура и зажимами должны быть такими, чтобы при выскальзывании шнура из крепления шнура натяжение токонесущих проводов происходило раньше, чем натяжение провода заземления. Соответствие требованию проверяют осмотром и испытанием вручную. 27.4 Все части зажима заземления, предназначенные для подсоединения внешних проводов, должны быть такими, чтобы не возникала опасность коррозии из-за контакта между этими частями и медью провода заземления или любым другим металлом, находящимся в контакте с этими частями. Части, предназначенные для обеспечения непрерывности заземления, кроме частей металлической рамы или кожуха, должны быть изготовлены из металла, обладающего соответствующей стойкостью к коррозии. Если такие части изготовлены из стали, они должны иметь значительную площадь с гальваническим покрытием, имеющим толщину не менее 5 мкм. Примечание 1 Части из меди или медных сплавов, содержащих не менее 58 % меди для частей, работающих в холодных условиях, и не менее 50 % меди - для других частей, и части из нержавеющей стали, содержащей не менее 13 % хрома, считают обладающими соответствующей стойкостью к коррозии. 2 Соответствующие поверхности стальных частей должны быть определены, в частности, на наличие возможных дефектов при передаче тока. При определении таких поверхностей следует принимать во внимание отношение толщины покрытия к форме части. В сомнительных случаях толщину покрытия измеряют, как указано в ГОСТ 9.302-88. Части из плакированной или неплакированной стали, которые предназначены только для обеспечения или передачи контактного давления, должны обладать соответствующей стойкостью к коррозии. Примечание 3 Примеры частей, обеспечивающих непрерывность заземления, и частей, которые предназначены для обеспечения или передачи контактного давления, приведены на рисунке 10. 4 Части, подвергнутые такой обработке, как например хромирование, обычно не считают защищенными соответствующим образом от коррозии, однако их допускается использовать для обеспечения или передачи контактного давления. Если корпус зажима заземления является частью рамы или кожуха, выполненных из алюминия или алюминиевых сплавов, то должны быть приняты меры для избежания коррозии из-за контакта между медью и алюминием или его сплавами. Соответствие требованию проверяют осмотром и измерением.
1 - токонесущая часть; 2 - части, обеспечивающие или передающие контактное давление Рисунок 10 - Пример частей заземляющего зажима 27.5 Соединение между зажимом заземления или контактом заземления и заземленными металлическими частями должно иметь небольшое сопротивление. Если воздушные зазоры у основной изоляции в защитной цепи сверхнизкого напряжения установлены на основе номинального напряжения прибора, данное требование не распространяется на соединения, обеспечивающие непрерывность заземления в защитной цепи сверхнизкого напряжения. Соответствие требованию проверяют следующим испытанием. Ток, равный 1,5 номинального тока прибора или 25 А, в зависимости от того, что больше, получаемый от источника постоянного или переменного тока, напряжение холостого хода которого не превышает 12 В, пропускают поочередно между зажимом заземления или контактом заземления и каждой из доступных металлических частей. Измеряют падение напряжения между зажимом заземления прибора или контактом заземления приборного ввода и доступной металлической частью. Сопротивление, рассчитанное по значению падения напряжения и току, не должно превышать 0,1 Ом. Примечание 1 В случае возникновения сомнения испытание проводят до достижения установившегося состояния. 2 Сопротивление шнура питания не учитывают в измеренном сопротивлении. 3 Обращают внимание на обеспечение того, чтобы переходное сопротивление между концом щупа и испытуемой металлической частью не оказывало влияния на результат испытания. 27.6 Проводники в печатной плате не должны использоваться в качестве заземляющего проводника в ручных приборах. Они могут быть использованы в качестве заземляющего проводника в других приборах, если: - по крайней мере два проводника используются с независимыми припойными точками и прибор соответствует требованиям 27.5 для каждой схемы; - материал проводника в печатной плате выполнен в соответствии с ГОСТ 26246.4-89 или ГОСТ 26246.5-89. Соответствие требованию проверяют осмотром и соответствующими испытаниями. 28 Винты и соединения28.1 Крепежные соединения, повреждение которых может привести к нарушению соответствия настоящему стандарту, электрические соединения и соединения, применяемые в качестве заземляющего проводника, должны выдерживать механические нагрузки, которые возникают при нормальной эксплуатации. Винты, используемые для этих целей, не должны быть изготовлены из мягкого металла или
металла, склонного к текучести, такого как цинк или алюминий. Если такие винты изготовлены из
изоляционного материала, они должны иметь номинальный диаметр не менее Винты, используемые для электрических соединений или соединений, применяемых в качестве заземляющего проводника, должны ввинчиваться в металл. Винты не должны быть изготовлены из изоляционного материала, если их замена металлическими винтами может повредить дополнительную или усиленную изоляцию. Винты, которые могут быть удалены при замене шнура питания, соединенного креплением типа X, или при проведении обслуживания пользователем, не должны быть изготовлены из изоляционного материала, если их замена металлическими винтами может повредить основную изоляцию. Соответствие требованию проверяют осмотром и следующим испытанием. Винты и гайки испытывают, если они: - используются в электрических соединениях; - используются для соединений, применяемых в качестве заземляющего проводника (кроме случая, когда использованы по крайней мере два винта или две гайки); - достаточно затянуты: - при обслуживании пользователем, - когда заменяемый шнур питания имеет крепление типа X, - при установке. (Поправка. ИУС 2-2006) Винты и гайки завинчивают и отвинчивают без рывков: 10 раз - для винтов, завинчиваемых в резьбу в изоляционном материале; 5 раз - для гаек и других винтов. Винты, завинчиваемые в резьбу в изоляционном материале, каждый раз полностью вывинчивают и завинчивают вновь. При испытании гаек и винтов для зажимов в зажим вводят кабель или гибкий шнур с наибольшей площадью поперечного сечения, указанного в таблице 13. Перед каждым затягиванием изменяют его положение в зажиме. Испытание проводят с помощью соответствующей отвертки, гаечного ключа с приложением крутящего момента, указанного в таблице 14. Таблица 14 - Крутящий момент для испытания винтов и гаек
Графу I применяют для металлических винтов без головки, если винты не выступают из отверстия после завинчивания. Графу II применяют для: - других металлических винтов и гаек; - для винтов в изоляционном материале: - с шестигранной головкой, расстояние между противоположными гранями которой превышает наружный диаметр резьбы, - с цилиндрической головкой и гнездом под ключ, расстояние между противоположными вершинами которого превышает наружный диаметр резьбы, - с головкой, имеющей прямой или крестообразный шлиц, длина которого в 1,5 раза превышает наружный диаметр резьбы. Графу III применяют для других винтов в изоляционном материале. Во время испытания не должно быть повреждений, препятствующих дальнейшему использованию крепления или соединения. 28.2 Электрические соединения и соединения, применяемые в качестве заземляющего проводника, должны быть сконструированы так, чтобы контактное давление не передавалось через изоляционный материал, который имеет тенденцию к усадке и деформации, кроме тех случаев, когда металлические части обладают достаточной упругостью, чтобы скомпенсировать возможную усадку или деформацию изоляционного материала. Примечание - Керамический материал не имеет тенденции к усадке или деформации. Настоящее требование не применяют к электрическим соединениям в цепях, где ток не превышает 0,5 А. Соответствие требованию проверяют осмотром. 28.3 Винты с крупной резьбой (листовой металл) должны использоваться для электрических соединений, если они прижимают части плотно друг к другу. Самонарезающие винты должны использоваться для электрических соединений, если они образуют полную резьбу стандартного крепежного винта. Такие винты (кроме винтов, резьба которых образуется высадкой в штампе) не допускаются к использованию, если предполагается, что пользователь или сборщик будет ими манипулировать. Самонарезающие винты и винты с крупной резьбой могут быть использованы для соединений, обеспечивающих непрерывность заземления, при условии, что нет необходимости нарушать данное соединение при нормальной эксплуатации и что для каждого соединения использовано не менее двух винтов. Соответствие требованию проверяют осмотром. 28.4 Винты и гайки, предназначенные для механического соединения различных частей прибора, должны быть фиксированы против ослабления, если это соединение является одновременно электрическим или соединением, обеспечивающим непрерывность заземления. Примечание 1 Это требование не относится к винтам в цепи заземления, если для соединения использовано не менее двух винтов и если имеется дополнительная цепь заземления. 2 Пружинные шайбы, блокирующие шайбы или блокировка «корончатого» типа, являющаяся частью головки винта, могут дать достаточную гарантию. 3 Заливочные массы, которые размягчаются при нагревании, обеспечивают удовлетворительную фиксацию только для тех винтовых соединений, которые не подвергаются крутящему моменту при нормальной эксплуатации. Заклепки, которые используют для электрических соединений, применяемых в качестве заземляющего проводника, должны быть фиксированы против ослабления, если эти соединения подвергаются воздействию крутящего момента при нормальной эксплуатации. Примечание 4 Это требование не означает, что требуется более одной заклепки для обеспечения непрерывности заземления. 5 Некруглая форма стержня или соответствующий паз могут оказаться достаточными. Соответствие требованию проверяют осмотром и испытанием вручную. 29 Воздушные зазоры, пути утечки и непрерывная изоляцияПриборы должны иметь такую конструкцию, при которой воздушные зазоры, пути утечки и непрерывная изоляция выдерживают механические напряжения в диэлектрике, находящемся под действием электрических напряжений, которым может подвергаться прибор. Соответствие проверяют, используя требования и испытания по 29.1-29.3. Если на печатных платах используются покрытия с целью защиты окружающей микросреды и основной изоляции, применяют приложение J. Примечание 1 Требования и испытания основаны на МЭК 60664-1, для которых может быть установлена дополнительная информация. 2 Оценку воздушных зазоров, путей утечки и непрерывной изоляции проводят раздельно. 29.1 Воздушные зазоры в зависимости от номинального импульсного напряжения должны быть не менее значений, указанных в таблице 16 для категорий перенапряжения, приведенных в таблице 15. Однако эти значения могут быть меньше для основной и функциональной изоляции, если воздушный зазор удовлетворяет требованиям испытания импульсным напряжением, приведенным в разделе 14. Данное испытание применимо только в том случае, если конструкция исключает вероятность того, что на расстояния влияют деформация, износ, смещение частей или процесс сборки. Примечание 1 - Примерами конструкций, для которых может быть применено испытание, являются конструкции, имеющие неподвижно закрепленные части или части, расположенные в отлитых формах. Примерами конструкций, в которых расстояния могут испытывать указанные негативные воздействия, являются выводы, подкрепленные пайкой, защелкивающиеся и винтовые зажимы и воздушные зазоры от обмоток двигателя. Приборы относятся к категории перенапряжения II. Примечание 1 Если цепь специально защищена каким-нибудь устройством, например устройством для подавления волн, отвечающим требованиям ГОСТ Р 51992-2002, прибор может быть отнесен к категории перенапряжения I. 2 В приложении К приведены данные о категориях перенапряжения. Таблица 15 - Номинальное импульсное напряжения
Воздушные зазоры менее указанных в таблице 16 не разрешается использовать для основной изоляции приборов классов 0 и 0I или при степени загрязнения 3. Примечание 2 - Информация о степени загрязнения приведена в приложении М. Таблица 16 - Минимальные воздушные зазоры
Соответствие требованию проверяют осмотром и измерением. Части, такие как шестигранные гайки, которые могут быть затянуты во время сборки до разной степени, и подвижные части помещают в наиболее неблагоприятное положение. Усилие прикладывают к оголенным проводам, кроме нагревательных элементов, и доступным поверхностям, с тем чтобы попытаться уменьшить воздушные зазоры во время измерений. Значения этого усилия должны составлять: - 2 Н - для оголенных проводников; - 30 Н - для доступных поверхностей. Усилие прикладывают с помощью испытательного щупа В по ГОСТ Р МЭК 61032-2000, Предполагают, что отверстия закрыты плоской металлической мембраной. Примечания 4 Направление, в котором измеряют воздушные зазоры, установлено в МЭК 60664-1. 5 Процедура оценки воздушных зазоров дана в приложении L настоящего стандарта. 29.1.1 Воздушные зазоры для основной изоляции должны быть достаточными для того, чтобы выдерживать перенапряжения, которые могут возникать в процессе эксплуатации, с учетом номинального импульсного напряжения. Значения, приведенные в таблице 16, являются применимыми. Примечание - Перенапряжения могут возникать под действием внешних источников и в результате коммутации. Воздушный зазор на зажимах защищенных трубчатых нагревательных элементов может быть
уменьшен до Предполагают, что покрытые лаком провода обмоток являются оголенными проводами, однако
воздушные зазоры, указанные в таблице 16, уменьшают на Соответствие требованию проверяют измерением. 29.1.2 Воздушные зазоры для дополнительной изоляции должны быть не менее воздушных зазоров для основной изоляции, установленных в таблице 16. Соответствие требованию проверяют измерением. 29.1.3 Воздушные зазоры для усиленной изоляции должны быть не менее воздушных зазоров для основной изоляции, установленных в таблице 16, но при использовании следующей более высокой ступени для номинального импульсного напряжения, как указано ниже. Примечание - Для двойной изоляции, где нет промежуточных соединительных частей между основной и дополнительной изоляцией, воздушные зазоры измеряют между токоведущими частями и доступной поверхностью, а изоляционную систему рассматривают как усиленную изоляцию в соответствии с рисунком 11. Соответствие требованию проверяют измерением. 29.1.4 Воздушные зазоры для функциональной изоляции должны быть не менее значений, указанных в таблице 16. Однако воздушные зазоры не указывают, если прибор удовлетворяет требованиям раздела 19 при короткозамкнутой функциональной изоляции. Воздушные зазоры в точках пересечения покрытых лаком проводов не измеряют. Воздушный зазор между поверхностями нагревательных элементов с положительным температурным коэффициентом может быть уменьшен до Предполагают, что покрытые лаком провода обмоток являются оголенными проводами, однако
воздушные зазоры, указанные в таблице 16, уменьшают на Соответствие требованию проверяют измерением и при необходимости испытанием. 29.1.5 Для приборов, у которых рабочее напряжение превышает номинальное напряжение например, вторичная обмотка повышающего трансформатора или наличие резонансного напряжения), напряжение, используемое для определения воздушных зазоров, указанных в таблице 16, должно представлять сумму номинального импульсного напряжения и разницы между пиковым значением рабочего напряжения и пиковым значением номинального напряжения. Примечание 1 Воздушные зазоры для промежуточных значений, указанных в таблице 16, могут быть определены путем интерполяции. 2
Если напряжение для определения воздушного зазора превышает 10000 В, допускается применять значения воздушных зазоров для случая А, указанные в таблице 2 МЭК 60664-1. При этом их увеличивают на Если вторичная обмотка понижающего трансформатора заземлена или если между первичной и вторичной обмотками расположен заземленный экран, воздушные зазоры для основной изоляции со стороны вторичной обмотки должны быть не менее указанных в таблице 16, при этом используют предыдущее меньшее значение номинального импульсного напряжения в качестве рекомендуемого. Примечание 3 - Использование разделительного трансформатора без заземленного защитного экрана или без заземленной вторичной обмотки исключает снижение номинального импульсного напряжения.
1 - доступная незаземленная металлическая часть; 2 - кожух; 3 - доступная заземленная металлическая часть; 4 - недоступная незаземленная металлическая часть Токоведущие части L1 и L2 отделены друг от друга и частично находятся в пластмассовом кожухе с отверстиями, частично окружены воздухом и контактируют с твердым изоляционным материалом. Внутри конструкции находится недоступная металлическая деталь. Имеются две металлические крышки (части), одна из которых заземлена.
Примечание - Если воздушные зазоры L1D или L2F отвечают требованиям, предъявляемым к воздушным зазорам для усиленной изоляции, воздушные зазоры DE или FG для дополнительной изоляции не измеряют. Рисунок 11 - Примеры воздушных зазоров Для цепей, напряжение в которых ниже номинального напряжения, например вторичная обмотка трансформатора, воздушные зазоры для функциональной изоляции устанавливают на основе рабочего напряжения, которое в таблице 15 указано как номинальное напряжение, Соответствие требованию проверяют измерением. 29.2 Приборы должны быть сконструированы так, чтобы значения путей утечки были не менее значений, соответствующих рабочему напряжению с учетом группы материала и степени загрязнения. Примечание 1 - Рабочее напряжение частей, соединенных с нейтральным проводом, то же, что и частей, соединенных с фазой. Используется степень загрязнения 2, если: - не были приняты меры по защите изоляции, когда применяют степень загрязнения 1; - изоляция не подвергается загрязнению, приводящему к возникновению проводимости, когда применяют степень загрязнения 3. Примечание 2 - Информация о степени загрязнения приведена в приложении М. Соответствие требованию проверяют измерением. Примечание 3 - Направление, в котором измеряют пути утечки, установлено МЭК 60664-1. Части, такие как шестигранные гайки, которые могут быть затянуты во время сборки до разной степени, и подвижные части помещают в наиболее неблагоприятное положение. Усилие прикладывают к оголенным проводникам, кроме нагревательных элементов, и к доступным поверхностям, с тем чтобы попытаться уменьшить пути утечки во время измерений. Значения этого усилия должны составлять: - 2 Н - для оголенных проводников; - 30 Н - для доступных поверхностей. Усилие прикладывают с помощью испытательного щупа В по ГОСТ Р МЭК 61032-2000. Соотношение между группой материала и значениями сравнительного индекса трекингостойкости (СИТ), приведенными в 2.7.1.3 МЭК 60664-1, следующее: - группа материала I: - СИТ ≥ 600; группа материала II: - 400 ≤ СИТ < 600; группа материала IIIa: - 175 ≤ СИТ < 400; группа материала IIIb: - 100 ≤ СИТ < 175. Эти значения СИТ получены в соответствии с ГОСТ 27473-87 с использованием раствора А. Если значение СИТ материала неизвестно, то для установления группы материала проводят проверку на контрольный индекс трекингостойкости (КИТ) в соответствии с приложением N при установленных значениях СИТ. (Поправка, ИУС 8-2008). Примечание 4 Проверка СИТ в соответствии с ГОСТ 27473-87 предназначена для сравнения характеристик разных изоляционных материалов в условиях испытания, когда капли загрязняющего вещества в водном растворе падают на горизонтальную поверхность, создавая электролитическую проводимость. Эта проверка позволяет осуществить количественное сравнение, однако в случае изоляционных материалов, которые имеют тенденцию к образованию токоведущих мостиков, она также позволяет осуществить количественное сравнение, а именно - проверку СИТ. 5 Методика оценки путей утечки приведена в приложении L настоящего стандарта. 29.2.1 Пути утечки по основной изоляции должны быть не менее указанных в таблице 17. За исключением степени загрязнения 1, если испытание по разделу 14 проведено для проверки - конкретного воздушного зазора, путь утечки должен быть не менее минимального значения, установленного в таблице 17 для воздушного зазора по таблице 16. Таблица 17 - Минимальные пути утечки по основной изоляции
Окончание таблицы 17
Соответствие требованию проверяют измерением. 29.2.2 Пути утечки по дополнительной изоляции должны быть не менее установленных в таблице 17 для основной изоляции. Примечание - Примечания 1 и 2 таблицы 17 не применяют. Соответствие требованию проверяют измерением. 29.2.3 Пути утечки по усиленной изоляции должны быть не менее установленных в таблице 17 для основной изоляции. Примечание - Примечания 1 и 2 таблицы 17 не применяют. Соответствие требованию проверяют измерением. 29.2.4 Пути утечки по функциональной изоляции должны быть не менее приведенных в таблице 18. Однако пути утечки могут быть уменьшены, если прибор соответствует требованиям раздела 19 при закороченной функциональной изоляции. Соответствие требованию проверяют измерением. 29.3 Непрерывная изоляция должна иметь минимальную толщину более Примечание 1 - Это требование не означает, что указанное расстояние через непрерывную изоляцию должно быть образовано толщиной только твердого материала. Изоляция может состоять из твердого материала и одного или нескольких воздушных промежутков. Таблица 18 – Минимальные пути утечки по функциональной изоляции
Это требование не распространяется; - на дополнительную изоляцию, если изоляция состоит не менее чем из двух слоев и при условии, что каждый из слоев выдерживает испытание на электрическую прочность по 16.3; - на усиленную изоляцию, если изоляция состоит не менее чем из трех слоев и при условии, что любые два слоя вместе выдерживают испытание на электрическую прочность по 16.3. В указанных случаях слои не должны состоять из слюды или аналогичного слоистого материала. Примечание 2 - Слои могут быть соединены вместе при условии, что их можно испытывать отдельно прежде чем они будут соединены. Это требование также не распространяется на недоступную изоляцию, если: - максимальное превышение температуры при испытаниях по разделу 19 не более значений, указанных в 11.8, или - изоляция после выдержки в течение 168 ч в печи при температуре на 50 °С выше максимального превышения температуры, измеренного при испытании по разделу 19, выдерживает испытание на электрическую прочность изоляции по 16.3. Для штепсельных соединителей испытание проводят при температуре на 50 ºС выше максимального превышения температуры, измеренного при испытании по разделу 11 или разделу 19. Испытание на электрическую прочность проводят как при температуре, поддерживаемой в печи, так и после охлаждения до комнатной температуры. Соответствие требованию проверяют осмотром и испытаниями. 30 Теплостойкость и огнестойкость30.1 Наружные части из неметаллических материалов, части из изоляционных материалов, поддерживающие токоведущие части, включая соединения, и части из термоэлектрических материалов, используемых как дополнительная или усиленная изоляция, повреждение которых может привести к несоответствию прибора требованиям настоящего стандарта, должны быть достаточно теплостойкими. Настоящие требования не применяют к изоляции или обшивке гибких шнуров, а также к внутренней проводке. Соответствие требованию проверяют, подвергая соответствующие части испытанию давлением шарика по МЭК 60695-10-2. Испытания проводят при температуре (40 ± 2) °С плюс максимальное значение превышения температуры, достигнутое при испытании по разделу 11, но не менее чем: (75 ± 2) °С - для наружных частей; (125 ± 2) °С - для частей, поддерживающих токоведущие части. Однако для частей из термопластичных материалов, используемых в качестве дополнительной или усиленной изоляции, испытания проводят при температуре (25 ± 2) °С плюс максимальное значение превышения температуры, достигнутое при испытании по разделу 19, если в этом случае получаются большие значения по сравнению с указанными выше. Превышения температуры, достигнутые при испытании по 19.4, во внимание не принимают, если испытание было прервано срабатыванием защитного устройства без самовозврата и возникла необходимость снять крышку или использовать инструмент для его повторного включения. Примечание 1 Для сердечников обмоток испытанию подвергают только те части, которые служат подставкой или которые поддерживают в определенном положении зажимы. 2 Части из керамических материалов испытанию не подвергают. 3 Выбор и последовательность испытаний на теплостойкость приведены в приложении О на рисунке 0.1. 30.2 Части из неметаллических материалов должны обладать достаточной сопротивляемостью к воспламенению и распространению огня. Это требование не применимо к декоративным украшениям, кнопкам и другим частям, воспламенение которых маловероятно или по которым не может быть распространено пламя, возникшее внутри прибора. Соответствие требованию проверяют испытанием по 30.2.1. Кроме того: - для обслуживаемых приборов применяют требования 30.2.2; - для необслуживаемых приборов применяют требования 30.2.3. Для основных материалов печатных плат соответствие требованию проверяют испытанием по 30.2.4. Испытаниям подвергают части из неметаллических материалов, снятые с прибора. При проведении испытания раскаленной проволокой они должны быть расположены в той же ориентации, как при нормальной эксплуатации. Эти испытания не проводят для изоляции проводов. Примечание - Выбор и порядок проведения испытаний на огнестойкость приведен в приложении О на рисунке О.2. 30.2.1 Части из неметаллических материалов подвергают испытанию раскаленной проволокой по МЭК 60695-2-11, которое проводят при 550 °С. Испытанию раскаленной проволокой не подвергают части из материала, который по МЭК 60695-11-10 классифицирован по крайней мере как НВ40, при условии, что испытываемые образцы должны быть не толще, чем соответствующая часть. Части, которые не могут подвергаться испытанию раскаленной проволокой, например изготовленные из мягкого или пористого материала, должны соответствовать требованиям для материала категории FH3, то есть скорость распространения пламени не должна превышать 40 мм/мин*, при этом испытываемый образец должен быть не толще, чем соответствующая часть. * Текст, подчеркнутый сплошной горизонтальной линией, введен взамен ссылки на ИСО 9779:1994. 30.2.2 В приборах, предназначенных для работы под надзором, части из изоляционного материала, поддерживающие токонесущие соединения, и части из изоляционного материала, находящиеся на расстояние 750 °С - для соединений, по которым в условиях нормальной работы проходит ток более 0,5 А; 650 °С - для других соединений. (Поправка, ИУС 8-2008). Примечание 1 Контакты в комплектующих, например контакты выключателей, считают соединениями. 2 Конец раскаленной проволоки должен прикладываться к части вблизи соединения. Данному испытанию не подвергают: - части, поддерживающие сварные соединения; - части, поддерживающие соединения в маломощных цепях, описанных в 19.11.1; - паяные соединения на печатных платах; - соединения в малогабаритных комплектующих изделиях на печатных платах; - части, находящиеся на расстоянии - ручные приборы; - приборы, которые удерживают во включенном состоянии рукой или ногой; - приборы, которые непрерывно нагружают рукой. Примечание 3 - Примерами малогабаритных комплектующих изделий являются диоды, транзисторы, резисторы, катушки индуктивности, интегральные схемы и конденсаторы, не присоединенные непосредственно к сети питания. 30.2.3 Приборы, которые работают без надзора, испытывают, как указано в 30.2.3.1 и 30.2.3.2, Однако испытаниям не подвергают: - части, поддерживающие сварные соединения; - части, поддерживающие соединения в маломощных цепях, описанных в 19.11.1; - паяные соединения на печатных платах: - соединения в малогабаритных комплектующих изделиях на печатных платах; - части, находящиеся на расстоянии не более Примечание - Примерами малогабаритных комплектующих изделий являются диоды, транзисторы, резисторы, индукторы, интегральные схемы и конденсаторы, не присоединенные непосредственно к сети питания. 30.2.3.1 Части из изоляционного материала, поддерживающие соединения, которые в условиях нормальной работы проводят ток более 0,2 А, и части из изоляционного материала, расположенные на расстоянии не более 30.2.3.2 Части из изоляционного материала, поддерживающие соединения, проводящие ток, и части из изоляционного материала, находящиеся на расстоянии не более 775 °С - для соединений, по которым в условиях нормальной работы проходит ток более 0,2 А, 675 °С - для других соединений - при условии, что испытываемый образец не толще, чем соответствующая часть. При проведении испытания раскаленной проволокой по МЭК 60695-2-11 температура должна быть равна: 750 °С - для соединений, по которым в условиях нормальной работы проходит ток более 0,2 А; 650 °С - для других соединений. Примечание 1 Контакты в комплектующих изделиях, например контакты выключателей, считают соединениями. 2 Конец раскаленной проволоки прикладывают к части вблизи соединения. Части, которые выдерживают испытание раскаленной проволокой по МЭК 60695-2-11, но у которых в процессе приложения раскаленной проволоки возникает пламя, сохраняющееся в течение более 2 с, дополнительно испытывают следующим образом. Части, расположенные над соединением внутри вертикального цилиндра, имеющего диаметр Испытание игольчатым пламенем не проводят на частях из материала, который классифицирован как V-0 или V-1 по МЭК 60695-11-10 при условии, что испытываемый образец должен быть не толще, чем соответствующая часть. 30.2.4 Основной материал печатных плат подвергают испытанию игольчатым пламенем по приложению Е. Пламя прикладывают к краю платы, где эффект теплоотвода минимальный, при этом плата расположена, как при нормальной эксплуатации. Примечание - Испытание допускается проводить на печатной плате, на которую установлены комплектующие изделия. Однако воспламенением комплектующего изделия пренебрегают. Испытание не проводят: - на печатных платах маломощных цепей, описанных в 19.11.1; - на платах печатного монтажа в: - металлическом кожухе, который ограничивает пламя или горящие капли, - ручных приборах, - приборах, которые должны удерживаться во включенном состоянии рукой или ногой, - приборах, которые непрерывно нагружают рукой; - если материал классифицирован как V-0 по МЭК 60695-11-10 при условии, что испытываемый образец должен быть не толще печатной платы. 31 Стойкость к коррозииЧасти из черных металлов, коррозия которых может привести к несоответствию приборов настоящему стандарту, должны иметь достаточную защиту от коррозии. Примечание - Методику испытаний при необходимости приводят в стандарте на конкретное изделие. 32 Радиация, токсичность и подобные опасностиПриборы не должны испускать вредные излучения, быть источником токсичности или других подобных видов опасности. Примечание - Методику испытаний при необходимости приводят в стандарте на конкретное изделие. Приложение А (справочное)
| ||||||||||||||||||||||||||||||||||||||||||||||||||||||||||||||||||||||||||||||||||||||||||||||||||||||||||||||||||||||||||||||||||||||||||||||||||||||||||||||||||||||||||||||||||||||||||||||||||||||||||||||||||||||||||||||||||||||||||||||||||||||||||||||||||||||||||||||||||||||||||||||||||||||||||||||||||||||||||||||||||||||||||||||||||||||||||||||||||||||||||||||||||||||||||||||||||||||||||||||||||||||||||||||||||||||||||||||||||||||||||||||||||||||||||||||||||||||||||||||||||||||||||||||||||||||||||||||||||||||||||||||||||||||||||||||||||||||||||||||||||||||||||||||||||||||||||||||||||||||||||||||||||||||||||||||||||||||||||||||||||||||||||||||||||||||||||||||||||||||||||||||||||||||||||||||||||||||||||||||||||||||||||||||||||||||||||||||||||||||||||||||||||||||||||||||||||||||||||||||||||||||||||||||||||||||||||||||||||||||||||||||||||||||||||||||||||||||||||||||||||||||||||||||||||||||||||||||||||||||||||||||||||||||||||||||||||||||||||||||||||||||||||||||||||||||||||||||||||||||
|
Точки приложения испытательного напряжения |
Испытательное напряжение, В, для |
||
|
приборов классов 0, 0I,I и II |
приборов класса III |
||
|
Номинальное напряжение |
|||
|
≤ 150 В |
> 150 В |
||
|
Между токоведущими и доступными металлическими частями, отделенными от токоведущих частей: |
|
|
|
|
- только основной изоляцией |
800 |
1000 |
400 |
|
- двойной или усиленной изоляцией a),b) |
2000 |
2000 |
- |
|
a) Данное испытание не применяют для приборов класса 0. b) Для приборов классов 0I и I нет необходимости подвергать этому испытанию части конструкции класса II, если это испытание считают неподходящим. |
|||
Примечание 1 - Может возникнуть необходимость, чтобы прибор во время испытания работал для обеспечения подачи испытательного напряжения на всю соответствующую изоляцию, например нагревательные элементы, контролируемые реле.
Не должно возникать никакого пробоя. Предполагается, что пробой имеет место, когда ток в испытательной цепи превышает 5 мА. Однако данный предел может быть увеличен до 30 мА для приборов с большим током утечки.
Примечание
2 Цепь, используемая для данного испытания, включает реле тока, который отключает цепь, когда ток превышает предельное значение.
3 Высоковольтный трансформатор должен быть способен поддерживать установленное напряжение при ограничивающем токе.
4 Вместо напряжения переменного тока изоляция может быть подвергнута воздействию напряжения постоянного тока, которое в 1,5 раза превышает значение, приведенное в таблице А.1. Напряжение переменного тока частотой до 5 Гц считают напряжением постоянного тока.
А.3 Испытание на функционирование
Правильное функционирование прибора проверяют осмотром или с помощью соответствующего испытания, если неправильное соединение или регулирование комплектующих устройств влияет на безопасность.
Примечание - Примерами являются проверка правильного направления вращения двигателя и соответствующее функционирование выключателей блокировки. Это не требует проверки терморегуляторов или защитных устройств.
Следующие изменения к пунктам Настоящего стандарта применяют для приборов, питающихся от батареи, которые заряжают в приборе.
Примечание - Настоящее приложение не применяют к зарядным устройствам батарей по ГОСТ Р МЭК 60335-2-29.
3 Термины и определения
3.1.9 нормальная работа: Работа прибора при следующих условиях:
- прибор снабжен полным зарядным устройством батарей, работающих, как описано в стандартах на конкретные изделия;
- прибор заряжен, батарею в исходном положении разряжают до такой степени, чтобы прибор не мог работать;
- если возможно, то прибор поставляют с полным запасом зарядных устройств батарей; батарею в исходном положении разряжают до такой степени, чтобы прибор не мог работать. Прибор работает, как установлено в стандартах на конкретное изделие;
- если в приборе имеется индуктивная связь между двумя частями, которые могут быть отделены друг от друга, то прибор питают от электросети с удаленной съемной частью.
3.6.2 Примечание - Если какую-либо часть необходимо снять с целью удаления батареи перед чисткой прибора, эту часть не считают съемной, даже если в инструкциях указано, что она должна быть удалена.
5 Общие условия испытаний
5.101 Когда приборы питаются от электросети, их испытывают, как установлено для электромеханических приборов.
7 Маркировка и инструкции
7.1 Отделение для размещения батарей прибора, содержащее батареи, которые предназначены для установления пользователем, должно быть маркировано напряжением батареи и полярностью контактов.
Примечание
1 Если для маркирования используют цвета, то положительный контакт должен быть окрашен в красный цвет, и отрицательный контакт - в черный.
2 Цвет не используют только для обозначения полярности.
7.12 Инструкции должны содержать информацию, касающуюся зарядки батарей.
Инструкции для приборов, содержащих батареи, которые предназначены для установления пользователем, должны включать в себя следующее:
- рекомендуемый тип батареи;
- ориентирование батареи относительно полярности;
- метод замены батарей;
- подробности относительно безопасности расположения используемых батарей;
- предупреждение о повторном использовании неперезаряжаемых батарей;
- как поступать с батареями, имеющими течь электролита.
Инструкции для приборов, содержащих батарею, в которой имеются материалы, представляющие опасность для окружающей среды, должны содержать подробности по удалению батареи и устанавливать, что:
- батарея должна быть удалена из прибора перед его чисткой;
- батарея должна быть безопасно расположена;
- прибор должен быть отключен из сети при удалении батареи.
7.15 Маркировки, отличные от относящихся к батареям, должны быть указаны на части прибора, которую подсоединяют к сети питания.
8 Защита от доступа к токоведущим частям
8.2 Приборы, оснащенные батареями, которые должны быть заменены пользователем в соответствии с инструкцией, должны иметь только основную изоляцию между токоведущими частями и внутренней поверхностью отделения для размещения батареи. Если прибор может работать без батарей, то требуется двойная или усиленная изоляция.
11 Нагрев
11.7 Батарею заряжают на период времени, указанный в инструкциях, или на 24 ч, в зависимости от того, какой период времени длиннее.
19 Ненормальная работа
19.1 Приборы испытывают также в соответствии с 19.101, 19.102 и 19.103. 19.10 Не применяют.
19.101 Приборы работают при номинальном напряжении в течение 168 ч, батареи непрерывно заряжаются в течение этого периода времени.
19.102 Для приборов, которые имеют батареи: вынимаемые без помощи инструмента, и клеммы которых могут быть замкнуты тонкой прямой полоской металла, клеммы батареи накоротко замыкают, при этом батарея должна быть полностью заряжена.
19.103 Приборы, оснащенные батареями, заменяемыми пользователем, работают при номинальном напряжении в условиях нормальной работы, но с удаленной батареей либо с батареей, установленной в любое положение, допускаемое конструкцией.
21 Механическая прочность
21.101 Приборы со штырями, вставляемыми в розетки, должны обладать соответствующей механической прочностью.
Соответствие требованию проверяют, испытывая часть прибора со штырями на свободное падение согласно процедуре 2 по ГОСТ 28218-89.
Число падений должно быть равно:
100 - если масса указанной части не превышает
50 - если масса указанной части превышает
После проведения указанного испытания применяют требования 8.1, 15.1.1, 16.3 и раздела 29.
22 Конструкция
22.3 Примечание - Приборы со штырями, вставляемыми в розетки, испытывают собранными наиболее полно.
25 Подсоединение к источнику питания и внешние гибкие шнуры
25.13 Дополнительная прокладка или втулка не требуется для внутренних шнуров, находящихся под безопасным сверхнизким напряжением.
30 Теплостойкость и огнестойкость
30.2 К частям прибора, подсоединяемым к сети питания на период зарядки, применяют требования 30.2.3, к остальным частям - 30.2.2.
Настоящее приложение приравняют, когда имеется сомнение относительно температурной классификации системы изоляции, применяемой в обмотке двигателя, например:
- если превышение температуры обмотки двигателя выше значений, установленных в таблице 3;
- когда хорошо известные изоляционные материалы используются нетрадиционным способом; когда комбинации материалов различных температурных классов используются при температуре более высокой, чем допускается самым низким классом использованного материала;
- когда материалы, для которых нет достаточных экспериментальных данных, использованы, например, в двигателях, где изоляция и сердечник составляют единое целое.
Испытание проводят на шести образцах двигателей.
Ротор каждого из двигателей затормаживают и отдельно через каждую обмотку ротора и статора пропускают ток такой величины, чтобы температура соответствующей обмотки была равна максимальному превышению температуры, измеренному в условиях, указанных в разделе 11, и увеличенному на 25 °С. Это значение температуры повышают еще на одно из значений, указанных в таблице С. 1. Общее время, в течение которого пропускают ток через обмотки, для выбранного значения повышения температуры указано в таблице С.1.
Таблица С 1 - Условия испытания
|
Повышение температуры, °С |
Общее время, ч |
|
0±3 |
ра) |
|
10 ± 3 |
0,5р |
|
20 ±3 |
0,25р |
|
30 ±3 |
0,125р |
|
а) р = 8000 ч, если иное не указано в стандарте на конкретное изделие. Примечание - Повышение температуры выбирает изготовитель. |
|
Общее время делят на четыре одинаковых периода, после каждого из которых двигатель подвергается в течение 48 ч испытанию на влажность по 15.3. После последнего испытания на влажность изоляция должна выдерживать испытание на электрическую прочность по 16.3, при этом испытательное напряжение снижают до 50 % значения, установленного в таблице 7 настоящего стандарта.
После каждого из четырех периодов и перед последующим испытанием на влажность измеряют ток утечки системы изоляции, как указано в 13.2, причем все комплектующие, которые не образуют часть системы изоляции, подвергаемую испытанию, перед измерением отсоединяют.
Ток утечки не должен превышать 0,5 А.
Повреждение только одного из шести двигателей в течение первого из четырех периодов испытания не принимают во внимание.
Если один из шести двигателей повреждается в течение второго, третьего или четвертого периодов испытания, то остальные пять двигателей подвергают дополнительному испытанию в пятом периоде с последующими испытаниями на влажность и электрическую прочность.
Остальные пять двигателей должны полностью пройти испытание.
Настоящее приложение применяют к защищенным двигателям приборов, предназначенных для использования без надзора.
Защитное устройство двигателя, которое может быть возвращено в исходное положение вручную, должно иметь выключающий механизм со свободным сцеплением.
Испытание по 19.7 настоящего стандарта проводят на отдельном образце, который может быть смонтирован в приборе. При этом продолжительность испытания должна быть следующей:
- двигатели, имеющие защитные устройства с самовозвратом, должны работать в циклическом режиме с заторможенным ротором в течение 72 ч. Однако для двигателей, постоянно находящихся под напряжением, продолжительность испытания - 432 ч;
- двигатели, имеющие защитные устройства с ручным возвратом, должны работать 60 циклов при заторможенном роторе, причем после каждого срабатывания защитного устройства его возвращают в исходное состояние настолько быстро, насколько возможно, чтобы защитное устройство включилось, но не менее чем через 30 с.
Температура регистрируется через определенные промежутки времени в течение первых 72 ч для двигателей с защитными устройствами с самовозвратом, и в течение первых десяти срабатываний - для двигателей с защитным устройством с ручным возвратом. Температура не должна превышать значений, указанных в 19.7.
Во время испытания защитное устройство должно работать надежно и удовлетворять требованиям раздела 8, не должно быть возгорания.
После периода времени, установленного для измерения температуры, двигатель должен выдерживать испытание на электрическую прочность по 16.3. но при испытательном напряжении, указанном в таблице 4 настоящего стандарта.
Испытание игольчатым пламенем проводят по МЭК 60695-2-2 с учетом следующих изменений к пунктам указанного стандарта.
5 Жесткость
Замена:
Продолжительность приложения испытательного пламени составляет (30 ± 1) с.
8 Порядок проведения испытания
8.2 Изменение:
Образец располагают так, чтобы пламя могло быть приложено к вертикальному или горизонтальному краю, как показано в примерах рисунка 1 указанного стандарта.
8.4 Изменение:
Первый абзац не применяют.
Дополнение:
Если возможно, пламя прикладывают не ближе
8.5 Замена:
Испытание проводят на одном образце. Если образец не выдерживает испытания, то его повторяют на двух дополнительных образцах, оба из которых в этом случае должны выдерживать испытание.
10 Оценка результатов
Продолжительность горения tb не должна превышать 30 с. При этом для печатных плат она не должна превышать 15 с.
Конденсаторы, находящиеся постоянно под напряжением, должны соответствовать требованиям следующих разделов ГОСТ МЭК 384-14, с учетом изменений, приведенных ниже.
Глава первая. Общие требования
1.5 Терминология
1.5.3 Этот пункт применяют со следующим дополнением, Конденсаторы класса X испытывают и как конденсаторы подкласса Х2.
1.5.4 Этот подпункт применяют.
1.6. Маркировка
Применяют перечисления а) и b).
Глава третья. Качественная оценка методов испытаний
3.4 Подтверждающие испытания
3.4.3.2 Испытания
Таблицу II применяют, как указано ниже:
- для групп 0: 4.1, 4.2.1 и 4.2.5;
- для группы 1А: 4.1.1;
- для группы 2: 4.12;
- для группы 3: 4.12 и 4.14;
- для группы 6: 4.17;
- для группы 7: 4.18.
Глава четвертая. Методика испытания и измерения
4.1 Внешний осмотр и проверка измерений
Этот пункт применяют.
4.2 Электрические испытания
4.2.1 Этот подпункт применяют.
4.2.5 Этот подпункт применяют.
4.2.5.2 Применяют только таблицу IX. Значения для испытания А применяют, однако для конденсаторов в нагревательных приборах применяют значения для испытаний В и С.
4.12 Теплота испарения, устойчивое состояние
Этот пункт применяют со следующим дополнением:
Примечание - Проверяют только сопротивление изоляции и испытательное напряжение (см. таблицу XIII).
4.13 Импульсное напряжение
Этот пункт применяют.
4.14 Прочность
Этот пункт применяют совместно с 4.14.1; 4.14.3; 4.14.4 и 4.14.7. 4.14.7. Этот подпункт применяют со следующим дополнением.
Примечание - Проверяют только сопротивление изоляции и испытательное напряжение (см. таблицу XIII) одновременно с внешним осмотром на отсутствие видимых повреждений.
4.17 Испытание на пассивную воспламеняемость
Этот пункт применяют.
4.18 Испытание на активную воспламеняемость
Этот пункт применяют.
Следующие изменения к настоящего стандарта применяют для безопасных разделительных трансформаторов.
7 Маркировка и инструкции
7.1 Трансформаторы для специального использования должны иметь следующую маркировку:
- наименование, торговую марку или идентификационную марку изготовителя или ответственного продавца;
- модель или тип изделия.
Примечание - Определение трансформаторов для специального использования приведено в ГОСТ 30030-93.
17 Защита от перегрузки трансформаторов и соединенных с ними цепей
Безопасные трансформаторы должны быть выполнены в соответствии с требованиями ГОСТ 30030-93.
Примечание - Настоящее испытание проводят на трех трансформаторах.
22 Конструкция
Применяют раздел 18 ГОСТ 30030-93.
29 Воздушные зазоры, пути утечки и непрерывная изоляция
29.1 и 29.2 Применяют расстояния, указанные в таблице 15 ГОСТ 30030-93
Примечание - Применяют значения, установленные для нормального загрязнений.
Выключатели должны соответствовать требованиям следующих разделов ГОСТ Р МЭК 61058.1-2000 с учетом изменений, приведенных ниже.
Испытания по ГОСТ Р МЭК 61058.1-2000 выполняют в условиях, которые встречаются в приборе. Перед началом испытаний выключатели в течение 20 рабочих циклов работают без нагрузки.
8 Маркировка и документация
Выключатели не требуют маркировки. Однако, выключатели, которые могут быть испытаны отдельно от прибора, должны иметь маркировку наименования изготовителя или его торговой марки и обозначения типа.
Примечание - Объединенный выключатель - этот выключатель, который может быть испытан отдельно от прибора.
(Поправка, ИУС 8-2008).
13 Механизм
Применяют весь раздел со следующим дополнением:
Примечание - Испытания могут быть проведены на отдельном образце. 15 Сопротивление и электрическая прочность изоляции
15.1 и 15.2 Не применяют.
15.3 Применяют для полного отключения и микроотключения.
Примечание - Настоящее испытание проводят сразу после испытания на влагостойкость по 15.3 настоящего стандарта.
17 Износостойкость
Применяют со следующими дополнениями.
Соответствие требованию проверяют на трех отдельных приборах или выключателях.
В 17.2 количество циклов срабатываний, указанное в соответствии с 7.1.4.4, должно быть равно 10000, если иное не оговорено в частных требованиях на конкретные изделия, т.е. в пункте 24.1.3 дополнительных частей к настоящему стандарту.
Выключатели, предназначенные для работы без нагрузки и которые могут приводиться в действие только с помощью инструмента, не подвергают данным испытаниям. Это распространяется также на выключатели ручного управления с блокировкой, с тем чтобы их нельзя было приводить в действие под нагрузкой. Однако выключатели без такой блокировки подвергают испытанию по 17.2.4.4 в течение 100 циклов срабатываний.
В конце испытаний превышение температуры клемм не должно более чем на 30 °С превышать значения, указанные в разделе 11 настоящего стандарта.
20 Пути утечки тока, воздушные зазоры, непрерывная изоляция и покрытие собранных печатных плат
Этот раздел применяют к воздушным зазорам и путям утечки для функциональной изоляции через полное отключение и микроотключение, как установлено в таблице 18 ГОСТ Р МЭК 61058.1-2000.
Следующие изменения к пунктам настоящего стандарта применимы для двигателей, имеющих основную изоляцию, которая не рассчитана на номинальное напряжение прибора.
8 Защита от контакта с токоведущими частями
8.1 Примечание - Металлические части двигателя считают оголенными токоведущими частями. 11 Нагрев
11.3 Определяют превышение температуры корпуса двигателя; превышение температуры обмоток не определяют.
11.8 Превышение температуры корпуса двигателя в тех местах, где он контактирует с изоляционными материалами, не должно быть выше указанного в таблице 3 настоящего стандарта для соответствующего изоляционного материала.
16 Ток утечки и электрическая прочность
16.3 Изоляцию между токоведущими частями двигателя и другими металлическими частями этому испытанию не подвергают.
19 Ненормальная работа
19.1 Испытания по 19.7-19.9 не проводят. Приборы подвергают испытанию по 19.101. 19.101 Прибор работает при номинальном напряжении и при следующих аварийных условиях:
- коротком замыкании зажимов двигателя, включая любой конденсатор, встроенный в цепь двигателя;
- коротком замыкании каждого диода выпрямителя;
- размыкании цепи питания двигателя;
- размыкании цепи любого шунтирующего резистора во время работы двигателя. Единовременно воспроизводится только один дефект, а испытания проводятся отдельно.
Примечание - Имитации неисправностей приведены на рисунке 1.1.
|
Параллельная цепь |
Последовательная цепь |

А - короткое замыкание клемм двигателя; В - короткое замыкание одного из диодов; С - размыкание цепи питания двигателя; С - конденсатор; D - размыкание цепи шунтирующего сопротивления; М - двигатель
Рисунок 1.1 - Схема имитации неисправностей
22 Конструкция
22.101 Для приборов класса II, оборудованных двигателем, питающимся от цепи выпрямителя, цепь постоянного тока должна быть изолирована от доступных частей прибора двойной или усиленной изоляцией.
Соответствие требованию проверяют испытаниями, указанными для двойной и усиленной изоляции.
Испытание защитных покрытий печатных плат проводят по МЭК 60664-3 с учетом следующих изменений к пунктам указанного стандарта.
6.6 Последовательность климатических испытаний
Когда используют промышленные образцы, испытывают три образца печатных плат.
6.6.1 Холод
Испытание проводят при температуре минус 25 °С.
6.6.3 Быстрое изменение температуры
Устанавливают степень жесткости 1.
6.8.6 Напряжение затухания частичного разряда
Покрытия типа А не подлежат испытанию на частичный разряд.
Примечание - Частичный разряд не происходит в нормальных условиях при напряжениях ниже пикового значения 700 В.
6.9 Дополнительные испытания
Настоящий подраздел не применяют.
Приведенная ниже информация относительно категории перенапряжения взята из МЭК 60664-1. Категорию перенапряжения обозначают цифрой, характеризующей условие динамического перенапряжения. Оборудование категории перенапряжения IV предназначено для использования с момента установки.
Примечание 1 - Примерами подобного оборудования являются электрические счетчики и основное защитное оборудование от сверхтоков.
К оборудованию категории перенапряжения Ш относится оборудование в стационарных установках и для случаев, когда надежность и коэффициент готовности оборудования обусловлены специальными требованиями.
Примечание 2 - Примерами подобного оборудования являются выключатели в стационарных установках и оборудование для промышленного использования, постоянно соединенное с стационарной установкой.
К оборудованию категории перенапряжения II относится оборудование, потребляющее электроэнергию, которая подается от стационарной установки.
Примечание 3 - Примерами подобного оборудования являются электроприборы, ручные инструменты и другие бытовые и аналогичные нагрузки.
Если к подобному оборудованию предъявляют специальные требования в части надежности и коэффициента готовности, применяют категорию перенапряжения III.
К оборудованию категории перенапряжения I относится оборудование, соединяющееся с цепями, в которых проводят измерения с целью ограничения динамических перенапряжений до соответствующего низкого уровня.
Примечание 4 - Примерами такого оборудования являются защищенные электронные цепи.
L.1 При измерении воздушных зазоров руководствуются следующим.
Определяют номинальное напряжение и категорию перенапряжения (см. приложение К).
Примечание - В общем приборы относятся к категории перенапряжения II.
Номинальное импульсное напряжение определяют по таблице 15 настоящего стандарта.
Если применима степень загрязнения 3 или если прибор относится к приборам классов 0 и 01, измеряют воздушные зазоры для основной изоляции и функциональной изоляции и сравнивают полученные результаты с минимальными значениями, приведенными в таблице 16 настоящего стандарта. В других случаях может быть проведено испытание на воздействие импульсным напряжением, если в части электрической прочности удовлетворяются требования на соответствие 29.1, в противном случае используют значения, приведенные в таблице 16.
Воздушные зазоры для дополнительной изоляции и усиленной изоляции измеряют и сравнивают со значениями, приведенными в таблице 16.
Последовательность операций при определении воздушных зазоров указана на рисунке L1.
L.2 При измерении путей утечки руководствуются следующим.
Устанавливают рабочее напряжение, степень загрязнения и группу материала.
Измеряют пути утечки по основной изоляции и дополнительной изоляции и сравнивают полученные результаты с минимальными значениями, приведенными в таблице 17 настоящего стандарта. Затем конкретный путь утечки сравнивают с соответствующим воздушным зазором по таблице 16 и увеличивают его, если это необходимо, для того, чтобы он был не менее указанного воздушного зазора. Для степени загрязнения 1 допускается использовать уменьшенное значение воздушного зазора на основе испытания импульсным напряжением. Однако значение пути утечки не может быть менее значений, приведенных в таблице 17.

Рисунок L.1 - Последовательность операций при определении воздушных зазоров
Пути утечки по функциональной изоляции измеряют и сравнивают с минимальными значениями, приведенными в таблице 18 настоящего стандарта.
Пути утечки по усиленной изоляции измеряют и сравнивают с удвоенными минимальными значениями, приведенным в таблице 17.
Последовательность операций при определении путей утечки указана на рисунке L.2.

Рисунок L.2 - Последовательность операций при определении путей утечки
Загрязнение
Микросреда определяет воздействие загрязнения на изоляцию. Однако при рассмотрении микросреды следует учитывать макросреду.
Могут быть предусмотрены средства для уменьшения загрязнения рассматриваемой изоляции за счет эффективного использования кожухов, оболочек или герметизации. Эти средства, используемые для уменьшения загрязнения, могут быть неэффективными, когда оборудование подвергается конденсации, или если в условиях нормального использования оно само выделяет загрязняющее вещество.
Небольшие воздушные зазоры могут быть полностью перекрыты мостиками из твердых частиц, пыли и воды, поэтому минимальные воздушные зазоры устанавливают в тех случаях, когда в микросреде может присутствовать загрязнение.
Примечание
1 Загрязнение станет проводящим в условиях влажности. Загрязнение, вызванное загрязненной водой, сажей, металлической или угольной пылью, по своему существу является проводящим.
2 Проводящее загрязнение, вызванное ионизированными газами и осаждением металлов, имеет место только в особых случаях, например в отсеках комплектных устройств, где возможно возникновение электрической дуги; в данном приложении это загрязнение не рассматривается.
Степени загрязнения в микросреде
С тем, чтобы оценить пути утечки, установлены следующие четыре степени загрязнения в микросреде:
- степень загрязнения 1: загрязнение отсутствует или имеет место лишь сухое непроводящее загрязнение;
- степень загрязнения 2: имеет место лишь непроводящее загрязнение, но иногда может возникать временная проводимость, вызываемая конденсацией;
- степень загрязнения 3: имеет место проводящее загрязнение или сухое непроводящее загрязнение, которое становится проводящим из-за конденсации, которую можно ожидать;
- степень загрязнения 4: загрязнение вызывает постоянную проводимость под действием пыли, дождя или снега.
Примечание 3 - Степень загрязнения 4 к приборам не применяют.
5 Испытательная аппаратура
5.1 Электроды
Изменение:
Примечание не применяют.
5.4 Испытательные растворы
Изменение:
Используют испытательный раствор А.
6 Методика
6.3 Испытание на образование токоведущих мостиков
Дополнение:
Установленное напряжение - 100, 175, 400 или 600 В, в зависимости от того, что подходит.
Применяют примечание 3 раздела 3.
Испытание проводят на 5 образцах.
В случае сомнения считают, что материал имеет установленное значение контрольного индекса трекингостойкости, при этом материал должен выдержать испытание при напряжении, равном установленному напряжению, сниженному на 25 В, и количество капель увеличивают до 100.
7 Отчет
Дополнение:
Отчет должен быть утвержден, если значение контрольного индекса трекингостойкости основано на испытании, использующем 100 капель, испытательное напряжение снижено на 25 В от значения контрольного индекса трекингостойкости.

* ΔТ не учитывают, если испытание по 19.4 завершается в результате срабатывания защитного устройства без самовозврата, требующего для возврата его в исходное положение использования инструмента или снятия крышки.
Рисунок О.1 - Испытание на теплостойкость

Рисунок О.2 – Испытания на огнестойкость
(Это приложение заменяет ссылку на международный стандарт МЭК 60068-2-75:1997 «Методы испытаний на воздействие внешних факторов. Часть 2- Испытания. Испытание Eh – Испытания с использованием ударных пружинных устройств», не принятый в качестве межгосударственного или национального стандарта Российской Федерации. Замена осуществлена в части пружинного устройства ссылочного стандарта).
1.1 Пружинное устройство для испытания на удар
Устройство, приведенное на рисунке 1.1, состоит из следующих основных частей: корпуса 10, ударного элемента (5, 6, 7, 9), спускового конуса 1 с пружиной 2 и спускового механизма (3, 4, 8).
Масса корпуса - (1250 ± 10) г.
Ударный элемент состоит из головки молотка 5, пружины молотка 6, стержня молотка 7 и взводной рукоятки 9. Масса ударного элемента - (250 ± 1) г.
Головка молотка имеет переднюю часть из полиамида твердостью по Роквеллу R100, радиусом
Масса спускового конуса -
Пружина молотка должна быть отрегулирована так, чтобы произведение длины сжатия в миллиметрах и
создаваемого усилия в ньютонах было равно 1000, причем длина сжатия пружины должна быть равна примерно
Пружины спускового механизма должны быть отрегулированы так, чтобы давление, создаваемое ими, было достаточно для удержания спусковых зажимов в состоянии зацепления.
Устройство вводят оттягиванием взводной рукоятки до тех пор, пока спусковые зажимы не войдут в зацепление с пазами стержня молотка.
Удары наносят спусковым конусом, прижатым к образцу в направлении, перпендикулярном поверхности, в точке, подвергаемой испытанию.
Давление постепенно увеличивают, так чтобы спусковой конус перемещался назад до тех пор, пока не коснется стержней спускового механизма, которые при перемещении назад приведут в действие спусковой механизм и позвонят молотку нанести удар.

1 - спусковой конус; 2- пружина конуса; 3 - стержень спускового механизма; 4 - пружина спускового механизма, 5 - головка молотка; б - пружина молотка; 7 - стержень молотка; 8 - спусковой зажим; 9 - взводная рукоятка; 10 - корпус
Рисунок 1.1 - Устройство для испытания на удар
1.2 Конструкция калибрующего устройства
Основной частью устройства является маятник, приведенный на рисунке 1.2, к нижнему концу которого прикреплена стальная пружина, показанная на рисунке 1.3. Пружина изготовлена из пружинной стали (в закалке нет необходимости) и жестко прикреплена к маятнику.

1 – маятник; 2 – стальная пружина
Рисунок 1.2 - Маятник в сборе

Рисунок 1.3 – Стальная пружина
Калибрующее устройство в сборе представлено на рисунке 1.4. Основными частя устройства являются: подшипник 1, тормозящий указатель 2, спусковое основание 3, спусковой механизм 4 и рама 5. Эти части в увеличенном масштабе показаны на рисунке 1.5.
Так как спусковой механизм необходимо удалять при настройке калибрующего устройства спусковой механизм крепится к основанию винтами.
Для получения соответствующих характеристик тормозящего указателя между металлическими поверхностями подшипника помещают войлок, а рояльную струну изгибают так, чтобы сила, удерживающая войлок, была незначительной.

1 - подшипник; 2 - тормозящий указатель; 3 - спусковое основание; 4 - спусковой механизм; 5 - рама
Рисунок 1.4 - Калибрующее устройство

Рисунок 1.5 - Детали калибрующего устройства
1.3 Методика настройки калибрующего устройства
Настройку калибрующего устройства проводят с использованием отдельного ударного элемента 1, извлеченного из пружинного испытательного устройства, как показано на рисунке 1.6.
Ударный элемент 1 подвешивают на четырех льняных нитях 2, закрепленных в точках, расположенных в
горизонтальной плоскости на
При отрегулированной системе подвески ось ударного элемента должна быть перпендикулярна к воспринимающей удар поверхности пружины, а сам ударный элемент в момент удара должен располагаться горизонтально.
Когда ударный элемент находится в положении покоя, калибрующее устройство располагают так, чтобы точка, в которую будет нанесен удар в процессе калибровки устройства для испытания на удар, находилась точно по центру головки молотка (см. рисунок 1.1).
На рисунке 1.6 изображена установка для настройки калибрующего устройства. Разница в
Перед настройкой с калибрующего устройства снимают спусковой механизм.
Допускается применять другой способ подвески ударного элемента с использованием двух льняных нитей. Чтобы при этом способе подвески ось ударного элемента была перпендикулярна к поверхности пружины маятника, система подвески должна быть отрегулирована так, чтобы ударный элемент после удара о пружину перемещался по тому же самому пути, что и перед ударом. Кроме того, необходимо следить. Чтобы нить. ближайшая к головке молотка, располагалась на достаточном расстоянии от конца ударного элемента и чтобы она не служила помехой для маятника и указателя.

1 – ударный элемент; 2 – льняные нити; 3 – пружина; 4 – стеклянные трубки; 5 – шкала; 6 - тонкая нить; 7- гибкий шланг
Рисунок 1.6 - Установка для настройки калибрующего устройства
Для получения достоверных результатов калибрующее устройство жестко прикрепляют к опоре, например к конструкционным частям здания.
Калибровку осуществляют, создавая энергию удара 1 Дж, которая достигается пои высоте падения (408 ± 1) мм.
Высоту падения измеряют от центра тяжести ударного элемента: для удобства измерения могут быть использованы две стеклянные трубки 4 (рисунок 1.6), соединенные между собой гибким шлангом 7. Одну стеклянную трубку закрепляют и снабжают шкалой 5.
Для удержания ударного элемента в верхнем положении может быть использована тонкая нить 6, которая при разрыве отпускает ударный элемент.
Для градуировки шкалы на шкальной пластине вычерчивают окружность с центром, совпадающим с точкой крепления маятника, а радиус должен быть таким, чтобы окружность касалась тормоза указателя. На этой окружности в точке, где тормоз указателя соприкасается с маятником, находящимся в состоянии покоя, отмечают нулевую точку «0 Дж», как указано на рисунке 1.7.
Точку на шкале, соответствующую энергии удара 1 Дж, получают, отпуская ударный элемент с высоты (408 ± 1) мм для удара о пружину маятника. Операцию повторяют не менее 10 раз и окончательно точку «1 Дж» получают по среднему показанию тормозного указателя.
Другие точки шкалы получают следующим образом. Через центр окружности и точку «0 Дж» проводят прямую линию. Ортогональная проекция точки «1 Дж» на эту прямую обозначена буквой Р. Промежуток между «0 Дж» и Р делят на 10 равных частей. Через каждую точку деления проводят перпендикуляры к прямой «0 Дж - Р». Точки пересечения перпендикуляров с окружностью соответствуют значениям энергии удара 0,1; 0,2; 0,3, ..., 0,9 Дж. Этот же принцип может быть использован для нанесения делений на шкалу за точкой «1 Дж».

1.4 Эксплуатация калибрующего устройства
Для получения достоверных результатов калибрующее устройство необходимо жестко прикрепить к опоре, например к конструкционным частям здания.
Устройство для испытаний на удар, которое необходимо настроить, размещают на спусковом основании, затем приводят три раза в действие с помощью спускового механизма калибрующего устройства; эту операцию не допускается проводить вручную.
После каждого срабатывания ударный элемент испытательного прибора разворачивают в другое положение. Среднеарифметическое трех значений энергии, полученных по шкале калибрующего устройства, принимают за фактическое значение энергии удара пружинного прибора.
Таблица 2.1
|
Обозначение ссылочного межгосударственного стандарта или национального стандарта Российской Федерации |
Обозначение и наименование ссылочного международного стандарта и условное обозначение степени его соответствия ссылочному межгосударственному или национальному стандарту |
|
ИСО 1463:1982 Металлические и оксидные покрытия. Измерение толщины покрытия. Метод микрофотокопирозания (MOD) ИСО 2178:1982 Безмагнитные покрытия на магнитных основаниях. Измерение толщины покрытия. Магнитный метод (MOD) |
|
|
МЭК 60745-1:2003 Ручной электрифицированный инструмент c электродвигателем. Безопасность. Часть 1. Общие требования (NEQ) |
|
|
ГОСТ МЭК 252-95/ ГОСТ Р МЭК 252-94 |
МЭК 60252:2003 Конденсаторы для двигателей переменного тока! (NEQ) |
|
ГОСТ МЭК 384-14-95/ ГОСТ Р МЭК 384-14-94 |
МЭК 60384-14:1993 Конденсаторы постоянной емкости для! электронной аппаратуры. Часть 14. Групповые технические условия. Конденсаторы постоянной емкости для подавления электромагнитных помех (MOD) |
|
ГОСТ 7396.1-89 |
МЭК 60083:1975 Вилки и розетки для домашнего и аналогичного общего пользования, стандартизованные в странах - членах МЭК (NEQ) |
|
ГОСТ 7399-97 |
МЭК 60227-5:2003 Кабели с поливинилхлориднсй изоляцией на номинальное напряжение до 450/750 В включительно (NEQ) МЭК 60245-4:1994 Кабели с резиновой изоляцией. Номинальное напряжение до 450/750 В включительно (NEQ) |
|
ГОСТ 8711-93 |
МЭК 60051-2:1984 Приборы аналоговые показывающие электроизмерительные прямого действия и вспомогательные части к ним, Часть 2. Особые требования к амперметрам и вольтметрам (MOD) |
|
i МЭК 60529:2003 Степени зашиты, обеспечиваемые оболочками: (Код IP)(NEQ) |
|
|
ГОСТ 21342.7-76, ГОСТ 21342.8-76 |
МЭК 60738-1:1998 Термисторы прямого подогрева с положительным температурным коэффициентом, изменяющимся по ступенчатому закону. Часть 1. Общие технические условия (NEQ) |
|
ГОСТ 26246.4-89 |
МЭК 60249-2-4:2000 Материалы оснований для печатных плат Часть 2. Спецификации. Спецификация № 4. Стеклоткань, пропитанная эпоксидным связующим, общего назначения (NEQ) |
|
ГОСТ 26246.5-89 |
МЭК 60249-2-5:2000 Материалы оснований для печатных плат. Часть 2. Спецификации. Спецификация № 4. Стеклоткань, пропитанная эпоксидным связующим, нормированной горючести (NEQ) |
|
МЭК 60112:1979 Метод определения сравнительного и контрольного индексов трекингостойкости во влажной среде (MOD) |
|
|
ГОСТ 28108-89 |
МЭК 60061-1:2003 Цоколи ламп и патроны вместе с эталонами для контроля взаимозаменяемости и безопасности. Часть 1. Цоколи ламп (NEQ) |
|
ГОСТ 28218-89 |
МЭК 60068-2-32:1990 Испытание на воздействие окружающей среды. Часть 2. Испытания. Испытание Ed: Свободное падение (Процедура 1)(NEQ) |
Продолжение таблицы 2.1
|
Обозначение ссылочного межгосударственного стандарта или национального стандарта Российской Федерации |
Обозначение и наименование ссылочного международного стандарта и условное обозначение степени его соответствия ссылочному межгосударственному или национальному стандарту |
|
МЭК 61558-1:1997 Безопасность силовых трансформаторов, силовых питающих элементов и аналогичных изделий. Часть 1. Общие требования и методы испытаний NEQ МЭК 61558-2-6:1997 Безопасность силовых трансформаторов, силовых питающих элементов и аналогичных изделий. Часть 2-6. Дополнительные требования для безопасных разделительных трансформаторов общего пользования (NEQ) |
|
|
ГОСТ 30324.0-95/ ГОСТ Р 50267.0-92 |
МЭК 601-1:1988 Медицинское технологическое оборудование (MOD) |
|
ИСО 2768-1:1989 Общие допуски. Часть 1. Допуски на линейные и угловые размеры без указания отдельных допусков (MOD) |
|
|
ГОСТ Р МЭК 1029-1-94 |
МЭК 61029-1:1990 Безопасность переносного инструмента с приводом от электродвигателя (MOD) |
|
ГОСТ Р 50043.2-92 |
МЭК 60998-2-1:2002 Устройства соединительные для низковольтных цепей бытового и аналогичного назначения. Часть 2-1. Частные требования к соединительным устройствам как отдельным элементам с винтовыми зажимами (NEQ) |
|
ГОСТ Р 50043.3-2000 |
МЭК 60998-2-2:2002 Устройства соединительные для низковольтных цепей бытового и аналогичного назначения. Часть 2-2. Частные требования к соединительным устройствам как отдельным элементам с безвинтовыми зажимами (NEQ) |
|
ГОСТ Р 50537-93 |
МЭК 60127-1:2003 Миниатюрные плавкие вставки (NEQ) |
|
МЭК 60320-1:1994 Приборные соединители электрические бытового и аналогичного общего назначения. Часть 1. Общие требования (MOD) |
|
|
ГОСТ Р 51325.2.3-2002 |
МЭК 60320-2-3:1998 Приборные соединители электрические бытового и аналогичного общего назначения. Часть 2-3. Приборные соединители со степенью защиты свыше IPX0 (MOD) |
|
ГОСТ Р 51686.1-2000 |
МЭК 60999-1:1999 Соединительные устройства. Электрические медные проводники. Требования безопасности для винтовых и безвинтовых зажимов. Часть 1. Общие требования и частные требования для зажимов с проводниками площадью поперечного сечения от 0,2 мм2 до 35 мм2 (включительно) (MOD) |
|
ГОСТ Р 51992-2002 |
МЭК 61643-1:1998 Устройства защиты от перенапряжений, соединенные с низковольтными системами распределения электроэнергии. Часть 1. Эксплуатационные требования и методы испытания (MOD) |
|
МЭК 60065:1998 Аудио-, видео и аналогичная электронная аппаратура. Требования безопасности (MOD) |
|
|
МЭК 60227-5:2003 Кабели с поливинилхлоридной изоляцией на (номинальное напряжение до 450/750 В включительно (NEQ) |
|
|
ГОСТ Р МЭК 60245-4-2002 |
МЭК 60245-4:1994 Кабели с резиновой изоляцией. Номинальное напряжение до 450/750 В включительно (MOD) |
|
МЭК 60238:2002 Патроны резьбовые для ламп (NEQ) |
|
|
МЭК 60335-2-29:2003 Бытовые и аналогичные электрические приборы. Безопасность. Часть 2-29. Частные требования к зарядным устройствам батарей (NEQ) |
|
|
МЭК 60598-1:1999 Светильники. Часть 1. Общие требования и испытания (NEQ) |
|
|
ГОСТ Р МЭК 60730-1-2002 |
МЭК 60730-1:1999 Автоматические электрические управляющие устройства бытового и аналогичного использования. Часть 1. Общие требования (MOD) |
|
МЭК 60950:2001 Безопасность оборудования информационных технологий (MOD) |
Окончание таблицы 2.1
|
Обозначение ссылочного межгосударственного стандарта или национального стандарта Российской Федерации |
Обозначение и наименование ссылочного международного стандарта и условное обозначение степени его соответствия ссылочному межгосударственному или национальному стандарту |
|
ГОСТ Р МЭК 61032-2000 |
МЭК 61032:1997 Защита людей и оборудования, обеспечиваемая оболочками. Щупы для проверки (MOD) |
|
ГОСТ Р МЭК 61058.1-2000 |
МЭК 61058.1:2000 Выключатели для приборов. Часть 1. Общие требования (NEQ) |
|
* |
МЭК 664-1:1992 Координация изоляции для оборудования низковольтных систем. Часть 1. Правила, требования и испытания |
|
* |
МЭК 60664-3:1992 Координация изоляции для оборудования низковольтных систем. Часть 3. Использование покрытий с целью обеспечения координации изоляции у плат печатного монтажа |
|
|
МЭК 60695-2-2:1991 Испытание на пожароопасность. Часть 2. Методы испытания. Раздел 2. Испытание горелкой с игольчатым пламенем |
|
|
МЭК 60695-2-11:2000 Испытание на пожароопасность. Часть 2-11. Методы испытания с использованием раскаленной проволоки. Метод испытания на воспламеняемость с использованием раскаленной проволоки для конечных изделий |
|
|
МЭК 60695-2-12:2000 Испытание на пожароопасность. Часть 2-12. Методы испытания с использованием раскаленной проволоки. Метод испытания материалов на воспламеняемость с использованием раскаленной проволоки |
|
|
МЭК 60695-2-13:2000 Испытание на пожароопасность. Часть 2-13. Методы испытания с использованием раскаленной проволоки. Метод испытания материалов на возгораемость с использованием раскаленной проволоки |
|
* |
МЭК 60695-10-2:2003 Испытание на пожароопасность. Часть 10. Ненормальный нагрев. Испытание давлением шарика |
|
* |
МЭК 60695-11-10:1999 Испытание на пожароопасность. Часть 11-10. Виды испытательного пламени. Методы испытаний с использованием горизонтального и вертикального пламени мощностью 50 Вт |
|
* |
МЭК 61180-1:1992 Высоковольтная техника для низковольтного оборудования. Часть 1. Определения. Требования и методы испытаний |
|
* |
МЭК 61180-2:1994 Высоковольтная техника для низковольтного оборудования. Часть 2. Испытательное оборудование |
|
* Соответствующий национальный стандарт Российской Федерации отсутствует. До его принятия рекомендуется использовать русскую версию указанного международного стандарта, находящуюся во ВНИИКИ Госстандарта России. Примечание - В настоящей таблице использованы следующие условные обозначения степени соответствия стандартов: - (MOD) - модифицированные стандарты; - (NEQ) - неэквивалентные стандарты. |
|
Ключевые слова: бытовые и аналогичные электрические приборы, требования безопасности, методы испытаний
|
|
|
|