//
ТехЛит.ру
- крупнейшая бесплатная электронная интернет библиотека для "технически умных" людей.
WWW.TEHLIT.RU - ТЕХНИЧЕСКАЯ ЛИТЕРАТУРА

:: Алготрейдинг::


АЛГОТРЕЙДИНГ
шаг за шагом
с нуля по урокам!

Торговые роботы на PYTHON, BackTrader,
Pandas, Pine Script для TradingView. Связка с брокерами, телеграм и легкими приложениями.


ПРАВИТЕЛЬСТВО МОСКВЫ
 МОСКОМАРХИТЕКТУРА

Дополнение

ПОСОБИЯ

к МГСН 2.07-01

Основания, фундаменты и подземные сооружения

Обследования и мониторинг
при строительстве
и реконструкции зданий
и подземных сооружений

2005

Предисловие

Настоящее Дополнение ПОСОБИЯ «Обследование и мониторинг при строительстве и реконструкции зданий и подземных сооружений» к Московским городским строительным нормам (МГСН 2.07-01) «Основания, фундаменты и подземные сооружения» разработано Научно-исследовательским, проектно-изыскательским и конструкторско-технологическим институтом оснований и подземных сооружений (НИИОСП) им. Н.М. Герсеванова (первая часть Дополнения) и ГУП «Мосгоргеотрест» (вторая часть Дополнения).

Авторский коллектив по первой части Дополнения:

НИИОСП им. Н.М. Герсеванова - доктор техн. наук, профессор Ильичев В.А. (руководитель), доктор техн. наук, профессор Коновалов П.А., доктор техн. наук, профессор Петрухин В.П., кандидат техн. наук Мариупольский Л.Г., кандидат техн. наук Михеев В.В., инж. Внуков Д.А; Томский государственный архитектурно-строительный университет - доктор техн. наук, профессор Полищук А.П.

Авторский коллектив по второй части Дополнения:

ГУП «Мосгоргеотрест» - кандидат техн. наук Гаврилов С.Г. (руководитель), инж. Никулин М.А; Московский государственный университет геодезии и картографии - кандидат техн. наук, профессор Федосеев Ю.Е.

Подготовлено к утверждению и изданию Управлением перспективного проектирования, нормативов и координации проектно-изыскательских работ Москомархитектуры.

Принято и введено в действие приказом Москомархитетуры от 14 декабря 2005 года № 162.

Содержание

Введение

1. УСИЛЕНИЕ И РЕКОНСТРУКЦИЯ ОСНОВАНИЙ И ФУНДАМЕНТОВ

1.1. Общие положения

1.2. Инженерно-геологические изыскания

1.3. Обследование фундаментов

1.4. Проектирование и устройство оснований и фундаментов реконструируемых здании

1.5. Реконструкция и усиление фундаментов на естественном основании

1.6. Реконструкция и усиление свайных фундаментов

1.7. Закрепление грунтов и усиление грунта основания

1.8. Устройство подземных помещений реконструируемых зданий

2. МОНИТОРИНГ ДЕФОРМАЦИОННЫХ ПРОЦЕССОВ ГЕОДЕЗИЧЕСКИМИ МЕТОДАМИ

2.1. Общие сведения и область применения

2.2. Деформационные характеристики, требования к точности их определения и оценке значимости

2.3. Основные этапы проведения геодезического мониторинга

2.4. Обследование технического состояния объектов мониторинга

2.5. Программа производства геодезических наблюдений

2.6 Рекомендуемый состав отчетных документов

Приложение 1 Перечень используемых нормативно-методических документов

Приложение 2 Примеры конструктивных решений по усилению и реконструкции оснований и фундаментов

Приложение 3 Формулы для вычисления деформационных характеристик и предельных погрешностей их определения

Приложение 4 Таблица оценки категорий состояния зданий по внешним признакам по результатам натурного обследования технического состояния

Приложение 5 Таблица предельных дополнительных деформаций существующих зданий

Приложение 6 Пример оформления списка объектов мониторинга

Приложение 7 Методика выполнения наблюдений за осадками методом геометрического нивелирования с контролем стабильности высотной основы

Приложение 8 Пример оформления материалов краткого технического заключения (экспресс-отчета) при наблюдениях за осадками

Введение

Настоящее Дополнение Пособия «Обследование и мониторинг при строительстве и реконструкции зданий и подземных сооружений» разработанного в развитие Московских городских строительных норм МГСН 2.07-01 «Основания, фундаменты и подземные сооружения»

Целью Дополнения Пособия является детализация ряда положений по организации и осуществлению мониторинга и обследованию зданий и сооружений, регламентированных в МГСН 2.07-01, а также действующих нормативных и нормативно-методических документов по инженерным изысканиям, проектированию и устройству оснований, фундаментов и подземных сооружений, приведенных в приложении 1.

Дополнение Пособия состоит из двух частей. В первой части рассматриваются методы усиления оснований и фундаментов реконструируемых зданий, а также зданий, по результату обследования которых выявлена необходимость реконструкции фундаментов для обеспечения нормальной эксплуатации зданий при осуществлении вблизи них нового строительства, либо ввиду их аварийного состояния.

Во второй части документа детально рассмотрены вопросы мониторинга геодезическими методами деформационных процессов при строительстве, реконструкции и эксплуатации зданий и сооружений.

1. УСИЛЕНИЕ И РЕКОНСТРУКЦИЯ ОСНОВАНИЙ И ФУНДАМЕНТОВ

1.1. Общие положения

Усиление оснований и фундаментов осуществляется при реконструкции здании и сооружении или предотвращении осадок ниже допустимых.

Под реконструкцией фундаментов зданий и сооружений понимается выполнение работ, проводимых в связи с изменением геометрических размеров зданий, возрастанием постоянных или временных нагрузок, устройством подземных сооружений в пределах габаритов здания, а также восстановлением (усилением) несущей способности оснований и фундаментов, утраченной вследствие суффозии, колебания уровня подземных вод и др., а также возникшими деформациями конструкций и их износом.

Надежность работы реконструируемых зданий обеспечивается совместной работой системы «основание, фундамент - подземные конструкции». Дефекты в работе сооружений - следствие полного или частичного нарушения надежного взаимодействия элементов этой системы:

- суффозионные процессы, а также колебания УПВ (уровня подземных вод), вызванные изменением гидрогеологических условий в районе расположения здания, атмосферными водами, аварийными и систематическими утечками из коммуникаций;

- проявление карстовых деформаций;

Повреждения оснований и фундаментов возникают за счет природных и техногенных процессов, за счет нарушений требований нормативных документов, допускаемых при изысканиях, проектировании, строительстве и эксплуатации. Основными причинами повреждений являются:

снижение прочностных и деформационных свойств грунтов при увлажнении, а также проявление процесса набухания и пучения грунтов;

проведение земляных работ в пределах здания или вблизи него;

прокладка коммуникаций;

увеличение нагрузок на основание, сопровождаемое появлением эксцентриситета их приложения;

вибрационные или динамические воздействия как внутренние, так и внешние.

При реконструкции фундаментов отсутствует возможность применения типовых схем усиления. Схемы усиления должны применяться в каждом конкретном случае в зависимости от нагрузок на фундаменты, конструктивных особенностей здания (наличие подвала и других подземных сооружений), инженерно-геологических и гидрогеологических условий и др.

При этом применяемые методы усиления оснований и фундаментов должны обеспечивать их совместную работу с существующими фундаментами.

Следует учитывать, что работы по усилению оснований и изменению конструкций фундаментов могут вызвать при их осуществлении деформации оснований и осадки фундаментов.

Повышение несущей способности оснований и фундаментов при реконструкции может быть обеспечено за счет:

- изменения конструкции или размера фундамента;

- усилением физико-механических характеристик грунтов основания

1.2. Инженерно-геологические изыскания

Инженерно-геологические изыскания при реконструкции оснований и фундаментов должны обеспечивать комплексное изучение инженерно-геологических условий площадки реконструируемого здания или подземного сооружения и получения исходных данных для проектирования и устройства усиления фундаментов или укрепления основания.

Состав, объем и методы изысканий зависят от целей реконструкции, типа здания или подземного сооружения, их состояния и степени сложности инженерно-геологических условий.

1.3. Обследование фундаментов

Программа обследования составляется на основании технического задания заказчика и ознакомления с проектно-технической документацией реконструируемого здания.

Обследование конструкций фундаментов производится методом их вскрытия при проходке шурфов и других выработок.

По результатам обследования составляется технический отчет, содержащий результаты обследования и техническое заключение о возможности использования конструкций фундаментов и подземных сооружений при их реконструкции и рекомендации по типу рекомендуемых конструкций и технологии их устройства.

1.4. Проектирование и устройство оснований и фундаментов реконструируемых здании

Проектирование и устройство оснований и фундаментов реконструируемых зданий и подземных сооружений следует выполнять в соответствии с действующими нормативными документами (см. приложение 1).

Допускается одностадийное проектирование, т.е. разработка непосредственно рабочих чертежей.

Проектирование и устройство оснований и фундаментов должно производиться с использованием расчетных значений физико-механических характеристик грунтов оснований и характеристик материала существующих и возводимых (реконструируемых) фундаментов. При этом должно учитываться состояние конструкций подземной и надземной частей, а также особенности производства работ по усилению оснований, фундаментов, подземной и надземной частей сооружения.

В проектах должны приниматься такие решения по устройству оснований и фундаментов, при которых максимально используются существующие конструкции фундаментов и возможности несущей способности оснований, определенные но данным инженерных изысканий.

Производство работ при реконструкции (усилении) не должно приводить к возникновению недопустимых осадок здания (сооружения).

1.5. Реконструкция и усиление фундаментов на естественном основании

1.5.1. Укрепление фундаментов

В результате механических повреждений, осадочных трещин, растрескивания и расслоения тела фундамента вследствие промораживания, воздействия грунтовых вод, агрессивности среды, температурных перепадов материал фундаментов с течением времени теряет свою прочность и становится легко разрушимым.

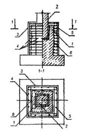
Для восстановления кладки фундаментов из бутового камня, керамического кирпича, а также бетонных и железобетонных конструкций фундаментов используется метод инъектирования цементным раствором, синтетическими смолами и т.п. Для цементации в теле фундамента бурятся шурфы или пробиваются отверстия для установки инъекторов. Диаметр отверстий должен быть на 2-3 мм больше диаметра инъектора, диаметр иньектора обычно принимается равным 25 мм. Расстояние между инъекторами обычно принимают равным 50-100 см. Глубина погружения инъектора в тело фундамента принимается равной 0,4-0,6 толщины (ширины) фундамента. При давлении нагнетания закрепляющего раствора 0,2-0,6 МПа диаметр закрепления может составить 0,6-1,2 м (рис. 1 - 4) .

Обычно при цементации тела фундамента проводят цементацию контакта «фундамент-грунт». Эта операция целесообразна в случае основания сложенного насыпными, песчаными, гравийно-галечниковыми грунтами. В случае залегания в уровне подошвы фундамента глинистых грунтов цементация контакта «фундамент-грунт» может привести к неконтролируемому распространению цементирующего раствора.

При неэффективности усиления дефектных фундаментов путем цементации, фундаменты могут быть усилены бетонными или железобетонными обоймами на всю высоту фундамента или его части. В фундаментах противоположные стенки обоймы соединяют арматурными стержнями, которые крепятся к арматуре обойм.

При устройстве обойм главным является обеспечение совместной работы нового бетона со старым или старой кладкой, после устройства обойм для дополнительного упрочнения фундамента можно провести инъекцию цементного раствора или синтетических смол во внутреннюю часть растрескавшегося или расслоенного фундамента (рис. 5 - 7).

Усиление фундамента обоймами, без углубления фундаментов, производят как без увеличения подошвы, так и с ее увеличением в случае недостаточной несущей способности основания, частичного разрушения фундамента или существенного возрастания нагрузки при реконструкции.

При большом увеличении нагрузки элементы укрепления фундаментов должны быть введены в работу путем предварительной передачи давления на основание (обжатия).

1.5.2. Усиление фундаментов

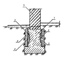
Усиление фундаментов мелкого заложения может быть осуществлено путем их уширения и углубления подведением дополнительных конструктивных элементов. Такими элементами могут быть плиты, столбы или сплошные стены (рис. 8 - 9).

На участках длиной 1-2 м грунт под фундаментом удаляют и на месте изготавливают железобетонную монолитную плиту или монтируют заранее заготовленные железобетонные элементы. После обжатия грунта в основании гидравлическими домкратами и подклинки плиты, промежуток между плитой и подошвой старого фундамента заполняют пластичным бетоном с тщательным уплотнением (рис. 10).

В ряде случаев ленточный фундамент усиливают отдельными столбами. В этих случаях старый фундамент может быть усилен рандбалками.

Для переустройства столбчатого фундамента в ленточный между существующими фундаментами устраивается железобетонная стенка в виде перемычки. При необходимости устройства подвала перемычка делается на всю высоту столбчатых фундаментов.

Переустройство ленточных или столбчатых фундаментов в плитные производится путем подведения концов плит под существующие фундаменты (рис. 11, 12) произведя расчет на скалывание зоны опирания ленточного или столбчатого фундамента и конца плиты.

В практике реконструкции возможно переустройство столбчатых фундаментов в перекрестно-ленточные и плитные, а также перекрестно-ленточных в плитные.

Необходимость устройства подвала, подземного сооружения, переноса подошвы фундамента на менее сжимаемые слои грунта и пр. становится причиной проведения работ по заглублению фундаментов реконструируемого здания (рис. 14 - 21).

1.5.3. Применения свай для усиления фундаментов мелкого залегания

Для усиления фундаментов мелкого залегания могут быть использованы сваи различных конструкций: буронабивные, буровые, буроинъекционные, завинчиваемые, а также конструкции «стена в грунте» (рис. 22 - 27).

Буронабивные и буровые сваи используются при увеличении нагрузок и большой толщине слабых грунтов в основании; в сложных условиях реконструкции.

Буроинъекционные сваи используются в тех же условиях, а также при невозможности частичной разборки существующих фундаментов и в стесненных условиях строительства.

Могут быть применены сваи из завинчиваемых стальных труб диаметром 200-400 мм с приваренной арматурной спиралью, а также вдавливаемые сваи. Эти два вида свай позволяют избежать вибрационных воздействий на фундаменты и грунты основания при проведении работ по усилению.

Иногда вместо монтажа тяжелых загрузочных устройств оказывается удобнее использовать стены самого реконструируемого сооружения. На этом принципе основано вдавливание составных железобетонных свай типа «Мега» отдельными элементами (рис. 28 - 31).

С помощью буроинъекционных свай можно проводить усиление фундаментов, не разрабатывая котлованы и не нарушая естественной структуры фунтов основания. Наличие малогабаритного оборудования позволяет вести работы изнутри здания.

При реконструкции действующих сооружений в стесненных условиях и особенно в условиях противопоказания динамических воздействий целесообразно применение щелевых фундаментов (барретов), устраиваемых методом «стена в грунте» в узких траншеях шириной 0,4-1,0 м под защитой раствора из бентонитовой глины.

1.6. Реконструкция и усиление свайных фундаментов

Усиление ствола свай при отсутствии ростверка или при высоком ростверке производится с помощью железобетонной обоймы с толщиной стенок не менее 100 мм и площадью вертикальной арматуры не менее 1% площади сечения обоймы. Обойма устраивается на свободной части сваи и заглубляется в фунт не менее чем на 1 м.

Усиление верхних концов свай и мест их сопряжения с ростверком устраивается с помощью железобетонной обоймы, устраиваемой по всем ростверкам с отрывкой мелкого котлована.

Усиление ростверков, разделка трещин и других повреждений производятся аналогично усилению фундаментов мелкою заложения.

Для усиления свайных фундаментов, имеющих недостаточную несущую способность, используются те же сваи, которые используются для усиления фундаментов мелкого заложения.

Разбивка осей новых свайных фундаментов должна производиться с надежным закреплением относительно осей существующих свай здания.

1.7. Закрепление грунтов и усиление грунта основания

Закрепление грунтов и усиление грунта основания способом инъекции химических растворов и цементных суспензий применяется при реконструкции гражданских зданий и исторической застройки.

Цементация контакта фундамент-грунт выполняется при наличии пустот под подошвой фундамента.

Химическое закрепление грунтов применяется для создания пристенной наружной гидроизоляции подземных конструкций реконструируемых зданий, а также для ликвидации очагов водопритока в ограждающих стенках котлованов.

Инъекционное закрепление распространяется на грунты, обладающие достаточной водопроницаемостью, включая песчаные, крупнообломочные, трещиноватые скальные и полускальные грунты.

Химические материалы, применяемые для закрепления грунтов способами силикатизации, смолизации и цементации, должны удовлетворять требованиям и техническим условиям действующих стандартов на силикат натрия (жидкое стекло), хлористый кальций, ортофосфорную, кремнефтористоводородную кислоты, алюминат натрия, этилацетат и другие реагенты.

Возможны две разновидности технологии нагнетания закрепляющих реагентов в фунты:

- вертикальная технология, при которой нагнетание реагентов осуществляется через вертикально или наклонно заглубляемые инъекторы сверху вниз, с открытой поверхности земли, с мостков или с полов помещений.

- горизонтальная технология, когда нагнетание реагентов осуществляется через горизонтально или несколько наклонно заглубленные инъекторы из специально оборудованных для этой цели технологических выработок (траншей, штолен, колодцев).

При силикатизации и смолизации грунтов, если это предусмотрено проектом, должна быть обеспечена возможность оставлять в закрепленном массиве забивные инъекторы или трубы манжетно-тампонных инъекторов в качестве материала армирования закрепленных массивов.

Для бурения инъекционных скважин применяются буровые станки, обеспечивающие бурение скважин диаметром до 190 мм.

Для работ по нагнетанию растворов в фунты применяются забивные, гидравлические и пневматические инъекторы диаметром перфорированной части 32-38 мм длиной 500 мм, бетононасосы с давлением воздуха 0,5-0,7 МПа, перфораторы ручные и пневматические на давление 0,6 Мпа, плунжерные и поршневые насосы, обеспечивающие расход до 1 м3/ч и давление 1 МПа.

Для закрепления водонасыщенных глинистых фунтов и пылеватых песков наиболее приемлемы методы электросиликатизации и электрохимический.

Электросиликатизация грунтов основана на сочетании закрепления грунтов способом силикатизации и обработки их постоянным током. Способ применяется в грунтах с коэффициентом фильтрации 0,5-0,005 м/сут. Для электросиликатизации используют растворы жидкого стекла и хлористого кальция. Инъекторы-электроды погружают в грунт основания с обеих сторон фундамента под углом 10-15° через каждые 0,6-0,8 м но его длине. Закрепление ведется захватками вдоль фундамента снизу вверх, расход энергии (100-120 В) составляет для закрепления 1 м грунта 10-15 кВт·ч.

Электрохимический способ применяется для водонасыщенных фунтов с коэффициентом фильтрации 1·10-2-1·10-6 м/сут. В инъекторы-аноды подают раствор, потом СаСl2, потом Аl2(SO4) или Fe2(SO4), а из инъекторов-катодов откачивают поступающую в них воду. Расход энергии здесь составляет 60-100 кВт·ч/м3.

1.8. Устройство подземных помещений реконструируемых зданий

Для устройства подземных помещений в реконструируемом здании необходимы детальные сведения о существующих фундаментах, действующих нaгрузках на фундаменты и характеристики грунтового основания, в том числе режим подземных вод.

Выбор конструкции подземного сооружения зависит от типа фундаментов здания - фундаменты на естественном основании или свайные. Решение должно приниматься с учетом недопущения возникновения в конструкциях реконструируемого здания нерасчетных воздействий.

Устройство стен сооружаемого подземного сооружения может выполняться по двум схемам:

- стены подземного сооружения изготавливаются вокруг реконструируемого здания одним из методов «стена в грунте» с передачей на «стену в грунте» нагрузок от существующего здания;

- стены подземного сооружения изготавливаются изнутри здания, без передачи нагрузок от здания на стену. Стена может изготавливаться методом вдавливания составных свай, а также с помощью буроинъекционных свай. В обоих случаях необходимо устройство анкерных креплений или распорок, которые устраиваются по мере отрывки котлована.

2. МОНИТОРИНГ ДЕФОРМАЦИОННЫХ ПРОЦЕССОВ ГЕОДЕЗИЧЕСКИМИ МЕТОДАМИ

2.1. Общие сведения и область применения

2.1.1 Настоящий раздел Дополнения Пособия разработан с учетом требований действующих нормативно-технических федеральных документов и документов Правительства Москвы, определяющих порядок производства работ по наблюдению за деформациями при производстве строительных работ и при эксплуатации существующих зданий и сооружений на территории города Москвы.

2.1.2 Мониторинг деформационных процессов геодезическими методами (далее по тексту - геодезический мониторинг) представляет собой комплекс инженерно-геодезических работ, являющихся составной частью геотехнического мониторинга, выполняемых с целью определения количественных характеристик деформаций зданий, сооружений и земной поверхности (деформационных характеристик) в зоне влияния строящегося или реконструируемого объекта.

2.1.3 В разделе сформулированы общие принципы организации геодезического мониторинга состояния существующих зданий и сооружений, находящихся в зоне влияния строящегося или реконструируемого объекта. Программы работ на конкретных объектах, разрабатываемые на основании рекомендаций настоящего Пособия, должны учитывать особенности этих объектов (габариты, инженерно-геологические условия, характер и состояние окружающей застройки и т.д.).

Рекомендации раздела могут быть также использованы при организации наблюдений за деформациями надземных и подземных частей строящихся или реконструируемых зданий и сооружений любых типов, устраиваемых в открытых котлованах.

2.1.4 Дополнение уточняет и дополняет «Рекомендации по обследованию и мониторингу технического состояния эксплуатируемых зданий, расположенных вблизи нового строительства или реконструкции» (Москомархитектура. 1998) и МГСН 2.07-01, раздел «Геотехнический мониторинг» в части производства инженерно-геодезических работ. С его выходом положения упомянутых документов, противоречащие настоящему Дополнению, утрачивают силу.

2.1.5 В настоящем разделе содержатся:

Список деформационных характеристик, позволяющих наиболее полно описать процесс деформаций;

Общие правила назначения требований к точности определения деформационных характеристик и их предельных значений для разных типов зданий и сооружений;

Состав работ по организации комплексного геодезического мониторинга;

Основные подходы к выбору методик производства геодезических измерений и обработки их результатов с целью вычисления деформационных характеристик, оценки их точности и значимости;

1) Состав отчетных документов и образцы их оформления.

2.2. Деформационные характеристики, требования к точности их определения и оценке значимости

2.2.1 Процесс деформаций может быть описан с помощью характеристик (далее по тексту - деформационные характеристики), определение которых приведено в таблице 1.

Формулы для вычисления деформационных характеристик и предельных погрешностей их определения и необходимые комментарии приведены в приложении 3.

Таблица 1

№№ п.п.

Название

Обозначение

Определение

1

Осадка

S

Изменение высоты контролируемой точки, определенной в двух циклах наблюдений

2

Разность осадок

ds

Разность осадок контролируемых точек (характеризует неравномерность осадки)

3

Относительная разность осадок

i

Разность осадок контролируемых точек, отнесенная к расстоянию между ними (характеризует неравномерность осадки)

4

Смещения по осям координат

dx dy

Изменение плановых координат контролируемой точки, определенных в двух циклах наблюдений

5

Сдвиг

D

Изменение положения контролируемой точки в плане

6

Невертикальность

г

Изменение одной из плановых координат контролируемых точек (в частной системе координат), закрепленных на разных уровнях в одной вертикальной плоскости (обозначения см. приложение 3 рис.1).

7

Наклон

dи

Изменение невертикальности

8

Крен

i

Тангенс угла наклона объекта

9

Раскрытие трещины

dt

Изменение расстояния между контрольными точками, закрепленными по разным сторонам трещины

10

Углубление трещины

dv

Изменение глубины трещины

11

Кривизна подошвы фундаментов

ρ*)

 

*) в соответствии с п. 14.5 МГСН 2.07-01 вычисляется по результатам геодезических измерений осадок по формуле

, где

S(x) - осадка в точке с координатой х;

S(x+Δx) – осадка в точке с координатой x+Δx;

S(x+2Δx) – осадка в точке с координатой x+2Δx.

2.2.2 требования к точности определения деформационных характеристик (класс точности по ГОСТ 24846-81) окружающей существующей застройки устанавливают на основании таблицы 2.

Таблица 2

Класс точности определения деформационных характеристик

Типы зданий и сооружений

Ср. кв. погрешность определения деформационных характеристик (мм)

вертикальных

горизонтальных

I

Уникальные;

Находящиеся в эксплуатации более 50-ти лет;

Возведенные на скальных и полускальных грунтах

1

2

II

Возведенные на песчаных, глинистых и других сжимаемых грунтах

2

5

III

Возведенные на насыпных, просадочных, заторфованных и других сильно сжимаемых грунтах

5

10

IV

Земляные сооружения

10

15

Примечание. Таблица представляет собой копию таблицы 2 ГОСТ 24846-81.

2.2.3 Для строящихся объектов класс точности определения деформационных характеристик устанавливают на основании ожидаемых величин деформаций основания строящегося объекта. Класс точности или ожидаемые величины деформаций должны быть указаны в проектной документации.

2.2.4 Для оценки значимости выявленных деформаций полученное значение деформационной характеристики сравнивают с предельной погрешностью ее определения. Если абсолютное значение деформационной характеристики не превышает предельной погрешности ее определения. Считается, что контролируемая точка не изменила своего положения (деформации отсутствуют). Формулы для вычисления деформационных характеристик и предельных погрешностей их определения приведены в приложении 3. Все деформационные характеристики, кроме раскрытия и углубления трещины, вычисляют с использованием уравненных координат или высот контрольных точек.

2.3. Основные этапы проведения геодезического мониторинга

2.3.1 В настоящем разделе приведен состав работ, проведение которых позволит наиболее полно описать картину возможных деформаций контролируемых зданий и сооружений. В полном объеме указанные работы рекомендуется выполнять при проведении геодезического мониторинга объектов, расположенных, как правило, в центральной части города или в условиях плотной застройки. Состав работ определяется условиями конкретного объекта на этапе разработки технического задания.

2.3.2 Геодезический мониторинг включает в себя следующие основные этапы:

1) Разработка и согласование технического задания;

2) Обследование технического состояния объектов мониторинга;

3) Разработка программы проведения мониторинга;

4) Выполнение наблюдений, обработка результатов, подготовка промежуточных отчетных материалов;

5) Завершение наблюдений, подготовка заключительного отчета.

2.3.3 Для разработки технического задания заказчиком должны быть представлены следующие материалы и данные:

1) Ситуационный план в масштабе 1:500 или 1:2000, на котором должны быть отображены запроектированные (строящиеся) объекты и элементы существующей окружающей застройки;

2) Метод крепления стен котлована для заглубленного сооружения и его глубина;

3) Мощность сжимаемой толщи грунтов под новым объектом;

4) График производства строительных работ с целью разработки графика производства наблюдений.

Техническое задание разрабатывается заказчиком совместно с исполнителем и утверждается заказчиком. Порядок согласования технического задания определяется для каждого объекта индивидуально.

2.3.4 Обследование технического состояния объектов мониторинга выполняется в соответствии с п. 2.1.4 «Рекомендаций по обследованию и мониторингу технического состояния эксплуатируемых зданий, расположенных вблизи нового строительства или реконструкции» (Москомархитектура, 1998) с целью сбора и систематизации информации о состоянии окружающей застройки до начала строительных работ. Как правило, выполняют следующие работы:

1) Определение зоны влияния возводимого объекта на существующую застройку и формирование списка объектов мониторинга;

2) Определение координат углов и обмеры натурных габаритов объектов мониторинга;

3) Определение невертикальности объектов мониторинга, а также абсолютных или относительных высотных отметок их элементов (подошва фундаментов, цоколь, этажи, крыши и т.д.);

4) Натурные обследования технического (физического) состояния несущих конструкций частей зданий с определением прочностных характеристик конструктивных материалов, а также наличия и степени проявления деформаций и повреждений (трещин, сдвигов, выпучивания, разрушений кирпичной кладки и т.д.). Проверочные расчеты для оценки напряженно-деформированного состояния несущих конструкций обследуемого здания и определения предельных значений деформационных характеристик. При отсутствии расчетов допускается пользоваться значениями дополнительных предельных деформаций, приведенных в приложении 5.

В результате обследований должны быть определены категории состояния объектов в соответствии с приложением 4, предельные дополнительные деформации объектов мониторинга в соответствии с приложением 3, составлены схемы расположения выявленных повреждений.

Состав материалов и данных, которые должны быть получены в результате обследования технического состояния объектов мониторинга, приведены в п. 2.4.5.

2.3.5 В программе производства мониторинга определяют схемы расположения контролируемых и исходных пунктов, методики и периодичность выполнения измерений. Согласно СНиП 11-02-96, п. 4.14, программа представляет собой внутренний документ исполнителя. Программа деформационного мониторинга подлежит геотехнической экспертизе в соответствии с п. 2.4.12 постановления Правительства Москвы от 7 декабря 2004 года № 857-ПП в случае проведения геодезического мониторинга строящихся сложных и уникальных объектов. Необходимость геотехнической экспертизы программы мониторинга состояния существующих зданий и сооружений, находящихся в зоне влияния строящегося или реконструируемого объекта, определяется в техническом задании на производство работ.

2.3.6 Наблюдения производят в соответствии с программой производства мониторинга. После выполнения каждого цикла наблюдений с целью оперативного информирования заказчика о выявленных деформациях в максимально короткие сроки выпускается краткое техническое заключение (экспресс-отчет). После выполнения последнего цикла наблюдений выпускается итоговый технический отчет. Рекомендуемый состав отчетных документов приведен в разделе 2.6.

2.4. Обследование технического состояния объектов мониторинга

2.4.1 До начала наблюдений должен быть сформирован список объектов мониторинга. Для формирования такого списка требуется определить зону, внутри которой возможны проявления деформационных процессов, вызванных проведением строительных работ (зону влияния возводимого объекта). Размер зоны влияния rзв на окружающую застройку вновь строящегося или реконструируемого объекта, а также прогнозируемые деформации зданий, в нее попадающих, в соответствии с п. 14.3 МГСН 2.07-01 «Основания, фундаменты и подземные сооружения» и п. 9.3 «Рекомендаций по обследованию и мониторингу технического состояния эксплуатируемых зданий, расположенных вблизи нового строительства или реконструкции» (Москомархитектура, 1998) определяются расчетом по действующим нормам с учетом метода крепления стен котлована для заглубленного сооружения и глубины Нк котлована. Ориентировочные значения rзв в зависимости от метода крепления котлована и его глубины Нк определяются по таблице 3 или исходя из положения, что rзв равен мощности сжимаемой толщи грунтов под новым объектом.

Таблица 3

 

№№ п.п.

Метод крепления котлована

Радиус зоны влияния rзв

1

«Стена в грунте» с креплением анкерными конструкциями

5Нк

2

Завинчивающиеся сваи с распорками

4Нк

3

«Стена в грунте» с креплением распорками

3Нк

4

«Стена в грунте» под защитой верхнего перекрытия

2Нк

Радиус зоны влияния определяют двумя способами. Если полученные результаты не совпадают, в качестве окончательного значения rзв выбирают большее. Границу зоны влияния наносят на ситуационный план. На основании анализа зданий и сооружений, попадающих в зону влияния возводимого объекта, формируют список объектов мониторинга. Пример оформления списка см. в приложении 6.

Натурные обследования технического (физического) состояния объектов мониторинга выполняют с целью:

1) Определения предельных дополнительных деформаций объектов мониторинга. Если в ходе наблюдений будут обнаружены деформации, превышающие предельные значения (приложение 5), информация об этом передается заказчику для принятия неотложных мер. Для определения предельных значений деформаций для каждого объекта мониторинга должна быть определена категория его состояния (приложение 4);

2) Сбора информации о наличии, расположении и количественных характеристиках повреждений объектов мониторинга (трещин, сдвигов, выпучивания, разрушений кирпичной кладки и т.д.), существовавших до начала производства строительных работ.

Объем работ по натурным обследованиям определяется в программе работ указанными выше целями и состоянием объектов мониторинга.

2.4.2 Определение координат углов и обмеры натурных габаритов объектов мониторинга выполняют, как правило, в условиях плотной застройки с целью фиксации планового положения объектов до начала производства строительных работ и создания топографической основы для отображения существующих повреждений (трещин, сдвигов, выпучивания, разрушений кирпичной кладки и т.д.). Объем работ по координированию и обмерам зависит от расположения возводимого объекта и характера окружающей застройки. Состав объектов, для которых необходимо выполнить координирование и обмеры, определяется на основании анализа списка объектов мониторинга (п. 2.4.1). В первую очередь координирование и обмеры выполняются для объектов, находящихся в непосредственной близости к возводимому объекту. Координирование и обмеры выполняют в системе координат города Москвы с точностью и подробностью топографического плана масштаба 1:500 или 1:200.

2.4.3 Определение невертикальности объектов мониторинга, а также абсолютных или относительных высотных отметок их элементов выполняют, как правило, в условиях плотной застройки с целью фиксации высотного положения объектов до начала производства строительных работ и создания графической основы для отображения повреждений (трещин, сдвигов, выпучивания, разрушений кирпичной кладки и т.д.). Объем работ зависит от расположения возводимого объекта и характера окружающей застройки. Состав объектов, для которых необходимо определить невертикальность и высотные отметки, определяют на основании анализа списка объектов мониторинга (п. 2.4.1). В первую очередь определение невертикальности и высотных отметок выполняют для ветхих объектов и объектов, представляющих историческую ценность, находящихся в непосредственной близости к возводимому объекту.

2.4.4 В результате проведения обследования технического состояния должны быть получены следующие материалы и данные:

1) Список объектов мониторинга с категориями их технического состояния (пример списка приведен в приложении 6);

2) Разреженный топографический план зоны влияния возводимого объекта на существующую застройку масштаба 1:500 или 1:200. На плане в системе координат города Москвы должны быть отображены:

- Границы зон влияния возводимого объекта;

- Номера объектов мониторинга, категории их состояния, предельные дополнительные деформации;

- Объекты, для которых выполнены определения координат углов и обмеры натурных габаритов с указанием координат и результатов обмеров;

3) Результаты определения невертикальности объектов и их высотных отметок в виде сводных ведомостей и графических материалов (планов или схем фасадов, фотографий фасадов с отображением контрольных точек, их номеров, высот, координат и т.д.).

4) Результаты обследования технического состояния объектов мониторинга в виде сводных ведомостей и графических материалов (планы, схемы, фотографии объектов и их фасадов). В материалах должны быть приведены выявленные повреждения, их количественные характеристики, указаны места расположения контрольных точек (маяков).

Объем составляемых материалов и данных, полученных в результате проведения обследования технического состояния объектов мониторинга, зависит от состояния обследованных объектов.

2.5. Программа производства геодезических наблюдений

2.5.1 В связи многообразием объектов мониторинга и постоянным совершенствованием геодезических приборов разработка детальных инструкций по выполнению измерений с целью определения деформационных характеристик в рамках настоящего пособия не представляется целесообразной. Поэтому в настоящем разделе приведены общие принципы разработки программ геодезических измерений, которые учитывают особенности производства работ в Москве и возможности современных геодезических приборов.

2.5.2 Разработку программ наблюдений выполняют на основании технического задания с учетом результатов обследования технического состояния объектов мониторинга. В программе должны быть проработаны следующие вопросы:

1) Состав контролируемых деформационных характеристик;

2) Разработка схем расположения контролируемых точек и реперов геодезической основы;

3) Периодичность наблюдений;

4) Выбор методик производства измерений;

5) Контроль стабильности реперов геодезической основы;

6) Оценка качества выполненных измерений.

2.5.3 Схемы размещения контрольных точек разрабатывают исходя из следующих положений:

1) Деформационные марки для определения осадок в соответствии с п. 2.1.9 ГОСТ 24846-81 устанавливаются в нижней части несущих конструкций по всему периметру здания (сооружения), внутри его, в том числе на углах, на стыках строительных блоков, по обе стороны осадочного или температурного шва, в местах примыкания продольных и поперечных стен, на поперечных стенах в местах пересечения их с продольной осью, на несущих колоннах, вокруг зон с большими динамическими нагрузками, на участках с неблагоприятными геологическими условиями.

Конкретное расположение деформационных марок на зданиях и сооружениях, а также конструкции марок определяет организация, выполняющая наблюдения, по согласованию с проектной, строительной или эксплуатирующей организацией;

2) Контрольные точки (деформационные реперы) для определения смещений земной поверхности (плановых и высотных) закладываются с учетом ситуации, обеспечения их длительной сохранности и возможности производства измерений с целью определения их планового и высотного положения;

3) Контрольные точки для определения невертикальности и наклона должны закладываться парами в одной вертикальной плоскости. Желательно, чтобы точки верхнего яруса были закреплены с помощью катафотов, позволяющих измерять расстояния до них с помощью светодальномеров. В случае применения безотражательных светодальномеров закреплять точки верхнего яруса необязательно. В этом случае они должны быть выбраны в местах, пригодных для измерения расстояний в безотражательном режиме так, чтобы была гарантирована возможность однозначной идентификации точки во всех циклах наблюдений.

2.5.4 Схемы размещения реперов геодезической основы разрабатываются с учетом следующих положений.

1) В качестве геодезической основы при наблюдениях за деформациями используется группа реперов. Число реперов группы должно быть не менее трех;

2) Реперы геодезической основы должны располагаться в местах, удобных для выполнения измерений и обеспечивающих их сохранность на весь период производства работ;

3) В качестве исходных допускается использовать стенные реперы, устанавливаемые на несущих конструкциях зданий и сооружений, осадка фундаментов которых практически стабилизировалась;

4) Реперы геодезической основы должны размещаться:

- в стороне от проездов, подземных коммуникаций, складских и других территорий, где возможно разрушение или изменение положения репера;

- вне зоны распространения давления от контролируемого здания или сооружения;

- вне пределов влияния осадочных явлений, оползневых склонов, нестабилизированных насыпей, торфяных болот, подземных выработок, карстовых образований и других неблагоприятных инженерно-геологических и гидрологических условий;

- на расстоянии, исключающем влияние вибрации от транспортных средств, машин и механизмов;

- в местах, где в течение всего периода наблюдений возможен беспрепятственный и удобный подход к реперам для установки геодезических приборов;

Конкретное расположение и конструкция реперов должны определяться с учетом условий наблюдений на объекте.

5) Допускается использовать существующие реперы опорной геодезической сети (ОГС) Москвы, если они отвечают приведенным выше требованиям;

2.5.5 Координаты реперов геодезической основы, как правило, должны быть определены в системе координат и высот города Москвы. В исключительных случаях, когда нет возможности совместить реперы группы с существующими пунктами ОГС Москвы или при значительном удалении пунктов ОГС Москвы от реперов геодезической основы объекта, допускается применять условную систему координат или высот.

2.5.6 Периодичность наблюдений зависит и первую очередь от ожидаемых деформаций и должна быть определена на этапе разработки и согласования технического задания на производство работ. Программой должна быть предусмотрена необходимость анализа получаемых деформационных характеристик и возможность изменения периодичности в случае появления деформаций, превышающих предельные дополнительные деформации объектов мониторинга.

2.5.7 Учитывая возможности современных геодезических приборов и условия производства геодезических измерений в Москве рекомендуется применение следующих методов определения деформационных характеристик.

1) Осадки - геометрическое нивелирование. При выборе приборов следует отдавать предпочтение нивелирам с самоустанавливающейся линией визирования, позволяющим производить измерения по штриховым нивелирным рейкам, либо цифровым нивелирам соответствующей точности. В исключительных случаях (как правило, для III и IV классов точности определения осадок) при условии использования электронных тахеометров допускается применять тригонометрическое нивелирование;

2) Плановые смещения - линейно-угловые построения (полигонометрия как частный случай). Измерения рекомендуется выполнять электронными тахеометрами, обеспечивающими ср. кв. погрешность измерения угловых величин 2-5 секунд, расстояния 2-5 мм;

3) Невертикальность и наклон - линейно-угловые построения. Измерения рекомендуется выполнять электронными тахеометрами, обеспечивающими ср. кв. погрешность измерения угловых величин 2-5 секунд, расстояния 2-5 мм. Допускается использование приборов с безотражательными светодальномерами;

4) Раскрытие трещин - линейки, микрометры, штангенциркули. Для определения раскрытия трещин рекомендуется но обеим сторонам от нее закреплять контрольные марки, конструкция которых позволяет измерять расстояние между ними с погрешностью не более 1 мм.

2.5.8 Методики выполнения измерений должны выбираться таким образом, чтобы ср. кв. погрешность определения координат или высот в слабом месте деформационной сети была не менее чем в 1,4 раза меньше заданной погрешности определения деформационных характеристик. С целью контроля выполнения этого требования после разработки схем наблюдений, выбора приборов и определения методик измерений рекомендуется выполнять предрасчет точности определения координат или высот контрольных точек.

2.5.9 В каждом цикле наблюдений должны выполняться измерения с целью контроля стабильности исходной основы. Средняя квадратическая погрешности определения деформаций реперов геодезической основы не должны превышать величин, установленных ГОСТ 24846-81 для I класса точности (таблица 2 настоящею Дополнения). Пример методики выполнения наблюдений за осадками методом геометрического нивелирования с контролем стабильности реперов геодезической основы приведен в приложении 7.

2.5.10 Оценку качества выполненных измерений производят с целью контроля соблюдения требований к точности определения деформационных характеристик, полученных по результатам геодезических измерений, в каждом цикле наблюдений. Контроль должен выполняться на этане уравнивания и оценки точности геодезических построений, которые при геодезическом мониторинге обязательны.

2.6 Рекомендуемый состав отчетных документов

2.6.1 Состав отчетных документов должен быть определен в техническом задании на производство работ. Результаты деформационного мониторинга рекомендуется представлять в виде следующих документов:

1) Краткое техническое заключение (экспресс-отчет). Составляется после каждого цикла наблюдений с целью оперативного информирования заказчика о состоянии объектов мониторинга;

2) Итоговый технический отчет.

2.6.2 В состав краткого технического заключения (экспресс-отчета) включаются:

1) Информация о номере цикла и сроках выполнения наблюдений;

2) Сводные ведомости деформационных характеристик, определение которых предусмотрено техническим заданием. В них указывают вычисленные значения деформационных характеристик и предельные погрешности их определения. Для каждой контрольной точки вычисляют:

- Текущее значение деформационной характеристики но результатам наблюдений в текущем и предыдущем циклах;

- Суммарное значение деформационной характеристики по результатам наблюдений в текущем и начальном циклах наблюдений.

Пример оформления сводной ведомости осадок приведен в приложении 8;

3) План объектов мониторинга в произвольном масштабе. На плане должны быть указаны:

- Места расположения и номера наблюдавшихся контрольных точек;

- Текущие и суммарные значения деформационных характеристик для каждой контрольной точки.

4) Если предусмотрено техническим заданием - графики деформаций.

5) Если предусмотрено техническим заданием - план объектов мониторинга с линиями равных деформаций.

2.6.3 Значения деформационных характеристик, величины которых оказались меньше предельных погрешностей их определения (незначимые), при составлении планов и графиков принимают равными нулю. Примеры оформления планов и графиков для случая наблюдения за осадками приведены в приложении 6.

2.6.4. Экспресс-отчет помимо упомянутых выше документов может содержать краткую информацию, объясняющую, например, причины изменения схемы наблюдений, комментарии относительно выявленных деформаций и др. Как правило, экспресс отчет должен быть направлен заказчику в течение 1-3 рабочих дней после выполнения цикла наблюдений. Если выявлены деформации, превышающие предельные значения, информация об этом должна быть направлена заказчику незамедлительно.

2.6.5 В состав итогового техническою отчета включаются:

1) Краткая пояснительная записка, в которой приведены общие сведения об объекте, основаниях для выполнения работ, методиках измерений и обработки результатов;

2) Итоговые ведомости деформационных характеристик, в которых указывают вычисленные значения деформационных характеристик и предельные погрешности их определения. Для каждой контрольной точки вычисляют итоговое значение деформационной характеристики по результатам наблюдений в последнем и начальном циклами наблюдений;

План объектов мониторинга в произвольном масштабе с отображением на нем мест расположения и номеров контрольных точек, текущих и итоговых значений деформационных характеристик для каждой контрольной точки.

3) Если предусмотрено техническим заданием - графики деформаций.

4) Если предусмотрено техническим заданием - план объектов мониторинга с линиями равных деформаций;

5) Если предусмотрено техническим заданием - эпюры распределения осадок по периметру здания.

2.6.6 В случае выявления деформаций, превосходящих предельные значения, необходима организация углубленного анализа результатов наблюдений. Выполнение такого анализа является самостоятельной научно-технической задачей. Решение о проведении такого анализа должно приниматься заказчиком или выполняться по предписанию контролирующих органов.

Приложение 1

Перечень используемых нормативно-методических документов

СНиП 2.01.07-85*

Нагрузки и воздействия

СНиП 2.01.15-90 (1)

СНиП 22-02-2003 (2)

Инженерная зашита территорий, зданий и сооружений от опасных геологических процессов. Основные положения проектирования

СНиП 2.02.01-83*

Основания зданий и сооружений

СНиП 2.02.03-85

Свайные фундаменты

СНиП 52-01-2003

Бетонные и железобетонные конструкции

СНиП 3.01.01-85*

Организация строительного производства

СНиП 11-02-96

Инженерные изыскания для строительства. Основные положения

СП 13-102-2003

Правила обследования несущих строительных конструкций зданий и сооружений

СП 11-104-97

Инженерно-геодезические изыскания для строительства

ГОСТ 23061-90

Грунты. Методы радиоизотопных измерений плотности и влажности

ГОСТ 24846-81

Грунты. Методы измерений деформаций оснований зданий и сооружений

ГОСТ 25100-95

Грунты. Классификация

ГОСТ 12730.0-78

Бетоны. Общие требования к методам определения плотности, влажности, водопоглощения, пористости и водонепроницаемости

MГCH 2.07-01

(ТСН 50-3004-2000)

Основания, фундаменты и подземные сооружения

Пособие к МГСН 2.07-01

Обследование и мониторинг при строительстве и реконструкции зданий и подземных сооружений

Рекомендации по обследованию и мониторингу технического состояния эксплуатируемых зданий, расположенных вблизи нового строительства или реконструкции. Москомархитектура, 1998.

Рекомендации по проектированию и устройству оснований и фундаментов при возведении зданий вблизи существующих в условиях плотной застройки в г. Москве. Москомархитектура, 1999.

Рекомендации по расчету, проектированию и устройству свайных фундаментов нового типа в г. Москве. Москомархитектура, 1997.

Рекомендации по проектированию и устройству оснований, фундаментов и подземных сооружений при реконструкции гражданских зданий и исторической застройки. Москомархитектура, 1995.

Методика инженерно-геологических изысканий в центре и серединной части г. Москвы. Москомархитектура, 2000.

Инструкция по проектированию и устройству свайных фундаментов зданий и сооружений в г. Москве. Москомархитектура, 2001.

Инструкция по инженерно-геологическим и геоэкологическим изысканиям в г. Москве. Москомархитектура, 2004.

Инструкция по нивелированию I, II, III и IV классов, ГКИНП (ГНТА) - 03-010-03, М., ЦНИИГАиК, 2004.

Инструкция по проведению технологической поверки геодезических приборов, ГКИНП (ГНТА) 17-195-99, М., 1999.

Руководство по наблюдениям за деформациями оснований и фундаментов зданий и сооружений, М., Стойиздат, 1975.

Постановление Правительства Москвы от 7 декабря 2004 г. N 857-ПП "Об утверждении Правил подготовки и производства земляных работ, обустройства и содержания строительных площадок в городе Москве".

Приложение 2

Примеры конструктивных решений по усилению и реконструкции оснований и фундаментов

УСТРОЙСТВО ПЕСЧАНЫХ СВАЙ ДЛЯ ГЛУБИННОГО УПЛОТНЕНИЯ ОСНОВАНИЯ

1- существующие фундаменты;

2- песчаные сваи;

3- зоны уплотнения;

4- насыпной грунт;

5- торф;

6- кирпичные стены.

Рис. 1.

ЗАКРЕПЛЕНИЕ КИРПИЧНОЙ И БУТОВОЙ КЛАДКИ ТОРКРЕТ-БЕтОНОМ

1 - существующий фундамент, имеющий расслоение кладки;

2 - кирпичная стена с разрушенным поверхностным слоем;

3 - набрызг бетонной смеси под высоким давлением;

4 - цемент-пушка (или бетон-шприц-машина);

5 - торкретируемая поверхность;

6 - шурф.

Рис. 2.

ЗАКРЕПЛЕНИЕ БУТОВОЙ КЛАДКИ ФУНДАМЕНТА ЦЕМЕНТАЦИЕЙ

1 - усиливаемый фундамент;

2 - инъекторы для нагнетания подвижного (жидкого) цементного раствора;

3 - наплывы раствора;

4 - кирпичная стена.

Рис. 3.

ЗАКРЕПЛЕИЕ БЕТОННЫХ (ЖЕЛЕЗОБЕТОННЫХ) ФУНДАМЕНТОВ ИМЕЮЩИХ ТРЕЩИНЫ, СИНТЕТИЧЕСКИМИ СМОЛАМИ

1 - существующий фундамент, имеющий вертикальные и горизонтальные трещины;

2 - трещины;

3 - кирпичная стена;

4 - инъектор для нагнетания компаунда из синтетических смол под давлением 0,6-1,2 МПа;

5 - борозда шириной 35-40 мм, выполненная дисковой пилой или отбойным молотком;

6 - отверстие, пробуренное перфоратором на глубину 100-150 мм.

Рис. 4.

УСТРОЙСТВО ЖЕЛЕЗОБЕТОННОЙ ОБОЙМЫ ДЛЯ ЛЕНТОЧНОГО БУТОВОГО ИЛИ КИРПИЧНОГО ФУНДАМЕНТА

1 - усиливаемый бутовый фундамент;

2 - усиливаемая кирпичная стена;

3 - железобетонная обойма;

4 - анкеры;

5 - надподвальное перекрытие;

6 - отметка пола подвала;

7 - зона обжатого грунта основания.

Рис. 5.

УСТРОЙСТВО ЖЕЛЕЗОБЕТОННОЙ ОБОЙМЫ ВОКРУГ ПОДКОЛОННИКА

1 - подколенная часть фундамента;

2 - колонна;

3 - железобетонная обойма усиления подколонной части фундамента;

4 - поперечные арматурные сетки обоймы;

5 - вертикальные арматурные стержни обоймы;

6 - поверхность подколонника, подготовленная к бетонированию (зачистка и насечка).

Рис. 6.

УСТРОЙСТВО ЗАЩИТНЫХ СТЕНОК

1 - усиливаемый фундамент;

2 - участки разрушения в результате действия агрессивной среды в грунте (поднятие уровня грунтовых вод, поступление химических продуктов и др.);

3 - защитная стенка из кирпича, устанавливаемая после восстановления участков разрушения;

4 - обмазочная или оклеечная гидроизоляция;

5 - кирпичная стена.

Рис. 7.

УСТАНОВКА ПОДКОСОВ С ЗАТЯЖКАМИ

1 - усиливаемый фундамент;

2 - элементы усиления фундамента;

3 - металлическая или железобетонная обойма вокруг колонны;

4 - подкос из прокатного металла;

5 - опора подкосов из уголка;

6 - затяжка;

7 - пластина-подкладка;

8 - муфта натяжения;

9 - зона обжатого грунта основания.

Рис. 8.

УСТАНОВКА ГИДРОДОМКРАТОВ

1 - усиливаемый фундамент;

2 - проемы в стене фундамента для установки балок;

3 - поперечные балки;

4 - железобетонные разгружающие пояса;

5 - закладные детали, установленные при бетонировании поясов;

6 - гидродомкраты для включения разгружающих поясов в работу (после установки распорок убираются);

7 - распорки из прокатного металла, привариваемые к закладным деталям и балкам;

8 - обетонирование балок и распорок;

9 - зона обжатого грунта основания.

Рис. 9.

ОТЖАТИЕ РАЗГРУЖАЮЩИХ ЭЛЕМНТОВ

1 - усиливаемый фундамент;

2 - разгружающие элементы;

3 - затяжки из арматурной стали, установленные в отверстиях, устроенных в фундаментах и разгружающих элементах;

4 - устройство для отжатия разгружающих элементов (домкраты, клинья и др.);

5 - заполнение мелкозернистым бетоном после обжатия грунта;

6 - зона обжатого грунта основания.

Рис. 10.

ПЕРЕУСТРОЙСТВО СТОЛБЧАТЫХ ФУНДАМЕНТОВ В ЛЕНТОЧНЫЕ

1 - усиливаемые столбчатые фундаменты;

2 - монолитные железобетонные плиты;

3 - поверхность пола;

4 - арматурные каркасы.

Рис.11.

ПЕРЕУСТРОЙСТВО ЛЕНТОЧНЫХ ФУНДАМЕНТОВ В ПЛИТНЫЕ (УСТРОЙСТВО МОНОЛИТНЫХ ЖЕЛЕЗОБЕТОННЫХ ПЛИТ)

1 - усиливаемый ленточный фундамент;

2 - сплошная (прерывистая) плита;

3 - отметка поверхности пола подвала;

4 - уплотненный крупный песок;

5 - кирпичная стена;

6 - рабочая арматура плиты усиления;

7 - поверхность фундамента, подготовленная к бетонированию.

Рис. 12.

УСТАНОВКА РАСКОСОВ ДЛЯ ПЕРЕДАЧИ ЧАСТИ НАГРУЗКИ ОТ КОЛОННЫ НА ОБРЕЗ ФУНДАМЕНТА

1 - усиливаемый фундамент;

2 - железобетонная колонна;

3 - подкладки, устанавливаемые на обрез фундамента;

4 - металлические раскосы;

5 - металлические балки, монтируемые по периметру фундамента;

6 - металлическая обойма, приваренная к арматуре колонны.

Рис. 13.

УСТАНОВКА ПОПЕРЕЧНЫХ РАЗГРУЖАЮЩИХ БАЛОК ДЛЯ ЗАМЕНЫ БУТОВЫХ ФУНДАМЕНТОВ ПОД СТЕНЫ

1 - кирпичная стена;

2 - фундамент, подлежащий замене;

3 - подкладки;

4 - металлические поперечные балки;

5 - гидравлические домкраты или подкладки;

6 - временные опоры;

7 - отверстие в стене.

Рис. 14.

УШИРЕНИЕ ПОДОШВЫ ЛЕНТОЧНОГО БУТОВОГО ФУНДАМЕНТА (УСТЮЙСТВО ПРИЛИВОВ ИЗ БЕТОНА)

1 - усиливаемый фундамент;

2 - кирпичная стена;

3 - приливы из бетона;

4 - металлические балки, устанавливаемые в пробитые отверстия;

5 - металлические штыри из арматурной стали;

6 - металлические балки, закрепляемые на сварке к поперечным балкам;

7 - зоны уплотненного грунта.

Рис. 15.

УШИРЕНИЕ ПОДОШВЫ ДЛЯ ЛЕНТОЧНОГО СБОРНОГО ФУНДАМЕНТА (УСТРОЙСТВО ЖЕЛЕЮБЕТОННОЙ ОБОЙМЫ)

1 - усиливаемый фундамент;

2 - железобетонная обойма;

3 - отверстия в швах между блоками для установки рабочей арматуры;

4 - основная рабочая арматура усиления;

5 - отметка пола подвала;

6 - сколотая поверхность бетона;

7 - выпуски арматуры в подушке;

8 - сварка;

9 - зоны уплотненного грунта.

Рис. 16.

УСТРОЙСТВО ЖЕЛЕЗОБЕТОННЫХ ПРИЛИВОВ

1 - усиливаемый фундамент;

2 - монолитные приливы из железобетона;

3 - уплотненный грунт (втрамбованный щебень);

4 - арматура усиления;

5 - кирпичная стена;

6 - затяжка из арматурной стали.

Рис. 17.

УСТРОЙСТВО ОДНОСТОРОННЕГО БЕТОННОГО БАНКЕТА

1 - усиливаемый фундамент;

2 - монолитный бетонный банкет

3 - несущая балка;

4 - подкос;

5 - анкер;

6 - упорный уголок;

7 - распределительная балка;

8 - кирпичная стена;

9 - зона уплотненного грунта.

Рис. 18.

УШИРЕНИЕ ПОДОШВЫ ДЛЯ ОТДЕЛЬНОГО ФУНДАМЕНТА (УСТРОЙСТВО ЖЕЛЕЗОБЕТОННОЙ РУБАШКИ)

1 - усиливаемый фундамент;

2 - поверхность, подготовленная к бетонированию (насечка);

3 - подготовка из тощего бетона;

4 - железобетонная рубашка с уширением;

5 - колонна;

6 - арматура усиления;

7 - зоны уплотненного грунта.

Рис. 19.

УСТАНОВКА РАМНЫХ КОНСТРУКЦИЙ

1 - усиливаемые фундаменты;

2 - плита перекрытия;

3 - опорная рамная конструкция из железобетона или металла;

4 - дополнительный фундамент из сборных плит;

5 - зона уплотненного грунта.

Рис. 20.

ПОДВЕДЕНИЕ РАЗГРУЖАЮЩИХ ЭЛЕМЕНТОВ ДЛЯ ПЕРЕДАЧИ ЧАСТИ НАГРУЗКИ ОТ СТЕНЫ НА ПРОЧНЫЙ СЛОЙ ОСНОВАНИЯ

1 - сборный ленточный фундамент;

2 - дополнительные опоры-фундаменты;

3 - монолитные железобетонные балки усиления;

4 - рабочая арматура балок;

5 - подкладки;

6 - отметка пола подвала;

7 - слой грунта с наибольшей несущей способностью;

8 - отверстие между фундаментными блоками для пропуска рабочей арматуры балок;

9 - слой слабого грунта;

10 - зоны уплотненного грунта.

Рис.21.

ПЕРЕДАЧА НАГРУЗКИ ОТ ФУНДАМЕНТА НА БУРОИНЪЕКЦИОННЫЕ СВАИ

1 - усиливаемый столбчатый фундамент;

2 - буроинъекционные (корневидные) сваи диаметром 100-250 мм, устраиваемые через плитную часть усиливаемого фундамента;

3 - арматурные каркасы;

4 - конусные отверстия в плитной части фундамента;

5 - железобетонная колонна.

Рис. 22.

ПЕРЕДАЧА НАГРУЗКИ ОТ СТЕНЫ НА БУРОИНЪЕКЦИОННЫЕ СВАИ

1 - усиливаемый ленточный фундамент;

2 - буроинъекционные (корневидные) сваи, устраиваемые через плитную часть усиливаемого фундамента;

3 - конусные отверстия в плитной части фундамента;

4 - кирпичная стена;

5 - пазух, заполняемый фунтом после устройства стыка свай с плитной частью фундамента.

Рис. 23.

ПЕРЕДАЧА НАГРУЗКИ ОТ ФУНДАМЕНТА НА БУРОНАБИВНЫЕ СВАИ

1 - усиливаемый фундамент;

2 - буронабивные сваи;

3 - железобетонная обойма;

4 - поверхность фундамента, подготовленная к бетонированию (насечка, сколы, зачистка);

5 - оголенная рабочая арматура существующего фундамента;

6 - арматура усиливаемого фундамента;

7 - железобетонная колонна.

Рис. 24.

УСТРОЙСТВО АНКЕРОВ ИЗ БУРОНАБИВНЫХ СВАЙ

1 - усиливаемый столбчатый фундамент;

2 - анкеры из буронабивных армированных свай, работающих на выдергивание (диаметр сваи 150-200 мм, длина 2-3 м);

3 - конусные отверстия в плитной части фундамента, заполняемые в последующем бетоном;

4 - металлические пластины, к которым приваривается арматура анкеров.

Рис. 25.

ПЕРЕДАЧА НАГРУЗКИ ОТ СТЕНЫ НА НАБИВНЫЕ СВАИ

1 - усиливаемый фундамент;

2 - продольные металлические балки, устанавливаемые в пробитые борозды (штрабы);

3 - поперечные металлические балки;

4 - цементно-песчаный раствор;

5 - набивные сваи;

6 - железобетонная обвязка по сваям;

7 - кирпичная стена.

Рис. 26.

ПЕРЕДАЧА НАГРУЗКИ ОТ ФУНДАМЕНТА НА ЖЕЛЕЗОБЕТОННЫЕ СВАИ, ПОГРУЖАЕМЫЕ ВДАВЛИВАНИЕМ

1 - усиливаемый фундамент;

2 - железобетонная обойма, устраиваемая по периметру фундамента;

3 - сваи, погружаемые вдавливанием с поверхности основания;

4 - арматура усиления;

5 - колонна;

6-7 - соответственно слабый и прочный грунт;

8 - поверхность пола.

Рис. 27.

ВДАВЛИВАНИЕ СОСТАВНЫХ СВАЙ ЧЕРЕЗ ОТВЕРСТИЯ В ЖЕЛЕЗОБЕТОННОЙ ПЛИТЕ

1 - усиливаемый ленточный фундамент;

2 - монолитная железобетонная плита;

3 - отверстие в плите, устраиваемое при ее бетонировании;

4 - звенья составной железобетонной сваи;

5 - длинношточный гидравлический домкрат;

6 - металлический упор;

7 - анкерные болты;

8 - кирпичная стена.

Рис. 28,

ПЕРЕДАЧА НАГРУЗКИ ОТ ФУНДАМЕНТА НА СОСТАВНЫЕ ЖЕЛЕЗОБЕТОННЫЕ СВАИ, ПОГРУЖАЕМЫЕ ВДАВЛИВАНИЕМ

1 - усиливаемый столбчатый фундамент;

2 - звенья составных железобетонных свай:

3 - стыки свай;

4 - гидравлический домкрат;

5 - металлическая подкладка;

6 - шурф;

7 - монолитная железобетонная плита (устраиваемая участками после вдавливания сваи);

8 - железобетонная колонна.

Рис. 29.

ВДАВЛИВАНИЕ СВАЙ ИЗ МЕТАЛЛИЧЕСКИХ ТРУБ ОТДЕЛЬНЫМИ ЗВЕНЬЯМИ

1 - подкладка;

2 - звенья из металлических труб длиной 50 см;

3 - сварка;

4 - гидравлический домкрат;

5 - отметка пола подвала;

6 - кирпичная стена;

7 - пазух, заполняемый фунтом с уплотнением после вдавливания свай.

Рис. 30.

ПЕРЕДАЧА НАГРУЗКИ ОТ СТЕНЫ НА СОСТАВНЫЕ ЖЕЛЕЗОБЕТОННЫЕ СВАИ, ПОГРУЖАЕМЫЕ ВДАВЛИВАНИЕМ

1 - усиливаемый фундамент;

2 - звенья составных железобетонных свай;

3 - железобетонные балки, устраиваемые вдоль стены здания;

4 - железобетонные монолитные перемычки, устраиваемые с шагом 1-1,5 м;

5 - стыки свай;

6 - сколотая поверхность фундаментной плиты.

Рис.31.

Приложение 3

Формулы для вычисления деформационных характеристик и предельных погрешностей их определения

В таблице используются следующие обозначения погрешностей:

т - средняя квадратическая погрешность определения деформационной характеристики;

Δ - предельная погрешность определения деформационной характеристики.

№ № п. п.

Название

Обозначение

Формулы для вычисления

Комментарий

Деформационных характеристик

Погрешностей

1

Осадка

S

S=НТ-Н0

ms=1,4mH

Δs=2,8mH

H - высота точки;

Т и 0 - номера циклов наблюдений1)

2

Разность осадок

ds

ds=Sn-Sk

n и k - номера точек, для которых вычисляется разность осадок

3

Относительная разность осадок

i

L - расстояние между точками; Выбор контролируемых точек, для которых вычисляются относительная разность осадок, определяется конструктивными особенностями объекта мониторинга

4

Смещения по осям координат

dx, dy

dх=ХТ-Х0,

dх=YТ-Y0

Х и Y - плановые координаты точек;

T и 0 - номера циклов наблюдений

5

Сдвиг

D

Δd=2md

 

6

Невертикальность2)

и

u=Un-Uk

mи=1,4mU

Δи=2,8mU

n и k - номера точек верхнего и нижнего ярусов

7

Наклон

du

du=uТ-u0

Т и 0 - номера циклов наблюдений

8

Крен

i

Δi=2mi

h - превышение между точками;

9

Раскрытие трещины

dt

dt=tT-t0

Предельные погрешности определяются на основании метрологической аттестации применяющихся средств измерений

Т и 0 - номера циклов наблюдений

10

Углубление трещины

dv

dv=vT-v0

11

Кривизна подошвы фундамента

ρ

S(x) - осадка в точке с координатой х;

S(x + Δх) - осадка в точке с координатой x + Δх;

S(x + 2Δх) - осадка в точке с координатой х + х.

Δх = 5-10м

Примечания.

1) Деформационные характеристики, как правило, вычисляют относительно начального и предыдущего цикла наблюдений.

2) Схема определения невертикальности, наклона и крена приведена на рис.1.

Рис. 1. Условные обозначения для определения невертикальности

Приложение 4

Таблица оценки категорий состояния зданий по внешним признакам по результатам натурного обследования технического состояния

Категория

Состояние

Описание

I

Нормальное

Выполняются требования норм и проектной документации но условиям эксплуатации. Необходимость ремонтных работ отсутствует.

II

Удовлетворительное

С учетом фактических свойств материалов удовлетворяются требования действующих норм, относящиеся к предельным состояниям I группы; требования норм II группы могут быть нарушены, но обеспечиваются нормальные условия эксплуатации. Требуется текущий ремонт с устранением локальных повреждений без усиления конструкций.

III

Неудовлетворительное

Нарушены требования действующих норм, но отсутствует опасность обрушения и угроза безопасности людей. Требуется усиление и восстановление несущей способности поврежденных конструкций.

IV

Предаварийное

Существующие повреждения свидетельствуют о непригодности конструкций к эксплуатации, об опасности их обрушения и опасности пребывания людей в зоне расположения конструкций.

IV*

Аварийное

 

Таблица содержит фрагменты таблицы «Оценка категории состояния зданий по внешним признакам по результатам предварительного обследования» (приложение 4 к «Рекомендациям по обследованию и мониторингу технического состояния эксплуатируемых зданий, расположенных вблизи нового строительства или реконструкции», Москомархитектура, 1998).

Приложение 5

Таблица предельных дополнительных деформаций существующих зданий

Таблица составлена на основании следующих документов:

1) МГСН 2.07-01 «Основания, фундаменты и подземные сооружения», Москва, 2003, Таблица 14.1.

2) «Рекомендации по обследованию и мониторингу технического состояния эксплуатируемых зданий, расположенных вблизи нового строительства или реконструкции»+, Москомархитектура, 1998, приложение 5;

Наименование, конструктивные особенности здания или сооружения

Категория состояния конструкций

Предельные дополнительные деформации

Максимальная осадка, см

Относительная разность осадок, крен

Кривизна подошвы фундамента

Гражданские и производственные одноэтажные и многоэтажные здания с полным железобетонным каркасом

I

II

III

5.0

3.0

2.0

0.0020

0.0010

0.0007

 

Многоэтажные бескаркасные здания с несущими стенами из крупных панелей

I

II

III

4.0

3.0

2.0

0.0016

0.0008

0.0005

 

Многоэтажные бескаркасные здания с несущими стенами из крупных блоков или кирпичной кладки без армирования

I

II

III

4.0

3.0

1.0

0.0020

0.0010

0.0007

0.0004

0.0001

0.00008

Многоэтажные бескаркасные здания с несущими стенами из кирпича или бетонных блоков с арматурными или железобетонными поясами

I

II

III

5.0

3.0

2.0

0.0024

0.0015

0.0010

 

Многоэтажные и одноэтажные здания исторической застройки или памятники архитектуры с несущими стенами из кирпичной кладки без армирования*)

I

II

III

1.0

0.4

0.2

0.0006

0.0004

0.0001

-

0.0002

0.00004

Высокие жесткие сооружения и трубы

I

II

III

5.0

3.0

2.0

0.004**)

0.002

0.001

 

Примечания к таблице

*) Приведены требования МГСН 2.07-01.

**) Приведены предельные значения кренов.

Приложение 6

Пример оформления списка объектов мониторинга

№ № п.п.

Наименование, конструктивные особенности здания или сооружения

Категория состояния конструкций

Предельные дополнительные деформации

Максимальная осадка, см

Относительная разность осадок

1

Гражданское здание, 5 этажей, с полным железобетонным каркасом

11

3.0

0.0010

2

Здание жилое бескаркасное, 17 этажей, с несущими стенами из крупных панелей

I

4.0

0.0016

3

Здание исторической застройки, 2 этажа,

11

0.5

0.0003

Список оформляется после проведения обследования технического состояния объектов мониторинга.

Приложение 7

Методика выполнения наблюдений за осадками методом геометрического нивелирования с контролем стабильности высотной основы

1. На один из реперов геодезической основы должна быть передача высотная отметка от ближайших пунктов ОГС Москвы. Этот репер называется «Исходный». Остальные реперы геодезической основы называются «Контрольные».

2. В процессе наблюдения за осадками контроль стабильности реперов высотной основы выполняется в каждом цикле наблюдений. Для этого все они включаются в замкнутый полигон. Такие построения составляют деформационную сеть первого порядка. Измерения деформаций в ней производятся по I классу точности.

3. Для определения высот деформационных марок они включаются в нивелирные ходы, опирающиеся на реперы деформационной сети первого порядка. Эти построения составляют деформационную сеть второго порядка. Измерения деформаций в ней производятся по II классу точности. При наблюдениях деформационной сети второго порядка рекомендуется по возможности использовать одинаковую схему измерений.

4. Перед началом работ в каждом цикле наблюдений выполняется технологическая поверка нивелира. Результаты определения угла i должны быть зафиксированы в полевом журнале.

5. Нивелирование производится по следующим программам:

- I класс точности определения осадок - способ совмещения, в направлении прямо и обратно, один горизонт инструмента;

- II класс точности определения осадок - способ совмещения, в направлении прямо, один горизонт инструмента, отсчеты по дальномерным нитям не берутся.

6. Основные технические характеристики и допуски приведены в таблице.

Условия нивелирования

Класс точности определения осадок

 

I

II

Применяемые нивелиры

Н-05 и равноточные ему

Применяемые рейки

Штриховые, с инварной полосой

Визирный луч

Длина, не более (м)

25

40

Высота над препятствием, не менее (м)

1.0

0.8

Допустимое расхождение превышений, полученных по основной и дополнительной шкале, мм

0.15

0.30

Неравенство плеч на станции, не более (м)

0.2

-

Допустимое расхождение превышений, измеренных в направлении прямо и обратно, n - число станций (мм)

-

Накопление неравенств плеч в секции, не более (м)

1.0

-

Допустимая невязка в замкнутом ходе, n - число станций (мм)

Примечание. Таблица составлена на основании ГОСТ 24846-81, таблица 3.

7. В ходе камеральной обработки результатов измерений для каждого цикла выполняются следующие операции:

- Проверка полевых журналов и контроль выполнения установленных допусков;

- Уравнивание деформационной сети первою порядка;

- Контроль стабильности репера «Исходный»;

- Вычисление новой отметки репера «Исходный» (если требуется);

- Уравнивание деформационной сети второго порядка;

- Вычисление осадок деформационных марок;

- Подготовка отчетных материалов.

8. Уравнивание деформационной сети первого порядка выполняется по методу наименьших квадратов. В качестве исходного используется один репер - «Исходный».

9. Контроль стабильности репера «Исходный». Выполняется для всех циклов, кроме первого, в следующей последовательности:

- Вычисляются осадки контрольных реперов;

- Если как минимум для одного из контрольных реперов выполняется неравенство |S| ≤ 1мм, где S=НiНl - осадка контрольного репера, то репер «Исходный» не изменил своего положения и можно переходить к уравниванию деформационной сети второго порядка. В противном случае следует вычислить его новую отметку.

10. Вычисление новой отметки репера «Исходный». Эта операция выполняется в том случае, если критерий п. 9 не выполняется для всех контрольных реперов, и при этом их осадки примерно равны (расхождения не превышают нескольких десятых миллиметра) по абсолютной величине и знаку. Вычисления выполняются в следующей последовательности:

- В качестве исходного назначается один из контрольных реперов (любой). Его отметка выбирается из предыдущего цикла наблюдений;

- Относительно этого репера (одного) выполняется повторное уравнивание деформационной сети первого порядка и вновь вычисляются осадки ее реперов;

- Если гипотеза о наличии осадок репера «Исходный» верна, то для этого репера будет обнаружена значимая осадка, т.е. |SИсходный| > 1 мм, а у второго контрольного репера осадка обнаружена не будет, т.е. |SКонтрольный 2| ≤ 1 мм.

11. Уравнивание деформационной сети второго порядка. Выполняется по методу наименьших квадратов. В качестве исходных используются все реперы деформационной сети первого порядка.

Пример схемы измерений

12. Вычисление осадок деформационных марок. Для каждой деформационной марки выполняются вычисления по формулам:

S=НiНl,

,

где S - осадка марки,

ms и mн - ср. кв. погрешности определения осадки и высоты марки соответственно.

13. Подготовка отчетных материалов. После завершения обработки результатов наблюдений по каждому циклу выполняется подготовка следующих материалов:

- Ведомость контроля стабильности реперов высотной основы.

- Сводная ведомость осадок.

Пример ведомости контроля стабильности реперов высотной основы

№№ реперов

Н1 (м)

12.10.2000

14.11.2000

Нi (и)

S(мм)

Нi (м)

S(мм)

Нi (м)

S(мм)

1

2

3

4

5

6

7

8

Исходный

123.3450

123.3450

0

123.3450

0

123.3423

-2.7

Контрольный 1

125.3552

125.3554

+0.2

125.3582

+3.0

125.3554

0

Контрольный 2

124.5673

124.5623

-5.0

124.5701

+2.8

124.5701

-0.2

Пример заключений о стабильности реперов высотной основы

1. 12.10.2001. Осадка репера Контрольный 2 превышает 1 мм, поэтому этот репер в текущем цикле признан сместившимся. Осадка репера Контрольный 1 меньше 1 мм. Поскольку для ее вычисления использовалась высота репера Исходный, то можно утверждать, что взаимное положение этой пары реперов не изменилось.

Вывод. Высота репера Исходный не изменилась, для уравнивания сети второго порядка используются высоты, приведенные в столбце 3.

2. 14.11.2000. Осадки обоих контрольных реперов превышают 1 мм и примерно равны по абсолютной величине и знаку. Это может объясняться осадкой исходного репера примерно на -3.0 мм. Для проверки этой гипотезы в качестве исходного был выбран репер "Контрольный 1" и его отметка из предыдущего цикла (столбец 3). Полученные отметки приведены в столбце 7, а осадки - в столбце 8.

Вывод. Осадка репера Контрольный 2 меньше 1 мм, следовательно реперы Контрольный 1 и 2 не изменили своего взаимного расположения и могут считаться стабильными. Осадка репера Исходный превышает 1 мм и он действительно изменил свое положение. Для уравнивания сети второго порядка используются высоты, приведенные в столбце 7.

Пример оформления сводной ведомости осадок

 

№№ марок

Н1 (м)

12.10.2000

12.11.2000

S (мм)

2ms (ММ)

S (мм)

2ms (MM)

1

123.3451

0.4

0.8

-0.4

0.8

2

124.4563

-2.1

1.2

-4.0

1.2

3

124.2242

-5.7

1.0

-8.3

1.0

4

125.5565

-0.3

0.9

-0.3

0.9

5

125.6783

-0.5

0.8

-0.2

0.8

6

125.8908

-5.4

0.9

-5.8

0.9

Приложение 8

Пример оформления материалов краткого технического заключения (экспресс-отчета) при наблюдениях за осадками

Пример оформления графика осадок

Графики осадок

Дата наблюдений

Пример оформления плана с линиями равных осадок

 




Яндекс цитирования



   Copyright © 2007-2026,  www.tehlit.ru.

[ ѓосты, стандарты, нормативы, инструкции, правила, строительные нормы ]